MODE D'EMPLOI Gotour 4 Flyer
text_image
FLYER TOUR / URBAN
avec motorisation Panasonic
Traduction de la notice d'utilisation d'origine
Les constituants du FLYER

① Selle
② Blocage rapide du tube de selle
③ Tige de selle
④ Porte-bagages
⑤ Feu arrière avec catadiopitre intégré
⑥ Garde-boue arrière
⑦ Batterie
⑧ Chaîne
⑨ Patte
⑩ Béquille latérale
⑪ Dérailleur
⑫ Propulsion électrique
⑬ Manivelle
⑭ Pédale
⑮ Potence
⑯ Afficheur
⑰ Guidon avec poignée
⑱ Feu avant avec catadiopitre
⑲ 19 Manette de dérailleur
20 Manette de frein
21 Câble de dérailleur
22 Câble/gaine de frein
23 Speedlifter Twist
24 Roulements de direction ou jeu de direction
25 Garde-boue avant
26 Fourche
27 Fixation de sécurité du garde-boue
28 Frein avant
29 Serrure de cadre
30 Cadre
31 Frein arrière
Roue
32 Moyeu avant
③3 Rayon
③4 Jante
35 Valve
36 Bandes réfléchissantes
37 Pneus
Sommaire
IMPORTANT
Retrouvez les instructions d'utilisation actualisées sur :
flyer-bikes.com/manuals
- Avant-propos 46
- Les notions utilisées....46
- Consignes de sécurité .... 46
- Consignes de sécurité pour
tous les systèmes électriques .... 48
- FLYER à moteur Panasonic 49
5.1 Utilisation du modèle à afficheur central ..... 49
5.2 Utilisation du modèle avec afficheur sur le côté. ..... 50
5.3 Batterie....51
5.4 Assistance à la pousse 53
-
Dispositions légales ..... 53
-
Utilisation conforme à la destination ..... 54
- Avant la première utilisation ..... 54
- Avant chaque utilisation....55
- Après une chute ..... 56
- Réglages 57
11.1 Utilisation des blocages rapides et des axes traversants .... 57
11.2 Réglage de la position assise 60
11.3 Réglage des manettes de frein 62
11.4 Amortisseurs 63
- Roues et pneus 63
12.1 Contrôle des jantes ..... 63
12.2 Pneus et chambres à air 64
12.3 Réparation des crevaisons 64
- Changements de vitesse 66
- Chaîne et pignons 67
- Freins 69
- Éclairage 73
- Utilisation avec charge supplémentaire ..... 73
- Garde-boue 74
- Accessoires et équipement ..... 74
19.1 Transport d'enfants / Sièges pour enfants ..... 74
19.2 Remorques et remorques pour enfants ..... 75
19.3 Porte-vélos de toit et de hayon 75
- Procédure de pliage du FLYER Pluto 77
20.1 Utilisation des blocages rapides ..... 78
20.2 Réglage de l'articulation du cadre ..... 78
20.3 Procédure de pliage du FLYER Pluto 78
20.4 Procédure de dépliage du FLYER Pluto ..... 80
- Propulsion électrique 82
- Pièces d'usure....83
- Programme d'entretien....83
23.1 Maintenance et remplacement des pièces d'usure . . . . 84
- Garanties 85
- Respect de l'environnement 85
Déclaration de conformité 218
Mentions légales....218
1. Avant-propos
Chère cliente, cher client,
nous sommes très heureux que vous ayez porté votre choix sur un vélo FLYER. Nous espérons que vous passerez un bon moment en découvrant votre FLYER, et que vous prendrez plaisir à le conduire pour chaque trajet.
Nous vous remercions sincèrement pour votre confiance.
Votre équipe FLYER
2. Les notions utilisées
La présente notice d'utilisation fournie avec votre vélo contient les principales informations dont vous avez besoin pour prendre en main votre nouveau FLYER, vous familiariser avec sa tech - nique et envisager de l'utiliser en toute sécurité en évitant les dommages corporels, matériels et à l'environnement. Conservez-la soigneusement en un endroit aisément accessible et respectez bien ses instructions. Remettez cette notice aux personnes auxquelles vous pourriez être amené à prêter votre FLYER. Il y a lieu avant de se servir de son vélo la première fois de lire également la notice de l'assistance électrique jointe à la présente notice. Vous rencontrerez les symboles suivants tout au long de la notice :

DANGER : Risque de blessures ou de dommages corporels.

N.B. : Sont données ici des indications importantes et des informations sur la bonne utilisation du VAE FLYER.

ATTENTION : Il s'agit d'une remarque concernant d'éventuels dégâts matériels ou environnementaux.

RESPECTER LE COUPLE DE SERRAGE : Le serrage des vis requiert l'application d'un couple de serrage précis. Ceci n'est possible qu'avec un outil spécial, à savoir une clé dynamométrique. Si vous ne disposez pas de l'équipement ou des connaissances nécessaires à cette tâche, confiez-en la réalisation à votre revendeur FLYER. Les pièces qui ne sont pas serrées à la valeur prescrite sont susceptibles de se desserrer ou de casser, pouvant provo -
quer des chutes très graves. Le couple de serrage requis est indiqué soit sur le composant même, soit dans la section « Couples de serrage ».
À partir d'ici, ces symboles seront utilisés sans explication supplémentaire ; toutefois, ils repré senteront à chaque fois les contenus et les risques mentionnés. Veuillez lire attentivement l'ensemble de la présente notice.
3. Consignes de sécurité
N'oubliez pas d'inspecter votre vélo avant chaque trajet comme indiqué. Assurez votre sécurité et celle des autres par un comportement respon-
sable. Ayez toujours conscience des dangers que vous courez en tant que cycliste usager de la voie publique. Portez toujours un casque approprié et à votre taille ! Renseignez-vous auprès de votre revendeur FLYER sur la bonne façon de le porter en toute sécurité.

La présente notice d'origine ne contient pas d'instructions pour monter un FLYER à partir de pièces détachées, pour réparer un FLYER ou mettre un FLYER partiellement monté en état de fonctionnement.

Votre FLYER est équipé d'une technologie moderne et complexe. Son utilisation et toutes interventions demandent un certain niveau connaissance, de l'expérience et des outils spécifiques. Confiez à votre revendeur FLYER le soin de travailler sur votre vélo. Nous ne pouvons décrire que les points les plus importants dans la présente notice. Elle s'accompagne des notices des fabricants des composants du vélo, qui sont tout aussi importantes. Dans tous les cas de figure, contactez impérativement votre revendeur FLYER en cas de doute.
Il est important de voir et d'être vu ! C'est pour - quoi il est recommandé de porter des vêtements clairs ou des vêtements avec des éléments réfléchissants. Ne portez pas de vêtements amples qui pourraient s'accrocher ou se coincer dans le
vélo. Resserrez bien les jambes de vos pantalons. N'hésitez pas à utiliser des pinces à vélo.
Pensez aussi à vos chaussures : il est recommandé de porter des chaussures dont la semelle est rigide et non glissante. Ne lâchez jamais le guidon.
Soyez prévoyant, et, pour votre premier trajet, familiarisez-vous avec le comportement des freins dans un endroit sûr et dégagé.
Un FLYER n'est prévu pour transporter qu'une seule personne à la fois. Ne transportez jamais d'objet mal attaché. Pensez à bien fixer les objets transportés avant votre trajet.
Lorsque l'on reprend son FLYER, même après un très court moment, il est conseillé de vérifier que personne n'a trafiqué les blocages rapides en son absence. Vérifiez régulièrement le bon serrage de tous les vis et boulons et la bonne fixation des pièces.
La responsabilité que vous avez en tant que responsable légal d'un enfant s'étend aux actions et à la sécurité de votre enfant, mais aussi à l'état du VAE FLYER et son adaptation à l'enfant. Assurez-vous que l'enfant a appris à utiliser son VAE en sécurité et de manière responsable, autant que possible dans le cadre où il sera amené à l'utiliser.

L'utilisation d'un VAE est interdite aux enfants en-dessous de l'âge légal et ne disposant pas du permis exigible.
Préparation importante avant la première utilisation de votre FLYER
Il vous est vivement conseillé de lire soigneusement la présente notice d'utilisation pour vous faciliter la prise en main de votre nouveau FLYER. Il est toutefois recommandé de lire la totalité de la notice pour être en mesure d'utiliser le vélo en toute sécurité. Cette notice part du principe que vous et tous les utilisateurs de ce VAE FLYER avez suffisamment l'habitude du vélo et des vélos à assistance électrique. En cas de doute et pour toutes interventions importantes sur votre FLYER, n'hésitez pas à vous adresser à votre revendeur FLYER. Toutes les personnes amenées à utiliser, nettoyer, entretenir, réparer et se débarrasser de ce FLYER doivent avoir pris connaissance de cette notice et en avoir assimilé le contenu.
Le non-respect des consignes données est sus -ceptible d'avoir de graves conséquences pour votre propre sécurité, pouvant aller jusqu'à des chutes ou accidents graves et éventuellement coûteux. À côté des indications concernant spécifiquement ce FLYER, il vous incombe de vous informer sur l'ensemble de la réglementation et de la législation en vigueur pour la voie publique dans le pays où vous vous trouvez.
Avertissements et remarques importantes
- Toute garantie est également exclue en cas d'utilisation en course ou en compétition, pour une utilisation commerciale, comme pour l'usure normale des pièces d'usure (par ex. pneus, chambres à air, chaîne, pignons, patins et plaquettes, peinture, marquages).
- Veuillez noter qu'un long trajet en montée peut faire s'échauffer le moteur de votre VAE FLYER. Ne le touchez pas, vous pourriez vous brûler.
- Il en va de même pour les disques de freins, qui, lors du freinage, peuvent atteindre des températures très élevées. Évitez autant que possible de rouler en freinant, même pendant de longs trajets en côte avec des pentes raides.
- N'essayez pas d'utiliser votre FLYER avec une autre batterie que la batterie d'origine. Votre revendeur FLYER vous donnera tous les conseils nécessaires pour bien choisir la batterie.
- Ne démontez jamais de pièces ou de capots. Cela pourrait mettre à nu des éléments sous tension. Des points de raccordement peuvent également être sous tension. La maintenance complète doit être réalisée exclusivement par votre revendeur FLYER. Réalisée de façon inappropriée, cette opération comporte un risque d'électrocution et de blessure.
- Il faut éviter d'écraser ou d'endommager les câbles lors des interventions sur le vélo (maintenance, nettoyage, transport ou réglage).
- Vous ne devez plus utiliser votre FLYER lorsque son fonctionnement comporte des risques. C'est le cas lorsque des éléments sous tension ou la batterie sont/est endommagés/ée. Dans ces cas-là, mettez le FLYER en sécurité jusqu'à sa réparation par un revendeur FLYER.
- Vous devez être particulièrement vigilant lorsque des enfants se trouvent à proximité. Il faut empêcher que des enfants introduisent des objets dans des orifices du vélo. Ils courent le risque de s'électrocuter mortellement.
- Si le FLYER doit être fixé sur une béquille d'atelier, cela ne doit se faire qu'au niveau de la tige de selle. En effet, les cadres en aluminium haut de gamme sont susceptibles d'être endommagés par la force de serrage de la pince.
4. Consignes de sécurité pour tous les systèmes électriques
Lisez toutes les consignes de sécurité et les notices.
Le non-respect des consignes de sécurité et des notices peut causer une électrocution, un incen - die et/ou de graves dommages corporels.
Mettez soigneusement de côté toutes les consignes de sécurité et les notices.
Le terme « batterie » utilisé dans cette notice fait indifféremment référence à tous les types de batterie standard.
Votre FLYER est livré avec la notice du fabricant de l'équipement électrique. Il faut impérativement lire aussi avant de se servir de son vélo pour la première fois la notice de l'assistance électrique ci-jointe et bien prendre en compte toutes les instructions concernant la sécurité.
Vous trouverez dans cette notice, ainsi que sur les sites Internet des fabricants, les caractéristiques techniques et des informations sur l'utilisation et l'entretien de ce VAE FLYER.

Retirez la batterie avant toute intervention sur le vélo (pose d'accessoires, entretien, réglage de chaîne, etc.), avant tout transport en voiture, en train ou par avion, ou lorsque vous le mettez de côté.
En effet un déclenchement intempestif de l'assistance est susceptible de provo quer des dommages corporels.

Le système électrique de votre FLYER électrique est très puissant. Pour un fonctionnement correct et en toute sécurité, il est nécessaire de la faire entretenir régulièrement par votre revendeur FLYER. La batterie est à retirer immédiatement en cas de dommages causés aux circuits électriques, ou bien si des éléments sous tension sont exposés (après une chute ou un accident par exemple). Adressez-vous toujours à votre revendeur FLYER pour toute réparation, mais aussi pour toute question ou problème, en tout cas dès que vous constatez un défaut. Des interventions intempestives peuvent provoquer des accidents ou des dommages matériels et corporels graves.

Le FLYER est conçu pour les déplacements à vélo assistés par un moteur. Ne roulez jamais sans batterie ou lorsque le système est débranché, sans quoi l'éclairage ne serait plus alimenté.

Votre FLYER est équipé d'une protection automatique contre la surchauffe. Si le moteur venait à surchauffer, cette protection couperait la fonction moteur, jusqu'à ce que celui-ci retrouve une température correcte. Les autres fonctions resteraient activées, pour que vous puissiez par exemple toujours utiliser l'éclairage.

Si le vélo reste immobilisé, après une dizaine de minutes l'assistance électrique s'arrête automatiquement, entraînant l'arrêt des feux. C'est pourquoi il faut rallumer l'afficheur avant chaque trajet.
5. FLYER à moteur Panasonic
5.1 Utilisation du modèle à afficheur central
Pour activer l'assistance ou l'affichage, appuyez sur le bouton Marche/Arrêt 13 se trouvant sur l'afficheur. À la mise en marche, la motorisation est par défaut en mode [No Assist].

text_image
1
2
3
MODE
1
4
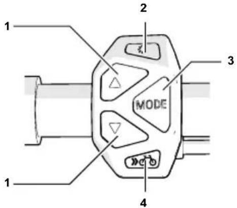
1 Boutons de choix du mode d'assistance
Permettent de choisir entre les modes d'assistance [HIGH], [AUTO], [STANDARD] et [ECO]. Pour désactiver l'assistance, sélectionnez [NO ASSIST]. À ce moment votre FLYER s'utilise comme un vélo ordinaire, en pédalage non assisté. Toutes les autres fonctions sont préservées, comme par exemple les affichages de la commande. En mode d'assistance [AUTO], le système choisit lui-même et automatiquement le niveau d'assistance qui convient en fonction de la situation.
L'assistance sélectionnée se met en marche dès que vous commencez à pédaler.
2 Bouton d'extinction des feux
À la mise en marche du système, les feux s'allu - ment automatiquement, ainsi que l'éclairage de la commande.
Le bouton d'extinction des feux permet de les éteindre manuellement.
3 Touche mode
Permet d'accéder par défilement aux informations secondaires, comme par ex. la distance parcourue, la vitesse moyenne réalisée, la vitesse maximale atteinte ou la distance totale parcourue.

text_image
5
9
6
00:00
10
00.0
mph
km/h
11
7
88888.0 km
km/h
miles
mph
12
GES/GAUTO1
STANDARD
8
13 14
15
4 Bouton « Vélo »
Les FLYER équipés d'un système d'entraînement allant jusqu'à 25 km/h offrent une assistance à la pousse. Celle-ci est limitée au maximum à 6 km/h. En pressant le bouton Vélo, il est plus facile de sortir le FLYER d'un garage souterrain ou de le pousser le long d'un passage raide. Les modèles avec assistance au pédalage au-delà de 25 km/h possèdent parfois une aide au démar rage jusqu'à 18 km/h. (L'aide au démarrage est intégrée en fonction de la réglementation de chaque pays)
5 Affichage de l'état de charge
Affiche la charge restante de la batterie du VAE.
6 Symbole USB
Ce témoin s'éclaire lorsqu'un appareil externe (un téléphone portable par ex.) est branché à l'affi cheur pour recharge.
7 Affichage du niveau d'assistance
Cet indicateur affiche le niveau d'assistance en cours. Plus il y a de barres éclairées, plus l'assistance est importante.
8 Affichage de texte
Affiche le mode d'assistance en cours, la vitesse choisie (si votre FLYER est équipé d'un change - ment de vitesse Di2), etc.
9 Affichage de l'heure
Indique l'heure.
10 Témoin d'allumage des feux
Indique si les feux sont allumés.
11 Affi chage vitesse
Indique la vitesse à laquelle on roule.
Ce champ donne des informations secondaires de type : distance parcourue partielle, distance parcourue totale, vitesse maximale atteinte, etc.
13 Bouton marche/arrêt
Met en marche l'assistance électrique.
14 Prise micro-USB
Ce port permet de brancher un appareil externe (un téléphone mobile, par exemple) à l'aide du câble fourni.
15 Obturateur en caoutchouc
Protège le port micro-USB.
16 Bouton de remise à zéro
Ce bouton permet de remettre à « 0 » la distance totale parcourue.

17 Logement de la pile bouton
Logement de la pile bouton alimentant l'horloge de l'affi cheur.
Commande Di2

text_image
18
19
18 Passage de vitesse (petit braquet)
Un appui sur ce bouton permet de monter d'une vitesse.
19 Passage de vitesse (grand braquet)
Un appui sur ce bouton permet de descendre d'une vitesse.

Il n'y a pas d'arrêt automatique de l'assistance si on roule sans pédaler, même pendant un certain temps.
5.2 Utilisation du modèle avec affi cheur sur le côté
Pour activer l'assistance ou l'affi chage, appuyez sur le bouton Marche/Arrêt 12 se trouvant sur l'affi cheur. Ne posez pas votre pied sur la pédale durant la mise en marche! L'assistance se met en marche dès que vous commencez à pédaler.

text_image
12
6
2
11
3
MODE
STANDARD 88 mph
km/h
1
AISIST
8
9
4
5
7
10
1 Boutons de choix du mode d'assistance
Permettent de choisir entre les modes d'assistance [HIGH], [AUTO], [STANDARD] et [ECO]. Pour désactiver l'assistance, sélectionnez [NO ASSIST].
2 Touche d'éclairage
Allume et éteint l'unité d'affi chage. S'ils sont alimentés en électricité par la batterie de l'e-bike, le feu avant et/ou le feu arrière s'allument et s'éteignent eux aussi.
3 Touche MODE
Permet d'accéder par défilement aux informations secondaires, comme par ex. la distance parcourue, la vitesse moyenne réalisée, la vitesse maximale atteinte ou la distance totale parcourue.
Ici s'affiche les informations secondaires telles que la distance parcourue, la vitesse moyenne réalisée, la vitesse maximale atteinte, la distance totale parcourue et l'autonomie restante.
5 Bouton «Vélo»
Les FLYER équipés d'un système d'entraînement allant jusqu'à 25 km/h offrent une assistance à la pousse. Celle-ci est limitée à 6 km/h avec le plus grand rapport. En pressant le bouton Vélo, il est plus facile de sortir le FLYER d'un garage souterrain ou de le pousser le long d'un passage raide. Sur certains modèles avec système d'entraînement au-delà de 25 km/h, on peut activer l'aide au démarrage, limitée à 18 km/h, en appuyant sur le bouton «Vélo». Le montage est réalisé conformément à la réglementation de chaque pays.
6 Affichage de l'état de charge
Affiche la charge restante de la batterie de l'e-bike.
7 Symbole USB
Ce témoin s'éclaire lorsqu'un appareil externe (un téléphone portable par ex.) est branché à l'afficheur pour recharge.
8 Affichage du niveau d'assistance
Cet indicateur affiche le niveau d'assistance en cours. Plus il y a de barres éclairées, plus l'assistance est importante.
9 Affichage de texte
Affiche le mode d'assistance en cours, la capacité restante de la batterie, les avertissements et les erreurs.
10 Témoin d'allumage des feux
Indique si les feux sont allumés.
11 Affichage vitesse
Indique la vitesse à laquelle on roule.
12 Bouton marche/arrêt
Met en marche/arrête l'assistance électrique.
Bouton de remise à zéro (au dos)
Ce bouton permet de remettre à « 0 » la distance totale parcourue.
5.3 Batterie
1 Témoins de charge
Cet indicateur affiche la
charge restante de la
batterie du VAE.
2 Bouton de contrôle du niveau de charge
Allume les DEL de contrôle du niveau de charge de la batterie pour pouvoir vérifier soi-même la charge restante.

text_image
1
2
3
4
3 Prise du chargeur
4 Obturateur en caoutchouc
Protège le connecteur de recharge lorsque la batterie n'est pas en charge.

Avant d'utiliser une batterie neuve pour la première fois, il faut vérifier si elle est complètement chargée.
Pour contrôler le niveau de charge de la batterie, appuyer sur le bouton de contrôle de la batterie. Si les cinq LED de l'indicateur ne s'allument pas toutes, il faut recharger la batterie. Pour ce faire, utilisez exclusivement le chargeur d'origine. L'utilisation de chargeurs d'autres marques est proscrite!
Affichage de l'état de charge
Le niveau de charge est donné par un indicateur à cinq LED.
La décharge complète de la batterie est indiquée par une LED qui clignote rapidement.
Retrait de la batterie
1) Commencez par éteindre le système électrique. Pour cela, appuyez sur le bouton Marche/Arrêt de l'afficheur.
2) Déverrouillez la batterie avec sa clé. Retirez-la de son support. Veillez à bien tenir la batterie : elle est lourde !

Charge de la batterie
La batterie peut se charger aussi bien en place sur le vélo que séparément.
Le chargeur

text_image
Volet de protection
1) Retirer l'obturateur en caoutchouc
Ouvrez le volet de protection de la batterie.
Branchez le chargeur sur le secteur (220-240 V, courant alternatif). Connectez-le à la batterie.

N'utilisez pas le chargeur s'il a subi un changement de température rapide du froid au chaud. En effet, il y a un risque de formation de condensation sur les contacts, et par conséquent un risque de court-circuit. Après un changement brusque de température du froid au chaud, ne branchez pas immédiatement le chargeur sur la batterie. Attendez que les deux appareils soient à température ambiante. Chargez et stockez la batterie et son chargeur toujours dans un endroit sec et propre.
2) Contrôle du témoin de charge
Vérifi ez si la LED de niveau de charge est allumée.
Cette LED s'allume en fonction du niveau de charge atteint. Une fois la charge terminée, les LED s'éteignent.

La durée de recharge s'allonge lorsque la batterie est à une température très faible ou très élevée.
Il n'est pas possible de continuer à charger une batterie déjà à pleine charge.

Ne chargez pas la batterie en cas d'affi - chage d'un défaut. La batterie peut être endommagée après une chute ou un choc mécanique, et ce même en l'absence de tout signe extérieur visible. C'est pourquoi il faut faire vérifi er par son revendeur FLYER toute batterie ayant subi un tel incident. N'essayez jamais d'ouvrir ou de réparer vous-même une batterie.
3) Retirer la fi che de la prise secteur
Déconnectez la batterie du chargeur, puis débranchez le chargeur.
N'oubliez surtout pas de refermer le volet de protection avant de réutiliser la batterie.
Consignes de sécurité concernant le chargeur
La plaque située sur le chargeur donne des consignes de sécurité, ainsi que d'autres informations en matière de sécurité pour son utilisation. Lisez soigneusement ces consignes avant utilisation.

Il faut utiliser exclusivement le chargeur d'origine Panasonic fourni avec votre VAE. Il est le seul qui convienne à la batterie lithium-ion de votre VAE.

Pour pouvoir bénéfici cier de toute sa capacité, chargez-la entièrement avec le chargeur avant de l'utiliser pour la première fois. Pour la charge, lisez soigneusement la notice d'utilisation du chargeur.
La batterie peut être rechargée à tout moment sans que cela n'affecte sa durée de vie, que ce soit sur le vélo ou séparément. La batterie ne sera pas endommagée par d'éventuelles interruptions de charge.
La batterie est équipée d'un contrôle de température empêchant toute recharge en dessous de 0 °C et au-dessus de 40 °C. Si la température de la batterie est très élevée, elle ne se charge pas. En témoigne le clignotement des DEL du haut [F] et du bas [E] lorsqu'on appuie sur le bouton de contrôle du niveau de charge.

Déconnectez la batterie du chargeur. Laissez-la se mettre à température et reconnectez-la au chargeur une fois qu'elle a atteint la bonne température.
Mise en place de la batterie
1) Mise en place de la batterie
Enfichez la batterie sur son support inférieur sur le VAE, et faites basculer la partie supérieure vers le vélo, jusqu'à ce que la serrure s'enclenche dans le support supérieur.
Assurez-vous que la batterie est bien enclenchée dans le support.

- Évitez les fortes hausses de températures résultant d'une action externe ou d'une surcharge.
- N'utilisez la batterie qu'avec votre FLYER.
- N'utilisez jamais une batterie endom - magée. Si vous constatez des fissures, des déformations sur le boîtier ou des défauts d'étanchéité, n'utilisez plus la batterie et faites-là examiner par votre revendeur FLYER.
- Lorsque la batterie est vide, la fonction d'éclairage est encore disponible environ une heure.
5.4 Assistance à la pousse
Votre FLYER est équipé d'une assistance à la pousse jusqu'à 25 km/h. Cette assistance reste activée aussi longtemps que le bouton de commande reste enfoncé. Elle permet de faire avancer votre FLYER sans avoir à pédaler jusqu'à une vitesse maximale de 6 km/h. Cette fonction sera très utile pour monter les rampes de garages ou de passages souterrains, par exemple. N'uti - lisez l'assistance à la pousse que lorsque vous êtes près du vélo, en tenant toujours le guidon à deux mains, et soyez toujours prêt à freiner. Il ne faut pas utiliser l'assistance à la pousse pour rouler. Le montage est réalisé conformément à la réglementation de chaque pays. Les modèles avec assistance au pédalage au-delà de 25 km/h possèdent parfois une aide au démarrage jusqu'à 18 km/h. (L'aide au démarrage est intégrée en fonction de la réglementation de chaque pays)
6. Dispositions légales

Toutefois, la réglementation s'appliquant aux VAE est en constante évolution. Il incombe à l'utilisateur de se tenir au courant de ces évolutions.
Les conditions d'utilisation des Pedelec et des VAE peuvent être particulières, c'est-à-dire qu'ils s'utilisent partiellement comme un vélo et partiellement non.
Avant de vous lancer sur la voie publique avec votre FLYER, il y a donc lieu de vous informer sur la réglementation en vigueur dans votre pays.
Vous trouverez ce genre d'information auprès de votre revendeur, auprès d'associations cyclistes ou d'associations d'utilisateurs de VAE, ou bien par Internet.
On vous y expliquera comment votre FLYER doit être équipé pour pouvoir rouler sur la voie publique.
Il y est précisé l'éclairage qui doit être monté sur le vélo ou qu'il y a lieu d'emporter, et le système de freinage devant l'équiper.
Le Code de la route de chaque pays précise les limites d'âge applicables ainsi que les voies autorisées ou obligatoires en fonction de l'âge. Il y est aussi expliqué les conditions de circulation des mineurs sur la voie publique. On y trouve aussi précisée l'obligation éventuelle du port du casque.

Vérifiez que votre assurance au tiers couvre les dommages occasionnés par l'utilisation d'un VAE FLYER.

Les FLYER sont prévus pour le transport ou le déplacement d'une seule personne.
Le transport de bagages n'est autorisé qu'au moyen d'un dispositif approprié monté sur le FLYER. Il ne faut pas dépasser ni la capacité maximale du porte-bagages, ni le poids total autorisé (voir les « Caractéristiques techniques »).

Poids total autorisé :
poids cycliste + poids FLYER + poids batterie + poids bagages + poids remorque
L'usage des VAE de type VTC et VTT équipés conformément à la législation nationale est auto-risé sur la voie publique et sur des chemins non stabilisés, de type chemin de terre par exemple. Le revendeur comme le fabricant du FLYER sont exonérés de toute responsabilité et de toute obligation de garantie lorsque l'usage qui est fait du vélo va au-delà de l'usage conforme à la destination, lorsqu'il n'a pas été tenu compte des consignes de sécurité, lorsque le FLYER a été utilisé en surcharge ou en tout-terrain, ou lorsque des défauts ou des pannes n'ont pas été traités dans les règles de l'art. De plus, l'application de la garantie dépend du bon respect des consignes d'entretien.
Votre FLYER n'est pas prévu pour un usage extrême, de type descente d'escaliers, sauts, participation à des compétitions homologuées ou acrobaties diverses.
Les FLYER électriques ne sont pas homologués pour participation à des compétitions.
Pour toutes questions sur les restrictions d'utilisation, n'hésitez pas à consulter votre revendeur ou le fabricant.
Informez-vous sur la législation en vigueur avant d'emprunter la voie publique. Ne roulez que sur des voies où la circulation est autorisée.
8. Avant la première utilisation
Veillez à ce que votre vélo soit opérationnel et réglé à votre taille.
Réglages nécessaires :
- Position et fixation de la selle et du guidon
- Réglage des freins
- Fixation des roues au cadre et à la fourche Pour vous assurer confort et sécurité, confiez le réglage du guidon et de la potence à votre reven-deur FLYER.
Réglez la selle sur une position qui soit sûre et confortable pour vous (voir section 11.2).
Confiez le réglage des manettes de freins à votre revendeur FLYER, pour qu'elles soient accessibles et que vous puissiez facilement freiner à tout moment. Il vous faut vous familiariser avec l'attribution des poignées de frein avant et arrière : la plupart du temps la poignée gauche actionne le frein avant et la poignée droite le frein arrière. N'oubliez pas à la prise en main de votre nouveau FLYER de vérifier quelle manette commande quel frein, ce n'est peut-être pas la disposition à laquelle vous êtes habitué. Avant chaque trajet, mais aussi chaque fois qu'on a laissé son vélo sans surveillance, même très brièvement, il y a lieu de contrôler la bonne position et le bon serrage de toutes les vis, blocages rapides, axes traversants et autres pièces importantes. Un tableau listant les vissages importants et les couples de serrage prescrits est disponible sous les « Caractéristiques techniques », et vous trouverez à la section 11.1 des conseils sur l'utilisation correcte des blocages rapides et des axes traversants.
Lorsque vous roulez avec des pédales automatiques, testez leur fonctionnement. Les pédales doivent s'enclencher facilement et sans accroc.
Vérifiez la pression des pneus. Les spécifications du fabricant (qui doivent être respectées) concernant la pression des pneus sont inscrites sur le flanc des pneus.

text_image
30 - 80 PSI (2.5-5.5 BAR)
Exemple d'une indication de pression
Par ailleurs, vous devez contrôler les composants importants suivants :
• La bonne fixation de la batterie ;
- Le niveau de charge de la batterie, et vérifiez qu'il reste suffisamment d'énergie pour le voyage que vous prévoyez ;
- Familiarisez-vous avec le fonctionnement des commandes.

Familiarisez-vous avec les caractéristiques et avec l'utilisation de votre nouveau FLYER électrique en l'essayant tranquillement dans un endroit à l'écart de la circulation.

Utilisez un FLYER dont le cadre est adapté à votre taille. Assurez-vous d'avoir une hauteur confortable à l'entre-jambe. Vous devez pouvoir descendre rapidement de votre vélo sans taper dans le cadre. Un mauvais réglage peut occasionner des blessures graves.

Attention : lorsque le mode assistance est enclenché, votre FLYER partira dès le premier coup de pédale ! En montant sur votre FLYER, veillez à ne pas poser le pied sur la pédale. Serrez d'abord une poignée de frein, car cette poussée in - habituelle peut entraîner des chutes, des risques de danger ou des accidents. Tenez-vous debout à côté de votre VAE FLYER, et passez une jambe par-des sus le vélo. En même temps, tenez fermement le guidon à deux mains, comme vous le feriez avec une bicyclette classique. Pensez toujours à replier la béquille avant de démarrer.

Les freins modernes procurent un freinage nettement plus efficace que les freins d'autrefois. Exercez-vous prudemment à l'utilisation de votre système de freinage.
Attention, l'efficacité de freinage des freins, surtout des freins à mâchoires, peut beaucoup diminuer lorsqu'il pleut ou lorsque le sol est mouillé ou glissant. Prévoyez toujours une distance de freinage plus importante lorsque vous roulez sous la pluie ! Soyez toujours prévoyant lors de vos déplacements, et familiarisez-vous avec le comportement des freins.

Si vos pédales présentent un revêtement en caoutchouc ou en matière synthétique, prenez la peine de vous habituer à l'adhérence de ce revêtement. En cas de pluie, ce type de pédale peut devenir très glissant. Si vous utilisez des pédales automatiques, familiarisez-vous avec ce système dans un endroit sûr et sans danger.

Attention, la répartition du poids sur un VAE est très différente de celle d'un vélo sans système électronique. La différence de poids se fait principalement sentir lorsque l'on gare, soulève ou transporte le vélo, ou lorsqu'il faut le pousser en montée.

Attention, si vous souhaitez rouler sur les voies publiques, votre FLYER doit impérativement respecter les normes de sécurité légales.

Contactez votre assurance pour savoir si votre vélo et tous les risques que comporte l'utilisation d'une batterie lithium-ion sont suffisamment couverts.
9. Avant chaque utilisation

Prenez la précaution de vérifier votre FLYER avant chaque trajet. En effet, il est possible que des pièces se desserrent ou que des réglages soient modifiés après montage, lors du transport ou après avoir laissé votre vélo dans un lieu public, ne serait-ce que brièvement.
À vérifier avant chaque utilisation :
- La bonne fixation et le bon fonctionnement des feux ;
- La bonne fixation et le bon fonctionnement de la sonnette ;
-
La bonne fixation et le bon fonctionnement des freins, ainsi que l'usure des patins ou des garnitures et des surfaces de freinage. Pour les freins hydrauliques, vérifiez aussi l'étanchéité des durites et des raccords ;
-
La pression des pneus. Lisez attentivement la section « Pneus et Chambres à air » (12.2) et les indications du fabricant inscrites sur le flanc du pneu ;
- Le bon état des pneus (absence de dom - mages, de signes d'usure, de cassures, de corps étrangers et profondeur suffisante des sculptures);
- Le bon état des roues (circularité, absence de dommages) ;
- La bonne fixation des roues et le bon serrage des écrous, des blocages rapides et des axes traversants ;
- La bonne fixation et le bon fonctionnement des composants du dérailleur ;
- le bon serrage de tous les blocages rapides (même lorsqu'on n'a laissé son vélo sans surveillance que très brièvement), vis, boulons et écrous.
- Le bon état du cadre et de la fourche (absence de dommages et de bosses ou autres déformations) ;
- La bonne fixation et le bon fonctionnement de la suspension ;
- La bonne fixation et le bon réglage du guidon, de la potence, de la tige de selle et de la selle.
- Niveau de charge de la batterie
- La position correcte et sûre de la batterie.

Si vous n'êtes pas absolument certain du bon état mécanique de votre VAE FLYER, ne l'utilisez pas. Faites-le d'abord vérifier et réparer par votre revendeur FLYER. Dans le cas où vous utilisez votre FLYER de façon intense (dans le cadre d'une utilisation sportive ou quotidienne), nous recommandons des révisions régulières chez votre revendeur FLYER. Pour la révision périodique, voir section 23. Votre sécurité dépend de toutes les pièces de votre FLYER, qui ont une durée de vie limitée. En cas de dépassement de cette durée de vie, des défaillances inattendues peuvent survenir, pouvant entraîner des chutes avec dommages corporels graves.

Comme c'est le cas pour tout composant mécanique, votre FLYER s'expose à l'usure et à des tensions intenses. Différents matériaux et composants peuvent subir une usure qui prendra des formes différentes, et pourra même entraîner des cassures, en raison de la tension appliquée. Une pièce dont on n'aurait pas respecté la limite de durée de vie entraînera de brusques défaillances et des blessures potentielles
pour le cycliste. Toute fissure, rayure ou tout changement de couleur constaté sur une pièce très sollicitée indique que celle-ci est usée et qu'il faut la faire changer.

Après une chute ou si votre FLYER est tombé, vous devez impérativement le faire examiner par votre revendeur FLYER !
Certaines pièces ne peuvent pas être redressées, et certains composants peuvent présenter des dommages que vous ne pouvez pas détecter.

Équipez-vous d'un antivol de qualité pour pouvoir attacher votre FLYER à un objet fixe. Faites passer l'antivol par les pièces fixées par des blocages rapides, éventuellement protégez-les par leur propre antivol. Vous éviterez ainsi que l'on vous vole ces composants.
10. Après une chute
Après une chute, il y a lieu de confier son FLYER à son revendeur pour une inspection appro-fondie. Il contrôlera l'absence d'altérations ou de dommages et vérifiera que tout est bien en place et en bon état de marche. Ces dommages peuvent prendre la forme de déformations ou de fissures sur le cadre et la fourche, de pièces tor - dues ou déréglées comme le guidon ou la selle. Les contrôles qu'effectue votre revendeur FLYER portent sur les points suivants :
- Vérifiez le cadre et la fourche. En observant les surfaces sous plusieurs angles, on peut en général facilement détecter les déformations.
- Vérifiez le bon positionnement de la selle, de la tige de selle, de la potence et du guidon. Si un déplacement est constaté, il ne faut PAS modifier le nouveau positionnement de la pièce sans avoir retiré les vissages correspondants. Il est impératif de respecter les couples de serrage prescrits. Vous trouverez les valeurs et les informations correspondantes sous les « Caractéristiques techniques » et à la section « Blocages rapides » (section 11.1).
- Vérifier la bonne fixation des roues sur la fourche et le cadre, que les deux roues tournent librement, que les jantes sont droites et passent sans frotter entre les mâchoires des freins. Les pneus ne doivent pas toucher les freins. Sur les vélos à frein à disque, on vérifie l'absence de voile de la roue à l'écart entre le cadre ou la fourche et le pneu.
- Vérifiez le bon fonctionnement des deux freins.
- Ne pas repartir sans avoir vérifié si la chaîne est bien en place sur son plateau et sur son pignon. Elle doit s'engrener correctement. Si on se met à pédaler et que la chaîne saute, cela peut provoquer des chutes et éventuelle - ment des blessures graves.
- Regardez si l'afficheur du VAE FLYER signale une erreur ou un danger. Ne roulez pas avec votre FLYER s'il vous signale un danger ! Apportez-le sans attendre à votre revendeur FLYER.
- Vérifiez que l'afficheur et la batterie ne sont pas endommagés. S'ils comportent quelque dommage que ce soit (fissure, rayures, etc.), ne roulez pas avec votre FLYER. Faites vérifier au préalable toutes les pièces et fonctions par votre revendeur FLYER.

Si le boîtier de la batterie présente des dommages, l'humidité ou l'eau risquent de s'y infiltrer, et d'engendrer des courts-circuits ou des électrocutions. Cessez immédiatement d'utiliser la batterie, et adressez-vous sans délai à votre revendeur FLYER. Ne rechargez pas la batterie !
Si vous constatez des déformations sur votre vélo, NE L'UTILISEZ PLUS. Ne pas resserrer des pièces desserrées sans les avoir contrôlées au préalable, et sans clé dynamométrique. Rapportez votre FLYER à votre revendeur FLYER et demandez-lui de vérifier votre vélo en lui expliquant votre chute!
11. Réglages
Montage des pédales
Laissez toujours le soin à votre revendeur FLYER de démonter et remonter les pédales, si vous n'avez pas déjà appris les manipulations requises. Les pédales doivent être montées à l'aide d'une clef de serrage appropriée. Attention, les deux pédales doivent être vissées en sens contraire et fixées très fort avec un couple de serrage (voir les « Caractéristiques techniques »). Il faut enduire les filetages de graisse au préalable.

text_image
Sens de marche
L
R

Attention, la pédale gauche et la pédale droite sont différentes. Vous pouvez reconnaître à quel côté correspondent les pédales grâce aux filetages dont le sens est inversé. La plupart du temps, un « R » est inscrit sur la pédale droite et un « L » sur la pédale gauche. La pédale droite se visse dans le sens des aiguilles d'une montre, la pédale gauche dans le sens inverse des aiguilles d'une montre.

Les pédales doivent être montées à l'aide d'une clef de serrage appropriée. Appliquez le couple de serrage prescrit, que vous trouverez sous les « Caracté - ristiques techniques ». Veillez à visser les pédales en les positionnant bien droites. Si elles sont vissées de travers, il y a un risque de rupture et par consé - quent de chute !

Pour des raisons de sécurité, nous déconseillons l'utilisation de cale-pieds à courroie.

Lorsque vous êtes équipé de pédales automatiques, il faut absolument lire la notice du fabricant. Il faut d'abord s'exercer à mettre et à retirer ses chaussures des pédales automatiques en roulant dans un endroit peu fréquenté. Les pédales automatiques dont on a du mal à se dégager sont très dangereuses !

Sur les pédales automatiques, le dégagement est réglable. Il est recommandé au début de choisir un réglage permettant un dégagement très facile. Nettoyez régulièrement vos pédales automatiques, et entretenez-les avec un lubrifiant adapté.
11.1 Utilisation des blocages rapides et des axes traversants
Le serrage des roues, de la tige de selle, de la selle, de la potence et du guidon peut se faire au moyen de blocages rapides, d'axes traversants ou de vissages.

Confiez à votre revendeur FLYER le soin de régler les blocages rapides et axes traversants. Il s'agit d'éléments de sécurité ; des travaux mal réalisés et l'utilisation d'outils inappropriés peuvent entraîner des chutes graves.
Blocages rapides
Les blocages rapides sont des liaisons qui fixent les pièces comme des boulons, mais dont la force de serrage est obtenue par le simple bascule ment d'un levier, vous permettant de vous passer d'outil. Ouvrir le levier desserre la liaison, fermer le levier en assure le serrage. La force de serrage peut s'ajuster lorsque le levier est ouvert, en tournant le boulon opposé.
- Pour desserrer une liaison, par exemple pour régler la hauteur de la tige de selle, ouvrez le levier du blocage rapide.
- Vous pouvez maintenant bouger et régler la tige.
- Avant d'utiliser votre FLYER, veillez à bien resserrer les blocages rapides. Il suffit pour cela de bien refermer les leviers. Assurez-vous toujours de resserrer complètement les sécurités existantes.

Pour assurer un bon serrage en toute sécurité, il faut bloquer le levier en forçant avec la paume de la main.
Si le serrage est insuffisant (la selle n'est pas bien bloquée), il faut serrer davantage l'écrou du blo -cage rapide. Pour cela, il faut rouvrir le blocage rapide.

Pour un blocage plus fortDesserrer l'écrou d
réglage
Si le serrage est trop élevé, rendant impossible la fermeture du levier, il faut le rouvrir et légèrement desserrer l'écrou de serrage.

- Tous les blocages rapides doivent être bien bloqués avant utilisation.
- Vérifiez le bon positionnement de tous les blocages rapides lorsque le vélo est resté un moment sans sur veillance, et avant chaque départ.
- En position fermée, le levier de blocage doit être bien rabattu à proximité du cadre, de la fourche ou de la tige de selle.

Si vos roues ou d'autres pièces sont fixées avec un blocage rapide, refermez les leviers lorsque vous changez la roue.
Axes traversants
Actuellement, les roues de vélos ne sont plus fixées par des écrous, et les blocages rapides utilisés jusqu'à présent sont de plus en plus remplacés par des axes traversants, qui présentent un fonctionnement à peu près similaire.
L'axe se visse d'un côté dans l'un des jambages de la fourche. Le levier assure le serrage du moyeu entre les deux jambages. Le moyeu et l'axe se serrent avec le levier de blocage, qui s'utilise de la même façon que sur un blocage rapide. Il existe également des systèmes où l'axe n'est qu'inséré ou vissé, puis bloqué par vissage. Consultez la notice du fabricant et faites-vous bien expliquer le système par votre revendeur FLYER.

text_image
Axe traversant
Levier de blocage rapide

Demandez à votre revendeur FLYER de vous expliquer comment serrer correctement et en toute sécurité les roues et toutes les pièces correspondantes avec les blocages rapides et axes traversants utilisés sur le vélo.

Une roue mal montée peut présenter du jeu ou même se détacher du vélo. Cela peut endommager le vélo et causer des blessures graves voire mortelles au cy - cliste. C'est pourquoi il est important de bien respecter les consignes suivantes : Veillez à ce que les axes, les pattes, et les blocages rapides soient toujours propres, ne soient pas encrassés et ne présentent pas de salissures. Veillez également à ce que les blocages rapides soient toujours bien fermés.
En cas de doute, adressez-vous à votre revendeur FLYER et laissez-le inspecter votre vélo.

Prenez la peine de contrôler le bon serrage de tous les blocages rapides et des axes traversants, même si vous avez laissé votre FLYER quelques instants seulement sans surveillance.
Il ne faut utiliser le vélo qu'avec tous les blocages rapides bien serrés.
Axe traversant Suntour Q-Loc
Montage
- Avant le montage, vérifi ez la collerette et ouvrez entièrement le levier

- Insérez l'axe jusqu'au «clic»

- Réglez la tension avec le levier à moitié ouvert, jusqu'à ce que la collerette soit correctement positionnée

- Fermez entièrement le levier. Vérifi ez l'ajustement et modifi ez la tension si nécessaire.

- Ouvrez entièrement le levier.

- Appuyez sur l'embout jusqu'à ce que la collerette rentre

- • Tournez l'embout dans le sens des aiguilles d'une montre jusqu'à ce que la collerette reste verrouillée

Pour pouvoir utiliser votre FLYER en sécurité et confortablement, faites régler la selle, le guidon et la potence en fonction de votre taille et de la position souhaitée.

Confi ez toujours à votre revendeur FLYER le soin de régler le guidon et la potence. Il s'agit d'éléments de sécurité ; des travaux mal réalisés et l'utilisation d'outils inappropriés peuvent entraîner des chutes graves.

La selle et la potence peuvent être fi xées par des raccords à vis ou par des serrages rapides. Les écrous sont à vis-ser au couple de serrage prescrit, voir les « Caractéristiques techniques ».
Hauteur de la selle
Afin de pouvoir bien transmettre la force de pédalage aux pédales, vous devez régler correctement votre selle.
La hauteur idéale s'obtient lorsque, assis sur la selle, avec la manivelle du pédalier tout en bas, vous avez le talon sur la pédale avec la jambe en extension.

text_image
90°
90°
Angle bras/buste 90°
La jambe se trouvant en bas doit être tendue. Si ce n'est pas le cas, descendez du vélo, réglez la hauteur de la selle et réessayez.
Attention, après le réglage, assurez-vous que le blocage rapide est correctement remis en place !

La tige de selle porte une marque qui indique la hauteur maximale d'extraction de son support autorisée. Ne tirez jamais la tige de selle au-delà de cette marque ! Elle serait susceptible de se casser ou se plier. Si vous avez besoin d'une hauteur de selle plus importante, consultez votre revendeur FLYER. Ne roulez jamais avec une tige de selle sortie plus loin car cela peut entraîner des chutes et des blessures graves.

text_image
STOP
min.
7,5 cm

Pour les enfants et les personnes qui ne sont pas parfaitement à l'aise sur un vélo, il faut régler la hauteur de la selle de façon à pouvoir toucher le sol avec la pointe des pieds. Sans cela, il y aurait un risque de chute, et éventuellement de graves dommages corporels, lorsque le vélo est à l'arrêt.
Position de la selle
La position horizontale de la selle doit également être réglée.
La meilleure position est lorsque, avec la mani-velle du pédalier en position horizontale, le genou avant se trouve exactement à l'aplomb de la pédale.
La position horizontale de la selle doit respecter les repères et les indications du fabricant.

Vérifi ez avant le départ que la tige de selle et la selle sont correctement fi xées : prenez la selle par l'avant et par l'arrière et essayez de la faire tourner. Elle ne doit pas bouger.
Hauteur du guidon
Une fois la selle bien réglée, il faut maintenant positionner correctement le guidon.
Une bonne position de départ pour une conduite détendue correspond à une position assise, dans laquelle le buste et le bras forment un angle de 90°. La bonne hauteur du guidon s'obtient en réglant la hauteur de la potence.

Confiez le réglage du guidon et de la potence à votre revendeur FLYER.
Speedlifter Twist
Le réglage de la hauteur du guidon est très simple sur les FLYER équipés d'une potence réglable Speedlifter. Le système Twist permet de faire tourner le guidon à 90°, et de diminuer l'encombrement de votre FLYER pour le transporter ou le ranger.
Ouvrez le levier de blocage rapide du Speedlifter (1)

et réglez le guidon à la hauteur souhaitée (2).

text_image
②
Refermez complètement le levier de blocage rapide pour verrouiller le guidon (3).

Pour faire tourner le guidon sur le côté, ouvrez le levier du blocage rapide (1).

Soulevez le verrou de déblocage (2).

Vous pouvez maintenant tourner le guidon sur le côté (3). Le verrou de déblocage se remet automatiquement en position initiale après une rotation de 90° (4). Refermez complètement le levier de blocage rapide pour verrouiller le guidon.

text_image
90°
③
④
Remettez le guidon en position d'origine : Soulevez le verrou de déblocage (1).

Tournez-le dans sa position d'origine (2). Le ver- rou de déblocage doit se réenclencher seul (3).

text_image
90°
②
③
!
Refermez complètement le levier de blocage rapide (4).

Le blocage rapide du Speedlifter doit être complètement refermé pendant les trajets, comme tout blocage rapide. En outre, il faut faire bien attention à ce que le verrou de déblocage soit bien enclenché dans le trou avant correspondant. Ne changez pas la position du guidon pendant que vous roulez !

Lisez la notice du fabricant de composant et rendez-vous sur le site web www.speedlifter.com.
Réglage de la potence

S'agissant des potences, il y a lieu de bien consulter la notice du fabricant.
Confi ez toujours le réglage du guidon et de la potence à votre revendeur FLYER!
Les FLYER peuvent être équipés des types de potences suivants :
Potence Aheadset

Vous pouvez incliner la potence à votre convenance. Vous devez pour ce faire desserrer la vis de fixation, puis, après le réglage, appliquer le couple de serrage nécessaire pour la maintenir dans la position voulue
Réglage de l'angle de la potence
Pour régler l'angle de la potence, et par conséquent la position du guidon, dévisser de quelques tours la vis Allen supérieure, en faisant attention à ne pas la dévisser complètement.
Cela fait, régler l'inclinaison de la potence à sa guise. Une fois le bon réglage obtenu, resserrer la vis Allen au couple prescrit.

text_image
Réglage de l'angle
de la potence
Max
11Nm
Max
6Nm
Fixation de la
potence

Tout réglage de la potence modifi e la position du guidon. Il faut que les poignées et tous les mécanismes restent toujours bien accessibles et fonctionnels. Les poignées particulières avec une forme aérodynamique très prononcée nécessiteront peut-être un repositionnement.
Lorsque vous modifi ez la position du guidon et de la potence, faites bien attention à conserver une longueur suffi sante pour toutes les extrémités et les câbles, et permettre d'effectuer tous les mouvements nécessaires avec le guidon.
11.3 Réglage des manettes de frein

Les manettes de frein doivent être orientées de façon à permettre aux mains de les actionner en toute sécurité et sans fatigue (les mains se trouvant dans le prolongement naturel des bras en extension).

Avant le premier trajet, apprenez sur quelle roue agit chaque manette de frein.
Pour que les manettes de frein soient également accessibles aux petites mains, certains modèles de freins permettent de régler l'écartement de la poi - gnée. Confiez toujours le réglage des freins à votre revendeur FLYER, il en va de votre propre sécurité.

Les manettes de frein doivent être réglées de manière que, même serrées à fond, elles ne butent pas contre les poignées du guidon.
11.4 Amortisseurs
Afin de garantir le bon fonctionnement des pièces de suspension, il est impératif de faire régler votre FLYER par un revendeur agréé, en fonction de votre poids et de la façon dont vous utilisez votre vélo.

N.B. La suspension peut avoir besoin d'un nouveau réglage si vous roulez avec une charge supérieure à la charge habituelle (en randonnée, par exemple).
C'est pourquoi il vaut mieux la confier à votre revendeur.

Certaines tiges de selles suspendues peuvent aussi s'adapter à l'utilisateur. Veuillez vous adresser à votre revendeur FLYER à ce sujet.

Les trains roulants et la suspension sont vitaux pour la sécurité de votre FLYER.
Contrôlez et entretenez régulièrement votre FLYER suspendu. Confiez-en la révision périodique à votre revendeur FLYER.
Les trains roulants fonctionnent mieux et plus longtemps si vous les nettoyez régulièrement. Le mieux pour cela est de l'eau tiède avec un détergent doux.
12. Roues et pneus
Les roues sont soumises à une forte contrainte du fait des inégalités au sol et du poids du conducteur.
- Il y a lieu, après les 200 premiers kilomètres, de faire contrôler les roues de votre vélo par un spécialiste, et éventuellement de les équilibrer.
- La tension des rayons doit ensuite être vérifiée à intervalles réguliers. Les rayons détendus ou abîmés doivent être changés ou réglés par un spécialiste FLYER.
12.1 Contrôle des jantes
Les jantes s'usent plus vite avec des freins à mâchoires.

Plus une jante est usée, moins elle est solide, et plus elle risque de s'abîmer. Une jante tordue, fissurée ou cassée peut provoquer des accidents graves et des chutes sévères. N'utilisez plus votre FLYER si vous remarquez des dom- mages sur une jante. Faites contrôler la jante par un revendeur FLYER.

Les jantes pour freins à mâchoires portent des témoins d'usure de la jante. Il s'agit d'une rainure ou bien de points, présents sur toute la circonférence de la jante.
Si ces éléments sont usés ou devenus impossibles à voir, à un ou plusieurs endroits, il faut remplacer la jante. Faites contrôler vos jantes par votre revendeur FLYER au plus tard après avoir usé deux paires de patins de caoutchouc.

text_image
Repères d'usure sur
les jantes
12.2 Pneus et chambres à air

Les pneus font partie des pièces d'usure. Vérifiez régulièrement la profondeur des sculptures, la pression de gonflage, l'état des flancs de chaque pneu, et surveillez l'apparition de déformations ou de traces d'usure.

La pression maximale autorisée du pneu ne doit pas être dépassée lors du gon- flage. Sinon il y a un risque d'éclatement du pneu.
Le pneu doit être gonflé au moins avec la pression minimale indiquée. En cas de pression de gonflage insuffisante, vous courez le risque de voir le pneu se détacher de la jante.
Les valeurs de pression maximale et mini male sont indiquées sur le flanc du pneu. Un pneu ne doit être remplacé que par un modèle de pneu identique. Sinon les caractéristiques de roulage peuvent être modifiées de manière défavorable. Des accidents peuvent alors se produire par la suite.

Les pièces abîmées sont à remplacer par des pièces d'origine exclusivement.

text_image
Valve Schrader (automobile)
La plupart des FLYER sont équipés de valves Schrader (automobile). Ces valves permettent de gonfler les pneus de votre VAE FLYER avec la plupart des modèles de pompes. Renseignez-vous en magasin sur le type de pompe adapté au modèle de valve présent sur votre vélo. Il faut toujours remplacer les chambres à air par des pièces identiques.
12.3 Réparation des crevaisons
Sur un VAE, la réparation des crevaisons dans les règles de l'art peut réclamer tout un savoir-faire et des outils spécifiques. Il est recommandé de confier ce genre de réparation à votre reven -deur FLYER.

La réparation d'une crevaison implique des interventions sur des organes de sécurité. Un mauvais montage des roues ou des freins peut provoquer des chutes et des blessures graves. C'est pourquoi nous déconseillons de réparer soi-même les crevaisons. Faites toujours réparer vos crevaisons par votre spécialiste FLYER.

Si vous prévoyez de réparer vous-même les crevaisons, par ex. en randonnée, demandez à votre revendeur FLYER de vous montrer la procédure à suivre et exercez-vous à monter et démonter roues et pneus sous sa direction. Avant de commencer à changer un pneu ou une roue, une opération de maintenance ou une réparation, il faut impérativement éteindre le système d'assistance et retirer la batterie.
Il vous faut les outils suivants :
• démonte-pneus (en plastique)
- pièce de raccommodage
- solution de caoutchouc
- toile d'émeri
- clé plate (pour les roues sans blocage rapide)
- pompe à vélo
- chambre à air de rechange
Si votre FLYER est équipé de freins à mâchoires à tirage linéaire (V-brakes), on procède comme suit pour ouvrir les freins :
- mettre une main à cheval sur le pneu ;
- appuyer les bras du frein contre la jante ;
• retirer le câble ou la gaine de l'un des bras.

Il faut veiller, au démontage de la roue avant ou de la roue arrière, à décrocher le câble.
Avec des freins à mâchoires hydrauliques, il faut procéder comme suit pour déposer le frein :
- Si ce modèle de freins est équipé d'un levier de blocage rapide, démonter l'ensemble selon la notice du fabricant (voir aussi page 69).
- si le câble est fixe, dégonfler un peu le pneu.
Si votre FLYER est équipé de Freins à disque, la roue peut se démonter sans préparatifs.
N.B. Pour remonter la roue, il faut insérer le disque entre les étriers du frein et ensuite veiller à ce qu'il soit bien centré et qu'il ne frotte pas.
Sur les freins à rétropédalage, il faut dévisser le bras anticouple fixé à la base (au tube horizontal).
2. Dépose de la roue
- Si votre bicyclette est équipée de blocages rapides ou axes traversants, les ouvrir.
- Si votre bicyclette est équipée d'écrous d'axe, les desserrer avec une clé plate de la bonne taille (dans le sens contraire des aiguilles d'une montre.
La roue avant s'en-
lève à l'identique.
Pour la roue arrière :
- Sur les bicyclettes à dérailleur, se mettre sur le plus

petit pignon (vitesse la plus rapide), ce qui est la position où la roue s'enlève le plus facilement.
- Si votre bicyclette est équipée de blocages rapides ou axes traversants, les ouvrir.
- Si votre bicyclette est équipée d'écrous d'axe, les desserrer avec une clé plate de la bonne taille (dans le sens contraire des aiguilles d'une montre.
- Rabattre le dérailleur un peu vers l'arrière.
- Soulever un peu la bicyclette.
- De la paume de la main, donner à la roue un petit coup vers le bas.
• retirer la roue du cadre.
Si votre bicyclette est équipée d'un moyeu à vi -tesses intégrées, consultez d'abord la notice du fabricant.
Modèles de valve équipant les chambres à air de votre FLYER électrique

3. Démontage du pneu et de la chambre à air
- Dévissez le capuchon, l'écrou de fixation de la valve, et éventuellement le raccord
• Laissez la chambre à air se dégonfler.
- De l'autre côté de la roue par rapport à la valve, insérez un démonte-pneu juste sous le talon du pneu.
- Environ 10 cm plus loin, insérez le second dé - monte-pneu entre jante et pneu. Faites levier avec un démonte-pneu pour faire sortir le talon du pneu par-dessus le rebord de la jante.
- Répétez l'opération en vous décalant à chaque fois jusqu'à complètement dégager ce côté du pneu.
• Retirez la chambre à air.

4. Remplacement de la chambre à air
Changez la chambre à air.

Les pneus, qu'ils soient avec ou sans chambre, doivent se changer conformément aux instructions du fabricant de pneus ou de jantes.
5. Montage du pneu et de la chambre à air

Faites attention à ne pas laisser s'introduire de corps étranger à l'intérieur du pneu. Vérifiez que la chambre ne fasse pas de plis et ne soit pas coincée.
Vérifiez que le fond de jante recouvre bien tous les écrous de rayon et qu'il ne soit pas abîmé.
- Mettez la jante à l'intérieur du pneu.
- Faites rentrer un des côtés du pneu dans le creux de la jante, sur tout le tour.
- Faites passer la valve par le trou prévu à cet effet, puis, de part et d'autre, disposez la chambre dans la jante, à l'intérieur du pneu.
- Faites passer vigoureusement l'autre côté du pneu entièrement par-dessus le rebord de la jante, en appuyant avec la paume (avec l'éminence thénar).
- Vérifiez le bon positionnement de la chambre à air.
• Gonflez un peu la chambre à air.
- Vérifiez que le pneu soit bien en place, en vous repérant à l'aide de la fine moulure courant le long du pneu. S'il n'est pas tout à fait bien en place, rectifiez-en la position à la main, et vérifiez sa bonne concentricité.
- Gonflez la chambre à air à la pression recommandée.

Avant de monter le pneu sur sa jante, vérifiez-en le sens de roulement.
6. Monter la roue
Remettre la roue en place et la fixer à la fourche ou au cadre avec ses écrous, son through axle ou son blocage rapide.

Si votre bicyclette est équipée de freins à disque, vérifiez que les disques soient correctement pris entre les garnitures !
Pour un bon montage et réglage des dérailleurs, des moyeux à vitesses intégrées et des systèmes combinés, consultez la notice du fabricant.

Serrez toutes les vis à leur couple de serrage prescrit. Faute de quoi les vis peuvent s'arracher et des pièces se détacher.
- Mettez le câble en place en le bloquant ou en le raccrochant.
- Vérifiez si les garnitures touchent la surface de freinage.
- Revissez le bras anticouple.
- Faites un essai de freinage.
13. Changements de vitesse
Les vitesses permettent d'adapter son effort à la route ou d'atteindre la vitesse voulue. Les petits braquets vous permettent de monter les pentes plus facilement en se fatiguant moins. Les grands braquets demandent d'appuyer plus fort sur les pédales mais permettent d'aller plus vite et en pédalant à une cadence plus faible.

Même si vous êtes déjà un cycliste expérimenté, faites-vous bien expliquer par votre revendeur FLYER les particularités du changement de vitesses de votre VAE et la façon de vous en servir. Faites des essais sur un terrain calme et dégagé.
Si vous avez des questions concernant le mon - tage, l'entretien, le réglage et l'utilisation, veuillez contacter votre revendeur FLYER. N'oubliez pas non plus de consulter les notices ci-jointes des fabricants des composants.

Malgré un dérailleur parfaitement réglé, des bruits peuvent apparaître si la chaîne de vélo se déplace de biais. Ces bruits sont normaux et n'entraînent pas de dommages au niveau des composants du dérailleur.

Ne rétropédalez jamais pendant que vous changez de vitesse : cela pourrait endommager le dérailleur.

L'utilisation de dérailleurs défectueux, mal réglés ou usés est dangereuse et peut provoquer des chutes. C'est pourquoi, en cas de doute, il est recommandé de les faire contrôler et éventuellement régler par votre revendeur FLYER.

Changements de vitesse électroniques
Vous pouvez ne pas avoir l'habitude des changements de vitesse électroniques. Faites-vous bien expliquer leur fonctionnement par votre vélociste.
14. Chaîne et pignons
Entretien des chaînes de vélo
Les chaînes de vélo sont des pièces d'usure. Le degré d'usure est très variable. Faites régulièrement contrôler la chaîne de votre FLYER par votre revendeur FLYER.
- Changement de vitesse à moyeu : à partir d'environ 3000 km
• Dérailleur : env. 1500-2000 km

Une chaîne usée est susceptible de casser, pouvant provoquer des chutes très graves. C'est pourquoi une chaîne usée est à faire remplacer sans tarder par votre revendeur FLYER.
La chaîne de votre vélo est à entretenir régulii - rement par nettoyage et lubrification. Prendre ces précautions évite une usure prématurée de la chaîne.

Pour un bon fonctionnement de la chaîne et du changement de vitesse, il faut que la chaîne présente une certaine tension. Les dérailleurs assurent une tension automatique de la chaîne. Avec les moyeux à vitesses intégrées, il faut retendre une chaîne qui pend trop. En effet, elle risque de sauter, ce qui peut entraîner une chute.

Après chaque réglage de la tension de la chaîne, il faut resserrer correctement les écrous et les suspensions à rétropédalage.

Pour procéder au réglage de la tension de la chaîne, il faut au préalable impérativement couper l'assistance et retirer la batterie. Si la chaîne de votre VAE FLYER déraille (tombe d'un plateau ou d'un pignon), la première chose à faire est de couper l'assistance. Ensuite, seulement, vous pouvez remettre la chaîne en place.
Tendre la chaîne sur le Tandem

Si vous possédez un FLYER Tandem, vous devrez être particulièrement vigilant à ce que la chaîne entre les deux pédaliers ait une tension correcte. Confiez à votre revendeur FLYER le soin de régler la tension de la chaîne de votre FLYER Tandem.

text_image
min
Éteignez le système d'assistance et retirez la batterie.
Tournez les pédaliers jusqu'à ce que la tension de la chaîne soit maximale (la flèche la plus réduite).

text_image
>3 cm
Dans cette position des pédaliers, il doit être possible (au centre de la section de chaîne libre) de bouger la chaîne librement sur 2 à 3 cm sans forcer.

Si la tension de la chaîne est trop importante ou trop faible, desserrez la fixation de l'excentrique du pédalier.
Dans le cas de votre FLYER Tandem, l'excentrique est bloqué en interne. La fixation est réalisée par le côté au moyen d'une vis à tête creuse.

Desserrez la vis sur deux ou trois tours seulement dans le sens inverse des aiguilles d'une montre ; ne la dévissez pas entièrement !

À l'aide d'une clé mâle coudée, tournez l'excentrique jusqu'à ce que la chaîne soit correctement tendue.

Pour obtenir une tension idéale de la chaîne, vous pouvez tourner l'excentrique vers la gauche ou vers la droite. Comme la manivelle n'est pas fixée au milieu de l'excentrique, le sens de rotation de celui-ci a une incidence sur la position de la manivelle et sur l'assise. Pour obtenir une assise plus basse ou une garde au sol plus importante, après réglage de la tension, le centre du péda lier doit se trouver au-dessus du milieu de l'excentrique. La position de la manivelle est ainsi décalée vers le haut. En règle générale, il est conseillé de tourner l'excentrique dans la direction opposée à sa position, afin que le centre du péda lier, après réglage de la tension, se trouve sous le milieu de l'excentrique.

Ensuite resserrer la vis sur le côté du roulement de pédalier.
Fixez l'excentrique à l'aide d'une clé mâle cou-dée, pour que celui-ci ne tourne pas lors du serr- rage des vis.

text_image
2-3 cm
Vérifiez encore une fois la tension correcte de la chaîne.
15. Freins

Les freins sont des pièces déterminantes en matière de sécurité. Confiezen le réglage et la révision impérativement à votre revendeur FLYER. Utilisez exclusivement des pièces d'origine. Si-non, cela peut porter préjudice au fonctionnement de votre VAE FLYER ou l'endommager. Aucune modification des freins n'est permise.

Les freins modernes procurent un freinage très fort. Vous devez vous habituer à ce nouveau degré de freinage, et commencer par doser votre freinage. Testez les freinages d'urgence dans un endroit sûr et sans danger, pour pouvoir mieux maîtriser votre FLYER en situation de freinage très difficile.

Lors des longues descentes, évitez de freiner en continu : les freins risquent de devenir très chauds, réduisant ainsi la capacité de freinage. Dans des -centes longues et raides, il faut impérativement freiner avec les deux freins en alternance afin que l'autre frein puisse refroidir. Freinez plutôt brièvement et fortement avant les virages ou lorsque vous roulez trop vite. Ainsi, les freins auront le temps de refroidir entre deux freinages. Cela préserve la puis sance de freinage. La seule exception est lorsqu'on roule sur un sol glissant, comme du sable ou du verglas. À ce moment il faut freiner très doucement et surtout avec le frein arrière, Sinon on court le risque de voir la roue avant se dérober latéralement, ce qui vous fait tomber. Lors des longues descentes, faites régulièrement des pauses pour vous assurer que les freins sont suffi samment froids. Après les longues descentes, évitez de toucher les freins pendant au moins une demi-heure, car ils peuvent être brûlants.

Pratiquement tous les types de freins modernes assurent un freinage nettement plus puissant ce que n'était le cas autrefois. Avant d'utiliser le vélo sur route, il faut d'abord s'y habituer en pratiquant des freinages et des freinages d'urgence dans un endroit à l'abri de la circulation. Roulez prudemment. Il y a lieu d'utiliser des pièces d'origine exclusivement. Sinon, cela peut porter préjudice au fonctionnement de votre VAE FLYER ou l'endommager. Réglez la manette de frein de manière que, même serrée à fond, elle ne bute pas contre la poignée du guidon.

Freins à rétropédalage
Si votre FLYER est équipé de freins à rétropédalage, ceux-ci s'actionnent en appuyant sur les pédales vers l'arrière et non plus vers l'avant. À ce moment, on ne dispose plus de la roue libre et les pédales ne peuvent plus tourner vers l'arrière !

Avec ce dispositif, vous pourrez freiner au mieux en positionnant les manivelles du pédalier à l'horizontale. Si l'une des manivelles est en haut et l'autre en bas, vous risquez de compromettre votre freinage en libérant de l'énergie au mauvais moment.

Lors des longues descentes, s'il est utilisé en continu, le freinage des freins à rétropédalage peut fortement diminuer. Cela est dû au fort échauffement que provoque un freinage prolongé. Sur les longues descentes, freinez également avec les freins à mâchoire. Laissez aux freins à rétropédalage le temps de refroidir, et ne touchez pas aux mâchoires des freins.

Faites attention à bien remettre en place la suspension de freins avec la vis correspondante en démontant et remontant le système.
Freins sur jante (v-brake)

La puissance de freinage de freins sur jante modernes est très importante. Vous devez vous habituer à la puissance de freinage du frein sur jante. N'actionnez le frein que de façon dosée. Vous devez vous exercer aux freinages d'urgence, afin que vous puissiez bien maîtriser votre VAE, même en cas de freinages puissants.

Il faut veiller, au démontage de la roue avant ou de la roue arrière, à décrocher le câble.
Des éléments de ressort supplémentaires inadé - quats utilisés dans le système de freinage (modulateurs de puissance de freinage) peuvent provoquer des chutes graves.
Réglage des freins
Votre FLYER vous est remis par votre reven-
deur dans un état correctement réglé. Une fente
d'environ 1 à 1,5 mm doit être présente entre les
plaquettes de frein et la jante. Du fait de l'usure
des plaquettes de frein, la fente s'agrandit au fil
du temps, ce qui augmente la course du levier
de frein. Par conséquent, il convient de vérifier le
frein à intervalles réguliers et de l'ajuster lorsque
la course de levier devient trop importante ou si le
frein ne freine pas correctement.
Vous pouvez reconnaître le degré d'usure des plaquettes de frein à l'aide des entailles dans les plaquettes. Lorsque ces entailles ne sont plus visibles, faites remplacer les plaquettes de frein par un revendeur FLYER spécialisé.
Vérifiez le fonctionnement du frein de la manière suivante :
- Poussez le VAE en marche avant en action nant successivement les leviers de frein des roues avant et arrière comme pour un freinage appuyé lorsque vous roulez.
- La roue avant doit freiner et la roue arrière doit se soulever du sol.
- La puissance de freinage au niveau de la roue arrière doit être suffisamment importante pour bloquer la roue.
Régler la distance de la garniture de frein par rapport à la jante
La distance de la garniture de frein par rapport à la jante doit être réglée en tournant la vis de réglage du câble au niveau du levier de frein. Lorsque vous tournez la vis de réglage vers l'in - térieur dans le sens des aiguilles d'une montre, vous augmentez la distance de la garniture de frein par rapport à la jante. Lorsque vous tournez la vis vers l'extérieur dans le sens inverse des aiguilles d'une montre, vous diminuez la distance de la garniture de frein par rapport à la jante. La distance entre les plaquettes de frein et la jante doit être d'environ 1 mm.
Réglage du câble de commande

text_image
Jeu d'environ 15 mm
Vis de réglage du câble
Vis de réglage du câble

text_image
Vis de réglage
du ressort
1 mm
1 mm
Vis de réglage
du ressort
Réglage des freins au niveau de la jante
Usure des garnitures
Les tampons en caoutchouc pour les freins sur jante sont presque tous pourvus de rainures ou de cannelures.
Les rainures et les cannelures servent entre autres à déceler le degré d'usure des tampons en caoutchouc. Si ces rainures ou cannelures ne sont plus visibles, les tampons en caoutchouc doivent être remplacés.
Si une garniture de frein en caoutchouc frotte
contre la jante :
Les vis de réglage à ressort vous permettent de régler la force de détente pour que les deux tampons en caoutchouc se décollent de la jante de façon uniforme lorsque vous relâchez le levier de frein. Vérifiez revisser le bon fonctionnement du frein (reportez-vous au chapitre « Ajuster le frein »).
Les patins en caoutchouc, les pièces du système de freinage et les jantes sont des pièces d'usure. Faites régulièrement contrôler l'état d'usure de ces pièces par votre revendeur FLYER. Les rai - nures des patins en caoutchouc et les points gravés sur les jantes vous aideront à déterminer le degré d'usure.
Si ces rainures ou points ne sont plus visibles, vous devez changer les patins en caoutchouc ou les jantes. Changez toujours les deux patins en caoutchouc en même temps.

Jante neuve (avec témoins d'usure)

patins en caoutchouc neufs Patins en caoutchouc usés

Freins à mâchoires hydrauliques
Même si des freins à mâchoires hydrauliques ne demandent que peu d'entretien, il faut tout de même les contrôler régulièrement et éventuellement les régler.
L'usure des patins provoque une augmentation de la course de la manette, ce qui peut rendre nécessaire un réglage des freins. Sur la plupart des modèles, il suffit pour cela de tourner une vis ou une molette de réglage. Veuillez vous adres - ser à votre revendeur FLYER.
Frein sur jante hydraulique

Pour retirer les roues avant ou arrière, il faut d'abord ouvrir le levier de serrage rapide du frein. Pour cela, ce dernier doit être basculé vers le bas, de façon à ce que le mot « OPEN » soit lisible.
Sortez maintenant l'unité de frein desserrée du socle de frein en la retirant de son logement. Vous disposez maintenant de suffisamment de place pour pouvoir enlever le pneu lors du démontage final de la roue.
Le remontage s'effectue dans l'ordre inverse. Avant de fermer le serrage levier de frein, le frein doit être positionné de manière à ce que la gar - niture de frein en caoutchouc entre en contact avec le milieu de la jante lorsque vous actionnez le frein. Veillez à ce qu'on puisse lire le mot « CLOSED » sur le levier de serrage rapide fermé.

Exécutez au moins un freinage de test avant de reprendre la route.

Vérifiez régulièrement les plaquettes de frein et faites-les remplacer lorsqu'elles sont usées.
Vous trouverez des informations supplémentaires dans la notice d'utilisation du fabricant et sur le site web www.magura.com

Si votre frein ne fonctionne pas correctement, faites contrôler votre VAE par un revendeur spécialisé. N'utilisez plus votre VAE si les tampons en caoutchouc sont tellement usés qu'un ajustage n'est plus possible. Faites d'abord remplacer les tampons en caoutchouc par le reven- deur spécialisé.
Freins à disque

Le réglage et l'entretien des freins à disque doivent être effectués par un revendeur FLYER. Des freins mal réglés peuvent provoquer des accidents et des blessures graves.
Avant chaque départ, et notamment après chaque réglage des freins, il est nécessaire de vérifier qu'ils freinent bien. Après un change-ment des freins, leur comportement pendant le freinage peut s'altérer. Dans le cas de freins à disque, un temps de rodage est nécessaire. Ce n'est qu'après environ 10 freinages effectués à 30 km/h que les garnitures de frein développent leur puissance maximale. Durant cette période, la puissance de freinage augmente. Pensez-y pendant toute la durée du rodage.
Après avoir remplacé les garnitures ou les disques de frein, un nouveau temps de rodage est nécessaire.
Soyez attentif aux bruits inhabituels lors du frein - nage ; ils peuvent indiquer que les garnitures de frein sont usées jusqu'à la limite. Vérifiez l'épais- seur des garnitures après le refroidissement des freins. Le cas échéant, faites remplacer les garni- tures de frein.

Ne touchez pas le disque de frein lorsqu'il est en rotation. Vous pourriez vous blesser gravement si vous passez vos doigts dans les évidements du disque de frein en rotation.
Lors du freinage, l'étrier de frein et le disque peuvent chauffer. Vous pouvez vous brûler si vous touchez ces pièces pendant l'arrêt ou immédiatement après.

Faites changer les disques des freins lorsque ceux-ci sont usés ou déformés. Confiez à votre revendeur FLYER le soin de procéder au change ment des disques de freins.
Freins hydrauliques
Des conduites et des raccords non étanches peuvent entraîner des fuites de liquide de frein au niveau du système de freinage. Ceci peut nuire à la capacité de fonctionnement du frein. Vérifiez avant chaque départ que les câbles et les bran -chements sont secs.
N'utilisez pas votre FLYER si du liquide s'échappe du système de freinage. Faites effectuer immédiatement les travaux de réparation nécessaires par un revendeur FLYER. Le risque que votre frein présente une défaillance est très élevé.

Avant un transport, vous pouvez contourner ce problème en actionnant le levier de frein et en le maintenant dans cette position à l'aide d'une courroie par exemple. Ceci permet d'empêcher la pé nétration d'air dans le système hydraulique. Attention, le levier de frein ne doit pas être serré si la roue correspondante est démontée. Si la roue doit impérativement être démontée, placez une entretoise entre les mâchoires des freins.
Même si vous êtes déjà un cycliste expérimenté, faites-vous bien expliquer par votre revendeur FLYER les particularités du système de freinage de votre VAE et la façon de vous en servir. Entraînez-vous à l'utiliser dans un endroit calme, sûr et sans danger !
Pour toute question sur le montage, le réglage, l'utilisation et l'entretien, tournez-vous vers votre revendeur FLYER.

Lorsque vous actionnez la manette de frein, vous devriez nettement sentir un point de pression à environ un tiers du parcours. Si vous pouvez rabattre la manette jusqu'à la poignée du guidon, ne roulez pas avec votre vélo ! Votre FLYER ne fonctionne pas en toute sécurité. Vous devez immédiatement et impérativement contacter votre revendeur FLYER et lui faire régler les freins, ou attendre de pouvoir le faire.

Les disques et les garnitures, ou bien les patins, sont soumis à une usure intense. Veuillez faire vérifier régulièrement par votre revendeur FLYER l'usure de ces composants de sécurité et les faire remplacer le cas échéant.

Lorsqu'il devient nécessaire de nettoyer le système de freinage, confiez cette manipulation à votre revendeur FLYER. Vous trouverez les recommandations du fabricant concernant le nettoyage du système de freinage dans la documentation correspondante.
Toute intervention sur les freins (changement des freins ou de pièces uniques) est à confier impérativement à votre revendeur FLYER. Utilisez exclusivement des pièces d'origine. Sinon, cela peut porter préjudice au fonctionnement de votre VAE FLYER ou l'endommager.
Faites régulièrement contrôler les freins selon les recommandations du fabricant par votre reven deur FLYER.

Pour chaque opération de maintenance, veillez à éteindre le système électrique et à retirer la batterie.

text_image
GES16 AUTO1
STANDARD
Éteignez le système d'assistance

Procéder aux opérations de maintenance

Toute intervention sur les freins est à confier à votre revendeur FLYER. Les garnitures de frein, les surfaces de freinage sur les jantes, les mâchoires des freins et les disques de frein ne doivent jamais entrer en contact avec des corps gras. Toute huile ou graisse réduit l'effi - cacité de freinage.

Ne roulez jamais si les pièces des freins, ou les disques de freins ou patins de caoutchouc/les pièces des freins, ou les disques de freins ou les jantes sont recouverts de graisse. Des garnitures/patins gras doivent être remplacés, tan-dis que des jantes ou des disques graissés doivent être nettoyés.

Si les freins doivent être changés, il faut impérativement utiliser des pièces d'origine.
16. Éclairage
En principe, l'éclairage de votre VAE FLYER est alimenté par la batterie. Une fois celle-ci déchargée, la fonction d'éclairage est encore disponible pendant environ une heure.
Le feu doit être orienté de façon à éclairer la route conformément à la législation de votre pays.

Si l'éclairage ne fonctionne pas bien, faites examiner le système par votre revendeur FLYER, qui, le cas échéant, procèdera à son remplacement.
Certains modèles sont équipés de feux de jour. Celui-ci est alimenté par des sources de tension différentes, suivant la situation de conduite.

Nettoyez régulièrement les feux et les catadioptres. Pour cela il suffit d'eau chaude et de détergent pour la vaisselle ou le ménage.

Les feux sont des éléments très importants pour la sécurité. Leur fonction est vitale. En cas de panne ou de défauts de fonctionnement intermittents, confiez le contrôle et la réparation uniquement à un revendeur FLYER agréé !
17. Utilisation avec charge supplémentaire
Porte-bagages / Utilisation avec chargement
Rouler chargé modifie le comportement routier de votre FLYER électrique. La distance de freinage est plus importante et il perd en maniabilité. Adap tez votre style de conduite à ce nouveau comportement, en tenant compte surtout de la distance de freinage plus importante. Ne transportez de bagages que sur un porte-bagages homologué, en tenant bien compte du poids total autorisé. Cette limite ne doit en aucun cas être dépassée. Il ne faut jamais fixer de porte-bagages à la tige de selle ; cela peut entraîner des ruptures et des chutes très graves. Cela annule la garantie du fabricant.

Veillez pour le transport de bagages ou d'autres charges, à en assurer la bonne fixation sur le porte-bagages. Il convient de veiller à ce qu'aucun élément ne puisse s'accrocher dans les rayons ou dans les roues en rotation.
18. Garde-boue
Le garde-boue est muni de clips de sécurité au cas où quelque chose se bloquerait entre le garde-boue et le pneu. Cette fixation de sécurité se détache alors de son support afin d'éviter une chute.

Descendez immédiatement du vélo si un corps étranger est coincé entre le pneu et le garde-boue. Il faut veiller à retirer tout corps étranger avant de poursuivre sa route. Sinon, vous risquez une chute et des blessures graves.

Ne continuez en aucun cas à rouler avec une tringle de garde-boue mal fixée : elle pourrait se prendre dans la roue et la bloquer. De plus, les fixations exposées du garde-boue sont susceptibles de provoquer des blessures graves.
Les garde-boues endommagés doivent impérativement être remplacés par un revendeur FLYER avant que vous ne repreniez la route. De même, vérifiez régulièrement si les tringles sont bien fixées dans les sécurités anti-arrachement.
19. Accessoires et équipement
Il est de la responsabilité du propriétaire/utilisateur du FLYER de procéder au montage adéquat des accessoires et de vérifier leur compatibilité avec son vélo. Seuls les accessoires présentés sur le catalogue FLYER sont homologués par la société Biketec AG comme compatibles avec les vélos FLYER. Vérifiez la compatibilité de tout accessoire avec votre modèle FLYER, ainsi que ses caractéristiques techniques (par exemple : capacité de charge, instructions de montage, etc.).

Suivez toujours les instructions de la notice lors du montage.
- N'utilisez que des pièces conformes à la réglementation en vigueur et au Code de la route.
- L'utilisation de pièces non homolo - guées peut provoquer des accidents. C'est pourquoi il ne faut utiliser que des pièces ou des accessoires d'origine parfaitement adaptés à votre FLYER.
L'utilisation de pièces non homologuées peut invalider la garantie.
La société Biketec AG décline toute responsabilité quant aux conséquences de l'utilisation d'un accessoire non autorisé.

Le montage d'accessoires peut écailler la peinture.

Le montage d'accessoires ne doit jamais occasionner de modification ou de perçage du cadre, de la batterie et des composants.
19.1 Transport d'enfants / Sièges pour enfants

Le transport d'enfants en toute sécurité est de la responsabilité du cycliste. Bike-tec SA décline toute responsabilité quant au transport d'enfants et aux risques inhérents à cette pratique.
L'utilisation d'un siège pour enfant est validée par le fabricant uniquement avec le porte-bagages suivant:
Pletscher Genius Plus avec système 3 points associé au siège pour enfant Pletscher correspondant.
L'utilisation d'un siège pour enfant avec un autre porte-bagages n'est pas validée.
19.2 Remorques et remorques pour enfants

Le transport d'enfants en toute sécurité est de la responsabilité du cycliste. Bike-tec SA décline toute responsabilité quant au transport d'enfants et aux risques inhérents à cette pratique

Informez-vous sur la législation en vigueur dans votre pays avant d'utiliser une remorque pour le transport d'enfants par exemple ! N'utilisez que des remorques conformes aux exigences de la législation dans votre pays. L'utilisation de remorques peut provoquer des chutes et des dommages corporels très graves.

En Allemagne, il est interdit de tirer une remorque pour enfants avec un VAE rapide.
Lorsque vous transportez un enfant dans une remorque, prenez toutes les précautions pour votre sécurité ! N'hésitez pas à utiliser des fanions colorés bien visibles et un éclairage supplémentaire. N'utilisez que des modèles de remorque et des accessoires homologués.

- L'utilisation d'une remorque rend la conduite d'un VAE FLYER sensible ment plus difficile. Adaptez votre style de conduite en conséquence. Faute de quoi vous courez le risque que la remorque ne se renverse ou se dé tache, pouvant occasionner des chutes et des accidents très graves.
- Un FLYER attelé d'une remorque pour enfant constitue un ensemble beaucoup plus long que le vélo seul auquel vous êtes habitué. Exercez-vous, sur un terrain calme et dégagé, à démarrer, freiner, tourner et maîtriser montées et descentes.
- Le poids de la remorque est à intégrer au poids total autorisé.
- Pour arrêter un vélo avec remorque, la distance de freinage est sensible -ment plus importante. Prenez cela en compte afin d'éviter des accidents.
- Renseignez-vous auprès de votre revendeur FLYER sur le poids total autorisé de la remorque que vous pouvez utiliser avec votre FLYER.
- Renseignez-vous auprès de votre revendeur FLYER sur le choix et le montage de l'attelage de la remorque.
19.3 Porte-vélos de toit et de hayon

- N'utilisez pour le transport par voiture que des porte-vélos de hayon conformes à la réglementation en vigueur. L'utilisation de modèles non homologués est susceptible de provoquer des accidents.
- Adaptez votre conduite au poids supplémentaire que vous transportez.
- Il faut prendre la précaution de contrôler régulièrement en cours de route la fixation du FLYER. Si votre FLYER se détache du porte-vélo, cela peut donner lieu à de graves accidents.
- Il vaut mieux éviter de transporter le FLYER sur le toit. Il faut toujours protéger le moteur contre la pluie pour éviter tous risques de dommages. Il est recommandé de protéger de la pluie votre FLYER électrique tout entier.
- Attention ! Des éléments non fixés comme outils, pompe, sacoches diverses, siège pour enfants, etc. sont susceptibles de se détacher en cours de transport. Cela peut mettre en danger d'autres usagers de la route. C'est pourquoi tout élément susceptible de se détacher doit être retiré avant le trajet.
- Dans le cas d'un porte-vélos de toit, la hauteur totale de votre véhicule est modifiée.
- Il faut aussi tenir compte de la charge maximale autorisée du toit.

La manette de frein ne doit pas être actionnée lorsque le vélo est couché. Des bulles d'air pourraient se former dans le système hydraulique, et entraîner une défaillance du frein. Après chaque transport, vérifier si le dur du frein semble plus souple que précédemment. Actionnez ensuite lentement le frein à plusieurs reprises. Le système de freinage peut alors se purger. Si le point dur demeure souple, vous ne devez pas continuer à rouler. Le revendeur FLYER doit purger le frein.

Avant un transport, vous pouvez contourner ce problème en actionnant le levier de frein et en le maintenant dans cette position à l'aide d'une courroie par exemple. Ceci permet d'empêcher la pénétration d'air dans le système hydraulique. Attention, le levier de frein ne doit pas être serré si la roue correspondante est démontée. Si la roue doit impérativement être démontée, placez une entretoise entre les mâchoires des freins.
Le transport conforme et en règle d'un VAE en voiture est de la responsabilité du conducteur. La société Biketec AG décline toute responsabilité quant au transport d'un FLYER avec un porte-vé-los de toit et de hayon.

- Ne transportez pas votre VAE à l'envers. Lors de la fixation, veillez à ne pas endommager la fourche ou le cadre.
- Ne l'accrochez-pas au porte-vélo par les manivelles (qu'il s'agisse d'un porte-vélos de toit ou de hayon). Accrochez toujours le VAE verticalement, posé sur ses roues, sur le porte-vélos. Le non-respect de cette consigne peut engendrer des dommages sur le véhicule.
- Pour des raisons légales, lorsque vous transportez un VAE en voiture, retirez sa batterie et transportez-la à part. Il faut veiller à ce moment à éviter tout risque de court-circuit entre les contacts.
Transports en commun
Si vous souhaitez emprunter les transports en commun avec votre VAE, renseignez-vous sur les règlements en vigueur.
Transport par avion
Si vous souhaitez transporter votre FLYER par avion, renseignez-vous sur les obligations légales correspondantes. auprès de votre compagnie aérienne.
20. Procédure de pliage du FLYER Pluto
Vous trouverez dans la présente section toutes les explications nécessaires pour apprendre à maîtriser la procédure de pliage de votre nouveau FLYER, y compris du point de vue de la sécurité, de façon à prévenir tous dommages matériels ou corporels. Conservez-la soigneusement en un endroit aisément accessible et respectez bien ses instructions. Veuillez remettre la présente notice à toute autre personne qui pourrait utiliser votre FLYER.

Il faut veiller à ce qu'une fois plié votre FLYER Pluto soit toujours bien maintenu en position verticale. En particulier lorsque vous le transportez en voiture ou dans les transports publics, il faut s'assurer de ce qu'il ne puisse pas tomber en cours de déplacement. Il faut le tenir, ou éventuellement l'arrimer. S'il tombait, cela pourrait endommager des pièces importantes.

Il faut que l'assistance électrique soit coupée avant de procéder à toutes interventions sur le vélo.
FR

① Afficheur
② Cadre
③ Articulation avec levier de verrouillage
④ selle
⑤ tige de selle
⑥ Blocage rapide de la tige de selle
⑦ Porte-bagages
⑧ Feu arrière
⑨ Serrure de cadre
⑩ Batterie
⑪ Roue
⑫ Jante
⑬ Moyeu
⑭ chaîne
⑮ Moteur (caché par le carter de chaîne)
⑯ Manivelle
⑰ guidon
18 Manette de frein
19 Potence (Speedlifter Twist)
20 jeu de direction
21 Feu avant
22 Garde-boue
23 Freins
24 Fourche
25 Partie du mécanisme de repliage
26 Pédales repliables
27 Béquille
20.1 Utilisation des blocages rapides
Un blocage rapide est un dispositif permettant de fixer des éléments à la bicyclette sans vissage ou boulonnage. Un blocage rapide a deux fonctionnalités : le levier permet d'assurer le blocage avec la force nécessaire, l'écrou permet de régler la force de blocage. Ce réglage se fait en position ouverte.

Pour un blocage plus fortDesserrer l'écrou de
réglage

Pour un bon blocage d'un blocage rapide du verrou de l'articulation, il faut qu'à partir du milieu de la course du levier on commence à sentir une résistance, puis qu'on soit obligé d'appuyer avec la paume de la main pour rabattre le levier complètement.

- Tous les blocages rapides doivent être bien bloqués avant utilisation.
- Vérifiez le bon positionnement de tous les blocages rapides lorsque le vélo est resté un moment sans sur veillance, et avant chaque départ.
- En position fermée, le levier de blocage doit être bien rabattu à proximité du cadre, de la fourche ou de la tige de selle.

Une fois le vélo replié, on a intérêt à protéger par un câble antivol les pièces fixées au vélo par un blocage rapide. Cela en rend le vol plus difficile.
20.2 Réglage de l'articulation du cadre

Il faut faire contrôler le blocage de l'articulation par un spécialiste FLYER après 500 pliages, ou bien si on remarque qu'il se bloque moins bien.

La valeur de blocage de l'articulation est de 10kg/98,1N
20.3 Procédure de pliage du FLYER Pluto

L'assistance électrique doit toujours être coupée lorsqu'on veut plier son vélo.
Afin de rendre le pliage de votre FLYER Pluto simple et sûr, il est pourvu de serrages rapides à tous les endroits importants.

text_image
er l'écrou de

Avant de commencer, retirer les clés de la serrure de la batterie et de l'antivol.

Baisser la béquille de votre FLYER Pluto pour qu'elle ne vienne pas buter sur le moteur une fois le vélo replié.

Avant le pliage, amener les manivelles en position horizontale, ou bien abaisser au maximum la pédale gauche.
- On commence par replier les pédales. Pour ce faire, appuyer latéralement sur les pédales en direction de la manivelle (1) et rabattez-les à 90°(2).

- Pour cela, se mettre à la gauche du vélo. Ouvrez le serrage rapide de la selle (1) et rentrez entièrement la tige de selle en la faisant glisser vers le bas (2).

Refermez le serrage rapide (3) afi n que la selle demeure dans cette position.

- Ouvrir le blocage rapide (1) de la potence Speedlifter.

Soulevez le verrou de déblocage (2).

Vous pouvez maintenant tourner le guidon vers la droite (3). Le verrou de déblocage se remet automatiquement en position initiale après une rotation de 90° (4). Refermez complètement le levier de blocage rapide pour verrouiller le guidon.

text_image
90°
③
④
- Déverrouiller l'articulation du cadre. Pour cela, enfoncer le bouton (1) au milieu du levier de blocage, puis soulever le levier (2).

Cela fait, la partie avant du cadre peut se replier vers la gauche (3).

- Rabattre l'une sur l'autre la partie avant du cadre et la partie arrière jusqu'à ce que la tête de la vis se trouvant sur la fourche avant s'insère dans son logement sur la fourche arrière.
Référez-vous à la notice de votre FLYER Pluto pour savoir comment le verrouiller correctement en position pliée.

Vérifier le bon enclenchement du ver-rouillage entre la fourche et la base gauche, faute de quoi le vélo pourrait s'ouvrir au moment où on le soulève, ce qui peut provoquer des blessures.
- Correctement plié, votre FLYER devrait se présenter de la manière suivante :

Avant le transport, rabattre la béquille centrale.
20.4 Procédure de dépliage du FLYER Pluto
Avant de commencer à déplier votre FLYER Pluto, abaisser la béquille et amener les manivelles en position horizontale, ou bien abaisser au maximum la pédale gauche.
- Déverrouille r le vélo en faisant sortir la vis de la fourche de son logement sur la roue arrière.
- Déplier au maximum les deux moitiés du cadre jusqu'à ce qu'elles retrouvent leur alignement. L'articulation se verrouille automatiquement lorsque la tête de vis entre dans l'orifice prévu à cet effet.

- Rabattre le levier de blocage vers l'avant(1). Bloquer le levier en le poussant avec la paume de la main. Il faut qu'on l'entende s'enclencher et que le bouton soit en position haute.

Il faut qu'on ait à exercer une force suffisante sur le levier pour le bloquer. Si ce n'est pas le cas, cela veut dire que le mécanisme a besoin d'un réglage, qu'il faut confier sans tarder à votre spécialiste FLYER. Vérifier le bon positionnement du levier.
Pour remettre le guidon en place, ouvrir le Speed-lifter. Soulevez le verrou de déblocage (1).

Ensuite tourner le guidon de 90° vers la gauche, en position de roulage (2). Le verrou de déblo-cage doit se réenclencher seul (3).

text_image
90°
②
③
!
Ensuite remonter la potence jusqu'à la hauteur voulue (4). Il faut bien tenir compte de la hauteur maximale autorisée, signalée par un repère. Il ne faut pas sortir la potence plus haut que ce repère ! Ensuite refermer le blocage rapide (5) pour bloquer le guidon.

- Ouvrir le blocage rapide de la tige de selle (1)

et monter la selle jusqu'à la position voulue (2). Cela fait, bien refermer le blocage rapide (3) pour que la selle soit bien fi xée.

La tige de selle porte une marque qui indique la hauteur maximale d'extraction de son support autorisée. Ne tirez jamais la tige de selle au-delà de cette marque!
- Ensuite déployer les pédales de votre FLYER Pluto, d'abord en les dépliant de 90° vers l'extérieur (1) puis en les tirant doucement vers l'extérieur (2) jusqu'à ce qu'elles s'encliquètent en position de marche.

Contrôler la bonne position et le bon serrage de tous les blocages rapides et tous les verrouillages.

Avant de repartir, penser à rabattre la béquille!

Chaque fois que vous allez utiliser votre vélo, vérifi iez que la force de blocage de l'articulation du vélo soit suffi sante, ainsi qu'expliqué à la section 20.2, et vérifi ez tous les verrouillages. En cours de route l'articulation doit toujours rester verrouillée. Il faut s'abstenir de la manipuler.

Faites contrôler l'articulation régulièrement par votre spécialiste FLYER. Ne tournez jamais vous-même les vis de verrouillage.
21. Propulsion électrique
Vous trouverez toutes les informations, indications et consignes sur l'installation électrique de votre VAE FLYER dans la notice d'utilisation de l'assistance dont est équipé votre vélo. Il y est donné des informations détaillées sur l'utilisation et l'entretien, ainsi que toutes les consignes de sécurité concernant les éléments suivants :
• Commande et afficheur
- Batterie et autonomie disponible
- Chargeur
- Moteur
- Capteur de vitesse et aimant de rayon
Quelques informations générales sur le fonction -nement et l'autonomie de la propulsion de votre FLYER sont détaillées ci-après :
Fonctionnement
Lorsque vous avez activé l'un des modes d'assistance, le moteur se met en marche dès que vous appuyez sur une pédale.
La performance du moteur dépendra des conditions suivantes :
- La puissance avec laquelle vous appuyez sur la pédale Si vous appuyez doucement, l'assistance sera plus faible que pour un démarrage en côte, qui demandera un effort plus important de votre part. Dans ce cas, la consommation électrique sera en revanche plus importante, et l'autonomie diminuera.
- du mode d'assistance
Plus le niveau d'assistance choisi sera haut, et plus le moteur vous aidera. Les niveaux les plus puissants sont également les plus gourmands en énergie. Le niveau d'assistance le plus faible fournira la poussée la moins importante, tout en assurant l'autonomie la plus longue.
Autonomie
Les durées d'autonomie éventuellement indi - quées ont été calculées pour la plupart dans le cadre d'une utilisation optimale. Au quotidien, vous ne pourrez pas en général rouler aussi loin. Gardez ce principe en tête lorsque vous prévoyez vos trajets.
L'autonomie dépend de plusieurs facteurs. Outre la capacité de la batterie, des caractéristiques comme le niveau d'assistance choisi, la configuration géographique, le revêtement des voies, le style de conduite adopté, la température ambiante, le poids du cycliste, la pression des pneus ou encore les spécificités techniques de votre VAE FLYER jouent un rôle déterminant.
Rouler sans assistance
Vous pouvez aussi rouler avec votre FLYER sans assistance, en choisissant le niveau « No assist ». N'oubliez pas que le système est malgré tout allumé.

Ne roulez jamais sans la batterie ou avec le système éteint : cela vous prive des fonctionnalités de l'afficheur et d'éclairage.

Il y a lieu de toujours retirer la batterie avant toute intervention sur le vélo, que ce soit pour le nettoyer, l'entretenir ou le réparer.
Lorsque vous nettoyez ou entretenez la batterie, veillez à ne pas toucher et connecter les contacts. S'ils devaient être sous tension, vous pourriez vous blesser et endommager la batterie.
N'utilisez pas de jet d'eau puissant ou de nettoyeur haute pression pour le net -toyage. L'eau sous pression est susceptible d'injecter du liquide de nettoyage même dans des roulements étanches, avec pour conséquence que le lubrifiant se dilue et perde de son efficacité. Il peut aussi se former de la rouille, qui détruit les roulements. Un nettoyage au karcher peut endommager l'installation électrique.

Ne conviennent pas pour le nettoyage de votre FLYER électrique :
- acides
- graisses
- huiles
- produits de nettoyage des freins (sauf pour les disques)
- liquides comportant des solvants.
Ces produits endommagent la surface des matériaux et abîment votre VAE FLYER. Après utilisation, veillez à une élimination des lubrifiants, des nettoyants et des produits d'entretien dans le respect de l'environnement. Ces substances ne doivent pas être éliminées avec les ordures ménagères, dans les réseaux d'assainissement ou dans la nature.
Pour assurer le bon fonctionnement et la longévité de votre VAE FLYER, il est important de le nettoyer et l'entretenir soigneusement.
- C'est pourquoi il faut laver régulière - ment votre FLYER à l'éponge avec de l'eau chaude additionnée d'un peu de détergent.
-
En cours de lavage il faut aussi systématiquement inspecter votre FLYER à la recherche de fissures, entailles ou déformations diverses.
-
Les pièces endommagées doivent être remplacées. N'utilisez pas votre FLYER avant que la réparation nécessaire ait été effectuée.
- Faites réparer la peinture endommagée par votre revendeur FLYER.
Vous trouverez également des recommandations utiles pour l'entretien de votre VAE FLYER sur les sites Internet des fabricants des composants.
22. Pièces d'usure
Comme tout produit technique, votre FLYER doit faire l'objet d'inspections régulières.
Par nature et en fonction de l'utilisation, certaines pièces de votre FLYER sont susceptibles de présenter une très forte usure.
Comptent comme pièces d'usure les :
- pneumatiques ;
- jantes avec freins à mâchoires ;
• garnitures de frein ;
- disques ;
- chaînes ou courroies ;
- pignons, plateaux et galets de dérailleur ;
- éclairage ;
- Les poignées de guidon
- lubrifiants ;
- câbles de frein et de dérailleur ;
- roulements ;
- amortisseurs

Faites réviser régulièrement votre FLYER par un technicien FLYER et, au besoin, remplacer les pièces usées. L'utilisateur est tenu de contrôler régulièrement son vélo, pour détecter d'éventuelles fissures, rayures ou pièces endommagées.

Comme c'est le cas pour tout composant mécanique, votre FLYER est sujet à l'usure et est soumis à de fortes sollicitations. Différents matériaux et composants peuvent subir une usure qui prendra des formes différentes, et pourra même entraîner des cassures, en raison de la tension appliquée. Une pièce dont on n'aurait pas respecté la limite de durée de vie entraînera de brusques défaillances et des blessures potentielles pour le cycliste. Toute fissure, rayure ou tout changement de couleur constaté sur une pièce très sollicitée indique que celle-ci est usée et qu'il faut la faire changer.
23. Programme d'entretien
Après les premiers 200 km, ou environ quatre mois :
Revendeur FLYER
- Contrôlez le bon serrage des vis, des écrous et des blocages rapides.
- Contrôle et réalignement des roues (si besoin) ;
- Contrôle des pneus ;
- Contrôle du couple de serrage de toutes les pièces ;
- Réglage du jeu de direction ;
- Contrôle des câbles de freins et du dérailleur ;
- Contrôle et réglage des changements de vitesse (si besoin) ;
- Contrôle et réglage des freins (si besoin) ;
- Contrôle et réglage des suspensions (si besoin);
- Lubrification suffisante de tous les composants.
- Contrôle de l'articulation de pliage (FLYER Pluto)
Utilisateur FLYER
Lors de ce premier contrôle par
votre revendeur FLYER, demandez-lui de vous expliquer les bonnes méthodes de nettoyage, la bonne quantité d'huile à mettre sur la chaîne après un temps pluvieux, et comment contrôler le bon fonctionnement ou la présence de dom mages sur tous les composants.
Avant chaque utilisation – Utilisateur FLYER
- Contrôlez la bonne fixation de la sonnette ;
- Contrôlez le bon fonctionnement des freins ;
- Contrôlez le bon fonctionnement des changements de vitesse ;
- Contrôlez le bon fonctionnement et le bon réglage des pièces de suspension ;
- Contrôlez la bonne fermeture des blocages rapides, des axes traversants, des vis et des écrous ;
- Contrôlez la pression des pneus ;
-
Vérifiez que les roues sont bien en place et ne sont ni déformées ni endommagées.
-
Vérifiez la bonne fixation du guidon, de la potence, de la tige de selle et de la selle ;
- Contrôlez le niveau de charge de la batterie ;
- Contrôlez la bonne fixation de la batterie.
- Contrôle de l'articulation de pliage (FLYER Pluto)
Après chaque trajet – Utilisateur FLYER
- Nettoyage du FLYER électrique
- Contrôlez visuellement le cadre et les composants pour détecter d'éventuels fissures ou dommages ;
- Contrôlez l'absence de dommages, d'usure, de déformation, de corps étranger des pneus, ainsi que la profondeur suffisante des sculptures ;
- Vérifiez l'état d'usure et la concentricité des jantes.
- Contrôlez la tension des rayons ;
- Si nécessaire, nettoyez la chaîne et les pignons, et huilez avec un produit adapté et autorisé par le fabricant ;
- Le cas échéant, nettoyer les disques avec un nettoyant adapté et conforme aux recommandations du fabricant.
- Si nécessaire, nettoyez tous les roulements et graissez-les avec un produit adapté et autorisé par le fabricant ;
- Si nécessaire, nettoyez les suspensions et lubrifiez-les avec le produit d'origine adapté et autorisé par le fabricant ;
- Si nécessaire, nettoyez toutes les pièces mobiles pour lesquelles un graissage est nécessaire (notamment les blocages rapides, les axes traversants et les charnières), puis graissez-les avec un produit adapté et adapté par le fabricant.
Demandez à votre revendeur FLYER de vous apprendre comment entretenir ces pièces.
Après chaque trajet sous la pluie, la neige ou en présence d'humidité
(en plus des étapes du point « Après chaque trajet »)
Utilisateur FLYER
- Nettoyez la chaîne, et huilez-la avec un produit adapté et autorisé par le fabricant ;
- Nettoyez les freins ;
- Nettoyez le dérailleur ;
- Contrôlez le graissage suffisant de tous les composants.
Demandez à votre revendeur FLYER de vous apprendre comment entretenir ces pièces.
Une fois par mois – Utilisateur FLYER
Contrôlez le bon serrage des vis, des écrous, des axes traversants et des blocages rapides.
Tous les ans, ou tous les 1000 km (le plus tôt possible)
Revendeur FLYER
- Graissage de toutes les pièces mobiles qui en ont besoin (à l'exception des surfaces de freinage) ;
- Contrôlez visuellement le cadre et les com-
posants pour détecter d'éventuels fissures ou dommages ;
- Retouchez les écailles de peinture ;
- Remplacez les pièces rouillées ;
- Traitez toutes les pièces de métal pur contre la rouille (sauf les surfaces de freinage) ;
- Remplacez les pièces défectueuses ou endommagées ;
- Contrôle et réalignement des roues (si besoin);
- Contrôlez la tension des rayons ;
- Contrôler et nettoyer la chaîne, les pignons et les plateaux ;
- Huilez la chaîne avec le produit adéquat ;
- Vérifiez l'absence de dommages sur les jantes ;
• Vérifier l'usure du système de freinage ;
- Vérifiez le bon serrage de toutes les vis, de tous les écrous, axes traversants et blocages rapides ;
- Contrôlez le système de freinage et les axes traversants et remplacez des pièces le cas échéant ;
- Contrôlez le changement des vitesses et remplacez-le/remplacez des pièces le cas échéant ;
- Contrôlez les vitesses ;
- Contrôlez le jeu de direction ;
- Contrôlez les pédales.

Veuillez n'utiliser que les produits de nettoyage et de graissage recommandés par le fabricant des composants.

Il faut tenir compte que tous les lubrifiants et tous les produits de nettoyage ne conviennent pas pour votre FLYER. L'utilisation de lubrifiants et de produits de nettoyage inappropriés est susceptible d'endommager votre VAE FLYER et d'en affecter le bon fonctionnement.

Il ne faut utiliser ni produits de nettoyage ni huiles sur les patins et le flanc des jantes ou sur les plaquettes et les disques : cela risquerait de réduire l'efficacité du freinage.
23.1 Maintenance et remplacement des pièces d'usure

Les pièces usées doivent impérativement être remplacées par des pièces identiques à celles d'origine. Les pièces d'usure doivent elles aussi être remplacées par des pièces identiques à celles d'origine.

En utilisant des pièces différentes des pièces d'origine, la garantie ne prend plus effet. En outre, vous encourez un plus grand risque d'accident ou de chutes.
24. Garanties
1. Garantie du vélociste
Le revendeur est tenu des prestations en garantie habituelles vis-à-vis de l'acheteur final duFLYER (selon les modalités contractuelles et/ou selon la législation applicable, en règle générale deux ans après remise au client).
Il est garanti pour la batterie une capacité résiduelle de 60 % de sa capacité nominale au bout de deux ans, pour autant qu'elle ait été utilisée et rechargée conformément à la notice d'utilisation. N'est pas couverte par la garantie l'usure normale des pièces d'usure (de type pneus, chambres à air, chaîne, pignons, patins et plaquettes, peinture, marquages). Il incombe au client final d'assurer l'entretien régulier de son FLYER électrique (y compris la réalisation de tous les contrôles tels que prévus dans la notice d'utilisation).
Toute garantie est exclue en cas de modifications ou de réparations réalisées par le client lui-même, ou en cas d'utilisation non conforme à la destinat ion. l'utilisation en course, en compétition, une utilisation commerciale, en surcharge ou toute autre utilisation non conforme.
2. Garantie du constructeur
a. Garanties
Indépendamment des garanties assurées par le revendeur, le fabricant du FLYER, la Biketec AG, offre au client final, à compter de la date d'achat, les garanties suivantes supplémentaires pour les FLYER électriques neufs, entièrement montés et dont la préparation et le réglage ont été assurés par un revendeur spécialisé FLYER reconnu par la Biketec AG :
Cadre : 10 ans contre le bris du cadre ;
Moteur, commande du moteur, afficheur, chargeur : 5 ans contre les vices de matériau et de fabrication, mais réduite à 3 ans pour les FLYER électriques de type VTT.
Pour les vélos de seconde main, la garantie court à compter de la date de première mise en circulation.
b. Modalités de prise en charge en garantie
Pendant le délai de garantie, la société Biketec AG prend en charge le coût de réparation ou de remplacement suite à des défauts tels que précisés ci-avant, pour autant qu'ils aient été constatés par un revendeur spécialisé FLYER reconnu par la Biketec AG et sous réserve de l'identification du FLYER (preuve d'achat, fiche d'identité dûment remplie, enregistrement). La garantie se transmet en cas de revente à un tiers. La société Biketec AG se réserve le droit, en application de la garantie, de livrer ou de monter, en échange d'un FLYER ou de composants, un matériel fonctionnellement équivalent.
L'exercice de la garantie ne saurait entraîner la prolongation de la durée initiale de cette dernière. S'appliquent les mêmes restrictions que celles précisées au paragraphe 1 ci-dessus.
25. Respect de l'environnement
Veillez à protéger l'environnement lorsque vous entretenez, nettoyez et jetez votre VAE FLYER. Dans la mesure du possible, utilisez pour son entretien et son nettoyage des produits biodégradables, et veillez à ce qu'aucun produit d'entretien ne parte dans les égouts.
L'ensemble du vélo, ses composants, ses produits lubrifiants et de nettoyage, et surtout sa batterie (matières dangereuses) doivent être mis au rebut de façon appropriée.

text_image
Huile
Batterie
FLYER

text_image
FLYER TOUR/URBAN
con sistema di propulsione Panasonic
FLYER TOUR/URBAN
17 Vano batterie a bottone