CHW3070 - Distributeur d'eau Campomatic - Notice d'utilisation et mode d'emploi gratuit
Retrouvez gratuitement la notice de l'appareil CHW3070 Campomatic au format PDF.
| Caractéristiques techniques | Distributeur d'eau Campomatic CHW3070, capacité de 7 litres, compatible avec différents types de bouteilles. |
|---|---|
| Utilisation | Idéal pour un usage domestique ou en bureau, permet un accès facile à l'eau potable. |
| Maintenance et réparation | Nettoyage régulier recommandé, vérification des joints et des filtres pour assurer une performance optimale. |
| Sécurité | Équipé d'un système de sécurité pour éviter les fuites et les débordements. |
| Informations générales | Produit léger, design compact, facile à transporter et à installer. |
FOIRE AUX QUESTIONS - CHW3070 Campomatic
Questions des utilisateurs sur CHW3070 Campomatic
0 question sur cet appareil. Repondez a celles que vous connaissez ou posez la votre.
Poser une nouvelle question sur cet appareil
Téléchargez la notice de votre Distributeur d'eau au format PDF gratuitement ! Retrouvez votre notice CHW3070 - Campomatic et reprennez votre appareil électronique en main. Sur cette page sont publiés tous les documents nécessaires à l'utilisation de votre appareil CHW3070 de la marque Campomatic.
MODE D'EMPLOI CHW3070 Campomatic
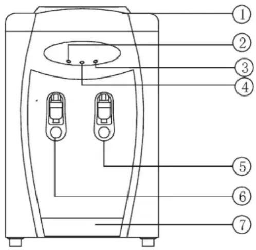
- Systeme WaterGuard
- Indicateur lumineux d'eau chaude (Rouge)
- Indicateur lumineux d'eau froide (Vert)
- Indicateur lumineux d'alimentation (jaune)
- Robinet d'eau froide (Bleu)
- Robinet d'eau chaude (Rouge)
- Bac récapérateur d'eau
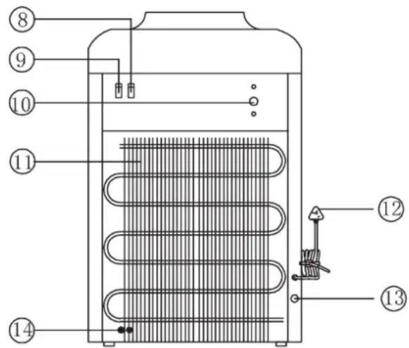
- Interrupteur d'eau chaude (rouge)
- Interrupteur d'eau froide (vert)
- Reglage de températe de l'eau
- Radiateur (condenseur)
- Cordon d'alimentation
- Bouchon de drainage
- Fil de terre

SCHEMA DU DISTRIBUTEUR VERTICAL D'EAU FROIDE & CHAUBE

2. CARACTERISTIQUES
- Le distributeur fournit de l'eau chaude et froide afin de répondre aux demandes desgens qui veulent boire du café ou du thé, prendre un repas ou du lait instantané, uneboisson froide, etc. Il convient aux menages, aux hotels, bureaux, écoles, etc
- Une bouteille jusqu'à cinq gallons (20 litres) d'eau pure ou d'eau purifiée par osmose inverse peut être utilisée comme source d'eau.
- La technologie de réfrigération à compression puissant et la technologie de contrôle de la température exacte sont adoptées. Elles offrent un refroidissement rapide et une haute efficacité.
- Le réserve de refroidissement et le réserve de chauffage sont en acier inoxydable.
Ils duront longtemps, neprésentent aucun danger et sont sanitaires.
3. INSTALLATION
- Dans le cas où le distributeur d'eau a été transporte ou stocké horizontally, placez le distributeur dans une position verticale pendant au moins 4 heures avant de le brancher à la prise électrique.
- Enlevez l'étiquette de fermetre inviable du bouchon de la bouteille. N'enlevez pas le bouchon.
- Insérez doucement la bouteille verticalément dans le Waterguard et appuyez sur les robinets jusqu'à ce que l'eau s'écoule du robinet rouge (eau chaude).
- Branchez la fiche d'alimentation à une prise de courant correctement mise à la terre, puis appuyez sur les interrupteurs (NE PAS ALLUMER LES DEUX INTERRUPTeurs EN MÉME TEMPS) pour démarrer la machine; l'indicateur lumineux d'eau chaude et le celui de l'eau froide vont s'allumer. La machine va s'arrêté ou démarrer automatiquement lorsque la température de l'eau atteint celle indiquée par défaut.
- Si vous ne poulez pas circuler l'eau chaude, éteignez l'interrupteur d'eau chaude situé à l'arrête du distributeur (couleur rouge).
- Si vous ne poulez pas circuler l'eau froide, éteignez l'interrupteur d'eau froide situé à l'arrête du distributeur (couleur verte).
4. ATTENTION
- Remplacez la bouteille des que vous remarque qu'elle est vide. Debranchez l'appareil si la bouteille et les réservoirs sont vides.
- Cet appeareil fournit de l'eau à des températures qui peuvent cause de graves brûlures. Évitez tout contact direct avec l'eau chaude.
- Tenez les enfants loin de l'appareil lors de la distribution d'eau.
- Ne jamais laisser les enfants utiliser l'eau chaude sans surveillance appropriée et directe.
- Avant l'utilisation, ce distributeur doit être correctement assembler et installer en conformité avec leprésent manuel.
- Ce distributeur est concu pour etre utilise ququement avec de I'eau. NE PAS utilise
d'autres liquides.
- Pour l'usage interieur uniquement. Gardez le distributeur d'eau dans un endroit sec à l'abri de la lumière directe.
- Installez et utilisez l'appareil uniquement sur une surface dure, plane et nivelée.
- NE PAS placer l'appareil dans un espace clos ou une armoire. Toujours maintainir une distance de plus de 15 cm du mur. Il devrait y avoir une distance de 15 cm du côté gauche et droit.
- Assurez-vous de la disponibilité d'un fil de terre avec une prise à 3 broches et d'un protecteur de fuite électrique afin d'eviter tout chocoléctrique.

- N'utilisez pas une rallonge avec votre distributeur d'eau.
- Toujours saisissez la fiche et débranchez-la de la prise murale. Ne débranchez jamais l'appareil en tirant sur le cordon d'alimentation.
- N'utilisez PAS l'appareil si le cordon ou la fiche est abimé.
- Pour éviter les chocs électriques, ne PAS immerger le cordon, la fiche ou toute autre partie de l'appareil dans l'eau ou d'autres liquides.
- Assurez-vous que le distributeur d'eau est débranché avant de le nettoyer.
- Ne le déplacez pas brutalement. Ne l'inclinez pas plus de 45^
- Ne laissez jamais les enfants utiliser le distributeur d'eau sans supervision appropriée et directe. Débranchez l'appareil pour empêcher les enfants de l'utiliser sans supervision.
- Afin d'éviter tout risque du au redémarrage de l'interrupteur thermique par mégarde, cet apparéil ne doit pas être alimenté par un dispositif de commutation externe, comme un minuteur, ou connecté à un circuit qui est régulièrement mis sous tension et hors tension.
- L'entretien et la réparation doivent être effectuées par des techniciens spécialisés. Il est extrémement dangereux à toute personne d'essayer de réparer l'appareil ou de tenter de l'ouvrir dans un but de le réparer autre qu'un technician qualifié.
- Ne laissez pas prendre le cordon d'alimentation à la portée des enfants.
5. ENTRETIEN ET NETTOYAGE
Remarque: N'utilisez pas des produits abrasifs ou des nettoyants chimiques.
- Nettoyer les surfaces de l'appareil avec un chiffon doux et de l'eau chaude savonneuse. Séchez-le avec un chiffon
- Enlevez la poussière du radiateur (12) situé à l'arrière du distributeur d'eau afin d'améliorer l'efficacité.
6. NETTOYAGE DU RÉSERVOIR D'EAU FROIDE
Il est CONSEILLÉ de le nettoyer tous les 2, 3 mois selon le type d'eau utilisé
- Il est préférible de le nettoyer avant d'installer une nouvelle bouteille
- Éteignez les deux interrupteurs situés à l'arrière de l'appareil
- Debranchez le cordon d'alimentation
- Retirez la bouteille d'eau
- Placez unseau de 10 litres au minimum sous le drain du distributeur d'eau (qui se trouve a l'arriere).
- Retirez le bouchon de drainage et le bouchon en silicone. L'eau froide va s'écouler dans leseau. Cette étape sera suivie quelques secondes plus tard par l'eau chaude à des températures qui peuvent cause de graves brûlures. Évitez tout contact direct avec de l'eau chaude.
- Placez le bouchon de drainage et le bouchon en silicone dans un endroit sur afin qu'ils ne soient pas perdus.
-
Éloignez les enfants lors du drainage de l'appareil.
-
Videz l'eau restante dans les réservoirs en appuyant sur les deux robinets
- Remettez le bouchon en silicone et le bouchon de drainage
- Retirez l'assemblage du système WaterGuard (1) en le tournant dans le sens antiho- raire.
- Nettoyez l'assemblage du système WaterGuard avec un chiffon doux à l'aide d'un mélange nettoyant constitué de 2% d'acide citrique et 5 litres d'eau propre, puis rincez le système WaterGuard et placez-le sur un chiffon propre.
- Versez le reste du mélange nettoyant dans le réservoir
- Faites couler tout le mélange nettoyant à travers les deux robinets
- Essuyez l'intérieur du réservoir et la zone autour des deux robinets avec un chiffon doux
- Rincez le système à deux reprises en écoulant 5 litres d'eau du robinet à travers les deux robinets
- Assurez-vous que toute l'eau a eté ecoulée.
- Remettez l'assemblage du système WaterGuard
- Repetez la Procedure d'INSTALLATION comme mentionnée précédemment
7. RÉSOLUTION DES PROBLEMES ÉVENTUELS
Le distributeur d'eau ne fonctionne pas.
Assurez-vous que le cordon d'alimentation est proprement branché à une prise murale qui fonctionne bien.
Fuite d'eau.
La bouteille peut être cassée. Enlevez la bouteille et remplacez-la par une nouvelle.
L'eau ne s'écoule pas des robinets.
Assurez-vous que la bouteille n'est pas vide. Si c'est le cas, remplacez-la. Assurez-vous d'avoir pousse les robinets d'eau à fond.
L'eau froide n'est pas froide.
Assurez-vous que l'interrupteur est allumé et que la fiche est branchée. Vérifiez le fusible et remplacez-le si nécessaire
Cá requiert jusqu'à une heures après l'installation pour fournir de l'eau froide.
Assurez-vous que l'arrière du distributeur d'eau est éloigné d'au moins 15 cm du mur.
L'eau chaude n'est pas chaude.
Assurez-vous que l'interrupteur est allumé et que la fiche est branchée Il faut entre 15 et 20 minutes après l'installation pour fournir de l'eau chaude Vérifiez le fusible et remplacez-le si nécessaire
Machine bruyante.
Assurez-vous que le distributeur d'eau est placé sur une surface plane et à une distance appropriée des murs ou des armoires
L'eau a un mauvais goût.
Videz l'eau des réservoirs et remplacez la bouteille par une nouvelle.
Nettoyez le distributeur d'eau selon les instructions de nettoyage et de soins
Fuite Électrique
Assurez-vous que le fil de terre et le protecteur de fuite électrique sont disponibles
8. PARAMÉTRES TECHNIQUES
Alimentation: 220-240V~50Hz
Puisssance totale : 620W
Puisance de chauffage: 530W
Protection contre les fuites d'électricité : I
Puisance frigorifique: 0.7A
Climat ST
Code réfrigérant / Quantité: : R134a/32g
Ce symbole INDIQUE que ce produit ne doit pas etre jeté avec les autres déchets menagers partout dans l'UE. Pour eviter tout risque pour I'environnement ou la santhe humaine du à l'élimination incontrolée des déchets,recyclez l'appareil de façon responsable pour promouvoir la réutilisation durable des ressources matérielles. Pour remettre votre appareil usage, s'il vous plait utilisez le système de retour et de collection ou contactez le commercant d'ou vous avez acheté le produit. Ilsspeuvent prendre ce produit et le recycler d'une maniere qui ne nuit pas à I'environnement.
12jL 2jL 1
SLgSLJgogosuLaJI JgduJJjJg
Notice Facile