LIN34m900 - Hotte Air King - Notice d'utilisation et mode d'emploi gratuit
Retrouvez gratuitement la notice de l'appareil LIN34m900 Air King au format PDF.
| Caractéristiques | Détails |
|---|---|
| Type de hotte | Hotte murale |
| Dimensions | Largeur : 90 cm |
| Débit d'air | Max : 900 m³/h |
| Niveaux de puissance | 3 niveaux de vitesse |
| Éclairage | Éclairage LED intégré |
| Filtre | Filtre à graisse lavable |
| Installation | Installation murale, nécessite un conduit d'évacuation |
| Consommation énergétique | Classe énergétique : A |
| Niveau sonore | Max : 60 dB |
| Maintenance | Nettoyage régulier des filtres recommandé |
| Sécurité | Protection contre les surcharges électriques |
| Garantie | 2 ans |
FOIRE AUX QUESTIONS - LIN34m900 Air King
Questions des utilisateurs sur LIN34m900 Air King
0 question sur cet appareil. Repondez a celles que vous connaissez ou posez la votre.
Poser une nouvelle question sur cet appareil
Téléchargez la notice de votre Hotte au format PDF gratuitement ! Retrouvez votre notice LIN34m900 - Air King et reprennez votre appareil électronique en main. Sur cette page sont publiés tous les documents nécessaires à l'utilisation de votre appareil LIN34m900 de la marque Air King.
MODE D'EMPLOI LIN34m900 Air King
Revêtements alimentés

LIRE ET CONSERVER CES INSTRUCTIONS
LIRE SOIGNEUSEMENT AVANT DE TENTER D'ASSEMBLER, INSTALLER, OPÉRER OU DE RÉPARER LE PRODUIT DÉCRIT. PROTÉGEZ VOUS-MÊME ET LES AUTRES EN OBSERVANT TOUTE L'INFORMATION DE SÉCURITÉ. FAILLIR À SE CONFORMER AUX INSTRUCTIONS PEUT RÉSULTER EN BLESSURE PERSONNELLE GRAVE ET/OU EN DOMMAGE À LA PROPRIÉTÉ.
CONSERVER CES INSTRUCTIONS POUR RÉFÉRENCES FUTURES.

INSTRUCTIONS GÉNÉRALES DE SÉCURITÉ

Lors de l'utilisation d'appareils électriques, des précautions de base doivent toujours être suivies pour réduire les risques d'incendie, de choc électrique et de blessures corporelles, incluant ce qui suit:


AVERTISSEMENT : POUR RÉDUIRE LES RISQUES D'INCENDIE, DE CHOC ÉLECTRIQUE OU DE BLESSURES PERSONNELLES OBSERVER CE QUI SUIT:
a) Utiliser cette unité seulement de la manière pour laquelle le fabricant l'a conçu. Si vous aviez des questions, veuillez contacter le fabricant.
b) Avant d'effectuer un service ou de nettoyer l'unité, couper l'alimentation électrique dans le panneau de distribution et verrouiller le dispositif de déconnexion afin d'éviter que l'alimentation ne revienne accidentellement. Lorsque le dispositif ne peut être verrouillé, fixer solidement un avis d'avertissement, tel qu'une étiquette, au panneau de distribution.

AVERTISSEMENT : POUR RÉDUIRE LES RISQUES D'INCENDIE, DE CHOC ÉLECTRIQUE OU DE BLESSURES PERSONNELLES OBSERVER CE QUI SUIT:
a) Le travail d'installation et le câblage électrique doivent être effectués par une(des) personne(s) qualifiée(s) en conformité avec tous les codes et normes applicables, incluant la construction relative aux incendies.
b) De l'air en quantité suffisante est requis pour la bonne combustion et l'évacuation de gaz par le conduit (cheminée) provenant d'équipement de brûlage au combustible pour prévenir un refoulement. Suivre les directives du fabricant de l'équipement de chauffage et les normes de sécurité telles que celles publiées par la National Fire Protection Association (NFPA) et de la American Society for Heating, Refrigeration, and Air Conditioning Engineers (ASHRAE), et de celles des autorités locales du code.
c) Lorsque vous coupez ou perforez un mur ou un plafond, prenez garde de ne pas endommager les fils électriques ou tout appareil qui pourrait être dissimulé.

AVERTISSEMENT : POUR RÉDUIRE LES RISQUES D'INCENDIE ET POUR ÉVACUER L'AIR ADÉQUATEMENT, ASSUREZ-VOUS ERS L'EXTÉRIEUR – NE PAS ÉVACUER L'AIR DANS DES ESPACES DANS FONDS OU LES GRENIERS, LES GALERIES TECHNIQUES OU LES GARAGES

AVERTISSEMENT : POUR USAGE DE VENTILATION GÉNÉRALE EXCLUSIVEMENT. NE PAS UTILISER POUR ÉVACUER DU MATÉRIEL ET DES VAPEURS DANGEREUSES OU EXPLOSIVES.
d) Les ventilateurs avec conduits doivent toujours être évacués vers l'extérieur.
e) Cette unité doit être mise à la terre.
f) Pour éviter des dommages aux roulements des moteurs et/ou des hélices bruyantes ou déséquilibrées, empêcher la poussière de cloison sèche, poussière de construction, etc., d'atteindre l'unité de puissance.
g) Lire toutes les instructions avant d'installer ou d'utiliser la hotte de cuisine.

AVERTISSEMENT : POUR RÉDUIRE LES RISQUES D'INCENDIE OU DE CHOC ÉLECTRIQUE, NE PAS UTILISER CE VENTILATEUR AVEC UN RÉGULATEUR DE VITESSE ÉLECTRONIQUE.

AVERTISSEMENT : POUR RÉDUIRE LES RISQUES D'INCENDIE DE GRAISSE SUR LE DESSUS DE LA CUISINIÈRE:
a) Ne jamais laisser les unités de surface à des degrés élevés sans surveillance. Les débordements par bouillonnement produisent de la fumée et des débordements graisseux qui peuvent s'enflammer. Chauffer les huiles lentement à des degrés faibles ou modérés.
b) Toujours mettre la hotte EN MARCHE lors de cuisson à haute température ou lors de flambage de nourriture (par ex., des Crêpes Suzette, de Cerises Jubilées, steak flambé, etc.)
c) Nettoyer les ventilateurs d'évacuation fréquemment. Aucune accumulation de graisse ne devrait être tolérée sur les filtres du ventilateur.
d) Utiliser des poêlons de taille appropriée. Toujours utiliser les batteries de cuisine appropriées pour la taille de l'élément de surface.

AVERTISSEMENT : POUR RÉDUIRE LES RISQUES DE BLESSURES PERSONNELLES DANS L'ÉVENTUALITÉ D'UN FEU DE GRAISSE SUR LA SURFACE DE CUISSON, SUIVRE LES INDICATIONS SUIVANTES:
a) ÉTOUFFER LES FLAMMES avec un couvercle bien ajusté, une tôle à biscuits, ou un cabaret de métal, puis, mettre le grill hors fonction. PRENEZ SOIN D'ÉVITER LES BRÛLURES. Si les flammes ne s'éteignent pas immédiatement, ÉVACUER ET APPELER LE SERVICE DES INCENDIES.
b) NE JAMAIS SAISIR UN POÊLON EN FLAMME – vous pourriez être brûlé.
c) NE PAS UTILISER DE L'EAU, incluant les linges à vaisselle ou les serviettes mouillées – il en résulterait une violente explosion de vapeur.
d) Utiliser un extincteur SEULEMENT SI:
I. Vous savez que vous avez un extincteur de classe ABC, et que vous savez déjà comment l'opérer.
II. Le feu est petit et contenu dans la zone où il a commencé.
III. On appelle le service des incendies.
IV. Vous pouvez combattre l'incendie avec une sortie derrière vous.

AVERTISSEMENT : POUR RÉDUIRE LES RISQUES D'INCENDIE, UTILISER UNIQUEMENT DES CONDUITS EN MÉTAL.
CONSERVER CES INSTRUCTIONS
INSTRUCTIONS POUR L'INSTALLATION

AVERTISSEMENT : VOUS ASSURER QUE L'ALIMENTATION EST COUPÉE AU PANNEAU DE SERVICE AVANT DE COMMENCER L'INSTALLATION.
REMARQUE : Lorsque vous installez le revêtement à l'extérieur, les revêtements professionnels d'Air King sont approuvés pour une utilisation dans les cuisines couvertes à l'extérieur seulement. Vous devez utiliser les adaptateurs de conduit, conduits, cheminées, couvertures de toit/mur, etc. appropriées selon les instructions suivantes. N'installez pas le revêtement dans une zone à découvert directement exposé aux éléments.
SECTION 1
Préparation de l'insert
- Sortez la hotte de l'emballage et assurez-vous d'avoir toutes les pièces. En plus de la hotte, vous devriez avoir :
8 - Vis (modèles LIN34, LIN40 - 12 ; modèles LIN46, LIN58 - 14)
2 - Lampes DEL (modèle LIN58 - 4)
1 - Adaptateur de sortie vertical
1 - Dalot à graisse
2 - Déflecteurs de graisse (modèles LIN24, LIN46, LIN58 - 3)
2 - Entretoises (modèles LIN24 seulement)
1 - Instructions et mesures de sécurité
REMARQUE : Certaines hottes peuvent être expédiées avec protecteur en plastique collé à la hotte. Il est recommandé de le laisser en place durant l'installation pour protéger la hotte contre les égratignures. Enlever une fois l'installation complétée.
SECTION 2
Préparation de la région

AVERTISSEMENT : VOUS ASSURER QUE L'ALIMENTATION EST COUPÉE AU PANNEAU DE SERVICE AVANT DE COMMENCER L'INSTALLATION.

AVERTISSEMENT : LORS DE DECOUPE OU DE PERCAGE DANS UN MUR NE PAS ENDOMMAGER DE FILAGE ELECTRIQUE OU AUTRES UTILITES DISSIMULEES.
- Taillez un trou d'une grandeur appropriée pour l'armoire dans lequel le revêtement sera monté (Figure 1) :
Modèles LIN24M : 24.5 po x 19.375 po Modèles LIN24MD : 24.5 po x 22.625 po
Modèles LIN28M : 28.5 po x 19.375 po Modèles LIN28MD : 28.5 po x 22.625 po
Modèles LIN34M : 34.5 po x 19.375 po Modèles LIN34MD : 34.5 po x 22.625 po
Modèles LIN40M : 40.5 po x 19.375 po Modèles LIN40MD : 40.5 po x 22.625 po
Modèles LIN46MD : 46.5 po x 22.625 po Modèles LIN58MD : 58.5 po x 22.625 po

bar
| Level | Value (po) | |-------|------------| | 1 | 24.5 | | 2 | 28.5 | | 3 | 34.5 | | 4 | 40.5 | | 5 | 46.5 | | 6 | 58.5 | | 7 | 19.375 | | 8 | 22.625 |REMARQUE : La hotte doit être montée à un minimum de 24 po et à un maximum de 36 po de la surface de cuisson.
SECTION 3
Montage du revêtement

AVERTISSEMENT : EN RAISON DU POIDS ET DE LA
GRANDEUR DE L'UNITÉ, ON VOUS RECOMMANDE QUE TROIS PERSONNES
SOIENT PRÉSENTES PENDANT L'INSTALLATION POUR SOULEVER, TENIR, ET FIXER L'UNITÉ EN PLACE.
- Soulevez l'unité vers le haut et placez-la de sorte que les arêtes inférieures soient en plein contact avec le fond de l'armoire. En utilisant les vis de support en bois incluses, fixez l'unité dans l'armoire en enfonçant les vis à l'intérieur des trous (Figure 2).

text_image
Armoire Bride Vis Figure 2REMARQUE : Si vous avez besoin d'un support additionnel, installez une bande en bois de 2 po X .75 po entre le dos de l'armoire (mur arrière) et la hotte. En installant la bande en bois sur le dos de l'armoire, localisez les goujons dans le mur pour soutenir le poids de l'armoire. Centrez la bande en bois à 11.5 po du fond de l'armoire et attachez la bande à au moins deux goujons dans le mur arrière (n'attachez pas la bande à la cloison sèche seulement). Soulevez l'unité vers le haut et placez-la de sorte que les arêtes du fond soient en plein contact avec le fond de l'armoire. Utilisant des vis en bois et des rondelles (non incluses) fixez la hotte à la bande en bois par les deux trous dans le dos de la hotte. En utilisant les vis de support en bois incluses, fixez l'unité dans l'armoire en enfonçant les vis à l'intérieur des trous (Figure 3).

text_image
SUPPORT ADDITIONNEL FACULTATIF Bande de montage en bois Rondelle Vis Armoire Bride Figure 3SECTION 4
Conduits

AVERTISSEMENT : TOUS LES CONDUITS DOIVENT ÊTRE CONFORMES AUX CODES LOCAL ET NATIONAL DU BÂTIMENT.

AVERTISSEMENT : POUR RÉDUIRE LES RISQUES D'INCENDIE UTILISER UNIQUEMENT DES CONDUITS EN MÉTAL.
- Déterminer le type de conduits dont vous aurez besoin (Figure 4).

text_image
Horizontal Chapeau mural Figure 4 Adaptateur de sortie Chapeau de toit VerticalREMARQUE : Pour des modèles utilisant le ventilateur B300, B500 ou B600, un conduit et un adaptateur de sortie de 6 po de diamètre au minimum sont exigés pour obtenir la circulation d'air appropriée. Le B900 exige un conduit et un adaptateur de sortie de 8 po de diamètre au minimum. Le B1125 exige un conduit et un adaptateur de sortie de 10 po de diamètre au minimum.
REMARQUE : Lorsque la terminaison du conduit est similaire à celle illustrée à la figure 4 (passant au travers du mur sur lequel la hotte est installée) l'installation requiert une considération spéciale. Dépendant de où les montants muraux sont situés, il peut être nécessaire de couper un montant mural ou plus et d'installer une chevêtre et une assise pour transférer la charge aux montants adjacents. Des montants additionnels pourraient devoir être bâtis dans l'ouve-rture pour fixer la cloison sèche et pour fixer la hotte. Si vous rencontrez cette situation, Air King recommande que vous embauchiez un professionnel et que vous vous conformiez avec tous les codes du bâtiment applicables.
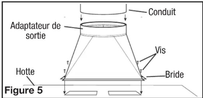
- Installer l'adaptateur mural de la bonne taille requise à la hotte en appariant les quatre trous sur la bride de l'adaptateur aux quatre trous correspondants sur la hotte et fixer en place avec les vis comprises. Assurez-vous que le joint est étanche autour de l'adaptateur en sécurisant tous les raccords avec du ruban de gaine (Figure 5).

text_image
Conduit Adaptateur de sortie Vis Bride Hotte Figure 53 Quand il y a accès au dessus de l'unité, reliez la canalisation au collier de conduit et fixez-la en place en utilisant un ruban adhésif pour sceller tous les joints (Figure 5).
4. Quand il n'y a aucun accès au dessus de la hotte, abaissez soigneusement le conduit en métal par le trou à la base de la hotte. Glissez ce conduit au-dessus du collier de conduit. Assurez-vous que l'assemblement de la pièce d'ajustage / du clapet entre dans la canalisation. Scellez le raccordement avec le ruban adhésif de conduit.
SECTION 5
Câblage

AVERTISSEMENT : TOUTES LES CONNEXIONS
DOIVENT ÊTRE FAITES EN CONFORMITÉ AVEC LES CODES
ÉLECTRIQUES LOCAUX OU NATIONAUX, SI VOUS N'ÊTES PAS FAMILIER
AVEC LES MÉTHODES D'INSTALLATION DE CÂBLAGE ÉLECTRIQUE, RECOURREZ AUX SERVICES D'UN ÉLECTRICIEN QUALIFIÉ.
- Enlever les deux vis du couvercle du compartiment de câblage pour obtenir l'accès au compartiment de câblage (Figure 6). Raccorder le fil blanc de la hotte au fil blanc de l'alimentation, et le fil noir de la hotte au fil noir de l'alimentation. Raccorder le fil de mise à la terre de la maison (fil nu ou vert) au fil de mise à la terre (vert) de la hotte. Utiliser des méthodes approuvées pour toutes les connexions (Figure 7).
- Replacer le couvercle du compartiment de câblage et serrer les vis. Assurez-vous que tout le câblage est fermement contenu dans le compartiment à câblage. Si le connecteur rapide de fils a été enlevé du réceptacle, le replacer. Le connecteur ne s'ajustera que d'une seule façon dans le réceptacle (Figure 6).

text_image
Connecteur à fils Vis Figure 6
flowchart
graph LR
A["Hotte"] --> B["Noir"]
A --> C["Neutre (blanc)"]
A --> D["Vert"]
B --> E["Noir"]
C --> F["Neutre (blanc)"]
D --> G["Mise à la terre (vert ou nu)"]
H["Alimentation de la résidence"] --> I["Par d'autres"]
SECTION 6
Installation de la soufflante
- Référez-vous aux instructions comprises avec la soufflante spécifique que vous avez choisie pour l'installation.
SECTION 7
Amortisseur motorisé optionnel
Un amortisseur motorisé optionnel (vendu séparément) peut être ajouté à LIN. Lorsqu'il est connecté au LIN, l'amortisseur motorisé s'ouvre lorsque le LIN est activé et se ferme lorsque le LIN s'éteint.
- La série LIN est équipée d'un réceptacle sur le dessus de la hotte qui accepte un transformateur 24 VCA pour effectuer une connexion électrique à un amortisseur motorisé (vendu séparément) (Figure 8).
- Référez-vous aux instructions comprises avec le amortisseur motorisé pour l'installation et le fonctionnement.

- Installer des lampes JA8 PAR20, de base moyenne, d'un maximum de 7 watts. L'installer en insérant la lampe dans le réceptacle et en tournant en sens horaire jusqu'à ce que la lampe soit fermement installée. NE PAS serrer à outrance.
- Si le dalot à graisse rétractable compris n'est pas déjà installé dans la hotte, l'insérer dans le canal intérieur arrière de la hotte. Assurez-vous que le côté le plus long du dalot fait face vers l'arrière de la hotte (Figure 8).

text_image
Dalot à graisse Canal Figure 8- Installez les filtres à chicanes et toutes les entretoises inclus avec l'unité en insérant le dessus du filtre dans le canal supérieur du capot, puis faites glisser le bas du filtre dans le canal inférieur. Les filtres comprennent un dessus et un dessous. Le dessous du filtre aura des trous de vidange de petite taille. Ces trous doivent être orientés vers le bas vers le collecteur de graisse pour être efficace (Figure 9).

text_image
Canal du haut Canal du bas ① ② ③ Figure 9SECTION 9
Operation
Contrôles
Votre revêtement est équipée avec deux interrupteurs rotatifs dont l'un contrôle l'éclairage et l'autre contrôle la soufflante du ventilateur d'évacuation. L'interrupteur de l'éclairage est réglable. Le commutateur de vitesse du ventilateur a quatre positions, Éteinte, Haute, Moyenne, et Basse (Figure 10).

text_image
Interrupteur d'éclairage Interrupteur du ventilateur Figure 10Thermostat
Votre revêtement est équipé d'un thermostat qui allumera automatiquement le revêtement quand la température dépasse un point déterminé. Une fois que la température s'abaisse, le thermostat éteindra le revêtement.

AVERTISSEMENT : LE REVÊTEMENT DOIT TOUJOURS
ÊTRE ACTIVÉ OU DÉSACTIVÉE PAR LE PANNEAU DE CONTROLE LORSQUE LA
SURFACE À CUIRE EST UTILISÉE. NE COMPTEZ PAS SUR LE THERMOSTAT COMME LE SEUL MOYEND'ALLUMER OU D'ÉTEINDER LE REVÊTEMENT !
SECTION 10
Maintenance

AVERTISSEMENT : VOUS ASSURER QUE L'ALIMENTATION EST COUPÉE AU PANNEAU DE SERVICE AVANT DE FAIRE L'ENTRETIEN SUR L'UNITÉ.
Déflecteurs de graisse
Vous trouverez, incluses avec votre hotte de cuisinière, des chicanes de graisse en acier inoxydable avec une cuvette de graisse qui devrait être lavée au moins une fois par mois. Les chicanes et la cuvette sont lavables au lave-vaisselle et devraient être lavées avec un savon ou un détergent doux. Inversez les instructions à la SECTION 8 Fin de l'installation, pour enlever des chicanes et la cuvette. Si les chicanes de graisse deviennent endommagées, remplacez-les par les chicanes de graisse Air King appropriées décrites dans le schéma des pièces.

AVERTISSEMENT : LAISSER REFROIDIR LA LAMPE AVANT DE LA REMPLACER.
Changement de la lampe
Enlevez la lampe en tournant légèrement dans le sens contraire des aiguilles d'une montre et retirez de la douille. Remplacez par une lampe DEL de base moyenne JA8 PAR20, de 7W au maximum.
Fusible
Pour remplacer le fusible, tournez le bouchon de fusible situé à côté du capuchon de connexion dans le sens inverse des aiguilles d'une montre et retirez. Référez-vous aux instructions incluses avec le ventilateur spécifique que vous avez choisi pour l'information sur le changement du fusible.
Nettoyage

AVERTISSEMENT : NE PAS UTILISER D'ESSENCE, BENZÈNE, DILUANT, DE NETTOYANT FORT, ETC., PUISQU'ILS POURRAIENT ENDOMMAGER LA HOTTE DE CUISINE.
- Nettoyer votre hotte de cuisine avec un détergent doux, tel que du liquide à vaisselle, et le sécher avec un chiffon doux. NE JAMAIS UTILISER DE TAMPON ABRASIF OU DE POUDRE À RÉCURER. Sécher complètement avant de remettre l'alimentation. NE JAMAIS IMMERGER LES PARTIES ÉLECTRIQUES DANS L'EAU.
- L'assemblage de la soufflante peut être passé à l'aspirateur au cas où un amas (saleté, peluche, etc.) se serait accumulé avec le temps. La soufflante est lubrifiée en permanence et ne nécessite pas d'huilage.
Guide de dépannage
| Trouble Cause possible Solution suggérée | ||
| 1. La hotte ne fonctionne pas lorsque l'interrupteur est à EN (ON). | 1a. Un fusible peut être grillé ou un disjoncteur peut être déclenché.1b. Le câblage n'est pas raccordé correctement. | 1a. Remplacer le fusible ou réinitialiser le disjoncteur.1b. Couper l'alimentation de l'unité. Vérifier que tous les fils sont raccordés. |
| 2. La hotte fonctionne, mais l'air circule plus lentement que la normale. | 2. Obstruction dans les conduits d'évacuation. | 2. Vérifier pour quelque obstruction dans les conduits incluant le filtre. |
| 3. La hotte produit un son de crécelle. | 3a. Les filtres sont lâches3b. Le raccord des conduits est lâche.3c. Le clapet est coincé | 3a. Couper l'alimentation à l'unité. Vérifier que tous les filtres sont bien fixés.3b. Couper l'alimentation de l'unité. Vérifier que tous les raccords des conduits sont bien serrés.3c. Coupez le courant à l'unité. Vérifiez que le clapet s'ouvre librement. |
GARANTIE LIMITÉE
CE QUE COUVRE CETTE GARANTIE : Ce produit est garanti contre tout vice de fabrication ou de matière.
COMBIEN DE TEMPS CETTE GARANTIE DURE : Cette garantie se rapporte seulement à l'acheteur original du produit et dure pendant une (1) année de la date de l'achat original ou jusqu'à ce que l'acheteur original du produit vend ou transfère le produit, celui qui se produit en premier.
QUE FERA AIR KING : Au cours de la période de garantie, Air King, à son choix, réparera ou remplacera n'importe quelle partie ou pièces qui s'avèrent défectueuses ou remplacera le produit entier par le même modèle ou un modèle comparable.
CE QUE CETTE GARANTIE NE COUVRE PAS : Cette garantie ne s'applique pas si le produit était endommagé ou arrête de fonctionner en raison d'un accident, d'une mauvaise manipulation ou opération, de dommages d'expédition, d'abus, de mauvaise utilisation, de réparation faite ou tentées non autorisées. Cette garantie ne couvre pas les coûts d'expédition pour le retour des produits à Air King pour la réparation ou le remplacement. Air King payera les frais d'expédition de retour de Air King après les réparations ou le remplacement de garantie.
TOUTES LES GARANTIES, EXPRESSES OU TACITES (COMPRENANT, SANS LIMITATION, TOUTE GARANTIE TACITE DE VALEUR MARCHANDE), DURENT UN AN DE LA DATE DE L'ACHAT ORIGINAL OU JUSQU'À CE QUE L'ACHETEUR ORIGINAL DU PRODUIT VEND OU TRANSFÈRE LE PRODUIT, CELUI QUI SE PRODUIT EN PREMIER ET DANS AUCUN CAS AIR KING N'ASSUME AUCUNE RESPONSABILITÉ EXPRESSE OU TACITE POUR (I) DES DOMMAGES ACCIDENTELS OU INDIRECTS DE N'IMPORTE QUELLE CAUSE, OU (II) LE REPLACEMENT OU LA RÉPARATION DE TOUS FUSIBLES, DISJONCTEURS OU RÉCEPTACLES DE MAISON. MALGRÉ N'IMPORTE QUOI À L'EFFET CONTRAIRE, DANS AUCUN CAS LA RESPONSABILITÉ D'AIR KING, SOUS UNE GARANTIE EXPRESSE OU TACITE, NE DÉPASSERA LE PRIX D'ACHAT DU PRODUIT ET UNE TELLE RESPONSABILITÉ SE TERMINERA AVEC L'EXPIRATION DE LA PÉRIODE DE GARANTIE.
Certains états et provinces ne permettent pas les limitations de la période de garantie, ou l'exclusion ou la restriction des dommages accidentels ou indirects, et, par conséquent, les présentes restrictions ne peuvent pas s'appliquer. La présente garantie vous donne des droits légaux spécifiques et peut-être certains autres droits qui peuvent varier selon la province. La preuve d'achat est exigée avant qu'une réclamation de garantie ne soit acceptée.
SERVICE À LA CLIENTÈLE :
Sans frais (800) 465-7300
Notre équipe de service à la clientèle est disponible pour vous aider avec des questions sur le produit, les adresses des centres de service, et les pièces de rechange. Vous pouvez la rejoindre, du lundi au vendredi, de 8h:00 à 16h:00 HNE. Veuillez avoir le numéro du modèle disponible, ainsi que le genre et le style (qui se trouvent sur l'étiquette à l'intérieur de votre produit). Veuillez ne pas renvoyer le produit à l'endroit de l'achat.
www.airkinglimited.com
IL SE PEUT QUE LES PIÈCES POUR LES PRODUITS DISCONTINUÉS, OBSOLÈTES ET AUTRES PRODUITS NE SOIENT PAS DISPONIBLES. POUR DES RAISONS DE SÛRETÉ, BEAUCOUP DE COMPOSANTS ÉLECTRONIQUES ET LA PLUPART DES COMPOSANTS DES CHAUFFAGES NE SONT PAS À LA DISPOSITION DES CONSOMMATEURS POUR L'INSTALLATION OU LE REMPLACEMENT.
Installateur :
Date d'installation :
Endroit de l'achat :
Numéro de modèle :
TABLEAU DES PIÈCES DE RECHANGE

| # | # de pièceOté. Description de remplacement | ||
| 1 | 1 | Adaptateur de sortie vertical (300, 500, 600 PCM) | 5S1136141 |
| 1 | Adaptateur de sortie vertical (900 PCM) | 5S1136142 | |
| 1 | Adaptateur de sortie vertical (1200 PCM) | 5S1136143 | |
| 2 | 1 Boîte de filage | 5S1136064 | |
| 3 | 1 | Interrupteur du moteur | 5S9141014 |
| 4 | 1 | Interrupteur du lampe | 5S1141013 |
| 5 | 1 | Plaque d'interrupteur | 5S1142010 |
| 6 | 2 | Bouton | 5S9141015 |
| 7 | 1 | Thermostat | 5S9141016 |
MODÈLES LIN24
| # de pièceQté. Description de remplacement | |||
| 8 | 2 | Douille | 5S1136075 |
| 9 | 2 | Lampe de 7 watts DEL | 5S1136099 |
| 10 | 3 | Filtre déflecteur - PHGB1 | 5S1136077 |
| 11 | 1 | Dalot à graisse | 5S1141320 |
| 2 | Filtre d'entretoise | 5S1141221 | |
MODÈLES LIN28
| # de pièceOte. Description de remplacement | |||
| 8 | 2 | Douille | 5S1136075 |
| 9 | 2 | Lampe de 7 watts DEL | 5S1136099 |
| 10 | 2 | Filtre déflecteur - PHGB2 | 5S1136078 |
| 11 | 1 | Dalot à graisse | 5S1141370 |
MODÈLES LIN34
| # | # de pièceQté. Description de remplacement | ||
| 8 | 2 | Douille | 5S1136075 |
| 9 | 2 | Lampe de 7 watts DEL | 5S1136099 |
| 10 | 2 | Filtre déflecteur - PHGB3 | 5S1136079 |
| 11 | 1 | Dalot à graisse | 5S1136135 |
MODÈLES LIN40
| # | # de pièceQté. Description de remplacement | ||
| 8 | 2 | Douille | 5S1136075 |
| 9 | 2 | Lampe de 7 watts DEL | 5S1136099 |
| 10 | 2 | Filtre déflecteur - PHGB3 | 5S1136079 |
| 11 | 1 | Dalot à graisse | 5S1136135 |
MODÈLES LIN46
| # Qte. | # de pièceDescription de remplacement | ||
| 8 | 2 | Douille | 5S1136075 |
| 9 | 2 | Lampe de 7 watts DEL | 5S1136099 |
| 10 | 3 | Filtre déflecteur - PHGB3 | 5S1136079 |
| 11 | 1 | Dalot à graisse | 5S1136139 |
MODÈLES LIN58
| # | # de pièceQté. Description de remplacement | ||
| 8 | 3 | Douille | 5S1136075 |
| 9 | 3 | Lampe de 7 watts DEL | 5S1136099 |
| 10 | 3 | Filtre déflecteur - PHGB3 | 5S1136079 |
| 11 | 1 | Dalot à graisse | 5S1136139 |
Notice Facile