DOP30T840GS - Cuisinière Dacor - Notice d'utilisation et mode d'emploi gratuit
Retrouvez gratuitement la notice de l'appareil DOP30T840GS Dacor au format PDF.
| Caractéristiques | Détails |
|---|---|
| Type de cuisinière | Induction |
| Nombre de foyers | 4 foyers |
| Dimensions (L x P x H) | 76,2 cm x 60,9 cm x 91,4 cm |
| Capacité du four | 5,2 pieds cubes |
| Type de four | Convection |
| Température maximale du four | 500°F (260°C) |
| Fonctions de cuisson | Rôtissage, cuisson par convection, cuisson traditionnelle |
| Éclairage du four | Éclairage halogène |
| Matériau de la surface | Acier inoxydable |
| Système de sécurité | Verrouillage du panneau de commande |
| Consommation énergétique | Énergétiquement efficace |
| Garantie | 1 an |
FOIRE AUX QUESTIONS - DOP30T840GS Dacor
Téléchargez la notice de votre Cuisinière au format PDF gratuitement ! Retrouvez votre notice DOP30T840GS - Dacor et reprennez votre appareil électronique en main. Sur cette page sont publiés tous les documents nécessaires à l'utilisation de votre appareil DOP30T840GS de la marque Dacor.
MODE D'EMPLOI DOP30T840GS Dacor
Air sous vide mode 54
Sonde de température 57
Fonctionnalité de nettoyage 60
Utiliser la fonction Sabbat 64
Cuisinière professionnelle au gaz
DOP30 840 *
Avertissement
Ne faites jamais fonctionner la surface de cuisson supérieure de cet appareil sans surveillance
- Ne pas tenir compte de cet avertissement peut causer un incendie, une explosion ou vous exposer à un risque de brûlure pouvant entraîner des dégâts matériels, des blessures ou la mort.
- En cas d'incendie, éloignez-vous de l'appareil et appelez immédiatement les pompiers.
N'ESSAYEZ PAS D'ETEINDRE UN FEU D'HUILE OU DE GRAISSE AVEC DE L'EAU.
AVERTISSEMENT: Le non-respect des informations contenues dans ce manuel peut provoquer un incendie ou une explosion et entraîner des dommages matériels, des blessures ou la mort.
- Veillez à NE PAS conserver ni utiliser d'essence ou d'autres vapeurs ou liquides inflammables près de cet appareil ou de tout autre appareil.
- QUE FAIRE SI VOUS SENTEZ UNE ODEUR DE GAZ
- N'essayez PAS de mettre en marche un appareil.
- N'essayez PAS de toucher aux interrupteurs électriques.
- N'essayez PAS d'utiliser de téléphone dans votre bâtiment. Appelez immédiatement votre fournisseur de gaz depuis le téléphone d'un voisin et suivez les instructions du fournisseur de gaz.
- Si votre fournisseur de gaz n'est pas joignable, appelez les pompiers.
- L'installation et l'entretien doivent être effectués par un installateur qualifié, un organisme de service ou le fournisseur de gaz.
Français2
Avertissement
Afin de réduire le risque de basculement de la cuisinière, celle-ci doit être immobilisée par un dispositif anti-basculement correctement installé. APRÉS L'INSTALLATION DE LA CUISINIÈRE, VÉRIFIEZ QUE LE DISPOSITIF ANTI-BASCULEMENT A ÉTÉ CORRECTEMENT INSTALLÉ ET VÉRIFIEZ QUE LE DISPOSITIF ANTI-BASCULEMENT EST CORRECTEMENT ENGAGE. Reportez-vous au manuel d'installation pour obtenir des instructions.
a) Si le dispositif anti-basculement n'est pas installé, un enfant ou un adulte peut faire basculer la cuisinière et se faire tuer. b) Vérifiez que le dispositif anti-basculement a été correctement installé et engagé à l'arrière droit (ou arrêté gauche) du fond de la cuisinière. c) Si vous déplacez la cuisinière puis la remettez en place, assurez-vous que le dispositif anti-basculement est reengagé à l'arrière droit ou gauche du fond de la cuisinière. d) N'utilisez pas la cuisinière sans que le dispositif anti-basculement soit en place et engagé. Le non-respect de cette consigne peut entraîner la mort ou des brûlures graves chez les enfants et les femmes.

Avertissement
Ne marchez pas, ne vous appuyez pas et ne vous asseyez pas sur la porte du four de la cuisine. Vous pouvez faire basculer la cuisine et provoquer des brûlures ou des blessures graves.
Vérifiez que le dispositif anti-basculement est correctement installé. Ensuite, pour vérifier que le dispositif anti-basculement est engagé, saisissez le bord supérieur arrêté de la cuisinière et essayez soigneusement de la faire basculer vers l'avant. Le dispositif anti-basculement devrait empêcher la cuisinière de basculer vers l'avant de plus de quelques centimètres.
Si vous retirez la cuisinière du mur pour une raison quelconque, assurez-vous que le dispositif anti-basculement est bien engagé lorsque vous repoussez la cuisinière contre le mur. Dans le cas contraire, la cuisinière risque de basculer et de provoquer des blessures si un enfant ou vous-même vous tenez, vous asseyez ou vous appuyez sur une porte ouverte.
Ne retirez jamais complètement les pieds de nivellement. Si vous les retirez, la cuisine ne sera pas correctement fixée au dispositif anti-basculement.
Attention
Tous les changements ou modifications qui ne sont pas expressément approuvés par la partie responsable de la conformité peuvent annuler le droit de l'utilisateur de se servir de l'équipement.
L'équipement de communication à distance installé sur ce produit est conforme à la section 15 des règlements de la FCC ainsi qu'à la norme RSS d'exemption de licence d'Innovation, Science et Développement économique Canada. L'utilisation est soumise aux deux conditions suivantes:
1) Cet équipement ne doit pas causer d'interférences néfastes, et 2) cet équipement doit accepter toute interférence reçue, y compris celles pouvant provoquer un fonctionnement non souhaité.
Pour les produits disponibles sur les marchés américain/canadiens, seuls les canaux 1~11 sont disponibles. Vous ne pouvez pas sélectionner d'autres canaux.
1. Déclaration relative à l'appareil radio :
Cet appareil a été testé et déclaré conforme aux limites pour appareils numériques de classe B, selon la section 15 des règlements de la FCC et la norme canadienne ICES-003. Ces limites sont conçues pour fournir une protection raisonnable contre les interférences nuisibles dans une installation résidentielle.
Francais4
Cet équipement génère, utilise et peut émettre de l'énergie de fréquence radio et, s'il n'est pas installé et utilisé conformément aux instructions, peut causer des interférences nuisibles aux communications radio. Cependant, il n'y a aucune garantie que des interférences ne se produiront pas dans une installation particulière. Si cet équipement provoque des interférences nuisibles à la réception de la radio ou de la télévision, ce qui peut être déterminé en éteignant et en rallumant l'équipement, il est recommandé à l'utilisateur d'essayer de corriger ces interférences en mettant en œuvre une ou plusieurs des mesures suivantes :
- Réorienter ou déplacer l'antenne de réception
- Augmenter la distance entre l'appareil et le récepteur
- Connecter l'équipement à une prise de courant située sur un circuit différent de celui de la radio ou de la télévision
- Consulter le revendeur ou un technicien radio/TV expérimenté pour obtenir de l'aide.
Déclaration sur l'exposition au rayonnement :
Cet équipement est conforme aux limites de la FCC et RSS-102 de l'IC établies pour un environnement non contrôlé. Cet équipement doit être installé et utilisé de manière à ce qu'il y ait au moins 20 cm (8 po) entre le radiateur et votre corps. Cet appareil et son/ses antenne(s) ne doivent pas être colocalisé(s) ou utilisér(s) en conjonction avec une autre antenne ou un autre émetteur.
Nos vous félicitons d'avoir acheté les tout derniers produits DacorMD! La combinaison unique de nos caractéristiques, de notre style et de nos performances fait de nous un atout majeur pour votre maison.
Dans le but de vous familiariser avec les commandes, les fonctions et le plein potentiel de votre nouvel appareil Dacor, lisez attentivement ce manuel d'utilisation et d'entretien, en commençant par la section Avant de commencer.
Tous les appareils Dacor sont conçus et fabriqués avec qualité et fierté, tout en travaillant dans le cadre des valeurs de notre entreprise. En cas de problème avec votre appareil, consultez d'abord la section Dépannage de ce manuel pour vous guider. Vous y trouverez des suggestions et des solutions utiles avant d'appeler le service après-vente.
Les précieux commentaires de nos clients nous aident à améliorer continuellement nos produits et services. N’hésitez donc pas à joindre notre équipe du service clientèle pour obtenir de l’aide sur n’importe quel produit.
Numéro de téléphone : 833-353-5483 (États-Unis), 844-509-4659 (Canada)
Heures d'ouverture: Du lundi au vendredi, de 8 h à 20 h, heures du Pacifique
Site Internet: www.dacor.com
Merci d'avoir choisi Dacor pour votre maison. Nous sommes une entreprise créée par des familles pour des familles, et nous nous engageons à servir la vente. Nous sommes convaincus que votre nouveau produit Dacor vous apportera un haut niveau de performance et de plaisir pendant de nombreuses années.
Cordialement,
Avant de commencer 9
Important 9
Remarque importante destinée à l'installateur 9
Remarque importante destinée à l'utilisateur 10
Remarque importante à l'intention du réparateur 10
Conseils pour économiser l'énergie 10
Fente d'aération et évent de refroidissement du four 10
Consignes de sécurité importantes 11
Lisez toutes les consignes avant d'utiliser cet appareil 11
Symboles utilisés dans ce manuel 11
Avertissement relatif à la proposition 65 de l'État de Californie 12
Commonwealth du Massachusetts 12
Sécurité générale 12
Sécurité incendie 13
Sécurité en matière de gaz 14
Sécurité électrique et mise à la terre 15
Sécurité en matière d'emplacement 16
Sécurité de la table de cuisson 17
Sécurité du four 19
Sécurité du four autonettoyant 20
Aperçu 21
Disposition 21
Panneaux de commande et affichages 21
Panneau de commande du four 22
Ce qui est inclus 23
Utilisation de la table de cuisson 24
Bruleurs 24
Allumage 25
Ustensiles de cuisine 27
Grilles 29
Grill (accessoires supplémentaires) 30
Anneau de wok 31
Utilisation du four 32
Réglages de base - Horloge, format de l'heure 32
Minuterie de cuisine 33
Cuisson minutée 34
Contenu
Caractéristiques du four 35
Instructions relatives aux fonctions de base 38
Utilisation des grilles du four 40
Utilisation de la grille coulissante 43
Mode Air Fry (Friture par application d'air) 46
Mode de cuisson à la pierre 51
Utilisation de la fonction spéciale 52
Mode air sous vide 54
Sonde de température 57
Fonction de nettoyage 60
Utilisation de la fonction Sabbath (sabbat) 64
Utilisation de la fonction Smart Connect (commande intelligente) 66
Pour démarrer le four à distance 67
Sécurité enfants 68
Réglages 69
Utilisation de la fonction de contrôle de la hotte 72
Entretien et maintenance - table de cuisson 74
Nettoyage de la surface de la table de cuisson 74
Surfaces en acier inoxydable 75
Boutons de commande 76
Grilles et composants des brûleurs 77
Chapeaux et têtes de brûleur 78
Bases du brûleur 78
Électrodes 79
Remplacement de la tête et du chapeau du brûleur 80
Entretien et maintenance - four 82
Entretien et nettoyage du four 82
Supports à échelle 87
Remplacement des supports d'échelle 88
Retrait des portes du four 90
Réinstallation des portes du four 92
Eclairage du four 94
Dépannage 95
Codes d'information 103
Garantie et service 105
Garantie 105
Annonce d'une source ouverte 108
Francais8
Important
- La conception générale et/ou les accessoires peuvent différer selon le modèle.
Installateur
Pour des raisons de sécurité et pour réduire au minimum les problèmes, lisez attentivement ce manuel avant de commencer l'installation. Laissez ce manuel à l'utilisateur. - Inscrivez les numéros de modèle/ de série de l'appareil dans ce manuel pour pouvoir vous y référer en cas d'entretien ou de réparation.
Utilisateur
- Conservez ce manuel pour votre référence personnelle et celle des inspecteurs, du personnel de service, etc.
Nettoyez minutieusement le four avant de l'utiliser pour la première fois. Ensuite, retirez les accessoires, régalez le four sur Bake (cuisson traditionnelle), puis faites-le fonctionner à 425 °F pendant 1 heures. Une odeur distinctive se fera sentir. Il s'agit d'une situation normale.
Assurez-vous que votre cuisine est bien ventilée pendant cette période de conditionnement.
LISEZ ENTIÈREMENT ATTENTIVEMENT CES INSTRUCTIONS.
Remarque importante destinée à l'installateur
- Lisez toutes les instructions contenues dans ces instructions d'installation avant d'installer l'appareil.
- Retirez tous les matériaux d'emballage des compartiments de l'appareil avant de raccorder l'alimentation électrique et en gaz à l'appareil.
- Respectez tous les codes et ordonnances en vigueur. Assurez-vous de laisser ces instructions à l'utilisateur.
- L'installation de cet appareil requiert des compétences mécaniques de base.
- L'installateur est responsable de toute mauvaise installation.
- La défaillance du produit due à une mauvaise installation n'est pas couverte par la garantie.
Remarque importante destinée à l'utilisateur
Conservez ces instructions avec votre manuel d'utilisation pour référer future.
- Comme pour l'utilisation de tout appareil générant de la chaleur, vous devez respecter certaines précautions de sécurité. Assurez-vous que votre appareil est installé et mis à la terre correctement par un installateur ou un technicien qualifié. Assurez-vous que les revêtements muraux autour de la cuisine ne peuvent résister à la chaleur générée par l'appareil. L'espace de rangement au-dessus des brûleurs de la cuisine doit être d'au moins 76,2 cm (30 po).
Remarque importante à l'intention du réparateur
Le schéma électrique est joint à l'intérieur du mini-manuel.
Conseils pour économiser l'énergie
- Pendant la cuisson, la porte du four doit rester fermée, sauf lorsque vous retournez les aliments. N'ouvre pas la porte fréquemment pendant la cuisson afin de maintenir la température du four et d'économiser de l'énergie.
- Si le temps de cuisson est supérieur à 30 minutes, vous pouvez éteindre le four 5 à 10 minutes avant la fin du temps de cuisson pour économiser de l'énergie. La chaleur résiduelle achèvera le processus de cuisson.
- Pour économiser de l'énergie et réduire le temps nécessaire au réchauffage du four, planifiez l'utilisation du four pour éviter de l'éteindre entre la cuisson d'un article et celle du suivant.
- Dans la mesure du possible, faites cuire plus d'un plat à la fois.
Fente d'aération et évent de refroidissement du four

L'évent et l'évent de refroidissement du four sont tous deux situés à l'arrière de la cuisinière. Une bonne circulation de l'air permet d'éviter les problèmes de combustion et d'assurer de bonnes performances.
- N'obstruez pas la fente d'aération ou ses environs avec des objets.
- Faites attention lorsque vous placez des objets à proximité de la fente d’aération. La vapeur chaude peut les faire surchauffer ou fondre.
- Soyez prudent lorsque vous utilisez le four, quel que soit son mode. Le four laisse échapper de l'air très chaud par la fente d'aération.
Francais10
Lisez toutes les consignes avant d'utiliser cet appareil
- Tout appareil électrique et à gaz comportant des pièces mobiles peut être dangereux. Lisez attentivement les informations importantes relatives à la sécurité dans ce manuel. Les instructions doivent être suivies pour réduire au minimum les risques de dommages matériels, de blessures ou de décès.
- Conservez ce manuel dans un endroit facilement accessible afin de pouvoir vous y référer en cas de besoin.
Avertissement
Risques ou manipulations dangereuses susceptibles d'entraîner des blessures graves, voire mortelles.
Attention
Risques ou manipulations dangereuses susceptibles d'entraîner des blessures légères ou des dégâts matériels.
Remarque
Conseils et instructions utiles
Ces symboles d'avertissement sont destinés à prévenir les dommages matériels et les blessures corporelles. Respectez-les scrupuleusement.
Avertissement
Cancer et troubles de la fertilité - www.P65Warnings.ca.gov
Ce produit doit être installé par un plombier agréé ou un installateur de gaz qualifié ou agrée par l'État du Massachusetts. Lorsque vous utilisez des vannes à bille pour couper le gaz, il faut utiliser le type à poignée en T. Il est interdit de raccorder en série plusieurs conduites de gaz flexibles.
Avertissement
Pour réduire les risques d'incendie, d'électrocution, de blessures corporelles et/ou de décès, respectez les précautions suivantes.
- Ne touchez pas aux surfaces, composants ou mécanismes de la cuisine pendant ou immédiatement après la cuisson. Apprenez ou et comment fermer la valve qui alimente la cuisine en gaz.
- Assurez-vous que le dispositif anti-basculement est correctement installé sur la cuisine. Consultez les instructions d'installation pour plus d'informations.
- Ne laissez pas les enfants s'approcher de la cuisinière. Ne laissez pas les enfants pénétrer dans la cuisinière ou monter dessus. Ne laissez pas les enfants jouer avec la cuisinière ou avec des pièces de celle-ci. Ne laissez pas les enfants sans surveillance dans la cuisine lorsque la cuisinière est en marche. Pour des raisons de sécurité, nous vous recommandons d'utiliser la fonction de verrouillage des commandes et des portes.
- Retirez tous les emballages avant d'utiliser la cuisinière afin d'éviter que ce matériel ne prenne feu. Conservez tous les emballages hors de la portée des enfants. Jetez l'emballage de façon appropriée dès que la cuisinière est déballée.
- Ne laissez pas d'objets susceptibles d'intéresser les enfants au-dessus ou à proximité de la cuisine.
- N'utilisez pas la cuisine si elle est endommagée de quelque manière que ce soit, si elle fonctionne mal ou s'il manque des pièces.
- N'utilise pas la cuisine comme chauffage d'appoint. Utilise-la uniquement pour la cuisson.
- N'utilisez pas de nettoyants pour four ou de revêtements pour four dans ou autour d'une partie du four. Utilisez uniquement des maniques sèches.
- N'utilise pas la cuisine pour chauffer des récipients alimentaires scellés.
- Ne frappez pas la vitre du four.
Francais12
Lors de la mise au rebut de la cuisine, coupez le cordon d'alimentation et retirez la porte pour éviter que les enfants et les animaux ne se retrouvent coincés. - Débranchez la cuisinière avant de procéder à l'entretien/la maintenance. Veillez à ce que la viande et la volaille soient bien cuites. La viande doit toujours être cuite à une température interne de 71°C (160°F). La volaille doit toujours être cuite à une température interne de 82°C (180°F). - N'essayez pas de faire fonctionner les brûleurs de la cuisinière à allumage électrique pendant une panne de courant. - Gardez la zone de l'appareil exempte de matériaux combustibles, d'essence et d'autres vapeurs et liquides inflammables. - Apprenez aux enfants qu'il ne faut pas toucher à la cuisinière ou à n'importe quelle partie de celle-ci et qu'il ne faut pas jouer avec ses commandes. Nous vous recommandons d'utiliser la fonction de verrouillage de la commande et de la porte pour réduire le risque d'une mauvaise utilisation par des enfants. - Un rideau d'air ou une autre hotte de cuisine suspendue, qui fonctionne en soufflant un flux d'air vers le bas sur une cuisinière, ne doit pas être utilisé avec une cuisinière à gaz à moins que la hotte et la cuisinière aient été conçues et testées conformément à la norme sur les cuisinières à gaz domestiques, ANSI Z21.1 - CSA1.1, et homologuées par un laboratoire d'essai indépendant pour une utilisation combinée.
Avertissement
Pour réduire les risques d'incendie, d'électrocution, de blessure corporelle et/ou de décès, observez les mesures de précaution enoncées ci-après :
- Veillez à ne pas stocker/placer/utiliser de matériaux combustibles (par exemple, papier, plastique, maniques, linge de maison, essence, alcool) à proximité de la cuisinière.
- Ne portez pas de vêtements amples ou flottants pendant l'utilisation de la cuisinière. Pour éviter l'accumulation de graisse, nettoyez régulièrement les fentes d'aération.
- Ne laissez pas les maniques ou autres matériaux inflammables toucher un élément chauffant. N'utilisez pas de serviette ou tout autre tissu comme manique.
- N'eteignez pas un feu de graisse avec de l'eau. Éteignez la source de chaleur et étouffez le feu avec un couvercle hermétique ou utilisez un extincteur polyvalent, chimique sec ou un extincteur à mousse.
- Ne chauffez pas des récipients alimentaires non ouverts. L'accumulation de pression peut provoquer l'éclatement des conteneurs et entraîner des blessures.
- N'utilisez pas le four pour le stockage. Le papier et les autres articles inflammables stockés dans le four peuvent s'enflammer.
- Ne placez pas de matériaux ou d'objets combustibles autour de la cuisinière.
Avertissement
Pour réduire les risques d'incendie, d'électrocution, de blessure corporelle et/ou de décès, observez les mesures de précaution énoncées ci-après :
Si vous sentez une odeur de gaz :
- Fermez la valve et n'utilisez pas la cuisinière.
- N'allumez pas d'allumettes, de bougies ou de cigarette.
- N'allumez pas d'appareils électriques ou à gaz.
- Ne touchez pas les interrupteurs électriques ou ne branchez pas le cordon d'alimentation.
- N'utilisez aucun téléphone dans votre bâtiment.
- Faites évacuer tout le monde du BATIMENT.
- Appelez immédiatement votre fournisseur de gaz avec le téléphone d'un voisin. Suivez les instructions de la Compagnie de gaz.
- Si votre fournisseur de gaz n'est pas joignable, appelez les pompiers.
Vérification des fuites de gaz
La vérification de la présence de fuites dans l'appareil doit être effectuée conformément aux instructions du fabricant. N'utilisez pas de flamme pour vérifier d'éventuelles fuites de gaz. Avec un pinceau, appliquez un mélange d'eau et de savon tout autour de la surface en question. En cas de fuite de gaz, de petites bulles apparaîtront dans l'eau savonneuse. En cas de doute, demandez l'aide d'un professionnel.
Français14
Avertissement
Pour réduire les risques d'incendie, d'électrocution, de blessure corporelle et/ou de décès, observez les mesures de précaution énoncées ci-après :
- Branchez la cuisine sur une prise de courant à 3 broches avec mise à la terre.
- Ne retirez pas la broche de mise à la terre.
- N'utilisez pas d'adaptateur ou de rallonge.
- N'utilisez pas une prise ou un cordon d'alimentation endommagés, ou une prise électrique mal fixée.
- Ne modifiez pas la fiche, le cordon ou la prise d'alimentation.
- Ne placez pas de fusible dans un circuit neutre ou de mise à la terre. Utilisez un disjoncteur dédié de 120 Vac, 60 Hz, 20 Amp pour cette cuisinière.
L'utilisation d'un fusible à retardement ou un disjoncteur est recommandée. Ne branche pas plus d'un appareil sur ce circuit.
- Ne branchez pas le fil de terre à des conduites en plastique de plomberie, de gaz ou d'eau chaude.
- Cette cuisinière doit être mise à la terre. En cas de dysfonctionnement ou de panne de la cuisinière, la mise à la terre réduit le risque de choc électrique en fournissant un chemin sûr pour le courant. Le cordon d'alimentation de cette cuisinière est muni d'une fiche de mise à la terre, qui doit être fermement branchée dans une prise de courant correctement installée et mise à la terre conformément aux réglementations locales. Si vous n'êtes pas sûr que votre prise électrique est correctement mise à la terre, faites-la vérifier par un Electricien/agréé.
- Cette cuisinière est fournie avec une fiche à quatre broches avec mise à la terre. Ce cordon doit être branché dans une prise à 4 broches correspondante et mise à la terre, conforme à tous les codes et règlements locaux. Si les codes permettent l'utilisation d'un fil de terre séparé, nous recommandons qu'un électricien qualifié détermine le chemin approprié pour ce fil de terre.
- L'alimentation électrique de la cuisine doit être conforme aux codes locaux. En l'absence de codes locaux, il doit être conforme à la norme ANSI/NFPA n°70 - Dernière révision (pour les États-Unis) ou au Code canadien de l'électricité CSA C22.1 - Dernières révisions.
- Le propriétaire de la cuisinière doit s'assurer qu'il dispose d'un service électrique approprié.
Avertissement
Pour réduire les risques d'incendie, d'électrocution, de blessures corporelles et/ou de décès, respectez les précautions suivantes.
- Cette cuisinière est réservée à un usage intérieur et domestique. N'installez pas la cuisinière à l'extérieur ou dans un endroit où elle sera exposée aux intempéries, à l'eau ou au vent, à de forts courants d'air.
- Choisissez un sol plat, bien construit et capable de supporter le poids de la cuisinière. Les revêtements de sol synthétiques, comme le linoléum, doivent résister à des températures de 82°C (180°F) sans rétrécir, se déformer ou se décolorer. N'installez pas la cuisinière directement sur la moquette intérieure de la cuisine, sauf si une feuille de contreplaqué de ¼ pouce ou un isolant similaire est placé entre la cuisinière et la moquette.
- Pour une bonne ventilation de la cuisinière, assurez-vous que ses évacuations ne sont pas obstruées ou recouvertes et qu'il y a suffisamment d'espace libre en haut, à l'arrière, sur les côtés et sous la cuisinière. Les évacuations permettent l'évacuation nécessaire au bon fonctionnement de l'appareil, à une combustion correcte et à l'obtention des résultats de cuisson escomptés. Le fait d'obstruer ou de couvrir les évacuations peut entraîner une combustion incorrecte, ce qui pourrait provoquer des fuites de gaz et un incendie. Assurez-vous que les revêtements muraux autour de la cuisinière peuvent résister à la chaleur jusqu'à 200 °F (93 °C) générée par la cuisinière.
- Il faut éviter de ranger les armoires au-dessus de la surface de la cuisinière. S'il est nécessaire de disposer des armoires au-dessus de la cuisinière, prévoyez un espace minimum de 76,2 cm (30 po) entre la surface de cuisson et le bas des armoires ou installez une hotte qui dépasse horizontalement d'au moins 12,7 cm (5 po) le bas des armoires.
- Placez la cuisinière à l'écart des voies de circulation de la cuisine et des endroits exposés aux courants d'air afin d'éviter une mauvaise circulation de l'air.
- Si la cuisine est située près d'une fenêtre, ne suspendez JAMAIS de longs rideaux ou des stores en papier sur cette fenêtre. Ils pourraient passer par-dessus les brûleurs de surface et s'enflammer, engendrant un risque d'incendie.
Francais16
Avertissement
Pour réduire les risques d'incendie, d'électrocution, de blessure corporelle et/ou de décès, observez les mesures de précaution énoncées ci-après :
Assurez-vous que tous les brûleurs sont éteints lorsqu'ils ne sont pas utilisés. - N'utilisez pas de papier aluminium pour recouvrir les grilles ou toute autre partie de la table de cuisson. Cela peut provoquer un empoisonnement au monoxyde de carbone. Les doublures en aluminium peuvent également retenir la chaleur et présenter un risque d'incendie. Ne laissez pas les brûleurs sans surveillance à température moyenne ou élevée. - Avant d'allumer, assurez-vous que tous les chapeaux des brûleurs sont bien en place et que tous les brûleurs sont parfaitement horizontaux. - Utilisez toujours la position Lite pour allumer les brûleurs et assurez-vous que les brûleurs se sont allumés. Si l'allumage échoue, tournez le bouton sur Off (arrêt) et attendez que le gaz se dissipe avant de rallumer le brûleur. Lorsque vous régalez un brûleur sur mijotage, il ne faut pas tourner le bouton rapidement. Assurez-vous que la flamme reste allumée. - Pour chauffer des aliments, vous devez disposer d'une hotte de ventilation. La hotte doit être allumée lorsque vous faites chauffer des aliments. - Avant de retirer ou de changer d'ustensile de cuisson, éteignez les brûleurs. - Retirez les aliments et les ustensiles de cuisine immédiatement après la cuisson. - Avant de retirer une partie du brûleur pour le nettoyer, assurez-vous que la cuisine est éteinte et complètement refroidie. - Après nettoyage l'anneau du brûleur, assurez-vous qu'il est complètement sec avant de le réassembler. Assurez-vous que la marque de l'étincelle sur l'anneau du brûleur double est placée à côté de l'électrode lors de l'assemblage. - Pour éviter tout empoisonnement au monoxyde de carbone, ne versez pas d'eau dans le puits de la table de cuisson pendant le nettoyage. - Choisissez des ustensiles de cuisine conçus pour la cuisson sur la table de cuisson. Utilisez des ustensiles de cuisson recommandés dont la taille ne dépasse pas celle des grilles de la table de cuisson. - Pour éviter la décoloration ou la déformation des ustensiles de cuisson ou une intoxication au monoxyde de carbone, n'utilisez pas d'ustensiles de cuisson beaucoup plus grands que la grille. Assurez-vous que les poignées des ustensiles de cuisson sont tournées vers le côté ou l'arrière de la table de cuisson, mais pas au-dessus des autres brûleurs de surface ou du bord avant de la table de cuisson.
Consignes de sécurité importantes
- Ne vous tenez pas directement au-dessus d'une casserole lorsque vous faites frire des aliments.
- Faites toujours chauffer les huiles de friture lentement et surveillez-les pendant qu'elles chauffent. Si vous faites frire des aliments à feu vif, surveillez attentivement le processus de cuisson. Si vous comptez combiner des graisses ou des huiles pour la friture, mélangez-les avant de les chauffer.
- Utilisez un thermomètre de friture si possible pour ne pas chauffer l'huile au-delà de son point de fumée.
- Utilisez une quantité minimale d'huile pour la cuisson à la poèle ou la friture. Ne faites pas frire des aliments congelés, glacés, froids ou humides.
- Avant de déplacer des ustensiles de cuisine remplis de graisses ou d'huiles, assurez-vous qu'ils ont complètement refroidi.
- eint le brûleur afin que leur température se stabilise. En cas de brûlure, suivez ces instructions de premiers secours :
- Plongez la zone échaudée dans de l'eau fraîche pendant au moins 10 minutes.
- N'appliquez pas de crèmes, d'huiles ou de lotions.
- Couvrez avec un tissu propre et sec.
- Placez la casserole au centre de la grille. Ne placez pas de casserole de plus de 9 po de diamètre sur les brûleurs arrêté. Si vous placez une casserole surdimens
- Ne portez pas de vêtements amples ou flottants pendant l'utilisation de la cuisinière. Ils pourraient s'enflammer et vous brûler s'ils touchent un brûleur de surface.
- Ne laissez jamais d'objets en plastique sur la table de cuisson. L'air chaud provenant de la fente d'aération peut faire fondre ou enflammer des articles en plastique ou provoquer une accumulation de pression dangereuse dans des récipients en plastique fermés. Le plastique fondu peut obstruer les fentes d'aération situées à l'arrière de la cuisinière. L'obstruction des fentes d'aération peut provoquer une combustion incorrecte, entraînant des fuites de gaz et un incendie. Vous risquez de vous brûler gravement si vous touchez les surfaces situées près de la fente d'aération pendant que le four fonctionne.
- Ne placez pas d'appareils portables ou tout autre objet autre que des ustensiles de cuisine sur la table de cuisson. Des dommages ou un incendie pourraient se produire si la table de cuisson est chaude.
- Vérifiez toujours que les commandes sont sur Off (arrêt) et que les grilles sont froides avant de les prier pour éviter tout risque de brûlure.
- Ne placez pas de matériaux ou d'objets combustibles autour de la cuisinière.
- Ne touchez pas les brûleurs lorsqu'ils sont allumés. Éteignez les brûleurs lorsque vous changez de casserole ou de marmite.
Francais18
Avertissement
Pour réduire les risques d'incendie, d'électrocution, de blessures corporelles et/ou de décès, respectez les précautions suivantes.
- N'utilisez pas le four à des fins autres que la cuisson, comme le séchage du linge ou le stockage. Utilisez le four uniquement pour la cuisson. Assurez-vous que les grilles du four sont placées au même niveau de chaque côté. N'endommagez pas, ne retirez pas ou ne nettoyez pas le joint de la porte.
- Ne pulvérisez pas d'eau sur la vitre du four lorsque celui-ci est allumé ou juste après l'avoir éteint. Tenez-vous à l'écart lorsque vous ouvrez la porte du four. Veillez à ce qu'il n'y ait pas d'accumulation de graisse dans le four.
- Avant de repositionner les grilles du four, assurez-vous que le four est complètement froid.
- Ne mettez pas d'objets en plastique à l'intérieur du four.
- Pour éviter d'endommager les boutons de commande des brûleurs ou la commande du four, faites toujours cuire et/ou griller les aliments avec la porte du four fermée.
- Ne placez pas la viande trop près de l'élément de grill. Coupez l'excès de graisse avant de faire griller.
- Suivez les instructions du fabricant en cas d'utilisation de sacs de cuisson ou de rôtissage dans le four.
- Ne recouvre JAMAIS les fentes, les trous ou les passages de la sole du four ou une grille entière avec un matériel tel qu'une feuille d'aluminium. Cela bloque la circulation de l'air dans le four et risque de provoquer une intoxication au monoxyde de carbone. Les doublures en aluminium peuvent également retenir la chaleur et présenter un risque d'accordie.
Avertissement
Pour réduire les risques d'incendie, d'électrocution, de blessures corporelles et/ou de décès, respectez les précautions suivantes.
- La fonction d'autonettoyage fait fonctionner le four à des températures suffisamment élevées pour brûler les salissures alimentaires dans le four. La cuisinière est extrêmement chaude pendant un cycle d'autonettoyage. Ne touchez aucune surface de la cuisinière pendant un cycle d'autonettoyage.
- Tenez les enfants éloignés du four pendant un cycle d'autonettoyage.
- Avant de débuter un cycle d'autonettoyage, retirez tous les objets non fixés du four et essuyez toutes les surfaces du four.
- Après un cycle d'autonettoyage, tenez-vous à l'écart lorsque vous ouvrez la porte du four.
- En cas de dysfonctionnement du cycle d'autonettoyage, éteignez le four, coupez le disjoncteur et faites appel à un technicien qualifié.
- Certains oiseaux sont extrêmement sensibles aux fumées qui se dégagent pendant le cycle d'autonettoyage d'un four. Déplacez les oiseaux dans une autre pièce bien ventilée.
Francais20
Disposition

| 01 Brûleurs de surface | 02 Couvercle de la fente d'aération du four |
| 03 Supports à échelle 04 Porte de four amovible | |
| 05 Tiroir de rangement 06 Brûleur du four àgril | |
| 07 Éclairage du four (1 emplacement) | 08 Ventilateur de convection |
| 09 Brûleur du four de cuisson |
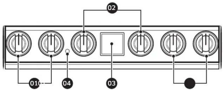
Panneaux de commande et affichages

| 01 Boutons de brûleurs de surface (4 pcs) | 02 Boutons des brûleurs du four (mode, température) (2 pièces) |
| 03 Panneau de commande du four 04 Bouton d'éclairage du four | |
Panneau de commande du four

01 Sonde : Permet d'activer le mode sonde de température. 02 Temps de cuisson : Permet de régler le temps de cuisson. 03 Réglages : Permet d'afficher les options utilisées disponibles. 04 Commande intelligente : Permet de régler la fonction de commande intelligente sur ON / OFF. 05 OK : Permet de démarrer une fonction ou de régler l'heure. 06 <,> : Permet de sélectionner une fonction ou de régler l'heure.
Francais22
Ce qui est inclus



Grilles (2) Têtes de brûleur (4) et chapeaux de brûleur (4)
Grilles plates (2)



Filtres à convection (2) Sonde de température (1) Grille de glissement (1)



Anneau de wok (1) Support anti-basculement (1)
Plateau pour friture par application d'air (1)

Couvre-pieds avant (2)
La cuisine (certains modèles) est fournie avec deux types différents de chapeaux de brûleur (laiton et porcelaine) pour répondre aux préférences du client. Le laiton se décolore à l'usage ; la décoloration n'affecte pas le fonctionnement.

Remarque
- Vous devez insérer les filtres de convection avant d'utiliser le four. La garantie ne couvre pas la décoloration des chapeaux de brûleurs en laiton.
Brûleurs
Les brûleurs de votre cuisine sont de trois types différents. Consultez le diagramme ci-dessous pour connaître la puissance calorifique et l'emplacement des brûleurs. Chaque brûleur génère une étincelle lorsque le bouton est tourné sur la position Lite spark. (N'utilisez pas la table de cuisson si l'étincelle n'est pas activée). Lorsque le brûleur s'allume, l'étincelle s'arrête automatiquement. Les joints d'étanchéité sous les brûleurs empêchent les liquides renversés de s'infiltrer dans les pièces internes de la cuisine.

| A Double brûleur 20K BTU |
| B Brûleur superposé 16K BTU |
| C Brûleur superposé 9,5K BTU |
Chaque brûleur est conçu pour un usage spécifique, tel que détaillé dans ce tableau :
| Brûleur Position Objectif Type d'aliments | |||
| Brûleur double 20K BTU Avant croit (RF) | Réchauffement puissant/Mijotage faible | Faire bouillir des aliments Sauce tomate | |
| Brûleur superposé 16K BTU | Avant gauche (LF) | Chauffage rapide | Aliments d'ordre général, casseroles |
| Arrière gauche (LR) | |||
| Brûleur superposé 9,5K BTU | Arrière croit (RR) | Mijotage à feu doux | Aliments délicats qui nécessitant une chaleur faiblependant une longue période. |
Français24

Remarque
À chaque bouton de commande correspond un brûleur. L'emplacement du brûleur correspondant est indiqué à côté du bouton.
Pour allumer un brûleur :
- Enonceze le bouton et tournez-le dans le sens inverse des aiguilles d'une montre jusqu'à la position Lite. L'allumeur du brûleur émet des étincelles à plusieurs reprises jusqu'à ce qu'il s'allume. L'étinc temporaire lors du fonctionnement initial. De petites pointes jaunes sur les flammes sont normales lors de l'utilisation de gaz GPL. Si un brûleur ne s'allume pas, si l'allumeur continue de produire des étincelles ou si la flamme ne se propage pas uniformément autour du chapeau du brûleur, consultez la section Dépannage à la page 95.
- Placez l'ustensile de cuisson sur la grille.
- Reglez la flamme en fonction de la cuisson.
Remarque
Eteignez le brûleur s'il n'y a pas d'étincelle, et vérifiez que la cuisine est alimentée en électricité.
N'allumez jamais manuellement un brûleur pendant une panne de courant.
Astuces
- Les aliments cuisent tout aussi rapidement à une ébullition douce qu'à une ébullition vigoureuse. Faites bouillir les aliments doucement pour conserver l'énergie, la saveur et les nutriments.
- Utilisez une flamme basse ou moyenne lorsque vous cuisez avec des ustensiles qui sont de mauvais conducteurs de chaleur (verre, céramique, fonte). Réglez la flamme de manière à couvrir 1/3 du diamètre de l'ustensile de cuisson pour assurer un chauffage uniforme et réduire le risque de brûler roussir les aliments.
Niveau des flammes
Les flammes des brûleurs doivent toujours rester sous l'ustensile de cuisson.
Avant d'utiliser les boutons du brûleur...
Pour éviter de modifier la taille des flammes, chaque bouton de brûleur ne peut être actionné que par la méthode « pousser-tourner ».
Aussi, l'utilisateur rencontre des points d'arrêt lorsqu'il tourne le bouton. À chaque point d'arrêt, il faut pousser et tourner le bouton pour continuer. Le bouton ne peut être tourné que si l'utilisateur a l'intention de modifier la taille de la flamme.
Francais26
Avertissement
- Les ustensiles de cuisine dont le fond est rugueux peuvent endommager de façon permanente les surfaces de la grille.
- Pour éviter les brûlures, tournez toujours les poignées des casseroles dans une position où elles ne peuvent pas être facilement heurtées. Les poignées ne doivent pas dépasser les brûleurs adjacents ou le bord avant de la table de cuisson. Posez toujours les ustensiles de cuisine avec précaution sur les grilles et centrez-les de manière à ce qu'ils soient bien équilibrés.
- Ne faites pas glisser les ustensiles de cuisson sur les grilles. Le glissement peut endommager la finition. Soulevez les ustensiles de cuisine pour les repositionner. Pour éviter les brûlures et les risques d'incendie, assurez-vous que la flamme du brûleur reste sous l'ustensile de cuisson.
- Si vous utilisez des ustensiles de cuisine en verre, assurez-vous qu'ils sont conçus pour la cuisson sur la table de cuisson. Veillez à tenir le manche d'un wok ou d'une petite casserole à un manche pendant la cuisson.
Pour une sécurité générale et des performances optimales, CHOISSEZ l'ustensile de cuisine adapté à l'aliment à cuire. Un ustensile mal choisi ne permettra pas une cuisson uniforme et efficace.
Utilise des ustensiles de cuisine qui :
- Présente un fond plat et lisse
- Ont des couvercles hermétiques empêchant la chaleur, les odeurs et la vapeur de s'échapper
- Sont bien équilibrés, la poignée pesant moins que la partie principale de la casserole ou de la poële
Recommandé Non recommandé
Caractéristiques des matériaux
- Aluminium: Un excellent conducteur de chaleur. Certains types d'aliments peuvent faire fencer l'aluminium. Cependant, les ustensiles de cuisson en aluminium anodisé résistant aux taches et aux picôres.
- Cuivre : Excellent conducteur de chaleur, mais se décolore facilement.
- Acier inoxydable : Un conducteur de chaleur lent avec des performances de cuisson inégales mais il est durable, facile à nettoyer et résiste aux taches.
- Fonte: Mauvais conducteur mais retient très bien la chaleur.
- Article en métal émaillé : Les caractéristiques de chauffage dépendent du matériel de base.
- Verre : Conducteur de chaleur lent. N'utilise que des ustensiles de cuisson en verre spécifiés pour la cuisson sur la table de cuisson ou au four.

Avertissement
Ne placez pas une petite casserole ou une marmite dont le diamètre du fond est d'environ 6 pouces ou moins sur le grand brûleur, cette taille de casserole peut se renverser et causer des blessures. Utilisez les brûleurs appropriés pour cette batterie de cuisine de petite taille.
Francais28
Grilles
Posez délicatement les grilles sur le dessus du plateau de déversement. Placez les pieds de chaque grille dans les alvéoles correspondantes.
Remarque
Les grilles sont lourdes. Soyez prudent en manipulant les grilles.

Remarque
Avant d'installer les grilles, veuillez vérifier les mots sous les grilles. Les mots vous indiquent où se trouve la face avant et la position correcte de la grille, à droite, au centre ou à gauche.

Gril (accessoires supplémentaires)
- Avant d'utiliser le grill pour la première fois, lavez-le à l'eau chaude et savonneuse, puis rincez-le et laissez-le sécher complètement.
- Pour plusieurs résultats, préchauffez le grill pendant 5 minutes.
- Orientez le bac à graisse de la grille à l'arrière de la table de cuisson.

- Une fois tous les brûleurs éteints et la cui
- Les brûleurs spécifiés sont de la même taille, ce qui garantit une cuisson uniforme à l'avant et à l'arrête.
- Insérez les languettes situées au bas des pieds dans les coins intérieurs de la grille. Un léger balancement est normal.
- poussez et tournez le bouton des brûleurs de gauche sur le réglage d'allumage (flamme). Le brûleur s'allume.
Attention
Évitez d'utiliser des ustensiles en métal sur la surface, car ils peuvent rayer le revêtement anti-adhésif.
Remarque
Nettoyez le grill après chaque utilisation.
Les informations relatives au préchauffage sont indiquées dans le tableau ci-dessous.
| Type d'aliment | Temps de préchauffage | Réglage du préchauffage | Réglage de la cuisson |
| Crêpes 3 à 5 min. Moyenne à faible Moyenne à faible | |||
| Hamburgers 3 à 5 min. Moyenne à élevé Moyenne à élevé | |||
| CÉufs au plat 3 à 5 min. Moyenne à faible Moyenne à faible | |||
| Bacon 3 à 5 min. Moyenne Moyenne | |||
| Saucisses pour le déjeuner | 3 à 5 min. Moyenne Moyenne |
Francais30
Anneau de wok
Les woks sont souvent utilisés pour faire sauter, frire et pocher. L'anneau pour wok fourni peut accueillir des woks de 12 à 14 pouces.


- Éteignez tous les brûleurs et attendez que les grilles refroidissent complètement.
- Placez l'anneau pour wok sur la grille au-dessus du double brûleur 20K BTU.
- Placez un wok sur l'anneau pour wok. Assurez-vous que le wok s'installe sur l'anneau pour wok.
- Allumez le brûleur et ajustez le niveau de flamme comme il convient.
Attention
- Ne retirez pas l'anneau pour wok avant que les grilles de la table de cuisson, les surfaces et l'anneau pour wok aient complètement refroidi.
- N'utilisez pas d'ustensiles de cuisine avec fond plat ou d'un diamètre inférieur au diamètre de l'anneau du wok. Les ustensiles de cuisine peuvent basculer.
- N'utilisez pas un wok surdimensionné. Les flammes du brûleur peuvent se propager et causer des dommages à proximité.
- N'utilisez pas la grille du wok et la plaque en même temps.
Veille
Après 1 minute d'inactivité (ou 1 minute lorsque le four est en mode veille), Réglages, Commande intelligente Lumière éteinte. Après 5 minutes, l'horloge s'éteint et le panneau de commande passe en mode Veille. En mode Veille, le panneau de commande reste inactif jusqu'à ce qu'il soit réactivé par l'utilisateur.
Réveil

Pour activer le panneau de commande, touchez la zone inférieure de l'écran pour le réveiller. Touchez à nouveau la zone inférieure, les préférences de l'utilisateur sont disponibles : les paramètres et la commande intelligente.
Thème de l'horloge

- Appuyez sur le bouton Réglages.
- Appuyez sur <,> pour sélectionner Régler l'heure.
- Appuyez sur OK. Appuyez sur <,> pour régler l'heure actuelle et tapez sur OK. Affichez l'option Matin/Soir, puis choisissez en appuyant sur <,>.
- Appuyez sur OK pour confirmer les réglages.
Format de l'heure

- Appuyez sur le bouton Réglages.
- Appuyez sur <,> pour sélectionner le Format de l'heure.
- Appuyez sur OK puis sur <,> pour sélectionner le format 24 h / 12 h.
- Appuyez sur OK.
Francais32
Minuterie de cuisine
La minuterie de cuisine sert de minuterie supplémentaire qui émet un signal sonore lorsque le temps défini est écoulé. Elle ne permet pas de démarrer ou d'arrêter les fonctions de cuisson. Vous pouvez utiliser la minuterie de cuisine avec toutes les autres fonctions du four.
Comment régler la minuterie

- Appuyez sur le bouton Réglages.
- Appuyez sur les touches <,> pour sélectionner la minuterie et sur la touche OK.
- Appuyez sur la touche <,> pour régler la Minuterie 'hr'. Appuyez sur OK pour passer au réglage 'min'. (Appuyez longuement pour augmenter ou diminuer le temps rapidement)
- Appuyez sur OK.
- Lorsque le temps programme est écoulé, le four émet un signal sonore et affiche le message 'Time is up' (Temps écoulé).
Appuyez sur la touche OK pour supprimer ce message.
Cuisson minutée
En mode de cuisson minutée, le four s'allume immédiatement et cuit pendant la durée que vous avez sélectionnée.
À la fin de la durée de cuisson, le four s'éteint automatiquement.
- Vous ne pouvez utiliser la fonction de cuisson minutée qu’avec un autre mode de cuisson. (Cuisson, Cuisson par convection (Pure), Rôtissage par convection (Pure), Friture par application d'air, Étuvage, Mode Cuisson à la pierre, Air Sous Vide, déhydration).
Remarque
Les modes disponibles pour chaque four sont indiqués à la page 35.
Comment régler le four pour une cuisson minutée

- Sélectionnez le mode de cuisson souhaité.
- Appuyez sur la touche Cook Time (Temps de cuisson).
- Appuyez sur la touche Cook Time pour régler le temps de cuisson 'hr'. Appuyez sur OK pour passer au réglage 'min'. (Appuyez longuement pour augmenter ou diminuer le temps rapidement)
- Vous pouvez régler le temps de cuisson pour n'importe quelle durée allant de 1 minute à 9 heures et 59 minutes. (Seul le mode Air-Sous Vide est disponible 99 h 59 min)
- Appuyez sur OK.

- Le temps de cuisson s'affiche dans la zone Temps de cuisson à l'écran.
Remarque
Vous pouvez annuler un temps de cuisson à tout moment en réglant le temps de cuisson sur 0 minute.
Attention
Soyez prudent avec les fonctions de cuisson programmée. Vous pouvez utiliser ces fonctions pour cuire des viandes saumurées ou congelées et la plupart des fruits et légumes.
Les aliments qui se gâtent facilement (lait, œufs, poisson, viande ou volaille frais ou décongelés) doivent d'abord être refroidis dans le réfrigérateur.
Même réfrigérés, ils ne doivent pas rester au four plus d'une heure avant le début de la cuisson et doivent être retirés rapidement une fois la cuisson terminée.
La consommation d'aliments avariés peut entraîner des maladies dues à une intoxication alimentaire.
Francais34
Caractéristiques du four
| Four Caracteristiques du four | |
| Four de base | Cuisson, Cuisson par convection (Pure), Rôtissage par convection (Pure), Gril, Friture par application d'air, Mode cuisson à la pierre, Maintien au chaud, Autonettoyage, Fonction spéciale. |
Mode de cuisson
Sélectionnez le mode de cuisson souhaité. Réglez la température souhaitée.
Consultez les instructions relatives aux fonctions de base à partir de la page 38.
| Mode Plage de température | Sonde de température | |
| Bake (cuisson traditionnelle) | Faible - 550 °F (285 °C) | ✓ |
| Convection Bake (Pure) (cuisson par convection) | Faible - 550 °F (285 °C) | ✓ |
| Convection Roast (Pure) (rôtissage par convection) | Faible - 550 °F (285 °C) | ✓ |
| Broil (gril) | Faible - Moyen - Élevé | x |
| Air Fry (Friture par application d'air) | 350 °F (175 °C) à 500 °F (260 °C) | x |
| Stone Bake mode (mode cuisson à la pierre) | 350 °F (175 °C) à 500 °F (260 °C) | x |
| Keep Warm (Maintien au chaud) | 175 °F (80 °C) | x |
✓ = Disponible × = Non disponible
Utilisation du four
| Mode Instruction | |
| Bake(CuissonTraditionnelle) | Le mode Bake (cuisson) est utilisé pour la cuisson de gâteaux, de biscuits et de plats en cocotte. Préchauffez toujours le four.Les températures et les temps de cuisson varient en fonction des ingréductents, de la taille et de la forme du moule utilisé.Les revêtements fonçés ou antiadhésifs peuvent cuire plusrapidement avec plus de brunissement. |
| ConvectionBake (Pure)(Cuisson parconvection) | Le mode de cuisson par convection (Pure) utilise un ventilateur pour faire circuler la chaleur du four de façon uniforme et continue dans le four.Cetteffective répartition de la chaleur permet une cuisson uniforme et d'excellents résultats lorsque vous utilisez plusieursgrilles.Offre les méilleures performances pour les biscuits aux pépites de chocolat, les biscuits, les brownies, les petits gâteaux, les choux à la crème, les petits pains, les gâteaux des anges et le pain.Pour la cuisson par convection avec une grille, placez la grille au niveau 3 ou 5.Pour la cuisson par convection avec deux grilles, placez-les aux niveaux 3 et 5 pour les gâteaux et les biscuits aux pépites de chocolat.La température du four doit être réduite manuellement de 25 °F lorsque vous utilisez le mode de cuisson par convection (Pure).Dans ce mode, la convection pure en 4 parties est appliquée. |
| ConvectionRoast (Pure)(Rôtissage parconvection) | Le mode Rôtissage par convection (Pure) est idéal pour la cuisson de grosses pieces de viande tendre, à découvert. Le ventilateur à convection fait circuler l'air chauffé uniformément sur et autour des alimentés.La viande et la volaille sont dorées de tous les côts comme si elles avaient été cuites sur une rôtissoire.L'air chaud scelle rapidement les jus pour des résultats moelleux et tendres, tout en créé un extérieur riche et doréd.Dans ce mode, la convection pure en 4 parties est appliquée. |
Francais36
| Mode Instruction | |
| Broil (gril) | · La cuisson au grill permet de cuire des morceaux de viande tendres par chaleur directe sous l'élement de grillage du four. · La chaleur elevée permet de cuire rapidement et de créé un extérieur riche et doré. Le mode grill est idéal pour les morceaux de viande, de poisson et de volaille d'une épaisseur maximale d'un pouce. · Préchauffez toujours le four pendant 5 minutes avant de le faire griller. · Consultez la Guide de cuisson au grill la section commençant à la page 45. |
| Air Fry(Friture par application d'air) | · Le mode Air Fry (Friture par application d'air) utilise l'air chaud pour rendre les alimentents surgelés ou frais plus croustillants et plus sains, sans huile ou avec moins d'huile que le mode convection normal. · Pour deGXmeilleurs résultats, utilisez ce mode en mode four simple et placez le plateau pour friture par application d'air en position 4. · Le préchauffage n'est pas nécessaire pour ce mode. · La température peut être régée entre 350 °F à 500 °F. |
| Stone Bake mode (mode cuisson à la pierre) | · Accessoire pour pierre requis. · Faites cuire sur une pierre à pâtisserie ou à pizza pour la pizza et le pain. · Faites toujours un préchauffage avec une pierre pour obtenir deGXmeilleurs résultats. Le préchauffage prend environ 20 à 30 minutes. · Quand le signal sonore retentit, placez la pizza ou le pain sur la position 2 ou 3 de la grille. |
| Keep Warm(Maintien au chaud) | · Le mode maintainien au chaud permet de conserver les alimentents cuits au chaud pour les servir jusqu'à 3 heures après la fin de la cuisson. · Vous pouvez utiliser le mode maintainien au chaud sans aucun autre mode de cuisson ou vous pouvez le programmer pour qu'il s'active après un mode de cuisson minuté ou différé. · Vous ne devez pas utiliser ce mode pour réchauffer des alimentents froids. |
Instructions relatives aux fonctions de base

- Sélectionnez le mode de cuisson souhaité.

- Réglez la température souhaitée.
- Le mode Gril ne peut être réglé que sur Élevé, Moyen ou Faible.
- Les températures de maintien au chaud ne peuvent pas être modifiées.
Attention
- Placez les aliments dans le four après le préchauffage si la recette l'exige. Le préchauffage est très important pour obtenir de bons résultats lors de la cuisson de gâteaux, de biscuits aux pépites de chocolat, de pâtisseries et de pains. Une fois que le four a atteint la température désirée, le four émet un signal sonore. Le ventilateur du four à convection s'arrête lorsque la porte du four est ouverte.
- Ne laissez pas la porte ouverte pendant de longues périodes lorsque vous utilisez la cuisson par convection, car vous risquez de réduire la durée de vie de l'élément chauffant à convection.
Francais38

Remarque
- Si vous laissez la porte du four ouverte pendant plus de 20 secondes alors que le four est allumé, tous les éléments chauffants s'éteignent automatiquement.
- Une fois la cuisson terminée, le ventilateur de refroidissement continue de fonctionner jusqu'à ce que le four ait refroidi.
- Si vous utilisez un thermomètre de four dans la cavité du four, la température enregistrée par le thermomètre peut être différente de la température réelle définie du four. Pour des raisons de performance, le ventilateur de convection peut s'allumer ou s'éteindre pendant la cuisson du four.
- Ce four est conçu pour la cuisson au grill à PORTE FERMÉE. La porte du four doit être fermée pendant la cuisson au grill.
Utilisation des grilles du four

Positions recommandées des grilles pour la cuisson
| Type d'aliment | Position de la grille |
| Griller des hamburgers 6 | |
| Griller les viandes ou les petits morceaux de volaille, le poisson | 4 à 5 |
| Gâteaux Bundt, quatre-quarts, tartes surgelées, casseroles | 3 à 4 |
| Pizzas fraîches, gâteaux des anges, rôtis simples | 2 |
| Dinde, gros rôtis, jambons 1 |
- Ce tableau est une liste d'exemples à titre de référence uniquement.
Attention
- Ne recouvre pas une grille de four avec du papier d'aluminium. Le faire perturberait la circulation de la chaleur et entraînerait une mauvaise cuisson.
- Ne placez pas de papier d'aluminium sur la sole du four. L'aluminium pourrait fondre et endommager le four.
- Ne disposez les grilles du four que lorsque le four est froid. Lorsque vous placez une grille dans la position la plus haute (position 7), veillez à ce qu'elle soit placée de manière stable sur la butée en relief.
Francais40
Cuisson sur plusieurs grilles
Position des moules à gâteaux
Position des plaques à pâtisserie
Pour la cuisson de gâteaux ou de biscuits aux pépites de chocolat sur deux grilles, placez les grilles aux niveaux 3 et 5. - Pour la cuisson de 4 moules sur deux grilles : Placez deux moules à l'avant de la grille supérieure et les deux autres à l'arrière de la grille inférieure. - Lorsque vous faites cuire plusieurs aliments sur une grille, maintenez un espace de 2,5 cm à 3,8 cm (1 po à 1,5 po) entre les aliments. Lorsque vous utilisez la grille coulissante, placez-la sous la grille plate.
| Type de cuisson Position de la grille | |
| Gâteaux 3 et 5 | |
| Biscuits aux pépites de chocolat | 3 et 5 |
Gâteau Biscuit aux pépites de chocolat

Avant d'utiliser les grilles
Chaque grille est munie de butées qui doivent être placées correctement sur les supports. Ces butées sont empêcher la grille de sortir complètement.
Retrait des grilles
- Tirez la grille tout droit jusqu'à ce qu'elle bute.
- Soulevez l'avant de la grille, puis retirez-la.
Remplacement des grilles
- Placez l'extrémité de la grille sur le support.
- Inclinez l'extrémité avant vers le haut et poussez la grille à l'intérieur.





Attention
- Ne recouvre pas une grille de papier d'aluminium et ne placez pas de papier d'aluminium sur la sole du four. Cela entraverait la circulation de la chaleur, entraînant une mauvaise cuisson, et pourrait endommager la sole du four.
- Ne disposez les grilles du four que lorsque le four est froid.
Francais42
Utilisation de la grille coulissante
La grille coulissante entièrement extensible facilite la préparation des aliments, notamment lorsque vous préparez des plats plus lourds. La grille coulissante est dotée de deux glissières qui vous permettent de l'étendre largement hors du four sans toucher les parois du four.
Installation de la grille coulissante

- Avec la grille coulissante en position fermée et le four éteint, insérez soigneusement la grille coulissante entre les guides jusqu'à ce qu'elle atteigne l'arrière. Voir l'image en bas à gauche pour la position fermée.

- Saisissez toujours la grille coulissante par sa poignée au centre de la grille. Si vous tirez sur le cadre de la grille, celle-ci peut se détacher, ce qui risque d’entraîner des déversements et des blessures.

Remarque
Veillez à verrouiller la grille coulissante sur le support de grille. Sinon, la grille peut se détacher et provoquer des blessures.
Retrait de la grille coulissante

Lorsque la grille coulissante est en position fermée et que le four est éteint et froid, saisissez la grille et le cadre et tirez-les vers l'avant pour les prisonner.

Attention
- N'essayez pas de placer une grille coulissante un niveau au-dessus d'une grille métallique.
- Vous ne serez pas en mesure de l'instruire correctement et la grille pourrait tomber.
- Gardez au moins un niveau de grille ouvert entre une grille coulissante et une grille plate.
Remarque
Vous pouvez placer une grille coulissante à n'importe quel niveau, sauf au niveau le plus bas (niveau 1).
Francais44

Remarque
- Cette indication n'est donnée qu'à titre de référence.
- Il est recommandé de préchauffer le four pendant 5 minutes avant de le faire griller.
- La durée de cuisson dépend de la taille, du poids, de l'épaisseur, de la température de départ et de votre préférence quant à la cuisson des aliments.
- Ce guide est basé sur des viandes à la température du réfrigérateur.
| Aliment Cuisson Taille | Épaisseeur | Réglagedu grill | Positionde lagrille | Temps de cuisson | |||
| 1er côte 2 | é côte | ||||||
| Hamburgers | Moyen | 9galettes | 1 po Élevé 6 | 4'30 po à5'30 po | 3'30 po à4'30 po | ||
| Steak deboeuf | Moyen 1 | pièce 1 po | Élevé 5 | 8'00 po à10'00 po | 6'00 po à8'00 po | ||
| Côtelettesde porc | Bien cuit | 1 à2 pièces | 1/2 po à3/4 po | Faible | 4 | 12'00 po à14'00 po | 12'00 po à15'00 po |
| Côtelettesd'agneau | Moyen | 4 à6 pièces | 1 po Élevé 5 | 5'00 po à6'00 po | 4'00 po à5'00 po | ||
| Morceauxde poulet | Bien cuit 2 | à 3 lbs | 3/4 po à1 po | Faible | 4 | 18'00 po à20'00 po | 11'00 po à13'00 po |
| Filets desaumon | Bien cuit | 3 à4 pièces | 1/2 po à3/4 po | Élevé 5 | 6'00 po à7'00 po | 5'00 po à6'00 po | |

Attention
Assurez-vous de fermer la porte après avoir retourné les aliments.
Mode air fry (friture par application d'air)
Cette fonction utilise l'air chaud pour rendre les aliments décongelés ou frais plus croustillants et plus sains sans huile ou avec moins d'huile que les modes de convection normaux. Pour de meilleurs résultats, utilisez ce mode en mode four simple et placez le Air Fry (Friture par application d'air) plateau en position 4. La température peut être réglée entre 350°F et 500°F. Il n'est pas nécessaire de préchauffer le four pour ce mode. Cette fonction augmente automatiquement la température interne de 40°F pour une performance optimale. Suivez les instructions de la recette ou de l'emballage pour régler la température, la durée ou la quantité.

- Placez le plateau pour friture par application d'air sur la position 4 de la grille, et placez une plaque de cuisson ou un plateau sur la position 2 de la grille.
- Tournez le bouton de sélection du mode de Off (arrêt) à la position Air Fry (Friture par application d'air), puis tournez le bouton de sélection de la température pour régler la température de cuisson. Vous pouvez régler la température entre 350°F (175^) et 500°F (260^).
- Une fois la cuisson terminée, tournez les deux boutons sur la position Off (arrêt).

Francais46
Emplacement recommandé pour le plateau pour friture par application d'air
Remarque
- Placez une plaque de cuisson ou une plaque de grille sous la plaque de friture par application d'air pour recueillir les gouttes. Les éclaboussures et la fumée seront ainsi réduits.
- L'Air Fry est conçu pour être cuit sur une seule grille du four. Placez les aliments sur la position 4 de la grille pour obtenir les meilleurs résultats.
- Avant d'utiliser une plaque de cuisson, vérifiez la température maximale autorisée de la plaque.
- Placez la feuille de cuisson sous quelques feuilles de papier, comme du papier sulfurisé, pour absorber la graisse et réduire les éclaboussures et la fumée pendant l'Air Fry (Friture par application d'air). Pour la cuisson d'aliments frais ou faits maison, le fait d'étaler l'huile sur une plus grande surface de manière plus uniforme, rendra les aliments plus croustillants.
- Une couche humide ou épaisse ne sera pas croustillante ou ne cuira pas efficacement avec l'Air Fry.
Attention
- Les aliments riches en matières grasses tels que les ailes de poulet, le bacon, les saucisses et les cuisses de dinde fumeront lors de l'utilisation du modèle de friture par application d'air.
- Avant de commencer une friture par application d'air, allumez une hotte aspirante et régalez-la à un niveau de ventilation élevé. Ouvrez une fenêtre dans votre cuisine si possible et assurez-vous que la cuisine est suffisamment ventilée.
- Une fois que le four a refroidi, essuyez l'intérieur du four avant et après la cuisson par friture par application d'air.
- Nettoyez régulièrement les filtres à graisse de la hotte aspirante pour éviter que les aliments ne fument pendant la cuisson.
- Evitez d'ouvrir la porte du four, car il est difficile de maintenir la température du four, d'éviter les pertes de chaleur et d'économiser de l'énergie.
Remarque
- Le préchauffage n'est pas nécessaire.
- Placez la plaque de friture par application d'air à la position 4.
- Il est recommandé d'utiliser de l'huile d'avocat.
- Placez une plaque de cuisson ou une plaque de grille sous la plaque de friture par application d'air pour recueillir les gouttes. Les éclaboussures et la fumée seront ainsi réduits.
| Article Quantité Température Temps Astuces | ||||
| Pommes de terre | ||||
| Frites surgelées | 30 à 35 oz | 425 °F à 450 °F | 25 à 30 min | - |
| Frites surgelées, assaisonnées | 25 à 30 oz | 425 °F à 450 °F | 18 à 23 min | - |
| Tater Tots surgelés | 40 à 45 oz | 450 °F | 20 à 25 min | - |
| Pommes de terre rissolées surgelées | 25 à 30 oz | 450 °F | 20 à 25 min | - |
| Quartiers de pommes de terre surgelés | 30 à 35 oz | 425 °F à 450 °F | 20 à 25 min | - |
| Frites maison | 25 à 30 oz | 425 °F | 23 à 28 min | Pelez les pommes de terre et coupez-les en bâtonnets d'une épaissur de 1/3 pouces. Faites tremper dans l'eau froide pendant 30 min. Badigeonnez avec 3 cuillères à soupe d'huile. Salez et poivrez selon le goût. |
| Quartiers de pommes de terre maison | 25 à 30 oz | 450 °F | 25 à 30 min | Coupez-les en quartiers. Badigeonnez avec 3 cuillères à soupe d'huile. Salez et poivrez selon le goût. |
Francais48
| Article Quantité Température Temps Astuces | ||||
| Surgelé | ||||
| Croquettes de poulet surgelées | 24 à 28 oz | 400 °F à 425 °F | 18 à 23 min | - |
| Ailes de poulet surgelées | 30 à 35 oz | 425 °F | 25 à 30 min | - |
| Rondelles d'oignon congelezés | 20 à 25 oz | 425 °F | 18 à 22 min | - |
| Bâtonnets de poisson congelezés | 20 à 25 oz | 425 °F | 18 à 22 min | - |
| Lanières de poulet surgelées | 25 à 30 oz | 425 °F à 450 °F | 25 à 30 min | - |
| Churros surgelés | 20 à 25 oz | 425 °F | 18 à 22 min | - |
| Volaille | ||||
| Pilons de poulet frais | 35 à 45 oz | 425 °F à 450 °F | 27 à 32 min | Badigeonnez avec 3 cuillères à soupe d'huile. Salez et poivrez selon le goût. Les alimentents frits par application d'air riches en matières grasses peuvent creer de la fumée. |
| Ailes de poulet fraîches | 30 à 35 oz | 425 °F à 450 °F | 25 à 30 min | |
| Poitrines de poulet, panées | 30 à 35 oz | 400 °F à 425 °F | 30 à 35 min | Trempez les blancs de poulet dans le mélange de farine. Fouettez l'oeuf avec le lait. Trempez les poitrines enrobées de farine dans le mélange d'oeufs. Placez-les dans la chapelure et remuez jusqu'à ce que les articles soient enrobés de chapelure. Salez et poivrez selon le goût. Badigeonnez avec 3 cuillères à soupe d'huile. |
Utilisation du four
| Article Quantité Température Temps Astuces | ||||
| Légumes | ||||
| Asperges, panées | 15 à 20 oz | 425 °F | 20 à 25 min | Trempez les légumes découvertés dans le mélange de farine. Fouvette l'œuf avec le lait. Trempez les légumes enrobés de farine dans le mélange d'œufs. Placez-les dans la chapelure et remuez jusqu'à ce que les articles soient enrobés de chapelure. Salez et poivrez selon le goût. Badigeonnez avec 3 cuillères àSoupe d'huile. |
| Aubergines, panées | 20 à 25 oz | 425 °F | 20 à 25 min | |
| Champignons, panés | 18 à 22 oz | 425 °F | 18 à 22 min | |
| Oignons, panés | 18 à 22 oz | 425 °F | 20 à 25 min | |
| Choux-fleurs, panés | 30 à 35 oz | 400 °F à 425 °F | 20 à 25 min | |
| Mélange de légumes, panés | 30 à 35 oz | 400 °F à 425 °F | 20 à 25 min | |
Francais50
Mode de cuisson à la pierre
Cette fonction permet de cuire sur une pierre à pâtisserie ou à pizza pour la pizza et le pain. Un accessoire pour pierre est donc nécessaire. Préchauffez toujours avec une pierre pour obtenir les autres résultats. Le préchauffage prend environ 20 à 30 minutes. Quand le signal sonore retentit, placez la pizza ou le pain sur la position 2 ou 3 de la grille.

- Tournez le bouton de sélection du mode de cuisson de Off (arrêt) à la position Stone Bake (cuisson à la pierre), puis tournez le bouton de sélection de la température de Off (arrêt) pour régler la température. Vous pouvez régler la température entre 350 °F (175 °C) et 500 °F (260 °C).

- Laissez le four préchauffer. L'affichage de la température commence à changer lorsque la température de la fente d'aération atteint 150°F.

- Une fois le préchauffage terminé, seul le modèle à gaz a besoin de 15 minutes supplémentaires pour chauffer la pierre (* Si la pierre est déjà chauffée, passez ce processus).
- Placez les aliments sur la grille souhaitée. Fermez la porte du four.
- Lorsque la cuisson est terminée, tournez les deux boutons sur la position Off (arrêt).
Remarque
Circuit Intégré : Minuterie de chauffage de la pierre
Utilisation de la fonction spéciale

- Réglez le bouton de température sur la position Off (arrêt).
- Tournez le bouton de sélection du mode Off (arrêt) à la position SPECIAL FUNCTION (FONCTION SPECIALE).

- Trouvez le menu de cuisson souhaité à l'aide des touches < ou > et appuyez sur OK.
La fonction spéciale propose 3 options de cuisson spécialisées différentes.
| Mode Plage de température | |
| Proof (étuvage) 95 °F (35 °C) | |
| Air Sous Vide 100 °F (40 °C) à 205 °F (95 °C) | |
| Dehydrate (déshydration) 150 °F (65 °C) |
Une température définie en usine est appliquée pour obtenir les valeurs de performance. Vous ne pouvez pas ajuster cette température.
Remarque
Vous pouvez régler une unité de 1°F en appuyant sur la touche < ou > du mode Air sous vide.
(Appuyez longuement sur la touche < ou > pour diminuer ou augmenter rapidement à vitesse constante).
Francais52
| Mode Instruction | |
| Proof(étuvage) | Le mode Étuvage fournit une température optimale pour le processus de fermentation du pain (95 °F).Pour un résultat optimal, démarrez toujours l'options Étuvage dans un four froid.Le mode Étuvage ne fonctionne correctement que si la température du four est inférieure à 125 °F.La température de fermentation n'est pas assez élevé pour maintainir les alimentés au chaud.Placez la pâte dans un recipient résistant à la chaleur sur la position 2 ou 3 de la grille et couvrez-la d'un linge ou d'une pellicule plastique. Vous devrez peut-être ancreer le film plastique sous le recipient pour que le ventilateur du four ne souffle pas le film plastique sur la pâte.Pour éviter de faire baisser la température et de prolonger le temps de fermentation, n'ouvre pas la porte du four. |
| Air Sous Vide | Le mode Air Sous Vide utilise de l'air chaudiasse température pourmettre en œuvre le mode Sous Vide sans vapeur ni réservoir d'eau.Dans ce mode, le four maintient de basses températures constantes à l'intérieur de la chambre de cuisson, ce qui permet de cuire des alimentés qui peuvent conserver leur parfum et leurs nutriments d'origine tout en offrant une saveur enrichie et une texture douce.Vous pouvez régler une unité de 1 °F en appuyant sur la touche < ou > du mode Air sous vide.(Appuyez longuement sur la touche < ou > pour diminuer ou augmenterrapidément à vitesse constante). |
| Dehydrate(déshydrata-tion) | La déshydration permet de sécher les alimentés ou d'éliminer l'humidité des alimentés par circulation de chaleur.Après avoir séché les alimentés, conservez-les dans un endroit frais et sec.Pour les fruits, le fait d'ajouter du jus de citron ou d'ananas ou de saupoudrer du sucre sur les fruits permet à ces derniers de保守 leur goût sucré. |

Remarque
Le préchauffage n'est pas nécessaire pour les fonctions spéciales.
Tableau des positions des grilles pour les options de cuisson spéciales
| Mode Position de la grille | |
| Étuvage 2 ou 3 | |
| Air Sous Vide 4 | |
| Dehydrate (déhydration) 2 ou 3 | |
Pour certaines caractéristiques communes, reportez-vous à la page Utilisation du four.
Mode air sous vide
Le mode Air sous vide utilise de l'air chaud à basse température pour mettre en œuvre la méthode Sous Vide sans vapeur ni réservoir d'eau. Dans ce mode, le four maintient des températures basses constantes, ce qui permet de cuire des aliments qui peuvent conserver leur parfum et leurs nutriments d'origine tout en offrant une saveur enrichie et une texture douce.

- Placez les sacs d'aliments sous vide sur la grille en position 4, puis fermez la porte.
- Réglez le bouton de température sur la position Off (arrêt).
- Tournez le bouton de sélection du mode Off (arrêt) à la position SPECIAL FUNCTION (FONCTION SPECIALE).
- Recherchez le menu Air Sous Vide à l'aide des touches < ou > et appuyez sur OK.
- Réglez l'unité 1 °F en appuyant sur la touche < ou > et appuyez sur OK. (Appuyez longuement sur la touche < ou > pour diminuer ou augmenter rapidement à vitesse constante).

Remarque
- Pour le réglage du temps de cuisson, consultez la section Cuisson minutée à la page 34.
Français54

Remarque
Il n'est pas nécessaire de préchauffer le four lorsque vous utilisez le mode Air Sous-Vide. - Placez les sacs d'aliments fermés sous vide sur la grille 4 du four. - Utilisez-le pour cuire de la viande, du poisson, des fruits de mer, de la volaille ou des légumes. Utilisez uniquement des ingrédients frais et de qualité. Coupez-les dans des conditions de propreté et conservez-les au réfrigérateur. - Utilisez des sacs sous vide résistants à la chaleur pour déplacer et conserver les ingrédients. - Ne réutilisez jamais les sacs sous vide résistants à la chaleur. - Le temps de cuisson dépend de l'épaisseur des aliments. L'ajout de sel ou de sucre peut réduire le temps de cuisson. - Utilisez le guide de commandation Air Sous-Vide pour couver le temps et la température de cuisson recommandés pour l'aliment. - N'utilisez que des températures inférieures à 60°C (140°F) pour cuire des aliments qui peuvent être consommés crus de manière sécuritaire.
Astuces
Pour conserver le goût original, nous vous recommandons d'utiliser moins d'herbes et d'épices que dans les recettes ordinaires. - Les viandes et les poissons offrent de importantes saveurs lorsqu'ils sont saisis et servis. - Les plats sous vide sont servis immédiatement après la cuisson. - S'ils ne sont pas servis immédiatement après la cuisson, mettez les aliments dans de l'eau glacée et laissez-les refroidir complètement. Ensuite, conservez-les à une température inférieure à 5°C (40°F) pour conserver le parfum et la texture des aliments. - Le poulet, en particulier, est recommandé pour être consommé immédiatement après la cuisson.
Guide de recommandations pour la cuisson à l'air sous vide
| Aliment Cuisson | Température (°F) Durée (heures) | ||
| Bœuf | |||
| Steak, 1,5 po d'épaissur | Saignant 130 | °F 2,5 à 4 | |
| Moyen 140 | °F 2,5 à 4 | ||
| Bien cuit 155 | °F 3 à 5 | ||
| Rôti | Moyen 150 | °F 6 à 12 | |
| Bien cuit 155 | °F 6 à 12 | ||
| Porc | |||
| Côtelette, désossée | Tendre 150 | °F 3 à 5 | |
| Ferme 160 | °F 3 à 5 | ||
| Rôti | Moyen 150 | °F 4 à 6 | |
| Bien cuit 160 | °F 5 à 7 | ||
| Porc effiloché Bien | cuit 160 | °F 15 à 48 | |
| Volaille | |||
| Poitrine de poulet | Tendre 145 | °F 3 à 4 | |
| Ferme 160 | °F 3,5 à 4,5 | ||
| Magret de canard | Tendre 145 | °F 3 à 4 | |
| Poisson | |||
| Steak de saumon | Tendre 130 | °F 2 à 4 | |
| Bien cuit 145 | °F 2 à 4 | ||
| Filet de morue | Tendre 130 | °F 2 à 4 | |
| Légumes | |||
| Asperges | - | 180 °F 0,5 à 2 | |
| Pommes de terre, en tranches | - | 190 °F 2 à 4 | |
| Patate douce, en tranches | - | 190 °F 2 à 4 | |
| Carotte, en tranches | - | 190 °F 2 à 4 | |
| Courge, en cubes | - | 180 °F 2 à 3 | |
| Fruit | |||
| Pomme, en tranches - | 180 | °F 2 à 3 | |
| Tranches d'ananas - | 180 | °F 1 à 2 | |
| Poire, en tranches - | 180 | °F 2 à 3 | |
Francais56
Sonde de température
Pour de nombreuses viandes, notamment les rôts et la volaille, la mesure de la température interne est le meilleur moyen de déterminer si l'aliment est correctement cuit. La sonde de température vous permet de cuire la viande à la température interne exacte que vous souhaitez. Cette fonction peut être utilisée avec les fonctions Cuisson traditionnelle, Cuisson par convection (Pure), Rôtissage par convection (Pure). Une fois que la température interne de l'aliment atteint 100°F, la température interne croissante s'affiche à l'écran.
Comment utiliser la sonde de température
- Enfoncez la sonde dans la viande, de façon à ce que l'extrémité soit au centre de la viande.


- Insérez la sonde complètement dans la viande comme indiqué sur les illustrations. Si vous n'insérez pas complètement la sonde dans la viande, la fonction de sonde de température ne fonctionnera pas correctement, car la sonde détectera la température du four et non celle de la viande. Pour les viandes avec os, insérez la sonde au centre de la partie la plus BASSE et la plus épaisse de la pièce. Pour les volailles entières (dinde, gros poulets, etc.), insérez la sonde dans la partie la plus épaisse de la cuisse intérieure, parallèlement à la jambe.
- Si vous activez la fonction de maintien en au chaud pour conserver la viande au chaud après l'avoir cuite à l'aide de la fonction de sonde de température, la viande risque d’être trop cuite.
Utilisation du four
- Branchez complètement la sonde de température dans la prise située sur la paroi supérieure du four.
- Sélectionnez le mode de cuisson souhaité (Bake (Cuisson traditionnelle), Cuisson par convection (Pure), Rôtissage par convection (Pure)). Sélectionnez le mode de cuisson souhaité. Réglez la température de cuisson. (Consultez la page 38.)
- Appuyez sur Sonde de température, puis définissez la température interne souhaitée.
Températures dispensables 100 °F à 200 °F
- Appuyez sur START (Démarrer). Une fois que la température interne souhaitée est atteinte, la fonction s'arrête automatiquement et une alarme retentit.
Attention
Ne laissez pas l'extrémité de la sonde dépasser de la viande. Assurez-vous que la pointe se trouve dans la partie la plus épaisse de la viande ou à proximité.
Pour éviter de casser la pointe de la sonde, décongelez complètement vos aliments. - Pour éviter d'endommager la sonde, ne la laissez pas dans le four pour une raison autre que son utilisation prévue. Les pinces peuvent endommager la sonde. - Utilisez la sonde de température uniquement pour la cuisson avec la fonction Sonde de température.
Remarque
- Si vous retirez la sonde de température pendant que la fonction Sonde de température fonctionne ou si vous insérez la sonde de température pendant une cuisson normale, la cuisson s'arrête au bout d'une minute.
- Si vous utilisez la sonde pour cuire des aliments congelés, elle ne peut pas être détectée à certains moments. (L'icône de la sonde n'apparaît pas à l'écran.)
Francais58
Tableau des températures
| Type d'aliment Température interne (°F) | ||
| Bœuf / Agneau | Saignant 140 à 150 | |
| Moyen 160 à 170 | ||
| Bien cuit 175 à 185 | ||
| Porc 175 à 185 | ||
| Volaille 185 à 195 | ||

Remarque
Si vous recouvrez la vande d'une feuille d'aluminium et la laissez reposer pendant 10 minutes après la cuisson, la température interne augmentera de 5 à 10 degrés.
Retrait de la sonde de température
Débranchez la sonde de température, puis retirez-la de la viande. Rangez la sonde de la viande dans un endroit séparé, ne la laissez pas attachée à la prise.

Attention
Après la cuisson, la sonde de température est assez chaude pour provoquer des brûlures. Laissez-la refroidir suffisamment avant d'essayer de la retirer.
Autonettoyage
Ce four autonettoyant utilise des températures élevées (bien supérieures aux températures de cuisson) pour brûler complètement les restes de graisse et les résidus ou pour les réduire en une cendre finement pulvérisée que vous pouvez essuyer avec un chiffon humide.
Attention
- Ne laissez pas de jeunes enfants sans surveillance près du four pendant le cycle d'autonettoyage. Les surfaces extérieures du four peuvent devenir extrêmement chaudes.
- Certains oiseaux sont extrêmement sensibles aux émanations d'un four autonettoyant. Déplacez les oiseaux vers une pièce bien ventilée, loin du four.
- Ne recouvre pas le four, les grilles du four ou le fond du four de papier d'aluminium. Cela entraînerait une mauvaise répartition de la chaleur, des résultats de cuisson médiocres et des dommages permanents à l'intérieur du four. Le papier d'aluminium fondra sur les surfaces intérieures du four et y adhérera.
- Ne forcez pas la porte du four pendant le cycle d'autonettoyage. Cela endommagerait le système de verrouillage automatique de la porte. La porte se verrouille automatiquement lorsque le cycle d'autonettoyage est lancé et reste verrouillée jusqu'à ce que le cycle soit terminé ou annulé et que la température du four soit inférieure à 400 °F.
- Soyez prudent lorsque vous ouvrez la porte du four après le cycle d'autonettoyage. Le four électrique sera encore TRÉS CHAUD et de l'air chaud et de la vapeur poursuivraient s'échapper lorsque la porte est ouverte.
- Essuyez tout débordement avant d'utiliser l'opération d'autonettoyage.
- N'utilisez pas de nettoyants pour four. Les nettoyants commerciaux pour four ou les revêtements de four ne doivent JAMAIS être utilisés à l'intérieur ou autour d'une partie du four. Les résidus de nettoyants pour four endommageront l'intérieur du four pendant l'opération d'autonettoyage.
- Les deux boutons doivent être initialement en position Off (arrêt) avant de placer le sélecteur de mode en position Self Clean (Autonettoyage).
Francais69
Fig. 1
Fig. 2
- Maintenez la cuisine bien ventilée pendant un cycle d'autonettoyage.
- Retirez les grilles, les supports de grilles et tous les objets étrangers/libres du four.
- Essuyez les débris sur le fond du four. (Fig. 1)
- Nettoyez la porte du four et le cadre avant autour du joint d’étanchéité avec de l’eau chaude et des tampons de laine d’acier repliés de savon ou des nettoyants non abrasifs. Rincez à l’eau claire et essuyez. Le joint de la porte du four est fragile et ne peut pas être nettoyé à la main. Ne le nettoyez pas. Si le joint est usé ou effiloché, faites-le remplacer. Assurez-vous que le couvercle de l’éclairage du four est en place et que l’éclairage du four est.

Remarque
Pour plus de détails sur le retrait des grilles, reportez-vous aux pages 42 et 44. Pour plus de détails sur le retrait des supports de grille, reportez-vous à la page 42.
Procédure d'exécution d'un cycle d'autonettoyage

- Assurez-vous que la porte du four est déverrouillée et complètement fermée.
- Tournez les boutons de sélection du mode et de la température sur la position Off (arrêt).
- Tournez le bouton de sélection du mode Off (arrêt) à la position Self Clean (Autonettoyage).

- Réglez la durée de l'autonettoyage. 3 h est la valeur par défaut. Appuyez sur <,> pour sélectionner une autre durée définie. Appuyez sur OK pour lancer l'autonettoyage.
- La porte du four est verrouillée et le four commence à chauffer. Lorsque le cycle est terminé, une alerte sonore retentit. La porte reste verrouillée jusqu'à ce que la température du four passe en dessous de 205°C (400^).
- Une fois le cycle d'autonettoyage terminé, tournez le bouton de sélection du mode sur la position Off (arrêt).
Remarque
- Vous ne pourrez pas démarrer un cycle d'autonettoyage si la fonction de verrouillage des commandes est activée ou si la température du four est trop élevée.
- Les portes du four se verrouillent automatiquement. L'affichage indique le temps de nettoyage restant. Vous ne pouvez pas ouvrir les portes du four tant que la température n'est pas redescendue à une température de sécurité/de refroidissement.
- Vous ne devez pas faire fonctionner les brûleurs de la table de cuisson pendant le mode d'autonettoyage.
Francais62
Annulation du cycle d'autonettoyage
Vous pouvez juger nécessaire d'arrêter ou d'interrrompre un cycle d'autonettoyage en raison de la présence de fumée dans le four. Pour arrêter le cycle d'autonettoyage, tournez les boutons de sélection du mode sur la position Off (arrêt). Le cycle s'arrête, mais la porte reste verrouillée jusqu'à ce que la température du four passe en dessous de 205°C (400^).
Après un cycle d'autonettoyage
- La porte reste verrouillée jusqu'à ce que la température interne du four soit en dessous de 400°F.
- Après le refroidissement du four, essuyez les surfaces du four avec un chiffon pour éliminer les résidus de cendres.
- Les taches tenaces peuvent être éliminées à l'aide d'un tampon en laine d'acier. Les dépôts de calcaire peuvent être éliminés à l'aide d'un chiffon imbibé de vinaigre.
- Si vous n'êtes pas satisfait des résultats du nettoyage, répétez le cycle d'autonettoyage.
- Le four ne vous permet pas de répéter immédiatement un cycle d'autonettoyage. Vous devez patienter 2 heures avant de relancer l'autonettoyage.
- De fines lignes générées à l'intérieur de la cavité peuvent apparaître lors du refroidissement et du chauffage répétés du produit après une utilisation prolongée. Ce phénomène est normal, n'affecte pas les performances du produit et ne présente pas de danger pour le corps humain.
Attention
N'essayez pas d'ouvrir la porte du four immédiatement après la fin du cycle d'autonettoyage. Le four est encore très chaud lorsque la porte se déverrouille. L'air chaud ou la vapeur qui s'échappe pourrait vous brûler.
Utilisation de la fonction sabbath
(Pour une utilisation pendant le Sabbath (sabbat) et les fêtes juives)

Pour obtenir de l'aide supplémentaire, des directives d'utilisation et une liste complète des modèles dotés de la fonction Sabbat (sabbat), visitez le site : http://www.star-k.org.
Vous pouvez utiliser la fonction Sabbat (sabbat) pour la cuisson uniquement. La température du four peut être augmentée ou diminuée après le réglage de la fonction Sabbat. (La fonction de réglage de la température du four ne doit être utilisée que pendant les fêtes juives.) Toutefois, l'affichage ne change pas et aucune tonalité ne retentit lorsqu'un changement se produit. Une fois le four correctement réglé pour la cuisson avec la fonction Sabbat activée, le four reste allumé en continu jusqu'à ce que la fonction Sabbat soit annulée. Cette fonction annule la fonction d'économie d'énergie de 12 heures préréglée en usine. Si l'éclairage du four est nécessaire pendant le sabbat, appuyez sur la touche d'éclairage du four avant d'activer la fonction sabbat. Une fois l'éclairage du four allumé et la fonction Sabbat activée, l'éclairage intérieur du four reste allumé jusqu'à ce que la fonction Sabbat soit désactivée. Si l'éclairage du four doit être éteint, veillez à le éteindre avant d'activer la fonction Sabbat.
Comment utiliser la fonction sabbath

- Tournez le bouton de sélection du mode Off (arrêt) à Bake (cuisson traditionnelle).

- Faites tourner le bouton de sélection de la température à partir de la position Off (arrêt) pour régler la température. Vous pouvez régler le four sur n'importe quelle température comprise entre Lo et 550°F.
Francais64

- Appuyez sur la touche Réglages puis sur <,> pour sélectionner le mode Sabbath (sabbat).

- Appuyez sur OK puis sur <,> pour sélectionner On / Off (activé / désactivé).
- Appuyez sur OK pour activer le mode Sabbath (sabbat).
Attention
N'essayez pas d'activer une autre fonction du programme, à l'exception de la Bake (cuisson traditionnelle), lorsque la fonction Sabbath est activée.
N'ouvrez pas la porte du four et ne modifiez pas la température du four pendant environ 30 minutes après avoir lancé le mode Sabbath pour permettre au four d'atteindre la température régée. Sachez que pour une performance optimale, le ventilateur du four ne fonctionne que lorsque la température du four augmente.
Remarque
- Après avoir modifié la température lorsque l'appareil est en mode Sabbath (sabbat), un délai de 15 secondes s'écoule avant que l'appareil ne reconnaisse la modification.
- Vous pouvez régler la fonction Cook Time (Temps de cuisson) avant d'activer la fonction Sabbath.
- En cas de panne de courant, le four s’éteint de lui-même. Lorsque le courant est rétabli, le four ne se remet pas en marche. Sabbath s’affiche sur le panneau de commande, mais le four n’est pas allumé. Les alimentés peuvent être retirés du four en toute sécurité pendant le mode Sabbath (sabbat), mais le four est inopérant jusqu’à la fin des vacances du Sabbath (sabbat). Vous pouvez alors appuyer sur la touche OK et la maintenir enfoncée pendant 3 secondes pour désactiver le mode Sabbath (sabbat).
Utilisation de la fonction smart connect (commande intelligente)
Pour utiliser la fonction de commande intelligente du four, vous devez télécharger l'application SmartThings sur un appareil mobile. Les fonctions qui peuvent être contrôlées à l'aide de l'application SmartThings peuvent ne pas fonctionner correctement si les conditions de communication sont mauvaises ou si le four est installé dans un endroit où le signal Wi-Fi est faible.
Un amplificateur Wi-Fi peut s'avérer nécessaire. L'amplificateur Wi-Fi n'est pas fourni par Dacor.
Reportez-vous au tableau suivant pour connaître les principales fonctions qui peuvent être actionnées à partir de l'appli.
| Lorsque le Smart Control est activé, le four est étéint. | Surveillance (four, sonde), four étéint. |
| Lorsque la fonction Smart Control du four est activée. | Surveillance (four, sonde), four étéint, vérification des erreurs. |
Comment connecter le four
- Téléchargez et ouvrez l'application SmartThings sur votre appareil intelligent.
- Suivez les instructions à l'écran de l'application pour connecter votre four.
- Appuyez sur le bouton Smart Control (Commande intelligente) pendant 3 secondes pour connecter votre four. (Le mot « AP » s'affiche à l'écran).
- Une fois le processus terminé, le four affiche « Connexion terminée ». La cuisinière est connectée avec succès.
- Si le four affiche « Can't Connect Try Again » (impossible de se connecter, essayez à nouveau), suivez les instructions de l'application pour vous reconnecter.
Francais66
Pour démarrer le four à distance

Appuyez sur le bouton Smart Control pendant 3 secondes.
Lorsque smart control est activé, vous pouvez :
- Modifier à distance les paramètres du four (mode, heures, température) à l'aide de votre appareil mobile. Allumer/éteindre le four à distance.

Remarque
Important : Le mode Autonettoyage ne peut pas être démarré à distance.
L'ouverture de la porte du four désactive la fonction Smart Control et vous empêche d'allumer le four ou de le contrôler à distance. - Si la fonction Smart Control est désactivée, vous pouvez toujours surveiller l'état du four et l'éteindre. - Une fois la cuisson du four terminée ou annulée, la fonction Smart Control est désactivée. - La cuisson continue de fonctionner même si la connexion Wi-Fi est perdue. L'application SmartThings ne fonctionnera pas correctement si la connexion Wi-Fi est instable. - Consultez le manuel de l'application SmartThings pour en savoir plus. - Pour plus d'instructions, consultez le manuel Web de l'application SmartThings à l'adresse www.dacor.com
Sécurité enfants
Cette fonction rend le pavé tactile inopérant et verrouille la porte du four. Vous ne pouvez activer la sécurité enfants que lorsque le four est en mode veille.
Comment activer la fonction de sécurité enfants

- Annulez ou désactivez toutes les fonctions.
- Appuyez sur Settings (Réglages) pendant 3 secondes.
- Le four affiche « Child Lock On » (Sécurité enfants activée) et l'icône de verrouillage ainsi que l'heure actuelle.
Remarque
- La sécurité enfants est uniquement disponible lorsque la température du four est inférieure à 400°F. Toutes les autres fonctions doivent être annulées avant d'activer la sécurité enfants.
Comment déverrouiller les commandes

- Appuyez sur Settings (Réglages) pendant 3 secondes. La mention « Child Lock Off » (Sécurité enfants désactivée) et l'icône de verrouillage disparaissent de l'écran.
Remarque
Le déverrouillage de la porte peut prendre jusqu'à 10 secondes.
Francais68
Réglages
Dans Réglages, vous pouvez modifier les réglages par défaut selon vos préférences ou diagnostiquer les problèmes de connexion réseau.

- Appuyez sur le bouton Réglages.
Wi-Fi
Pour activer une connexion Wi-Fi
- Appuyez sur le bouton Réglages.
- Appuyez sur <,> pour Sélectionner Wi-Fi.
- Appuyez sur OK puis sur <,> pour sélectionner On (Activé) ou Off (Désactivé) puis appuyez sur OK.

Remarque
Pour plus de détails sur la connexion Wi-Fi et l'utilisation de l'appli SmartThings, consultez le manuel d'utilisation de SmartThings.
Délai d'attente de l'écran
Regler le delai d'attente de l'écran.
- Appuyez sur le bouton Réglages.
- Appuyez sur <,> pour sélectionner Screen Timeout (Délai d'attente de l'écran)
- Appuyez sur OK puis sur <,> pour modifier le temps. (La valeur par défaut est de 20 min.)
- Appuyez sur OK.
Unité de température
Vous pouvez programmer la commande du four pour qu'elle affiche la température en Fahrenheit (par défaut) ou en Celsius.
- Appuyez sur le bouton Réglages.
- Appuyez sur <,> pour Sélectionner Température. Unité.
- Appuyez sur OK puis sur <,> pour sélectionner l'unité de température.
- Appuyez sur OK.
Réglage de la température
La température du four a été étalonnée en usine. Lors de la première utilisation du four, veillez à respecter les durées et les températures des recettes.
Si vous pensez que le four est trop chaud ou trop froid, vous pouvez corriger la température du four. Avant de corriger, testez une recette en utilisant un réglage de température supérieur ou inférieur à la température recommandée.
Les résultats de la cuisson devraient vous aider à déterminer le réglage approprié. La température du four peut être réglée à ±19 °C (±35 °F).
- Appuyez sur le bouton Réglages.
- Appuyez sur <, > pour sélectionner Température. Régler.
- Appuyez sur OK puis sur <,> pour sélectionner le réglage que vous souhaitez effectuer.
- Appuyez sur OK.
Remarque
Ce réglage n'affecte en rien les températures de cuisson au grill ou d'autonettoyage. Le réglage sera conservé en mémoire après une coupure de courant.
Francais70
Son
Grâce au réglage du son, vous pouvez régler les commandes du four pour qu'elles fonctionnent silencieusement.
- Appuyez sur le bouton Réglages.
- Appuyez sur <, > pour sélectionner Son.
- Appuyez sur OK puis sur <, > pour sélectionner Son activé / Alertes uniquement activées / Son désactivé.
- Appuyez sur OK.
Économie d'énergie de 12 heures
Si vous laissez le four allumé, cette fonction éteint automatiquement le four après 12 heures pendant les fonctions de cuisson ou après 3 heures pendant une fonction de grill.
- Appuyez sur le bouton Réglages.
- Appuyez sur <,> pour sélectionner Economie d'énergie de 12 heures.
- Appuyez sur OK puis sur <,> pour Sélectionner On (Activé) ou Off (Désactivé).
- Appuyez sur OK.
Mode demo
Cette option est destinée aux établissements de vente au détail à des fins d'affichage uniquement. (Lorsque le mode démo est activé, les éléments chauffants sont désactivés et ne fonctionnent pas.)
- Appuyez sur le bouton Réglages.
- Appuyez sur <,> pour sélectionner le mode démo.
- Appuyez sur OK puis sur <,> pour sélectionner On (Activé) ou Off (Désactivé).
- Appuyez sur OK.
Remarque
Ce produit comporte un dispositif Bluetooth que vous pouvez utiliser pour connecter la cuisinière aux modèles de contrôle de la hotte Dacor. Grâce à la connexion Bluetooth, vous pouvez utiliser la fonction de contrôle de la hotte sur l'application SmartThings.
Pour vous connecter à un modèle de contrôle de hotte et à une hotte :
- Téléchargez et exécutez l'application SmartThings sur votre téléphone intelligent. Ensuite, effectuez la procédure de commande intelligente pour vous connecter à la cuisineira. Consultez la page 66.
- Suivez les instructions Bluetooth du modèle de contrôle de la hotte et activez la connexion Bluetooth.
- Appuyez sur l'icône Bluetooth sur le panneau de commande de la hotte. Le voyant de l'icône Bluetooth clignote.

- Appuyez sur le bouton Réglages sur l'écran d'affichage de la cuisine. Appuyez sur <,> pour sélectionner Connexion à la hotte. Appuyez sur OK pour vous connecter à la hotte.
- Lorsque le jumelage Bluetooth est terminé, le voyant de l'icône Bluetooth cesse de clignoter et reste allumé. Appuyez sur le bouton Réglages pour quitter.
- Suivez les instructions du manuel d'utilisation du modèle de commande de la hotte et du guide de l'App pour utiliser la commande de la hotte.
Français72
Activation/désactivation du bluetooth
Appuyez sur l'icône Bluetooth sur le panneau de commande de la hotte.

Remarque
- Le voyant de l'icône Bluetooth sur la hotte s'allume lorsque le Bluetooth est activé. Le voyant de l'icône Bluetooth sur la hotte est éteint lorsque le Bluetooth n'est pas activé.
- Si la connexion Smart Control ne réussit pas, vous ne pouvez pas utiliser l'appli SmartThings pour surveiller et contrôler la hotte.
- Sans connexion Smart Control à la cuisinière, vous pouvez utiliser une connexion Bluetooth pour jumeler la cuisinière avec la hotte et les synchroniser. Pour ce faire, suivez les étapes de la connexion Bluetooth à la page 72.
- Le Bluetooth ne fonctionnera pas correctement si la connexion Bluetooth est instable.
- Consultez le manuel de l'application SmartThings pour en savoir plus.
Avertissement
Assurez-vous que l'alimentation électrique est débranchée et que toutes les surfaces sont refroidies avant de nettoyer toute partie de la table de cuisson. Le port de gants est obligatoire lors du nettoyage. Certains brûleurs et pièces de la table de cuisson ont des bords tranchants. Soyez prudent lors du nettoyage.
Nettoyage de la surface de la table de cuisson
Vous devez nettoyer les déversements dès que possible.

- Eteignez tous les brûleurs.
- Lorsque les grilles ont suffisamment refroidi, retirez-les.
- Nettoyez la surface de la table de cuisson avec un chiffon doux. Si les déversements s'écoulent dans les interstices des composants du brûleur, retirez les interstices et la tête du brûleur, puis essuyez les déversements.
- Une fois le nettoyage terminé, réassemblez les brûleurs et repositionnez les grilles.
Attention
Ne lavez pas les grilles des brûleurs dans le lave-vaiselle.
Francais74
Surfaces en acier inoxydable
- Retirez les déversements, les taches et les taches de graissé à l'aide d'un chiffon doux et humide.
- Appliquez un nettoyant pour acier inoxydable approuvé sur un chiffon ou une serviette en papier.
- Nettoyez une petite zone à la fois, en frottant dans le sens du grain de l'acier inoxydable, le cas échéant.
- Séchez la surface à l'aide d'un chiffon doux et sec.
- Répétez les étapes 2 à 4 au besoin.
Attention
- N'utilisez pas d'articles (p. ex. tampon de laine d'acier, grattoir tranchant, nettoyant abrasif, soude caustique/hydroxyde de sodium), qui peuvent affecter l'apparence de l'acier et endommager les composants.
- Ne retirez pas le plateau de déversement pour le nettoyer. Les conduites de gaz menant aux collecteurs des brûleurs peuvent être endommagées, ce qui peut provoquer un incendie ou un dysfonctionnement.
- Ne versez pas d'eau dans la table de cuisson. L'eau pourrait s'égouter dans les systèmes de gaz et d'électricité, créant un risque d'électrisation ou des niveaux élevés de monoxyde de carbone (CO) à cause de la corrosion des vannes/ports de gaz.
- Ne vaporisez aucun type de nettoyant dans les orifices du collecteur. Le système d'allumage qui s'y trouve doit rester sec.
Boutons de commande
Éteignez tous les boutons des brûleurs.

01 Saisissez chaque bouton et tirez pour le retirer. 02 Tige de la vanne. Ne le retirez pas.
- Retirez les boutons de leurs tiges de vanne.
- Nettoyez les boutons à l'eau chaude savonneuse, puis rincez-les et séchez-les soigneusement.
- Nettoyez les surfaces en acier inoxydable à l'aide d'un nettoyant pour acier inoxydable.
- Remettez les boutons en position Off (arrêt) sur les tiges des vannes de contrôle.
Attention
- Ne nettoyez pas les boutons de commande dans un lave-vaiselle.
- Ne vaporisez pas de nettoyants directement sur le panneau de commande. L'humidité pénétrant dans les circuits électriques peut provoquer un choc électrique ou endommager le produit.
Francais76
Grilles et composants des brûleurs
Eteignez tous les brûleurs de surface et assurez-vous qu'ils ont tous refroidi.


- Retirez les grilles du brûleur.
- Retirez les chapeaux de brûleur des têtes de brûleur.
- Retirez les têtes de brûleur des collecteurs de vannes pour révéler les électrodes de démarrage.
- Nettoyez les grilles et les composants du brûleur dans de l'eau chaude savonneuse. N'utilisez pas de tampons en laine d'acier ou de nettoyants abrasifs.
- Rincez et séchez soigneusement les grilles et les composants du brûleur. Assurez-vous que les orifices du brûleur sont dépourvus d'eau.
- Réassemblez les têtes de brûleur en prenant soin d'insérer une electrode de démarrage dans le trou de chaque tête.
Remarque
Consultez la page 81 pour plus de détails sur le remontage des composants du brûleur.
- Réassemblez les autres composants du brûleur en veillant à ce que les chapeaux soient à plat sur le dessus des têtes.
- Réinstallez les grilles de brûleur dans leurs positions respectives.
- Allumez chaque brûleur pour vérifier qu'il fonctionne correctement, puis éteignez le brûleur.

Attention
Les électrodes de démarrage ne sont pas amovibles. N'essayez pas de les retirer par la force. - Assurez-vous que tous les composants du brûleur (têtes et chapeaux) sont correctement réinstallés. Lorsqu'ils sont correctement installés, ils sont stables et reposent à plat. Pour éviter les ébréchures, ne cognez pas les grilles et les chapeaux les uns contre les autres ou contre des surfaces dures telles que des ustensiles de cuisson en fonte. L'anneau du brûleur peut être obstrué par de la nourriture ou de la poussière. Nettoyez l'anneau s'il semble obstrué. Si vous nettoyez l'anneau avec de l'eau, ne le remontez que lorsqu'il est complètement sec. Si l'anneau est humide, il pourrait empêcher les brûleurs de s'allumer.
Remarque
Avant de retirer les chapeaux et les têtes des brûleurs, rappelez-vous leur taille et leur emplacement. Remettez-les au même endroit après le nettoyage.
Lavez les chapeaux et les têtes de brûleur dans de l'eau chaude savonneuse et rincez-les à l'eau courante propre. Vous pouvez frotter avec une éponge ou un tampon en plastique pour enlever les particules d'aliments brûlés.
Utilisez une aiguille à coudre ou un trombone pour déboucher les petits trous de la tête du brûleur, si nécessaire.
Attention
- Ne lavez aucune pièce du brûleur dans un lave-vaiselle.
- N'utilisez pas de laine d'acier ni de poudres à recycler pour nettoyer les brûleurs.

Tête de brûleur en laiton Chapeaux de brûleur en laiton
Remarque
- Les parties en laiton de votre brûleur changeront de couleur. Toutefois, les performances ne seront pas altérées.
- Après le nettoyage, vérifiez que tous les orifices du brûleur ne sont pas obstrués.
- Vous pouvez remplacer les chapeaux de brûleur d'origine par des chapeaux en porcelaine si vous le souhaitez.
- Pour éliminer la graisse brûlée, faites tremper le chapeau du brûleur en laiton dans une solution composée de 1 tasse d'eau et 1 cuillère à soupe de vinaigre blanc ou 1 cuillère à soupe de jus de citron. N'utilisez pas de brosse métallique pour le nettoyer. Cela peut endommager les pièces en laiton.

Attention
Les bases des brûleurs ne sont pas amovibles ; n'essayez pas de les démonter.
Assurez-vous que l'eau ne pénètre pas dans les bases des brûleurs et les orifices de gaz en laiton.
Essuyez-les avec un chiffon humide en veillant à ne pas abimer ou déformer les bases.
Assurez-vous que les bases sont complètement sèches avant d'utiliser la table de cuisson.
Francais78
Averagement
N'ouvre pas la vanne en touchant l'électrode. Un choc électrique pourrait se produire.
Attention
N'essayez pas de retirer l'électrode de la table de cuisson ou des bases des brûleurs.

01 Partie métallique : Nettoyez cette partie métallique 02 Partie en céramique blanche : Ne nettoyez pas cette pièce en céramique blanche avec une lime à ongles
Vous ne devez jamais cuisiner pendant que vous nettoyez la table de cuisson. Assurez-vous que les électrodes en céramique blanche sont propres et sèches. Nettoyez la partie métallique avec un chiffon doux. Ne nettoyez pas les allumeurs avec de l'eau.
Avant de réassembler les brûleurs de surface, appuyez doucement sur chacune des électrodes en céramique blanche pour vous assurer qu'elles sont bien appuyées contre les bases des brûleurs.
Double tête/chapeaux de brûleur

- Orientez la tête du brûleur de sorte que l'ouverture de l'électrode soit alignée avec l'électrode elle-même.

- Installez la tête du brûleur de manière à ce que l'électrode traverse l'ouverture prévue à cet effet dans la tête. Vérifiez que la tête du brûleur repose à plat sur la table de cuisson.
- Faites correspondre les chapeaux des brûleurs aux brûleurs par taille, puis réinstallez les capuchons sur les têtes des brûleurs.
Attention
Chaque chapeau s'adapte sur une tête de brûleur spécifique. Vérifiez que chaque chapeau est installé et repose à plat sur la bonne tête.
Têtes/chaétaux de brûleur ronds

- Mettez les têtes de brûleur sur les bases des brûleurs. La partie inférieure de la tête s'insère dans le haut de la base du brûleur.
- Tournez la tête jusqu'à ce qu'elle tombe en place, puis secouez-la pour vous assurer qu'elle tient bien en place.
- Placez les chapeaux de brûleur sur les anneaux de brûleur. L'arête de la partie inférieure de chaque chapeau s'adapte au sommet de l'anneau.
Attention
Vérifiez que toutes les pièces du brûleur sont bien en place.
Francais80


Remarque
Après avoir installé les brûleurs, vérifie qu'ils fonctionnent correctement. Des composants mal installés entraîneront un mauvais allumage ou des flammes inégales, comme le montre l'illustration de gauche. Si le brûleur produit une flamme inégale et une flamme jaune excessive, éteignez immédiatement le brûleur et laissez-le refroidir. Réajustez les chapeaux du brûleur et essayez à nouveau d'allumer le brûleur. Une bonne flamme montre une flamme entière bleue et uniforme autour du brûleur.
Avertissement
Assurez-vous que l'appareil est hors tension et que toutes les surfaces sont refroidies avant de nettoyer une partie quelconque de l'appareil.
Nettoyage des pièces peintes et des garnitures décoratives
- Pour un nettoyage général, utilisez un chiffon avec de l'eau chaude savonneuse.
- Pour les résidus plus tenaces et les graisses accumulées, appliquez un détergent liquide directement sur la zone concernée et laissez agir pendant 30 à 60 minutes. Essuyez avec un chiffon humide et séchez. N'utilisez pas de matériaux ou de substances abrasives sur les surfaces du four. Elles risquent d'être rayées.
Nettoyage des surfaces en acier inoxydable
- Agitez vigoureusement une bouteille de nettoyant ou de produit de polissage pour appareils en acier inoxydable.
- Déposez une petite quantité de produit de nettoyage ou de polissage pour appareils en acier inoxydable sur un chiffon humide ou une serviette en papier humide.
- Nettoyez une petite surface, en frottant le long du grain de l'acier inoxydable, le cas échéant.
- Séchez et polissez avec une serviette en papier propre et sèche ou un chiffon doux.
Remarque
Certaines serviettes en papier ont tendance à rayer l'acier inoxydable, faites un essai sur un endroit peu visible avant de les utiliser.
- Répétez l'opération si nécessaire.
Remarque
- N'utilisez pas de tampon en laine d'acier. Elle rayerait la surface.
- Si un nettoyant pour appareils en acier inoxydable à base d'huile minérale a été utilisé auparavant pour nettoyer l'appareil, lavez la surface avec du liquide vaisselle et de l'eau avant d'utiliser le nettoyant ou le poli pour appareils en acier inoxydable.
Filtre à convection
Les filtres à convection sont situés à l'arrière de chaque chambre du four.
Nettoyez-les régulièrement. Si vous les laissez se boucher, les modes de cuisson par convection du four ne fonctionneront pas correctement.
Remarque
Pour votre sécurité et le bon fonctionnement du four, réinstallez les filtres de convection avant de cuisiner.
Francais82
Retrait du filtre à convection du four

Lorsque le four est froid, placez vos doigts autour des bords du filtre et poussez doucement vers le haut.
Pour nettoyer le filtre
Faites tremper le filtre dans de l'eau chaude savonneuse, puis rincez-le bien. Vous pouvez également le placer dans un lave-vaisselle sur le panier supérieur. Séchez le filtre avant de le réinstaller.
Installation du filtre à convection de votre four

Accrochez soigneusement les clips métalliques situés à l'arrière du filtre sur la barre métallique située en travers de l'orifice du ventilateur. Veillez à ce qu'il soit centré sur le trou. Veillez à ne pas rayer les surfaces en porcelaine avec l'arrière du filtre.
Plateau pour friture par application d'air
Pour maintenir le plateau pour friture par application d'air propre, retirez-le de la cavité et trempez-le dans de l'eau tiède savonneuse. Ensuite, enlevez la saleté du plateau pour friture par application d'air à l'aide d'un tampon à rincer en plastique.
Remarque
Le plateau pour friture par application d'air est lavable au lave-vaiselle.
Attention
Ne laisserez pas le plateau pour friture par application d'air dans le four pendant le cycle d'auto-nettoyage. La chaleur extrême générée par ce cycle peut décoller de façon permanente le revêtement de l'air fry, sa couleur deviendra légèrement bleue et sa finition sera terne.
Grilles du four
- Il est recommandé de nettoyer les grilles, mais si elles sont laissées dans le four pendant un cycle d'autonettoyage, leur couleur deviendra légèrement bleue et la finition sera terne. Une fois le cycle d'autonettoyage terminé et le four refroidi, frottez les côtés des grilles avec du papier citron ou un chiffon contenant une petite quantité d'huile. Les grilles pourront ainsi glisser plus facilement sur leurs rails.
- Les grilles coulissantes peuvent être nettoyées à la main avec un produit abrasif ou de la laine d'aciers. Au cours du nettoyage, faites attention à ce que l'eau ou le nettoyant ne pénètre pas dans les glissières situées sur les côtés de la grille.
Remarque
- Ne nettoyez pas les grilles du four dans un lave-vaisselle.
- Si la grille devient difficile à enlever ou à replacer, essuyez légèrement les glissières de la grille du four avec de l'huile de cuisson. N'essuyez pas d'huile de cuisson sur les glissières.
- Si la grille devient difficile à faire glisser, il peut s'avérer nécessaire de la lubrifier avec un lubrifiant à base de graphite.
- Le lubrifiant graphite est disponible dans le commerce. Vérifiez que le lubrifiant est approuvé par la FDA.
Attention
- Ne laissez pas les grilles dans le four pendant le cycle d'autonettoyage. La chaleur extrême générée par ce cycle peut décoller de façon permanente le revêtement des grilles et rendre leur retrait difficile.
- Ne vaporisez pas d'huile de cuisson ou de lubrifiant directement sur la grille de glissement.
Francais84
Pour lubrifier les glissières de la grille coulissante




- Retirez la grille du four. Voir le retrait de la grille coulissante dans la Utilisation de la grille coulissante section à la page 43.
- Déployez complètement la grille sur une table ou un comptoir. Vous pouvez placer du papier journal sous la grille pour faciliter le nettoyage.
- Si des débris se trouvent dans les glissières, essuyez-les à l'aide d'une serviette en papier. (Tout lubrifiant graphite essuyé doit être remplacé - voir les étapes 4 à 7).
- Secouez le lubrifiant graphite avant de l'ouvrir. À partir du mécanisme de glissement gauche (avant et arrière) de la grille, déposez quatre (4) petites gouttes de lubrifiant sur les deux (2) rails inférieures de la glissière, près des supports de roulement.
Entretien et maintenance – four

- Répétez l'opération pour le mécanisme de glissement droit (avant et arrêté) de la grille.
- Ouvrez et fermez la grille plusieurs fois pour répartir le lubrifiant.
- Remettez le bouchon sur le lubrifiant et agitez-le à nouveau. Retournez la grille et répétez les étapes 3, 4, 5 et 6.
- Fermez la grille, retournez la grille à l'endroit, puis installez-la dans le four. Consultez Installation de la grille coulissante à la page 43.
Remarque
Ne vaporisez pas la grille coulissante avec un vaporisateur de cuisson ou tout autre vaporisateur lubrifiant.
Francais86
Supports à échelle
Les supports à échelle peuvent être retirés pour un nettoyage manuel ou pour éviter une décoloration pendant un cycle d'autonettoyage.
Retrait des supports à échelle



- Saisissez le guide de grille de la position 2, puis soulevez le porte-chelle tout droit. Cette action libère le support à échelle de ses deux supports sur la paroi du four.
- Faites pivoter le support à échelle.
- Tirez sur le support pour l'éloigner de la paroi du four et le retirer des deux trous de support situés sur la paroi du four.
- Répétez cette procédure avec le support d'échelle sur la paroi opposée.
Remplacement des supports d'échelle

- Remettez le haut du support d'échelle dans les deux trous de support de la paroi du four.

- Faites pivoter le support d'échelle vers la paroi du four.

- Tirez vers le haut sur le guide de grille de la position 2, puis enfoncez la grille dans les deux supports de la paroi du four.
- Répétez cette procédure avec le support d'échelle sur la paroi opposée.
Francais88
Porte du four

- Utilisez de l'eau et du savon pour nettoyer à fond le dessus, les côtes et l'avant de la porte du four. Rincez soigneusement. Vous pouvez utiliser un nettoyant pour vitres sur la vitre extérieure de la porte du four. N'immergez PAS la porte dans l'eau. NE VAPORISEZ PAS et ne laissez pas l'eau ou le nettoyant pour vitres PENETRER dans les orifices de la porte. N'utilise PAS de nettoyant pour four, de poudre nettoyante ou de produit de nettoyage abrasif sur l'extérieur de la porte du four.
- NE NETTOYEZ PAS le joint de la porte du four. Le joint de la porte du four est constitué d'un matériel tissé qui est essentiel pour assurer une bonne étanchéité. Veillez à ne pas frotter, dommager ou retirer ce joint.
Attention
La porte est très lourde. Faites attention lorsque vous la retirez et la soul levez. - Ne soul levez pas la porte par la poignée.
Utilisez les deux mains pour ouvrir la porte du four.
- Faites attention lorsque vous déplacez la porte du four. Une manipulation incorrecte pourrait entraîner des blessures physiques.
- Pour éviter tout risque de choc électrique, assurez-vous que le four est éteint avant de retirer la porte du four.

- Avant de retirer la porte du four, préparez une surface où vous la placerez. Cette surface doit être plane et recouverte d'une couverture coulissante. Vous pouvez également utiliser les poteaux d'angle de votre matériel d'emballage.

- Ouvrez la porte du four.
- Aux coins inférieurs de la porte, faites pivoter les verrous de charnière à fond pour les déverrouiller ; sinon, la porte ne peut pas être retirée.
A. Verrouillage de la charnière de la porte du four en position verrouillée B. Verrouillage de la charnière de la porte du four en position déverrouillée
Francais90


- Fermez partiellement la porte pour engager les verrous du loquet de la porte. La porte s'arrête à ce stade.
- Saisissez chaque côte de la porte sous la poignée et soullevez légèrement la porte pour exposer le câblage à la base.
- Mettez la porte du four de côté sur la surface de travail couverte préparée, la porte du four reposant sur sa poignée.
Attention
La porte est très lourde. Vous aurez peut-être besoin d'aide pour la soulever suffisamment pour la faire glisser dans les fentes des charnières. Ne soulevez pas la porte par la poignée.
Fente dans la cavité du four pour le verrouillage des charnières de la porte.
- À deux mains, saisissez les bords latéraux de la porte au milieu. Faites face à la cavité du four.

- Placez la porte près de l'appareil.
- Repérez les fentes de chaque côté de la cavité du four pour le verrouillage des charnières de la porte.
- Tenez la porte à un angle de, puis alignez les charnières de la porte avec les fentes situées dans la partie inférieure avant de la cavité du four. Insérez lentement la porte en veillant à maintenir l'angle de. Vous saurez que la porte est engagée dans la fente lorsque vous sentirez une légère chute.
Francais92

- Ouvrez la porte complètement. Si la porte du four ne s'ouvre pas complètement, repétez les étapes 1 à 4.
- Aux coins inférieurs de la porte, basculez les verrous des charnières vers l'avant pour les verrouiller. Reportez-vous à l'étape 3 (illustration A) de la section « Retrait des portes du four » pour connaître la position de verrouillage correcte.
- Fermez la porte du four.
Remarque
Lorsque les charnières sont correctement installées et que la porte est fermée, il doit y avoir un espace régulier entre la porte et le panneau de commande. Si un côté de la porte du four pend plus bas que l'autre, la charnière de ce côté n'est pas correctement installée.
Éclairage du four
L'éclairage du four est une ampoule standard de 40 watts. Elle s'allume lorsque vous ouvrez la porte du four.

- Éteignez le four.
- Assurez-vous que le four et l'éclairage du four sont froids.
- Ouvrez la porte et retirez le couvercle en verre en le tournant dans le sens antihoraire.
- Retirez la lampe du four de la douille en la tournant dans le sens antihoraire.
- Insérez une nouvelle ampoule de 40 watts dans la douille, puis tournez-la dans le sens horaire pour la serrer.
- Remettez le couvercle en verre en place, puis tournez-le dans le sens horaire pour le serrer.
Attention
Pour éviter tout risque d'électrocution, assurez-vous que le four est éteint et froid avant de remplacer l'éclairage du four.
Remarque
- L'éclairage du four ne fonctionne pas pendant le cycle d'autonettoyage.
- Retirez les grilles si elles vous empêchent d'accéder à l'éclairage du four.
Francais94
Dépannage
Si vous rencontrez un problème inattendu, cherchez d'abord une solution dans les tableaux ci-dessous. Si le problème persiste après avoir essayé la solution suggérée, appelez le 833-353-5483(USA), 844-509-4659(CANADA).
Sécurité en matière de gaz
| Problème Cause | possible Action | |
| Vous sentez une odeur de gaz. | Le bouton du brûleur de surface n'est pas en position Off (arrêt) et le brûleur n'est pas allumé. | Tournez le bouton du brûleur sur Off (arrêt). |
| Il y a une fuite de gaz. Libéré | ez lapiece, le bâtiment ou la zone de tous les occupants. Appelez immédiatement votre fournisseur de gaz depuis le téléphone d'un voisin. N'appelez pas depuis votre téléphone. Il est électrique et pourrait provoquer uneétincelle qui pourrait enflammer le gaz. Suivez les instructions de lacompagnie de gaz. Si votre fournisseur de gaz n'est pas joignable, appelez les pompiers. |
Brûleur de surface
| Problème Causes | les possibles Action | |
| Tous les brûleurs ne s'allument pas. | Le cordon d'alimentation n'est pas branché dans la prise électrique. | Assurez-vous que la fiche électrique est branchée dans une prise de courant sous tension et correctement mise à la terre. |
| Il se peut qu'un fusible soit grillé dans votre maison ou que le disjoncteur se soit déclenché. | Remplacez le fusible ou réinitialisez le disjoncteur. | |
| L'alimentation en gaz n'est pas correctement raccordée ou allumée. | Consultez les instructions d'installation fournies avec votre cuisine. | |
| Les brûleurs de surface ne s'allument pas. | Le bouton de commande n'est pas régle correctement. | Enforcez le bouton de commande et tournez-le à la position Lite. |
| Les chapeaux de brûleurs ne sont pas en place. La base du brûleur est mal alignée. | Nettoyez les electrodes. Mettez le chapeau du brûleur sur la tête du brûleur. Alignez la base du brûleur. | |
| Le brûleur de surface émet un clic pendant le fonctionnement. | Le bouton de commande a été laissé en position Lite. | Une fois le brûleur allumé, tournez le bouton de commande jusqu'àu réglage souhaité. Si le brûleur émet toujours un clic, faites appel à un technicien de service. |
| Les brûleurs ne brûlent pas uniformément. | Les composants et les chapeaux du brûleur de surface ne sont pas assemblés correctement et de niveau. | Consultez la page 77. |
| Les brûleurs de surface sont sales. | Nettoyez les composants du brûleur de surface. (Consultez la page 74.) | |
| Flammes du brûleur de surface très grandes ou jaunes. | Le mauvais orifice de brûleur est installé. | Vérifiez la taille de l'orifice du brûleur. Faites appel à votre installeratur si vous avez le mauvais orifice (gaz GPL au lieu de gaz naturel ou gaz naturel au lieu de gaz GPL). |
| Les brûleurs de surface s'allument mais les brûleurs du four ne s'allument pas. | Le verrouillage de la portedu four est activé. | L'écran affiche l'icone Verrou. Maintenez la porte du four ouverte et Tapez et maintenez la touche Settings (Réglages) pendant 3 secondes. Le four émet un signal sonore et l'icone Verrou s'éteint. |
| L'interrupteur d'arrêt du régulateur de pression de gaz est en position d'arrêt. | Faites appel à un technicien de service qualifié. |
Francais96
Affichage des commandes
| Problème Cause possible Solution | ||
| L'affichage est vide. | Il se peut qu'un fusible soit grillé dans votre maison ou que le disjoncteur soit déclenché. | Remplacez le fusible ou réinitialisez le disjoncteur. |
| Les commandes tactiles ne反應 pas lorsqu'on les effleure | Des corps étrangers sont coincés entre les boutons | Retirez les corps étrangers et réessayez. |
| Des traces d'humidité sont visibles à l'extérieur | Retirez l'humidité et réessayez. | |
| La fonction de verrouillage est activée | Vérifiez si la fonction de verrouillage est activée. | |
Four
| Problème Cause Action | ||
| La commande du four émet un signal sonore et affiche un code d'information. | Il se peut que votre four ait un problème. Consultez le tableau «Codes d'information» à la page 103. | Tournez le bouton du brûleur sur Off (arrêt), puis redémarrez le four. Si le problème persisté, débranchez toute l'alimentation de la cusinière pendant au moins 30 secondes, puis rebranchez-la. Si cela ne résout pas le problème, appelez un technician. |
| Le four ne s'allume pas. | Le four n'est pas complètement branché dans la prise électrique. | Assurez-vous que la fiche électrique est complètement insérée dans une prise sous tension et correctement mise à la terre. |
| Il se peut qu'un fuseible soit grillé dans votre maison ou que le disjoncteur se soit déclenché. | Remplacez le fuseible ou réinitialisez le disjoncteur. | |
| La température du four est trop chaude ou trop froide. | Le thermostat du four doit être réglé. | Consultez la page 70. |
| Le brûleur du four ne s'éteint pas. | Le verrouillage de la portedu four est activé. | L'écran affiche l'icône Verrou. Maintenez la portedu four ouverte et tapez et maintenez la touche Settings (Réglages) pendant 3 secondes. Le four émet un signal sonore et l'icône Verrou s'éteint. |
| La fonction Sabbat a été activée. SAb et l'heure du jour s'affichent à l'écran. Toutes les autres commandes et tous les signaux seront désactivés. Pour éteindre le four uniquement, tournez le bouton sur Off (arrêt). Pour annuler la fonction Sabbat et réactiver les commandes et signaux, tapez et maintenez la touche OK pendant 3 secondes. | ||
| Le ventilateur du four fait du bruit ou ne s'éteint pas. * Modèle de four encasable uniquement. | Le ventilateur de refroidissement n'est pas visible, mais vous l'entendrez tourner dès que les éléments électroniques deviennent chauds et il s'éteindra quand ceux-ci seront froids. | Il s'agit d'un processus normal pour refroidir le four, le ventilateur de refroidissement s'éteint automatiquement lorsque le four devient froid. |
| L'éclairage du four (lampe) ne s'allume pas. | Le verrouillage de la portedu four est activé. | L'écran affiche l'icône Verrou. Maintenez la portedu four ouverte, puis appuyez sur la touche et maintenez-la enforcée Réglages pendant 3 secondes. Le four émet un signal sonore et l'icône Verrou s'éteint. |
| La fonction Sabbat a été activée. SAb et l'heure du jour s'affichent à l'écran. Toutes les autres commandes et tous les signaux seront désactivés. Pour annuler la fonction Sabbat et réactiver l'interrupteur d'éclairage et les autres commandes, appuyez sur OK pendant 3 secondes. | ||
| Une ampoule mal fixée ou brûlée. Consultez la page 94. | ||
| L'interrupteur qui commande l'éclairage du four doit être remplaced. Faites appel à un technicien de service qualifié. | ||
Francais98
| Problème Cause Action | |
| Le four fume excessivement pendant la cuisson au grill. | La viande ou les alimentés n'ont pas été correctement préparés avant d'être grillés. |
| La grille supérieure du four est mal positionné. | |
| Les commandes ne sont pas régliées correctement. | |
| Accumulation de graisse sur les surfaces du four. | |
| La cuisson est terminée, mais le ventilateur de refroidissement fonctionné toujours. | Le ventilateur fonctionné automatiquement pendant un certain temps pour ventiler l'intérieur du four. |
| Le four ne s'autonettoie pas. | Le verrouillage de la portedu four est activé. |
| Le Smart Divider (separateur intelligent) est installédans le four. | |
| Le four est trop chaud. Laissez le four | |
| Le four dautonnetoyant ne sont pas régliées correctement. | |
| Les commandes du four autonettoyant ne sont pas régliées correctement. | |
| Un brûleur de surface est allumé. Étitude le brûleur de surface. L'autonettoyage ne fonctionne pas si un brûleur de surface est allumé. |
Dépannage
| Problème Cause Action | ||
| Un bruit de crépitement ou déclatement. | Il s'agit d'une situation normale. Il s'agit du bruit du métal quiCHAUFFE et refroidit pendant une fonction de cuisson ou de nettoyage. | |
| Une fumée excessivependant un cycle d'autonettoyage. | Il s'agit de la première fois que le four a été nettoyé. | Il s'agit d'une situation normale.Le four fumera toujours davantage la première fois qu'il sera nettoyé.Essuyez toute saleté excessive avant de lancer le cycle d'autonettoyage.Si la fumée persiste, tournez lebouton du brûleur sur Off (arrêt). Ouvrez les fenêtres pour evacuer la fumée de la pièce. Une fois le four refroidi et déverrouillé, essuyez les salissures excessives, puis réinitialisez le four pour l'autonettoyage. |
| La portedu fourne s'ouvrira pas après un cycle d'autonettoyage. | Il s'agit d'une situation normale. La | porte du four reste verrouillée jusqu'à ce que la température du four passé en dessous de 400 °F. |
| Le four n'estpas propreaprès un cycle d'autonettoyage. | Une fine poussière ou des cendres sont normales. | Vous pouvez les nettoyer à l'aide d'un chiffon humide.Réglez le cycle d'autonettoyage sur une durée plus longue.Le cycle n'a pas été assez long pour brûler les saletés accumulées.Les fours extrémement sales doivent être nettoyés à la main pour éliminer les débordements et les accumulations d'aliments avant de lancer un cycle d'autonettoyage. Plusieurs cycles d'autonettoyage peuvent être nécessaires pour nettoyer complètement le four. |
Francais100
| Problème Cause Action | ||
| De la vapeur ou de la fumée s'échappe du dessous du panneau de commande. | Il s'agit d'une situation normale. La | fente d'aération du four se trouve à cet endroit. La vapeur est plus importante lorsqu'vous utilisez les fonctions de convection ou lorsque vous faites cuire ou rôtir plusieurs alimentés en même temps. |
| Une odeur de brûlé ou d'huile s'échappe de la fente d'aération. | Ce phénomène est normal pour un four neuf et disparaitra dans la 1/2 heures suivant le premier cycle de cuisson. | Pour accélérer le processus, réglez un cycle d'autonettoyage d'une durée minimale de 3 heures. (Consultez la page 60.) |
| Odeur forté. Cette | odeur est-temporaire. L'isolement de | 'intérieur du four dégage une odeur les premières fois que le four est utilisé. |
| Les grilles du four sont difficiles à faire glisser. | Il s'agit d'une situation normale. Appliquez une petite quantité d'huile végétale sur une serviette en papier, puis essuyez les bords des grilles du four avec la serviette en papier. Les grilles deviennent ternes et difficiles à faire glisser si elles sont laissées dans le four pendant un cycle d'auto-nettoyage. | |
| Bruit du ventilateur. | Il s'agit d'une situation normale. Le | ventilateur de convection fonctionne jusqu'à ce que la fonction soit terminée ou que la porte soit ouverte. |
| Le ventilateur de convection ne fonctionne pas. | Il s'agit d'une situation normale. Le | ventilateur démarre automatiquement lorsque le four atteint la température de préchauffage. |
Autres
| Problème Cause Action | ||
| L'appareil n'est pas de niveau. | L'appareil a été installé de manière incorrecte. Le(s) pied(s) de mise à niveau est (sont) endommagé(s) ou inégal(aux). | Assurez-vous que le sol est de niveau, solide et stable. Si le plancher s'affaisse ou est en pente, faites appel à un menuisier. Vérifiez et mettez la cusinière à niveau. (Consultez les instructions d'installation.) |
| Les armoires de cuisine ne sont pas correctement alignées et donnent l'impression que la cusinière n'est pas de niveau. | Assurez-vous que les armoires sont d'équerre et offrent suffisamment d'espace pour l'installation. | |
| L'affichage est vide. | Le disjoncteur de fuite à la terre (GFI ou GFCI) de la prise électrique a été déclenché et doit être réinitialisé. Votre commande numérique a été endommagée. | Remplacez le fusible ou réinitialisez le disjoncteur. |
| Les alimentés ne cuisent pas ou ne rôtissant pas correctement dans le four. | Le mode de cuisson sélectionné n'est pas le bon. | Consultez la page 35. |
| Les grilles du four n'ont pas été positionnées correctement pour les alimentés à cuire. | Consultez la page 40. | |
| Un ustensile de cuisine inapproprié ou de taille inadéquate est utilisé. | Consultez la page 27. | |
| Il y a du papier d'aluminium sur les grilles ou sur la sole du four. | Retirez la feuille d'aluminium. | |
| L'horloge ou les minutes ne sont pas régliées correctement. | Consultez la page 32. | |
| Les alimentés ne grillent pas correctement dans le four. | Les commandes du four ne sont pas régliées correctement. | Consultez la page 32. |
| La porte du four n'a pas été fermée pendant la cuisson au grill. | Fermez la porte du four pendant la cuisson au grill. | |
| La grille n'a pas été correctement positionnée. | Consultez le guide de cuisson au grill à la page 45. | |
Français102
Codes d'information
Four
| Code affché C | Cause possible Solution | |
| C-d0 | Ce code apparaît si la touche de commande est court-circuité pendant 1 minute. | Nettoyez les touches et assurez-vous qu'il n'y a pas d'eau sur/autour d'elles. Éteignez le four et réessayez. Si le problème persiste, contactez un centre de service Dacor local. |
| C-d1 | Ce code se produit si le verrouillage de la porte est mal positionné. | Tournez le bouton du brûleur sur Off (arrêt), puis redémarrez le four. Si le problème persiste, débranchez toute l'alimentation du four pendant au moins 30 secondes, puis rebranche-la. Si cela ne résout pas le problème, appelez un technicien. |
| C-F0 | Ce code apparaît si la communication entre la carte de circuit imprimé principale et la carte de circuit imprimé secondaire est interrompue. | |
| C-F2 | Ce code se produit si la communication entre le Main et le Touch est interrompue. | |
| C-20 | Le capteur du four est ouvert lorsque le four fonctionne. | |
| Le capteur du four est court-circuité lorsque le four fonctionne. | ||
| C-21 | Ce code se produit si la température interne augmente de façon anormale. | Redémarrez l'appareil. |
| C-22 | Le capteur du circuit imprimé secondaire est ouvert lorsque le four fonctionne. | Tournez les boutons de selection du mode et de la température sur Off (arrêt), puis redémarrez le four. Si le problème persiste, débranchez toute l'alimentation du four pendant au moins 30 secondes, puis rebranche-la. Si cela ne résout pas le problème, appelez un technicien. |
| Le capteur du circuit imprimé secondaire est en court-circuit lorsque le four fonctionne. |
Dépannage
| Code affché Cause possible Solution | ||
| C-23 | Le capteur de la sonde de température est en court-circuit lorsque le four fonctionne. | Tournez le bouton du brûleur sur Off (arrêt), puis redémarrez le four. Si le problème persististe, débranchez toute l'alimentation du four pendant au moins 30 secondes, puis rebranchez-la. Si cela ne résout pas le problème, appepez un technicien. |
| C-30 | Le capteur de la carte de circuit imprimé est ouvert lorsque le four fonctionne. | |
| Le capteur de la carte de circuit imprimé est court-circuit lorsque le four fonctionne. | ||
| C-31 | Ce code se produit si la température de la carte de circuit imprimé est anormalement élevé. | Appeler le service après-vente |
| C-A2 | Le moteur de refroidissement fonctionne anormalement. | Apperez le service après-vente. |
| C-24 | La fente d'aération du four est obstruée | 1. Pour réinitialiser l'erreur, débranchez l'alimentation ou tournez le bouton du brûleur sur la touche Off (arrêt) après avoir ouvert la portedu four pendant au moins 60 secondes.2. Vérifiez si une fente d'aération ou un passage d'air du four est bloqué par du papier d'aluminium ou un autre obstacle.3. Retirez le papier d'aluminium ou tout autre obstacle de toute fente d'aération du four ou passage d'air bloqué. |
Francais104
Ce qui est couvert
CERTIFICAT DE GARANTIES: GAMMES DACOR
DANS LES CINQUANTE-ETATS DES ETATS-UNIS, LE DISTRICT DE COLUMBIA ET LE CANADA:
Garantie complète de deux ans
La garantie s'applique uniquement à l'appareil Dacor vendu à l'acheteur initial, à partir de la date d'achat au détail initial ou de la date de clôture de la nouvelle fabrication, selon la période la plus longue. La garantie est valable pour les produits achetés neufs auprès d'un revendeur agréé Dacor ou d'un autre vendeur autorisé par Dacor.
Si votre produit Dacor ne fonctionne pas dans l'année qui suit la date d'achat initiale, en raison d'un défaut de matériel ou de fabrication, Dacor y remédiera sans frais pour vous.
Tous les dommages esthétiques (tels que les rayures sur l'acier inoxydable, les taches de peinture/porcelaine, etc.) du produit ou des accessoires inclus doivent être signalés à Dacor dans les 60 jours suivant la date d'achat initiale pour pouvoir bénéficier de la garantie. Les pièces consommables telles que les filtres et les ampoules ne sont pas couvertes et relevant de la responsabilité de l'acheteur.
Limites de la couverture
Le service sera fourni par une société de service désignée par Dacor pendant les heures normales de bureau. Veuillez noter que les fournisseurs de services sont des entités indépendantes et ne sont pas des agents de Dacor.
Les produits exposés par les revendeurs et les maisons modèles dont la date de production est supérieure à 5 ans, les produits vendus « tels quels » et les produits installés pour un usage non résidentiel, ce qui inclut, sans s'y limiter, les organisations religieuses, les casernes de pompiers, les chambres d'hôtes et les spas, sont couverts par une garantie d'un an sur les pièces uniquement. Tous les frais de livraison, d'installation, de main-d'œuvre et autres frais de réparation sont à la charge de l'acheteur.
La garantie sera nulle et non avenue sur les produits dont les numéros de série et les étiquettes sont altérés, dégradés ou manquants.
Le propriétaire doit fournir une preuve d'achat ou une déclaration de clôture pour une nouvelle construction sur demande. Tous les produits Dacor doivent être accessibles pour la réparation.
La garantie est nulle et non avenue si un produit non approuvé ETL ou non CUL est transporté depuis les États-Unis.
EN DEHORS DES CINQUANTE ETATS DES ETATS-UNIS, DU DISTRICT DE COLUMBIA ET DU CANADA:
Garantie limitee de deux ans
Si votre produit Dacor ne fonctionne pas dans les deux ans suivant la date d'achat initiale en raison d'un défaut de matériel ou de fabrication, Dacor fournira une nouvelle pièce, F. O. B. usine pour remplacer la pièce déficiente.
Tous les frais de livraison, d'installation, de main-d'œuvre et autres frais de réparation sont à la charge de l'acheteur.
Ce qui n'est pas couvert
- De légères variations de couleur peuvent être remarquées en raison des différences dans les pièces peintes, l’éclairage de la cuisine, le placement des produits et d’autres facteurs ; cette garantie ne s’applique pas aux variations de couleur.
- Appels de service pour former le client à l'utilisation et à l'entretien corrects du produit.
- Frais de service pour les déplacements vers les Îles et les régions éloignées, qui comprennent, sans s'y limiter, les ferries, les routes à péage ou d'autres frais de déplacement.
- Dommages indirects ou accessoires, y compris, mais sans s'y limiter, la perte de nourriture ou de médicaments, le temps d'absence du travail ou les repas au restaurant.
- Défaillance du produit lorsqu'il est utilisé à des fins commerciales, d'affaires, de location ou pour toute application autre qu'un usage résidentiel grand public.
- Défaillance du produit causée par une mauvaise installation du produit.
- Remplacement des fusibles de la maison, des boîtes à fusibles ou réarmement des disjoncteurs.
- Dommages au produit causés par un accident, un incendie, une inondation, une coupure de courant, des surtensions ou d'autres catastrophes naturelles.
- Responsabilité pour les dommages aux biens environnants, y compris les armoires, les sols, les plafonds et autres structures ou objets autour du produit.
- Bris, décoloration ou dommages au verre, aux surfaces métalliques, aux composants en plastique, aux garnitures, à la peinture ou à toute autre finition cosmétique causés par une utilisation, un entretien, un abus ou une négligence inappropriés.
Hors garantie
Si vous rencontrez un problème de service au-delà de la période de garantie standard, veuillez communiquer avec nous. Dacor examine chaque problème et préoccupation du client pour fournir la meilleure solution possible en fonction des circonstances.
Français106
LES RECOURS PREVUS DANS LES GARANTIES EXPRESSES CI-DESSUS SONT LES SEULS ET UNIQUES RECOURS. PAR CONSEQUENT, AUCUNE AUTRE GARANTIE EXPRESSSE N'EST OFFERTE, ET EN DEHORS DES CINQUANTE ETATS DES ETATS-UNIS, DU DISTRICT DE COLUMBIA ET DU CANADA, TOUTES LES GARANTIES IMPLICITES, Y COMPRIS, MAIS SANS S'Y LIMITER, TOUTE GARANTIE IMPLICITE DE QUALITE MARCHANDE OU D'ADEQUATION À UN USAGE OU À UN USAGE PARTICULAR, SONT LIMITÉS DANS LA DUREE À UN AN À COMPTER DE LA DATE D'ACHAT INITIALE. EN AUCUN CAS, DACOR NE POURRA ÉTRE TENU RESPONSABLE DES FRAIS ACCESSOIRES OU DES DOMMAGES INDIRECTS. SI DACOR L'EMPÔTE DANS UN PROCÉS, DACOR AURA DROIT AU REMBOURSEMENT DE TOUS LES FRAIS ET DÉPENSES, Y COMPRIS LES HONORAÎRES D'AVOCAT, PAR LE CLIENT DE DACOR. AUCUNE GARANTIE, EXPRESSSE OU IMPLICITE, N'EST FAITE À UN ACHETEUR POUR LA REVENTE.
Certains États n'autorisent pas la limitation de la durée d'une garantie implicite, ou n'autorisent pas l'exclusion ou la limitation des dommages inconsequents, par conséquent les limitations ou exclusions ci-dessus peuvent ne pas s'appliquer à votre cas. Cette garantie vous donne des droits légaux spécifiques, et vous pouvez également avoir d'autres droits qui varient d'un État à l'autre.
Annonce d'une source ouverte
Le logiciel inclus dans ce produit contient un logiciel open source. Vous pouvez obtenir le code source complét correspondant pendant une période de trois ans après la dernière expulsion de ce produit en envoyant un courriel à mailto: oss.request@samsung.com.
Il est également possible d'obtenir le code source complet correspondant sur un support physique, tel qu'un CD-ROM, moyennant des frais minimes.
L'URL http://opensource.samsung.com/opensource/OVEN_HKM_TZ/seq/0 mène à la page de téléchargement du code source mis à disposition et aux informations sur la licence open source relatives à ce produit. Cette offre est valable pour toute personne ayant reçu ces informations.

Francais108
Votre garantie ne commencera pas tant que vous ne l aurez pas activée en ligne ou n'aurez pas renvoyé ce formulaire Dacor. Si vous avez acheté plus d'un produit Dacor, veuillez renvoyer tous les formulaires dans une seule enveloppe, ou activer la garantie pour chaque produit en ligne.
Nous vous assurons qu'en aucun cas Dacor ne vendra votre nom ou les informations contenues dans ce formulaire à des fins de liste de diffusion. Nous vous sommes très reconnaissants d'avoir choisi les produits Dacor pour vous mettre et nous ne considérons pas la vente de ces informations comme une façon appropriée d'exprimer notre gratitude!
Propriété :
Rue : Nom (en lettres moulées ou en : Prénom Deuxième prénom caractères d'imprimerie)
Ville : État : Code postal :
Date d'achat : Courriel : Numéro de téléphone :
Concessionnaire:
Ville: État: Code postal:
- Comment avez-vous découvert les produits Dacor? (Veuillez cocher une seule case.)
A. Émission culinaire à la télévision
Constructeur F
B. Magazine
G. Architecte/Concepteur
C. Salle d'exposition d'un concessionnaire d'appareils électroménagers
H. Une autre propriété de Dacor
Salle d'exposition d'un concessionnaire de cuisines
Maison modèle
E. Salon de l'habitation
J. Autre
- Où avez-vous acheté vos appareils Dacor?
A. Concessionnaire d'appareils électroménagers
D. Constructeur
B. Revendeur de cuisines
E. Autre
Fournisseur du constructeur
- Dans quel but le produit a-t-il été acheté?
A. Remplacement quel que soit le motif
Maison neuve
B. Partie d'une rénovation
D. Autre
- Quel est le revenu de votre ménage?
A. Moins de 75000 $
D. 150 000 à 200 000
B.75000 à 100 000
E. 200 000 à 250 000
C. 100 000 à 150 000
F. Plus de 250 000 $
- Quelles sont les marques des appareils électroménagers que vous avez dans votre cuisine?
A. Table de
C. Lave-vaisselle
cuisson
D. Réfrigérateur
B. Four
- Acheteriez-vous ou recommanderiez-vous un autre produit Dacor?
Oui
Non
Commentaires :
Merci beaucoup pour votre aide. Les informations que vous avez fournies seront extrêmement précieuses et nous aident à planifier l'avenir et à vous apporter le soutien que vous méritez.
Placez l'étiquette du numéro de série ici
Site Web: www.dacor.com
Numéro de téléphone : 833-353-5483 (États-Unis), 844-509-4659 (CANADA).

- Numéro de téléphone: 833-353-5483 (États-Unis), 844-509-4659 (CANADA). - Télécopie: (626) 403-3130 - www.dacor.com
Notice Facile