EC0400 - Afficheur numérique IFM - Notice d'utilisation et mode d'emploi gratuit
Retrouvez gratuitement la notice de l'appareil EC0400 IFM au format PDF.
| Intitulé | Description |
|---|---|
| Type de produit | Capteur de proximité inductif |
| Modèle | IFM EC0400 |
| Plage de détection | 0 à 4 mm |
| Tension d'alimentation | 10 à 30 V DC |
| Sortie | PNP ou NPN, réglable |
| Fréquence de commutation | 500 Hz |
| Température de fonctionnement | -25 à 70 °C |
| Protection | IP67 |
| Dimensions | 30 x 30 x 15 mm |
| Poids | 50 g |
| Utilisation | Détection sans contact d'objets métalliques |
| Maintenance | Nettoyage régulier recommandé, pas de pièces mobiles |
| Sécurité | Respecter les normes électriques lors de l'installation |
| Informations générales | Compatible avec divers systèmes d'automatisation industrielle |
FOIRE AUX QUESTIONS - EC0400 IFM
Questions des utilisateurs sur EC0400 IFM
0 question sur cet appareil. Repondez a celles que vous connaissez ou posez la votre.
Poser une nouvelle question sur cet appareil
Téléchargez la notice de votre Afficheur numérique au format PDF gratuitement ! Retrouvez votre notice EC0400 - IFM et reprennez votre appareil électronique en main. Sur cette page sont publiés tous les documents nécessaires à l'utilisation de votre appareil EC0400 de la marque IFM.
MODE D'EMPLOI EC0400 IFM
1 Remarques préliminaires 4
1.1 Symboles utilisés 4
1.2 Avertissements utilisés 4
2 Consignes de sécurité 5
2.1 Remarques generales 5
2.2 Cible 5
2.3 Raccordement electrique 5
2.4Interventions sur I'appareil 5
3 Fonctionnement et caractéristiques 6
3.1 Aperçu des caractéristiques 6
3.2 Exemples d'applications 6
3.3Produits de la série Basic (exemples) 7
4 Montage 8
4.1 Instructions de montage generales 8
4.1.1 Types de montage et accessoires nécessaires 8
4.1.2Furniture. 8
4.2 Montage encastre. 8
4.3 Kit de montage RAM 9
4.4 Montage en surface 10
4.5 Combinaison avec BasicController 11
4.5.1 Montage de l'afficheur dans le capot 11
4.5.2 Montage du capot 11
4.5.3 Enlever le capot 12
5 Raccordement electrique 13
5.1 Consignes generales de raccordement 13
5.2Fusible 13
5.3 Accessoires de raccordement 13
5.3.1 Exemple d'accessoires 13
6 Elements de visualisation 14
7Mise en service. 15
7.1 Programmation 15
7.2 Documentations nécessaires 15
7.3 Matériel nécessaire 15
8Données techniques. 16
9 Maintenance, réparation et élimination. 19
9.1 Entretien 19
9.2 Nettoyage de la surface du boitier 19
9.3Reparation 19
9.4 Elimination des déchets 19
10 Homologations/normes. 19

Ce document est la notice originale.
Licences et marques
Microsoft, Windows, Windows XP, Windows Vista et Windows 7 sont des marques enregistrées de Microsoft Corporation. Toutes les marques et raisons sociales utilisées sont soumises au copyright des sociétés respectives.
1 Remarques préliminaires
Ce document s'applique à tous les apparciels du type "BasicDisplay" (référence : CR0451).
Il fait partie de l'appareil.
Ce document s'adresse à des personnes compétentes. Ce sont des personnes qui sont capables - grâce à leur formation et expérience - d'envisager les risques et d'éviter des dangers potentiels qui pourrait être causés par le fonctionnement ou la maintenance de l'appareil. Ce document fournit des informations sur l'utilisation correcte de l'appareil.
Lire ce document avant l'utilisation afin de vous familiariser avec les conditions environnementales, l'installation et le fonctionnement. Garder ce document pendant tout le temps d'utilisation de l'appareil.
Respecter les consignes de sécurité.
1.1 Symboles utilisés
Action à faire
Retour d'information, résultat
[...] Désignation d'une touche, d'un bouton ou d'un affichage
Reforence

Remarque importante
Le non-respect peut aboutir à des dysfonctionnements ou perturbations.

Information
Remarque supplémentaire
1.2 Avertissements utilisés

AVERTISSEMENT
Avertissement de dommages corporels graves.
Danger de mort ou de blessures graves irréversibles.

ATTENTION
Avertissement de dommages corporels.
Danger de blessures legères, réversibles.
INFORMATION IMPORTANTE
Avertissement de dommages matériels.
2 Consignes de sécurité
2.1 Remarques générales
Cette notice fournit des textes et des figures pour l'utilisation correcte de l'appareil et doit être lu avant installation ouemploi.
Respecter les indications de cette notice. Le non-respect de ces consignes, une utilisation en dehors des conditions définies ci-dessous, une mauvaise installation ou utilisation peuvent avoir des conséquences graves pour la sécurité des personnes et des installations.
2.2 Cible
Cette notice s'adresse à des personnes considérées comme compétentes selon les directives CEM et basse tension. L'appareil doit être monté, raccordé et mis en service par un électricien habilité.
2.3 Raccordement électrique
Mettre l'appareil hors tension en prenatal des mesures externes avant toutes manipulations. Le cas échéant,mettre également hors tension les circuits des charges des sorties alimentés séparément.
Si l'appareil n'est pas alimenté par le système électrique du vehicule (batterie 12/24 V), il faut s'assurer que cette tension externe est généraee et fournie selon les criteres de la base tension de sécurité (TBTS) car cette tension est utilisée sans aucune mesure de protection pour l'alimentation du système de commande raccordé, des capteurs et des actionneurs.
Le câblage de tous les signaux associés au circuit TBTS de l'appareil doit également être conforme aux critères TBTS (très BASSE tension de sécurité, isolation électrique sure des autres circuits).
Si la tension TBTS fournie est mise à la terre en externe (passage de TBTS à TBTP), ceci est fait sous la responsabilité de l'utiliseur dans le cadre des règlements nationaux en vigueur relatifs à l'installation. Toutes les informations fournies dans ce document sont relatives à l'appareil non mis à la terre par rapport à la tension TBTS.
Seuls les signaux spécifiés dans les données techniques et/ou sur l'étiquette de l'appareil doivent être raccordés et seuls les accessoires homologués d'ifm electronic gmbh doivent être utilisés.
2.4 Interventions sur l'appareil
En cas de mauvais fonctionnement de l'appareil ou en cas de doute prendre contact avec le fabricant. Les interventions sur l'appareil peuvent avoir des conséquences graves pour la sécurité des personnes et des installations. Elles ne sont pas autorisées et aboutissent à une exclusion de responsabilité et de garantie.
3 Fonctionnement et caractéristiques
BasicDisplay est un afficheur graphique programmable pour la commande, le paramétrage et la gestion des machines et installations mobiles.
Il communique avec d'autres composants du système via une interface CAN.
L'utilisation de composants de la gamme modulaire Basic permet de réaliser des extensions ou des adaptations spécifiques à l'application.

AVERTISSEMENT
L'appareil n'est pas homologué pour des applications de sécurité concernant la protection des personnes.
REMARQUE
L'appareil est prévu pour un montage sur carrosserie et non pour un montage à proximé immediate d'un moteur.
3.1 Aperçu des caractéristiques
- afficheur couleur 2,8"
- 5 touches de fonction rétroéclaires programmes
- bouton de navigation pour sélection de fonction
-
interface CAN
-
librement programmable selon CEI 61131-3 avec visualisation de la cible
3.2 Examples dapplications


Utilisable avec BasicController et capot Afficheur autonome intégré dans un tableau de
commande
3.3 Produits de la série Basic (exemples)
- BasicController (réference : CR040x)
Système de contrôle-commande pour engins mobiles, programmation libre selon CEI 61131-3
2 interfaces CAN (y compris l'interface pour BasicDisplay CR0451)
Entrées / sorties à configurer -
BasicRelay (réference : CR0421) Support de relais et fusibles à cabler librement pour 6 relais automobiles et 10 fusibles automobiles
-
Capot avec logement prévu pour l'afficheur (référence : EC0402) y compris le joint d'étanchéité du cable pour atteindre la protection IP 54
- Câble de raccordement (référence : EC0452) pour raccarder un BasicDisplay à un BasicController avec le capot EC0402
- Kit de montage RAM (réference : EC0405) pour BasicDisplay CR0451
Pour des informations sur la série Basic disponible visitor: www.ifm.com Nos produits Systèmes pour engins mobiles ou directement www.ifm.com Recherche d'une fiche technique p.ex. CR0451
4 Montage
4.1 Instructions de montage générales
4.1.1 Types de montage et accessoires nécessaires
| Type de montage Accessoires nécessaires N° de | commande | ||
| Montage p.ex. dans un tableau de commande Cadre de montage EC0403 | |||
| Kit de montage RAM® | p.ex. comme apparéil autonome avec orientation variable | Kit de montage RAM® | EC0405 |
| Montage p.ex. sur le tableau de commande -- | |||
| Combinaison avec BasicController CR040x Capot avec logement prévu pour l'afficheur | EC0402 | ||
4.1.2 FURNiture
L'appareil est fourni avec un écrou M52.
En général, cet écrou est nécessaire pour tous les types de montage.
Informations sur les accessoires disponibles sur notre site web à :
www.ifm.com Recherche d'une fiche technique CR0451 Accessoires
4.2 Montage encastré
Approprié pour des écaisseurs de matérielux jusqu'à 3 mm.
Faire une découpe carree.
Découpe pour montage encastré ( 8 Données techniques)
Enlever l'écrou M52 de l'appareil.
Positionner l'appareil dans la découvert.
Mettre le cadre de montage sur l'appareil par derriere.
Positionner l'écrou M52 sur l'appareil et le serrer manuellement.

Principé de montage
1:écrou M52
2: cadre de montage
3: tableau de commande
4: BasicDisplay

cadre de montage EC0403
4.3 Kit de montage RAM
Le kit de montage RAM®, disponible comme accessoire, permet l'utilisation de l'appareil comme apparéil autonome fixe. Deux rotules permettent une orientation adaptée de l'appareil.

Le kit de montage RAM® EC0405

Platine de montage avec rotule
1: Support d'afficheur
2: Bras de montage avec vis de fixation
3: Platine de montage avec rotules (2 pcs.)
Fixer la première platine de montage sur une surface plate.
Couple de serrage:5±0,5Nm
Fixer la deuxieme platine de montage sur le support d'afficheur.
Desserrer la vis de fixation du bras de montage légèrement.
Positionner le bras de montage sur les rotules et serrer la vis de fixation.

Dimensions des trous pour la platine de montage Support d'afficheur

1: Encliqueage
Insérer l'appareil dans le support d'afficheur et l'encliqueter. La partie inférieure du support d'afficheur est munie d'une ouverture pour permettre le passage du connecteur ou du cable.
4.4 Montage en surface
Approprié pour des écaisseurs de matérielux jusqu'à 3 mm.
Faire une découverte ronde et un perçage pour les broches d'alignement. Découpe pour le montage en surface ( 8 Données techniques)
Enlever l'écrou M52 de l'appareil.
Positionner l'appareil dans la découvert.
Positionner l'écrou M52 sur l'appareil et le serrer manuellement.

Principé de montage
1: écrou M52
2: tableau de commande
3: BasicDisplay

Découpe et perçage pour les broches d'alignement
4.5 Combinaison avec BasicController
4.5.1 Montage de l'afficheur dans le capot
Enlever l'écrou M52 de l'appareil.
Insérer l'appareil dans le logement du capot prévu pour l'afficheur.
Positionner l'écrou M52 sur l'appareil et le serrer manuellement.

Principé de montage

capot avec logement prévu pour l'afficheur
1:écrou M52
2: capot
3: BasicDisplay
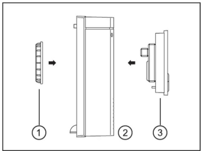
4.5.2 Montage du capot
Les capots de la série Basic sont équipés d'un verrouillage à levier unique. Le montage est effectué sans outils.

Capot avec logement prévu pour l'afficheur

BasicController
3: fentes réceptrices pour levier de verrouillage
1: levier de verrouillage
2: étrier de guidage
Pivoter le levier de verrouillage du capot vers l'avant.
Mettre le capot sur l'appareil en biais.
Insérer les deux étriers de guidage qui se trouvent dans la partie inférieure du capot dans les fentes réceptrices.
Pivoter le capot vers l'appareil.
Les deux étriers de guidage servent de point d'appui.
- Remetre le levier de verrouillage dans la position initiale.
Lecapostverrouillé.



1: BasicController
2: capot avec BasicDisplay monté
4.5.3 Enlever le capot
Pivoter le levier de verrouillage du capot vers l'avant.
Le capot est déverrouillé et peut être enlevé.
5 Raccordement electrique
5.1 Consignes générales de raccordement
Scheme de branchement ( 8 Données techniques)
Si l'appareil est utilisé comme afficheur autonome, prévoir une résistance à la traction pour le cable raccordé.

Connecteur M12: Couple de serrage maximal 1,5 Nm.
5.2 Fusible
Protégér la tension d'alimentation.
| Potentiel Désignation Broche no. Fusible | ||
| VBB S | tension d'alimentation 2 ≤ 2 A retardé |
FR
5.3 Accessoires de raccordement
Informations sur les accessoires disponibles sur notre site web à: www.ifm.com Recherche d'une fiche technique p.ex. CR0451 Accessoires
5.3.1 Exemple d'accessoires

Exemple d'accessoires et de raccordement
BasicController CR040x
Capot avec logement prévu pour l'afficheur EC0402
Câble de raccordement EC0452
6 Éléments de visualisation

1:LEDd'etat
Etats de fonctionnement ( 8 Données techniques)
7 Mise en service
7.1 Programmation
Le logiciel d'application peut être créé par l'utilisateur par le système de programmation CODESYS 2.3 conforme à CEI 61131-3.

AVERTISSEMENT
L'utilisateur est lui-même responsable pour un fonctionnement fiable du logiciel d'application créé par lui-même. En cas de besoin, il doit également faire effectuer une homologation par les organismes de contrôle correspondants selon les règlements nationaux en vigueur.
7.2 Documentations nécessaires
Outre le système de programmation CODESYS, les documents suivants sont nécessaires pour la mise en service et la programmation de l'ordinateil :
- manuel deProgramming CODESYS V2.3
(comme alternative, en tant qu'aide en ligne)
- manuel du système BasicDisplay
(comme alternative, en tant qu'aide en ligne)
Pour télécharger les manuels visitez le site web :
www.ifm.com Recherche d'une fiche technique CR0451 Plus de détails
Aide en ligne CODESYS et BasicDisplay :
www.ifm.com Support Téchéargement Systèmes de contrôle-commande*
*) zone de téléchargement avec enregistrement
7.3 Matériel nécessaire
Pour charger le logiciel d'application dans l'appareil, une interface CAN pour le raccordement à un PC ou un PC portable est nécessaire.
Exempl:
- Interface CAN/RS232-USB CANfox (référence : EC2112)
- Câble adaptateur pour CANfox (référence : EC2113)
Informations sur les accessoires disponibles sur notre site web à :
www.ifm.com Recherche d'une fiche technique CR0451 Accessoires
ou directement
www.ifm.com Recherche d'une fiche technique EC2112
8 Données techniques
| CR0451 |
| BasicDisplay |
| Affileur couleur 2,8" |
| 5 touches de fonction rétroéclairées programmables |
| Bouton en croix pour fonction de curseur 8...32 V DC |

| Données techniques Affileur graph | ue et programmable,utilisable avec BasicController ou comme affileur autonome |
| Affi chage | |
| Afficheur | afficheur couleur LCD TFT, transmissif |
| Format 57,6 x 43,2 mm (face active), 2,8'diagonal | |
| Résolution 320 x 240 pixels | |
| Rapport largeur / hauteur 4 : 3 | |
| Surface | fi lm polyester |
| Couleurs | 256 (8 bits) |
| Rétroéclairage | LED (durée de vie ≥50 000 h ; à 25 °C) |
| Luminosité | ≥ 300 cd/m2, typique 350 cd/m2 (réglable 0...100%, incrêments 1%) |
| Rapport de contraste | ≥ 400:1, typique 500:1 |
| Jeux de caractères | préinstallé : Arial, Lucida Console (tailles de police fixes)pour d'autres informations voir le manuel de système BasicDisplaywww.ifm.com → Recherche d'une fiche technique → CR0451 → Notice d'utilisation |
| Données mécaniques | |
| Dimensions (L x H x P) | 87,5 x 87,5 x 37,7 mm |
| Découpe pour le montage encastré (LxH) | 81,5 ± 0,5 x 81,5 ± 0,5 mm |
| Découpe pour le montage en surface(Ø) | 53 ± 0,5 mm |
| Trou pour la broche d'alignement (Ø) | 4,2 mm (distance de 33 mm au centre de la découpe) |
| Matière boîtier | plastique (noir) |
| Touches | 5 touches de fonction (touches en silicone) avec rétro-information tactileprogrammables (fonction touche calculable)durée de vie ≥ 750 000 appuis |
| Bouton en croix | fonction de curseur (en haut, en bas, à gauche, à droite) avec rétro-information tactiledurée de vie ≥ 750 000 appuis |
| Rétroéclairage des éléments de service | LED (luminosite régliable 0...100%, globale) |
| Indice de protection | IP 67(face frontale si monté, sinon IP 65) |
| Température de fonctionnement /stockage | -20...70°C / -30...80°C |
| Poids | 0,17 kg |
ifm electronic gmbh · Friedrichstraße 1 · 45128 Essen
Nos nous réservons le croit de modifier les données techniques sans preavis! CR0451 / page 1 16.01.2014
| CR0451 Données techniques | ||
| Caracteristiques électriques | ||
| Tension d'alimentation 8...32 V DC | rétroéclairage) | |
| Consommation 70 mA (à 24 V DC ; 100% | ||
| SurtensionD'étection de sous-tensionCoupure du circuit en cas de sous-tension | 36 V pour t ≤ 10 spour U8≤ 7,8Vpour U8≤ 7,0 V | |
| Proesseur Freescale PowerPC 5517E, 50 MHz | ||
| Mémoire (totale) 592 Kbytes RAM / 1536 | Kbytes Flash / 1 Kbytes FRAM | |
| Cloisonnement de la mémoire voir le ma | ||
| CANDébit de transmissionProfil de communication | http://www.ifm.com → Recherche d'une fiche technique → CR0451 → Notice d'utilisation | |
| Logiciel/programmation | ||
| Système de programmation CODESYS version 2.3 (CEI 61131-3) | ||
| Fonctions graphiques par visualisation intégrée de la cible | ||
| Caracteristiques supplémentaires | ||
| LED d'etat LED bicolore (rouge / verte) | ||
| Éats de fonctionnement (LED) | ||
| Normes d'essai et réglementsions | ||
| Le logo CE | EN 61000-6-2: 2005 | Compatibilité électromagnétique (CEM)Immunité aux parasites |
| EN 61000-6-4: 2007 | Compatibilité électromagnétique (CEM)Emission de parasites | |
| EN 61010-1: 2001 | Règles de sécurité pour apparciels électriques demesurage, de régulation et de laboratoire | |
| Marquage E1 | UN/ECE-R10 | Emission de parasitesImmunité aux parasites avec 100 V/m |
| Essais électriques | ISO 7637-2: 2004 | Impulsion 1, niveau de sévérité : IV ; état fonctionnel CImpulsion 2a, niveau de sévérité : IV ; état fonctionnel AImpulsion 2b, niveau de sévérité : IV ; état fonctionnel CImpulsion 3a, niveau de sévérité : IV ; état fonctionnel AImpulsion 3b, niveau de sévérité : IV ; état fonctionnel AImpulsion 4, niveau de sévérité : IV ; état fonctionnel AImpulsion 5, niveau de sévérité : III ; état fonctionnel C(Les indications s'appliquent au système 24 V)Impulsion 4, niveau de sévérité : III ; état fonctionnel C(Les indications s'appliquent au système 12 V) |
ifm electronic gmbh · Friedrichstraße 1 · 45128 Essen
Nos nous réservons le croit de modifier les données techniques sans preavis! CR0451 / page 2 16.01.2014
| CR0451 Données techniques | ||
| Essais climatiques EN 60068-2-30: 2006 | Chaleur humide, cyclique température supérieure 55°C, nombre de cycles 6 | |
| EN 60068-2-78: 2002 Chaleur humide, permanente température d'essai 40°C / 93% d'humidité relative durée d'essay : 21 jours | ||
| EN 60068-2-52: 1996 Essai de brouillard salin niveau de sévérité 3 (véhicules routiers) | ||
| Essais mécaniques ISO 16750-3 : 2007 | Essai VII ; Vibrations, aléatoires lieu de montage : carrosserie | |
| EN 60068-2-6: 2008 Vibrations, sinus 10...500 Hz ; 0,72 mm/10 g; 10 cycles/axe | ||
| ISO 16750-3 : 2007 Secousses 30 g/6 ms ; 24000 chocs | ||
| Tests pour applications ferroviaires | EN 50155 partie 12-2: 2008 Equipements Electroniques utilisés sur le matériel roulant | |
| EN 50121: 2006 Compatibility electromagnétique (CEM) | ||
| Face arrêté de l'appareil | 1: connecteur M12 2: filage M52 pour écrou 3: broche d'alignement | |
| Raccordement connecteur M12, codage | A, 5 pôles | |
| Schéma de branchement | alimentation, CAN | |
| 2 1 5 3 4 | 1 2 3 4 5 n.c. = non raccordé 8...32 V DC GND CAN_H CAN_L | |
ifm electronic gmbh · Friedrichstraße 1 · 45128 Essen
Nosoureservonsledroittode modifierlesdonnéestechniques sansprévis!CR0451/page3 16.01.2014
9 Maintenance, réparation et élimination
9.1 Entretien
L'appareil ne contientaucun composant réparable par l'utilisateur.
9.2 Nettoyage de la surface du boitier
Mettre l'appareil hors tension.
Enlever les salissures avec un chiffon doux, sec et non traité chimiquement.
En cas de salissures tenaces, utiliser un chiffon humide.

Les moyens suivants ne sont pas appropriés pour nettoyer l'appareil :
Des produits chimiques qui dissolvent le plastique, comme par exemple de l'alcool à brûler, du petrole, du diluant, de l'alcool, de l'acétone ou de l'ammoniac.

Nous recommends des chiffons en microfibres sans additifs chimiques.
9.3 Réparation
L'appareil ne doit être réparé que par le constructeur.
Prendre en compte les consignes de sécurité ( 2.4 Interventions sur l'appareil)
9.4 Elimination des déchets
Respecter la reglementation du pays en vigueur pour la destruction ecologique de l'appareil.
10 Homologations/normes
Normes d'essai et réglementations ( 8 Données techniques)
La Déclaration de Conformité CE et les homologations sont disponibles à: www.ifm.com Recherche d'une fiche technique CR0451 Plus de détails
Notice Facile