AC5228 - Interface IFM - Notice d'utilisation et mode d'emploi gratuit
Retrouvez gratuitement la notice de l'appareil AC5228 IFM au format PDF.
| Caractéristiques techniques | Non spécifiées |
|---|---|
| Utilisation | Non spécifiée |
| Maintenance et réparation | Non spécifiée |
| Sécurité | Non spécifiée |
| Informations générales | Non spécifiées |
FOIRE AUX QUESTIONS - AC5228 IFM
Questions des utilisateurs sur AC5228 IFM
0 question sur cet appareil. Repondez a celles que vous connaissez ou posez la votre.
Poser une nouvelle question sur cet appareil
Téléchargez la notice de votre Interface au format PDF gratuitement ! Retrouvez votre notice AC5228 - IFM et reprennez votre appareil électronique en main. Sur cette page sont publiés tous les documents nécessaires à l'utilisation de votre appareil AC5228 de la marque IFM.
MODE D'EMPLOI AC5228 IFM
Fonctionnement et caractéristiques
- Nombre maximal de modules par maître : 31 (AC5227) et 62 (AC5228 / AC5243)
- Version AS-interface 3.0, compatibilité descendante
- Raccordement pneumatique par tubes rilsan, calibre extérieur selon la norme CETOP RP 54 P
- Plage de pression de service 2...8 bar
Une utilisation en dehors de la plage de pression de service indiquée ou une utilisation d'air comprime non conforme aux specifications peut cause des defaults d'échéité permanents ou des dommages irréversibles aux composants pneumatiques et mener à un mauvais fonctionnement.

Eléments de service et d'indication

Eléments sans fonction. Ne pas ouvrir, ne pas actionner. Risque de destruction.
Montage
Consignes de montage à partir de la page 26.
Adressage
A la livraison, l'adresse est 0.
Adressage avec l'unité d'adressage AC1144
Le module monté et cable peut être adressé via le cordon d'adressage (E70213) par l'interface d'adressage implémentée.
Si un esclave avec le mode d'adressage etendu est utilisé en combinaison avec un maître de la première génération (version 2.0), le paramètre P3 doit être à 1 et le bit de sortie D3 doit être à 0^ . Le bit de sortie D3 et le bit de paramètre P3 ne doivent pas être utilisés.
- réglage par défaut
Si un esclave avec le mode d'adressage étendu est utilisé en combinaison avec un maître de la première génération (version 2.0), une adressse entre 1A et 31A doit être affectée à cet esclave.
Raccordement électrique
Raccorder les connecteurs des capteurs aux prises M12.
Couvir les prises non utilisées avec des bouchons de protection (E73004)*, la prise d'adressage avec le bouchon de protection fourni. Couple de serrage 0,6...0,8 Nm.
Afin de garantir le degré de protection IP 67 vous devez également
- utiliser le joint d'étanchéité pour l'extrémité du cable plat (E70413)* si le module se trouve à l'extrémité du faisceau.
-
raccorder l'échévement via un tube pneumatique
-
à commander séparément

Si l'AirBox est utilisé avec silencieux, il a seulement la protection IP65.
AC5227
2 entrées / 2 sorties pneumatique
Profil AS-i S-3.F.F / mode d'adressage étendu : non
| Bit de données D0 D1 D2 D3 | ||||
| Entrée 1234 | ||||
| Prise 1-1 1-2 -- | ||||
| Broche 2+4 2+4 -- | ||||
| Sortie pneumatique -- 2 4 | ||||
Entrées (standard)

AC5228
4 entrées / 2 sorties pneumatique
Profil AS-i S-7.A.E / mode d'adressage etendu : oui
| Bit de données D0 D1 D2 D3 | ||||||
| Entrée 1 2 3 4 | ||||||
| Prise 11/2 11/2 12 13/4 4 13/4 14 | ||||||
| Broche 4 2 4 4 2 4 4 2 4 | ||||||
| Sortie pneumatique 2 4 - | - | |||||
AC5243
4 entrées / 2 sorties pneumatique
Profil AS-i S-7.A.E / mode d'adressage étendu : oui / AUX
| Bit de données D0 D1 D2 | D3 | |||||
| Entrée 1 2 3 4 | ||||||
| Prise 11/2 11/2 12 13/4 13/4 | 14 | |||||
| Broche 4 2 4 4 2 4 | ||||||
| Sortie pneumatique 2 4 - - | ||||||
Entrées (circuit en Y)

Pneumatique
Diagramme circuit pneumatique 2 x electrodevanne 3/2

Air comprimé
Suivre les prescriptions de sécurité et les règlements pour l'installation de systèmes pneumatiques. Mettre l'installation hors pression. Raccorder l'alimentation en air compré 1, les connexions vérin 2 et 4 et, si nécessaire, les échappements 3 et 5 au système pneumatique. Couper droit les tuyaux et les pousser dans les raccords.
Déconnexion des tuyaux
Pour enlever les tuyaux appuyer sur l'anneau de pression gris et tirer le tuyau en même temps.
Commande manuelle
Vour pouvez actionner manuellement la sortie pneumatique à l'aide de la commande manuelle (appuyer/relâcher ou appuyer/tourner/verrouiller). Pour un fonctionnement sans problèmes, de l'air suffisamment traité doit être utilisé.

La commande électrique est prioritaire sur la commande manuelle.
Spcification de la puretete de l'air comprime
La pureté de l'air est divisée en trois classes selon ISO 8573-1:2001 :
- La classe de pureté des impuretés solides
- La classe de pureté pour la teneur en humidité
- La classe de pureté pour la teneur totale en huile
Les modules AirBox sont appropriés pour l'air comprimé sans lubrifiant des classes de pureté 6-3-1 et pour l'air comprimé lubrifié des classes de pureté 6-3-4.
Signification :
- Impuretés solides selon la classe 6 : Grandeur maximum des particules 5 m , densité maximum des particules 5mg / m^3
-
Teneur en eau maximum selon la classe 3 : Point de rosée -20°C
-
Teneur totale en huile selon la classe 1 : pour l'air sans lubrifiant 0,01mg / m^3 Teneur totale en huile selon la classe 4 : pour l'air lubrifié < 5mg / m^3 ,ILA correspond a env. 1 goutte d'huile / 4000 litres d'air
Si l'AirBox est utilisé une première fois avec de l'air lubrifié, il doit ensuite toujours être utilisé avec de l'air lubrifié (la lubrication initiale n'est plus effective des que l'on a utilisé de l'air lubrifié).
Compatibilité electromagnétique (CEM):
L'AirBox est unconçu pour le fonctionnement dans des environnements industriels.
Le test de décharge electrostatique a été déterminé selon EN 61000-4-2 avec les niveaux de test suivants :
- décharge par contact ±4 kV
- décharge par air ±8 kV
Des applications spécifiques comme par exemple le transport et la distribution de matières en vrac peuvent générer des charges electrostatiques plus fortes.
Pour éviter des décharges electrostatiques les/remèdes suivants sont possibles,entre autres:
- compensation de potentiel selon les instructions d'installation
-
pose séparée de
-
câbles de signaux et cables bus
- conducteurs d'équipotentialité
-
câbles d'alimentation
-
séparation physique de l'AirBox et tous les cables de toutes partiesChargees electrostatiquement ou dérivant des charges electrostatiques.
Si ces décharges ne sont pas évitées il y a un risque de :
- blessure ou atteinte au personnel d'opération et d'entretien
- formation d'étincelles
- déterioration de l'AirBox
- déterioration de l'équipement électrique
Fonctionnement
Eviter les dépôts de souillure et de poussières sur l'embase et la partie supérieure afin que le mécanisme de verrouillage ne soit pas affecté.
Vérifier le bon fonctionnement de l'appareil. Affichage par LED :

- LED 2 jaune : entrée commutée
- LED PWR verte : alimentation en tension AS-i ok LED FAULT rouge allumée :
erreur de communication AS-i, l'esclave ne participe pas à l'échange de données "normale", par ex. adressé d'esclave 0
- LED FAULT rouge clignote : défaut périphérique, par ex. surcharge ou court-circuit de l'alimentation capteur
Informations importantes sur la LED AUX et la LED 1
-
LED AUX verte: Alimentation AUX ok (AC5243) La mise sous tension de l'alimentation AUX est uniquement indiquée si l'alimentation AS-i est disponible aussi.
-
LED 1 jaune: Indique uniquement l'etat logique des sort-ties API. L'etat de commutation pneumatique ne correspond pasforcément à l'etat de la LED 1 indiqué.
- L'etat de commutation pneumatique n'est pas indiqué sur l'ordinateil.
Entretien / Réparation
Le produit ne doit pas etre modifie, aucune réparation n'est possible. En cas de défaut veuilles contacter le fabricant.
Données techniques
Données techniques et informations supplémentaires sur www.ifm-electronic.com --> Select your country --> Fiche technique
Montage / Assembly


Orientation du cable plat à la livraison
Posez le cable plat AS-i jaune et en option le cable plat AS-i noir (AC5253) soigneusement dans le guide profilé.
Montez la partie supérieure.



Verrouillez l'appareil.
L'embase fournie permet l'orientation du cable plat dans trois directions.
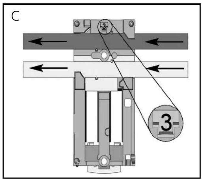
Posez le guide du cable plat en fonction (1) de la direction souhaitation.



Réglages sur l'embase
Selectionnez la position 1, 2 ou 3 selon l'orientation du cable plat () .
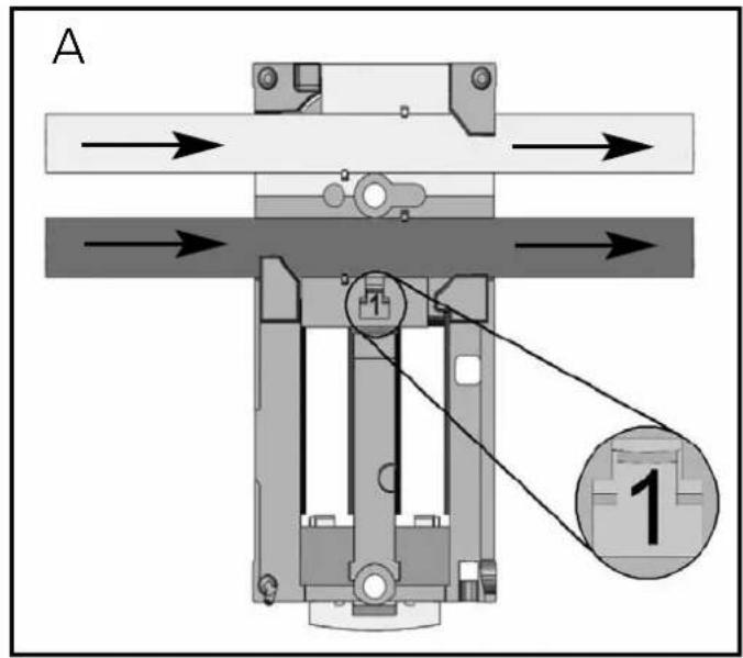
A = Appareil livre



Réglages sur la partie supérieure
Réglez ensuite la position selec-tionnée sur la partie supérieure. Pour ce faire, tournez la flèchesur le nombre correspondant (figure D1 et D2).
Utilisez un outil, par ex. un tournevis (figure D1) ou le guide du cable plat jaune / noir (figure D2).
Gerät öffnen / Open the unit / Ouvrir l'appareil

Ouvrez l'appareil à l'aide d'un outil comme indiqué (par ex. tournevis).


Poser le cable plat AS-i soigneusement, avec une longueur droite minimum d'environ 15 cm.
Notice Facile