Forza Goal - But de football EXIT - Notice d'utilisation et mode d'emploi gratuit
Retrouvez gratuitement la notice de l'appareil Forza Goal EXIT au format PDF.
| Caractéristiques | Détails |
|---|---|
| Type de produit | But de football EXIT Forza Goal |
| Dimensions | Dimensions spécifiques non fournies |
| Matériaux | Structure en acier, filet en polyéthylène |
| Utilisation | Idéal pour les entraînements et les matchs de football |
| Installation | Montage facile avec instructions fournies |
| Maintenance | Vérifier régulièrement la tension du filet et l'état de la structure |
| Sécurité | Doit être installé sur une surface plane et stable |
| Garantie | Garantie constructeur non spécifiée |
| Accessoires inclus | Fixations pour le montage |
| Informations supplémentaires | Produit conçu pour un usage extérieur |
FOIRE AUX QUESTIONS - Forza Goal EXIT
Questions des utilisateurs sur Forza Goal EXIT
0 question sur cet appareil. Repondez a celles que vous connaissez ou posez la votre.
Poser une nouvelle question sur cet appareil
Téléchargez la notice de votre But de football au format PDF gratuitement ! Retrouvez votre notice Forza Goal - EXIT et reprennez votre appareil électronique en main. Sur cette page sont publiés tous les documents nécessaires à l'utilisation de votre appareil Forza Goal de la marque EXIT.
MODE D'EMPLOI Forza Goal EXIT
Attention! RISQUE D'ETOUFFEMENT! - Petites pièces. Pas pour les enfants de moins de 3 ans. Assemblé par un adulte. Ce produit doit, à tout moment, être utilisé sous la surveillance d'un adulte. POUR UTILISATION EN EXTERIEUR UNIQUÉMENT. Uniquement destiné à un usage domestique.
English4
Deutsch8
Nederlands12
François16






1.0 Introduction
Vous venez de faire l'acquisition du EXIT Forza but de football ; nous vous en félicitons!
S'amuser, être actif et jouer dehors
Nous faisons tout notre possible pour développer des produits sûr pour les enfants. Étant donné que nos produits sont classés comme étant des jouets, nous nous conformons aux réglementations de sécurité des consommateurs les plus rigoureuses. Avant de commercialiser nos produits, nous faisons réaliser des tests indépendants en vue d'obtenir la certification. Nous testons également en continu nos cycles de production et faisons régulièrement réaliser des tests indépendants à titre de contrôle supplémentaire. Seuls les produits qui se montrent à la hauteur de la norme EXIT Toys la plus rigoureuse sont porteurs de l'étiquette EXIT Toys.
Nous souhaitons vous remercier pour l'achat de ce produit et pour votre fidélité. Nous sommes sûrs que vos enfants s'amuseront autant que nous nous sommes amusés durant la phase de développement. Nous sommes très ouverts et preneurs de tous les commentaires et idées qui pourraient nous aider à améliorer nos produits et à en développer de nouveaux. Vous êtes invités à nous envoyer vos idées à info@exittoys. com.
Découvrez le monde de EXIT Toys, ses produits de divertissement branchés et ses nouvelles sur www.exittoys.com.
L'équipe EXIT Toys.
2.0 Consignes de sécurité:
Pour simplifier l'assemblage, veuillez suivre les instructions suivantes avant de commencer. Une personne supplémentaire serait utile pour faciliter l'assemblage.
Conserve ce manuel pour un réassemblage futur.
- Lorsque la cage est utilisée par des enfants, la surveillance permanente d'un adulte est requise.
- Ne laissez jamais les enfants grimper sur la cage, car cela peut entraîner la chute de la cage et causer des blessures graves ou la mort.
- Pour réduire le risque d'enchevêtrement, gardez toujours les petits enfants à distance du filet.
- Une fois correctement assemblée et convenablement utilisée, cette cage est conçue pour procurer de nombreuses heures de jeu et de plaisir.
- L'armature métallique de la cage de football est conductrice d'électricité. Les lumières, rallonges électriques et tout appareillage électrique analogue ne doit jamais entrer en contact avec la cage de football.
- Inspectez la cage de football avant chaque utilisation. Assurez-vous que les bandes et toutes les pièces soient correctement et solidement installées et fixées. Serrez toutes les vis lâches. Remplacez toutes les pièces usées, défec-tueuses ou absentes.
- Portez des vêtements susceptibles de crochets, de déchirures, de cordons ou de tout ce qui peut s'accrocher dans la maille de la cage de football. Retirez bijoux, colliers et boucles d'oreille.
- Lisez toutes les instructions et finissez l'assemblage avant d'utiliser cette cage.

Toujours ancrer la cage
Une cage non sécurisée peut tomber, entraînant de sérieuses blessures ou la mort!
3.0 Instructions d'assemblage et d'installation
- Une hauteur libre suffisante est essentielle. Veillez à un dégagement suffisant pour les fils, branches d'arbre, et autres risques possibles.
- Un dégagement suffisant est essentiel. Placez la cage de football loin des murs, structures, barrières, et autres obstacles. Maintenez un espace libre de tous les côtés de la cage de football. Un minimum de 3m depuis le bord de l'armature est recommandé.
- La cage de football est lourde, deux adultes sont exigées pour l'installer.
- Portez des vêtements et des chaussures appropriés, le non-respect de ces instructions peut entraîner des blessures ou des dommages à la cage.
- N'installez jamais la cage de football sous une forte pluie, dans des conditions de vent ou d'orage, particulièrement d'orage. Il est recommandé de démonter et de stocker la cage de football.
- En cas de déplacement de la cage de football assemblée, veillez à ce que deux personnes au moins soulevvent la cage de football par l'armature.
- Placez la cage de football sur une surface horizontale avant utilisation.
- Sécurisez la cage de football pour éviter une utilisation non autorisée et non surveillée.
4.0 Instructions d'entretien
Inspectez les pièces de la cage de football avant chaque utilisation et remplacez toute pièce usée, défectueuse ou manquante.
Les situations suivantes peuvent présenter des risques :
- Pièce de l'armature manquante, mal installée ou mal fixée, barrière ou enceinte.
- Piqûres, usures, déchirures, ou trous dans la maille de la cage de football.
- Armature courbe ou cassée.
- Saillies pointues sur l'armature ou la suspension.
- Visserie détachée ou absence, système.
5.0 Conditions de garantie et service après-vente
Le propriétaire du produit de EXIT Toys bénéficie des garanties suivantes sur ce produit :
- 5 ans après date d'achat sur le cadre (avec un emploi normal).
- 6 mois sur toutes les autres pièces (avec un emploi normal).
- La garantie couvre uniquement les défauts des matériaux ou de construction des produits, ou des parties du produit.
La garantie n'est pas applicable et/ou est annulée dans les cas suivants:
- Le produit a été manipulé sans aucun soin raisonnable, a été impliqué dans un accident ou a été équipé de pièces non approuvées.
- Le produit n'a pas été assemblé conformément aux instructions ou n'a pas été correctement entretenu.
- Les pièces montées ultérieurement ne correspondent pas aux caractéristiques techniques du produit ou les pièces utilisées ne sont pas d'origine ou n'ont pas été correctement montées.
- Le produit draisienne est utilisé à des fins professionnelles (location, écoles, etc.).
- Les réparations n'ont pas été effectuées de manière professionnelle.
Le propriétaire du vélo draisienne peut déposer une réclamation de garantie en fournissant la facture d'achat d'origine à Dutch Toys Group ou au revendeur à qui le produit a été acheté.
Si la demande de garantie n'est pas approvée, tous les frais seront facturés au propriétaire.
La garantie n'est pas cessée à des tiers.

1 Top Cross beam A 1pc (Φ76mm)

2 Barres transversales supérieures B 2pcs (Φ76mm)


FR: Fixez les deux barres transversales supérieures B (2) à la barre transversale supérieure A (1) avec deux boulons M8x20 mm (12), deux rondelles-ressorts (13) et deux rondelles en arc (14), comme représenté.

FR: Cherchez le tube en L qui doit être placé en haut à droite (4), portant le chiffre 4. Fixez le tube en L qui doit être placé en haut à droite (4) aux barres transversales supérieures B (2) avec le boulon M8x20 mm (12), la rondelle-ressort (13) et la rondelle en arc (14), comme représenté.

FR: Glissez l'assemblage de l'étape 2 dans les manchons supérieurs du filtre (15) comme montré ci-dessous.

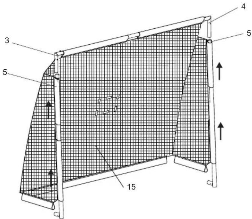
FR: Cherchez le tube en L qui doit être placé en haut à gauche (3), portant le chiffre 3. Fixez le tube en L qui doit être placé en haut à gauche (3) aux barres transversales supérieures B (2) avec le boulon M8x20 mm (12), la rondelle-ressort (13) et la rondelle en arc (14), comme représenté.

Glissez chaque Poteau Lateral Avant (5) dans les manchons supérieurs du filet (15) comme montré ci-dessous. Insérez les Poteaux latéraux avant (4) dans le L-Tube Gauche (1) et le L-Tube Droit (3) jusqu'à ce que le bouton s'emboîte correctement comme sur le dessin.

FR: Cherchez le coin inférieur gauche (8) et le coin inférieur droit (9), portant respectivement les chiffres 8 et 9. Glissez l'Angle Gauche Inférieur Arrière (8) dans le manchon de fillet (15) et pressez l'Angle Inférieur Arrière Gauche (8) sur le Poteau Lateral Avant (5) jusqu'à ce que le bouton s'emboite correctement, comme sur le dessin. Répétez l'étape ci-dessus pour installer l'Angle Inférieur Arrière Droit (9). Attachez ensuite avec deux boulons M8x55mm (16), M8 arcrondelle (14) et deux écrous nylstop M8 (17) comme illustré, et serrez avec une clef allen (19) et la clef (20).

FR: Pressez la Poutre Transversale Inférieure B (7) dans les deux Poutres transversales Inférieures (7) jusqu'à ce que les boutons s'emboîtent correctement, comme sur le dessin.

FR: Glissez l'assemblage de l'étape 7 dans le manchon moyenne inférieure du fillet (15) et insérez l'assemblage dans l'Angle Inférieur Arrière Gauche (8) et l'Angle Inférieur Arrière (9) jusqu'à ce que le bouton s'emboîte correctement, comme sur le dessin.

FR: Insérez le Tube Coudé Arrière Supérieur (6) dans le Poteau Lateral Arrière (7) comme sur le dessin. Assurez-vous que le bouton s'emboîte correctement.

FR: Insérez chaque Poteau Lateral Arrière (7) sur l'Angle Gauche Inférieur Arrière (8) et l'Angle Droit Inférieur Arrière (9) jusqu'à ce que le bouton s'emboîte correctement, comme sur le dessin. Reliez chaque Tube Coudé Supérieur Arrière (6) au Tube Coudé Supérieur Gauche (3) et au Tube Coudé Supérieur Droit (4) avec deux boulons M8x95mm (18) et deux M8 écrou rondelles (14) comme sur le dessin. Utilisez la clé Allen (17) pour serrer les boulons.
Step 10
Schritt 10
Stap 10
I'Etape 10

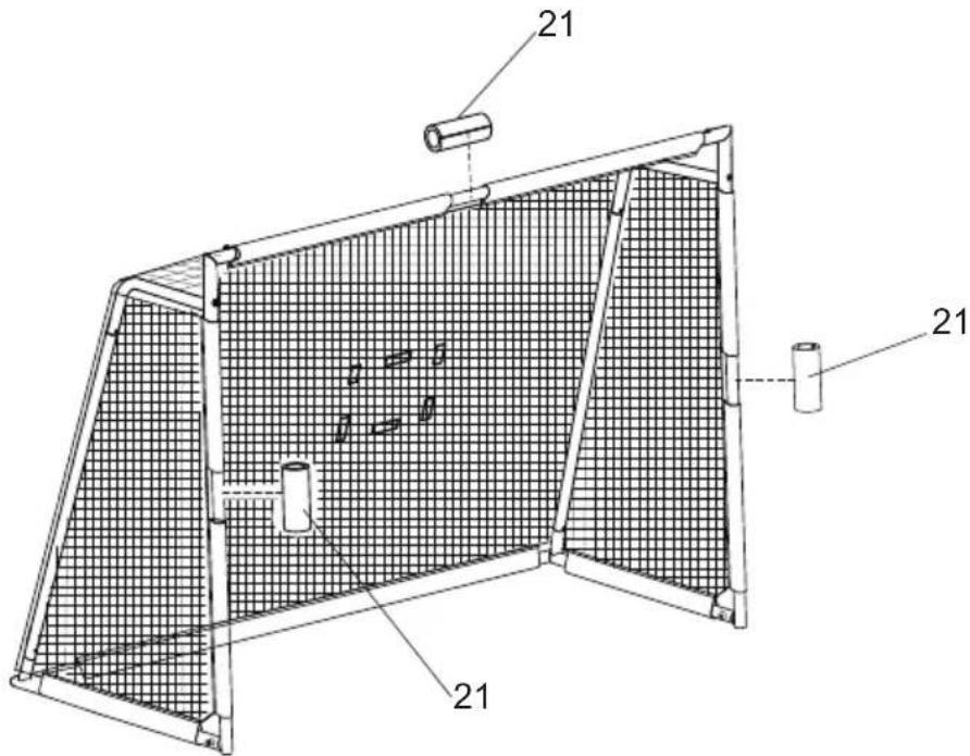
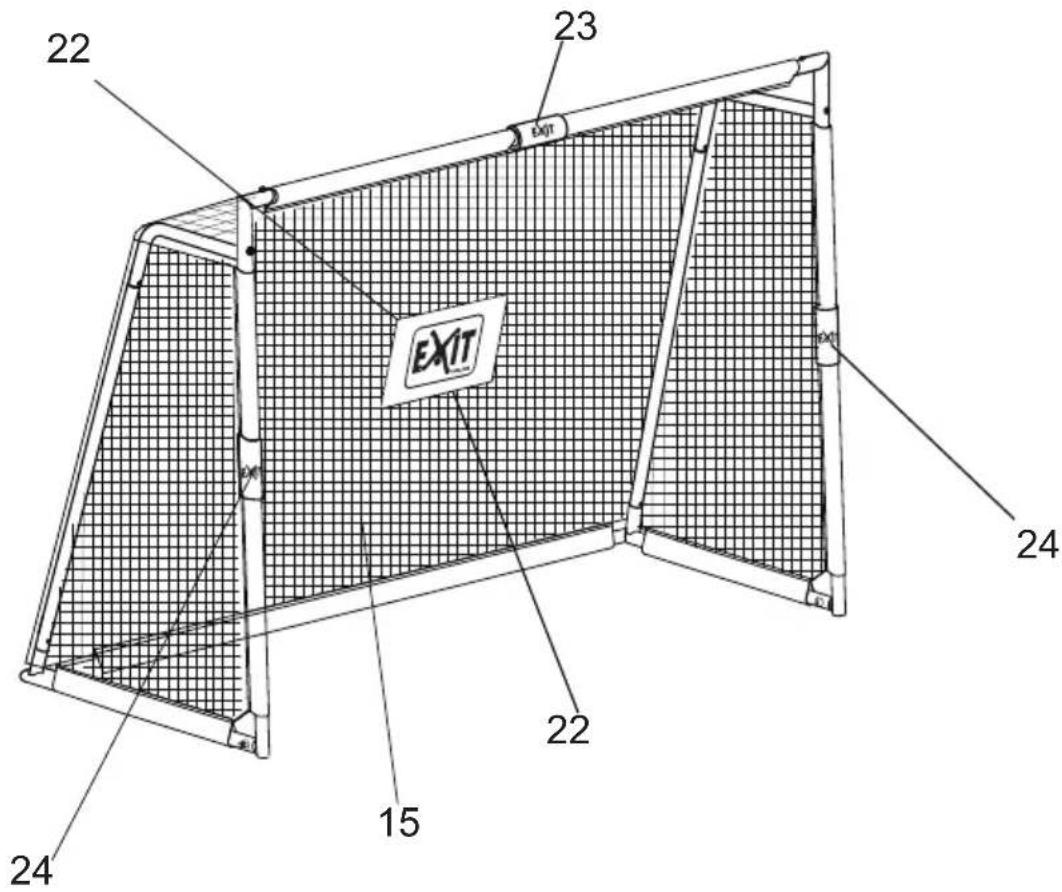
FR: Installez trois morceaux de mousse (21) comme sur le dessin.

FR: Recouvrez les trois blocs de mousse (21) avec les Petit Logos (23 + 24). Ajoutez ensuite le Grand Logo (22) sur l'avant et le dos du Filet (15).

FR: Insérez le Tube d'Anchorage (10) dans l'Angle Inférieur Avant (5) comme sur le dessin. Assurez-vous que le bouton s'emboîte correctement.

FR: Choisissez d'abord une surface plate de terre ou d'herbe, assurez-vous que l'unité d'assemblage soit éloignée d'au moins 3m d'autres structures ou obstacles. Enforcez alors les deux Pointes de fixation au sol (13) correspondant dans aux deux tubes d'ancrage (12) avec un maillet métallique ou en caoutchouc. Insérez ensuite le tube d'ancrage (12) dans la Pointe de fixation au sol (13) comme sur le dessin.
REMARQUE: si vous retirez le filet des piquets de sol, couvrez les piquets de sol (11) avec les capuchons de protection (25).

Notice Facile