VT 40 SB - Contrôle climatique INVENTUM - Notice d'utilisation et mode d'emploi gratuit
Retrouvez gratuitement la notice de l'appareil VT 40 SB INVENTUM au format PDF.
| Caractéristiques techniques | Appareil de contrôle climatique INVENTUM VT 40 SB, conçu pour maintenir une température et une humidité optimales. |
|---|---|
| Capacité | 40 litres |
| Type d'appareil | Déshumidificateur |
| Consommation énergétique | Classe énergétique A |
| Niveau sonore | 35 dB |
| Dimensions | Dimensions compactes pour un placement facile dans divers espaces |
| Poids | 10 kg |
| Utilisation | Idéal pour les espaces intérieurs tels que les sous-sols, les salles de bains et les buanderies. |
| Maintenance | Filtres lavables, réservoir d'eau amovible pour un nettoyage facile. |
| Sécurité | Protection contre le débordement d'eau, arrêt automatique lorsque le réservoir est plein. |
| Informations générales | Garantie de 2 ans, service après-vente disponible. |
FOIRE AUX QUESTIONS - VT 40 SB INVENTUM
Questions des utilisateurs sur VT 40 SB INVENTUM
0 question sur cet appareil. Repondez a celles que vous connaissez ou posez la votre.
Poser une nouvelle question sur cet appareil
Téléchargez la notice de votre Contrôle climatique au format PDF gratuitement ! Retrouvez votre notice VT 40 SB - INVENTUM et reprennez votre appareil électronique en main. Sur cette page sont publiés tous les documents nécessaires à l'utilisation de votre appareil VT 40 SB de la marque INVENTUM.
MODE D'EMPLOI VT 40 SB INVENTUM
Mode d'emploi Inventum Ventilateur sur pied, VT40SB. Lisez ce mode d'emploi très attentivement avant d'utiliser votre apparéil et conservez-le précieusement pour le consulter éventuellesment plus tard.

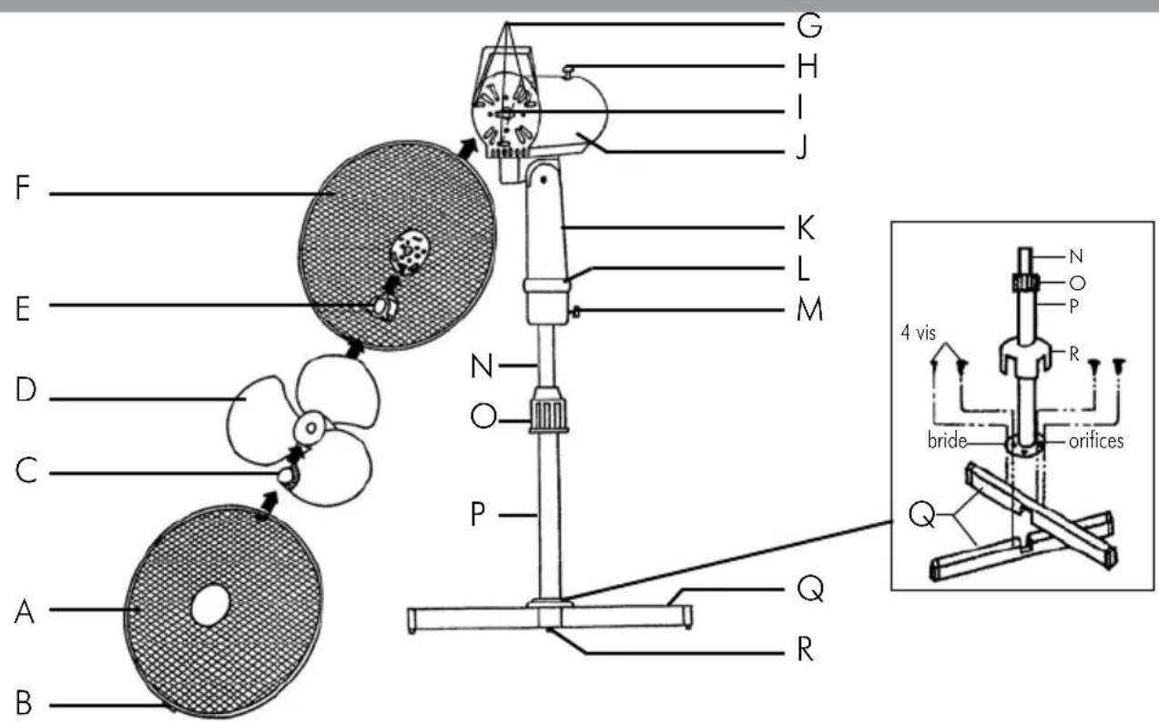
A Partie avant avec bague de plastique pour la protection
B Vis de serrage de la protection avant/arrière
C Couvercle des pales du ventilateur
D Pales du ventilateur
E Ecrou de blocage de la protection arriere
F Protection arriere
G Goujons ronds (3)
H Bouton d'oscillation
I Axe du moteur
J Unite du moteur
K Corps du ventilateur
L Bouton de selection de la vitesse (tournant)
M Vis de réglage du corps
N Tube interieur
Vis de réglage de la houteur
P Tube extérieur
Q Barre de laasse (2 parties)
R Couvercle de la base
EXPLICATION DES SYMBOLES

Les petits apparèils domestiques doivent être mis au rebut dans des conteneurs spéciaux ou aux points de collecte réservés à cet usage.
CONSIGNES DE SECURITE
- Lisez ce mode d'emploi très attentivement avant d'utiliser votre apparéil et conservez-le précieusement pour le consulter éventuellesment plus tard.
- Utilisez uniquement cet appeareil pour les usages décrits dans ce mode d'emploi.
- Attention: n'introduisez pas toute sorte objets à travers la grille de protection lorsque le ventilateur toume.
- Branchez l'appareil uniquement sur du courant alternatif, sur une prise de terre murale, ayant un voltage correspondant à celui qui est indiqué sur la plaque technique de l'appareil.
- Ne pliez jamais le cordon électrique d'une manière trop serrée et ne le laisses pasPENDRE au-dessus d'eléments brûlants.
- Déroulez totalement le cordon électricque afin d'éviter tout risque de surchauffe du cordon.
- Ne posez jamais l'appareil à proximé d'appareils qui diffusent de la chaleur, tels que jours, cuisinières à gaz, plaques de cuisson, etc.
Maintenir l'appareil à une certaine distance des murs ou autres objets qui pourraient facilement prendre feu tels que rideaux, serviettes (coton ou papier), etc.
- Veiliez à ce que l'appareil soit toujours posé sur une surface stable et plane.
- Ne laissez pas votre apparéil sans surveillance si celui-ci est en marche.
- Si vous voulez déplacer l'appareil, assurez-vous que celui-ci est bien débranché.
- N'utilise pas l'appareil si la fiche de l'appareil, le cordon électrique ou l'appareil lui-même sont endommagés, ou bien si l'appareil ne fonctionne plus comme il se doit, ou bien s'il est tombé ou alors encore s'il a été endommaged d'une autre manière. Consultez alors votre commercant ou notre service technique. Ne changez enaucun cas vous-même la fiche de l'appareil ou le cordon électrique. Les réparations effectuees sur des appareils électriques doivent être exclusivement faites par des réparateurs qualifiés. Des réparations qui ne seraient pas correctement effectuees pourraient partager de graves dangers pour l'utilisateur. N'utilise jamais l'appareil avec des pieces qui ne soient pas recommandées ou livrées par le fabricant.
- Si vous n'utilise pas votre apparéil ou si vous doivent rester le nettoyer, éteignez totalement l' apparéil et retirez la fiche de l' apparéil de la prise de contact.
- Ne pas tirer sur le cordon électrique ni sur l'appareil lui-même pour-retirer la fiche de la prise de courant murale. Ne jamais toucher l'appareil avec les mains mouillées ou humides.
- Ne jamais laisser l'appareil à la portée des enfants. Les enfants ne sont pas conscients des dangers qui peuvent exister lors de l'utilisation d'appareils électriques. C'est pourquoi vous ne doivent jamais laisser un enfant se servir de cet apparéil sans surveillance. Veillez à ce que l'apparéil soit toujours rangé de telle sorte que les enfants ne puissant pas y acceder.
- Vous ne pouze utiliser une rallonge électrique que si le voltage et la puissance sont les mêmes (voir plaque technique) ou plus élevés que ceux du cordon livré avec l'appareil. Utilisez toujours une rallonge de cordon électrique de terre qui soit conforme aux normes de sécurité.
Si you decide de ne plus utilise l'appareil en raison d'une panne ou d'une defectuosite, nos you conseillons als, une fois aoei retire la fiche de la prise de courant murale, de couper le cordon electrique. Emportez l'appareil au service correspondant de voe commune.
Si I'appareil, une fois mis en marche, ne fonctionne pas, il se peut alors que cela vienne du fusible ou du disjoncteur miniature dans la boite de répartition électrique. Le groupe est peut-être trop chargé ou bien il y a eu du courant de fuite de terre. - En cas de perturbation ou de panne, n'essayez jamais de réparer vous-même l'appareil; si la sécurité de l'appareil a sauté, cela peut pouvoir indiquer une défectuosity dans de système de chauffe, et ceci ne peut pas se réparer en enlevant ou en remplaçant cette sécurité. Il est indispensable d'utiliser exclusivement des pieces détachées d'origine.
- Ne plongez jamais l'appareil, le cordon électrique ou la fiche de l'appareil dans de l'eau.
- Ce appeareil a ete concu uniquement pour un usage domestique. Si cet appeareil a ete utilisé d'une maniere abusive, il ne pourra etre question de dommages et intérêts en cas de panne, et tout droit de garantie sera annulé.
UTILISATION
Retirez tout le matériel d'emballage et gardez-le hors de portée des enfants. Àpres avoir retire le ventilateur de son emballage, contrôle minutieusement s'il n'y a pas de dommages visibles ayant peut être causés pendant le transport. Lisez ce mode d'emploi très attentivement avant d'utiliser votre apparéil et conservez-le précieusement pour le consulter évientuelles plus tard.
Montage
- Desserrer et extroire les quatre vis des barres de la base «Q».
Croiser lex deux barres de la base comme indiqué sur la figure dans le page 10 et aligner les quatre orifices avec ceux de la bride.
Assurer la bride aux barres de la base «Q» avec les quatre vis. - Faire glisser le couvercle de la base «R» vers le bas pour couvrir les vis.
- Tiner le tube interieur «N» vers le haut du tube extérieur «P» et le fixer fermement en serrant la vis de serrage de la hauteur «O».
Monter le corps du ventilateur «K» sur le tube interieur «N» et le fixer fermement en seront la vis de serrage du corps «M». - Devisser (en tournant vers la gauche) l'écrou de blocage de la protection arrêté «E» de l'extrémite de l'axe de l'unité du moteur «I».
- Monter la protection arriere «F» sur la partie avant de l'unité du moteur «J» en faisant coïncider les 3 orifices de positionnement situés sur la protection arrière, avec les 3 goujons ronds de positionnement «G» situés sur l'avant de l'unité du moteur. Appuyez jusqu'à ce que les 3 goujons passent au travers des 3 orifices.
Assurez la protection arriere «F» à l'unité du moteur «J» avec l'écrou de blocage de la protection arriere «E» - Introduire les pales du ventilateur «D» dans l'axe du moteur «I». S'assure que le goujon de l'axe coïncide bien avec la rainure des pales du ventilateur. Appuyez à fond. Assurez les pales du ventilateur «D» avec le couvercle «C» correspondant, en tournant vers la gauche pour les serrer.
- Faire tournez les pales du ventilateur «D» à la main pour vérifie leur fonctionnement correct. Il ne doit existencer aucun frottement avec l'écrou de blocage de la protection arrière «E». Si les pales ne tournent pas librement, démonnet et recommancer le procédé de montage.
- Accoupler la protection avant «A» (avec la bague de la protection) à la protection arrêté «F», Unir les protections avant et rrière en appuyant ('clic'). Assurez les deux protections avec la vis de serrerge «B».
Utilisation
Poser l'appareil sur une surface stable. Verifiez si le voltage de votre installation correspond bien a celui qui est indique sur la plaque de contrôle du type de votre apparéil. Introduisez alors la fiche de l'appareil dans une prise de courant.
Pour regler le ventilateur à la vitesse désirée, tourez de bouton de selection de la vitesse «L» sur l'une qualconque des positions suivantes:
0 = arr
1 = minimum
2 = moyenne
3 = maximum
Pour arrêtez le ventilateur, tournez le bouton de seLECTION de vitesse sur position «0».
Oscillation
Ce ventilateur pouvez oscillation pour un meilleur déplacement d'air. Pourmettre l'oscillation en marche,appuyez vers le bas sur le bouton d'oscillation «H» situé sur la partie supérieure du boitier du moteur, avec l'appareil en fonctionnement (Fig. 2).
Appuyez vers le haut sur le bouton d'oscillation «H» pour arrêté l'oscillation (Fig. 3).
La direction du courant d'air peut etre reglee en direction verticale: bouger l'unité du moteur de haut en bas pour modifier I'angle vertical (Fig. 4).



Réglage de la hauteur
Desserrer la vis de réglage de la hauteur «O» et ajuster le ventilateur à la hauteur désirée en tirant vers le haut ou vers le bas le tube interieur «N» (Fig. 5). Veiller à bien tenier le corps du ventilateur pendant que l'on desserre la vis. Serrer la vis de réglage de la hauteur «O».

NETTOYAGE ET ENTRETIEN
Avant de débrancher l'unité, mettez-la sur «0» pour la déconnecter. Ne pas immerg l'appareil dans l'eau ou tout autres liquides. Nettoyer l'extérieur de l'appareil avec un chiffon humide. La poussière accumulé dans la grille d'aération peut être éliminée avec un chiffon doux ou un aspirateur à l'aide de la brosse correspondante.
GARANTIE ET SERVICE
- La garantie est assurée pendant 24 mois à compter de la date d'achat de l'article.
La garantie ne sera applicable que sur presentation du bon d'achat. C'est pourquoit vous devez conserver bien précieusement votre bon d'achat. Le délambda de garantie commence a partir de la date d'achat. -
La garantie n'est pas assurée dans les cas suivants:
-
usurenormale
- emploi inadéquat ou utilisation abusive
- entretien insuffisant
non-respect des consignes d'utilisation et d'entretien - réparation par l'acheteur non compétent
- adaptation par l'acheteur de pieces détaches qui ne sont pas d'origine
ce qui sera jugé par notre service technique
La garantie n'est pas applicable pour:
- les articles de consommation normale
- les câbles de raccordement extérieurs
ce qui sera jugé par notre service technique
L'appareil doit être renvoyé en port payé avec la facture ainsi que la description du problème à:
Martex Holland BV
Generatorstraat 17
3903 LH VEENENDAAL - PAYS BAS
Si la garantie n'est pas applicable ou bien si le délambda de garantie est depassé, nous vous facturerons les frais liés à un devis et/ou à une réparation.
Sur simple demande de votre part, nous pouvons d'abord etabir un devis avant de commencer toute réparation. Sans vous demande de devis, nous partons du principe que vous nous donnez automatiquement votre accord pour la réparation de votre apparéil,ès l'instant où vous nous I'avez envoyé.
Nous assurons deux mois de garantie sur les reparations effectuees par notre service apres-vente et sur le materiel qui aura etoue, et ce delai de deux mois est calculé a compter de la date de la réparation. Si pendant cette période, il y avait une défection de l'appareil due directement aux travaux de réparation qui ont eté effectués ou due au materiel rajouté, il va de soi que l'acheteur pourra de plein droit faire réparer gratuitement son apparéil.
Sous réserve de modification.
Notice Facile