VENERO - Armoire Hülsta - Notice d'utilisation et mode d'emploi gratuit
Retrouvez gratuitement la notice de l'appareil VENERO Hülsta au format PDF.
| Caractéristiques | Détails |
|---|---|
| Type de produit | Armoire |
| Dimensions | Variable selon le modèle |
| Matériaux | Bois massif, panneaux de particules |
| Finitions | Laqué, mat, vernis |
| Capacité de rangement | Étagères ajustables, penderie intégrée |
| Utilisation | Rangement de vêtements, accessoires et objets divers |
| Entretien | Nettoyage avec un chiffon doux, éviter les produits abrasifs |
| Sécurité | Éviter l'humidité excessive, ne pas surcharger les étagères |
| Garantie | Vérifier les conditions auprès du revendeur |
| Informations supplémentaires | Disponible en plusieurs coloris et finitions |
FOIRE AUX QUESTIONS - VENERO Hülsta
Questions des utilisateurs sur VENERO Hülsta
0 question sur cet appareil. Repondez a celles que vous connaissez ou posez la votre.
Poser une nouvelle question sur cet appareil
Téléchargez la notice de votre Armoire au format PDF gratuitement ! Retrouvez votre notice VENERO - Hülsta et reprennez votre appareil électronique en main. Sur cette page sont publiés tous les documents nécessaires à l'utilisation de votre appareil VENERO de la marque Hülsta.
MODE D'EMPLOI VENERO Hülsta
Fitting has to be done by qualified personnel Le montage doit uniquement etre effectue par de main d'oeuvre spécialisee
Le montage doit uniquement etre effectue
par de main d'oeuvre spécialisée
Sachets de ferrures 635 gauche
Sachets de fermes 635 droite
Pour élément Panorama
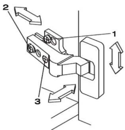
Desserrez la chamière
Attention! La composition du mur doit absolument etre controlee. Utilisation de chevilles pour le beton et/ou la maconnerie dure. Pour les autres types de construction (cloisons en placoplatre, maconnerie legere, etc..), il faut prevoir un autre mode de fixation en rapport avec la charge. Veuillez contrer I'absence d'installations electriques et de conduits dans le secteur de la fixation a I'aide d'un appeareil. Veuillez noter que les tubes en matiere synthetiques ne sont pas detectes.
Fitting has to be done by qualified personnel Le montage doit uniquement etre effectue par de main d'oeuvre spécialisee
Sachets de ferrures 660
Desserrez la charnière
Fitting has to be done by qualified personnel
Le montage doit uniquement etre effectue
par de main d'oeuvre spécialisée
Montage uitsluitend door vakkundig personee




A

B

C

D



Beschlagbeutel 1148
Sachets de ferrures 1148
Sachets de ferrures 1148

Bord infinire algoe avec cdefe de I'armorien Kanti aen o ordarikanti voit meek de zide
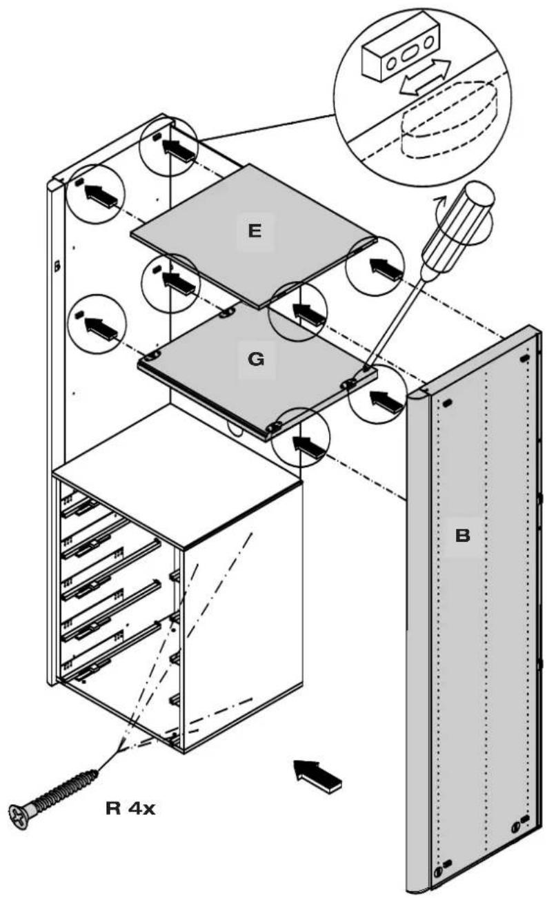
INTERMEDIATE UNIT 3
ELEMENT INTERMEDIAIRE 3
TUSSENBOUWELEMENT 3
MONTAGE ASSEMBLY MONTAGE MONTAGE
2

3

INTERMEDIATE UNIT 3
ELEMENT INTERMEDIAIRE 3
TUSSENBOUWELEMENT 3
MONTAGE ASSEMBLY MONTAGE MONTAGE




MONTAGE ASSEMBLY MONTAGE MONTAGE

MONTAGE ASSEMBLY MONTAGE MONTAGE
7

MONTAGE ASSEMBLY MONTAGE MONTAGE

8

9
GESAMTÜBERSICHT SUMMARY VUE GÉNÉRALE TOTAALOVERZICH
10
Typ 679
(Kleiderstange) (Clothes rod)
(Tringle à vêtements) (Kleerstang)


11
Typ 682
(TV-Boden)
(TV shelf) Plateau TV) (TV-plank)

INTERMEDIATE UNIT 3
ELEMENT INTERMEDIAIRE 3
TUSSENBOUWELEMENT 3
MONTAGE ASSEMBLY MONTAGE MONTAGE

Typ 683
(Ausz. Wasechobden)
(Pullout linen shelf)
(Tablette à linge extensible)
(Tablete à linge extensible)
Fitting has to be done by qualified personnel
Le montage doit uniquement etre effectue par de main d'oeuvre spécialisee
Montage uitsluitend door vakkundig personeel




hets de ferrures 638
Cornice assembly with lighting Montage de la cornice avec éclairage Kroonlijstmontage met verlichting
HANDLE ASSEMBLY
MONTAGE DES POIGNNEES
GREEPMONTAGE
MONTAGE ASSEMBLY MONTAGE MONTAGE

Fitting has to be done by qualified personnel
Le montage doit uniquement etre effectue par de main d'oeuvre spécialisee
Montage uitsluitend door vakkundig personel

Fitting has to be done by qualified personnel Le montage doit uniquement etre effectue par de main d'oeuvre spécialisee
Angle inférieur aligné
Hauteur confort 2 (458 mm)
Comforthoogte 2 (458 mm)
Comforthöhe 1 (419 mm)
Comfort height 1 (419 mm)
Hauteur comfort 1 (419 mm)
Comforthoogte 1 (419 mm)
Hauteur standard 1 (380 mm)
Echange de la coupole de la lampe
Fitting has to be done by qualified personnel. Le montage doit uniquement etre effectue par de main d'ouvre spécialised
Fitting has to be done by qualified personnel
Le montage doit uniquement etre effectue par de main d'oeuvre spécialisee
Montage uitsluitend door vakkundig personeel

Beschlagbeutel 624
Attention! La composition du mur doit absolumentetre controlee. Utilisation de chevilles pour le beton et/ou la maconnerie dure. Pour les autres types de construction (cloisons en placoplatre, maconnerie legere, etc...), il faut prevoir un autre mode de fixation en rapport avec la charge. Veuiliez controler I'absence d'installations electriques et de conduits dans le secteur de la fixation a l'aide d'un apparilel. Veuiliez noter que les tubes en matière synthetiques ne sont pas detectes.
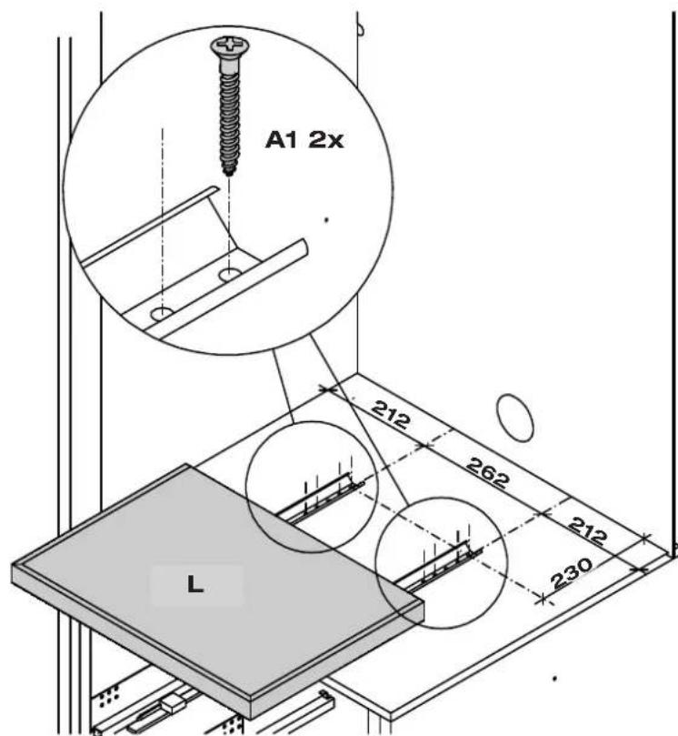
Réglage en hauteur des tiroirs
Hootheverstelling laden






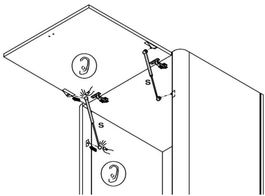
Scharnier losen
Releasing the hinge
Desserrez la charnière
Le montage doit uniquement etre effectue par de main
d'oeuvre spécialisée
2(3)x Sachets de ferrures 1224
Fitting has to be done by qualified personnel Le montage doit uniquement etre effectue par de main d'oeuvre spécialisee
Sachets de ferrures 456
Sachets de ferrures 1224
Dépose du tiroir
ade demonteren


2
Wandbefestigung
Attention! La composition duur moir clot absolumentetre contralled. Utilisation de chevilles pour le beton et/cou la maconnerie dure. Pour les autres types de construction (closons en placoplatre, maconnerne ligrere, etc...),if faut previrole un autre mode de fixation en rapport avec la charge. Veillez contraler l'absence d'installations electriques et de conduits dans le secteur de la fixation a I'aide d'un apparaitel. Veillez noter que les tubes en matière synthetiques ne sont pas defectes.
Réglage en hauteur des tiroirs
Hoogeteverstelling laden

HIGH CHEST
COMMODE HAUTE
HOGE COMMODE
MONTAGE ASSEMBLY MONTAGE MONTAGE


Fitting has to be done by qualified personnel Le montage doit uniquement etreeffectue par de main d'oeuvre specialisee
Attention! La composition du mur doit absolument etre controlee. Utilisation de chevilles pour le beton et/ou la maconnere dure. Pour les autres types de construction (cloisons en placoplatre, maconnerie lagere, etc...), il faut prevoir un autre mode de fixation en rapport avec la charge. Veuillez controier I'absence d'installations electriques et de conduits dans le secteur de la fixation a I'aide d'un apparilel. Veuillez noter que les tubes en matière synthetiques ne sont pas detectes.
Fitting has to be done by qualified personnel
Le montage doit uniquement etre effectue par de main d'oeuvre spécialisee
Montage uitsluitend door vakkundig personeel


Beschlagbeutel 1200
Sachets de ferrures 1200
Attention! La composition du mur doit absolument etre controllee. Utilisation de chevilles pour le becon et/ou la maconnerie dure. Pour les autres types de construction (cloisons en placoplatre, maconnerie lagere, etc...), il faut prevoir un autre mode de fixation en rapport avec la charge. Veuillez controler I'absence d'installations electriques et de conduits dans le secteur de la fixation a I'aide d'un apparil. Veuillez noter que les tubes en matiere synthetiques ne sont pas detectes.
Fitting has to be done by qualified personnel
Le montage doit uniquement etre effectue par de main d'oeuvre spécialisee
Montage uitsluitend door vakkundig personeel

Beschlagbeutel 181
Fixation murale Attention la composition du mur doit absolument etre contrainde. Ullsition de chevilles pour le beton et /ou la maconnerie dure. Pour les autres types de construction (colons en placoplatre, meconnerie legere, etc...), it faut preccir un autre mode de fixation en rapport avec la charge. Veiviez contred l'absence d'installation d'électriques et de conduits dans le secteur de la fixation a I'aide d'un appeal. Veuilizne noter que les tubes en maitre synthetiques ne sont pas detectes.
Fitting has to be done by qualified personnel
Le montage doit uniquement etre effectue par de main d'oeuvre spécialisee
Montage uitsluitend door vakkundig personeel






1

Wandbefestigung
Attention! La composition du mur doit absolument etre controllee. Utilisation de chevilles pour le beton et/ou la maconnerie dire. Pour les autres types de construction (cloisons en placoplatre, maconnerie legere, etc...), il faut prevoir un autre mode de fixation en rapport avec la charge. Veeiliez contrcler I'absence d'installations electriques et de conduits dans le secteur de la fixation a I'aide d'un apparilel. Veeiliez noter que les tubes en maliere synthetiques ne sont pas detectes.
Notice Facile