DF 6160 ML - Hotte AEG-ELECTROLUX - Notice d'utilisation et mode d'emploi gratuit
Retrouvez gratuitement la notice de l'appareil DF 6160 ML AEG-ELECTROLUX au format PDF.
| Caractéristiques techniques | Hotte aspirante de cuisine AEG-ELECTROLUX DF 6160 ML, type murale, avec éclairage LED intégré. |
|---|---|
| Débit d'air | Jusqu'à 600 m³/h pour une extraction efficace des odeurs et des fumées. |
| Niveaux de puissance | 3 niveaux de puissance + mode intensif pour une aspiration optimale. |
| Filtration | Filtres à graisse en aluminium lavables au lave-vaisselle. |
| Dimensions | Largeur : 60 cm, profondeur : 50 cm, hauteur : 90 cm (ajustable). |
| Installation | Installation murale, nécessite un conduit d'évacuation ou un mode recyclage avec filtre à charbon. |
| Utilisation | Commandes électroniques avec affichage LED pour une utilisation facile. |
| Maintenance | Nettoyage régulier des filtres à graisse, remplacement des filtres à charbon selon l'utilisation. |
| Sécurité | Système de sécurité intégré pour éviter les surchauffes. |
| Garantie | 2 ans de garantie constructeur. |
| Consommation énergétique | Classe énergétique B, consommation optimale pour réduire les coûts. |
FOIRE AUX QUESTIONS - DF 6160 ML AEG-ELECTROLUX
Questions des utilisateurs sur DF 6160 ML AEG-ELECTROLUX
0 question sur cet appareil. Repondez a celles que vous connaissez ou posez la votre.
Poser une nouvelle question sur cet appareil
Téléchargez la notice de votre Hotte au format PDF gratuitement ! Retrouvez votre notice DF 6160 ML - AEG-ELECTROLUX et reprennez votre appareil électronique en main. Sur cette page sont publiés tous les documents nécessaires à l'utilisation de votre appareil DF 6160 ML de la marque AEG-ELECTROLUX.
MODE D'EMPLOI DF 6160 ML AEG-ELECTROLUX
Notice d'utilisation et d'installation
Pour les appareils commercialises par la France
Lors de sa fabrication, cet appareil a été construit selon des normes, directives et/ou décrets pour une utilisation sur le territoire français.
Pour la sécurité des biens et des personnes ainsi que pour le respect de l'environnement, vous devez d'abord lire impérativement les préconisations suivantes avant toute utilisation de votre appareil.
Pour éviter tout risque de détérioration de l'appareil, transportez-le dans sa position d'utilisation muni de ses cales de transport (selon modèle).
Au déballage de celui-ci, et pour empêcher des risques d'asphyxie et corporel, tenez les matériaux d'emballage hors de la portée des enfants.
⚠️ Pour éviter tout risque (mobilier, immobilier, corporel,...), l'installation, les raccordements (eau, gaz, électricité, évacuation selon modèle), la mise en service et la maintenance de votre appareil doivent être effectuées par un professionnel qualifié.
⚠️ Votre appareil a été conçu pour être utilisé par des adultes. Il est destiné à un usage domestique normal. Ne l'utilisez pas à des fins commerciales ou industrielles ou pour d'autres buts que ceux pour lesquels il a été conçu. Vous éviterez ainsi des risques matériel et corporel.
Débranchez votre appareil avant toute opération de nettoyage manuel. N'utilisez que des produits du commerce non corrosifs ou non inflammables. Toute projection d'eau ou de vapeur est proscrite pour écarter le risque d'électrocution.
Si votre appareil est équipé d'un éclairage, débranchez l'appareil avant de procéder au changement de l'ampoule (ou du néon, etc.) pour éviter de s'électrocuter.
Afin d'empêcher des risques d'explosion et d'incendie, ne placez pas de produits inflammables ou d'éléments imbibés de produits inflammables à l'intérieur, à proximité ou sur l'appareil.
Lors de la mise au rebut de votre appareil, et pour écarter tout risque corporel, mettez hors d'usage ce qui pourrait présenter un danger : coupez le câble d'alimentation au ras de l'appareil.
Informez-vous auprès des services de votre commune des endroits autorisés pour la mise au rebut de l'appareil.
Veuillez maintenant lire attentivement cette notice pour une utilisation optimale de votre appareil.
Chère cliente, cher client,
Veuillez lire attentivement cette notice d'utilisation et notamment le chapitre « Sécurité » que vous trouverez dans les premières pages. Conservez cette notice d'utilisation pour pouvoir la consulter ultérieurement. Transmettez-la à l'éventuel prochain propriétaire de l'appareil.
Mise au rebut
Mettre au rebut les matériaux d'emballage
- Tous les emballages sont recyclables, les films et les mousses sont marqués en conséquence. Veuillez mettre au rebut les matériaux d'emballage et éventuellement l'appareil usagé selon les règles en viqueur.
- Respectez les prescriptions nationales et régionales et le marquage des matériaux (tri des matériaux, ramassage des déchets, déchetteries).
Consignes de mise au rebut
• L'appareil ne doit pas être jeté avec les ordures ménagères.
- Renseignez-vous auprès des services de votre commune des endroits autorisés pour la mise au rebut de l'appareil.
- Attention! Rendez inutilisable l'appareil usagé avant de le mettre au rebut. Coupez le câble d'alimentation au ras de l'appareil.
Sommaire
Consignes de sécurité 43
pour l'utilisateur 43
pour l'installateur 44
Généralités 46
Version évacuation extérieure 46
Version recyclage 46
Description de l'appareil 46
Utilisation de la hotte 47
Entretien 48
Filtre à graisse métallique 48
Ouverture du filtre à graisse métallique 48
Filtre à charbon 49
Remplacement de l'ampoule d'éclairage 50
Nettoyage 50
Accessoires (en option) 51
Service Après-vente 51
Caractéristiques techniques 52
Accessoires pour l'installation 52
Branchement électrique 53
Fixation 54
Cet appareil doit être installé par une personne qualifiée et selon les normes en vigueur.

Consignes de sécurité
pour l'utilisateur
- Il est recommandé de ne jamais laisser les foyers de cuisson sans récipient dessus. En cas de cuisinières à gaz, à mazout ou à charbon il faut absolument éviter toute flamme libre.
- Par ailleurs, en cas de friture il faut faire attention à la friteuse placée sur le plan de cuisson. En effet l'huile pourrait prendre feu à cause d'une surchauffe.
Le risque augmente si l'on utilise de l'huile usagée.
- Il est rappelé que toute surchauffe peut provoquer un incendie.
- L'utilisation d'huile usagée peut entraîner plus facilement une auto-inflammation.
- Flamber est strictement interdit sous la hotte.
- Pour toute intervention sur la hotte, y compris pour le remplacement d'une ampoule électrique, mettez l'appareil hors tension (retirez les fusibles ou ouvrez les disjoncteurs).
- Respectez les intervalles de remplacement du filtre et de nettoyage. Le non respect des consignes d'entretien et de nettoyage peut entraîner un risque d'incendie suite à l'accumulation de graisse dans le filtre.
- Cet appareil a été conçu pour être utilisé par des adultes. Veillez à ce que les enfants n'y touchent pas et ne l'utilisent pas comme un jouet.
- Votre appareil est destiné à l'usage domestique normal. Ne l'utilisez pas à des fins commerciales ou industrielles ou pour d'autres buts que celui pour lequel il a été conçu.
- Ne modifiez pas ou n'essayez pas de modifier les caractéristiques de cet appareil. Cela représenterait un danger pour vous.
- Débranchez toujours la hotte avant de procéder à son nettoyage et son entretien.
- Aérez convenablement la pièce en cas de fonctionnement simultané de la hotte et d'autres appareils alimentés par une source d'énergie différente de l'énergie électrique. Ceci afin que la hotte n'aspire pas le gaz de combustion.
Cet appareil porte le symbole du recyclage conformément à la Directive Européenne 2002/96/CE concernant les Déchets d'Équipements Électriques et Électroniques (DEEE ou WEEE).
En procédant correctement à la mise au rebut de cet appareil, vous contribuerez à empêcher toute conséquence nuisible pour l'environnement et la santé de l'homme.
Le symbole présent sur l'appareil ou sur la documentation qui l'accompagne indique que ce produit ne peut en aucun cas être traité comme déchet ménager. Il doit par conséquent être remis à un centre de collecte des déchets chargé du recyclage des équipements électriques et électroniques.
Pour la mise au rebut, respectez les normes relatives à l'élimination des déchets en vigueur dans le pays d'installation.
Pour obtenir de plus amples détails au sujet du traitement, de la récupération et du recyclage de cet appareil, veuillez vous adresser au bureau compétent de votre commune, à la société de collecte des déchets ou directement à votre revendeur.
pour l'installateur
- Uniquement pour le modèle DF6160: le tuyau d'évacuation doit présenter un diamètre de 120 mm en version évacuation.
- Uniquement pour les modèles DF 6260, DF 6260-ml/1 et CHDF 6260: Le tuyau d'évacuation doit présenter un diamètre de 150 mm en version évacuation.
Uniquement pour le modèle DF 6260 - DF 6260-ml/1: Dans le cas où il existe déjà un tuyau d'évacuation de l'air d'un diamètre de 125 mm dans le mur ou sur le toit, on pourra utiliser le manchon de réduction 150/125 mm. Le bruit de fonctionnement sera un peu plus élevé.
- Lors de l'installation de la hotte, respectez les distances minimales suivantes entre le plan de cuisson et le bord inférieur de la hotte:
Cuisinière électrique 430 mm Cuisinière à gaz 650 mm
Si les instructions d'installation du dispositif de cuisson au gaz spécifient une plus grande distance, il faut en tenir compte.
- L'appareil doit être débranché pendant l'installation ou dans l'éventualité d'une intervention.
- L'installation de votre appareil doit être réalisée par un technicien qualifié.
- Vérifiez que la tension du réseau correspond à la tension mentionnée sur la plaque signalétique sur la hotte.
- Si l'installation électrique de votre habitation nécessite une modification pour le branchement de votre appareil, faites appel à un
électricien qualifié.
- Le conduit d'évacuation, quel qu'il soit, ne doit pas déboucher dans les combles.
- Dans le cas où l'appareil est relié directement à l'installation électrique, interposez un interrupteur bipolaire ayant une distance d'ouverture des contacts d'au moins 3 mm.
- La dépression de l'air dans la pièce où se trouvent des systèmes de chauffage ne doit pas être supérieure à 4Pa ( 4 × 10^-5 bar) lors du fonctionnement simultané de la hotte aspirante en version évacuation et des systèmes de chauffage.
- Si la hotte est utilisée en version évacuation, ne raccordez pas l'appareil à un conduit d'évacuation de fumées de combustion (chaudière, cheminée, etc.) ou à une VMC (ventilation mécanique contrôlée).
L'évacuation de l'air aspiré doit se faire selon les prescriptions locales en vigueur.
- Lors du fonctionnement en Version évacuation, il faudra veiller à réaliser une ouverture d'entrée d'air suffisante, environ de la taille de l'ouverture d'évacuation.
- Selon les prescriptions de construction locales, des restrictions sont imposées à l'utilisation simultanée dans une même pièce de hottes aspirantes et de systèmes de chauffage reliés à une cheminée tels que des poêles à charbon, à mazout ou à gaz.
- Le fonctionnement simultané et sans danger d'appareils reliés à une cheminée et de hottes aspirantes n'est assuré que si le local et/ou l'appartement (pièces communicantes) possède une entrée d'air adaptée d'env. 500 à 600 cm², empêchant ainsi une dépression lorsque la hotte est en service.
- Comme dans les pièces sans systèmes de chauffage la règle suivante est de mise : «Ouverture d'entrée d'air aussi importante que l'ouverture d'évacuation», le rendement de l'installation d'évacuation peut être réduit si l'entrée d'air est supérieure à 500 à 600 cm ^2 .
- Le fonctionnement de la hotte en recyclage ne présente aucun danger dans des conditions connues et n'est donc pas soumis aux prescriptions mentionnées ci-dessus.
- Le fonctionnement de la hotte en version évacuation n'est optimal que si les conditions suivantes sont respectées :
—parcours d'évacuation court et direct —nombre de coudes minimal sur les tuyaux —pose des tuyaux avec des courbes plutôt que des angles nets —diamètres des tuyaux les plus grands possibles (de préférence le même diamètre que celui de l'ouverture d'évacuation).
- Le non respect de ces règles de base entraînera des pertes de puissance significatives et une augmentation du niveau sonore.
Généralités
- La hotte est livrée en version évacuation mais peut, grâce à l'emploi d'un filtre à charbon actif (en option), être utilisée en version recyclage.
- Pour certains modèles, le filtre est fourni avec le matériel et par conséquent la hotte peut être immédiatement utilisée en version filtrante ; pour utiliser la hotte en version aspirante, il est conseillé d'enlever le filtre au charbon.
Version évacuation extérieure
• L'air est évacué à l'extérieur à travers un tuyau devant être connecté à bride de raccord.
- Pour obtenir des performances optimales lors de l'aspiration, le tuyau d'évacuation doit avoir un diamètre équivalent à celui de l'ouverture d'évacuation.
Version recyclage
- L'air est filtré par un filtre à charbon et renvoyé dans la cuisine.
- En version recyclage utilisez le filtre à charbon actif d'origine (voir Accessoires) que vous pourrez vous procurer en option auprès de votre magasin vendeur..
Description de l'appareil

A = Interrupteur à coulisse (vitesse, éclairage)
B = Filtre à graisse
C = Eclairage
D = Bandeau de commande
E = Tiroir
Utilisation de la hotte
- Les interrupteurs à coulisse sont disposés sur la face supérieure droite du tiroir (Fig. 1 - E).
Les différents chiffres et symboles ont la signification suivante (de gauche à droite):
:
CHDF 6260 -ML/GB - PNC 942 120 679 DF 6260 -ML/AUS - PNC 942 120 712 DF 6260 -ML - PNC 942 120 645

= réglage continu de la vitesse

= éclairage à l'arrêt

= éclairage en marche
DF 6260 -ML/1 - PNC 942 120 820
DF 6160 -ML - PNC 942 120 644

1 = position 1 du ventilateur
2 = position 2 du ventilateur
3 = position 3 du ventilateur
4 = position 4 du ventilateur
- = éclairage



La réglage de la vitesse est effectué en déplaçant l'interrupteur à coulisse. Le tiroir de la hotte vous permet de stopper ou de mettre en marche la vitesse.
En tirant le tiroir (sans mettre à l'arrêt auparavant la hotte par l'intermédiaire des interrupteurs à coulisse), la vitesse réglée est remise en marche automatiquement.
Si le tiroir est à nouveau poussé sans actionner les interrupteurs à coulisse, la vitesse s'arrête.
Il est possible de mettre en marche ou à l'arrêt l'éclairage séparément à l'aide de l'interrupteur à coulisse.
Il est conseillé de mettre en marche la hotte quelques minutes avant le début de la cuisson et de la laisser fonctionner env. une quinzaine de minutes après la cuisson afin d'éliminer toutes les odeurs.
Entretien
- Débranchez la hotte avant tout entretien.
Filtre à graisse métallique
- Le filtre à graisse métallique a pour but de piéger les particules de graisse produites durant la cuisson des aliments et sont utilisés aussi bien durant le fonctionnement en version évacuation qu'en version recyclage. Le filtre à graisse métallique doit être extrait toutes les 4 semaines et lavé soit à la main, soit dans un lave-vaisselle.
Ouverture du filtre à graisse métallique
- Tirez le ressort de dégagement du filtre à graisse vers l'extérieur et sortez le filtre à graisse métallique. Fig.2.
Nettoyage à la main
- Laissez tremper la cassette du filtre à graisse métallique durant env. 1 heure dans de l'eau chaude avec un détergent doux puis rincez à l'eau chaude. Remettez en place la cassette soigneusement séchée.
Lave-vaisselle
- Placez la cassette du filtre à graisse métallique dans le lave-vaisselle. Vérifiez que la rotation du bras de lavage du lave vaisselle ne puisse pas être géné par le filtre à graisse. Lavez avec un programme pour vaisselles très sales et une température d'au moins 65°C. Recommencez éventuellement l'opération. Remettez en place la cassette après séchage.
- Il se peut qu'il y ait quelques modifications de la teinte de la cassette du filtre à graisse métallique lors du passage dans le lavevaisselle, modifications qui n'ont aucune influence sur le fonctionnement de la cassette.
- Nettoyez l'intérieur du logement de la cassette avec de l'eau chaude contenant du détergent (n'employez jamais de détergents corrosifs ou de brosses à récurer!).

- Le filtre à charbon doit être mis en place lorsque la hotte est utilisée en version recyclage.
- Pour cela, il faudra utiliser le filtre à charbon actif d'origine (voir Accessoires).
- Remplacement du filtre à charbon Type 150
Note: ce filtre est fourni de série dans le modèle DF 6260 ml9.
Il ne peut être ni lavé, ni réutilisé.
En règle générale le filtre à charbon doit être changé tous les 4 mois dans des conditions normales d'utilisation.
- Nettoyage/remplacement du filtre à charbon Type 150 LONG LIFE
A la différence d'autres filtres de même type, le filtre à charbon LONG LIFE peut être nettoyé et réutilisé. Le filtre doit être nettoyé tous les deux mois en utilisation normale (en considérant une utilisation moyenne de 2,5 heures par jour). Il est recommandé de nettoyer le filtre dans un lave-vaisselle, à la température maximum. Utiliser un détergent normal. Aucun ustensile ménager ne doit être présent dans le lave-vaisselle lors du nettoyage du filtre, afin d'éviter tout dépôt de particules d'aliments qui risqueraient de causer ultérieurement de mauvaises odeurs. Pour réactiver le charbon, il suffit de mettre le filtre à sécher au four.
Régler le four sur chaleur normale, à une température de 100°C, et y laisser le filtre pendant 10 minutes.
Le filtre doit être changé au bout de trois ans environ, car il a alors perdu une bonne partie de sa capacité de rétention des odeurs.
- Montage
- Sortez complètement le tiroir vers l'avant (Fig. 1 - E).
- Retirez en premier la grille arrière et ensuite la grille avant du filtre à graisse.
- Introduisez le filtre à charbon actif en haut avec les 2 Clips rouges le tenant en bas dans les taquets du cadre de retenue, poussez les 2 Clips rouges vers l'intérieur et mettez le filtre à charbon actif en place dans le cadre de retenue. Fig. 3.
• Démontage
- Pressez les deux taquets rouges vers le haut (vers l'intérieur de la carrosserie) et sortez le filtre à charbon actif par le bas.
-
Nettoyez la carrosserie intérieure uniquement avec de l'eau chaude additionnée de liquide à vaiselle (n'utilisez pas de détergents agressifs, de brosses ou de poudres abrasives).
-
Lors de la commande d'un filtre de rechange, veuillez préciser la désignation du modèle et la référence du produit. Ces données sont indiquées sur la plaque signalétique à l'intérieur de l'appareil.
- Vous pouvez commander le filtre à charbon auprès de votre magasin vendeur.

- Il y a risque d'incendie si vous ne respectez pas les instructions concernant le nettoyage de l'appareil et le remplacement ou le nettoyage du filtre.
- La responsabilité du constructeur ne peut en aucun cas être engagée dans le cas d'un endommagement du moteur ou d'incendie liés à un entretien négligé ou au non respect des consignes de sécurité précédemment mentionnées.
Remplacement de l'ampoule d'éclairage
- Mettez la hotte hors tension.
- Déverrouillez le cache de l'ampoule (D) en tournant vers la gauche et rebattez-le vers le bas (à l'arrière). Fig. 4.
- Remplacez l'ampoule défectueuse par une ampoule du même type.
- Refermez le cache de l'ampoule et tournez le verrouillage vers le droite.
- Si l'ampoule ne s'allume pas, vérifiez qu'elle est correctement installée avant d'appeler le Service Après-Vente.

text_image
Fig. 4 DNettoyage
- Attention: Débranchez l'appareil avant le nettoyage.
N'introduisez pas d'objets pointus dans la grille de protection du moteur. - Nettoyez les parties extérieures avec un détergent doux.
N'utilisez jamais de produits abrasifs ou caustiques, de détergents corrosifs, de brosses ou de sablons à récurer. - Nettoyez le bandeau des commandes et la grille du filtre à graisse avec un chiffon légèrement imbibé d'un détergent doux.
- Il est très important de respecter les intervalles de remplacement du filtre et de nettoyage. Le non respect peut entraîner un risque d'incendie suite à l'accumulation de graisse dans le filtre.
Accessoires (en option)
Filtre à charbon Type 150 LONG LIFE
Filtre à charbon Type 150
Bandeau M BF6060-m 942 120 646
Bandeau AL BF6060-al 942 120 647
Baguette de bordure* ET-NR.: 502 426 420 02
Clipse* pour fixer
la baguette de bordure (3x) ET-NR.: 502 302 940 06
* ET-NR. seulement par le service après-vente
Service Après-vente
Dans le cas de demandes de renseignement ou de pannes, veuillez appeler notre service après-vente (voir la liste de nos différents points de service après-vente).
Lors de l'appel, préciser :
- La désignation du modèle
- La référence
- Le numéro de l'appareil
Ces données sont indiquées sur la plaque signalétique située à l'intérieur de l'appareil et visible après ouverture de la grille du filtre à graisse.
Sous réserve de modifications de construction et de coloris dans le cadre du développement technique.
Caractéristiques techniques
Modèle: DF 6260 DF 6160
DF 6260-ml/1
CHDF 6260
Dimensions (en cm):
Hauteur 38,7 38,7
Largeur 59,9 59,9
Profondeur 27,5 (+ bandeau) 27,5 (+ bandeau)
Puissance moteur : 2 x 110 W 1 x 110 W
Longueur du câble d'alimentation: 150cm 150cm
Branchement électrique: 220-240 V 220-240 V
Accessoires pour l'installation
1 bride de raccord: ∅ 150 mm (DF 6260 - DF 6260-ml/1-CHDF 6260), ∅ 120 mm (DF 6160),
1 manchon de réduction: ∅ 125-120 mm (DF 6260 - DF 6260-ml/1), ∅ 125-110-100 mm (DF6160)
1 déflecteur
2 vis à bois 2,9 x 22 mm
4 vis à bois 4,5 x 16 mm
2 vis à tôle 3,5 x 9,5
2 vis à tôle 3,5 x 13 (DF 6260 - DF 6260-ml/1-CHDF 6260)
1 cadre de retenue
Branchement électrique
Consignes de sécurité pour l'électricien
Avant de brancher l'appareil, vérifier que la tension indiquée sur la plaque signalétique correspond à celle du secteur. Si l'appareil est muni d'une fiche de courant, il pourra être branché sur n'importe quelle prise de courant installée conformément aux normes et facile d'accès. Si un branchement permanent est nécessaire, la hotte devra être branchée par un électricien travaillant pour une entreprise d'électricité agréée. Côté installation, il faudra prévoir un dispositif de protection sur tous les pôles avec une course d'ouverture de contact d'au moins 3 mm. Notre responsabilité ne peut être engagée pour les défauts résultats du non respect des instructions précédemment mentionnées. Branchement permanent uniquement par un électricien agréé!
Pour les appareils commercialisés par la France
Branchement électrique
Votre appareil ne peut être branché qu'en 230 V monophasé.
Vérifiez que la puissance de l'installation est suffisante et que les lignes sont en bon état et peuvent supporter l'intensité absorbée par l'appareil, compte tenu des autres appareils branchés.
Calibre des fusibles en ligne (un par phase) 10 A en 230 V. Important
L'installation doit être réalisée conformément aux règles de l'art, aux prescriptions de la norme NF.C 15.100 et aux prescriptions de l'E.D.F. Utilisez un socle de prise de courant comportant une borne de mise à la terre, qui doit être obligatoirement raccordée conformément à la norme NF.C.15.100 et aux prescriptions de l'E.D.F. ; cette prise de courant doit impérativement être accessible.
Dans le cas où l'appareil est relié aux canalisations électriques fixes, un dispositif de séparation bipolaire ayant une distance d'ouverture des contacts d'au moins 3 mm doit être prévu dans l'installation fixe.
Le cordon secteur est à 3 conducteurs.
Si le câble d'alimentation est endommagé, il doit être remplacé par un câble d'alimentation certifié. Cette opération ne peut être effectuée que par une personne habilitée, par votre vendeur, ou par le fabricant.
L'appareil ne doit pas être raccordé à l'aide d'un prolongateur ou d'une prise multiple ou d'un raccordement multiple (risque d'incendie).
Vérifiez que la prise de terre est conforme aux règlements en vigueur.
Notre responsabilité ne saurait être engagée pour tout incident ou accident provoqué par un raccordement électrique non conforme ou par une mise à la terre inexistante ou défectueuse.
Fixation
Préparation élément haut - évacuation de l'air
• La hotte est livrée en version
évacuation vers le haut.
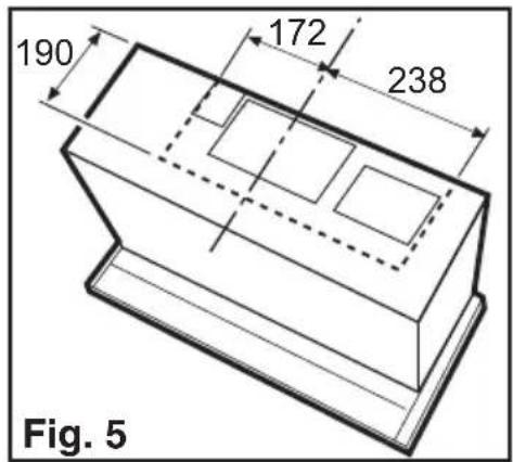
Avant d'installer la hotte, réalisez un trou dans le plafond du meuble (voir fig. 5). Ce trou servira pour le passage du tuyau d'évacuation, du câble d'alimentation.
• L'élément haut doit avoir une
profondeur minimum de corps (sans la porte) de 300 mm si le bandeau d'éclairage est en retrait et d'au moins 280 mm si le bandeau
d'éclairage est au niveau de la façade. Hauteur intérieure libre au moins 370 mm.

text_image
190 172 238 Fig. 5Préparation élément haut - recyclage de l'air (DF 6160)
- Avant l'installation de la hotte, découpez un trou de 115x115 mm dans le dessus de l'élément haut pour la grille d'aération (version recyclage). Fig. 6-7.
- Selon la hauteur de l'élément haut, vous avez besoin en version recyclage d'un raccord tubulaire ou d'un conduit supplémentaire ininflammable (de 100/115/120 mm de diamètre) jusqu'au dessus de l'élément haut.

text_image
115x115 Fig. 6
Orifice de sortie pour les modèle DF 6260 - DF 6260-ml/1 et CHDF6260 (évacuation-recyclage)
- Le tuyau d'évacuation doit présenter un diamètre de 150 mm en version évacuation.
Uniquement pour le modèle DF 6260 - DF 6260-ml/1: Dans le cas où il existe déjà un tuyau d'évacuation de l'air d'un diamètre de 125 mm dans le mur ou sur le toit, on pourra utiliser le manchon de réduction 150/125 mm. Le bruit de fonctionnement sera un peu plus élevé.

- Fixez la bride sur le trou de sortie de la hotte avec 2 vis. Fig. 8a. Seulement en version recyclage
- Fixer le déflecteur à la bride. Fig. 8b.
Orifice de sortie pour le modèle DF 6160 (évacuation-recyclage)
- Le tuyau d'évacuation doit présenter un diamètre de 120 mm en version évacuation.
- Les dimensions et la position de l'orifice de sortie de l'air sont indiquées dans la fig. 9.
- Fixer la bride fournie avec l'équipement sur l'orifice de sortie (fixation à baïonnette).
- L'adaptateur en dotation permet d'utiliser également des tuyaux de ∅ 100, 110 et 125 mm.
Diamètre du tuyau de 125 mm: monter l'adaptateur sur la bride de raccord A et couper la partie de ∅ 110 et ∅100 mm.
Diamètre du tuyau de 110 mm: procéder comme pour le tuyau de 125 mm de ∅ mais couper seulement le réducteur de ∅ 100 mm..
Diamètre du tuyau de 100 mm: monter l'adaptateur sur la bride de raccord; aucune autre modification n'est nécessaire.

text_image
72 Fig. 9
text_image
A Fig. 10Etagère à épices
- Si une étagère à épices est placée devant la hotte, il faut prévoir un espacement minimum de 5 mm entre la hotte et l'arête avant et entre le mur et l'étagère à épices (cette fente d'aération est absolument nécessaire pour la circulation de l'air).
- La partie supérieure du dos de l'étagère à épices devrait être amovible (accès au tuyau souple d'évacuation de l'air ou ajustage de l'élément haut).
Fixation de la hotte dans l'élément haut - évacuation de l'air (recyclage de l'air, avec filtre à charbon actif)
- Posez le gabarit sur la paroi latérale intérieure de l'élément haut à droite, respectivement à gauche; tracez l'emplacement des trous de fixation de 2 mm de diamètre, ainsi que 2 trous de 6 mm de diamètre et de 5 mm de profondeur pour les crampons de fixation (fournitures de montage) et percez-les.
- Sortez entièrement le tiroir de la hotte encastrable.
- Attention: il faut toujours enlever le tiroir pour retirer et remettre les grilles du filtre à graisse en place.
Sortez les filtres à graisse métallique.
Retirez en premier le filtre à graisse métallique arrière, puis le filtre avant.
- Avec des parois latérales de 19 mm, il faut retirer les plaques d'écartement fixées avec des clips sur la carrosserie. Fixez la hotte avec 4 ou 6 vis de 4 mm de diamètre. Fig. 11.
- Introduisez la hotte dans l'élément servant d'entourage, les 2 crampons de fixation (fournitures de montage) prennent l'encoche à droite et à gauche dans la paroi latérale de l'élément haut et maintiennent la hotte aspirante pour achever la fixation. La hotte peut alors être fixée avec les 4 ou 6 vis
jointes de 4 mm de diamètre.
- Mettez les filtres à graisse en place. Introduisez le tiroir.

- Quand les éléments hauts ont une profondeur de corps supérieure à 300 mm, il faut recouvrir la fente jusqu'au mur avec la baguette de bordure murale (accessoire spécial)
Pour la mettre en place, vous procédez de la manière suivante: Mesurez l'écartement du mur et réduisez la baguette à la largeur nécessaire (ajoutez 5 à 8mm à l'écartement mesuré) en brisant la baguette de bordure sur l'encoche correspondante et en déchirant le morceau superflu (enlevez la pellicule protectrice).
Il faut fixer maintenant la baguette de bordure avec 3 clips sur la face inférieure de la hotte (accessoire spécial). Bien presser contre!
Fig. 12.

text_image
Fig. 12 3xMise en place du filtre à charbon actif (Version recyclage)
Si la hotte est installée pour fonctionner en version recyclage (sortie d'air par la grille de l'élément haut), il faut absolument mettre le filtre à charbon actif (accessoire en option) en place avant de mettre le filtre à graisse métallique.
Ordre de montage:
- Introduisez le cadre de retenue (fournitures) pour le filtre à charbon actif avec les 2 taquets vers le haut dans la gaine de la hotte et fixez-le avec les clips dans les trous inférieurs.
- Fixez le cadre de retenue avec les 2 vis jointes en bas de la carrosserie de la hotte (voir illustration). Fig. 13.
- Installez le filtre à charbon (voir paragraphe "Filtre à charbon")
- Mettez les filtres à graisse en place. Introduisez le tiroir.

Pour retirer la hotte de l'élément haut
S'il vous faut, pour des raisons techniques (transformation évacuation extérieure - recyclage), retirer la hotte de l'élément haut, procédez de la manière suivante:
- Sortez entièrement le tiroir et retirez les filtres graisse métallique.
- Débloquez les 4 ou les 6 vis de fixation de la hotte (fixation à l'élément haut).
- Pour desserrer les deux crampons de fixation (fournitures de montage), introduisez un tournevis cruciforme d'un diamètre max. de 3 mm dans la fente de la languette et poussez-la en même temps vers l'intérieur (côté carrosserie de l'appareil). Fig. 14.

Attention: Retenez bien la hotte!
Déplacement du tiroir (E - Fig. 1) - Fig. 15
Avec des éléments muraux ayant une profondeur de corps entre 275 mm et 335 mm, la profondeur du tiroir peut être ajustée ainsi:
- Retirez les deux filtres à graisse métallique.
- Desserrez les vis sur les deux brides d'arrêt et réglez la profondeur du tiroir (275 mm min., 335 mm max.).
- Resserrez les vis.
- Remettez les filtres à graisse métallique en place.

text_image
60 mm 60 mm Fig. 15Fixation du bandeau d'éclairage (voir aussi Accessoires)
- Sortez les filtres à graisse métallique. Retirez en premier le filtre à graisse métallique arrière, puis le filtre avant.
- Retirez le recouvrement intérieur en enfonçant les deux éléments de déverrouillage (appuyez et tirez). Fig. 16.
CHDF 6260 - DF 6260-M9: Si il est monté, enlever le bandeau existant en dévissant les vis qui le fixent au tiroir.

- Percez les trous dans le bandeau d'éclairage (meuble) à l'aide du gabarit et fixez-le avec 3 vis sur le tiroir. Fig. 17-18.

- Fixez à nouveau le recouvrement intérieur avec les clips et remettez les filtres à graisse métalliques en place (d'abord le filtre arrière, puis le filtre avant).
AEG
Pour tenir nos engagements, nous écoutons les Consommateurs
Info Conso Electrolux est le lien privilégié entre la marque et ses Consommateurs. Il assure en permanence une double mission : satisfaire au mieux vos exigences et tirer parti de cette proximité pour améliorer sans cesse les produits que nous vous proposons.
AVANT L'ACHAT
Toute une équipe répond avec clarté et précision à vos sollicitations concernant l'éventail de nos gammes de produits et vous apporte des infos pour vous aider dans votre choix en fonction de vos propres besoins.
APRÈS L'ACHAT
Exprimez-vous sur la perception que vous avez de nos produits et votre satisfaction à l'usage. Mais interrogez aussi nos spécialistes sur l'utilisation et l'entretien de vos appareils. C'est alors que notre mission prend tout son sens. Ecouter, comprendre, agir : trois temps essentiels pour tenir l'engagement de la marque dans le plus grand respect du Consommateur.
A bientôt !
Dans le souci d'une amélioration constante de nos produits, nous nous réservons le droit d'apporter à leurs caractéristiques toutes modifications liées à l'évolution technique (décret du 24.03.78).


BP 50142 – 60307 SENLIS CEDEX Tél. : 08 90 71 03 44 (0,15 € TTC/mn) Fax : 03 44 62 21 54 E-MAIL : info.conso@electrolux.fr Permanence téléphonique du lundi au vendredi
Pour toute question technique :
Centre Contact Consommateurs
BP 20139 - 60307 SENLIS CEDEX
Tél. : 08 92 68 24 33 (0,34 € TTC/mn)
E-MAIL : ehp.consommateur@electrolux.fr
Permanence téléphonique du lundi au vendredi

Notice Facile