ST 227P - Ventilateur HUSQVARNA - Notice d'utilisation et mode d'emploi gratuit
Retrouvez gratuitement la notice de l'appareil ST 227P HUSQVARNA au format PDF.
| Caractéristique | Détails |
|---|---|
| Type de produit | Ventilateur |
| Puissance moteur | Non spécifiée |
| Largeur de travail | Non spécifiée |
| Type de démarrage | Non spécifié |
| Poids | Non spécifié |
| Utilisation recommandée | Pour le déneigement et l'entretien des allées |
| Maintenance | Vérifier régulièrement l'état des lames et du moteur |
| Sécurité | Utiliser des gants et des lunettes de protection lors de l'utilisation |
| Garantie | Non spécifiée |
| Accessoires inclus | Non spécifiés |
FOIRE AUX QUESTIONS - ST 227P HUSQVARNA
Questions des utilisateurs sur ST 227P HUSQVARNA
0 question sur cet appareil. Repondez a celles que vous connaissez ou posez la votre.
Poser une nouvelle question sur cet appareil
Téléchargez la notice de votre Ventilateur au format PDF gratuitement ! Retrouvez votre notice ST 227P - HUSQVARNA et reprennez votre appareil électronique en main. Sur cette page sont publiés tous les documents nécessaires à l'utilisation de votre appareil ST 227P de la marque HUSQVARNA.
MODE D'EMPLOI ST 227P HUSQVARNA
FR-CA Manuel d'utilisation 52-77
Contents
Introduction 2
Maintenance. 15
Safety. 5
Troubleshooting 22
Assembly. 8
Transport, entreposage et mise au rebut. 76
Caracteristiques techniques. 77
Introduction
Exigences É.-U

AVERTISSEMENT: Les gaz d'échévement du moteur de cet apparéil, certains de ses constituants et certains composants du vehicule contiennent ou émettent des substances chimiques considérées par l'État de la Californie comme cancérigénes et capables de causeurs des malformations congénitales ou autres effets nuisibles sur les organes reproducteurs.

AVERTISSEMENT: Les gaz d'échévement du moteur et certains composants du vehicule contiennent ou émettent des produits chimiques considérés comme cancérigènes et pouvant causeurs des malformations congénitales ou d'autres dommages sur les organes reproducteurs. Les gaz d'échévement du moteur contiennent du monoxyde de carbone qui est un gaz inodore, incolore et toxique. Ne pas utiliser la machine dans un local fermé.

- Engagement de tarière
- Levier de commande de la goulotte d'éjection
- Levier de commande de vitesse de l'entrainment
- Levier de commande à distance de déflecteur
- Engagement de l'entraînement
- Éclairage à DEL
- Bouton de poignée
- Silencieux
- Plaque de protection
- Tarière
- Outil de nettoyage
- Goulotte de décharge
- Déflecteur de goulotte
- Bouchon de vidange d'huile
- Interrupteur ON/OFF (marche/arrêt) du carburant
-
Corde du lanceur
-
Clé ON/OFF (marche/arrêt)
- Poire d'amorçage
- Commande d'accélérateur
- Volet de départ
- Bouchon de replissage d'essence
- Bouton de démarrage électrique
- Connexion, démarrage électrique
- Bouchon de replissage et jauge d'huile
- Bouchon de replissage d'huile
Description de l'outil
Le produit est une fraise à neige pour déblayer la neige du sol.
Utilisation prévue
Cet apparéil peut être utilisé pour-retirer la neige des champs, des routes, des allées et des troitoirs. Ne
pas l'utiliser sur les pentes supérieures à 20^ . Ne pas utiliser ce produit dans des zones où il y a beaucoup de débris, de saleté et de pierres qui dépasseNT.
Responsabilité concernant le produit
Comme indiquedans les lois en vigueur sur la responsabilité concernant les produits, nous ne serons pas tenus responsables des dommages que notre produit causerait dans les situations suivantes:
- Le produit n'est pas réparé de façon ajustée.
- Le produit est réparé avec des pieces qui ne sont pas fournies ou homologuees par le fabricant.
- Le produit comprend un accessoire qui n'est pas fourni ou homologué par le fabricant.
- Le produit n'est pas réparé par un centre de service après-venture agréée ou par une autorité homologuee.
Sécurité
Définitions relatives à la sécurité
Les définitions ci-dessous indiquent le niveau de gravité pour chaque mot signal.

AVERTISSEMENT:Blessures aux personnes.

MISE EN GARDE : Dommages causés à l'outil.
Remarque: Cette information facilitite l'utilisation de I'outil.
Consignes générales de sécurité
- Utiliser l'outil correctement. Des blessures graves ou mortelles peuvent résultat d'une utilisation non ajustate. Utiliser l'outil seulement pour les tâches décrites dans leprésent manuel. Ne pas utiliser cet outil pour d'autres tâches.
- Suivre les instructions de ce manuel. Respecter les symboles et les instructions de sécurité. Si l'opérateur ne respecte pas les instructions et les symboles, il pourrait en résultat des blessures, des dommages ou la mort.
- Ne pas jeter ce manuel. Utiliser les instructions pour assembler l'outil, le faire fonctionner et le conserver en bon etat. Suivre les instructions pour l'installation correcte des équipements et accessoires. Utiliser uniquement des pieces et accessoires homologues.
- Ne pas utiliser l'outil s'il est endommagé. Respecter le calendrier d'entretien. N'effectuer que les travaux d'entretien prescrits dans ce manuel. Un centre agréé doit effectuer tous les autres travaux d'entretien.
- Ce manuel ne déscrit pas toutes les situations qui peuvent se produit lorsqu'on utilise l'outil. Rester prudent et faire preuve de bon sens. Ne pas faire fonctionner l'outil ni effectuer un entretien sur l'outil si vous n'êtes pas sur de la situation. Pour obtenir plus d'information, s'accorder à un spécialiste de l'outil, à votre revendeur, à un atelier de réparation ou à un centre de service après-vente/agréé.
- Debrancher le cable d'allumage avant d'installer, de stocker ou de proceder à l'entretien de l'outil.
- Ne pas utiliser l'outil si des modifications contraires à ses caractéristiques initiales y ont été apportées. Ne pas modifier une partie de l'outil sans l'approbation du fabricant. Utiliser seulement des pieces homologues par le fabricant. Des blessures graves ou mortelles peuvent résultat d'un entretien non ajustat.
- Ne pas respirer les vapeurs du moteur. L'inhalation à long terme des produits d'échévement du moteur représenté un danger pour la santé.
- Ne pas démarrer l'outil dans un local clos ou à proximé de matériaux inflammables. Les gaz d'échéppement sont très chauds et peuvent contérer des étincelles qui peuvent causeur un incendie. Un débit d'air insuffisant peut entraîner des blessures ou la mort en raison d'une asphyxie ou du monoxyde de carbone.
- Lors de l'utilisation de ce produit, le moteur génére un champ électromagnetique. Le champ électromagnetique peut endommager les implants Médicaux. Parler à votre médecin et au fabricant de l'implant avant d'utiliser l'outil.
- Ne pas laisser un enfant utiliser l'outil. Ne pas laisser une personne utilisé le produit sans connaître les instructions.
- S'assurer de tousjours surveiller les personnes avec des capacités physiques ou mentales
réduites qui utilisent le produit. Un adulte responsable doit être present à tout moment.
- Enfermer le produit dans un endroit verrouillé auquel les enfants et les personnes non autorisées ne peuvent pas acceder.
- Le produit peut projeter des objets et cause des blessures. Respecter les consignes de sécurité afin de réduire le risque de blessures graves ou mortelles.
- Ne pas s'éloigner de l'outil lorsque le moteur est sous tension.
- Tout accident avec cet outil engage la responsabilité de l'opérateur.
- Avant de reculer, regarder derrière et vers le bas pour vérifier la présence eventuelle de petits enfants, d'animaux ou autres risques de chute.
- Avant d'utiliser l'outil, vérifier que les pieces ne sont pas endommagées.
- S'assurer d'être à au moins 15 m (50 pi) d'autres personnes ou d'animaux avant d'utiliser le produit. S'assurer que toutes les personnes dans les environns immédiats sont informées que vous allez utiliser le produit.
- Consulter les lois nationales ou locales. Elles peuvent interdire ou limiter l'utilisation de l'outil dans certaines conditions.
Consignes de sécurité pour l'utilisation
- Ne pas placer les mains ou les pieds pres ou sous les pieces en rotation. Toujours se tenir à l'écart de l'ouverture d'éjection.
- Faire preuve d'extreme prudence à proximé des routes, des allées ou des chemins en gravier. Faire attention aux dangers non évidents et à la circulation.
- ÀpRES avoir heures un objet étranger, arrer le moteur, enlever le cable de la bougie d'allumage (ou débrancher le fil des appareils électriques), bien inspector le produit pour vérifier qu'il n'y a pas de dommage et réparer la défaillance avant de redémarrer et d'utiliser le produit.
- Si le produit se met à vigorer anormalement, arrêté le moteur et en rechercher immidiatement la cause. Les vibrations indiquent généralement l'existence de problèmes.
- Arrête le moteur à chaque fois qu'on quitte la zone de travail, avant de débloquer la tarière ou le déflecteur de goulotte, et lorsqu'on effectue un réglage, une réparation ou une inspection de la machine.
- Lorsqu'on peut nettoyer, réparer ou inspector le produit, arreter le moteur et vérifier que les tarières et toutes les pieces en mouvement s'arrêtent. Débrancher le fil de la bougie et tener le fil à l'écart de la bougie pour éviter tout démarrage accidentel.
- Ne pasmettrele moteur en marche a l'intérieur, sauf lors du demarrage du moteur et le transport du produit dans ou hors del'immeuble. Ouvrir les
portes; les gaz d'échévement du moteur sont dangereux.
- Faire preuve d'extreme prudence lorsqu'on travaillée dans les pentes.
- Ne jamais faire fonctionner la machine sans ses grilles, plaques et autres dispositifs de protection en place et en bon état de fonctionnement.
- Ne jamais diriger le déflecteur de goulotte vers des personnes ou vers des endroits où les éventuelles projections pouraient cause des dégats. Tenir les enfants et autres personnes à l'écart.
- Ne pas dépasser la capacité du produit en tentant desterolir la neige trop rapidement.
- Ne pas utiliser le produit à des vitesses trop élevées sur des surfaces glissantes. Lorsqu'on recule, regarder derrière soi et se déplacer lentement.
- Désengager l'alimentation des tarières lorsque le produit est en cours de transport quand il n'est pas en cours d'utilisation.
- Utiliser les-appareils et accessoiresapprovés par le fabricant du produit (teIs que les poids de roue,contrepoids ou cabine).
- Ne jamais utiliser le produit sans une bonne visibilité ou lumière. Garder les pieds toujours bien d'aplomb sur le sol et tener la poignée avec fermété. Toujects marcher; ne jamais courir.
- Ne jamais toucher le moteur ou le silencieux quand il est chaud.
Sécurité de l'air de travail
- Inspector minutieusement l'endetroit où l'équipement doit être utilisé et-retirer tout paillasson,trainéau,planche,fil ou autre objet.
- Désengager tous les embrayages etmettre au point mort avant de démarrer le moteur.
- Ne pas faire fonctionner le produit l'hiver sans porter des vêtements ajustats. Éviter les vêtements amples pouvant se prendre dans les pieces en mouvement. Le port de chaussures ajustées améliorer la stabilité sur des surfaces glissantes.
- Manipulator l'essence avec précaution, car elle est hautement inflammable.
Utiliser des recipients de carburant approvés.
- Ne jamais faire l'appoint en essence lorsqu'le moteur est en marche ou chaud.
- Remplir le réserve de carburant à l'extérieur avec une extrème prudence. Ne jamais faire l'appoint en essence à l'intérieur
- Ne jamais replir des contenants de carburant à l'intérieur d'un vehicule ou sur la plateforme d'un camion ou d'une remorque avec une garniture en plastique. Toutjours placer les contenants sur le sol loin d'un vehicule avant le replissage.
- Autant que possible, restorer tout équipement à essence du camion ou de la remorque et
faire le replissage sur le sol. Quand cela n'est pas possible, faire le replissage de tels équipements sur une remorque à l'aide d'un bidon portable plutôt qu'à l'aide d'un pistonlet distributeur d'essence.
Garder le pistolet distributeur en contact avec le bord du réservoir de carburant ou de l'ouverture du bidon à tout moment jusqu'à obtention du plein. Ne pas utiliser de dispositif à ouverture bloquée du pistolet distributeur.
- Remetre le bouchon de carburant solidement en place et nettoyer le carburant deversé.
- En cas de déversement de carburant sur les vêtements, changer immédiatement de vêtement.
- Utiliser rallonges et réceptacles conformes à celles spécifiées par le fabricant pour tous les apparèils à moteur électrique ou à démarrage électrique.
- Régler la hauteur du carter de tarière afin d'éviter le gravier et les pierres en surface.
- Ne jamais essayer de faire des réglages pendant que le moteur est en marche (sauf la où spécifique par Recommendation du fabricant).
- Toujours porter des lunettes ou un masque de protection pour les yeux pendant l'utilisation de la machine ou lorsqu'on effectue un réglage ou une réparation, de sorte à protéger les yeux en cas de projection de corps étrangers.
Équipement de protection personnelle
Toujours s'équiper d'un équipement de protection personnelle approprié lors de l'utilisation de l'outil. Cela comprend, à tout le moins, des souliers résistants, des lunettes de sécurité et un protecteur auriculaire. Cet équipement de protection personnelle n'élimine pas les risques de blessures, mais peut réduire la gravité en cas d'accident.
- Toujours porter des lunettes de sécurité ou tout autre dispositif de protection des yeux lors de l'utilisation de l'outil ou des opérations d'entretien ou de réparations.
- Toujours porter des vêtements hiver approprié lorsqu'on fait fonctionner le produit.
- Utiliser toujours des bottes antidérapantes robustes qui offrent un bon support aux chevilles lors de l'utilisation du produit.
- Ne pas porter de vêtements amples pouvant se prendre dans les pieces en mouvement.
- Utiliser des gants de protection homologues, au besoin. Par exemple, lors de la fixation, de l'examen ou du nettoyage de la lame.
- Toujours utiliser un dispositif de protection homologué pour les oreilles lorsqu'on utilise la machine. Le fait d'entendre du bruit pendant une longue période peut engender une perte auditive.
Dispositifs de sécurité sur l'outil
Faire régulierement l'entretien sur le produit.
- Cette précaution augmente la durée de vie utile du produit.
- Cette précaution réduit le risque d'accident.
Communique régulierement avec un concessionnaire agree ou a un centre de service après-vente agree d'examiner le produit pour effectuer les réglages et les réparations.
- Ne pas utiliser un produit avec un équipement de protection endommagé. Si l'outil est endommagé, communiquer avec un centre de service après-vente/agréé.
Silencieux
Le silencieux maintain le niveau de bruit au minimum et dirige les gaz d'échévement loin de l'utilisateur.
Ne pas utiliser l'outil si le silencieux est manquant ou défectueux. Un silencieux défectueux augmente le niveau sonore et le risque d'incendie.

AVERTISSEMENT:Le
silencieux devient très chaud pendant et après utilisation et lorsque le moteur tourne au ralenti. Faire attention à proximate des matériaux inflammables ou des fumées afin d'éviter tout risque d'incendie.
Sécurité - carburant

AVERTISSEMENT : Lire les
messages d'ajretissement qui suivent avant d'utiliser l'outil.
- Ne pas démarrer l'outil s'il y a du carburant ou de l'huile moteur sur l'outil. Nettoyer le carburant ou l'huile et laisser secher l'outil.
- Si du carburant se déverse sur les vêtements, changer immédiatement de vêtement.
- Ne pas déverser du carburant sur le corps; cela pourrait cause des blessures. Si du carburant se déverse sur le corps, se nettoyer au savon doux et à l'eau.
- Ne pas démarrer l'outil si le moteur présente une fuite. Vérifier régulièrement le moteur à la recherche de fuites.
- Faire preuve de prudence lors de la manipulation du carburant. Celui-ci est inflammable et ses vapeurs sont explosives et peuvent cause des blessures ou la mort.
- Ne pas respirer les vapeurs de carburant, car elles peuvent cause des blessures. Vérifier que la ventilation est suffisante.
-
Ne pas fumer à proximé du carburant ou du moteur.
-
Ne pas placer des objets chauds à proximé du carburant ou du moteur.
- Ne pas faire le plein de carburant lorsque le moteur tourne.
- Vérifier que le moteur est froid avant de faire le plein.
- Avant de faire le plein, ouvrir lentement le couvercle du réservoir de carburant et relâcher la pression avec précaution.
- Ne pas faire le plein dans une piece fermée. Un débit d'air insuffisant peut entraîner des blessures ou la mort en raison d'une asphyxie ou du monoxyde de carbone.
- Serrer fermement le couvercle du réservoir de carburant. Si le couvercle du réservoir de carburant n'est pas bien serré, il y a un risque d'incendie.
- Avant de démarrer l'outil, le déplacer à au moins 3 m (10 pi) de la position où le plein de carburant a été fait.
- Ne jamais replir le réservoir de carburant complètement. La chaleur provoque une dilatation du carburant. Laisser un espace dans la partie supérieure du réservoir de carburant.
Consignes de sécurité pour la maintenance

AVERTISSEMENT : Lire les messages d'avertissement qui suivant avant d'utiliser l'outil.
- Les gaz d'échévement du moteur contiennent du monoxyde de carbone, un gaz inodore, toxique et très dangereux. Ne pas démarrer le moteur à l'intérieur ou dans des espaces fermés.
- Avant d'effectuer un entretien sur le produit, arrêté le moteur etsteroler le cable d'allumage de la bougie.
- Utiliser des gants de protection lors des opérations d'entretien sur le produit. Les lames sont affuées et des coupures peuvent se produit facilement.
- Les accessoires et les modifications apportées au produit qui ne sont pasapprovés par le fabricant peuvent cause des blessures graves, voire mortelles. Ne pas modifier l'outil. Toutjours utiliser des accessoires homologues par le fabricant.
- Si l'entretien n'est pas effectué correctement et régulièrement, le risque de blessures et de dommages sur l'outil augmente.
- N'effectuer que les travaux d'entretien indiqués dans ce manuel d'utilisation. Tous les autres travaux d'entretien doivent être effectuels par un agent d'entretien/agree.
- Demander à un agent d'entretien agréed'effectuer régulierement l'entretien de l'outil.
- Remplacer les pieces endommagées, usées ou brises.
Montage
Retrait du produit du carton
-
Retirer toutes les pièces desserrées inclues avec l'outil. Couper les quatre coins du carton et placer les panneaux d'extrémité à plat.
-
Retirer tous les matériaux d'emballage.
-
Retirer le produit du carton et s'assurer qu'aucune piece libre n'est laissée dans le carton.
-
Retirer les deux vis qui fixent le carter de la tarière à la palette. Retirer les supports en acier des plaques de protection, le cas échéant.
Pieces libres
| Bouton papillon de réglage (3) Couvres de goulotte d'éjection (1) | |
| Clé ON/OFF (marche/arrêt) Boulons de carrosserie 5/16-18 x 2 1/4 po (2) | |
| Boutons de poignée (2) Contre-écrou 3/8 (1) | |
| Goupilles de tonte 1/4-20 x 1-3/4 (6) Contre-écrous 1/4-20 (6) | |
| Contre-écrou 5/16-18 (1) Contre-écrou 1/4-20 (1) | |
| Rondelle en nylon(1) Boulon de carrosserie 5/16-18 x 5/8 (1) | |
| Ressort (1) Boulon à epaulement 1/4-20 (1) |
| Guide-câble (1) (selon l'équipe-ment) |
Installation de la poignée
- Déplacer la poignée supérieure à la position d'utilisation.

- Regler la position de la poignee a l'un des trous de montage (B) et serrer les boutons de poignées (C) avec les boulons de carrosserie (D).

- Installer les boulons de carroserie (D) et les boutons de poignee (C) pour fixer la poignee supérieure (A) sur la poignee inférieure (E).

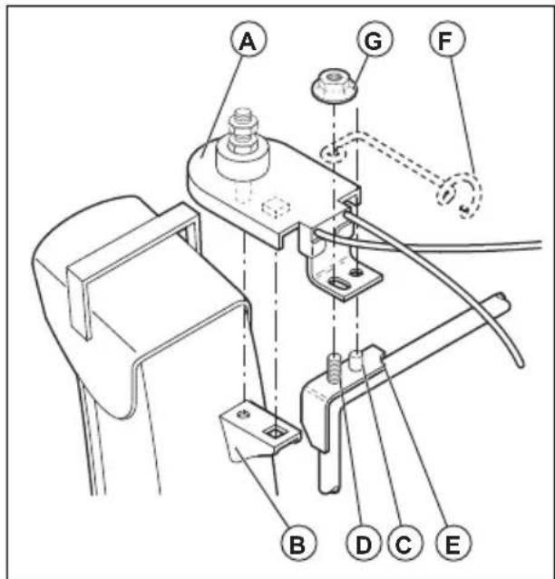
Installation du déflecteur de goulotte et de la tête du rotateur de goulotte
- Placer le déflecteur de goulotte au haut de la base de la goulotte avec l'ouverture d'évacuation vers l'avant du produit.
- Placer la tete du rotateur de goulotte (A) sur le support de la goulotte (B). Tourner l'assemblage de la goulotte pour aligner les goupilles sous la tete du rotateur de goulotte avec les trous du support de goulotte, si nécessaire.
-
Placer la tête du rotateur de la goulotte sur la goupille (C) et le goujon fileté (D) du support de montage (E).
-
Fixer un contre-écrou (G) sur le goujon fileté et serrer.

- Insérer les cables dans le guide-cable (F), selon l'équipement, et le collier double (I) pour fixer le cable du rotateur (H) sur la poignée inférieure.

Installation de la télécommande du déflecteur de goulotte
-
Fixer la console du cable (A) sur la goulotte d'éjection au moyen d'un boulon de carrosserie (B) et d'un contre-écrou 5/16-18 (D). Serrer le boulon.
-
Installer l'oeillet du cable de telecommande (E) sur le deflecteur de goulotte (F) avec un boulon à épaulement (G) et une rondelle en nylon (C), puis serrer-le tout au moyen d'un contre-écrou 1 / 4 - 20 (K). L'oeillet du cable ne sera pas serré sur le boulon à épaulement.
- Fixer le ressort (L) entre l'écrou hexagonal (M) de la tête du rotateur de la goulotte et le trou du déflecteur de goulotte.

- Fixer les boutons du levier de commande (N) en les poussant vers le bas dans les leviers de commande (O).

Fonctionnement
Avant de démarrer le produit
- Tenir les personnes et les animaux à l'écart de la zone de travail.
- Effectuer l'entretien quotidien. Voir Calendrier d'entretien à la page 66.
-
S'assurer que le cable d'allumage se loge correctement sur la bougie.
-
Ajouter de l'huile ou de l'essence, au besoin. Voir Caracteristiques techniques à la page 77.
Remplissage du moteur avec de l'huile

MISE EN GARDE: Ne pas tourner la jauge d'huile lorsqu'on vérifie
I'huile. Ne pas replir au-dessus du repere.
- Retirer le bouchon d'huile et nettoyer la jauge d'huile. Voir Présentation de l'appareil à la page 53 pour l'emplacement de la jauge.
- Remplir d'huile jusqu'à la marque supérieure de la jauge d'huile. Utiliser la jauge pour vérifier le niveau d'huile périodiquement.
- Remetre le bouchon du réservoir d'huile en place.
Faire le plein
Ne pas utiliser d'essence à indice d'octane inférieur à 90 RON (86 AKI). Ces moteurs fonctionnent mieux avec de l'essence sans plomb.

MISE EN GARDE :
- Ne PAS utiliser d'essence périmée, contaminé ou mélangée avec de l'huile.
- Ne pas introduire de saleté ou d'eau dans le réservoir de carburant.
- N'utiliser que les bidons d'essence appropriés et les marquer pour moins les identifier.
-
Ne PAS utiliser de carburant mélangé E85. Ces moteurs ne sont pas compatibles avec les essences E20, E30 ou E85.
Le contenu en ethanol doit etre de 10% au maximum. -
Ouvrir le bouchon du réservoir de carburant lentement pour libreer la pression.
- Remplir le réservoir lentement avec un bidon de carburant. En cas de déversement de carburant, le nettoyer avec un chiffon et laisser le reste du carburant sécher.
- Nettoyer la zone autour du bouchon du réservoir de carburant.
- Serrer fermement le couvercle du réservoir de carburant. Si le couvercle du réservoir de carburant n'est pas bien serré, il y a un risque d'incendie.
- Avant de démarrer l'outil, le déplacer à au moins 3 m (10 pi) de la position où le plein de carburant a été fait.
Réglage de la goulotte déjection et du déflecteur de goulotte
-
Pour régler la position de la goulotte d'éjection, déplacer le levier de commande de la goulotte d'éjection (A) vers l'arrière, vers la gauche ou vers la droite.
-
Pour régler la distance de la fraise à neige du déflecteur de goulotte, déplacer le levier de télécommande du déflecteur (B) vers le bas pour diminuer la distance ou vers le haut pour augmenter la distance.

Démarrage du moteur (manuel)
- Insérer la clé ON/OFF (marche/arrêt) (A) dans la fente d'allumage jusqu'à ce qu'elle s'enclença. Ne pas tourner la clé.

- Déplacer le levier de commande (B) à la position ON (marche).
- Placer la commande d'accelération (C) à la position FAST (rapide).
a) Si le moteur est froid, déplacer le levier d'étrangleur (D) à la position FULL (plein).

MISE EN GARDE: Ne pas trop amorcer le moteur. Cela peut nuire au démarrage du moteur. Si le moteur est suramorcé, attendre quelques minutes avant de tenter le démarrage et ne par amorcer le moteur par la suite.
- Tirer sur la poignée du cable du lanceur (F).

MISE EN GARDE: Ne pas relâcher la poignée trop rapidement. La ramener delicatement à la position de départ.
Remarque: Si la poignée du lanceur gèle, tirer doucement sur la corde du lanceur et relâcher la poignée du lanceur. Si le moteur ne démarre pas, repeter la procédure ou utiliser le démarreur électrique.
- Si la commande de starter a ete utilise pour demarrer le moteur, deplacer lentement le volet de depart (D) à la position OFF (arret).
- Faire tournier le moteur 2 à 3 minutes au ralenti avant de commencer à projeter la neige.
- Si le moteur ne démarre pas comme il se doit, l'eteindre.
Démarrage du moteur (electrique)

AVERTISSEMENT: Le produit est doté d'un démarreur électriche c.a. 120 V. Ne pas utiliser le démarreur électriche si vous maison n'est pas équipée d'un 120 V système de mise à la terre à trois broches c.a. Des blessures graves ou des dommages au produit pourrait survenir. Le démarreur électriche est équipé d'une prise d'alimentation à trois broches et est consçu pour un 120 V courant domestique c.a. Assurez-vous que votre maison dispose d'un 120 V système de mise à la terre à trois broches c.a. En cas de doute, consulter un electricien/agréé.
- Insérer la clé ON/OFF (marche/arrêt) (A) dans la fente d'allumage jusqu'à ce qu'elle s'enclença. Ne pas tourner la clé.

- Déplacer le levier de commande (B) à la position ON (marche).
- Placer la commande d'accelération (C) à la position FAST (rapide).
a) Si le moteur est froid, déplacer le levier d'étrangleur (D) à la position FULL (plein).
- Appuyer sur l'amorce (3) trois fois.

MISE EN GARDE: Ne pas trop amorcer le moteur. Cela peut nuire au démarrage du moteur. Si le moteur est suramorcé, attendre quelques minutes avant de tenter le démarrage et ne par amorcer le moteur par la suite.
- Brancher la rallonge au connecteur du moteur (F).
- Brancher l'autre extrémité de la rallonge sur la 120 V prise d'alimentation à trois troughs c.a. dotée d'une mise à la terre.
- Appuyer sur le bouton de démarrage électrique (G) jusqu'à ce que le moteur démarre.

MISE EN GARDE: Ne pas tenter de démarrer le moteur pendant plus de cinq secondes continues entre chaque tentative de démarrage. Attendre 1 minute entre chaque essai.
- Si le volet de départ a ete utilise pour demarrer le moteur, relacher le bouton de demarrage electrique et deplacer lentement le volet de depart (D) a la position OFF (arret).
- Debrancher la rallonge, tout d'abord à la prise, puis au moteur.
- Faire tourner le moteur 2 à 3 minutes au ralenti avant de commencer à projeter la neige.
Utilisation de la machine

MISE EN GARDE: Ne pas faite fonctionner la machine sans neige ou sans eau pour lubrifier les lames de la tariere. Une mauvaise utilisation peut mener à une température élevée des lames de la tariere, sur tout si le produit est neuf. Cela peut endommager les lames de la tariere et la barre de racleur.

MISE EN GARDE: Ne pas engager partiellement les leviers d'entrainment ou de la tarière pendant une durée prolongée, car cela risque d'entrainer une usure prematurée des courroies.
Remarque : Lorsque l'engagement de l'entrainment et l'engagement de la tarière sont actionnés, l'engagement de l'entrainment verrouille la tarière en place. Utiliser la main droite pour manoeuvrer la goulotte d'éjection à neige.
Remarque: Ne pas modifier la vitesse lorsque le levier de transmission est engagé. Cela pourrait endommager la transmission.
- Pour engager les lames de la tarière, pousser sur la poignée d'engagement de la tarière afin d'engager la tarière et de projeter la neige.

- Relever le levier de commande de vitesse d'entrainment (B) de la position centrale afin que le produit puisse se déplacer vers l'avant lorsque l'engagement de l'entrainment (C) est engagé. Ne pas modifier la vitesse lorsque le levier de transmission est engagé. Cela pourrait endommager la transmission.
- Abaisser le levier de commande de vitesse d'entrainment de la position centrale afin que le produit puisse se déplacer vers l'arrière lorsque l'engagement de l'entrainment est engagé.

-
Pour que le produit se déplace dans la direction sélectionnée, maintainir l'engagement de l'entrainment (C) contre la poignée.
-
Si le produit est équipé d'une direction assistée, notamment le levier de direction gauche (D) pour tourner à gauche. Maintenir le levier de direction droit pour tourner à droite.

Arrêt du produit
- Placer l'interrupteur ON/OFF (marche/arrêt) en position OFF (arrêt) (selon l'équipement).
- Retirer la clé ON/OFF (marche/arrêt).
Utilisation de la commande d'accéléateur
- Déplacer la commande d'accelération (A) pour modifier la quantité de carburant utilisé. Toujours faire tourner le moteur à plein régime.

Utilisation du commutateur de carburant
Actionner le commutateur de carburant (A) pour ouvrir ou fermer le robinet de carburant. Utiliser le produit lorsque le commutateur de carburant se trouve à la position OPEN (ouvert).

Utilisation de la commande de l'étrangleur
- Déplacer l'étrangleur (A) pour ouvrir ou fermer la soupape de l'étrangleur. Utiliser le volet de départ pour démarrer le moteur lorsqu'il est froid.

Réglage des plaques de protection
Les plaques de protection préviennent les dommages à la partie inférieure de la souffleuse à neige. Régler les plaques de protection (A) lorsque le contre-écrou (B) est desserré, ou si la plaque de protection n'est pas à la bonne distance du sol. Aucun réglage n'est nécessaire pour l'installation normale.
-
Desserrer le contre-écrou (B) à l'aide d'une clé plate de 13 mm (1/2 po).
-
Déplacer les plaques de protection (A) vers le haut ou vers le bas.
a) Sur des surfaces planes, régler la distance entre la barre de racleur et le sol à 5 à 6 mm (0,2 à 0,25 po).
b) Sur les surfaces rugueuses, régler les plaques de protection (A) de telle manière que la barre de racleur se situe au-dessus du haut du sol.

AVERTISSEMENT :
Veiller à que du gravier et des pierres n'entrent pas dans le produit. Les objets éjectés à grande vitesse peuvent cause des blessures.
- Serrer le contre-écrou (B).

Prévention du gel après utilisation
Remarque: Les commandes et les pieces mobiles peuvent être bloquées par la glace. Ne pas appliquer une force excessive aux commandes. S'il n'est pas possible d'actionner une commande ou de manœuvrer une piece, demarrer le moteur et le laisser fonctionner pendant quelques minutes.
- Demarrer le moteur et le laisser tourner au ralenti pendant quelques minutes. Arreter le moteur et attendre que toutes les pieces mobiles soient immobilisées.
- Retirer la neige et les morceaux de glace du produit.
- Retirer la neige et les morceaux de glace à la base de la goulotte.
- Tournier le déflecteur de goulotte vers la gauche et vers la droite pour enlever la glace et de l'eau.
- Retirer la clé ou basculer l'interrupteur à la position « OFF » (arret) (selon équipement).
- Si le produit n'est pas doté d'un démarreur électrique, tirer la poignée du lanceur à plusieurs reprises afin de retarder la glace et l'eau.
- Si le produit dispose d'un démarreur électrique, brancher le produit à l'alimentation et appuyer sur le bouton de démarriage une fois afin de retarder la glace et l'eau.
Pour obtaining a bon résultat
- Toujours faire tourner le moteur à plein régime ou presque à plein régime.
- Toujours adapter la vitesse du produit aux circonstances relatives à la neige et adapter la vitesse au moyen du levier de commande de vitesse d'entrainment. S'assurer que le produit projette la neige de façon uniforme.
- Il est plus facile et plus efficace d'éliminer la neige immédiatement après la chute.
- Toujours projeter la neige dans la direction du vent autant que possible.
-
Sur les surfaces planes, comme les routes asphaltees, relever la barre de protection de 5 à 6 mm (de 0,2 à 0,25 po) à partir du sol.
-
La barre de racleur est réversible. Quand elle est usée et s'approche de l'extrémité du carter, l'inverser. Remplacer la barre de racleur si elle est endommagée ou si les deux côtes sont usés.
- Ne pas régler le déflecteur de goulotte s'il est encrassé.
- Si le produit ne se déplace pas vers l'avant en raison de circonstances exceptionnelles, relâcher immédiatement l'engagement de l'entrainment ou tourner la clé ON/OFF (marche/arrêt) en position OFF (arrêt).
Entretien
Introduction
Lorsque le produit est en utilise, les boulons peuvent se desserrer et des composants peuvent s'user. Cela peut entraîner un dysfonctionnement,
comme un mauvais espacement, une augmentation de la consommation d'huile ou un problème d'alignement de différents éléments. Proceder à un entretien régulier du produit afin d'éviter tout dysfonctionnement.
Calendrier d'entretien
| Entretien Quotidien 2 | 0 heures 50 heures 1 | 00 heures | ||
| S'assurer que les écrous et les vis sont serrés | X | |||
| Vérifier le niveau d'huile moteur | X | |||
| Remplacer l'huile7 | XXXX | |||
| S'assurer qu'il n'y a pas de fuites de carburant ou d'huile | X | |||
| Retirer les obstructions et les corps étrangers de laulance | ||||
| Vérifier la pression des pneus8 | X | |||
| Inspector et rempla-cer la bougie9 | X |
Remarque: Il n'est pas nécessaire d'ajouter de laGRAISSÉ ou d'effectuer d'autres entretiens sur la boîte de vitesses.
Pour effectuer une inspection générale
- S'assurer que tous les écrous et toutes les vis sur le produit sont serrés correctement.
Vérification du niveau d'huile

MISE EN GARDE:Un niveau d'huile trop faible peut cause des dommages au moteur. Vérifier le niveau d'huile avant d'utiliser le produit.
- Placer le produit sur un sol plat.
- Retirer le bouchon du réservoir d'huile avec la jauge d'huile.
- Nettoyer l'huile sur la jauge d'huile.
- Insérer entiement la jauge dans le réservoir d'huile pour obtenir une estimation appropriée du niveau d'huile.
- Retirer la jauge d'huile.
- Examiner le niveau d'huile sur la jauge d'huile.
- Si le niveau d'huile est trop bas, replir avec de l'huile moteur et vérifier de nouveau le niveau d'huile.
Vidange de l'huile
- Faire tourner le moteur quelques minutes pour faire chauffer l'huile. L'huile chaude s'écoule plus facilement et emporte avec elle plus de contaminants.

AVERTISSEMENT:Lhuile moteur est chaude. Eviter tout contact entre la peau et l'huile moteur usagée.
- Placer le produit sur un sol plat.
- Retirer la clé ON/OFF (marche/arrêt).
- Placer un réseau sous le bouchon de vidange d'huile.
- Retirer le bouchon de vidange d'huile, basculer le produit et vidanger l'huile usagée dans le conteneur.
- Replacer le produit à la position de fonctionnement
- Installer le bouchon de vidange d'huile et le serrer à la main.
- Remplir le moteur d'huile, voir Remplissage du moteur avec de l'huile à la page 61.
Lubrification de la machine
- Lubrifier les points pivots (A) avec de l'huile.
-
Lubrifier le moteur (B) avec de l'huile.
-
Appliquer une petite quantité de graisse au lithium au mécanisme de verrouillage Boss (C) au début de chaque saisson ou toutes les 25 heures d'utilisation.

Silencieux
Le silencieux maintient le niveau de bruit au minimum et dirige les gaz d'échéppement loin de l'utilisateur.
Ne pas utiliser l'outil si le silencieux est manquant ou défectueux. Un silencieux défectueux augmente le niveau sonore et le risque d'incendie.
Examiner régulierement le silencieux pour s'assurer qu'il est correctement raccordé et en bon état.

MISE EN GARDE:Le
silencieux devient très chaud pendant et après utilisation et lorsque le moteur tourne au ralenti. Faire attention à proximate des matériaux inflammables ou des fumées afin d'éviter tout risque d'incendie.
Vérification de la bougie d'allumage

MISE EN GARDE: Toujours utilise une bougie d'allumage du type recommendé. Une bougie d'allumage de type inapproprié peut endommager le produit.
- Examiner la bougie d'allumage si le moteur manque de puissance, démarre difficilement ou ne fonctionne pas correctement au régime de ralenti.
- Afin de réduire le risque de matériel indésirable sur les electrodes de la bougie, respecter les consignes suivantes :
a) Verifier que le régime de ralenti est regle de façon adequate.
b) Verifier que le mélange de carburant est correct.
c) Verifier que le filtré à air est propre.
- Si la bougie d'allumage est sale, la nettoyer et s'assurer que l'écartement des electrodes est correct, se reporter à la section Caractéristiques techniques à la page 77.

- Remplacer la bougie d'allumage au besoin.
Inspection des tarières et de la barre de racleur
- Avant chaque utilisation, vérifier la tarière et la barre de racleur pour détecter tout signe d'usure.
- Si le bord de la barre de racleur est use, inverser la barre de racleur. Si la barre de racleur est endommagée ou est usée des deux côtes, la replacer.
- Si les bords de la tarière sont usés, communiquer avec un centre de service agréé pour les remplacer.
Remplacement des goupilles de tonte de la tarière
La goupille de tonte protège le produit contre les dommages. Les goupilles de tonte de la tarière peuvent se briser si un objet est inséré dans les pieces mobiles.

MISE EN GARDE: N'utiliser que les goupilles de toute livrées avec le produit.
- En cas de bris d'une goupille de tonte de la tarière, arrêté le moteur et attendre que les pièces mobiles soient immobiles.
- Retirer la clé ON/OFF (marche/arrêt) et débrancher le cable d'allumage.
-
Aligner le trou du moyeu de la tarière (B) avec le trou dans l'arbre de la tarière (C) et installer une nouvelle goupille de tonte 1 / 4 - 20 × 2 (A).
-
Installer un contre-écrou 1/4-20 (D) et le serrer.

- Insérer la clé ON/OFF (marche/arrêt) dans le contact, puis brancher le cable d'allumage de la bougie.
Remplacement des goupilles detonte de la roue ailettes
La goupille de tonte de la roue à ailettes protège le produit contre les dommages. Les goupilles de tonte de la roue à ailettes peuvent se briser si un objet est inséré dans les pieces mobiles.

MISE EN GARDE: N'utiliser que les goupilles de toute livrées avec le produit.
- En cas de bris d'une goupille de tonte de la roue à ailettes, arrêté le moteur et attendre que les pieces mobiles soient immobiles.
- Retirer la clé ON/OFF (marche/arrêt) et débrancher le cable d'allumage.
-
Aligner le trou du moyeu de la roue à ailettes (A) avec les trous de l'arbre de la roue à ailettes (B) et installer une nouvelle goupille de tonte 1 / 4 - 20 (C).
-
Installer un contre-écrou 1/4-20 (D) sur la goupille de tonte et serrer.

- Insérer la clé ON/OFF (marche/arrêt) dans le contact, puis brancher le cable d'allumage de la bougie.
Pour examiner les pneus
- Maintenir les pneus exempts de carburant et d'huile pour éviter d'endommager le caoutchouc.
- Maintenir les pneus à l'écart deouches, de pierres, d'ornières, d'objets pointus et de tout autre objet pouvant les endommager.
- Maintainir la pression correcte des pneus, voir Caracteristiques techniques à la page 77.
Dégagement d'un déflecteur de goulotte déjection bouché
Ne pas déboucher le déflecteur de la goulotte d'éjection avant d'avoir exécuté les opérations suivantes.
- Relâcher simultanément l'engagement de la tarière et celui de l'entrainment.
- Attendre 10 secondes pour s'assurer que les tarières sont arrêtées.
- Éteindre le produit.
- Utiliser l'outil de nettoyage (au moins 37 cm [15 po] de long, inclus avec certains modèles) pour retarder l'obstruction.

AVERTISSEMENT: Ne pas placer les mains dans le deflecteur de la goulotte d'éjection ou à l'intérieur du godet à tarière.
Remplacement de la barre de racleur
- Placer la barre de racleur (A) dans la position inversée lorsqu'elle est usée du cote du carter.

- Remplacer la barre de racleur si elle est usee des deux cotes ou si elle est endommagee.
Courroies d'entraînement

AVERTISSEMENT: Les
courroies en V sont spécialement
conçues pour le produit et doivent être
replaces par des pieces du fabricant
d'origine disponibles auprès de votre
centre de services le plus proche.
L'utilisation de courroies autres que
celles du fabricant d'origine peut cause
des blessures personnelles ou
endommager le produit.

AVERTISSEMENT: Le remplacement de la courroie nécessite le demontage du produit. Pour séparer le carter de la tarière du chassin, il est important qu'un assistant se tiennebout dans la position de fonctionnement et qu'il tienne les poignées du produit. Des blessures corporelles graves ou un endommagement du produit pourraient se produit si le produit est échépèendant le remplacement de la courroie.
Remarque: Il n'est pas possible d'ajuster la courroie de la tarière et la courroie d'entrainment. Remplacer les courroies si elles sont endommagées ou si elles commencent à glisser en raison de l'usure. Il est recommendé de faire replacer les courroies par un centre de réparation/agréed.
Remarque: Il est recommandé de replacer la courroie d'entrainment ainsi que la courroie de la tarière.
Préparation du remplacement des courroies
-
Retirer le carburant du réservoir de carburant.
-
Desserrer le contre-écrou (A) qui fixe la tete du rotateur de goulotte (B) au support de montage (C) afin desterolir lagoulette d'éjection.

- Desserer les deux vis (A) qui maintainent le carter de la courroie (B) sur le chassinis (C) et enlever le carter de la courroie.

Retrait de la couroie d'entrainement
-
Retirer la courroie de tarière. Voir Retrait de la courroie de tarière à la page 71.
-
Déposer le ressort du tendeur (A) fixé sur le levier du tendeur de courroie d'entrainment (B).

- Déposer le ressort de rappel (C) qui maintain le plateau de rotation (D) en place.
- Déposer le boulon du levier (E) et le levier du tendeur de courroie.
- Retirer le boulon de la poulie (F), la poulie du moteur (G) et la courroie d'entrainment (H) du moteur.
- Retirer le boulon supérieur (I) qui maintain le plateau de rotation sur le chassin
- Pivoter et maintainir le plateau de rotation à l'ecart du produit et retirer la courroie d'entrainment de la poulie d'entrainment (J).
Installation de la couroie d'entrainment
- Pivoter et maintainir le plateau de rotation (D) à l'écart du produit.

- Placer la courroie d'entrainment (H) sur la poulie d'entrainment (J).
Remarque: S'assurer que la courroie d'entrainment est acheminée correctement dans la rainure de la poulie d'entrainment avant d'abaisser le plateau de rotation.
-
Installer et serrer le boulon supérieur (I).
-
Placer la couroie d'entrainment dans la rainure de la poulie du moteur (G) avant de l'insteller sur l'arbre du moteur.
- Installer le boulon de la poulie (F) et l'attacher la poulie du moteur sur le moteur. Serrer le boulon de la poulie (de 30 à 35 pi- Ib / de 41 à 47 Nm).
- Installer le levier du tendeur de couroie d'entrainement (B) et serrer le boulon du levier (E) sur le moteur.
- Installer le ressort de rappel (C) sur le plateau de rotation.
- Installer le ressort du tendeur (A) sur le levier du tendeur.
- Actionner toutes les commandes pour s'assurer que la couroie d'entrainment est correctement installée et que tous les composants se déplacent correctement.
Installation du carter de la courroie
- Installer le carter de la courroie (B) sur le chassin (C) et serrer les deux vis (A).

- Installer la goulotte de décharge.
Retrait de la courroie de tarière
- Retirer les boulons 5/16 po (A) et les boulons 14 po inférieurs (B) des 2 cotes du chassis. Conserver les boulons.

- Desserrer, sans retirer, les boulons de 5/16 po inférieurs (C) des 2 cotés du chassin.
- Retirer la courroie de tariere de la poulie du moteur.
- Incliner la partie arrêté vers le bas. La partie avant s'incline vers l'avant par la même occasion. Le boulon inférieur (C) sort de charnière entre les sections avant et arrière.
- Placer une cale en bois sous le point de charnière afin demettre le produit en position repliee.
- Déplacer le levier du tendeur de courroie de la tarière etsteroler la courroie de la tariere du levier.
Installation de la courroie de tarière
- Déplacer le levier du tendeur de couroie et placer la couroie de tarière dans la rainure de la poulie de tarière.

MISE EN GARDE :
S'assurer que la couroie n'est pas coincidee entre le chassin et le carter de la tariere lorsque vous assemblez I'unité.
- Retirer le bloc de bois à partir de la partie inférieure du produit.
- Tourner la poignée pour incliner la partie arrière vers le haut. La partie avant s'inclinera vers l'arrière et pivotera afin de fixer la partie arrière.
-
S'assurer que la couroie est correctement positionné dans la rainure de la poulie de tarière.
-
Installer les boulons de 5/16 po (A), (C) et les serrer (8 à 12 Ib/po2 / 11 à 16 Nm).

- Installer les boulons de 14 po (B) et les serrer (4 à 6 lb/po2 / 5 à 8 Nm).
- Installer la couroie de la tarière sur la poulie du moteur. S'assurer que la couroie est correctement placée sur la poulie folle et correctement installée dans la rainure de la poulie du moteur.
- Actionner toutes les commandes afin de s'assurer que la courroie de la tarière est correctement installée et que tous les composants se déplacent correctement.
Réglage de la tension du cable du déflecteur de la goulotte d'éjection
- Desserrer les écrous de blocage (B) afin de régler la tension du cable de la goulotte d'éjection adjacente au dispositif de réglage du tendeur (A).

- Tenir fermement la section courte et tourner la section longue afin d'alloger le tendeur.
- Proceder à un ajustement jusqu'à ce que le cable du déflecteur de la goulotte d'éjection (C) soit bien serré. Serrer les écrous de blocage.
Ajustement du cable de commande de la tarière
Remarque: Si vous ne vous sentez pas à l'aise de faire ce réglage vous-même, veuillez communiquer avec un centre d'entretien autorisé. Si la rotation de la tarière est ralentie lorsque le levier de commande est engagé ou si la courroie a été replacée, il est possible qu'un réglage soit nécessaire.
- Desserrer les écrous de blocage (B) à côte du tendeur (A) pour régler la tension du cable de commande de la tarière (D).

- Tenir la section courte et faire tourner la section longue. La tourner sur 360 degrés.
- Vérifier l'engagement de la tarière. Répéter le réglage jusqu'à ce qu'il ne reste qu'une faible tension dans le cable lorsque le levier est désengageé.
- Serrer l'écrou de blocage inférieur afin de le verrouiller en tension.
- Demander à un assistant de se tener à 3 metres / 10 pieds devant le produit, sur le côte opposé de la goulotte. L'assistant doit observer la rotation de la tarière et calculator le temps nécessaire pour l'arrêt de la rotation après avoir relâché le levier. Si la tarière cessée de tourner après 5 secondes, régler la longueur du cable en faisant tourner le cylindre central sur 360 degrés pour rétracter le dispositif de réglage. Vérifier la tarière et calculator le temps à nouveau. Si la tarière cessée de tourner en moins de 5 secondes, passer à l'étape suivante.
- Serrer le contre-écrou sur le cable de la tarière.
Remarque: Si le réglage du cable ne regle pas le problème, remplacer la courroie de la tarière. Voir Retrait de la courroie de tarière à la page 71.
Dépose des roues
-
Déposer l'axe de la roue (A) et l'axe de retenue (B).
-
Enlever la roue de l'arbre (C).

Pour nettoyer l'outil
- Nettoyer les pieces en plastique à l'aide d'un chiffon propre et sec.
- Ne pas utiliser de nettoyeur à haute pression pour nettover la tondeuse.
- Ne pas verser de l'eau directement sur le moteur.
Utiliser une Brosse pour enlever les feuilles, l'herbe et la saleté.
Dépannage
| Problème Cause | possible Solution | |
| L'outil ne démarre pas La | clé de démarriage de sécurité n'est pas in-sérée. | Insérer la clé de démarriage de sécurité. |
| Le produit est en panne de carburant. Remplir | le réservoir de carburant avec de l'essence fraîche et propre. | |
| La clé ON/OFF (marche/arrêt) est à la position OFF (arrêt). | Placer la clé ON/OFF (marche/ arrêt) à la position ON (marche). | |
| Le volet de départ est à la position OFF (arrêt, fermé). | Déplacer le volet de départ à la position ON (marche, complètement ouvert). | |
| L'amorceur n'est pas enforcé. Appuyer sur l'amorceur. | ||
| Le moteur est noyé. Attendre quelques minutes | avant de redémarrer, NE PAS purger. Redémarrer le moteur à plein régime avec le volet de départ à la position OFF (arrêt, fermé). | |
| Le fil de la bougie d'allumage n'est pas connecté. | Connector le fil à la bougie d'allumage. | |
| La bougie d'allumage est défectueuse. Remplir | cer la bougie d'allumage. | |
| Il y a de l'eau dans le carburant ou le carburant est trop vieux. | Vider le réservoir de carburant et le carburateur. Remplir le réservoir de carburant avec de l'essence fraîche et propre. | |
| Il y a de la vapeur dans la conduite de carburant. | S'assurer que toute la conduite d'alimentation en carburant est en dessous de la sortie du réservoir de carburant. La conduite d'alimentation en carburant doit fonctionner en permanece entre le réservoir de carburant et le carburateur. | |
| Autres causes. Lire attentivement les méthodes de démarrage de ce manuel. | ||
| Le commutateur de carburant (selon l'équipement) est à la position CLOSE (arrêt). | Placer le commutateur de démarriage du moteur à la position ON (marche). | |
| La commande d'accélération est à la position STOP (Arrêt). | Déplacer la commande d'accéléuration à la position FAST (Rapide). | |
| Puisance réduite Le fil de l'air | la bougie d'allumage n'est pas con-necté. | Connector le fil à la bougie d'allumage. |
| Le produit rejette trop de neige. RÉduire la vite sse et la largeur de l'andain. | ||
| Le couvercle du réservoir de carburant est recouvert de glace ou de neige. | Retirer la glace et la neige sur et autour du couvercle du réservoir de carburant. | |
| Le silencieux est sale ou bouché. Nettoyer ou remplacer le silencieux. | ||
| Mauvaise longueur de cable. Régler le cable. | ||
| Le silencieux est obstrué. Vérifier que le moteur est froid. Retirer l'obstruction. | ||
| La prise d'air d'admission du carburateur est obstrée. | Vérifier que le moteur est froid. Retirer l'obstruction. | |
| Le moteur tourne au ra-lenti ou ronfle | Le volet de départ est à la position ON (mar-che, complètement ouvert). | Déplacer le volet de départ à la position OFF (arrêt, fermé). |
| La conduite de carburant est obstrée. Nettoyer la conduite de carburant. | ||
| Il y a de l'eau dans le carburant ou le carbu-rant est trop vais. | Vider le réservoir de carburant et le carburateur. Remplir le réservoir de carburant avec de l'essence fraîche et propre. | |
| Le carburateur doit être replacé. Communiquer avec un centre de réparation agrée. | ||
| La courroie est tendue. Remplacer la courroie | trapézoïda-le de la tarière. | |
| Vibrations/Mouvements excessifs de la poignée | Certaines pièces sont desserrées. Les tarières sont endommagées. | Serrer tout le matériel de fixation. Remplacer les pièces endomma-gées. Si la vibration persiste, com-muniquer avec un centre de service agréé. |
| Les poignées ne sont pas correctement posi-tionnées. | Assurez-vous que les poignées sont verrouillées en position. | |
| Les écrous du levier de réglage sont desser-rés. | Serrer les écrous jusqu'à ce que la poignée soit sécurité. | |
| La poignée du lanceur est difficile à tirer | La poignée du lanceur est gelée. Tirer autant qu'que possible sur corde du lanceur, puis relâcher la poi-grée. Si le moteur ne démarre pas, repêter la procédure ou utilise-ser le démarreur électrique. | |
| La corde interfère avec les composants. La corde du lanceur ne doit tou-cheraucun cable ni tuyau. | ||
| Problème Cause | Possible Solution | |
| Perte de traction/ralen-tissement de la vitesse d'entrainment | La couroie glisse. Régler le cable. Régler la couroie. | |
| La couroie est usée. Vérifier/remplacer la cou | ||
| Réroie. Réc- gler la poulie. | ||
| Perte de décharge ou ralentissement de la dé-charge de neige | La couroie est sortie de la pouie. Vérifier/reir | staller la couroie. Ré- gler la pouie. |
| Le déflecteur de goulotte est obstrué. Nettoyer | le déflecteur de goulotte. | |
| Des corps étrangers obstruant les tarières. Retirer les débris ou le corps étranger des tarières. | ||
| La goupille de tonte est brisée. Remplacer la goupille de tonte brie-sée. | ||
| Accumulation excessive de neige et de glace entre les composants de la chenille. | Retirer la neige et la glace entre les composants de la chenille. | |
| La roue d'entrainment de friction est usée. Communiquer avec un centre de réparation agrée. | ||
| Le disque de friction est humide Laisser le disque de friction sécher | ||
| Échec de rotation de la tarière après le relâche-ment de la poignée | La couroie d'entrainment n'est pas alignée. Régler la couroie d'entrainment. | |
| Le déflecteur d'éjection n'est pas aligné. Régler le déflecteur d'éjection. | ||
| L'éclairage n'est pas ali-gné (salon l'équipement) | Le moteur ne tourne pas. Démarrer le moteur | |
| Le branchement du cable est desserré. Vérifier | les branchements électri- ques au niveau du moteur et des feu. faux. | |
| La DEL est brûlée. Remplacer le module d'écairage à DEL. Il n'est pas possible de rem- placer des DEL distinctes. | ||
| Le rotateur de goulotte est difficile à déplacer | Il y a des débris dans le mécanisme du rota- teur de goulotte. | Nettoyer la partie interne du méca- nisme du rotateur de réception. |
| Câbles déformés ou endommagés. S'assurer | que les câbles ne sont pas endommagés. Remplacer les câbles endommagés. | |
| Le produit tourne d'un seul côté | La pression des pneus n'est pas égale. Régler la pression des pneus et gonfler le pneu. | |
| Le produit est entrainé par une seule roue. Inspecter la goupille de blocage des pneus. | ||
| Réglage irrégulier du trainau. | Régler les plaques de protection et le trainau. | |
| Réglage irrégulier des plaques de protection. | Régler les plaques de protection et le trainau. | |
Transport, entreprises et mise au rebut
Transport et entreprises
Pour le stockage et le transport du produit et du carburant, s'assurer qu'il n'y a pas de fuite ou de
vapeur. Les étincelles ou les flammes nues, par exemple avec des apparciels électriques ou des chaudières, peuvent démarrer un incendie.
Utiliser toujours des contenants agreés pour entreposer ou transporter le carburant.
Vider le réserve de carburant avant de ranger le produit pour une période prolongée. Mettre au rebut le carburant à un emplacement de mise au rebut ajustat
- Immobiliser le produit en sécurité pendant le transport pour éviter tout dommage ou accident.
Garder le produit dans un endroit verrouillé hors de portée des enfants et des personnes non autorisées.
- Conserver le produit dans un endroit sec à l'abri du gel.
Mise au rebut
- Respecter les exigences locales en matière de recyclage et la réglementation en vigueur.
- Mettre au rebut tous les produits chimiques, tel que le moteur d'huile ou de carburant, dans un centre de service ou à un emplacement de mise au rebut adequat.
Lorsqu'on n'utilise plus le produit, l'envoyer à un détaillant Husqvarna ou leMETRE au rebut à un emplacement de recyclage.
\section*{Caracteristiques techniques}
Caracteristiques techniques
Remarque : Toutes les données, les images et les specifications sont représentatives et pour
référence uniquement, et elles peuvent être modifiées sans préavis en raison d'améliorations apportées au produit.
| ST 224 ST 227 ST | 230 | ||
| Dimensions | |||
| Poids, lb / kg 201/91,2 212 / 96 258/117 | |||
| Pression d'utilisation maximale des pneus, lb/po2 18 18 20 | |||
| Moteur | |||
| Marque et modèle Husqvarna Husqvarna Husqvarna | Cylindrée, cm3 212 252 301 | ||
| Type de carburant Ordinaire sans plomb, indice d'octane de 86 ou plus (contenu en éthanol maximal de 10 %) N'utilise PAS de mélange de carbuant E85. Ces moteurs ne sont pas compatibles avec les essences E20, E30 ou E85 | |||
| Contenance de carburant, gal/l 0,69/2,61 0,69/2,61 | 1,45/5,49 | ||
| Type d'huile (API SJ-SN) SAE 5W-30 (en dessous de 0 °C / 32 °F) | |||
| Bouchon d'huile, onces liquides/l 18,6/0,55 18,6/0,55 | 37,2/1,1 | ||
| Système électrique | |||
| Bougie d'allumage | F6RTC | ||
| Écartement des electrodes des bougies (po/mm) | 0,03/0,76 | ||
Husqvarna
www.husqvarna.com
Original instructions
Instrucciones originales
Instructions d'origine
Notice Facile