2180CBC - Cheminée DOVRE - Notice d'utilisation et mode d'emploi gratuit
Retrouvez gratuitement la notice de l'appareil 2180CBC DOVRE au format PDF.
| Type de cheminée | Cheminée à bois |
| Puissance nominale | 8 kW |
| Rendement | 80% |
| Dimensions (L x P x H) | 600 x 500 x 900 mm |
| Poids | 150 kg |
| Type de combustible | Bois |
| Capacité du foyer | 40 cm de longueur de bûches |
| Système de ventilation | Air primaire et secondaire |
| Normes de sécurité | Conforme aux normes EN 13229 |
| Entretien | Ramonez le conduit au moins une fois par an |
| Garantie | 2 ans |
| Accessoires inclus | Grille de combustion, cendrier |
| Couleur | Noir |
FOIRE AUX QUESTIONS - 2180CBC DOVRE
Questions des utilisateurs sur 2180CBC DOVRE
0 question sur cet appareil. Repondez a celles que vous connaissez ou posez la votre.
Poser une nouvelle question sur cet appareil
Téléchargez la notice de votre Cheminée au format PDF gratuitement ! Retrouvez votre notice 2180CBC - DOVRE et reprennez votre appareil électronique en main. Sur cette page sont publiés tous les documents nécessaires à l'utilisation de votre appareil 2180CBC de la marque DOVRE.
MODE D'EMPLOI 2180CBC DOVRE
kachelruitreiniger..17.
schoorsteenbrand 4, 13, 15
ventilatie 4-5
Déclaration de conformité 3
Sécurité 4
Conditions d'installation 4
Généralités 4
Cheminée 4
Ventilation de la pierce 5
Sols et murs 6
Description produit
Installation 7
Preparation 7
Ajuster raccordextérieur 11
Encastrer dans une nouvelle cheminée... 11
Utilisation
Premiereutilisation 14
Combustible 14
Allumage 14
La combustion au bois 15
Réglage de l'air de combustion. 16
Extinction du foyer 16
Décendrage 16
Brouillard et brume 17
Résolution problèmes 17
Entretien 17
Conduit de cheminée 17
Nettoyage et autre entretien régulier. 17
Porte escamtable panoramicque du modele
2180CBGD 19
Annexe 1: Spécifications techniques 23
Annexe 2 : Dimensions. 24
Annexe 3 : Distance entre l'appareil et les
matéraux combustibles 27
Annexe 4: Tableau de diagnostic.. 28
Index 29
Introduction
Chere utilisatrice, cher utiliser, En achetant ce poèle DOVRE, vous avez opté pour un produit de qualité. Ce produit fait partie d'une nouvelle génération d'appareils de chauffage ecologiques et économiques en énergie. Ces appleils utilisent de manière optimale la chaleur convective, ainsi que la chaleur rayonnante.
Viete poèle DOVRE est fabriqué avec les moyens de fabrication les plus modernes. Si vous rencontres un dernier qualconque sur votre apparéil, vous pouvez toujours faire appel au service Par les générées, DOVRE.
L'appareil ne doit jamais être modifié ; veuilles Dovre nv, Nijverheidsstraat -2381, B2381 Weelde, toujours utiliser des pieces d'origine. Belgique,declare
L'appareil est prevu pour etre place dans une pièce d'habitation. Il doit etre raccordé de façon que les foyers encastrables 2180CBGD, 2180CBC, hermetique a un conduit de cheminée fonctionnant correctement et conforme aux normes en vigueur.2180CBS et 2180CBBS sont produits conformément EN 13229 aux normes.
- Nous vous recommendons de faire appel à un chauffagiste agréé professionnel pour installer votre apparéil.
DOVRE décline toute responsabilité pour des problèmes ou des dommages dus à une installation incorrecte.
Lors de l'installation et de l'utilisation, les consignes de sécurité décrites ci-après doivent toujours être respectées.
Ce mode d'emploi contient des informations concernant l'installation, l'utilisation et l'entretien en toute sécurité de l'appareil de chauffage DOVRE. Si vous souhaitez receivevoir des informations complémentaires ou des specifications techniques ou si vous rencontres un problème lors de l'installation, veuillez d'abord contacter votre distributeur.
© 2012 DOVRE NV

Les produits faisant l'objet d'une amélioration permanente, les specifications de l'appareil livre pourront diverger de celles mentionnées dans cette brochure sans avis préalable.
Belgique E-mail : info@dovre.be

Sécurité
Attention! Toutes les consignes de sécurité doivent être strictement respectées.
Avant d'utiliser votre poèle, lisez attentivement les instructions pour l'installation, l'utilisation et l'entretien.
L'appareil doit être installé conformément à la législation et aux prescriptions nationales.
Toutes les dispositions régionales et les dispositions concernant les normes européennes et nationales doivent être respectées lors de l'installation de l'appareil.
Lisez attentivement les instructions pour l'installation, l'utilisation et l'entretien fournies avec le poèle.
Nous vous recommendons de faire appel à un chauffagiste/agree pour installer votre apparéil. Ce spécialiste connait les dispositions et les réglementations en vigueur.
L'appareil est concu pour le chauffage. Toutes les surfaces, y compris la vitre et le conduit raccordement peuvent etre brulantes (plus de 100^ )! Pour manipuler l'appareil, portez toujours un gant résistant a la chaleur ou utilisez une poignee main froide.
Ne placez jamais de rideaux, vêtements, linges ou autres matières combustibles sur ou à proximé du poèle.
Lorsque votre poèle fonctionne, n'utilisez jamais de produits explosifs ou facilement inflammbables à proximé du poèle.
Prévenez tout départ de feu dans le conduit cheminée en faisant ramoner régulièrement le conduit concerné. Ne laissez jamais le feu brûler avec la porte du poèle ouverte.
En cas de départ de feu dans le conduit de cheminée: fermez les arrivées d'air du poële et appelez les pompiers.
Si la vitre du poèle est brisée ou fendue, la replacer avant d'utiliser à nouveau l'appareil.
Veillez à avoir une aération suffisante de la piece où se trouve le poèle. Une aération insuffisante peut engender une combustion incomplète et l'échévement de gaz toxiques dans la piece. Voir le chapitre « Conditions d'installation » pour de plus amples informations concernant l'aération.
Conditions d'installation
Généralités
L'appareil doit être raccordé à un conduit de cheminée fonctionnant correctement.
Pour les dimensions de raccordement : voir l'annexe « Spécifications techniques »
Informez-vous auprès d'un professionnel des pompiers et/ou de votreompagnie d'assurances un pour connaître les eventuelles exigences et il. dispositions spécifiques.
Cheminée
de cheminée est nécessaire pour :
L'évacuation des gaz de combustion par tirage naturel.
L'air chaud dans la cheminée est plus léger que l'air extérieur et s'éleve donc dans le conduit de cheminée.
L'aspiration de l'air est nécessaire pour la combustion du combustible dans le poèle.
Une cheminée fonctionnant mal peut engendrer un retour de fumée lors de l'ouverture de la porte. Les dommages dus à un retour de fumée sont exclus de la garantie.
Il est interdit de raccorder plusieurs apparéils (la chaudière du chauffage central, par exemple) au même conduit de cheminée, sauf dans des cas précis prévus par la réglementation régionale ou nationale.
Demandez a votre chauffagiste des conseils concernant la cheminée. Consultez la norme europeenne EN13384 pour calculator correctement la configuration de la cheminée.
La cheminée doit satisfaire aux conditions suivantes :
La cheminée doit être fabriquée en matériaux réfractaires, de préférence en acier inoxydable ou en ceramique.
La cheminée doit être étanche, bien propre et garantir un tirage suffisant.
Un tirage/depression de 15 - 20 Pa à l'allure nominale est idéal.
La cheminée doit être aussi verticale que possible en partant de la sortie de l'appareil. Les changements de direction et les sections horizontales perturbent l'évacuation des gaz de combustion et peuvent creer une accumulation de suie.
La section interieure du conduit ne doit pas etre trop importante,afin d'eviter un refroidissement trop important des gaz de combustion risquant de réduire le tirage.
La cheminée doit de préférence partager le moyen diamètre que le diamètre de la buse de raccordement.
Pour le diamètre nominal : voir l'annexe « Spécifications techniques ». Si le conduit de fumée est correctement isolé, le diamètre peut eventuellement être plus important (au maximum deux fois la section de la buse de raccordement).
La section (surface) du conduit de fumée doit constante. Les élargissements et (plus particulièrement) les rétrécissements perturbent l'évacuation des gaz de combustion.
En cas de pose d'une mitre à la sortie de la cheminée : veiliez à ce que la mitre ne réduise la sortie d'évacuation de la cheminée et qu'elle perturbe pas l'évacuation des gaz de combustion
La cheminée doit Deboucher dans une zone non perturbée par des batiments, arbres ou autres obstaclesavoisinants.
La partie de la cheminée hors du toit doit toutj etre isolée.
La cheminée doit être d'au moins 4 metres de haut.
La regle de base est la suivante : 60 cm au-dessus du faitage du toit.
Si le faitage du toit est etoigné de plus de 3 metres de la cheminée : respectez les dimensions indiquées sur le croquis suivant. A = point le plus haut du toit à une distance de 3 metres.

Ventilation de la piece
L'appareil a besoin d'air (oxygène) pour garantir une bonne combustion. L'appareil est alimenté en air de la pierce où il se trouve, par le biais d'admissions d'air réglables.
Un manque d'aération peut engendrer une combustion incomplète et des gaz toxiques peuvent se repandre dans la pierce.
La regle de base est que l'alimentation en air doit etre de 5,5cm^2 /kW .Une aeration supplémentaire est re. necessaire dans les cas suivants :
L'appareil est placé dans une piece correctement isolée.
Il existe une aération mécanique (VMC), un pasysteme d'aspiration central ou une hotte de une cuisine dans une cuisine américaine, par exemple.
Vous pouvez creer une aération supplémentaire en
placant une grille d'aération dans un mur donnant sur l'extérieur.
Veillez à ce que les autres apparèils utilisant l'air
1(Seche-linge, second appeareil de chauffage ou aérateur de salle de bain) aient une propre arrivée d'air extérieur ou soient etints lorsque le poèle est allumé.

Vous pouvez également raccarder l'appareil à une arrivée d'air extérieur. Un kit de raccordement est fourni à cet effet. Dans un cas, une aération supplémentaire n'est pas nécessaire.
Sols et murs
Le sol sur lequel l'appareil sera posé, doit partager une capacité de charge suffisante. Pour connaître le poids de l'appareil : voir l'annexe « Spécifications techniques »

Il ne peut y avoir aucune amenée de couran dans le sol sous l'appareil et dans les parois ajustur de l'appareil.

Tous les matériaux inflammables doivent être rétérés du dessous de l'appareil, ou être protégés avec une dalle d'au moins 6 cm d'épaissur.

Les parois inflammables proches de l'appareil doivent etre protégées avec une paroi en pierre Commande clapet d'au moins 10 cm dépaisseur et 5 cm d'isoation.

Protégez les parois ignifuges proches de l'appareil avec une isolation d'au moins 2,5 d'épaisseur pour éviter toute fissure.

Protégéz le sol inflammable contre l'émission de chaleur et les cendres éventuelles en posant un hourdis ignifuge. Voir l'annexe "Distance d'éloignement avec des matérielux inflammables".

Veillez à ce qu'il y ait une distance suffisante entre l'appareil et les matériaux inflammables, tels que le mobilier.

Assurez-vous qu'il y ait suffisamment de ventilation autour des materiaux inflammables, comme une poutre decorative, par exemple. Voir annexe "Distance d'eloiignement avec des materiaux inflammables".

Les tapis doivent se trouver au moins à 80 cm du foyer.

Ne placez aucun matériel inflammable a moins de 50 cm des eventuelles ouvertures d'air de convection.
Description produit

- Collier de raccord
- Clapet
- Verrou
ReCommandedlapet
- Tiroir à air principal
- Tiroir à air secondaire
m. Porte
8. Plaque de sol
Caracteristiques de l'appareil
L'appareil est équipé d'un coupe flamme amovible, d'une corbeille et d'une plaque de sol.

Les plaques interieures en fonte protégent la chambre de combustion et transmettent la chaleur à l'environnement.
L'appareil est livre par défaut avec un set de raccordement pour l'apport d'air extérieur.
L'appareil est équipé d'un collier de raccord permettant un raccordement vertical ou un raccordement à un angle inférieur à 45^ .
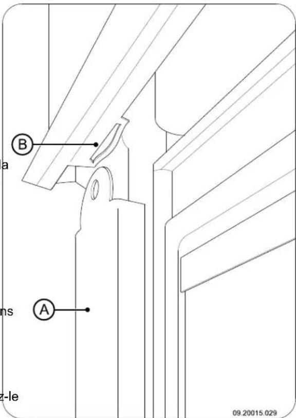
L'appareil est vendu avec une poignée séparée (A) permettant d'ouvrir la porte, il s'agit de la "main floide"; voir image suivante.

L'appareil est équipé d'un tiroir à cendre am divisible Pour cela, utilisez la main froide.
Caracteristiques supplémentaires du modele 2180CBGD
L'appareil est doté d'une porte escamtable lisse panoramaque. Le dispositif de guidage nécessaire est démontable.
L'appareil est vendu avec une poignée séparée permettant d'ouvrir la porte, il s'agit de la "main froide"; voir image suivante.

Installation
Preparation
Contraler le poèle immédiatement à la réception en recherchant les dommages (de transport) et autres manquements éventuels.
En cas de manquements ou dommages (de transport) évientuelles constatés, n'utilise pas le poèle et informez le fournisseur.
Déposez les pieces non fixées (déflecteur, plaque de fond, corbeille, volet de décendrage et bac à cendres) de l'appareil avant d'installer ce dernier.
Afin de faciliter la manipulation et de prévenir des endommagements, vous pouvez d'abord-retirer toutes les pieces non fixées de l'appareil.
et Veillez bien à la position d'origine de ces pieces, afin de pouvoir les replacer correctement après l'installation.
Remarque: Pour le modele 2180CBGD, le premier contrepoids doit etre débloqué,et la portedeverrouillée.Suivez les instructions suivantes.
- Debloquez le contrepoids en retardant les deux boulons (A); voir image suivante.

- Déverrouillez la porte en tournant vers l'intérieur les deux fermétures se trouvant au-dessus de la porte ; voir image ci-dessous.


- Ouvrez la porte de l'appareil à l'aide de la poignée main froide
- Soulevez la partie (A) des saillies situées sur la partie avant, puis la partie (B).
- Faites basculer la partie (B) du cadre sur la paroi arrriere.
- Faites passer les deux parties par la porte de l'appareil.

La porte et le contrepoids doivent êtrependant le transport.
Remarque: Pour le montage du deflecteur, veuillez
Démonter déflecteur
Le déflecteur est composé de deux parties (A) et voir image suivante.
Ajuster position du clapet
L'appareil est équipé d'un clapet se manipulant à l'aide d'une tige. La position du clapet a un impact sur l'efficacité du foyer : plus le clapet est fermé, plus le rendement est élevé.
En ouvrant et en fermant la porte, le clapet s'ouvre et se ferme à l'aide de la tige. La position du clapet dépend du tirage de la cheminée. Lorsque la porte se referme, le clapet se place automatiquement dans la bonne position.
Vous devez pousser la tige vers l'intérieur avec la poignée main froide (A) pour le modele 2180CBGD ; voir image suivante.

Lorsque la porte est fermée, le clapet peut être ouvert en poussant la tige légèrement vers l'intérieur, puis en la bougeant légèrement vers la gauche ; voir image suivante.

La position du clapet peut être ajustée.
- Desserrez la vis de réglage (A) et le boulon (B) voir image suivante.

- Tournez le clapet dans la position souhaïée par rapport à la tige ; voir image suivante.

- Serrez le boulon (B) puis la vis de réglage (A) pour fixer le clapet sur la tige.
Modifier la position du collier de raccord
Si au lieu d'un raccordement vertical vous préférez un raccordement à un angle inférieur à 45^ , parce que cela facilitite le raccordement à une conduite d'évacuation de gaz fumigènes, vous nevez tourné le collier de raccord à 180^ ; voir image suivante.

- Desserrez le joint entre le clapet et la tige en devissant la vis de raccord.
- Desserrez le joint entre le collier de raccord et hotter en devissant les deux écrous M8. La tige située au-dessus de l'appareil est maintainant libérée.
- Desserez la vis située en dessous de l'appareil, fixant la tige à l'appareil.
- Retirez le clapet et la tige.

Assurez-vous que le clapet ne tombe pas dans l'appareil lorsque vous retirez la tige.
- Soulevez le collier de raccord de manière à le détacher des deux boulons.
- Tournez le collier de raccord à 180^ , puis placez-le de nouveau sur la hotte.
- Positionnez de nouveau le clapet et la tige, puis 2 desserrez la vis située sur la partie inférieure, fixant la tige à l'appareil.
-
Devissez l'assemblage boulonné entre le collier de raccord et la hotte en devissant les deux écrous M8.
-
Utilisez de la collè spéciale pour foyer, afin d'effectuer le joint entre le collier de raccord et la hotte.

La colle pour foyer n'est pas fournie avec l'appareil.
Monter les panneaux lateraux (uniquement pour le modele 2180CBGD)
Deux panneaux lateraux sont fournis avec le modele 2180CBGD, afin de couvir le mecanisme du dispositif de guidage de l'appareil a gauche et a droite.
- Placez la partie supérieure du panneau l'etal (A) dans l'encoche (B) se trouvant sur la partie supérieure de I'appareil ; voir image suivante.

Placez la partie inférieure du panneau l'etaléral contre l'appareil. Le panneau est maintainu dans la bonne position grâce à un aimant ; voir image suivante.

Ajuster raccord extérieur
Si le poèle est place dans une piece insuffisamuraéée, vous pouvez monter sur le poèle le kit deraccordement fourni pour l'alimentation en air extérieur.
Le tube d'arrivée d'air a un diamètre de 100 mm. Si vous utilisez un tube lisse, il doit avoir une longueur maximale de 12 metres. Si vous utilisez des accessoires tels que des courbures, vous nevez
Réduire d'un mètre la longueur maximale (12 metres)1. Placez l'appareil à la bonne hauteur, sur un sol plat pour chaque accessoire. et à niveau.
Raccord extérieur par la paroi sol et le collier de raccord.
- Percez un trou pour le raccordement dans la paroi ou le sol (consultez l'Annexe 2, "Dimensions", pour le bon emplacement du passage pour le
raccordement).
- Raccordez hermetiquement le tube d'évacuation d'air au mur.
- Montez le collier de raccord (A) sur la tige filtée M6 (B) avec l'écrou (D) et la bague de fermeture (C); voir image suivante.

Encastrer dans une nouvelle cheminée
L'installation d'un foyer encasirable se fait en deux étapes :
Le placement et le raccordement du foyer encasable
La construction de la cheminée autour du foyer encasable.
Placer et raccorder le foyer encastrable
Placez l'appareil à la bonne hauteur, sur un sol plat et à niveau.
Assurez-vous qu'il y ait un espace de 100 mm entre les deux parois existantes, isolées correctement (voir le chapitre "conditions d'isolation"), et l'arrière de l'appareil ; voir les deux images suivantes.


-
Raccordez hermétiquement l'appareil au conduit de cheminée.
-
Contrôlez le tirage de la cheminée et l'étanchéité du raccordement à la conduite d'évacuation de gaz fumigènes en allumant un petit feu d'essai avec du papier journal et du bois fin et sec.

En cas de maçonnerie fraîche, attendez qu'èsoit suffisamment seche.
- En cas de raccordement à l'air extérieur: raccordez le conduit d'alimentation en air extérieur sur le set de raccordement que vous avez monté sur l'appareil.
Installation de la cheminée
Vous allez construire l'espace de convection dans I cheminée. L'air doit pouvoir circuler librement dans
cet espace. L'air doit pouvoir être tiré pour la combustion, et l'air chauffé par le foyer encastrable (l'air de convection) doit pouvoir circuler librement dans l'espace à chauffer ; voir image suivante.

A flux d'air de convection
B rayonnement
C amenée d'air provenant de l'espace à chauffer
D raccordement en air extérieur par la paroi
E raccordement en air extérieur par le sol
Respectez les indications suivantes pour l'espace de convection lors de la construction de la cheminée :
La partie supérieure de l'espace de convection doit être fermée hermetiquement avec un ergot de leur blocage ignifuge et refrakte.
L'ergot de blocage doit être à niveau et se situer au moins 30 cm sous l'ouverture pour gaz fumigénes au plafond.
Pour permettre l'entree d'air ambient, des grilles
d'entrée d'air doit être placees en-dessous de le cheminée. L'ouverture minimale d'entrée d'air doit être de 250 émSi l'espace n'est pas suffisamment ventilé, vous doivent assurer un apport d'air extérieur grâce au set de raccordement en air extérieur fourni, ou en utilisant un set optionnel de clapet à air avec bouton de réglage.

La maconnerie ne doit pas reposer sur le foyer encastrable. Utilisez un soutien, tel qu'un support en fer. Laissez un espace d'au moins 3 mm entre le support et l'appareil.
- Fermez l'espace de convection avec l'ergot de blocage.
- Placez les grilles sortie d'air sous l'ergot de blocage.
- Effectuez une ouverture au-dessus de l'ergot de blocage pour éviter toute remontée de pression.

Des grilles de sortie d'air doivent etre placees su la partie supérieure de la cheminée et juste endessous de l'ergot de blocage. L'ouverture minimale de sortie d'air doit etre de 500 cm
L'image suivantes you montre un exemple de placement de foyer encasirable dans une cheminée construite en respectant les instructions et les recommendations precedentes.

Le grilles d'entrée et de sortie d'air sont disponibles en option.

N'utilisez pas de matériel inflammable dans l'espace de convection, et évitez la formation de Ponts thermiques en utilisant des materiaux calorifères.
Suivez les instructions suivantes lors de la construction de la cheminée :
- Fixez le pied du foyer et placez les grilles d'entree d'air dans cette maconnerie.

Vous pouvez placer les grilles d'entrée d'air sur tous les cotes du pied.

Assurez-vous que la porte du foyer puisse s'ouvrir facilement au-dessus du plateau du foyer.
- Continue la maconnerie jusqu'à la hotte.

Assurez-vous qu'il y ait toujours un espace de 2 mm entre le foyer encastrable et la maconnerie, afin de pouvoir recupérer la chaleur émise par le foyer encastrable.
- Si nécessaire, couvrez l'intérieur de l'espace de convection avec un matériel d'iso1ation refléchissant.

Une couche supplémentaire dans l'espace de convection previent toute émission de chaleur superflue vers les murs extérieurs et/ou vers les espaces attenants. Cela empêche également la déterioration de l'isolement des murs creux.
- Continue la maconnerie autour de la cheminée jusqu'à l'ouverture pour gaz fumigènes au plafon

A Cheminée
B Pièce d'étanchéité
C Ergot de blocage
D Isolation 10~cm
E Mur ignifuge min. 10 cm (ex : béton-gaz)
F Mure inflammable
G Espace de convection
H Plafond ignifuge
I Plafond inflammable
J Goulotte de sortie air de convection
K Isolation
L Sol ignifuge
M Sol inflammable
N Ouverture prévenant une remontée de pression
O Raccord pris
Finition
- Placez toutes les pieces démonteses au bon endroit sur l'appareil.
- Assurez-vous que la nouvelle cheminée soit suffisamment sèche avant d'allumer un feu.
Ne faites jamais fonctionner votre apparéil si les plaques interieures réfractaires ne sont pas montées.
L'appareil est à présent prét pour l'emploi.
Utilisation
Première utilisation
Lorsque you utilisez le poèle pour la première fois, faites un feu intensif pendant quelques heures. Ce feu durcira la laque résistante à la chaleur. Cela peut toutefois générer de la fumée et une odeur incommodante. Ouvrez eventuèlement quelques minutes les portes et les fenêtres de la piece dans laquelle se trouve le poèle.
Combustible
Ce poèle est uniquement adapté pour brûler du bo naturel, scié et fendu et suffisamment sec.
N'utilisez jamais d'autres combustibles que celui prévu pour le poèle, car ils risquent d'endommager irrémédiablement le poèle.
Les combustibles suivants ne doivent jamais être utilisés car ils sont polluants, et peuvent encrasser intensivement l'appareil et le conduit de cheminée et engendrer un départ de feu dans le conduit de cheminée :
aggloméré.
Plastique, vieux papier et déchets menagers.
Bois
Utilisez de préférence du bois dur provenant d'essences feuillues telles que le chêne, le hêtre, le boureau et les arbres fruitiers. Ces bois brûlent lentement avec des flammes douces et régulières. Le bois de conifères contient plus de résine, brûle plus rapidement et produit plus d'étincelles.
Utilisez du bois sec d'un pourcentage maximum d'humidité de 20% . Pour cela le bois doit avoir seché pendant 2 ans au moins.
Sciez le bois à la mesure et fendez-le lorsqu'il est encore vert. Le bois vert se fend plus facilement et le bois fendu sèche比较好. Stocker le bois sous un as auvent où le vent peut circuler.
N'utilise pas de bois mouillé. Le bois mouillé donne moins de chaleur car toute l'énergie va être consacré à l'évaporation de l'humidité. Cela produit également beaucoup de fumée et des dépôts de suie sur la porte du poële et dans le conduit de cheminée. La vapeur d'eau se condense dans le poële et peut provoquer des fuites le long des joints du poële et des tâches noires sur le sol feu de la pierce. La vapeur d'eau peut aussi se condenser dans le conduit de cheminée et former de la créosote. La créosote est extrémement inflammable et peut conduir un départ de feu dans la cheminée.
Allumage
You pouvez vérifier le tirage de la cheminée en fallumant une boule de papier au-dessus du déflecteur du poèle. Si la cheminée est froide, le tirage dans le conduit de cheminée est souvent insuffisant et la fumée peut se repandre dans la piece. Procedez comme suit pour allumer le poèle afin de prévenir le risque d'enfumage de la piece.
- Empilez deux couches de buches de taille, moyenne l'une sur l'autre en les croisant.
- Empilez sur les buches deux couches de bois d'allumage l'une sur l'autre en les croisant.
Bois traités, tels que bois de démolition, bois peint, bois impréné, bois conservé, contreplaqué et
- Posez un allume-feu dans la couche inférieure bois d'allumage et allumez-le en suivant les instructions sur son emballage.

del. Ouvrez lentement la portedu poèle.
- Étalez uniformément le lit de braises dans le fond du poèle.
- Empilez quelques bùches sur le lit de charbon de bois.

Empilage non serré
- Fermez la porte du poèle et ouvrez l'arrivée d'air primaire et l'arrivée d'air secondaire du poèle ; voir l'illustration suivante.
Quand le bois est empilé non serré, il brûlera vite du fait que l'oxygène pourra atteindre facilement chaque
- Laissez le feu d'allumage brûler bien fort jusqu'à bùche. Un empilage de cette façon est recommendé ce que le bois fasse un lit de braises ardentes. Si vous souhaitezCHAffer pendant une période Vous pouvez ensuite mettre un peu plus de bois et courte. régler le poèle, voir le paragraphe "La combustion au bois". Empilage serré

= Ouvert = Fermé

La combustion au bois
Après avoir suivi les instructions pour faire un feu d'allumage :
Quand le bois est empilé serré, il brûlera plus lentement du fait que l'oxygène ne pourra atteindre que quelques bùches. Un empilage serré est
récommandé si vous souhaitez chauffer pendant une longue période.
-
Fermez la porte du poèle.
-
Fermez l'arrivée d'air primaire et laissez l'arrivée d'air secondaire ouverte.

Remplissez au maximum un tiers du volume total du corps de chauffe.
Réglage de l'air de combustion
Le poèle est doté de différents dispositifs pour régler l'air (voir illustration).

Le registre d'air primaire permet de régler l'air sous grille (1).
Le tiroir à air secondaire régule l'air pour la vitre wash) (2).
La paroi arrête est dotée d'admissions d'air permanentes sous le déflecteur, (3) assurant une double combustion parfaite.
Conseils

Faites régulièrement un feu bien vif dans le poèle.
- Lorsque l'on brûle du bois pendant une longue période à faible régime, il peut se former dans
la cheminée des dépôts de goudron et de créosote. Le goudron et la créosote sont extrémenment inflammables. Quand ces dépôts deviennent trop importants, une augmentation subite de la température de la cheminée peu
provoquer un feu dans le conduit de cheminée. C'est pourquoit il est recommendé de faire régulièrement un feu bien vif, afin de faire disparaître ces dépôts eventuels de goudron et créosote.
En outre, en cas de feu trop faible, du goudron peut se déposer sur la vitre et la porte du poèle. En cas de température extérieure douce, il est préféable de faire un bon feu vif pendant quelques heures,只不过 que de faire fonctionner le poèle avec un feu faible pendant une longue période.
Réglez l'admission d'air avec l'arrivée d'air de la seconde.

L'arrivée d'air secondaire oxygène non seulement le feu, mais « balaye » aussi la vitre ce qui prévient son encrassement prematuré.
Ouvrez temporairement l'arrivée d'air primaire si l'admission d'air par l'arrivée d'air secondaire est insuffisante ou si vous souhaitez raviver le feu.
- Remplir régulierement avec une petite quantité de buches de bois est moins que de remplir avec une grossse quantité de buches d'un coup.
Extinction du foyer
N'ajoutez plus de combustible et laissez le foyer s'éteindre de lui-même. Si la puissance du feu est diminuée en réduisant l'alimentation d'air, des gaz toxiques se dégagent. Pour cette raison, laissez
Auquods le foyer s'eteindre de lui-même. Surveillez le feu jusqu'à ce qu'il soit totalement éteint. Une fois le feu totalement éteint, vous pouvez fermer tous les registres d'air.
Décendrage
Après la combustion du bois, une quantité de cendres relativement réduite reste dans le poèle. Ce lit de cendres est un excellent isolant pour le fond du poèle et garantit une meilleure combustion. De ce fait, il est recommandé de laisser une fine couche de cendre sur le fond du poèle.
L'alimentation en air par le fond du poèle ne doit toutefois pas etre perturbée et il faut prevenir toute accumulation de cendres derriere la plaque interieure en fonte. Il faut donc eliminer regulierement les outcendres excédentaires.
- Ouvrez la porte de l'appareil.
- Ouvrez le volet de décendrage (C); voir illustration ci-dessous.

- Poussez la cende excédante dans le bac à cendres avec la pelle fournie (A).
- Retirez le bac à cendres et videz le à l'aide de poignée main froide (B).
- Replacez le bac à cendres et retirez la poignée main froide.
- Fermez la porte de l'appareil.
Brouillard et brume
Le brouillard et la brume perturbent l'évacuation des gaz de combustion au travers du conduit de cheminée. La fumée peut être rabattue dans la piè et devenir très incommodante. S'il n'est pas juste nécessaire de chauffer avec le poële, il est recommendé de ne pas faire de feu en cas de brû ou brouillard.
Résolution problèmes
Consulter l'annexe « Tableau de diagnostic » pour résoudre des problèmes éventuels pendant l'usage poèle.
Entretien
Pour conserver votre appareil en bon etat, suivez les instructions d'entretien presentees dans ce chapitre.
Conduit de cheminée
Dans de nombreux pays, la loi impose le contrôle et l'entretien par un professionnel des conduits de cheminée.
Au début de la saison de chauffe : faites ramoneriveurconduitdecheminéeparun的专业isteagree.
Pendant la saison de chauffe et après une longue période d'inutilisation de la cheminee : faites contrcler les depots eventuels de suie dans le conduit de cheminee.
A la fin de la salle de chauffe: bouchez le conduit de cheminée avec du papier journal.
Nettoyage et autre entretien régulier

Ne nettoyez pas votre poèle si celui-ci est encore chaud.
da Nettoyez l'extérieur du poèle avec un chiffon sec et non pelucheux.
À la fin de la saison de chauffe, vous pouvez nettoye l'intérieur de l'appareil comme suit :
Déposez éventuellesment tout d'abord les plaques interieures réfractaires. Voir le chapitre « Installation » pour consulter les instructions concernant la dépose et le remontage des plaques interieures.
Déposez éventuellesment tout d'abord les plaques interieures refractaires. Voir le chapitre « Installation » pour consulter les instructions concernant la dépose et le remontage des plaques interieures.
e Nettoyez eventuelflement les conduits d'alimentation en air.
meDéposez le déflecteur qui se trouve au-dessus de l'appareil et nettoyez-le.
Contrôle des plaques interieures refractaires
les plaques interieures refractaires sont des pièces sujettes à l'usure. Contrôlez régulièrement les plaques interieures et remplacez-les si nécessaire.
Voir le chapitre « Installation » pour consulter les instructions concernant la dépose et le remontage des plaques intérieures.

Les plaques interieures en vermiculite isolantes peuvent partager des craquelures. Ces dernières ne seront cependant pas aonne fonction des plaques.

Les plaques interieures en fonte ont une durée de vie plus longue si vous retirez régulierement la cendre qui s'accumule eventuellesment derrière. Si la cendre accumulée derrière une plaque en fonte n'est pas retiree, la plaque ne peut pas rayonnner la chaleur dans l'environnement et risque de se deformer ou fendre.

Ne faites jamais fonctionner chez apparéil si les plaques interieures réfractaires ne sont pas montées.
Nettoyage du verre
Une surface en verre propre retient moins facilement la poussière. Procedez comme suit :
- Éliminez la poussière et la suite avec un chiffon sec.
- Nettoyez le verre avec un nettoyant pour vitres poèle :
a. Appliquez du nettoyant pour vitres de poèle sur une éponge, répartissez-le sur toute la surface en verre et laissez agir.
b. Éliminez ensuite la poussière avec un chiffon humide ou de l'essuie-tout.
- Nettoyez une nouvelle fois la surface en verre avec un produit ordinaire de nettoyage du verre
- Nettoyez la surface en verre en la frottant avec chiffon sec ou de l'essue-tout.
N'utilisez jamais de produits abrasifs ou mordants pour nettoyer la surface en verre.
- Portez des gants de nettoyage pour protégger vos mains.

Si la vitre du poèle est brisée ou fendue, il fa la replacer avant d'utiliser à nouveau l'appareil.

Veillez à ce que le nettoyant pour vitres de poèle ne s'infiltré pas entre le verre et la porte en fonte.
Remarque: Pour acceder à la vitre interieure de la porte escamtable du modele 2180CBGD, faites basculer la porte vers l'avant de 60^ . A l'aide d'un tournevis, tournez vers la gauche les deux vis situées au-dessus de la porte; voir image ci-dessous.

Graissage
Bien que la fonte soit un métal autolubrifiant, vous nevez régulièrementGRAisser les pieces mobiles.
Graissez les pieces mobiles (telles que systèmes de guidage, charnières, verrous et réglettes d'air), avec de la graisse ininflammable disponible dans le commerce spécialisé.
Réparation de la couche de finition
Les petits dommages de la laque peuvent etre réparés avec un aérosol de laque spéciale résistant à la chaleurur disponible aprous de votre fournisseur.
Contrôle de l'étanchéité
Vérifiez que le cordon d'étanchéité de la porte isole bien hermetiquement. Le cordon d'étanchéité s'use et doit être replacé à temps.
Recherche les fuites d'air eventuelles de l'appareil. Mastiquez les interstices eventuels avec du kit pour poèle.

Avant d'allumer le poèle, laissez bien secher le kit qui autrement gonflera à cause de l'humidité qu'il contient, provoquant une nouvelle fuite d'air.
Porte escamatable panoramaque du modele 2180CBGD
Le modele 2180CBGD est équipé d'une portescamtable lisse et panoramicque. Le dispositif deguidage prevu a cet effet est demontable, et vous pouvez ajuster la position de la porte escamtable.
Démonter dispositif de démontage
Veuillez suivre les étapes suivantes pour le démontage.
- Verrouillez la porte en tournant vers l'extérieur les deux fermétures se trouvant au-dessus de la porte; voir image suivante.

- Tournez vers la gauche les deux vis situées au-dessus de la porte ; voir image suivante. La porte penche maintenant vers l'avant.

- Retirez le front de la structure supérieure (avec la porte et le dispositif de guidage), en devissant les
vis supérieures gauches et droites ; voir image suivante.

09.20017.050
- Vissez le front de l'appareil. Retirez d'abord les deux vis inférieures ; voir image suivante.

09.20017.051
- Retirez ensuite les deux vis supérieures.
Maintenez une pression contre le front de l'appareil avec votre corps; voir image suivante.


- A present, fermez delicatement la porte basculant8.
vers l'avant ; voir image suivante.
Saisissez la partie inférieure du front et de la porte, attachés au dispositif de guidage ; voir image suivante.


-
Verrouillez la porte ; voir image suivante.
-
Tirez maintainant le front et la porte vers l'avant ; voir image suivante.

- Retirez-les de l'appareil ; voir image suivante.

- Le dispositif de guidage est désormais accessible; voir image suivante.

Remarque: Pour le montage du dispositif de guidage, veuillez suivre les étapes ci-dessus dans le sens inverse.
Régler fermeture portescamtable
Il est possible d'ajuster la position de la porte par rapport au front. Le dispositif de guidage doit être facile d'accès. Retirez les profils de protection ou le cadre eventuellement monté.
- Dévissez le boulon sur le côte, et ajustez la porte en la poussant contre le front. Vissez le boulon à nouveau ; voir image suivante.


- Poussez la porte contre la partie inférieure du front, de manière à ce que la roue de guidage s'emboite dans le levier de fermeture; voir image suivante.

- Si nécessaire, ajustez la position du levier de fermeture en desserrant les trois vis d'assemblage et en déplaçant le levier de fermeture. Serrez de nouveau les vis; voir image suivante.
Annexe 1 : Spécifications techniques
| Série 2180CB | |
| Puisance nominale 15 kW | |
| Raccordement conduit de cheminée (diamètre) 200 mm | |
| Poids +/- 190 kg | |
| Poids Modèle 2180CBGD 230 kg | |
| Combustible recommends Bois | |
| Caracteristique combustible, longueur max. 50 cm | |
| Débit-masse de gaz fumigènes 13,6 g/s | |
| Augmentation de la température mesurée dans le tronçon de mèsure 268 K | |
| Température mesurée à la bouche d'évacuation de l'appareil 326 | |
| Tirage minimum | 12 Pa |
| Emissions CO (13%2D) | 0,10 % |
| Emissions NOx (13%2D) | 97 mg/Nm3 |
| Emissions CnHm (13%2D) | 96 mg/Nm3 |
| Emission de poussières | 22 mg/Nm3 |
| Rendement | 76 % |
Annexe 2 : Dimensions
2180CBS et 2180CBC



09.20017.024
2180CBBS


2180CBGD
Annexe 3 : Distance entre l'appareil et les matériaux combustibles
Série 2180CB - Espace de ventilation minimum en-dehors de la zone rayonnement

Série 2180CB - Dimensions hourdis ignifuge en centimétres


Dimensions minimaales hourdis ignifuge
$$ \begin{array}{l} V > H + 3 0 > 6 0 \ S > H + 2 0 > 4 0 \ \end{array} $$
Annexe 4 : Tableau de diagnostic
| Problème | ||||
| ● | Le bois ne continue pas à brûler | |||
| ● | Dégage une chaleur insuffisante | |||
| ● | Retour de fumée lors du replissage du poège | |||
| ● | Le feu est trop vif, impossible de bien régler le poège | |||
| ● | Dépôt sur la vitre | |||
| cause possible solution éventuelle | ||||
| ● | ● | ● | ● | Tirage insuffisant |
| ● | ● | ● | ● | Le bois est trop humide Utilisez du bois à 20 % d'humidité maximum. |
| ● | ● | ● | ● | Dimensions du boistrop importantes |
| ● | ● | ● | ● | Le bois est mal empilé |
| ● | ● | ● | ● | Mauvais fonctionnement de la chiminé |
| ● | ● | ● | ● | Sortie de la chiminée inadéquate |
| ● | ● | ● | ● | Réglage inadéquat des registres d'air |
| ● | ● | ● | ● | Raccordement inadéquat du poège au conduit de chiminée |
| ● | ● | ● | ● | Dépression dans la piece où le poège installé |
| ● | ● | ● | ● | Alimentation insuffisante en air frais |
| ● | ● | ● | ● | Conditions météorologiques défavorables ? Inversion (flux d'air inversé dans la chiminée du fait d'un température extérieure élevée), fortés rafales de vent |
| ● | ● | ● | Courant d'air dans la pierce | |
| ● | ● | ● | Les flammes touchent la vitre | |
| ● | ● | De l'air s'échappe du poège | ||
Index
A
Aération raccordement alimentation en air extérieur 11
Aération du feu 16.
Ajuster clapet 8. fermeture de la porte escamtable.21....
Alimentation en air extérieur 11
Allumage.14
Arrivee d'air extérieur 5
Arrivee d'air primaire.15
Arrivee d'air secondaire 15
Arrivées d'air. 15.
Augmentation de la températe tronçon de mesure 23
Avertissement
aération 4 conditions d'assurances 4 consignes 4 départ de feu dans le conduit de cheminée 16
feudansleconduitdefumée 14
matériaux combustibles 4
nettoyant pour vitres de poèle 18
plaques interieures refractaires 14
surface brulante 4
ventilation 5
vitre brisée ou fendue 4,18
B
Bois 14
conservation 14
essence adaptee 14
mouille.14
ne brule pas 28
sechage 14
Bois d'allumage 28
Bois de conifères 14
Bois mouille 14
Brouillard, ne pas faire de feu 17
Brume, ne pas faire de feu 17
C
Capacité de charge du sol 6
Chaleur,insuffisante. 17,28
Cheminée conditions 5
hauteur. 5
installation 12
raccordement a 12
Clapet
régler 8
Collier de raccord 9
Combustible
adapté 14
inadapté 14
quantité nécessaire 17
replissage 16
Combustible adapté 14
Combustible inadapté. 14
Combustion 15
chaleur insuffisante 17, 28
feu trop vif. 28
impossible de bien regler le poèle.
reemplissage du combustible 15
reemplissage en combustible. 16
Conditions meteorologiques, ne pas faire de feu 17
4,Conduit de cheminee diametre de raccordement 23 entretien. 17
Contrepoids 23
débloquer 7
Cordon d'etanchéité de la porte 18
Couche de finition, entretien. 18
Creosote 16
D
Décendrage 16
Déflecteur 8
demonter 8
Dimensions 24
E
Élimination
cendre 16
Élimination des cendres 16
E
Emission de poussieres 23
Entretien conduit de cheminée 17
étanchéité 18.
graissage 18
nettoyage du poèle..17.
nettoyage du verre 18
plaques interieures réfractaires.17
Ergot de blocage
lors de la première utilisation. 14
G
Gaz fumigène
débit-masse 23
Goudron 16
Graissage 18
Graisse pour graissage. 18
Grille d'entrée d'air
consignes 12
placement 12
Grille de sortie d'air
consignes 13
placement 13
Grille de ventilation 5
H
Hauteur de replissage du poèle 16
1
Interstices dans l'appareil 18
L
Laque 14
M
Matériau combustible remplissage 16
matéraux combustibles distance entre 27
Mitre de cheminée 5
Mitre sur la cheminée 5
Murs
s.ecuitre incendie 6
N
Nettoyage poèle 17 verre 18
nettoyant pour vitres de pique 18
P
Plaques intérieures refractaires
avertissement 14
entretien. 17
Poids 23
Porte cordon d'étanchéité 18
Portescamtable 7
ajuster 21
contrepoids 7
Dispositif de guidage
demonter 19
regler 21
Prévention d'un départ de feu dans le conduit 16
Problèmes eventuels 17
Puissance nominale. 17, 23
R
Raccordement à l'alimentation en air extérieur 11
Raccordement en air extérieur raccordement a 12
Ramonage du conduit de cheminée 17
Réglage de l'air 16
Réglage de l'air de combustion. 16
Réglage de l'arrivée d'air..16
Remplissage en combustible.16
Remplissage en matériel combustible
retour de fumée 28
Rendement.23
Résolution de problèmes.28
Retour de fumée.4.28
s
Sechage du bois.14
Sécurité incendie
distance entre l'appareil / matérielux combustibles27
meubles 6
murs.6
sol 6
Sols
capacité de charge 6
sécurité incendie 6
stockage du bois 14
T
Tapis 6
Température gaz fumigène 23
Tirage 23
V
Ventilation 5
reglede base. 5
Verre
depot 28
nettoyage 18
Vitres
depot 28
nettoyage 18
Inhaltsverzeichnis
Einleitung 3
Cuello de connexion 9
D
Deflector de humos 8
desmontaje 8
Notice Facile