2180CBC - Open haard DOVRE - Gratis gebruiksaanwijzing en handleiding
Vind de handleiding van het apparaat gratis 2180CBC DOVRE in PDF-formaat.
Veelgestelde vragen - 2180CBC DOVRE
Gebruikersvragen over 2180CBC DOVRE
0 vraag over dit apparaat. Beantwoord die u kent of stel uw eigen vraag.
Stel een nieuwe vraag over dit apparaat
Download de handleiding voor uw Open haard in PDF-formaat gratis! Vind uw handleiding 2180CBC - DOVRE en neem uw elektronisch apparaat weer in handen. Op deze pagina staan alle documenten die nodig zijn voor het gebruik van uw apparaat. 2180CBC van het merk DOVRE.
GEBRUIKSAANWIJZING 2180CBC DOVRE
Conformiteitsverklaring 3
Veiligheid 4
Installatieconditions 4
Algemeen. 4
Schoorsteen 4
Ventilatie van de ruimte 5.
Vloer en wanden 6.
Productbeschrijving.6
Installatie 7
Voorbereiding.7
Buitenluchttaansluiting toepassen.10
Inbouwen in een neue schouw 11
Gebruik 13
Eerste gebruik 13
Brandstof 13
Aanmaken 14
Stoken method 14
Regeling van de verbrandingslucht 15
Doven van het vuur 15
Ontassen 15
Nevel en mist 16
Eventuele problemen 16
Onderhoud 16
Schoorsteen 16
Schoonmaken en ander regelmatig
onderhoud. 16
Panaromische liftdeur van het model.....
2180CBGD 18
Bijlage 1: Technische gegevens 22
Bijlage 2: Afmetingen. 23
Bijlage 3: Afstand tot brandbaar materiaal. 26
Bijlage 4: Diagnoseschema 27
Index 28
Inleiding
Geachte gebruiker,
Met de aankoop van dit verwarmingstoestel van DOVRE heeft u gekozen voor een kwaliteit'sproduct. Dit product maakt deel UIT van een neue generatie energiezuinige en milieuvriendelijk verwarmingstoestellen. Deze toestellen make optimaal gebruik van zowel convectiewarmte als stralingswarmte.
Conformiteitsverklaring

Notified body: 2013
Uw DOVRE toestel is geproduced met de modernste productiemiddelen. Mocht er onverhoopt toch iets mankeren aan uw toestel, kurz u altijd een beroep doen op de DOVRE service.
Hierbij verklaart
lan Dovre nv, Nijverheidsstraat 18 B-2381 Weelde,
dat inbouwaarden 2180CBGD, 2180CBC, 2180CBS en 2180CBBS conform EN 13229 geproduerd+zijn.
- Het toestel mag nicht gewijzigd worden; gebruik steeds originele onderdelen.
Het toestel is bedoeld voorplaatsing in een woonruimte. Het moet hermetisch worden aangesloten op een goedwerkende schoorsteen. Weelde 20-05-2006
Wij adviseren u het toestel te lately installereren dooreen bevoegt installmenter.
DOVRE kan nicht aansprakelijk worden gesteld worden voor problemen of schade door een onjuiste installmentie.
Bij installmentie en gebruik要去en de hierna beschreiben veiligheidsvoorschriften in acht worden genomen.

In deze handleiding leest u hoe u het DOVRE verwarmingstoestel op een veilige manier installeert, gebrukt en onderhoudt. Als u aanvullende informatie of technische gegevens wilt of een installmentie-probleem heeft, neemt u dan eerst contact op met uw leverancier.
© 2012 DOVRE NV
In het kader van een continue productverbetering,** kunnen specificaties van het geleverde toestel afwijken van de beschrijving in deze brochure, zonder voorafgaande kennisgeving.
DOVRE N.V.
Nijverheidsstraat 18 Tel: +32 (0) 14 65 91 91
B-2381 Weelde Fax: +32 (0) 14 65 90 09
Belgié E-mail : info@dovre.be
Veiligheid
Let op! Alle verilgheidsvoorschriften要去en strikt worden nageleefd.
Lees aandachtig de instructies voor installmentie, gebruik en onderhoud voordat u het toestel in gebruik neemt.
Het toestel moet worden geinstalleerd overeenkomstig de wetgeving en voorschriften van uw land.
Alle lokale bepalingen en de bepalingen die betrekking hebben op nationale en Europese normen要去en worden nageleefd bij het installereren van het toestel.
Lees de instructies voor installmentie, gebruik en onderhoud die met het toestel zich meegeleverd.
Laat het toestel bij voorkeur installereren dooreen bevoegd installmenteur. Deze is op de hoog van de geldende bepalingen en voorschriften.
Het toestel is ontworpen voor verwarmingsdoeleinden. Alle oppervlaktes, inclusief het glas en de aansluitbuis+kennen sheer heet worden (meer dan 100^) ! Gebruik voor de bediening een koude hand of een hittebestendige handschoen.
6 Plaats geen gordijnen, kleren, wasgoed of andere brandbare materialen bovenop of in nabijheid van het toestel.
Gebruik tijdens het gebruik van uw toestel geenlicht ontvlambare of explosieve stoffende nabijheid van het toestel.
Voorkom schoorsteenbrand door regelmatig de betreffende schoorsteen te latent reinigen. Stook het toestel nooit met open deur.
Bij schoorsteenbrand: sluit de luchtinlaten van het toestel en waarschuw de brandweer.
Als het glas van het toestel is gebroken of gebarsten, moet dit glas worden verrangen voordat u het toestel opnieuw in gebruik ne
Zorg voor voldoende ventilatie van de ruimte waar het toestel worden geplaatst. Bij onvoldoende ventilatie vindt onvolledige verbranding plaat, waardoor zich giftige gassen in de ruimte konnen verspreiden. Zie het hoofdstuk "Installatieconditions" voor meer informatie over ventilatie.
Installiecondities
Algemeen
Het toestel moet worden aangesloten op een goed werkende schoorsteen.
Voor de aansluitmaten: zie de bijlage "Technische gegevens".
Informer bij de brandweer en/of verzekeringsmaatschappijaar eventuelespecifieke vereisten en voorschriften.
Schoorsteen
De schoorsteen is nodig voor:
Het afvoeren van de verbrandingsgassen door natururlijke trek.
i De warme lucht in de schoorsteen isichter dan de buitenlucht en stijgt waarom omhoog.
Het aanzuigen van lucht, nodig voor de verbrandinge.
de van de brandstof in het toestel.
Een Niet goed werkende schoorsteen kanijdens het openen van de deur rookterugslag geben. Schade irontstaan door rookterugslag is uitgesloten van garantie.
Sluit Niet meerere toestellen (bijvoorbeeld ook nog een centraleverwarmingsketel) op bezelfde schoorsteen aan, tenzij lokale of nationale regelgeving hierin voorziet.
Vraag uw installateur om advies over de schoorsteen. Raadpleeg de Europese norm EN13384 voor een juiste berekening van de schoorsteen.
Gent De schoorsteen moet aan de volgende voorwaarden in voldoen:
De schoorsteen moet gemaakt zijn van vuurvast materiaal, bij voorkeur keramiek of roestvrij staal.
De schoorsteen moet luchtdicht en goed gereinige..., Zijn en voldoende trek garanderen.
Een trek/onderdruk van 15 - 20 Pa tijdens normale belasting is ideaal.
De schoorsteen moet - vertrekend van de uitgarn van het toestel - zo verticaal möglichk lopen. Richtingsveranderingen en horizontale stukken verstoren de afvoer van verbrandingsgassen enveroorzaken möglichk roetophoping.
De binnenmaten mogen Niet te groot zich, om te voorkomen dat de verbrandingsgassen te sterk afkoelen waardoor de trek minder worden.
De schoorsteen moet bij voorkeurdezelfd diameter hebben als de aansluitkraag.
Voor de nominale diameter: zie de bijlage "Technische gegevens". Als het rookkanaal goed is geisoleerd, kan de diameter eventueel wat groter zijn (maximaal tweemaal de sectie van de aansluitkraag).
De sectie (oppervlakte) van het rookkanaal moet constant zijn. Verwijdingen en (vooral) vermauwingen verstoren de afvoer van verbrandingsgassen.
Bij toepassing van een regenkap/afvoerkap op de Als er mechanische ventilatie is, bv een centraal schoorsteen: let erop dat de kap Niet de uitmonding afzuigsysteme of een afzuigkap in een open van de schoorsteen vernaout en dat de kap Niet de Keuken. afvoer van verbrandingsgassen belemmert.
U kunt voor extra ventilatie zorgen door een De schoorsteen moet uitmonden in een zone die ventilatierooster in de buitenmuur te latelyplaatsen. Niet worden verstoord door omliggende gebouwen, vlakbijstaande bomen of andere hindernissen. Zorg dat andere luchtverbruikende apparaten (zoals
Het schoorsteengedeelte buiten de woning要去 geisoleerd zich.
De schoorsteen moet minimaal 4 meter hoog zijn.stoekt.
- Als vuistregel geldt: 60 cm boven de nok van het dak.
Als de nok van het dak meer dan 3 meter is verwijderd van de schoorsteen: houd de maten aan die in de volgende figuur� aangegeven. A = het hoogste punt van het dak binnen een afstand van 3 meter.

Ventilatie van de ruimte
Voor een goede verbranding heeft het toestel lucht (zuurstof) nodig. Die lucht worden via regelbare luchtinlaten aangevoerd vanuit de ruimte waar het toestel is geplaatst.
Bij onvoldoende ventilatie vindt onvolledige verbranding plaats, waardoor zich giftige gassen in de ruimte kunnen verspreiden.
Een vuistregel is dat de luchttoevoer 5,5 cm²/kW moet+zijn. Extra ventilatie is nodig:
- Als het toestel in een ruimte staat die goed is geisoleerd.
Als er mechanische ventilatie is, by een centraal.
ding afzuigsysteme of een afzuigkap in een open
t de Reuken.
U kunt voor extra ventilatie zorgen door een 'ventilatierooster in de buitenmuur te latelyplaatsen.
Zorg dat andere luchtverbruikende apparaten (zoalsen wasdroger, ander verwarmingstoestel of badkamerventilator) een eigencuitelunchtaanvoer hebben, of zich uitgeschakeld wanner u het toeste
stookt.
U kunt het toestel ook aansluiten op buitenluchtaanvoer. Hiervoor is een aansluitset meegeleverd. Extra ventilatie is dan nicht nodig.
Vloer en wanden
-
Aansluitkraag
-
Klep
De vloer waarop het toestel worden geplaatst, moet voldoende draagvermogen hebben. Voor het gewicht3. Grendel van het toestel: zie de bijlage "Technische gegevens"4: Klepbedienng

In de vloer onder het toestel en in de wandes,
rond het toestel moot zich geen elektrische
leidingen bevinden. 6.
Primaire luchtschuif
- Secundaire luchtschuif

Onder het toestel moeten alle brandbare materialien verwijderd zijn of beschermd zich met minimaal 6 cm betonplaat.
-
Deur
-
Stookbodem

Brandbare wanden grenzend aan het toestel moeten beschermd worden met minimaal 10 cm stenen wand en 5 cm isolatie.
Kenmerken van het toestel
Het toestel is uitgerust met uitneembare vlamplaat, vuurkorf en stoobodem.

Beschem nicht-brandbare wanden grenzend aan het toestel met minimaal 2,5 cm isolatie voorkoming van scheurvorming.

Gietijzeren binnenplaten beschermen de verbrandingskamer en given warmte door aan de omgeving.

Beschem een brandbare vloer door middel van een onbrandbare vloerplaat gegen warmteuitstraling en eventueel uittvalende assen. Zie de bijlage "Afstand tot brandbaar materiaaal".
Het toestel worden standaard geleverd met een aansluitset voor de buitenluchttoevoer.

Zorg voor voldoende afstandCUSHT het toestel en brandbare materialen zoals meubels.
Het toestel is voorzien van een aansluitkraag die de möglichkeid biedt tot zowel een verticale aansluiting als een aansluiting onder een hoek van 45^

Zorg voor voldoende ventilatie rondon brandbare materialen zoals een sierbalk. Zie bijlage "Afstand tot brandhaar materiaal".
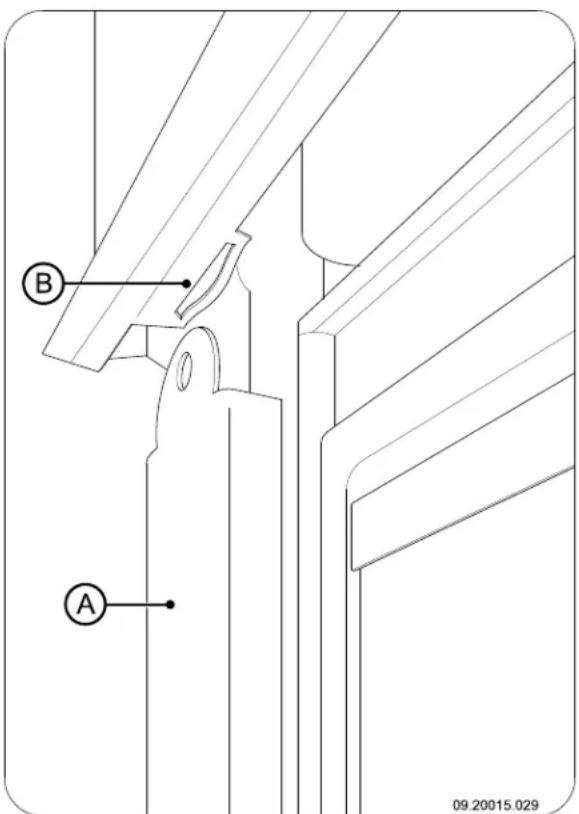
Het toestel worden geleverd met een losse handgreep (A) om de deur te openen, de zogenaamde "koude hand"; zie volgende figuur.

Een vloerkleed moet minimaal 80 cm van het vuur verwijderdহn.


Plaats geen brandbare materialen binnen 50 cm van de eventuele convectieuitlaatopeningen.
Het toestel is voorzien van een uitneembare aslade. Gebruik hiervoor de koude hand.
Productbeschrijving


Aanvullend kenmerk model 2180CBGD
- Het toestel is uitgerust met een panoramaische vlakke lifdeur. Het hiervoor benodigde geleidingsysteme is demontabel.
Het toestel wordt geleverd met een losse handgreep om de deur te openen, de zogenaamde "koude hand"; zie volgende figuur.

Installatie
Voorbereiding
Controller het toestel onmiddelijk bij ontvangst op (transport)schade en eventuele gebreken.

Als u (transport)schade of gebreken hebte geconstasteerd, neem het toestel dan nicht in gebruik en stel de leverancier op de hoogte.
- Verwijder de demontabele onderden (vlamplaat, stookbodem, vuurkorf, asluik en aslade)uit het toestel voordat u het toestel gaat installereren.

Door de demontabele onderdelen te verwijderen,kest u het toestel gemakkelijk verplaatsen en beschadiging voorkomen.

Let bij het verwijderen van demontabele onderdelen op hun oorspronkelijke positie, om
ze later waar op de juisteplaats te+kunnen aanbrengen.
Opmerking: Bij model 2180CBGD dient eerst het contragewicht gedeblokkeerd en de deur ontrendeld te worden. Volg onderstaande instructies.
- Deblokkeer het contragewicht door de tweedbouten (A) te verwijderen; zie volgende figuur.

- Ontgrendel de deur door de twee sluitingen boven de deur maar binnen te draaien; zie volgende figuur.


Tijdens transport dienen zowel de deur als het
contragewicht geblokkeerd te zich.
Vlamplaat demonteren
De vlamplaat bestaat UIT twee delen (A) en (B); zie volgende figuur.

- Open de deur van het toestel met behulp van de koude handgreep
- Til deel (A) van de nokken aan de voorzijde en verzolgens van deel (B).
- Kantel deel (B) van de richel op dechterwand.
- Neem bye delen via de deuruit he toestel.
Opmerking: Voor de montage van de vlamplaat volgt u bovenstaande instructies in omgekeerde volgorde.
Stand van de klep afstellen
Het toestel is uitgerust met een klep die bediend worden door een klepstang. De stand van de klep is van invloed op het rendement van de haard: hoe zichter de klep kan worden afgesteld, hoe hoger het rendement.
Bij het open en sluiten van de deur worden, via de klepstang, de klep geopend en gesloten. De stand van de klep is afhankelijk van de schoorsteentrek. Als de deur sluit komt de klep automatisch in de juiste stand te staan.
Bij model 2180CBGD is het nodig de klepstang met behulp van de koude hand (A) in te drukken; zie volgende figuur.

Als de deur gesloten is kan de klep geopend worden door de klepstang iota in te drukken en cervolgens maar links te bewegen; zie volgende figuur.

De positie van de klep kan bijgesteld worden.
- Draai zowel de stelschroef (A) als de bout (B) los;
zie volgende figuur.

2. Draai de klep ten opzichte van de klepstang in degewenste positie; zie volgende figuur.

- Draai bout (B) vast en daarna stelschroef (A) om de klep vast te zetten op de klepstang..
Richting van de aansluitkraag wijzigen
Als u in plaats van een verticale aansluiting een aansluiting onder een hoek van 45^ wilt, bijvoorbeeld omdat het de aansluiting op een bestaand rookgasafvoerkanaal vereenvoudigt, moet u de aansluitkraag 180^ draaien; zie de volgende figuur.

- Maak de verbinding:tussen klep en klepstang los door de verbindingsschroef los te draaien.
- Maak de verbinding:tussen de aansluitkraag en de rookvang los door de twee moeren M8 los te draaien.De klepstang is nu aan de bovenzijde van het toestel vrij.
- Draai de schroef aan de onderzijde van het toestel waarmee de klepstang aan het toestel bevestigd is los.
- Verwijder de klep en de klepstang.

Pas op dat de klep Niet in het toestel valt bij het verwijderen van de klepstang..
-
Til de aansluitkraag van de twee bouten.
-
Draai de aansluitkraag 180^ en plaats de aansluitkraag terug op de rookvang.
- Plaats de klep en de klepstangtering en draai aan de onderzijde de schroef waarmee de klepstang aan het toestel bevestigd worden vast.
- Maak de boutverbinding:tussen de aansluitkraag en de rookvang door de twee moeren M8 vast draaien.
- Gebruik kachelkit voor de afdichtingussen de aansluitkraag en de rookvang.

De kachelkit is nicht meegeleverd met het toestel.
Zijpanelen monteren (alleen model 2180CBGD)
Model 2180CBGD worden geleverd met twee lijpANELen om aan de linker- en rechterzijde van het toestel het loopwerk van het geleidingsysteme af te dekken.
- Steek de bovenzijde van het zijpaneel (A) in de uitsparing (B) die zich aan de bovenzijde van het toestel bevind; zich volgende figuur.

- Plaats de onderkant van het zijpaneel gegen het toestel. Door middel van een magneet worden het paneel in de juiste positie gehouden; die volgende aan figuur.

Buitenluchtaansluiting toepassen
Als het toestel worden geplaatst in een ruimte die onvoldoende is geventileerd,kest u de aansluitset voor het aanvoeren van buitenlucht op het toestel aansluiten.
De luchtaanvoerbuis heeft een diameter van 100mm . Bij toepassing van een gladde buis mag deze buis maximaal 12 meter lang zijn. Bij gebruik van hulpstukken zoals bochten moet u per hulpstuk de maximale lengte (12 meter) met 1 meter verminderen.
Buitenluchttaansluiting via de wand of de vloer en de aansluitkraag
- Maak een aansluitgat in de wand of vloer (raadpleeg Bijlage 2, "Afmetingen", voor een geschikte positie van het aansluitgat).
- Sluit de luchttaansluitbuis hermetisch af op de muur.
- Monteer de aansluitkraag (A) op het draadeind M6 (B) met behulp van de moer (D) en de sluitring (C); sie volgende figuur.

Inbouwen in een neue schouw
De installmentie van de inbouwhaard bestaat uit twee onderdelen:
Deplaatsing en aansluiting van de inbouwhaard
De schouw rond de inbouwhaard opbouwen.
Inbouwhaard plaatsen en aansluten
-
Zet het toestel op de juiste hoogte, vlak en waterpas.
-
Zorg dat:tussen de bestaande wanden, voorzien van de benodigde isolatie (zie het hoofdstuk "Installatiecondities"), en de achterkant van het toestel 100~mm vrijefstand is; ziede volgende twee figuren.

- Sluit het toestel hermetisch aan op de schoorsteen.
- Controller de trek in de schoorsteen en de afdichting van de aansluiting op het rookgasafvoerkanaal door een Klein hevig proefvuur te make n van krantenpapier en droog dun hout.
Wacht bij nieuw metselwerk tot het metselwerk voldoende droog is.
5. Bij buitenluchttaansluiting: sluit de aanvoer van buitenlucht aan op de aansluitset die u op het toestel hebts gemonteerd.
Opbouw van de schouw
In de schouw maakt u de convectieruimte. In deze ruimte要去lucht vrij kunnen bewegen.Er要去lucht aangezogen kunnen worden voor de verbranding en
de door de inbouwhaard verwarmde lucht (de convectielucht)要去 vrij de te verwarmen ruimte in hunnen stromen; zie volgende figuur

A convectieluchtstroom
B warmtestraling
C luchtaanvoer vanuit de te verwarmen ruimte
D buitenluchtaanvoer via de wand
E buitenluchtaanvoer via de vloer
Volg bij de bouw van de schouw de volgel voorschriften voor de convectieruimte:
De bovenzijde van de convectieruimte要去uchtdicht afgesloten zich met een aflsuitplaat van onbrandaar en hittebestendig materiaal.
De afluitplaat moet waterpas liggen en minimaal 30 cm onder de rookgasopening in het plafond geplaatst+zijn.
Voor de toevoer van omgevingslucht要去en aan de onderzijde van de schouw luchtinlaatroosters geplaatst+zijn. De minimale luchtinlaatopening is
250 cm². Als de ruimte onvoldoende is geventileerd, moet u zorgen voor aanvoer van buitenlucht door middel van de meegeleverde buitenluchtaansluitingsset of een optionele luchtklepset met regelknop.
Aan de bovenzijde van de schouw en vlak onder de afsluitplaat要去en luchtuitlaatroosters geplaatst zich. De minimale luchtuitlaatopening is 50‰ cm
i De inlaatroosters en de uitlaatroosters zich optioneel verkrijgbaar.
Gebruik in de convectieruimte geen brandbaar materiaal en voorkom de werkig van warmtebruggen bij het gebruik van warmtegeleidende materialen.
Volg onderstaande instructie bij de opbouw van de schouw:
- Metsel de voet van de haard enplaats in dit metselwerk de luchtinlaatroosters.
U kunt de luchtinlaatroosters aan alle kanten van de voetplaatsen.
Zorg dat de deur van de haard vrij over het plateau van de haard kan draaien.
- Metsel de haard verder op tot aan de rookvang.
Zorg dat er.altijd 2 mm spelimg blijft tussen de inbouwhaard en metselwerk om de warmteuitzetting van de inbouwhaard op te vangen.
3. Bekleed desgewenst de binnenzijde van de convectieruimte met reflecterend isolatiematerialiaal.
Extra bekleding van de convectieruimte voorkomt onnodige warmteuitstraling waar möglichke buitenmuren en/of naast gelegen ruimtes. Het voorkomt ook aantasting van despouwmuurisolatie.
-
Metsel de schouw verder af tot aan de rookgasopening in het plafond.
De inbouwhaard mag nicht het metselwerk dragen. Gebruik een ondersteuning zoals een draagijzer. Laat:tussen de ondersteuning en het toestel minimaal 3mm spel ing. -
Sluit de convectieruimte af met de afsluitplaat.
- Plaats onder de afsluitplaat de luchtuitlaatroosters.
- Maak boven de afsluitplaat een opening om eventuele drukopbouw te voorkomen.
De volgende figuur geeft een voorbeeld van deplaatsing van een inbouwhaard in een schouw die volgens bovenstaande instructies en voorschriften is gebouwd.

A Schoorsteen
B Afdichtstuk
C Afdekplaat
D Isolatie 10 cm
E Onbrandbare muur min. 10 cm (bv. gasbeton)
F Brandbare muur
G Convectieruimte
H Onbrandbaar plafond
I Brandbaar plafond
J Uitlaat convectielucht
K Isolatie
L Onbrandbare vloer
M Brandbare vloer
N Opening ter voorkoming van drukopbouw
O Aansluitbuis
Afwerking
- Plaats alle gedemonteerde onderdelen op de juiste plaats terug in het toestel.
- Zorg dat de新模式 gebouwde schouw voldoende droog is, voordat u gaat stoken.
Laat het toestel nooit branden zonder de vuurvaste binnenplaten.
Het toestel is nu klaar voor gebruik.
Gebruik
Eerste gebruik
Wanner u het toestel voor het eerst gebruikt, stook het dan enkele uren flink door. Hierdoor zal de hittebestendige lak uitharden. Hier bij kan wel wat rook en geurhinder ontstaan. Zet eventueel in de ruimte waar het toestel staat de ramen en deuren even open.
Brandstof
Dit toestel is alleen geschikt voor het stoken van natuurlijk hout; gezaagd en gekloofd en voldoende droog.
Gebruik geen andere brandstoffen, want die kunnen leiden tot ernstige schade aan het toestel.
De volgende brandstoffen mag u niede bruiken odomat zij het milieu verruilen, en odomat zij het toestel en de schoorsteen sterk verruilen waardoor schoorsteenbrand kan ontstaan:
Behandeld hout, zoals sloophout, geverfd hout, geimpregneerd hout, verduurzaamd hout, multiplex en spanplaat.
Kunststof, oud papier en huishoudelijk afval.
Hout
-
Gebruik bij voorkeur hard loofhout zoals eik, beuk, berg en fruitbomenhout. Dit hout brandt langzaam met rustige vlammen. Naaldhout bevat meer hors, brandt sneller en geeft meer vonden.
-
Gebruik gedroogd hout met een vochtpercentage 4. Sluit de deur van het toestel en zet de primaire van maximaal 20% . Hiervoor moet het hout luchtinlaat en de secundaire luchtinlaat van het minstens 2aar+zijn gedroogd. toestel open;zie volgende figuur.
Zaag het hout op maat en klief het als het nog Sersaat het aanmaakvur flink doorbranden totdat het is. Vers hout klieft gemakkelijker en gekloven hout een gloeendi houtskoolbed is geworden. Hierna droegt better. Bewaar het hout onder een afdek kunt u een volgende vulling doen en het toestel waar de wind vrij spel heeft. gaan regelen; zie de paragraaf "Stoken met hout". - Gebruik geen nat hout. Nat hout geeft geen warmte omdat alle energia gaat zitten in het verdampen van vocht. Dit geeft veel rook en roetaanslag op de deur van het toestel en in de schoorsteen. De waterdamp condenseert in het toestel en kan langs naden uit het toestel lekken en Zwarte vlekken op de vloer geven. De waterdamp kan ook in de schoorsteen condenseren en creosoot vormen. Creosoot is zeer brandhaar en kan schoorsteenbrand veroorzaken.
Aanmake
U kunt controleren of de schoorsteen voldoende trek heeft door boven de vlamplaat een prop krantenpapier aan te steken. Bij een koude schoorsteen is er vaak onvoldoende trek in de schoorsteen en kan er rook in de kamer komen. Door het toestel op de hier beschreiben manier aan te make, voorkomt u dit probleem.
- Stapel twee lagen middelgrote houtblokken kruislings op elkaar.
- Stapel bovenop de houtblokken twee lagen aanmaakhoutjes kruislings op elkaar.
- Leg een aanmaakblokje tussen de onderste laag 3. Stapel enkele houtblokken op het houtskoolbed. aanmaakhoutjes en streek het aanmaakblokje aan volgens de instructies op de verpakking. Losse stapeling
- Open langzaam de deur van het toestel.
- Verdeel het houtskoolbed gelijkmatig over de stookvloer.
- Stapel enkele houtblokken op het houtskoolbed.


Stoken met hout
Nadat u de instructies voor het aanmaken hebt gevolgd:

Losse stapeling
Bij een losse stapeling verbrandt het hout vlug omdte primaire luchtschuif regelt de lucht onder het de zuurstof elk stuk hout gemakkelijk kan bereiken. rooster (1). Gebruik een losse stapeling als u kort wilt stoken.
Compacte stapeling

Bij een compacte stapeling verbrandt het hout langzamer waar de zuurstof maar enkele stukken hout kan bereiken. Gebruik een compacte stapeling als u langer wilt stoken.
- Sluit de deur van het toestel.
- Sluit de primaire luchtinlaat en LAST de secundaire luchtinlaat open staan.
Vul het toestel voor maximaal een derde.
Regeling van de verbrandingslucht
Het toestel heeft diverse voorzieningen voor de luchtregeling (zie figuur).

De secundaire luchtschuif regelt de lucht voor het glas (air-wash) (2).
De hinterwand heeft onder de vlamplaat permanente luchtopeningen (3) die zorgen voor de naverbranding.
Adviezen
Stook het toestel regelmatig flink door.
Als u langdurig op lage stand stookt, kan zich in de schoorsteen een afzetting vormen van teer en creosoot. Teer en creosoot zijn zeer brandhaar. Als de afzetting van deze stoffen te groot worden, kan bij een plotselinge hoge temperatuur een schoorsteenbrand ontstaan. Door regelmatig flink doorstoken, verdwijnen eventuele afzetten van teer en creosoot. Daarnaast kan zich bij te laag stoken teer afzetten op de ruit en deur van het toestel. Bij een milde buitentemperatuur is het dus beter om het toestel een paar uur intens te latenten branden, dan lange tijd laag te stoken.
Regel de luchttoevoer met de secundaire luchtinlaat.

De secundaire luchtinlaat belucht nicht alleen het vuur maar ook het glas, zodat het glas Niet spel vervuift.
Zet de primaire luchtinlaat tijdelijk open als de luchttoevoer via de secundaire luchtinlaat onvoldoende is of als u het yuur wilt aanwakkeren.
Regelmatig eenkleinehoeveelheid houtblokken bijvullen isbeter danvee houtblokkentogelijk.
Doven van het yuur
Vul geen brandstof bij en LAST de kachel gewoon uitgaan. Als een vuur wordt getemperd door de luchttoevoer te verminderen, komen schadelijke stoffen vrij. Laat waarom het vuur vanzelf uitbranden. Houd toezicht op het vuur totdat het goed is gedoofd. Als het vuur volledig is gedoofd+kennen alle luchtschuiven worden gesloten.
Ontassen
Na het stoken van hout blijft een relatiefkleine hoveeelheid as over. Dit asbed is een goede isolator
voorde stookbodem en geeft een betere verbrandir Laat waarom gerust een dun laagje as op de stookbodem liggen.
De luchttoevoer door de stockbodem mag darüber nici worden belemmerd en er mag zich geen as ophopechronter een gietijzeren binnenplaat. Verwijderaarom regelmatinig de overtollige as.
- Open de deur van het toestel.
- Klap het ontassingsluik (C) open; zie volgende figuur.

- Schuif de overtollige as met het meegeleverde trekschepje in de aslade (A).
- Verwijder en leeg deaslade met behulp van delkoude hand (B).
- Plaats de aslade terug in het toestel en verwijder de koude hand.
- Sluit de deur van het toestel.
Nevel en mist
Nevel en mist belemmeren de afvoer van rookgasse door de schoorsteen. Rook kan neerslaan en stankoverlast gehen. Als het nicht=echt nodig is, kunt bij nevel en mist better Niet stoken.
Eventuele problemen
Raadpleeg de bijlage "Diagnoseschema" om eventuele problemen bij het gebruik van het toestel te losers.
Onderhoud
Volg de onderhoudsinstructies in dit hoofdstuk om het toestel in goede staat te honden.
Schoorsteen
In veel landen bent u wettelijk verplicht des schoorsteen te latent controlleren en onderhoden.
Aan het begin van het stockseizoen:That de schoorsteen vegen door een erkend schoorsteenveger.
Tijdens het stockseizoen en nadat de schoorsteen langeijd Niet is gebruikt:That de schoorsteen controleren op roet.
Na afloop van het stockseizoen: sluit de schoorsteen af met een prop krantenpapier.
Schoonmaken en anderregelmatig onderhoud

Maak het toestel nicht schoon wanner het nog warm is.
Maak de buitenkant van het toestel schoon met een droge Niet pluizende doeK.
Na afloop van het stookseizoen kut u de binnenkant van het toestel goed schoonmaken:
Verwijder eventuele eerst de vuurvaste binnenplaten. Zie het hoofdstuk "Installatie" voor instructies voor het verwijdersen en aanbrengen van binnenplaten.
Maak eventueel de luchtaanvoerkanalen schoon.
Verwijder de vlamplaat boven in het toestel en maak deze schoon.
eVuurvaste binnenplaten controerent
De vuurvaste binnenplaten zijn verbruiksonderdelen die aan slijtage onderhevig他们是。Controller de binnenplaten regelmatig en verrang ze indien nodig.
Zie het hoofdstuk "Installatie" voor instructies voor het verwijderen en aanbrengen van binnenplaten.
De isolerende vermiculite binnenplaten können haarscheuren gaan vertonen, maar dat heeft geen nudelig effect op hun werking.

Gietijzeren binnenplaten gaan lang mee als regelmatig as verwijdert die zich möglichk erachter ophoopt. Als opgehoopte as acheer een gietijzeren plaat Niet worden verwijderd, k deplaat de warmte nicht meer afgeven aan omgeving en kan deplaat verrormen of scheuren.

Laat het toestel nooit branden zonder de vuurvaste binnenplaten.
Glas schoonmaken
Goed schoongemaaakt glas neemt minder snel vuil Ga als volgt te werk:

-
Verwijder stof en loszittende roet met een droge doek.
-
Maak het glas schoon met kachelruitenreiniger: a. Breng kachelruitenreiniger aan op een keukenspons, wrijf het gehele glasoppervlak en LAST even inwerken.
b. Verwijder het vuil met een vochtige doek of keukenpapier.
Smeren
Hoewel gietijzer enigszins zelfsmerend is, moet u bewegende delen toch regelmatig smeren.

Smeer de bewegende delen (zoals geleidersystemen, scharnierpennen, fremde en luchtschuiven) met hittevast vet dat verkrijgbaar is bij de vakhandel.
-
Maak het glas nogmaals schoon met een gewoof glasreinigingsproduct.
-
Wrijf het glas schoon met een droge doek of keukenpapier.
Afwerklaag bijwerken
Kleine lakbeschadigingen kunt u bijwerken met een spuitbus special hittebestendige lak die verkrijgbaar is bij uw leverancier.
-
Gebruik geen schurende of bijtende producten or het glas schoon te make.
-
Gebruik schoonmaakhandschoenen om uw handen te beschermen.
mAfdichting controerent
- Controller of het afdichtingskoord van de deur nog goed aflsuit. Afdichtkoord verslijt en moetijdig worden verrangen.

Als het glas van het toestel is gebroken of gebarsten, moet dit glas worden verrangen voordat u het toestel opnieuw in gebruik neemt
Controller het toestel op luchtlekken. Kit eventuele kieren dicht met kachelkit.

Voorkom dat kachelruitreinigerussen het glas en de gietijzeren deur loopt.
Laat de kit goed uitharden voordat u het toestel aanmaakt, anders blaast het vocht in de kit op en ontstaat opnieuw eenlek.
Opmerking: Om toegang te krijgen tot het binnenglas van de lifdeur van het model 2180CBGD kut u de deur 60^ maar voren Kantelen. Draai met een schroevendraaier (A) de twee schroeven bovenin de deur� links;zie volgende figuur.
Panaromische liftdeur van het model 2180CBGD
Model 2180CBGD is uiterust met een panoramicische vlakke liftdeur. Het hiervoor benodigde geleidingsysteme is demontabel en de positie van deliftdeur kurz u bijstellen.
Geleidingsystem demonteren
Volg voor de demontage onderstaande stappen.
- Vergrendel het systeme door de twee sluitingen boven de deur maar buiten te draaien; zie volgende figuur.


09.20017.048
-
Schroef het front van het toestel. Verwijder eerst de onderste twee schroeven; zie volgende figuur.
-
Draai de twee schroeven boven in de deur maar links; zie volgende figuur. De deur Kantelt nu maar voren.

09.20017.049

09.20017.051
-
Verwijderervolgens de bovenste twees schroeven. Blijf het front gegen het toestel aandrukken met behulp van uw lichaam; zie volgende figuur.
-
Verwijder het front (met deur en geleidingsystem) van het bovenstel door des schroeven links en rechts bovenaan te verwijdersen; zie volgende figuur.


- Sluit nu voorzichtig de waar voren gekantelde de; Pak aan de onderkant het front en de deur vast die volgende figuur. aan het geleidingsystem; die volgende figuur.

- Vergrendel de deur; zie volgende figuur.

- Trek nu het front en de deur aan de benedenkant waar voren;zie volgende figuur.

- Kantel het geheel uit het toestel; zie volgende figuur.

- Het geleidingsystem is nu vrij toegankelijk; zie volgende figuur.

Opmerking: Voor de montage van het geleidingsystem volgt u bovenstaande stappen in omgekeerde volgorde.
Sluiting liftdeur aanpassen
De positie van de deur ten opzichte van het front kan bijgesteld worden. Het geleidingsystemeem dient vrij toegankelijk teijken. Verwijder de afdekprofielen of het eventuele gemonteerde kader.
- Draai de bout aan de zijkant los en en stel de deur bij door deze aan te drukken gegen het front. Draai de bout waar vast; zich volgende figuur.

- Druk de deur aan gegen de onderijde van het front, zodenig dat het geleidingswiel aan de sluitbeugel juist raakt;zie volgende figuur.

- Pas indien nodig de positie van de sluitbeugel aan door de drie bevestigingschroeven los te draaien en de sluitbeugel te verplaatsen. Draai deschroeven wee vast; zie volgende figuur

Bijlage 1: Technische gegevens
| Serie 2180CB | |
| Nominal vermogen 15 kW | |
| Schoorsteenaansluiting (diameter) 200 mm | |
| Gewicht +/- 190 kg | |
| Gewicht Model 2180CBGD 230 kg | |
| Aanbevolen brandstof Hout | |
| Kenmerk brandstof, max. lenghte 50 cm | |
| Massadebiet van rookgassen 13,6 g/s | |
| Temperatuurstijging gemeten in de meetsectie 268 K | |
| Temperatuur gemeten aan de uitgang van het toestel | 326 °C |
| Minimum trek | 12 Pa |
| CO-emissie (13%Q) | 0,10 % |
| NOx-emissie (13% Q) | 97 mg/Nm3 |
| CnHm-emissie (13%Q) | 96 mg/Nm3 |
| Stofemissie | 22 mg/Nm3 |
| Rendement | 76 % |
Bijlage 2: Afmetingen
2180CBS en 2180CBC

2180CBBS


2180CBGD
Bijlage 3: Afstand tot brandaar materiaal
Serie 2180CB - Minimale ventilatieruimte buiten het stralingsbereik

Serie 2180CB - Afmetingen onbrandbare vloerplaat in centimeters


Minimale afartetigen onbrandbare vloerplaat
$$ \begin{array}{l} V > H + 3 0 > 6 0 \ S > H + 2 0 > 4 0 \ \end{array} $$
Bijlage 4: Diagnoseschema
| Probleem | ||||||
| ● | Hout wil nicht doorbranden | |||||
| ● | Geeft onvoldoende warmte | |||||
| ● | Rookterugslagijdens het bijvullen | |||||
| ● | Toestel brandt te hevig, nicht goed regelbaar | |||||
| Aanslag op het glas | ||||||
| mogelijkke oorzaak maybe oplossing | ||||||
| ● | ● | ● | Onvoldoende trek | Een koute schoorsteen creëert vaak onvoldoende trek. Volg de instructies voor het aanmaken in het hoofdstuk "Gebruik"; open een raam. | ||
| ● | ● | ● | ● | Hout te vochtig Gebruik hout met maximaal 20%vocht. | ||
| ● | ● | ● | ● | Afmetingen hout te groot | Gebruik keine stukjes aanmaakhout. Gebruik gekloven houtblokken met een omtrek van maximaal 30 cm. | |
| ● | ● | ● | ● | ● | Stapel hout nielt correct | Stapel het hout zodenig dat er voldoende lucht tussen de houtblokken kan stromen (losse stapeling, wie "Stoken met hout"). |
| ● | ● | ● | ● | Werking van de schoorsteen onvoldoende | Controler of de schoorsteen aan de voorwaarden voldoet: minimaal 4 meter hoog, juiste diameter, goed geisoleerd, gladde binnenzijde, Niet te veel bochten, geen obstructions in de schoorsteen (vogelnest, te veelroetafzetting), hermetisch dicht (geen kieren). | |
| ● | ● | ● | ● | Uitmonding van de schoorsteen nielt correct | Voldoende hoog boven het dakvlak, geen obstructions in de nabijheid. | |
| ● | ● | ● | ● | ● | Instelling van de luchtinlaten nielt correct | Open de luchtinlaten volledig. |
| ● | ● | ● | ● | Aansluiting van het toestel met de schoorsteen nielt correct | Aansluiting要去 hermetisch dicht bijn. | |
| ● | ● | ● | ● | Onderduk in de ruimte waar het toestel is geplaatst | Zet afzuigsystemen uit. | |
| ● | ● | ● | ● | Onvoldoende toevoer van verse lucht | Zorg voor voldoende luchttoevoer, maar desnoods gebruikvan de buitenluchttaansluiting. | |
| ● | ● | ● | ● | Ongunstige weersomstandig-heden? Inversie (omgeekerde luchtstroom in de schoorsteen door hoge buitentemperatuur), extreme windsnelheden | Bij inversie is gebruik van het toestel af te raden. Plaats desnoods een trekkende kap op de schoorsteen. | |
| ● | Tocht in de woonkamer | Voorkom/tocht in de woonkamer; plaats het toestelniet in de nabijheid van een deur of verwarmingsluchtkanalen. | ||||
| ● | Vlammen raken het glas | Zorg dat het hout nielt te dicht gegen het glas ligt. Schuif de primaire luchtinaat verder dicht. | ||||
| ● | Toestel lekt lucht Controller de afdichtingen van de deur en de naden van het toestel. | |||||
Index
A
Aanmaakhout 27.
Aanmaakvuur.14.
Aansluiten afmetingen.23
Aansluten op buitenluchtaanvoer.10
Aansluitkraag.9
Aansteken 14
Afdichtingskoord van deur.17.
Afmetingen.23
Afsluitplaat convectieruimte 12
Afwerklaag, onderhoud.17
As verwijderen 15
B
Beluchting van het vuur 15
Bijstellen klep 8 sluiting van de liftdeur 20
Bijvullen van brandstof 15 rookterugslag. 27
Brandbaar materiaal afstand tot. 26
Brandstof
benodigdehoeveelheid 16
bijvullen 15
geschikte 13
ongeschikte 13
Brandveiligheid afstand tot brandbaar materiaal 26 meubels 6 vloer 6 wanden 6
Buitenluchtaanvoer 5,10
aansluiting op. 11
C
Contragewicht 22
deblokkeren 7
Convectieruimte aufsuitplaat 12 bouw. 11 voorschriften 12
Creosoot 15
D
Deur
afdichtingskoord 17
Draagvermogen van vloer 6
Drogen van hout 13
G
Geleidingsysteme demonteren 18
Geschikte brandstof 13
Gewicht 22
Glas
aanslag 27
schoonmaken 17
H
Hout 13
bewaren .13.
drogen 13
geschikte soort 13
nat 13
wil nicht doorbranden 27
Houtblokken stapelen 14
K
Kap op de schoorsteen. 5
Kieren in toestel 17
Klep aufstellen 8
L
Lak 13
Liftdeur 7
aanpassen 20
bijstellen 20
contragewicht 7
geleidingsysteme 18
Luchtinlaatrooster
eisen 12
plaatsing 12
Luchtinlaten 14
Luchtlek 17
Luchtregeling.15
Luchttoevoer regelen 15
Luchtuitlaatrooster
eisen 12
plaatsing.12
M
Mist, nicht stoken.16
Muren brandveiligheid..6.
N
Naaldhout.13.
Nathout 13
Nevel, nicht stoken.16
Nominal vermogen 16, 22
0
Onderhoud
afdichting.17.
glas schoonmaken.17.
schoorsteen.16.
smeren.17.
toestel schoonmaken.16.
vuurvaste binnenplaten. 16
Ongeschikte brandstof. 13
Ontassen 15
Opslag van hout 13
P
Plaatsen afmetingen 23
Primaire luchtinlaat. 14
Problemen oplossen 16,27
R
Rendement 22
Rook bij eerste gebruik 13
Rookgas massedebiet 22
Rookgasemperatuur. 22
Rookterugslag 4,27
Ruiten
aanslag 27.
schoonmaken. 17
s
Schoonmaken glas 17 toestel .16
Schoorsteen
aansluitdiameter 22
aansluiting op 11
hoogte 5
onderhoud 16
voorwaarden 4
Schoorsteenbrand voorkomen 15
Schoorsteenkap 5
Schouw opbouw 11
Secunda luchtinlaat. 14
Smeren 17
Stof-emissie 22
Stoken 14 brandstof bijvullen 14-15 onvoldoende warmte 16,27 toestel brandt te hevig 27 toestel nicht goed regelbaar 27
T
Teer 15
Temperatuurstijging meetsectie 22
Trek. 22
U
Uitgaan van vuur. 15
V
Vegenvanschoorsteen. 16
Ventilatie 5
buitenluchtaanvoer aansluiten. 10
vuistregel 5
Ventilatierooster 5
Verbrandingsluchtregeling 15
Verwijderen as 15
Vet voor smering 17
Vlamplaat 8
demonteren. 8
Vloeren brandveiligigkeit 6 draagvemogen 6
Vloerkleed 6
Vulhoogte van toestel 15
Vuur aanmaken 14 doven. 15
Vuurvaste binnenplaten
onderhoud 16
waarschuwing.13.
W
Waarschuwing
brandbare materialen 4
glas gebroken of gebarsten.4..17....
heet oppervlak 4
verzekeringsvoorwaarden 4
voorschriften. 4
vuurvaste binnenplaten 13
Wanden
brandveiligheid 6
Warmte, onvoldoende 16, 27
Weersomstandigheden, nicht stoken 16
Table of contents
Introduction 3
DOVRE N.V.
Nijverheidsstraat 18 Tel: +32 (0) 14 65 91 91
B-2381 Weelde Fax: +32 (0) 14 65 90 09
Belgium E-mail : info@dovre.be

Safety
Adjustung the lifting door 21
Air control.15.
DOVRE N.V.
Nijverheidsstraat 18 Tél: +32 (0) 14 65 91 91
2381 Weelde,
Belgique Fax: +32 (0) 14 65 90 09
Nijverheidsstraat 18 Tel.: +32 (0) 14 65 91 91
B-2381 Weelde Fax: +32 (0) 14 65 90 09
Bélgica E-mail: info@dovre.be
Seguidad
Plaatsen afmetingen 24
Dovre N.V., Nijverheidsstraat 18 B-2381 Weelde,
Nijverheidsstraat 18 Tel: +32 (0) 14 65 91 91
B-2381 Weelde Fax: +32 (0) 14 65 90 09
Belgio E-mail: info@dovre.be
SimpelGids