2180CBC - Kamin DOVRE - Kostenlose Bedienungsanleitung
Finden Sie kostenlos die Bedienungsanleitung des Geräts 2180CBC DOVRE als PDF.
Häufig gestellte Fragen - 2180CBC DOVRE
Benutzerfragen zu 2180CBC DOVRE
0 Frage zu diesem Gerät. Beantworten Sie die, die Sie kennen, oder stellen Sie Ihre eigene.
Eine neue Frage zu diesem Gerät stellen
Laden Sie die Anleitung für Ihr Kamin kostenlos im PDF-Format! Finden Sie Ihr Handbuch 2180CBC - DOVRE und nehmen Sie Ihr elektronisches Gerät wieder in die Hand. Auf dieser Seite sind alle Dokumente veröffentlicht, die für die Verwendung Ihres Geräts notwendig sind. 2180CBC von der Marke DOVRE.
BEDIENUNGSANLEITUNG 2180CBC DOVRE
Kachelruitenreiniger 17
Empilage des buchs 15
Konformitätserklarung 3
Sicherheit 4
Installationsbedingungen.4
Allgemeines 4
Schornstein 4
Belüftung des Raums 5
Boden und Wände 6
Produktbeschreibung.6
Installation 7
Vorbereitung.7
Anwendung des Außenluftanschlusses..11
Einbau in einen neuen Kamin 11
Inbetriebnahme 14
Erste Inbetriebnahme 14
Brennstoff 14
Anzünden 14
Heizen mit Holz 15
Regelung der Verbrennungsluft 16
Löschen des Feuers 16
Entaschen 16
Nebel 17
Eventuelle Probleme 17
Wartung 17
Schornstein 17
Reinigung und andere Wartungsarbeiten. 17
Panorama-Liftturdes Modells 2180CBGD 19
Anlage 1: Technische Daten. 23
Anlage 2: Abmessungen 24
Anlage 3: Abstand zu brennbarem Material. 27
Anlage 4: Diagnoseschema. 28
Index 29
Einleitung
Sehr geehrte(r) Benutzer(in),
Mit dem Kauf theses Heizgerats von DOVRE haben Sie sich für ein hochwertiges Produkt entschieden.
Dieses Produkt gehört zu einer neuen Generation energiesparender und umweltfreundlicher Heizgeräte.
These Geräte nutzen sowohl Konvektionswärme als auch Strahlungswärme.
Konformitätserklarung

Benachrichtigte Behörde: 2013
Ihr DOVRE-Gerät wurde mithilfe der modernsten Produktionsmittel gefertigt. Sollte Ihr Gerät wider Hiermit erklärt Erwarten dennoch einen Mangel aufweisen, können Sie sich jederzeit an den DOVRE-Service wenden. Dovre nv, Nijverheidsstraat 18, B-2381 Weelde,
Das Gerätarf nicht verändert werden; verwenden Sie stets Original-Ersatzteile. dass die Einbauöfen 2180CBGD, 2180CBC.
Das Gerät ist zum Aufstellen in einem Wohnraum2180CBS und 2180CBBS gemäß EN 13229 gedacht. Es muss hermetisch dicht an einen gut produziert werden. Funktionierenden Schornstein angeschlossen werden.
Weelde 20-05-2006
Wir empfehlen, das Gerät durch einen qualifizierten Techniker installieren zu halten.
DOVRE übernimmt keinerlei Haftung für Probleme oder Schäden, die auf eine inkorrekte Installation zurückzuführen sind.
Bei Installation und Verwendung müssen die nachfolgend aufgeführten Sicherheitsvorschriften beachtet werden.

These Anleitung erläutert, wie Sie das DOVRE-Heizgerät sicher installieren, verwenden und warten. Wenn Sie weitergehende Informationen und technische Daten benötigen oder ein Installationsproblem haben, wenden Sie sichitte zuerst an ihren Lieferanten.
© 2012 DOVRE NV
Da die Produkte kontinuierlich verbessert werden, können die Spezifikationen des gelieferten Geräts ohne vorherige Ankündigung von den Angaben in dieser Broschüre abweichen.
DOVRE N.V.
Nijverheidsstraat 18 Tel.: +32 (0) 14 65 91 91
B-2381 Weelde Fax: +32 (0) 14 65 90 09
Belgien E-Mail: info@dovre.be

Sicherheit
Achtung! Alle Sicherheitsvorschriften müssen strikt eingehalten werden.
Lesen Sie die Anleitungen zu Installation, Inbetriebnahme und Wartung sorgfältig durch, bevor Sie das Gerät in Betrieb fühmen.
Das Gerät muss gemäß den in Ihr dem Land geltenden gesetzlichen Bestimmungen installiert werden.
Alle lokalen Bestimmungen sowie Bestimmungen aufgrund von EU-Normen müssen bei der Installation des Geräts beachtet werden.
Lesen Sie die Anleitungen zu Installation, Inbetriebnahme und Wartung, die dem Gerät beiliegen.
Vorzugsweise sollte das Gerät von einem dazu befugten Techniker installiert werden. Diese kennt alle geltenden Bestimmungen und Vorschriften.
Das Gerät wurde zu Heizungszwecken entwickelt. Alle Oberflächen, einschließlich Glas und Anschlussrohr, können sehr heißt werden (mehr als 100^ ! Verwenden Sie bei der Bedienung eine "kalte Hand" oder hitzebestandige Handschuhe.
Legen Sie keine Gardinen, Kleider, Wäschstücke oder andere brennbare Materialien auf oder neben das Gerät.
Verwenden Sie während des Betriebs Ihres Gerats keine leicht entflammbaren oder explosiven Materialien in der Nähe des Gerät
Lassen Sie den Schornstein regelmäßig reinigen, um Schornsteinbrände zu verhindern. Heizen Sie niemals mit geöffneter Tur.
Bei einem Schornsteinbrand: Schließen Sie die Lufteingänge des Geräts, und rufen Sie die Feuerwehr.
Wenn das Glas des Geräts gebrochen oder gesprungen ist, muss diese Glas ausgetauscht werden, bevor das Gerät erneut in Betrieb genommen wird.
Sorgen Sie für eine ausreichende Ventilation in dem Raum, in dem das Gerät aufgestellt ist. Bei nicht ausreichender Ventilation ist die Verbrennung nur unvollständig, wodurch sich giftingige Gase in dem Raum ausbreiten konnen. Vgl. das Kapitel "Installationsbedingungen" für weitere Informationen zur Ventilation.
Installationsbedingungen
Allgemeines
Das Gerät muss hermetisch dicht an einen gut Funktionierenden Schornstein angeschlossen werden.
Fur den Anschluss: vgl. die Anlage "Technische Daten".
Informieren Sie sich bei der Feuerwehr und/oder bei ihrer Versicherungsgesellschaft nach eventuellen speziellen Bedingungen und Vorschriften.
Schornstein
Der Schornstein ist erforderlich für:
Die Abfuhr von Verbrennungsgasen durch natürlichen Abzug.
Die warme Luft in dem Schornstein ist leichter als die Außenluft und steigt dazu nach oben.
Das Ansaugen von Luft, erforderlich für die Verbrennung der Brennstoffe in dem Gerät.
Ein nicht korrekt Funktionierender Schornstein kann zu Rauchrückschlagen beim Offnen der Tur führen.
SSchaden durch Rauchrückschlag fallen nicht unter die Garantie.
Schlieben Sie nicht mehrere Geräte (etwa noch einen Zentralheizungskessel) an denselben Schornstein an, es sei dann, lokale oder landesweite Gesetze{lassen dies zu.
Fragen Sie ihren Installateur nach einer Beratung zu Ihrem Schornstein. Konsultieren Sie die EU-Norm EN13384 für die korrekte Berechnung Ihres Schornsteins.
Der Schornstein muss die folgenden Bedingungen erfüllen:
Der Schornstein muss aus feuerfestem Material bestehen, vorzugsweise aus Keramik oder Edelstahl.
Der Schornstein muss luftdicht und gut gereinigt sein und vollständigen Zug garantieren.

Ein Zug/Unterdruck von 15 - 20 Pa während der normalen Belastung ist ideal.
Der Schornstein muss - vom Ausgang aus dem Gerät ab - so vertikal wie möglich verlaufen. Richtungsänderungen und horizontale Teilstücke stären den Abzug der Verbrennungsgase und führen möglicherweise zu Rauchansammlungen.
Die Innenmaße des Schornsteins dürfen nicht zu groß sein, um zu vermeiden, dass sich die Verbrennungsgase zu stark abkühlen und dadurch den Zug beeinträchtigen.
Der Schornstein sollte nach Möglichkeit den gleichen Durchmesser aufweisen wie das Anschlussstück.

Für den nominalen Durchmesser vgl. die Anlage "Technische Daten". Wenn der Rauchkanal gut isoliert ist, kann der Durchmesser eventuell etwas großer sein (max. zweimal so groß wie der des Anschlussstücks).
Der Abschnitt (die Oberfläche) des Rauchkanals muss konstant sein. Änderungen und (vor allem) Verengungen stären die Abfuhr der Verbrennungsgase.
Bei Verwendung einer Regenhaube auf dem Schornstein: Achten Sie darauf, dass die Haube nicht die Mündung des Schornsteins verengt, und dass sie nicht die Abfuhr der Verbrennungsgase befindert.
Der Schornstein muss in einem Bereich munden, der nicht durch umliegende Gebäude, in der Näh stehende Bäume oder andere Hindernisse befindert wird.
Der Teil des Schornsteins, der außerhalb der Wohnung liegt, muss isoliert sein.
Der Schornstein muss mindestens 4 Meter hoch sein.
Als Faustregel gilt: 60 cm oberhalb des Dachfirsts.
Wenn der Dachfirst mehr als 3 Meter vom Schornstein entfernt ist: halten Sie die in der folgenden Abbildung angegebenen Maße ein. A = der höchste Punkt des Daches innerhalb eines Abstands von 3 Metern.

Belüftung des Raums
Für eine gute Verbrennung besteht das Gerät Luft (Sauerstoff). Die Luft wird über einstellbare Luftinlassoeffnungen aus dem Raum, in dem das Gerät aufgestellt ist, angeführrt.

Bei nicht ausreichender Ventilation ist die Verbrennung nur unvollständig, wodurch sich giftingige Gase in dem Raum ausbreiten konnen.
Eine Faustregel ist, dass die Luftzufuhr 5,5cm^2 /kW betragen muss. Eine zusätzliche Ventilation ist erforderlich:

inn das Gerät in einem gut isolierten Raum.
Wenn eine mechanische Ventilation verwendet wird, etwa durch ein zentrales Absaugsystem oder eine Abzugkappe in einer offenen Kuche.
- Sie können für zusätzliche Ventilation sorgen, indem sie in der Außenwand ein Ventilationsgitter einbauen laßen.
Sorgen Sie davon, dass andere Luft verbrauchende Geräte (eita ein Wäschetrockner, andere Heizgeräte oder ein Badezimmerventilator) über eine eigene Außenluftzufuhr verfügen, oder ausgeschaltet sind, wenn das Gerät in Verwendung ist.

i
Sie konnen das Gerät auch an einer Außenluftanfuhr anschließen. Hierfür ist ein Anschlussatz im Lieferumfang enthalten. Dann benötigen Sie keine zusätzliche Ventilation.
Boden und Wände
Der Boden, auf dem das Gerät aufgestellt wird, muss über ein ausreichendes Tragvermögen verfügen. Für das Gewicht des Geräts vgl. die Anlage "Technische Daten".
Im Boden unter dem Gerät und in den Wändrund um das Gerät dürfen sich keine elektrischen Leitungen befinden.
Unter dem Gerät mussen alle brennbaren Materialien entfernt werden oder mit einer Betonplatte (mindestens 6 cm dick) geschützt sein.
Brennbare Wände in der Nähe des Gerats müssen mit einer Steinwand (mindestens 10 cm dick) und einer Isolationsschicht von mindestens 5 cm Dicke geschützt werden.
Nicht brennbare Wände in der Höhe des Gerats müssen mit einer mindestens 2,5 cm dicken Isolationsschicht geschützt werden, damit sich keine Risse bilden konnen.
Schützen Sie brennbare Böden mithilfe einer feuerfesten Bodenplatte gegen Wärmeausbreitung und eventuell hersausfallende Asche. Vgl. die Anlage "Abstand zu brennbarem Material".
Sorgen Sie für ausreichenden Abstand zwischen dem Gerät und brennbaren Materialien, wie etwa Möbeln.
Sorgen Sie rund um brenbare Materialien, etwa Zierleisten, für ausreichende Belüfung. Vgl. die Anlage "Abstand zu brennbarem Material".
Zwischen Teppichen und dem Feuer muss ein Mindestabstand von 80 cm gewahrt bleiben.
Im Umkreis von 50 cm um eventuell vorhandene Konvektionsauslassöffnungen)dürfen sich keine brennbaren Materialien befinden.
Produktbeschreibung

- Anschlussstück
- Klappe
- Riegel
- Klappenbedienung
- Primäre Luftklappe
- Sekundäre Luftklappe
- TUR
- Feuerboden
Merkmale des Geräts
Das Gerät verfügbar über eine herausnehmbare Flammplatte, einen Feuerkorb und einen Feuerboden.
i
Gusseiserne Innenplatten schützen die Verbrennungskammer und geben Wärme an die Umgebung ab.
Das Gerät wird mit standardmäßig einem Anschlussatz für die Außenluftzufuhr geleiefert.
Das Gerät verfügt über ein Anschlussstück, das die Möglichkeit für einen senkrechten Anschluss in und für einen Anschluss im Winkel von 45^ bietet.
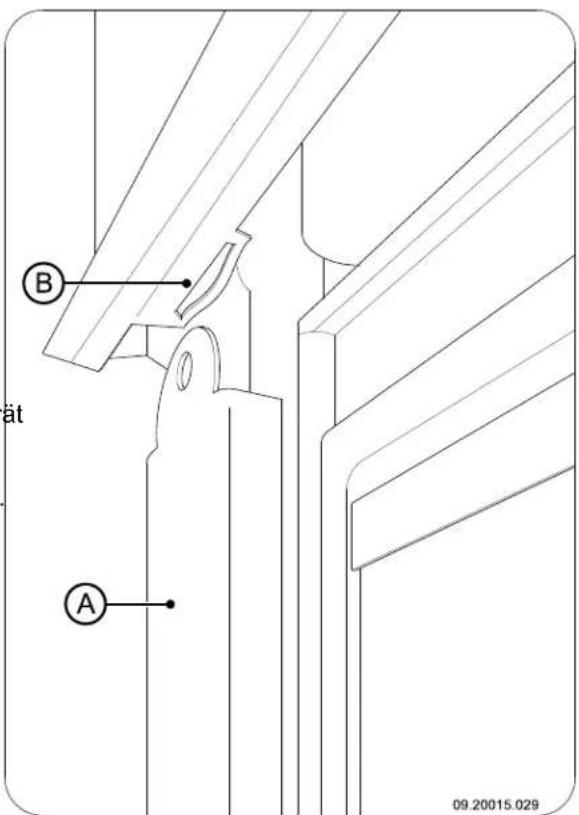
Das Gerät wird mit einem gusseisernen losen Handgriff (A) zum Öffnen der Tur, der so genommen "kalten Hand", geliefert; vgl. die nachfolgende Abbildung.

Das Gerät verfügt über eine Herausnehmbare Aschenlade. Verwenden Sie dazu die "kalte Hand".
Ergänzendes Merkmal von Modell 2180CBGD
Das Gerät verfügbar über eine flache Panorama-Lifttür. Das hierfür erforderliche Führungssystem ist abmontierbar.
Das Gerät wird mit einem gusseisernen losen Handgriff zum Öffnen der Tur, der so genannten "kalten Hand", geliefert; vgl. die nachfolgende Abbildung.

Installation
Vorbereitung
Überprüfen Sie das Gerät sofort nach Lieferung auf (Transport-) Schäden und eventuelle Mängel.

Wenn Sie (Transport-) Schaden oder Mängel feststellen, behmen Sie das Gerät nicht in Betrieb und informieren Sie den Handler.
Entfermen Sie die abmontierbaren Teile (Flammplatte, Boden, Feuerkorb, Aschenöffnung und Aschenlade) aus dem Gerät, bevor Sie es installieren.

Wenn Sie die abmontierbaren Teile entfernen, können Sie das Gerät leichter verschiben und Beschädigungen vermeiden.

Achten Sie beim Entfernen dieser Teile auf ihre ursprüngliche Lage, damit Sie sie später wieder korrekt anbringen konnen.
Anmerkung: Beim Modell 2180CBGD mussen Sie zuerst das Gegengewicht deblockieren und die Tur entriegeln. Befolgen Sie die nachfolgende Anleitung.
- Deblockieren Sie das Gegengewicht, indem Sie die zwei Bolzen (A) entfern; vgl. die nachfolgende Abbildung.

- Entriegeln Sie die Tur, indem Sie die beiden 1. Offnen Sie die Tur des Gerats mithilfe des kalten Verschlüsse oberhalb der Tur nachinnen drehen; Handgriffs. vgl. die nachfolgende Abbildung.


Beim Transport mussen die Tur und das Gegengewicht blockiert sein.
Abmontieren der Flammplatte
Die Flammplatte besteht aus zwei Teilen, (A) und vgl. die nachfolgende Abbildung.


- Offnen Sie die Tur des Gerats mithilfe des kalten; Handgriffs.
- Kippen Sie Teil (A) von den Nocken an der Vorderseite und anschließend von Teil (B).
- Kippen Sie Teil (B) von der Leiste an die Rückwand.
- Nehmen Sie beiden Teile durch die Tur aus dem Gerät.
Anmerkung: Gehen Sie bei der Montage der Flammplatte in der umgekehrten Reihenfolge vor.
Einstellen der Klappenstellung
Das Gerät verfügt über eine Klappe, die mithilfe einer Klappenstange bedient wird. Die Stellung der Klappe hat Auswirkungen auf den Wirkungsgrad des Ofens: Je dichter die Klappe eingestellt werden kann, umso hoher ist der Wirkungsgrad.
Beim Öffnen und Schlieben der Tur wird die Klappe über die Klappenstange geöffnet und geschlossen. Die Stellung der Klappe hangt vom Zug des Schornsteins ab. Wenn die Tur geschlossen wird, bewegt sich die Klappe automatisch in die richtige Stellung.
Bei Modell 2180CBGD muss die Klappenstange mithilfe der "kalten Hand" (A) eingedrückt werden; vgl. die nachfolgende Abbildung.

Wenn die Tur geschlossen ist, kann die Klappe geöffnet werden, indem man die Klappenstange etwas eindruckt und anschließend nach links bewegt; vgl. die nachfolgende Abbildung.

Die Position der Klappe kann eingestellt werden.

3. Drehen Sie den Bolzen (B) und anschließend die Stellschraube (A) fest, um die Klappe mit der Klappenstange zu befestigen.
- Drehen Sie die Stellschraube (A) und den Bolzern (B) los; vgl. die nachfolgende Abbildung.

2. Drehen Sie die Klappe in die gewünschte Position zur Klappenstange; vgl. die nachfolgende Abbildung.
Ändern der Ausrichtung des Anschlussstücks
Wenn Sie anstelle eines vertikalen Anschlusses einen Anschluss mit einem Winkel von 45^ wünschen, etwa, um den Anschluss mit einem vorhandenen Abgasabfuhrkanal zu vereinfachen, müssen Sie das Anschlussstuck um 180^ drehen; vgl. die nachfolgende Abbildung.

- Losen Sie die Verbindung zwischen Klappe und Klappenstange, indem Sie die Verbindungsschraube losdrehen.
- Losen Sie die Verbindung zwischen dem Anschlussstück und dem Rauchfang, indem Sie die zwei Mutter M8 losdrehen. Die Klappenstange ist jetzt an der Oberseite des Geräts frei.
- Drehen Sie die Schraube an der Unterseite des Gerats, mit dem die Klappenstange an dem Gerat befestigt ist, los.
- Entfernen Sie die Klappe und die Klappenstange.

Achten Sie darauf, dass die Klappe beim Entfernen der Klappenstange nicht in das Gerät fällt.
- Kippen Sie das Anschlussstück von den beiden Bolzen weg.
- Drehen Sie das Anschlussstück um 180^ , und setzen Sie es wieder auf den Rauchfang.
- Setzen Sie Klappe und Klappenstange wieder ein, und drehen Sie an der Unterseite die Schraube,
mit der die Klappenstange an dem Gerät befestigt wird, fest.
- Verbinden Sie das Anschlussstück und den Rauchfang wieder, indem Sie die zwei Mutter M8 festdrehen.
- Dichten Sie den Zwischenraum zwischen dem Anschlusstück und dem Rauchfang mit Ofenkitt ab.

Der Ofenkitt führt nicht zum Lieferumfang des Geräts.
Montage der Seitenplatten (nur Modell 2180CBGD)
Modell 2180CBGD wird mit zwei Seitenplatten gefleiert, die an der linken und rechten Seite das Laufwerk des Führungssystems abdecken.
- Stecken Sie die Oberseite der Seitenplatte (A) in die Aussparung (B), die sich an der Oberseite des Gerats befindet; vgl. die nachfolgende Abbildung.

2. Setzen Sie die Unterseite der Seitenplatte gegen Außenluftanschluss
das Gerät. Die Platte wird durch einen Magneten in der korrekten Position gehalten; vgl. die nachfolgende Abbildung.

Anwendung des Außenluftanschusses
Wenn das Gerät in einem unzureichend belüfteten Raum aufgestellt wird, konnen Sie den mitgelieferten Anschlussatz für die Zuführ von Außenluft an das Gerät anschließen.
Das Luftzufuhrrohr hat einen Durchmesser von 100mm . Bei Verwendung eines glatten Rohrs davon theses hochstens 12 Meter lang sein. Bei Verwendung von Hilfsstücken, wie etwa Biegungen, müssen Sie die maximale Länge (12 m) pro Hilfsstum einen Meter vermindern.
- Bringen Sie in der Wand oder dem Boden eine Anschlussöffnung an (Vgl. Anlage 2, "Abmessungen", für die geeignete Position dieser Anschlussöffnung).
- Schlieben Sie das Luftzufuhrrohr hermetisch mit der Wand ab.
- Montieren Sie das Anschlussrück (A) auf dem Gewindeende M6 (B) mithilfe der Mutter (D) und des Verschlussrings (C); vgl. die nachfolgende Abbildung.

Einbau in einen neuen Kamir
Die Installation des Einbauofens besteht aus zwei Teilen:
Der Platzierung und dem Anschluss des Einbauofens
Dem Aufbau des Kamins um den Einbauofen
Platzierung und Anschluss des Einbauofens
- Stellen Sie das Gerät in der geeigneten Höhe auf, und sorgen Sie mit einer Wasserwaage für eine sichEbene Aufstellung.
- Sorgen Sie darüber, dass zwischen den vorhandenen Wänden, die über die erforderliche
Isolierung verfügen (vgl. das Kapitel "Installationsbedingungen") und der Rückseite des Gerats 100 mm Abstand besteht; vgl. die nachfolgenden zwei Abbildungen.


-
Schlieben Sie das Gerät hermetisch dicht an den Schornstein an.
-
Prüfen Sie den Zug in dem Schornstein und Abdichtung des Anschlusses an dem Abgasabfuhrkanal, indem Sie ein kleines intensives Probefeuer mit Zeitungspapier und trockenem,)dunnem Holz machen.

Warten Sie bei neuem Mauerwerk, bis diesen vollständig getrocknet ist.
- Bei Außenluftanschluss: Schlieben Sie die Außenluftzufuhr an dem Anschlussatz an, den Sie an dem Gerät befestigt haben.
Bau des Kamins
In dem Kamin stellen Sie einen Konvektionsraum her. In diesen Raum kann sich die Luft frei bewegen. Für die Verbrennung muss Luft angesaugt werden, und die vom Einbauofen erwärmte Luft (die Konvektionsluft) muss frei in den zu heizenden Raum strömen können; vgl. die nachfolgende Abbildung.

A Konvektionsluftstrom
B Wärmestrahlung
C Luftanfuhr aus dem zu heizenden Raum
D Außenluftanfuhr durch die Wand
E Außenluftanfuhr durch den Fußboden
^ Befolgen Sie beim Bau des Kamins die folgenden Vorschriften für den Konvektionsraum:
Die Oberseite des Konvektionsraums muss mit einer Abschlussplatte aus hitzebestandigem und
nicht brennbarem Material luftdicht abgeschlossen sein.
Die Abschlussplatte muss absoluten liegen und mindestens 30 cm unter der Abgasöffnung in der Decke platziert sein.
Fur die Zufuhr der Umgebungsluft mussen sich ag der Unterseite des Kamins Lufteinslassroste befinden. Eine Lufteinlassoffnung muss mindestens eine Flache von 250katen. Wenn der Raum nicht ausreichend beluftet ist, mussen Sie mithilfe des mitgelieferten Außenluftanschlusssets oder eines optionalen Luftklappensets mit Regelknopf fur die Anfuhr von Außenluft sorgen.
An der Oberseite des Kamins, direkt unter der Abschlussplatte, müssen Luftauslassroste platziert sein. Eine Luftauslassöffnung muss mindestens eine Fläche von 500^2 kuben.

Die Einlass- und Auslassroste sind optional erhältlich.

Verwenden Sie in dem Konvektionsraum kein brennbares Material, und verhindern Sie bei Verwendung wärmeleitfähiger Materialien die Bildung von Wärmebrücken.
Befolgen Sie beim Bau des Kamins die nachfolgende Anleitung:
- Mauern Sie den Fuß des Ofens, und bauen Sie theses Mauerwerk die Luftteinlassroste ein.

Sie konnen die Luftinlassroste an allen Seiten des Füssen platzieren.

Sorgen Sie damit, dass die Tur des Ofens frei über die Aufstellfläche des Ofens schwingen kann.
- Mauern Sie den Kamin weiter auf bis zum Rauchfang.

Sorgen Sie darüber, dass zwischen dem Einbauofen und dem Mauerwerk immer 2 mm Spiel blieben, um die Wärmeausdehnung des Einbauofens aufzufangen.
- Nach Wunsch können Sie die Innenseite des Konvektionsraums mit reflektierend Isoliermaterial auskleiden.

Eine zusätzliche Auskleidung des Konvektionsraums verhindert eine unnötige Wärmbstrahlung an Außenwände und/oder benachbarte Räume. Auch wird dadurch die Beschädigung der Hohlmauerisolierung verhindert.
Mauern Sie den Kamin weiter auf bis zur Rauchgasöffnung in der Decke.

Der EinbauofenarfndttagdasMauerwerk tragen.VerwendenseineStutz,wie etwa einTrageisen.LassenSiezwischenderStutz und demGeratmindestens3mm Spiel.
- Schlieben Sie den Konvektionsraum mit der Abschlussplatte ab.
- Platzieren Sie die Luftauslassroste unter der Abschlussplatte.
- Stellen Sie oberhalb der Abschlussplatte eine Öffnung her, um eventuellen Druckaufbau zu verhindern.
Die nachfolgende Abbildung zeigt ein Beispiel für die Platzierung eines Einbauofens in einem Kamin, der gemäß den oben angegebenen Anleitungen und Vorschriften gebaut wurde.


A Schornstein
B Abschlussstück
C Abdeckplatte
D Isolierung 10 cm
E Nicht brennbare Mauer mind. 10 cm (z. B. Porenbeton)
F Brennbare Mauer
G Konvektionsraum
H Nicht brennbare Decke
I Brennbare Decke
J Auslass Konvektionsluft
K Isolierung
L Nicht brennbarer Boden
M Brennbarer Boden
N Öffnung zur Verhinderung von Druckaufbau
O Anschlussrohr
Ausführung
- Setzen Sie alle abmontierten Teile wieder an ihrem korrekten Platz in das Gerät ein.
- Sorgen Sie davon, dass der neu gebaute Kamin vollständig trocken ist, bevor Sie mit dem Heizen beginnen.
Lassen Sie das Gerät nicht ohne feuerfeste Innenplatten brennen.
Das Gerät ist jetzt gebrauchs fertig.
Inbetriebnahme
Erste Inbetriebnahme
Wenn Sie das Gerät zum ersten Mal in Betrieb führen, lassen Sie es eine Stunden durchheizen. Dadurch härte der hitzebestandige Lack aus. Hierbe kann es zu Rauch- und Geruchsbildung kommt. Öffnen Sie dann eventuell in dem Raum, in dem das Gerät aufgestellt ist, Fenster und Türen.
Brennstoff
Dieses Gerät ist ausschließlich zum Verbrennen von Naturholz geeignet, das gesagt und gespalten sowie ausreichend getrocknet ist.
Verwenden Sie keine anderen Brennstoffe; diese konnen dem Gerät ernsthafte Schäden zufugen.
Die folgenden Brennstoffe dürfen nicht verwendet werden, da sie die Umwelt verschmutzen und da sie Gerät und Schornstein stark verunreinigen, was zu einem Schornsteinbrand führen kann:
Behandeltes Holz, wie etwa Holz mit Beschichtungen, gefarbtes Holz, imprägniertes Holz, konserviertes Holz, Multiplex und Spanplatten.
Kunststoff, Altpapier und Haushaltsabfälle.
Holz
- Verwenden Sie vorzugsweise hartes Laubholz, wie etwa Eiche, Buche, Birke oder Obstbaumholz. Dieses Holz brennt langsam bei ruhiger Flamme. Nadelholz enthalt mehr Harz, brennt schneller und erzeugt mehr Funken.
- Verwenden Sie getrocknetes Holz mit maximal 20% Feuchtigkeitsanteil. Hierzu muss das Holz mindestens zwei Jahre lang getrocknet werden.
Sagen Sie das Holz auf Maß und spalten Sie es, solange es noch frisch ist. Frisches Holz lassst sich leichter spalten, und gaspaltenes Holz trocknet better. Bewahren Sie das Holz unter einer Abdeckung auf, in der sich der Wind frei bewegen kann. - Verwenden Sie kein nasses Holz. Nasses Holz spendset keine Wärme, da die gesamte Energie für das Verdampfen der Feuchtigkeit verwendet wird. Dabei entsteht viel Rauch und es kommt zu Rußablagerungen an der Gerätetur und im Schornstein. Der Wasserdampf kondensiert im Gerät und kann aus dem Gerät austreten und zu schwarzen Flecken auf dem Fußboden führen. Der Wasserdampf kann auch im Schornstein kondensieren und zur Entstehung von Carbolineum bei beitragen. Diese Stoff ist leicht brennbar und kann zu einem Schornsteinbrand führen.
Anzünden
Sie konnen überprüfen, ob der Schornstein über ausreichenden Zug verfügt, indem Sie oberhalb der Flammplatte ein Knäuel Zeitungspapier anzünden. Ein kalter Schornstein verfügt oft über unzureichenden Zug, wodurch Rauch in das Zimmer gelangen kann. Wenn Sie das Gerät wie hier beschrieben anzünden, vermeiden Sie these Problem.
- Stapeln Sie zwei Lagen mittelgroßer Holzstücke kreuzweise übereinander.
- Stapeln Sie auf den Holzstücken zwei Lagen Anzündehölzchen kreuzweise übereinander.
- Legen Sie den Anzünderblock zwischen die unterste Lage von Anzündehölzchen, und zünden Sie den Anzünderblock gemäß der Anleitung auf der Verpackung an.

- Schlieben Sie die Tur des Gerats, und öffnen Sie den primären Luftteinlass sowie den sekundären Luftteinlass des Gerats; vgl. die nachfolgende Abbildung.
- Lassen Sie das Anzündfeuer durchbrennen, bis ein gluhendes Holzkohlebett entstanden ist. Anschließlich konnen Sie das Gerät erneut full und regeln, vgl. das Kapitel "Heizen mit Holz".

$$ \circ = \text {O f f e n} \bullet = \text {G e s c h l o s s e n} $$
Heizen mit Holz
Nachdem Sie die Anleitungen zum Anzünden befolggt haben:
- Öffnen Sie langsam die Tur des Geräts.
- Verteilen Sie das Holzkohlebett gleichmäßig über den Heizboden.
- Stapeln Sie eineitive Holzstücke auf dem Holzkohlebett auf.

Lose Stapelung
Bei einer losen Stapelung verbrennt das Holz schnell, da der Sauerstoff jeder Holzstück einfach erreichen kann. Stapeln Sie das Holz lose, wenn Sie kurz heizen möchten.

Kompakte Stapelung

Bei einer kompakten Stapelung verbrennt das Holz langsamer, da der Sauerstoff zunachst nur einzeln Holzstücke erreichen kann. Stapeln Sie das Holz kompakt, wenn Sie länger heizen möchten.
- Schlieben Sie die Tur des Geräts.
- Schließen Sie den primären Luftteinlass, und halten Sie den sekundären Luftteinlass offen stehen.

Füllen Sie das Gerät maximal zu einem Drittel.
Regelung der Verbrennungsluft
Das Gerät verfügt über verschiedene Einrichtungen für die Luftregelung (vgl. die Abbildung).

Die primäre Luftklappe regelt die Luft unter dem (1).
Die sekundäre Luftklappe regelt die Luft vor dem G (Air-Wash) (2).
Die Rückwand verfügt unter der Flammenplatte über permanente Luftöffnungen (3), die für die Nachverbrennung sorgen.
Hinweise

Heizen Sie das Gerät regelmäßig gut durch.
Wenn Sie lange mit niedriger Flamme heizen,
konnen sich im Schornstein Ablagerungen von
Teer und Carbolineum (Steinkohlenteer) bilden
These Stoffe sind leicht brennbar. Wenn die
Ablagerungen dieser Stoffe zu sehr
anwachen, kann durch eine plötzliche Temperatursteigerung ein Schornsteinbrand entstehen. Wenn Sie regelmäß gut durchheizen, verschwinden eventuelle Teerund Carbolineum-Ablagerungen.
Darüber hinaus kann sich beim Heizen auf zu geringer Stufe Teer auf der Scheibe der Gerätetur absetzen.
Bei milden Außentemperaturen ist es davon besser, das Gerät einige Stunden lang intensiv durchbrennen zu halten, als es längerere Zeit auf niedrigem Stand zu betreiben.
Regeln Sie die Luftzufuhr mit dem sekundären Luftteinlass.

Der sekundäre Luftteinlass beluftet nicht nur das Feuer, sondern auch das Glas und schützt es so vor Schneller Verschmutzung.
- Öffnen Sie den primären Luftteinlass rechtzeitig, wenn die Luftzufuhr über den sekundären Luftteinlass nicht ausreicht, oder wenn Sie das Feuer neu entfachen möchten.
Das regelmäßige Nachfüllen kleiner Mengen von Holzstücken ist better, als viel Holz auf einmal zu befüllen.
Löschen des Feuers
Füllen Sie keinen Brennstoff nach, und setzen Sie den Ofen normal ausgehen. Wenn ein Feuer durch Verminderung der Luftzufuhr gedämpft wird, werden eschädliche Stoffe freigesetzt. Lassen Sie das Feuer davoniber selbstständig herunterbrennen. Achten Sie auf das Feuer, bis es vollständig erloschen ist. Wenn dies der Fall ist, können alle Luftkluppen geschlossen werden.
Entaschen
Nach dem Verbrennen von Holz bleibt eine relativ geringe Menge Asche zurück. Dieses Aschebett ist einGreater Isolator fur den Heizboden und sorgt fur eine gute Verbrennung. Sie konnen dazu ruhig eine dulle Schicht Asche auf dem Heizboden liegen halten.
Die Luftzufuhr durch den Heizbodenarf jedoch nicht behindert werden,und hinter der gusseisernen Innenplattearf sich nicht zuviel Asche ansammeln. Entfernen Sie daher regelmäßig die angesammelte Asche.
- Öffnen Sie die Tur des Geräts.
- Klappen Sie die Entaschungsöffnung (C) auf; vgl. die nachfolgende Abbildung.

- Schieben Sie die angesammelte Asche mit der mitgelieferten Zugschaufel in die Aschenlade (A).
- Entfernen Sie die Aschenlade mithilfe der "kalten Hand" (B), und leeren Sie sie aus.
- Setzen Sie die Aschenlade wieder in das Gerät, und entfern den Sie die "kalte Hand".
- Schlieben Sie die Tür des Geräts.
Nebel
Nebel behind the Abfuhr von Abgasen durch den Schornstein. Rauch kann sich niederschlagen und zu Geruchsbelastigung führen. Bei Nebel sollens Sie daher nicht mit dem Gerät heizen, wenn dies nicht unbedingt erforderlich ist.
Eventuelle Probleme
Lesen Sie die Anlage "Diagnoseschema", um Die feuerfesten Innenplatten sind Verbrauchsteile, die eventuell bei der Verwendung des Geräts aufttendem Verschleib unterliegen. Überprüfen Sie die Probleme zu losen. Innenplatten regelmäßig, und tauschen Sie sie bei Bedarf aus.
Wartung
Befolgen Sie die Wartungsanleitungen in dieser Kapitel, um ihr Gerät in einem eigenen Zustand zu halten.
Schornstein
In vielen Ländern sind Sie gesetzlich dazu verpflichtet, den Schornstein regelmäßig kontrollieren und warten zu halten.
Zu Beginn der Heizperiode: Lassen Sie den Schornstein von einem anerkannten Schornsteinfeger reinigen/fegen.
Während der Heizperiode und wenn der Schornstein für langere Zeit nicht verwendet wurde: Lassen Sie den Schornstein auf Ruß entsprechenden.
Nach der Heizperiode: Schlieben Sie den Schornstein mit einem Knäuel Zeitungspapier ab.
Reinigung und andere Wartungsarbeiten

Reinigen Sie das Gerät nicht, so lange es noch warm ist.
Reinigen Sie die Außenseite des Geräts mit einem trockenen und fusselfreien Tuch.
Nach Ablauf der Heizperiode konnen Sie die Innenseite des Gerats reinigen:
Entfernen Sie eventuell zuerst die feuerfesten Innenplatten. Vgl. das Kapitel "Installation" für Anleitungen zum Entfernen und Anbringen von Innenplatten.
Reinigen Sie eventuell die Luftzuführkanä.
Entfernen Sie die Flammplatte oben in dem Gerät und reinigen Sie sie.
Kontrolle der feuerfesten Innenplatten
Die feuerfesten Innenplatten sind Verbrauchsteile, die dem Verschleiß unterliegen. Überprüfen Sie die Innenplatten regelmäßig, und tauschen Sie sie bei Bedarf aus.
Vgl. das Kapitel "Installation" für Anleitungen zum Entfernen und Anbringen von Innenplatten.

Die isolierenden Vermiculit-Innenplatten konnen Haarrisse aufweisen, dies hat aber
keine nachteiligen Auswirkungen auf ihre Funktion.

Gusseiserne Innenplatten halten lange, wenn Sie regelmäßig die Asche entfernen, die sich dahinter ansammelt. Wenn angesammelte Asche hinter einer gusseisernen Platte nicht entfernt wird, kann die Platte keine Wärme mehr an die Umgebung abgeben und sich anschließlich verformen oder reifen.

Lassen Sie das Gerät nicht ohne feuerfeste Innenplatten brennen.
Glas reinigen
Gut gereinigtes Glas nimmt weniger schnell neuen Schmutz auf. Gehen Sie folgendermaßen vor:
- Entfernen Sie Staub und loseN Rost mit einem trockenen Tuch.
- Reinigen Sie das Glas mit einem Ofenscheibenreiniger:
a. Tragen Sie Ofenscheibenreiniger auf einen Kuchenschwamm auf, wischen Sie die gesamte Glasoberfläche damit ab und{lassen Sie den Reiniger einwirken.
b. Entfernen Sie den Schmutz mit einem feuchten Tuch oder mit Kuchenpapier.
- Reinigen Sie das Glas dann noch einmal mit einem normalen Glasreinigungsdprodukt.
-
Wischen Sie das Glas mit einem trockenen Tuchbeheben, den Sie bei ihrem Lieferanten erhalten oder mit Kuchenpapier ab.
Kleine Lackschaden konnen Sie mit hitzebestandigem Speziallack aus der Spruhdose beheben, den Sie bei Ihrlem Lieferanten erhalten. -
Verwenden Sie keine scheuernden oder scharfen Produkte zur Reinigung des Glases.
▶ Verwenden Sie zum Schutz ihrer Höhe geeignete Haushaltshandschuhe.

Wenn das Glas des Geräts gebrochen oder gesprungen ist, muss these Glas ausgetauscht werden, bevor das Gerät erneut in Betrieb genommen wird.

Achten Sie darauf, dass kein Ofenscheibenreiniger zwischen das Glas und die gusseiserne Tur lauft.
Anmerkung: Sie können beim Modell 2180CBGD die Tur um 60^ nach vorn kippen, um das Innenglas der Lifttur zu erreichen. Drehen Sie mit einem
Schraubendreher (A) die zwei Schraubeniben in der Tur nach links; vgl. die nachfolgende Abbildung.

Schmieren
Obwohl Gusseisen eigentlich "selbstschmierend" ist, müssen bewegliche Teile noch regelmäßig geschmiert werden.
Schmieren Sie die beweglichen Teile (wie etwa Leitungssysteme, Scharnierfedern, Riegel und Luftklappen) mit einem hitzebeständigen Fett (erhaltlich im Fachhandel).
Finish erneern
Abdichtung kontrollieren
Prufen Sie, ob die Abdichtungsschnur der Tur noch gut schließt. Diese unterliegt dem Verschleiß und te meissrechtzeitig ausgetauscht werden.
Überprüfen Sie das Gerät auf Luftlecks. Verschreiben Sie eventuelle Risse mit Ofenkitt.
Lassen Sie den Kitt gut aushäten, bevor Sie das Gerät in Betrieb nehmen, andernfalls dehnt sich die Feuchtigkeit darin auf und führt erneut zu einem Leck.
Panorama-Lifttür des Modells 2180CBGD
Das Modell 2180CBGD verfügbar über eine flache Panorama-Lifttür. Das hierfür erforderliche Führungssystem ist abmontierbar, und Sie konnen die Position der Lifttür einstellen.
Abmontieren des Führungssystems
Befolgen Sie zum Abmontieren die nachfolgend aufgeführten Schritte.
- Verriegeln Sie die Tur, indem Sie die beiden Verschlüsse oberhalb der Tur nach außen drehen; vgl. die nachfolgende Abbildung.

- Drehen Sie die zwei Schrauben offen in der Tur nach links; vgl. die nachfolgende Abbildung. Die Tur kippt jetzt nach vorn.

- Entfernen Sie die Front (mit Tur und Führungssystem) des Oberteils, indem Sie die
Schauben links und rechts oben entfernen; vgl. die nachfolgende Abbildung.

- Schrauben Sie die Front von dem Gerät ab. Entfernen Sie zuerst die beiden unteren Schrauben; vgl. die nachfolgende Abbildung.

- Entfernen Sie anschließend die beiden oberen Schrauben. Drücken Sie mit ihrem Körper die Front gegen das Gerät; vgl. die nachfolgende Abbildung.

- Schließen Sie jetzt vorsichtig die nach vorn gekippte Tur; vgl. die nachfolgende Abbildung.

- Verriegeln Sie die Tür; vgl. die nachfolgende Abbildung.

- Halten Sie die Unterseite der Front und der Türfest an das Führungssystem; vgl. die nachfolgende Abbildung.

- Ziehen Sie jetzt die Front und die Tur an der Unterseite nach vorn; vgl. die nachfolgende Abbildung.

- Kippen Sie das Ganze aus dem Gerät; vgl. die nachfolgende Abbildung.

- Das Führungssystem ist jetzt frei zugänglich; vgl. die nachfolgende Abbildung.

Anmerkung: Gehen Sie bei der Montage des Führungssystem in der umgekehrten Reihenfolge vor.
Anpassen der Schliebung der Lifttur
Die Position der Tur im Hinblick auf die Front kann angepasst werden. Das Führungssystem muss frei zugänglich sein. Entfern den Sie die Abdeckprofile oder den eventuell montierten Rahmen.
- Drehen Sie den Bolzen an der Seite los, und stellen Sie die Tur ein, indem Sie sie an die Front drücken. Drehen Sie den Bolzen wieder fest; vgl. die nachfolgende Abbildung.


- Drücken Sie die Tur an die Unterseite der Front, so dass das Führungsrad gerade an den Schließbügel reicht; vgl. die nachfolgende Abbildung.

- Passen Sie, falls erforderlich, die Position des Schließbügels an, indem Sie die drei Befestigungsschrauben losdrehen und den Schließbügel verschiben. Drehen Sie die Schrauben wieder fest; vgl. die nachfolgende Abbildung.
Anlage 1: Technische Daten
| Serie 2180CB | |
| Nominalleistung 15 kW | |
| Schornsteinanschluss (Durchmesser) 200 mm | |
| Gewicht +/- 190 kg | |
| Gewicht Modell 2180CBGD 230 kg | |
| Empfohlener Brennstoff Holz | |
| Kennzeichen Brennstoff, max. Länge 50 cm | |
| Massenfluss von Abgasen 13,6 g/s | |
| Temperaturanstieg, gemessen im Messabschnitt | 268 K |
| Temperatur, gemessen am Ausgang des Geräts | 326 °C |
| Mindestzug | 12 Pa |
| CO-Emission (13 %2D) | 0,10 % |
| NOx-Emission (13 %2D) | 97 mg/Nm3 |
| CnHm-Emission (13 %2D) | 96 mg/Nm3 |
| Staubemission | 22 mg/Nm3 |
| Wirkungsgrad | 76 % |
Anlage 2: Abmessungen
2180CBS und 2180CBC

2180CBBS


2180CBGD
Anlage 3: Abstand zu brennbarem Material
Serie 2180CB - Minimaler Belüftungsraum außerhalb des Strahlungsbereichs

Serie 2180CB - Abmessungen der feuerfesten Bodenplatte in Zentimeter

Mindestabmesserungen feuerfeste Bodenplatte
$$ V > H + 3 0 > 6 0 $$
$$ S > H + 2 0 > 4 0 $$

0920015047
Anlage 4: Diagnoseschema
| Problem | |||||
| ● | Holz brennt nicht durch | ||||
| ● | Liefert nicht ausreichend Wärme | ||||
| ● | Rauchrückschlag beim Nachfüllen | ||||
| ● | Gerät brennt zu stark, nicht gut regelbar | ||||
| Flammensanschlag an das Glas | |||||
| Mögliche Ursache Mögliche Lösung | |||||
| ● | ● | ● | ● Nicht ausreichender Zug | Ein kalter Schornstein führt zu unzureichendem Zug. Folgen Sie der Anleitung zum Anzünden im Kapitel "Verwendung"; öffnen Sie ein Fenster. | |
| ● | ● | ● | ● Holz zu feucht Verwenden Sie nur Holz mit max. 20 %Feuchtigkeit. | ||
| ● | ● | ● | ● Holzstücke zu groß | Verwendten Sie keine Anzündeholzstücke. Verwendten Sie gespaltenes Holz mit maximal 30 cm Stückgröße. | |
| ● | ● | ● | ● | ● Holz nicht korrekt gestapelt | Stapeln Sie das Holz so, dass zwischen den Blöcken ausreichend Luft zirkulleren kann (lose Stapelung, vgl. "Heizen mit Holz"). |
| ● | ● | ● | ● Schornstein Funktioniert nicht korrekt | Überprüfen Sie, ob der Schornstein den Bedingungen entspricht: mindestens 4 m hoch, richtiger Durchmesser, eine gute Isolierung, glatte Innenflächen, nicht zu weitere Biegungen, keine Hindernisse im Schornstein (etwa Vogelnest, Rußablagerungen), hermetische Dichtigkeit (keine Spalten). | |
| ● | ● | ● | ● Mündungsöffnung des Schornsteins nicht korrekt | Ausreichende Höhe über der Dachfläche, keine Hindernisse in der Höhe. | |
| ● | ● | ● | ● | ● Einstellung der Luftinlassöffnungen nicht korrekt | Öffnen Sie die Luftinlassöffnungen vollständig |
| ● | ● | ● | ● Anschlussdes Geräts am Schornstein nicht korrekt | Der Anschluss mushermetisch dicht sein. | |
| ● | ● | ● | ● Unterdruckin dem Raum, in dem das Gerät aufgestellt ist | Schalten Sie Luftabzugssysteme aus. | |
| ● | ● | ● | ● Unzureichende Frischluftzufahr | Sorgen Sie für ausreichende Luftzufahr, verwenden Sie nötigenfalls einen Außenluftanschluss. | |
| ● | ● | ● | ● Ungünstige Wetter-umstände? Inversionswetterlage (umgekehrter Luftstrom im Schornstein durch hohe Außentemperatur), extreme Windgeschwindigkeiten | Bei Inversionswetterlagen sollen den Sie das Gerät nicht verwenden. Setzen Sie, falls erforderlich, eine Zugklappe auf den Schornstein. Dies ist nur nach Rücksprache mit dem Schornsteinfeger möglich. | |
| ● | Zug im Wohnzimmer | Vermeiden Sie Zug im Wohnzimmer; stellen Sie das Gerät nicht in der Höhe einer Tur oder von Heizungsschäften auf. | |||
| ● Flammen schlagen an das Glas | Vermeiden Sie es, das Holz zu dicht an das Glas zu legen. Schieber Sie den primären Luftinlass wieder zu. | ||||
| ● | Überprüfen Sie die Abdichtungen der Tür und die Fugen des Geräts. | ||||
Index
A
Abdichtungsschnur der Tur.18
Abgas
Massenfluss.23
Abgastemperatur.23
Abmessungen 24.
Abschlussplatte
Konvektionsraum.12
Achtung
Ventilation 5
Versicherungsbedingungen 4
Anschluss
Abmessungen. 24
Anschluss an Außenluftzufuhr.11
Anschlussstück.9
Anstecken.14
Anzündeholz.28.
Anzündfeuer 14
Asche entfernen 16
Aufstellen
Abmessungen. 24
Außenluftzufuhr 5,11
Anschluss an. 12
B
Belüftung des Feuers. 16
Böden
Brandsicherheit 6
Tragvermögen 6
Brandsicherheit
Abstand zu brenbarem Material 27
Boden 6
Möbel 6
Wande. 6
Brandstoff
fullen 16
Brennbares Material
Abstand zu 27
Brennstoff
benöttige Menge. 17
nachfullen 16
ungeeigneter. 14
Brennstoffe
geeignete. 14
C
Carbolineum 16
E
Einstellen
Klappe 8
Schliebung der Lifttur 21
Entaschen.16.
Entfermen
Asche 16
F
Fegen des Schornsteins 17
Feuer
anzünden 14
Gerat brennt zu heftig 28
Gerat nicht gut regelbar 28
loschen 16
nicht ausreichende Wärme 28
Feuerfeste Innenplatten
Warning 14
Wartung.17
Finish, Pflege 18
Flammplatte 8
abmontieren 8
Führungssystem
abmontieren 19
Füllhöhe des Gerats..16
G
Geeignete Brennstoffe. 14
Gegengewicht 23
deblockieren 7
Gewicht 23
Glas
Anschlag 28
reinigen 18
H
Haube auf dem Schornstein. 5
Heizen 15
Brennstoff nachfullen 15-16
unzureichende Wärme 17
Holz. 14
aufbewahren 14
brennt nicht durch 28
geeignete Sorte 14
nass.14
trocknen 14
Holzstücke stapeln.15
K
Kamin
Bau 12
Klappe
einstellen 8
Konvektionsraum
Abschlussplatte 12
Bau.12
Vorschriften 12
L
Lack 14
Lagerung von Holz.14
Lifttur.7 anpassen.21
einstellen 21
Führungssystem.19.
Gegengewicht 7
Luftauslassrost
Anforderungen 13
Platzierung 13
Lufteinlasse 15
Lufteinlassrost
Anforderungen 13
Platzierung 13
Luftleck 18
Luftzufuhr regeln. 16
M
Mauern
Brandsicherheit 6
N
Nachfullen von Brennstoff 16
Rauchruckslag 28
Nadelholz 14
Nasses Holz. 14
Nebel, nicht heizen 17
Nominale Leistung. 17
Nominalleistung 23
0
Ofenscheibenreiniger 18
P
Primärer Lufteinlass. 15
Probleme Iosen 17,28
R
Rauch bei erster Inbetriebnahme. 14
Rauchruckschlag 4,28
Reinigen Gerat 17 Glas. 18
Risse im Gerät 18
s
Scheiben Anschlag 28 reinigen 18
Schmieren 18
Schmierfett 18
Schornstein Anschluss an 12 Anschlussdurchmesser 23 Bedingungen 4 Hohe 5 Wartung 17
Schornsteinbrand vermeiden 16
Schornsteinhaube 5
Sekundärer Lufteinlass. 15
Staubemission 23
T
Teer 16
Temperaturanstieg Messabschnitt 23
Teppich 6
Tragvermögen des Bodens 6
Trocknen von Holz 14
Tur Abdichtungsschnur. 18 U
Ungeeigneter Brennstoff 14
V
Ventilation 5
Außenluftzufuhr anschließen 11
Fausstregel.5
Ventilationsgitter.5
Verbrennungsluftregelung
Luftregelung.16
Verlöschen des Feuers.16
W
Wande
Brandsicherheit 6
Wärme, unzureichende..17..28.
Warnung
brennbare Materialien.4
feuerfeste Innenplatten.14
Glas gebrochen oder gesprungen.4..18
heiBe Oberflache.4
Ofenscheibenreiniger 18
Schornsteinbrand 4,14,16
Ventilation 4
Vorschriften 4
Wartung
Abdichtung 18
Feuerfeste Innenplatten. 17
Gerat reinigen 17
Glas reinigen. 18
Schmieren 18
Schornstein. 17
Wetterbedingungen, nicht heizen 17
Wirkungsgrad 23
Z
Zug 23
Índice
Introduccion 3
EinfachAnleitung