HCH3100ACS - Hotte HAIER - Notice d'utilisation et mode d'emploi gratuit
Retrouvez gratuitement la notice de l'appareil HCH3100ACS HAIER au format PDF.
| Caractéristiques techniques | Hotte décorative, moteur puissant, éclairage LED intégré |
|---|---|
| Dimensions | Largeur : 60 cm, Profondeur : 50 cm, Hauteur : 90 cm |
| Débit d'air | Jusqu'à 600 m³/h |
| Niveaux de puissance | 3 niveaux de puissance |
| Filtre | Filtre à graisse en aluminium, lavable au lave-vaisselle |
| Utilisation | Contrôle par boutons, facile à utiliser |
| Maintenance | Nettoyage régulier du filtre, remplacement recommandé tous les 6 mois |
| Sécurité | Protection contre la surchauffe, conforme aux normes de sécurité |
| Informations générales | Garantie de 2 ans, service après-vente disponible |
FOIRE AUX QUESTIONS - HCH3100ACS HAIER
Questions des utilisateurs sur HCH3100ACS HAIER
0 question sur cet appareil. Repondez a celles que vous connaissez ou posez la votre.
Poser une nouvelle question sur cet appareil
Téléchargez la notice de votre Hotte au format PDF gratuitement ! Retrouvez votre notice HCH3100ACS - HAIER et reprennez votre appareil électronique en main. Sur cette page sont publiés tous les documents nécessaires à l'utilisation de votre appareil HCH3100ACS de la marque HAIER.
MODE D'EMPLOI HCH3100ACS HAIER
Hotte de cuisinière à montage mural de 24", 30" et 36"
Outils et pieces 26
Exigences d'emplacement 27
Exigences concernant I'evacuation 27
Specifications electriques 29
INSTRUCTIONS D'INSTALLATION 30
Etape 1-Deballage de la hotte. 30
Étape 2 - Installation des vis de montage 30
Etape 3 - Installation de la bride de cache-conduit 31
Étape 4 - Achèvement de la préparation 31
Étape 5 - Installation de la hotte 32
Étape 6 - Raccordement du circuit d'évacuation (Installation sans décharge à l'extérieur [recyclage]) 33
Étape 7 - Raccordement électrique 34
Étape 8 - Installation des cache-conduits 35
Étape 9 - Fin de l'installation 35
UTILISATION DE LA HOTTE 36
Commandes de la hotte de cuisineire 36
ENTRETIEN DE LA HOTTE 37
Nettoyage 37
DEPANNAGE 41
GARANTIE LIMITÉE 42
DOCUMENTSÀCONSERVER
Mercid'avoiracheteceproductHaier.
Ce manuel d'utilisation vous aidera à Broker la meilleure performance possible de votre nouvelle hotte.
Pour reférence ultérieure, inscrite le numero de plaque signalétique situé à l'intérieur de la hotte, et la date d'achat.
Pour facilitier l'obtention d'un service sous garantie, agrafer la preuve de la date d'achat à ce manuel.
Numero de modulo
Numéro de série
Datedachat
Votre sécurité et celle des autres est très importante.
Nous donnons de nombreux messages de sécurité importants dans ce manuel et sur votre apparéil menager. Assurez-vous de tousiers lire tous les messages de sécurité et de vous y conformer.

Voici le symbole d'alerte de sécurité.
Ce symbole d'alerte de sécurité vous signale les dangers potentiels de décès et de blessures graves à vous et à autres. Tous les messages de sécurité suivront le symbole d'alerte de sécurité et le mot "DANGER", "AVERTISSEMENT" ou "ATTENTION".
Ces mots signifient :
DANGER
AVERAGE
Une situation de danger imminent. Vous courez le risque d'un décès ou de blessures graves si vous ne suivez pas immédiatement les instructions.
ATTENTION
Une situation potentielle dangereuse qui, si vous ne I'evitez pas, peut provoquer la mort ou des blessures graves.
Une situation potentiellement dangereuse qui, si vous ne I'evitez pas, peut entrainer des blessures legères à moderées.
Tous les messages de sécurité vous diront quel est le danger potentiel et comment réduire le risque de blessure et ce qui peut se produit en cas de non-respect des instructions.
IMPORTANT INSTRUCTIONS DE SECURITÉ
AVERTISSEMENT: Afin de réduire le risque d'incendie, de chic électrique, de blessures corporelles ou de dommage lors de l'utilisation de la hotte, il convient d'observer certaines précautions fondamentales, notamment:
- Cet apparéil est concu unquèment à des fins d'usage domestique familial normal.
- Avant d'entrepreneure un travail d'entretien ou de nettoyage, interrompree l'alimentation de la hotte au niveau du tableau de disjoncteurs, et verrouiller le tableau de disjoncteurs pour empêcher tout rétablissement accidentel de l'alimentation du circuit. Lorsqu'il n'est pas possible de verrouiller le tableau de disjoncteurs, placer sur le tableau de disjoncteurs une étiquette d'avertissement bien en évidence interdisant le rétablissement de l'alimentation.
- Tout travail d'installation ou câblage électrique doit être réalisé par une personne qualifiée, dans le respect des prescriptions de tous les codes et normes applicables, y compris les codes duBATIMENT et de protection contre les incendies.
-
Ne pas faire fonctionner un ventilateur dont le cordon ou la fiche est endommagé(e). Jeter le ventilateur ou le returner à un centre de service autorisé pour examen et/ou réparation.
-
Une source d'air de début suffisant est nécessaire pour le fonctionnement correct de tout apparéil à gaz (combustion et évacuation des gaz à combustion par la cheminée), pour qu'il n'y ait pas de reflux des gaz de combustion. Respecter les directives du fabricant de l'équipement de chauffage et les prescriptions des normes de sécurité – comme celles publiées par la National Fire Protection Association (NFPA) et l'American Society for Heating, Refrigeration and Air Conditioning Engineers (ASHRAE), et les prescriptions des autorités réglementaires locales.
Lors d'opérations de découpage et de perçage dans un mur ou un plafond, veiller à ne pas endommager les cablages électriques ou canalisations qui peuvent s'y trouver. - Les ventilateurs d'évacuation doivent toujours décharger l'air à l'extérieur.
- Cet apparéil est concu unquèment pour la ventilation générale. Ne pas l'utiliser pour l'extraction de matières ou vapeurs dangereuses ou explosives.
IMPORTANT INSTRUCTIONS DE SECURITÉ
Pour minimiser le risque d'incendie et evacuer adequatement les gaz, veiller à acheminer l'air aspiré par un conduit jusqu'à l'extérieur – ne pas décharger l'air aspiré dans un espace vide du bathtub comme une cavité murale, un plafond, un grenier, un vide sanitaire ou un garage.
Pour réduire le risque d'incendie, utiliser uniquement des conduits métalliques.
Pour réduire le risque d'incendie ou de chocolélectrique, ne pas utiliser ce ventilateur avec unquelconque dispositif de réglage de la vitesse à semiconducteurs.
- Essuyer les renversements immédiatement.
- Ne pas laisser du papier d'aluminium, du plastique, du papier ou un chiffon entre en contact avec une surface chaude.
- Ne pas laisser les ustensiles sur le feu jusqu'à ce que le liquide qu'ils contiennent s'évapore.
- Toujours avoir un détecteur de fumée en état de marche après la cuisine.
Utiliser des mitaines de four humides ou trempees pour manipuler des ustensiles de cuisson chauds peut entraîner des brûlures dues à la vapeur. Ne pas laisser la mitaine de four entrer en contact avec les éléments chauffants lorsqu'ils sont chauds. Ne pas utiliser de chiffon ou tout autre tissu embarrant.
AVERTISSEMENT:POUR MINIMISER LE RISQUE D'UN FEU DE GRAISSE SUR LA CUISINIÈRE :
- Ne jamais laisser un élément de surface fonctionner à puissance de chauffage maximale sans surveillance. Un renversement/ débordement de matièreGRAISSSEUSE pourrait provoquer une inflammation et la génération de fumée. Utiliser une puissance de chauffage moyenne ou basse pour le chauffage d'huile.
Veiller à toutes faire fonctionner le ventilateur de la hotte lors de la cuisson avec une puissance de chauffage elevée ou lors de la cuisson d'un mets à flamber (à savoir crépes Suzette, cerise jubilée, steak au poivre flambe).
Nettoyer fréquemment les ventilateurs d'extraction. Veiller à ne pas laisser laGRAISSÉ S'ACCUMULER SUR LES SURFACES DU VENTILATEUR OU DES Filtres.
Utiliser toujours un ustensile de taille appropriée. Utiliser toujours un ustensile adapté à la taille de l' éléments chauffant.
IMPORTANT INSTRUCTIONS DE SECURITÉ
AVERTISSEMENT:POUR RÉDUIRE LE RISQUE DE DOMMAGES CORPORELS APRès LE DÉCLENCHEMENT D'UN FEU DE GRAISSE SUR LA CUISINIÈRE, APPLIQUE RÉS-COMMANATIONS SUIVANTES :
- Placer sur le recipient un couvercle bien ajusté, une tôle à biscuits ou un plateau métallique POUR ÉTOUFFER LES FLAMMES, puis éteindre le brûleur. VEILLER À EVITER LES BRULURES. Si les flammes ne s'éteignent pas immédiatement, EVACUER LA PIECE ET APPELER LES POMPIERS.
-
NE JAMAIS PRENDRE EN MAIN UN RÉCIPIENT ENFLAMME - vous risquez de vous brûler.
-
NE PAS UTILISER D'EAU, ni un torchon humide - ceci pourrait provoquer une explosion de vapeur brûlante.
Utiliser un extincteur SEULEMENT si: -
Il s'agit d'un extincteur de classe ABC, dont on connait le fonctionnement.
- Il s'agit d'un petit feu encore limite à l'endroit où il s'est déclaré.
- Les pompiers ont été contactés.
- Il est possible de garder le dos orienté vers une sortiependant l'opération de lutte contre le feu.
aRecommendations tirées des conseils de sécurité en cas d'incendie de cuisine publiés par la NFPA.
LIRE ET CONSERVER CES INSTRUCTIONS
EXIGENCES D'INSTALLATION
OUTILS ET PIECES
Rassembler les outils et pieces nécessaires avant d'entrepreneire l'installation. Lire et observer les instructions fournies avec chacun des outils de la liste ci-dessous.
Outils nécessaires
- Niveau
Perceuse avec des forets de 114 , 1/8 et 5/16
Crayon
Pince à dénuder ou couteau utilise - Metre-ruban ou règle
- Prince
-
Pistol à calfeutrage
-
Composé de calfeutrage résistant aux interpérières
- Brides de conduit
Scie sauteuse ou scie a guichet - Tournevis à lame plate
Cisaille de ferblantier - Tournevis Phillips
- Ensemble de clés hexagonales (système métrique)
Pour les installations sans décharge à l'extérieur (recyclage), il faudra aussi :
- Conduit d'évacuation métallique circulaire de 6" (15,2 cm) de diamètre longueur nécessaire déterminée par la hauteur de plafond.
Pièces fournies
Retirer les pièces de leur emballage. Vérifier que toutes les pieces sont presents.
Cordon d'alimentation 120 V (avec fiche à 3 broches)
Auvent de hotte (avec ventilateur, raccord de transition, ampoule et partie en verre de la hotte [installés])
Filtre a graisse metallique
- Bride de support du cache-conduit
- Cache-conduit-deux pieces
- Vis de 4 x 8 mm (4)
- Vis de montage de 5 × 45 mm (6)
- Chevilles d'ancrage mural de 8 x 40 mm (2)
- Chevilles d'ancrage mural de 10 x 50 mm (4)
EXIGENCES D'EMPLACEMENT
IMPORTANT : Observer les dispositions de tous les codes et règlements en vigueur.
Confier l'installation de la hotte à un technicien qualifie. C'est à l'installateur qu'incombe la responsabilité de respecter les distances de séparation spécifiées sur la plaque signalétique de l'appareil. La plaque signalétique de l'appareil est située derrière le filtré de gauche, sur la paroi arrière de la hotte.
On doit toujours installer la hotte à distance des sources de courant d'air (fenêtres, portes et bouches de chauffage).
On doit disposer d'une prise de courant électrique reliée à la terre. Voir la section "Spcifications électriques".
INSTALLATION DANS UNE RÉSIDENCE MOBILE
L'installation de cette hotte doit satisfaire aux exigences de la norme Manufactured Home Construction Safety Standards, Titre 24 CFR, partie 328 (anciennement Federal Standard for Mobile Home Construction and Safety, titre 24, HUD, partie 280); lorsque cette norme n'est pas applicable, l'installation doit satisfaire aux critères de la plus récente édition de la norme Manufactured Home Installation 1982 (Manufactured Home Sites, Communities and Setups) ANSI A225.1/NFPA 501A, ou des codes locaux.
Les codes locaux en bâtiment peuvent imposer l'emploi d'un circuit de renouvellement de l'air/introduction d'air d'appoint, lors de l'utilisation d'un circuit d'aspiration de débit supérieur à une valeur spécifique en pieds cubes par minute (CFM). Le débit spécifique en pieds cubes par minute varie d'une juridiction à l'autre.
Consulter un professionnel des installations de chauffage ventilation/climatisation au sujet des exigences spécifique applicables dans la juridiction locale.
Ventilation générale
Cette hotte est conque pour decharge a travers le toit ou a travers le mur. Pour la sortie a travers un mur, on doit employer un raccord coude a 90^
- Le circuit d'évacuation doit décharger l'air à l'extérieur, excepté pour les installations sans décharge à l'extérieur (recyclage).
- Ne pas terminer le circuit d'évacuation dans un grenier ou dans un autre espace clos.
- S'il n'est pas possible d'évacuer les fumées et vapeurs de cuisson à l'extérieur, la hotte peut alors être utilisée pour installation sans décharge à l'extérieur (recyclage) à l'aide d'un déflecteur d'air et d'un filtré à charbon. Il est possible d'acheter un ensemble de recyclage.
Utiliser un conduit en métal ou en aluminium seulement. Un conduit en métal rigide est recommendé. Ne pas utiliser de conduit en plastique ou en aluminium. - La longueur du circuit d'évacuation et le nombre de coudes doivent être réduits autant que possible pour un rendement optimal.
REMARQUE: Un raccord coudé à 90^ doit être installé immédiatement au-dessus de la hotte.
Evacuation à travers le toit :

A
Bouche de décharge sur toit
B
Conduit rond de 6" (15,2 cm)
Evacuation a travers le mur :

A
Bouche de décharge murale
B
Conduit rond de 6" (15,2 cm)
Installation sans décharge à l'extérieur (recyclage):

A
Deflecteur
B
Conduit rond de 6" (15,2 cm)
SPÉCIFICATIONS ÉLECTRIQUES
Observer les dispositions de tous les codes et règlements en vigueur.
Vérifier que l'installation électrique a été correctement effectuee et qu'elle est conforme aux specifications de la plus recente edition des normes National Electrical Code, ANSI/NFPA 70, ou de la norme CSA C22.1-94, Code canadien de I'electricite, partie 1 et C22.2 N° 0-M91 (derniere edition) et de tous les codes et reglements en vigueur locaux.
Si les codes le permettent et si on utilise un conducteur distinct de liaison à la terre, il est recommandé qu'un électricien qualifié vérifie la qualité de la liaison à la terre.
Pour obtenir un exemplaire des normes ci-dessus, contacter :
Il est important de s'assurer que les raccordements électriques sont corrects.
MÉTHODE RECOMMANDÉE DE LIAISON À LA TERRE
L'appareil doit être alimenté par un circuit de 120 V, CA seulement, 60 Hz, 15 A, protégé par fusible. Utiliser une prise de courant dont l'alimentation ne peut pas être interrompue par un interrupteur. Ne pas utiliser de rallonge.
REMARQUE: Avant le nettoyage ou le retrait d'une ampoule, éteindre la hotte, puis la déconnecter de la source de courant électrique. Lorsque l'on a terminé, reconnectcer la hotte à la source de courant électrique.
AVERAGEMENT

Risque de chocolélectrique
Déconnecter la source de courant électrique avant d'installer l'appareil. Le non-respect de cette instruction peut causeur un décès, un incendie ou un choc électrique.
Déconnecter la source de courant électrique avant d'installer la hotte.
ÉTAPE 1 - DÉBALLAGE DE LA HOTTE
- Choiser une surface plane pour assembler la hotte, puis la protégger en la couvrant.
AVERTISSEMENT
Risque du poids excessif
Utiliser deux personnes ou plus pour déplacer et installer la hotte.
Le non-respect de cette instruction peut cause une blessure au dos ou d'autres blessures.
- À l'aide de deux personnes ou plus, soulever la hotte et la poser sur la surface couverte.
ÉTAPE 2 - INSTALLATION DES VIS DE MONTAGE
- Determininer et marquer la position de l'axe central sur le mur où la hotte sera installée.
- Sélectionner une hauteur de montage comprise entre un minimum de 24" (61,0 cm) pour une surface de cuisson électrique, un minimum de 30" (76 cm) pour une surface de cuisson au gaz et un maximum suggéré de 36" (91,4 cm) entre le dessus de la cusinière et le bas de la hotte. Marquer la ligne de repérage sur le mur.
- Marquer sur le mur le centre des attaches.
IMPORTANT: Toutes les vis doivent être visées dans du bois. Si l'on ne peut pas visser les vis dans du bois, des tasseaux supplémentaires pour accrochage mural seront peut-être nécessaires.
- Percer des avant-trous de 3 / 16 (4,8 mm) à tous les emplacements pour la pose des vis dans du bois.
- Installer les deux vis de montage de 5 × 45 mm . Laisser un espace de 1/4 (6,4 mm) entre le mur et l'arrière de la tête de vis pour faire glisser la hotte et laMETRE en place.

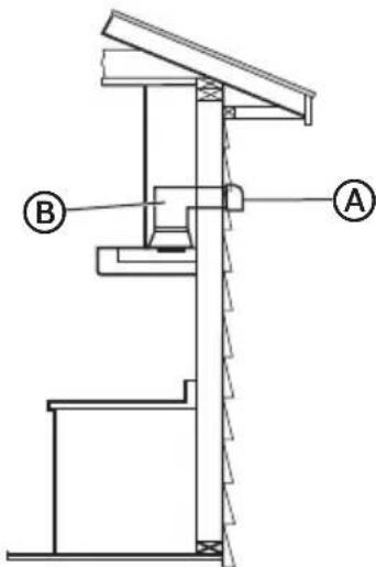
ÉTAPE 3 - INSTALLATION DE LA BRIDE DE CACHECONDUIT
- Retirer la bride de support du cache-conduit.

A Bride de support
B Vis
C Cache-conduit
- Fixer la bride du cache-conduit au mur en affleurement avec le plafond à l'aide de deux vis de 5 × 45 mm .

A Plafond
B Mur
C Axecentral
ÉTAPE 4 - ACHÉVEMENT DE LA PREPARATION
- Determininer la hauteur appropriée pour le cable d'alimentation du domicile et percer un trou de 1 14 (3,2 cm) à cet endroit.
- Acheminer le cable d'alimentation du domicile selon les prescriptions du Code national de l'électricité, des normes CSA et des codes et règlements locaux. Il faut que la longueur du conduit de 12 et des conducteurs soit suffisante depuis le tableau de distribution (avec fusibles ou disjoncteurs) pour réaliser le raccordement dans le boîtier de connexion de la hotte.
REMARQUE: Ne pasmettrelesysteme sous tensionavantd'avoir complètement terminel'st installation.
- Utiliser un calfeutrant pour assurer I'etanchete au niveau de chaque ouverture.
ÉTAPE 5 - INSTALLATION DE LA HOTTE
IMPORTANT:
- Si la hotte est installée au-dessus d'une cusinière déjà en place, s'assurer que la cusinière est alors éteinte et qu'elle a totalement refroidi avant de commencer l'installation.
- Ne pas enlever la pellicule en plastique de la hotte jusqu'à ce que l'installation soit terminée.
AVERAGEMENT
Risque du poids excessif
Utiliser deux personnes ou plus pour déplacer et installer la hotte.
Le non-respect de cette instruction peut cause une blessure au dos ou d'autres blessures.
AVERAGEMENT

Brancher sur une prise à 3 alveoles reliée à la terre.
Ne pas enlever la broche de liaison à la terre du cordon d'alimentation.
Ne pas utiliser un adaptateur.
Ne pas utiliser un cable de rallonge.
Le non-respect de cette instruction pourrait cause un décès, un incendie ou un choc électrique.
- Avant le montage, brancher la hotte dans une prise à 3 alveoles reliée à la terre afin d'en tester toutes les fonctions pour un fonctionnement ajustat.
Le ventilateur fonctionne a toutes les vitesses.
- Les lampes s'allument et s'eteignent.
- Les volets du clapet s'ouvrent lorsque le ventilateur est en marche.
- À l'aide de deux personnes ou plus, suspendre la hotte à deux vis de montage, à travers les encoches de montage à l'arrête de la hotte.

A
Vis de montage
B
Encoches demontage
- Oter le filtrre aGRAISE.Voir la section "Entretien de la hotte".
- Mettre la hotte de niveau et serrer les vis de montage supérieures.
- Installer deux vis de montage inférieures de 5 × 45 ~mm et serrer.
- Le conduit doit être place par-dessus le clapet d'évacuation.
- Utiliser des brides de conduit pour assurer I'etanchete de tous les raccords.
- Vérifier que les clapets anti-retour fonctionnent correctement.
ÉTAPE 6 - RACCORDEMENT DU CIRCUIT D'EVACUATION (INSTALLATION SANS DÉCHARGE À L'EXTÉRIEUR [RECYCLAGE])
IMPORTANT: Si le déflecteur d'air n'est pas installé correctement, l'air circulera librement à l'intérieur des cache-conduits au lieu d'être chassed par les ouvertures d'évacuation sur le côte du cache-conduit.
- À l'aide des quatre vis (fournies) de l'ensemble de recyclage, fixer le déflecteur d'air sur la bride du cache-conduit.
![HAIER HCH3100ACS - ÉTAPE 6 - RACCORDEMENT DU CIRCUIT D'EVACUATION (INSTALLATION SANS DÉCHARGE À L'EXTÉRIEUR [RECYCLAGE]) - 1](/content/2026/02/399211/images/64c454dff023a45ac304ed9161564d9d9bd3c54275cf1b309c8d5f6849124e58.jpg)
A
Vis d'assemblage
B
Deflecteur d'air
Bride de cache-conduit
- Mesurer la distance entre le bas du déflecteur d'air et le bas de la sortie de la hotte.
![HAIER HCH3100ACS - ÉTAPE 6 - RACCORDEMENT DU CIRCUIT D'EVACUATION (INSTALLATION SANS DÉCHARGE À L'EXTÉRIEUR [RECYCLAGE]) - 2](/content/2026/02/399211/images/7ebad4588a2cfb15c17a2c8960625da338e9b1f7ec7b2f8fdef13f3d2afebde9.jpg)
A Deflecteur d'air
B Bride de conduit
C X = longueur a laquelle couper le conduit d'evacuation
Conduit d'évacuation
E Sortie d'évacuation
- Tailler le conduit à la taille mesurée (X).
- Retirer le deflecteur d'air.
- Faire coulisser le conduit sur le bas du deflecteur d'air.
- Placer le déflecteur d'air et le conduit assemblés sur la sortie d'évacuation de la hotte.
- À l'aide des quatre vis retirees à l'étape 4, rattacher le déflecteur d'air sur la bride du cache-conduit.
- Assurer l'étanchéité des connexions avec une bride de conduit.
ÉTAPE 7 - RACCORDEMENT ÉLECTRIQUE
AVERAGEMENT

Brancher sur une prise à 3 alveoles reliée à la terre.
Ne pas enlever la broche de liaison à la terre du cordon d'alimentation.
Ne pas utiliser un adaptateur.
Ne pas utiliser un cable de rallonge.
Le non-respect de cette instruction pourrait cause un décès, un incendie ou un choc électrique.
- Brancher sur une prise à 3 alveoles reliée à la terre.
ÉTAPE 8 - INSTALLATION DES Cache-CONDUITS
REMARQUE: Retirer la pellicule blanche des cache-conduits au besoin avant assemblage et installation. Manipuler les cache-conduits delicatement pour éviter d'érafler le revêtement.
- En cas d'utilisation des sections supérieure et inférieure du cache-conduit, pousser la section inférieure vers le bas, sur la hotte et soulever la section supérieure vers le plafond pour installer les deux vis de 4 × 8 ~mm (fournies).
REMARQUE: Pour les installations avec décharge à l'extérieur, le cache-conduit supérieur peut être inversé pour dissimuler les fentes.

A 4× 8mm vis
B Fentes
Cacheconduit-section supérieure
Cache-conduit-section inférieure
- À l'aide de deux vis (fournies), fixer le fond du conduit à la hotte.
ÉTAPE 9 - FIN DE L'INSTALLATION
- Pour les installations sans décharge à l'extérieur (recyclage) uniquement, installer un filtré à charbon de chaque côte du ventilateur. Voir la section "Entretien de la hotte de cuisine".
- Installer les filtres àGRAISE METALLIQUES.Voir la section "Entretien de la hotte de cuisineire".
- Retirer toute pellicule restante des cache-conduits.
UTILISATION DE LA HOTTE
La hotte de cuisinière est conçue pour extraire fumée, vapeurs de cuisson et odeurs de la zone de la table de cuisson. Pour obtenir les有更好的 résultats,mettre le ventilateur de la hotte en marche avant d'entrepreneure une cuisson, et laisser le ventilateur fonctionner pendant plusieurs minutes après l'achèvement d'une cuisson pour pouvoir evacuer de la cuisine toute trace d'odeur de cuisson ou fumée.

A
Cache-conduit
E
Ampoule halogène
B
Tableau de commande
F
Loquet du filtré àGRAISSÉ
Partie en verre de la hotte
G
Filtre a graisse
D
Protège-ampoule
COMMANDES DE LA HOTTE DE CUISINIÈRE
Les commandes de la hotte sont situées à l'avant de celle-ci.

A
Marche ou arrêt de l'alimentation
B
Vitesse 1
Vitesse 2
D
Vitesse 3
E
Éclairage
FONCTIONNEMENT DE LA LAMPE
Le bouton d'éclairage contrôle les deux lampes. Appuyer une fois pour On (marche) et une deuxième fois pour Off (arrêt).
UTILISATION DU VENTILATEUR
Les boutons Blower Speed (vitesse du ventilateur) activent le ventilateur et contrôle la vitesse du ventilateur et le niveau sonore pour un fonctionnement silencieux. On peut modifier la vitesse à tout moment pendant le fonctionnement du ventilateur en appuyant sur le bouton de vitesse du ventilateur souhaité.
ENTRETIEN DE LA HOTTE
NETTOYAGE
A VERTISSEMENT

Déconnecter la source de courant électrique avant le nettoyage.
Le non-respect de cette instruction peut causeur un décès ou un chocolélectrique.
IMPORTANT: Nettoyer fraisment la hotte et les filtres à graisse en suivant les instructions suivantes. Réinstaller les filtres à graisse avant de faire fonctionner la hotte.
SURFACES EXTERNES :
Afin d'eviter d'endommager la surface externe, ne pas utiliser de tampons en laine d'acier ou de tampons à recycler savonneux.
Toujours essuyer pour éviter de laisser des marques d'eau.
Méthode de nettoyage:
- Detergent liquide et eau, ou produit de nettoyage polyvalent.
- Frotter avec un chiffon doux humide ou une éponge non abrasive, puis rincer avec de l'eau propre et essuyer.
FILTREÀGRAISSEMETALLIQUE
- Faire couilisser le dispositif de dégagement du filtre vers la gauche, puis tirer vers le bas pour dégager le filtre àGRAisse.

- Laver le filtré en métal selon le besoin, soit au lave-vaisselle, soit à l'aide d'une solution d'eau chaude et de nettoyant à vaisselle.
- Réinstaller le filtré àGRAISSÉ métallique.
FILTREÀ CHARBON
Le filtré à charbon devrait durer pendant 6 mois dans des conditions d'utilisation normales. Le filtré à charbon n'est pas lavable; il doit être remplaced par un filtré neuf.
REEMPLACEMENT DU FILTRÉ À CHARBON :
- Suivre les étapes précédentes pour-retirer le filtré àGRAISSÉ métallique de la hotte.
- Localiser les deux goujons sortant des parties supérieure et inférieure des entrées d'air, du côté droit et du côté gauche du ventilateur.

Entrée d'air du ventilateur - côté droit

Goujon en métal (infévrier)
boujon supérieur non
(astré)

Ventilateur
- Insérer un filtré à charbon sur l'entrée d'air du ventilateur, sur les côtés gauche et droit, puis faire légèrement pivoter chaque filtré jusqu'à ce que les crochets du filtré s'accrochant autour des goujons.
Entrée d'air du ventilateur - côte droit


Ventilateur

Crochets du filtré

Filtre à charbon

Goujons en métal
- Réinstaller le filtré àGRAISSÉMETTALlique.
Risque de chocolélectrique
Assurez-vous que le hotte et que les lumières sont froides et que le hotte est bien éteint avant de replacer les ampôules.
Les lentilles doivent être remises en place lorsque vous utilisez le hotte. Les lentilles seront a protégger l'ampoule pour qu'elle ne se casse pas.
Les lentilles sont en verre. Manipuez-les avec précaution pour éviter de les casser.
Le non-respect de cette instruction pourrait causeur un décès, un choc électrique, des coupures ou des brûlures.
Éteindre la lampe de la hotte et laisser l'ampoule refroidir. Pour éviter d'endommager ou de réduire la longévité de l'ampoule neue, ne pas toucher l'ampoule avec les doigts nus. Porter des gants en coton ou utiliser de l'essuie-tout lors du remplacement de l'ampoule.
Si l'ampoule neuve ne s'allume pas, vérifier d'abord qu'elle est bien insérée dans la douille avant de demander l'intervention d'un dépanneur.
- Déconnecter la source de courant électrique.
- Insérer un tournevis à lame plate, puis dégager le protège-ampoule avec précaution en boulevant.

A
Protège-ampoule
- Tirer delicatement sur l'ampoule pour la sortir de la douille.
- En évitant tout contact avec la peau, insérer une ampoule halogène neue de grosseur, de forme et de puissancesemblables dans la douille.

A
Ampoule
- Aligner les trois languettes du protège-ampoule sur les orifices dans l'ouverture, puis pousser pour enclencher.
- Rétablit l'alimentation électrique.
DéPANNAGE
Essayer d'abord les solutions suggerées ici pour éviter le coût d'un appel de service.
| Problème Cause | possible Solution | |
| La hotte ne fonctionne pas. | Alimentation électrique Brar | cher le cordon d'alimentation électrique dans la prise de courant. |
| Réenclencher le disjoncteur ou replacer le fusible. | ||
| Faible circulation d'air | Les filtres àGRAisse en aluminium sont obstrués. | Nettoyer et sécher les filtres, puis réassembler. |
| Les filtres àcharbon sont obstrués. | Remplacer les filtres àcharbon. | |
| Le moteur tourne mais l'air ne circule pas. | Le robinet àpapillon est coincé. | Faire un appel de service. |
| Après avoir tourné un moment, le moteur s'arrête. | La sécurité de température elevée est activée. | La cuisine n'est pas suffisamment aérée. |
| La hotte a été installée trop pres de la cusinière. | La hotte doit être installée à 24" (61 cm) minimum au-dessus d'une table de cuisson électrique et à 30" (76 cm) au-dessus d'une table de cuisson à gaz. | |
| Forte odeur de cuisson | Les filtres àcharbon ne sont pas installés. | En mode de recyclage, des filtres à charbon doivent être installés. |
| De l'huile goutte sur la cusinière | Réceptacle de graisse manquant ou pas installé. | Replacing le filtre en aluminium et replacing le réceptacle de graisse. |
| Filtre àGRAisse en aluminium saturé. | Laver les filtres àGRAisse en aluminium. | |
| Bruit de frottenements rhytmiques | Problème avec les pales du ventilateur | Faire un appel de service. |
POUR OBTENIR DE L'AIDE SUPPLEMENTaire, VISITER HAIERAMERICA.COM OU CONTACTER LA LIGNED'ASSISTANCE À LA CLIENTÉLE AU 1-877-337-3639.
GARANTIE LIMITÉE
SERVICEÀDOMICILE
GARANTIE COMPLÉTE DE DEUX ANS
Pendant 24 mois à compter de la date d'achat d'origine, Haier réparera ou remplacera gratuitement n'importe qu'elle piece (main-d'oeuvre comprise) compteant un defaulted de matériel ou de fabrication.
Haier peut avoir sa seule discrétion de remplaçer ou réparer des pieces, des sous-systèmes ou le produit tout entier.
Le produit doit être accessible, dégagé et installé correctement pour bénéficier du service de réparation sous garantie.
GARANTIE LIMITEE
REMARQUE: Cette garantie prend effet à la date à laquelle l'article a été acheté et le reçu de l'achat d'origine doit êtreprésenté au représentant de dépannage autorisé avant qu'une quelconque réparation sous garantie ne soit effectuee.
Exceptions: Garantie à usage commercial 90 jours sur la main-d'oeuvre à compter de la date d'achat d'origine
90 jours sur les pieces à compter de la date d'achat d'origine
Aucune autre garantie ne s'applique.
SERVICE AU TITRE DE LA GARANTIE
Contacter le centre de dépannage autorisé le plus proche. Tout dépannage doit être effectué par un centre de dépannage autorisé Haier. Pour le nom et le numéro de téléphone du centre de dépannage autorisé le plus proche de votre domicile, composer le 1-877-337-3639.
Avant d'appeler le centre, veuillez garder à disposition les renseignements suivants:
Numeros de plaque signalétique de l'appareil.
Le nom et l'adresse du revendeur auprès duquel vous avez acheté l'appareil, ainsi que la date d'achat.
Une description claire du problème rencontres. Une preuve d'achat (rece de vente).
Cette garantie est valable pour le service des apparêils domestiques aux États-Unis contigus et au Canada et lorsque le service est disponible, en Alaska, à Hanoi et Porto Rico.
Cette garantie ne couvre pas :
Le remplacement ou la réparation des fusibles, disjoncteurs, du câblage ou du circuit de plomberie du domicile.
Un produit dont le nombre de série d'origine a ete enleve ou modifie.
Tous frais de dépannage non identifiés comme étant normaux tel un dépannage dans une zone ou une tranche hora normale.
Remplacement des ampoules.
Vêtements endommages.
Les dommages liés à l'expédition.
Les dommages liés à une installation ou un entretien inadapté.
Les dommages causés par l'un des éléments suivants : Mauvaise utilisation, utilisation abusive, accident, incendie ou catastrophe naturelle.
Les dommages résultat d'un dépannage fourni par une entité autre qu'un revendeur ou centre de dépannage autorisé Haier.
Les dommages causés par un courant, une tension ou une alimentation électrique incorrects.
Les dommages résultat d'une quelconque modification ou alteration du produit ou d'un ajustement non autorisé par Haier.
Un ajustement des commandes utilisées par le consommateur tel qu'identifié dans le manuel de l'utilisateur.
Les tuyaux, boutons, plateaux à charpie et tout accessoire ou piece jetable.
Les frais de main-d'oeuvre, transport pour dépannage et d'expédition pour le retrait et le remplacement de pieces défectueuses au-delà de la période de 24 mois.
Les dommages liés à une utilisation autre qu'une utilisation domestique normale.
Tout frais de transport et d'expédition.
CETTE GARANTIE LIMITÉE REMPLACE TOUTE AUTRE GARANTIE EXPRESSE OU IMPLICITE, Y COMPRIS, MAIS PAS SEULEMENT, LES GARANTIES IMPLICITES, Y COMPRIS LES GARANTIES DE QUALITÉ MARCHANDE OU D'APTITUDE À UN USAGE PARTICULIER
Le recours offert dans cette garantie est exclusif et se substitue à toute autre garantie.
Cette garantie ne couvre pas les dommages fortuits ou indirects; aussi les limitations décrites ci-dessus peuvent ne pas s'appliquer à votre cas. Certains États ne permettent pas de limitation sur la durée d'une garantie implicite, aussi les limitations décrites ci-dessus peuvent ne pas s'appliquer à votre cas.
Cette garantie vous confere des droits juridiques specifiques. Vous pouvez également jour d'autres droits qui peuvent varier d'un Etat à l'autre.
Haier America
Wayne, NJ 07470
INDICE
- À l'aide de deux personnes ou plus, soulever la hotte et la poser sur la surface couverte.
PASO 2 - INSTALE LOS TORNILLOS DE MONTAJE
Ne pas Réexpédier ce Produit au Magasin
Pour tout problème concernant ce produit, veuilles contacter
le service des consommateurs "Haier Customer Satisfaction Center" au
1-877-337-3639.
PREUVE D'ACHAT DATED, NUMERO DE MODELE ET LE NUMERO DE SERIE
REQUIS POUR LE SERVICE DE GARANTIE
Notice Facile