HCH3100ACS - Capucha HAIER - Manual de uso y guía de instrucciones gratis
Encuentra gratis el manual del aparato HCH3100ACS HAIER en formato PDF.
Preguntas frecuentes - HCH3100ACS HAIER
Preguntas de los usuarios sobre HCH3100ACS HAIER
0 pregunta sobre este aparato. Responde a las que conoces o haz la tuya.
Hacer una nueva pregunta sobre este aparato
Descarga las instrucciones para tu Capucha en formato PDF gratis! Encuentra tus instrucciones HCH3100ACS - HAIER y toma tu dispositivo electrónico nuevamente en la mano. En esta página están publicados todos los documentos necesarios para el uso de su dispositivo. HCH3100ACS de la marca HAIER.
MANUAL DE USUARIO HCH3100ACS HAIER
Campana de cucina de montaje mural de 24", 30" y 36"

TABLE OF CONTENTS
RANGE HOOD SAFETY INSTRUCTIONS 2
INSTALLATION REQUIREMENTS 5
Risque de chocoléctrique
Risque de chocoléctrique
Risque de chocoléctrique
SEGURIDAD DE LA CAMPANA DE COCINA 44
REQUISITOS DE INSTALLACION 48
Herramientos y piezas 48
Requisitos deubicacion 49
Requisitos de ventilacion 49
Requisitos electricos 51
INSTRUCCIONES DE INSTALLACION 52
Paso 1 - Desempaque la campana de cucina 52
Paso 2 - Instale los tornillos de montaje 52
Paso 3 - Instale el soporte de la cubierta del ducto de escape. 53
Paso 4 - Finalizacion de la preparacion 53
Paso 5 - Instalación de la campana de cucina 54
Paso 6 - Conexión del sistema de ventilación (Instalación sin ducto de escape [con recirculación]) 55
Paso 7 - Conexión del suministro electrico 56
Paso 8 - Instale las cubiertas del ducto de escape 57
Paso 9 - Complete la instalacion 57
USO DE LA CAMPANA DE COCINA 58
Controles de la campana de cucina 58
CUIDADO DE LA CAMPANA DE COCINA 59
Limpieza 59
SOLUTION DE PROBLEMAS 63
GARANTÍA LIMITADA 64
INFORMACION A TENER EN CUENTA
Le agradecemos la compra de este producto demarca Haier. Estemanual para el usuario lo ayudara a Obtener el mejor funcionaamente de su nuova campana de cocina.
Para referencia futura, anote el número de modelos y de série en el interior de la campana de cucina, y la Fecha de compra.
Engrape la prueba de compra a este manual para asistirle cuando necesse obtener servicios bajo la garantía.
Numero de modelo
Numero de série
Fecha de compra
Su seguridad y la sécurité de los demas es muy importante.
Hemos incluido manyos mensajes importantes de seguridad en este manual y en su electrodomestico. Leay obedezca siempre todos los mensajes de seguridad.

Este es el的概率 de advertencia de seguidad.
Este símbolo le llama la atencion sobrepeligros potecuales que pueda ocasionar la muerte o una lesion austed y a los demas. Todos los mensajes de seguidar iran a continuacion del símbolo de advertencia de seguidad y de la palabra "PELIGRO", "ADVERTENCIA" o PRECAUCION".
Estaspalabras significan:
▲ PELIGRO
ADVERTENCIA
Se tratate de una situacion de peligro inminente. Si no sigue las instrucciones de inmediato,asteduepoedmoriroustruiruna lesiongrave.
PRECAUCION
Se tratate de una situación posiblemente peligrosa que, de no evitarse, podía causar la muerte o una lesión grave.
Se tratate de una situacion posiblemente peligrosa que, de no evitarse, podria causar lesiones moderadas o leves.
Todoos mensajes de seguidad le diran el peligro potencial,le diran como reducir las posibilidades de sufrir una lesion y lo que possible suceder si no se siguen las instrucciones.
INSTRUCCIONES IMPORTANTES DE SEGURIDAD
ADVERTENCIA: Para reducir el riesgo de incendio,CHOque electrico, lesiones a personas o daños al utiliser la campana de cocina, siga precauciones bássicas, incluyendo las siguientes:
- Este aparato está Diseñado exclusivamente para el uso dométrico normal de una familia.
- Antes de dar servicios o limpiar estaunidad, apague el suministro de energia en el panel de servicios, ybloquee los medios de desconexión del serviceo paraivorat que se encienda accidentalmente el suministro de energia. Cuando el medio de desconexión del serviceo no se pueda bloquear, sujete de manera segura un dispositivo de advertencia prominente, como una etiqueta, al panel de serviceo.
- El trabajo de instalación y cableado electrico se debeleara cabo por una persona(s) calificada(s), en conformidad con todos loscottigos yestandares aplicables, incluyendo construcciones clasificadas como resistentes al fuego.
-
No opere ningún ventilador queonga un cable o enchufedeñado. Deshágase delventilador o devuélvalo a uncentro de servicios专业技术orizarido para que seaexaminado y/o reparado.
-
Es Neededo que haya suficiente aire para la adequueda combustion y ventilacion de gases a工程技术 del equipo que consume combustible para evaporar que occurra contratiro. Siga la guia y los estandares de seguridad del fabricante del equipo de calefacion, como los publicados por National Fire Protection Association (NFPA) (Asociacion Nacional de proteccion contra incendios), American Society for Heating, Refrigeration and Air Conditioning Engineers (ASHRAE) (Sociedad americana de ingenieros de calefacion, refrigeracion y aire acondicionado) y las autoridades de@cuidos locales.
-
Cuando corte o taladre en una pared o techo, no Dane el cableado electrico nitherservicios Públicos.
- Los ventiladores conconductos siempre deben tener calidad al exterior.
- Para usarse solamente en ventilación común. No lo usa para ventilar materiales y vapeores peligrosos o explosivos.
INSTRUCCIONES IMPORTANTES DE SEGURIDAD
- Para reducir el riesgo de incendio y para ventilar el aire adecuadamente, asegúrese de dirigir el aire hacía el exterior; no ventile el aire de salute a espacios bajo de paredes o techos, desvanes, espacios angostos o garajes.
- Para reducir el riesgo de incendio, solo use conductos metalicos.
- A fin de reducir el riesgo de incendio o deCHOque electrico, no use este ventilador con ningún dispositivo semiconductor para el control de la velocidad.
- Limpie los derrames de inmediato.
- Nocede que el papel aluminio, plástico, papel o telas entrega en contacto con una superficie caliente.
No permita que las cacerolas hiervan en seco.
Siempreongaundetector dehumoenfunctionamento cerca de la cocina.
Las agarraderas para ollas humedes o mojadas en las superficies calientes peuvent occasionar quemaduras por vapor. No deje que la agarrdera para ollas toque los elementos calefactores calientes. No use una toalla nithers pacos voluminosos
ADVERTENCIA: PARA
REDUCIR EL RIESGO DE
INCENDIO PROVOCADO POR
GRASA EN LA SUPERFICIE DE LA
ESTUFA:
- Nunca deje las unidades de superficie sin vigilancia cuando estén en ajustes altos. Los derrames por hervor causan salpicaduras grasosas y humeantes, las cuales poder encenderse. Caliente los aceites lentamente y con ajustes bajo o medios.
Siempre ENCIENDA la campana cuando cocine con calor alto o cuando flamee alimentos (por exemple, crepes Suzette, cerezas Jubileo y flameado de carne de res con pimienta). - Limpie los ventiladores con fecuencia. No permita que se acumule la grasa en el ventilador o en el filtro.
- Utilice la cacerola del tameno adecuado. Siempre utilise la cacerola adecuada para el tameno del elemento de superficie.
INSTRUCCIONES IMPORTANTES DE SEGURIDAD
ADVERTENCIA:PARA EVITAR EL RIESGO DE DANOS A PERSONAS EN CASO DE FUEGO POR ALTO NIVEL DE GRASA, TENGAIN CUYNTALOSIGUIENTE.a
SOFOQUE LA LLAMA con una tapadora apropriada, una bandeja metallica o un utensilio de cocina que pueda cubrirla, despues, apague el quemador. ACTUE CON PRECAUCION PARA EVITAR QUEMADURAS. Si la llama no se extingue inmediamente SALGA Y LLAME A LOS BOMBEROS.
- NUNCA COJA UNA SARTEN EN LLAMAS, porque corre el riesgo de quemarse.
NO USE AGUA ni paños o toallas humidas porque pueda provocarse una violenta humareda.
- Use un extintor SOLAMENTE si:
- Posee un extintor de classe ABC y@sabe perfectamente como uso.
- El fuego es(PC)pequeño y está controlado en el mismo situ en que empezó.
- Ha llamado con anteridad a los bomberos.
- Puede combatir el fuego retrocediendo hacer laittersa.
aBasado en "Seguridad antifuego en la cocina" publicado por NFPA.
LEAY GUARDE ESTAS INSTRUCCIONES
REQUISITOS DE INSTALLACION
HERRAMIENTAS Y PIEZAS
Reúna las herramrientas y piezas你需要as antes de comenzar la instalación. Lea y siga las instrucciones provistas con cualesera de las herramrientas detalladas ahora.
Herramentas necessities
Nivel
- Taladro con brocas de 1 14 (3 cm), 1 18 (3,2 mm) y 5 116 (7,9 mm)
Lapliz
- Pelacables o cuchillo de uso general
Cinta de medir o regla
Pinzas
- Pistola para calafateo
- Masilla para calafateo a prUEba de agua
Abrazaderas para ducto
Sierra de vaivén o sierra caladora - Destornillador de hoja plana
- Tijeras de hojalatero
- Destornillador Phillips
- Juego de llaves hexagonales métricas
Para las instalaciones sin ducto de escape (con recirculación), también nécessitará:
- Ducto de ventilación redondo de metal de 6" (15,2 cm) de diametro - ellarge necessario está determinado por la alta del techo.
Piezas suministradas
Retire las piezas de los paquetes. Verifique que estén todas las piezas.
- Cable électrique de 120 V (con enchufe de 3 terminales)
- Ensamblaje del escudete para campana (con soplador, pieza de transmisión del ducto, bajo y escudete de vidrio [instalados])
- Filtro metálico para grasa
-
Soporte de la cubierta del ducto de ventilación
-
Cubierta del ducto de ventilación de dos piezas
- Tornillos de 4 × 8 (4)
- Tornillos de montaje de 5 × 45 ~mm (6)
Anclages de pared de 8× 40mm (2)
Anclages de parede 10× 50mm (4)
REQUISITOS DE UBICACION
IMPORTANT: Observe todos loscottos yordenanzas aplicables.
Haga que un的技术ico calificado instale la campana de cocina. Es la responsabilidad del instaladoroomplir con los espacios libres de instalacionspecificados en la placacindicadora de modelo/serie.Laplaciaindicadorademodelo/serieestubicada detrasdel filtrizquierdo,enla pared posteriorde la campana deventilacion.
Laubicacion de la campana con escudetedeferastelejosdezonascon corrientes fuertesdeaire,tales comoventanas,puertasu orificiosdecalefacionfuertes.
Se requiere un tomacorriente con connexion a tierra. Vea la seccion "Requisitos electricos".
PARALASTALACIONENCASASRODANTES
La instalación de esta campana de cocina debe ajustarse a los Manufactured Home Construction Safety Standards (Estándares de seguridad de construction de casas fabricadas), Titulo 24 CFR, Parte 328 (anteriormente conocidos como Federal Standard for Mobile Home Construction and Safety [Estándar federal para la sécurité y construcción de casas rodantes], Titulo 24, HUD Parte 280), o cuandoicho estándar no sea aplicable, el estándar Manufactured Home Installation (Estándar para instalación en casas fabricadas) de 1982 (Manufactured Home Sites, Communities and Setups [Obras, comunidades y proyectos de casas fabricadas]), ANSI A225.1/NFPA 501A, o laULTima edicion o con loscottigos locales.
REQUISITOS DE VENTILACION
Aire de complemento
Los@cuidos locales de construccion你能 requireir el uso de sistemas de aire de complemento, en el caso de que se usen sistemas de ventilacion con un movimiento de aire superior a los pies cubicos por minuto especialcados. Los pies cubicos por minuto especialcados varian de un lugar a除外.
Consulte con su profesional de Calefacion, Ventilacion y Aire Acondicionado (HVAC) para poder los requisitos de su localidad.
Ventilación en general
La campana de ventilación ha sido disnada para proportionscar ventilacion a trovés del techo o una pared lateral. Para colocar el ducto de escape a trovés de la pared, se necesita un dato de 90^
- El sistemas de ventilacion deben tener calidad al exterior, excepto para las instalaciones sin ducto de escape (con recirculacion).
- No dirija la calidad del sistemas de ventilacion hac a desván u othera cerrada.
- Sino es possible ventilar el humano de la cocción al exterior, la campana pueda usarse en las instalaciones sin ducto de escape (con recirculación); paraarlo, se debe colocar un desviador y un filtro de carbón. El juego de recirculación está disponible para la compra.
- Solo utilise un ducto de escape rígido de metal o aluminio. Se recomienda un ducto de escape rígido de metal. No se recomienda el uso de un ducto de escape de plástico u hoja metálica.
- El长大 del Sistema de ventilacion y el numero de codos se deben tener al minimum para proveer un funcionaamento eficaz.
NOTA: Se debe instalar un dato de 90^ juste arriba de la campana.
Ventilación a工程技术 del techo:

A Tapa del techo
Ducto de escape redondo de 6" (15,2 cm)
Ventilación a工程技术 de la pared:

A Tapaparamaped
Ducto de escape redondo de 6" (15,2 cm)
Sin ducto de escape (con recirculación):

A Desviador
B Ducto de escape redondo de 6" (15,2 cm)
REQUISITOS ELECTRICOS
Observe todos loscottos yordenanzas aplicables.
Asegúrese de que la instalación electrica sea adecuada y en conformidad con el National Electrical Code (Cólico Nacional Eléctrico), ANSI/NFPA 70 (ultimaedbion) o las normas de CSA C22.1-94, Canadian Electrical Code (Cólico canadiense de electricidad), Parte 1 y C22.2 N.°0-M91 (ultima edicion), y todos loscottigos yordenanzas locales.
Si loscottos lo permiten y se empiea un alambre de conexion a tierra分开o, se recomienda que un electricista calificado determine si la trayectoria de conexion a tierra es la adecuada.
Usted pueda Obtener una copia de las normas de los@c Rodrigos arribaindicadas en:
Es importante asegurarse de que cuenta con la connexión eletrica adecuada.
MÉTODO DE CONEXión A TIERRA RECOMENDADO
Se requiere suministro electrico de 120 Voltios, 60Hz , CA solamente y con fusibles de 15 amperios, debidamente connectado a tierra. Use un tomacorriente que no se pueda apagar con un interruptor. No use un cable electrico de extension.
NOTA: Antes de limpiar o quitar elazo, apague la campana de ventilacion y bajo,
desconectela de la fuente de energia electrica. Cuando termine, vuelva a conectar la
campana de ventilacion a la fuente de energia electrica.
ADVERTENCIA

Peligro de Choque Eléctrico
Desconecte el suministro de energia antes de instalar launidad.
No seguir estas instrucciones puede occasionar la muerte, incendio oCHOque electrico.
Desconecte el suministro de energia antes de instalar la campana de cocina.
PASO 1 - DESEMPAQUE LA CAMPANA DE COCINA
- Selezione una superficie plana para ensambar la campana de cucina y cubra la superficie.
ADVERTENCIA
Peligro de Peso Excesivo
No seguir esta instruccion可以使ocasionaruna lesion enla espalda u.
otro tipo de lesiones.
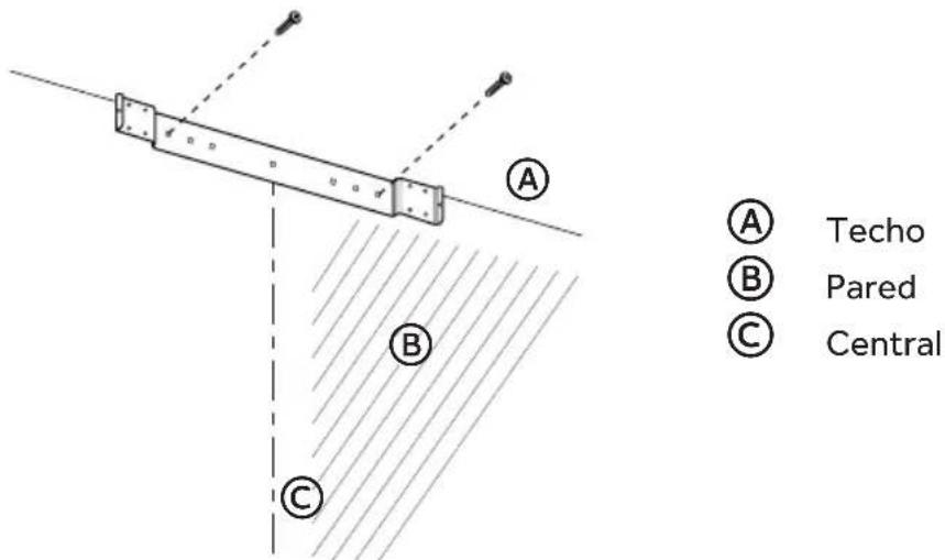
- Determine y marque la linea central en la pared en donde se instalará la campana con escudete.
- Seleccion unaaltitude de montaje entre un minimum de 24" (61 cm) para una superficie de cocción electrica, un minimum de 30" (76 cm) para una superficie de cocción a gas y un máximo sugerido de 36" (91,4 cm) por encima de la estufa hasta la base de la campana. Marque una linea de referencia en la pared.
- Marque los centros de lasubicacionesde losajustadores en la pared.
IMPORTANTE: Todos los tornillos deben instalarse en madera. Si no hay madera en la cuales instalarlos, se就需要 soportes adiconiales para el marco de pared.
- Taladre orificios piloto de 3/16 (4,8 mm) en todos los Lugares donde se colocarán los tornillos.
- Instale los dos tornillos de montaje de 5 × 45 mm . Deje un espacio de 1/4 (6,4 mm) entre la pared y la parte posterior de la cabeza del tornillo para deslizar la campana de cucina en su lugar.

PASO 3 - INSTALE EL SOPORTE DE LA CUBIERTA DEL DUCTO DE ESCAPE
- Quite el soporte de apoyo de la cubierta del ducto de escape.

- Sujete el soporte de la cubierta del ducto de ventilacion a la pared de modo que quede alineado al techo using dos tornillos de 5 × 45 ~mm .

PASO 4 - FINALIZACION DE LA PREPARACION
- Determine la alta nécessaria para el cable de suministro electrico de la casa y taladre un orificio de 1 14 (3,2 cm) en estaubicacion.
- Haga pagar el cable de suministro de energia de la casa según las normas del National Electrical Code (Cólico Nacional Eléctrico) o CSA (Asociación de Normalización Canadiense) y loscottigos yordenanzas locales. Debe haber suficiente conductor de 1 / 2 " y alambre de la caja de desconexión con fusible (o cortacircuitos) para hacer la connexion en la caja electrica de terminales de la campana.
NOTA: No reconnecte el suministro de energia hasta que se haya completado la instalación.
- Use masilla de calafateo para sellar todas las aberturas.
PASO 5 - INSTALLACION DE LA CAMPANA DE COCINA
IMPORTANT:
- Si la campana de cocina se instalara arriba de una estufa ya instalada, asegúrese de que dicha estufa está apagada y se haya enfiado por completeo antes de comenzar la instalación.
- No quite la película de plástico de la campana de cucina hasta ahora de completar la instalación.
ADVERTENCIA
Peligro de Peso Excesivo
Use dos o más personas para mover e instalar la campana de cocina.
No seguir esta instruccion可以使ocasionaruna lesion en la espalda u.
otro tipo de lesiones.
ADVERTENCIA

Peligro de Choque Eléctrico
Conecte a un contacto de pared de connexion a tierra de 3 terminales.
No quite el terminal de connexion a tierra del cable de alimentacion.
No use un adaptor.
No use un cable electrico de extension.
No seguir estas instrucciones puede occasionar la muerte, incendio oCHOque electrico.
-
Antes de instalar la campana de cocina, enchufela en un tomacorriente de 3 terminales con connexion a tierra para probar que todas las functions operan correctamente.
-
El soplador funciona a todas las velocidades.
Las luces se encienden y se apagan.
Las aletas de la compuerta se abren cuando el soplador está encendido. -
Con lawendung de dos o más personas,swithque la campana de cocina sobre dos tornillos de montaje a工程技术 de las ranuras de montaje que está sobre la parte posterior de la campana.

A Tornillos de montaje
B Ranuras demontaje
- Retire el filtro para grayscale. Veal a seccion "Cuidado de la campana de cocina".
- Nivele la campana de cucina y apriete los tornillos de montaje superiores.
- Instale dos tornillos de montaje inferiores de 5 × 45 ~mm y apiételos.
- Haga encajar el sistemas del ducto de escape sobre la calidad de escape.
- Selle todas las conexiones con las abrazaderas para ducto de escape.
- Verifique que las compuertas de contratrophonen adequ(adamente).
PASO 6 - CONEXION DEL SISTEMA DE VENTILACION (INSTALACION SIN DUCTO DE ESCAPE [CON RECIRCULACION])
IMPORTANTE: Si el desviador de aire no está correctamente instalado, el aire fluirá libremente dentro de las cubiertas del ducto de escape en lugar de que salga por los orificios de ventilación que se encontrartran del lado de la cubierta del ducto de escape.
- Con los cuatro tornillos (provistos) del Juego de recirculación, sujete el desviador de aire al soporte de la cubierta del ducto de escape.
![HAIER HCH3100ACS - PASO 6 - CONEXION DEL SISTEMA DE VENTILACION (INSTALACION SIN DUCTO DE ESCAPE [CON RECIRCULACION]) - 1](/content/2026/02/399211/images/f4024e351fd8220fcde782405ff0234cd092cb2b5d15ba096fb34025a4dbfa10.jpg)
A Tornillos de ensamblaje
B Desviador de aire
C Soporte de la cubierta del ducto
- Mida desde la parte inferior del desviador de aire hasta la parte inferior de la calidad de la campana.
![HAIER HCH3100ACS - PASO 6 - CONEXION DEL SISTEMA DE VENTILACION (INSTALACION SIN DUCTO DE ESCAPE [CON RECIRCULACION]) - 2](/content/2026/02/399211/images/4cc3fe6aeebe009e1c88ba54520cc56fb156ea18b7a5d0a619eece208b6ea3a9.jpg)
A Desviador de aire
B Abrazaderapara ducto
C X = longitudinal para cortar el ducto de ventilacion
Ducto de ventilacion
E Salida de escape
- Corte el ducto según el tamanño medido (X).
- Retire el desviador de aire.
- Deslice el ducto sobre la parte inferior del desviador de aire.
- Coloque el desviador de aire y el ducto ensamblados sobre la calidad de escape que viene de la campana.
- Con los cuatro tornillos que quito en el Paso 4, vuelva a sujetar el desviador de aire al soporte de la cubierta del ducto de escape.
- Selle las conexiones con las abrazaderas para ducto.
PASO 7 - CONEXION DEL SUMINISTRO ELECTRICO
ADVERTENCIA

Peligro de Choque Eléctrico
Conecte a un contacto de pared de connexion a tierra de 3 terminales.
No quite el terminal de conexión a tierra del cable de alimentación.
No use un adaptor.
No use un cable electrico de extension.
No seguir estas instrucciones puede occasionar la muerte, incendio oCHOque electrico.
- Enchufe en un tomacorriere de connexion a tierra de 3 terminales.
PASO 8 - INSTALE LAS CUBIERTAS DEL DUCTO DE ESCAPE
NOTA: Quite la película blanca de las cubiertas del ducto de escape, según fuera necesario, antes del montaje y la instalación. Manipule las cubiertas del ducto de escape con cuidado para estar rayar el acabado.
- Cuando use tanto la cubierta superior como inferior del ducto de escape, empujé la cubierta inferior hacía abajo, sobre la campana, y levante la cubierta superior hacía el techo e instálela con dos tornillos de 4 × 8 ~mm (provistos).
NOTA: Para las instalaciones con ventilacion, la cubierta superior del ducto de escape puede invertirse para ocultar las ranuras.

A 4× 8mm tornillo
B Ranuras
Cubierta superior del ducto de escape
Cubierta inferior del ducto de escape
- Con dos tornillos (provistos), sujete la base del ducto a la campana.
PASO 9 - COMPLETE LA INSTALLACION
- Solamente para las instalaciones sin ducto de escape (con recirculación), instale un bajo de carbón en cada lado del soplador. Vea la sección "Cuidado de la campana de cucina".
- Instale los filtros de grasa de metal. Vea la sección "Cuidado de la campana de cucina".
- Quite lapelliculasobrante del cubiertas del ducto de escape.
USO DE LA CAMPANA DE COCINA
La campana de cucina se ha disnado para sacar humano, vapeores provenrientes de la cocción y olores del aire de la superficie de coccción. Para Obtener miglioras resultados, encienda la campana antes de cocinar y permitita que funciona por 15 Minutes afterwards de haber cocinado, para que quite todo el humano y los olores de la cucina.

Cubiertadelducto
E Foco halógeno
B Panel de control
F Liberación del filtro para grayscale
Escudete de vidrio
G Filtro para grasa
Cubierta de la lámpara
CONTROLES DE LA CAMPANA DE COCINA
Los controles de la campana estan ubicados en el lado frontal del escodete.

A Encendido/apagado
B Velocidad 1
Velocidad 2
Velocidad 3
E Luz
CÓMOTILIZAR LA LUX
El botón de la luz controla ambas luces. Presione una vez para Encendido y nuevomente para Apagado.
CÓMOTILIZARELSOPLADOR
Los botones de velocidad del soplador encienden el soplador y controlan la velocidad y el nivel de sonido de este para un funciona silencioso. La velocidad se pueda(""); enequallesisternaselventiladoraestefunctionando, presionando el boton de la velocidad deseada del soplador.
CUIDADO DE LA CAMPANA DE COCINA
LIMPIEZA
ADVERTENCIA

Peligro deCHOQUEelctrico
Desconecte el suministro de energia antes de limpiarlo.
No seguir esta instruccionuede occasionar la muerte oCHOque electrico.
IMPORTANTE: Limpie con fecuencia la campana y los filtros para grata de acuerdo con las instrucciones a continuacion. Vuelva a colocar los filtros para grata antes deponer a funciona la campana.
SUPERFICIES EXTERIORES:
Para registrar daños a la superficie exterior, no use estropajos de acero ni jabonosos.
Siempre sequela con un paño paraatar manchas de agua.
Método delimpieza:
- Detergente liquido y agua o producto de limpieza general
- Limpiela con un paño suave humedo o una esponja no abrasiva, enjuáquela con agua limpia y sequela con un paño.
FILTRO METÁLICO PARA GRASA
- Deslice la liberacion del filtro hacia la izquierda y bajo jale hacia abajo para quitar el filtro de grasa.

- Lave el filtro de metal, según fuera Neededo, en la lavavajillas o con una solución de agua caliente y detergente para vajilla.
- Vuelva a colocar el filtro metalico para grayscale.
FILTRO DE CARBON
El filtro de carbón debe durar hasta 6 meses con un uso normal. El filtro de carbón no es lavable; se debe reemplazar por un nuevo filtro.
PARA REEMPLAZAR EL FILTRO DE CARBON:
- Siga los pasos anteriores para qutar el filtro de grasa de metal de la campana.
- Localice los dos piesarethos que se extienden desde la parte superior e inferior de las tomas de los ladosaretho e izquierdo del soplador.
Toma del soplador - lado correcho

A Clavija de metal (parte inferior) (no se muestra la clavija de la parte superior) B Soplador
- Coloque un filtro de carbón en la toma del soplador de los lados derecho o izquierdo y, luego, gire cada filtro levamente hasta que los ganchos del filtro envuelvan las clavijas.


Soplador

Filtro de carbón

Ganchos del filtró

Clavijas de metal
- Vuelva a colocar el filtro de grasa de metal.
CÓMOREEMPLAZAR UNALÁMPARA
ADVERTENCIA

Peligro deCHOque elcctrico
Asegúrese de que la campana de cucina y las lámparas está frías y la campana de la cucina se ha apagada antes de replazar la(s) bombilla(s).
Las lentes tienen que estar montadas cuando se usa el hora. Las lentes sirven para evaporar que se rompan las bombillas.
Las lentes son de vidrio. Manejelas con cuidado para evaporar que se rompan.
No seguir esta instruccionuede resultar en choques electricos, cortaduras, quemaduras o la muerte.
Apague la luz de la campana de cocina y espere a que se enfrie elazo. Para evitar dañar o acortar la vidautil del nuevo FOco, no lo toque con los dedos descubiertos. Use guantes de algodón o un pañuelo de papel cuando cambie elazo.
Si no se enciende el nuevo foco, primero verifique que está colocado correctamente en el portalámpara antes de llamar al servicios técnico.
- Desconecte el suministro de energia.
- Inserte un destornillador de hoja plana y suavamente levante la pantalla de luz.

A
Pantalla de Luz
- Quite cuidadosamente elazo quemado del portalampara.
- Evite el contacto con la piel, colque en el portalámpara unazo halógeno nuevo del本身就是 tameno, forma y vataje.

A
Foco
- Alinee las tres lengüetas de la pantalla de luz con los orificios de la abertura y empujé hacer arriba para que encaje en su lugar.
- Vuelva a conectar el suministro de energia.
SOLUTION DE PROBLEMAS
Prueve primero las soluciones sugeridas aquí para registrar posiblemente el costo de una visita de servicios专业技术o.
| Problema Posible causa Solución | |
| La campana no., funciona | Suministro electrico Enchufe el cable de alimentación en la fuente de energia. |
| Reajuste/Encienda el cortacircuitos o cambie el fusible. | |
| Flujo de aire deficiente | Los filtros de aluminio para grata está obstruidos. |
| Los filtros de carbún están obstruidos. | |
| El motor funciona, pero no hay flujo de aire. | La valvula de mariposa está atascada. |
| Después de., funcional por un rato, el motor se detiene. | Estaactivado el dispositivo de seguridad de alta temperature. |
| La campana está instalada做不到o cercada de la estufa. | |
| Fuerte olor de la., cocina | No se instalaron los filtros de carbón. |
| Gotea aceite sobre la estufa | La taza de aceite no está o no se instaló. |
| Filtro de aluminio para grata saturado. | |
| Sonido de runruneo | Problema con las aspas del ventilador. |
SINECESITA MÁS AYUDA, VISITE HAIERAMERICA.COM O COMUNÍQUESE CON LA LINEA DE AYUDA AL CONSUMIDOR LLAMANDO AL 1-877-337-3639.
SERVICIO EN EL HOGAR
GARANTÍA COMPLETA POR DOS ANOS
Durante 24 días a partir de la Fecha de compra original en la tienda, Haier reparar o reemplazarárialquier pieza del aparato sin costo, incluyendo la mano de obr, si la misma falla debido a defectos en los materiales o en la mano de obr.
NOTA:Esta garantía comienza en la Fecha de compra de este producto, y el recibo original deberá presentarse alrepresentante autorizzato de servicios antes de hacer las reparaciones bajo la garantía.
Excepciones: Garantía uso comercial
90 días en la mano deoba a partir de la Fecha de compra original
90 días en las piezas a partir de la Fecha de compra original
No es aplicable Ninguna或其他 garantía.
PARAOBTENER SERVICIOBAJOLA GARANTIA
Póngase en contacto con el centro de servicios autorizado más cercano a su localidad. Todo servicios deben ser realizado por un centro de servicios autorizzato por Haier. Para Obtener el nombre y el número de téléphone del centro de servicios autorizzato más cercano, llame al 1-877-337-3639.
Antes delamar,onga a mano la?sigue informantacion:
Número de modelo y de série del aparato. El nombre y la direccion del distribuidor en donde compró launidad y la Fecha de compra.
Una descripción clara del problema.
Un comprobante de compra (recibo de compra).
Esta garantía cubre servicios para electrodomesticos dentro de los Estados Unidos continental y Canadá y donde está disponible en Alaska, Hawaii y Puerto Rico. Lo que no está cubierto bajo esta garantía:
Reemplazo o reparacion de fusibles domesticos, cortacircuitos, cableado o plomeria.
Un producto cuiyo numero de series original haya sido Removed o alterado.
Cualquier cargo por servicios que no haya sido identificado asignamente como servicios normal, como pueda ser el area o las horas de service.
Reemplazo de los focos.
Danos alaropa.
Danos occuridos durante el transporte.
Danos occasionados por la instalacion o el mantenimiento inadequados.
Danos por el uso incorrecto, abuso, accidente, incendio, inundacion o fenomenos de la naturaleza.
Danos debidos al serviceo efectuado por un distribuidor o centro de serviceo que sea differente del autorizo por Haier.
Danos occasionados por la corriente, el voltaje o el suministro electrico incorrectos.
Danos que的结果,alteración oAJustes no autorizados por Haier.
Ajuste de los controlles manejados por el cliente según han sido identificados en el manual del propietario.
Mangueras, perillas, bandejas de pelusa y todos los otros aditentes, accesos y piezas desechables.
Cargos por mano deoba, transporte para el servicios y envio para la remocion y el reemplazo de las piezas defectuosas que se efectuen antes del periodo inicial de 24配送.
Danos occasionados por un uso diferente al dométrico normal.
Cualquier gasto de transporte y de envio.
ESTA GARANTIA LIMITADA REEMPLAZATODAS LAS OTRAS GARANTIAS,EXPRESAS O IMPLICITAS QUE INCLUYAN,ENTRE OTRAS,LAS GARANTIAS DECOMERCIABILIDAD O DE CAPACIDADPARA UN PROPENSITY EN PARTICULAR
Elrecurso provisto en esta garantia es exclusivo y está otorgado en lugar deequalquieroanother recurso.
Esta garantía no cubre daños incidentales o consecuales, de modo que las limitaciones indicadas anteriormente peuvent no aplicarse en su caso. Algunos Estados no permiten las limitaciones acerca de cuando tiempo dura una garantía implicita, de modo que las limitaciones arriba indicadas quizás no le correspondan.
Esta garantia le otorgaarethos legales
especificos, y es possible que ustedongaothers
derechos, los cuales varian de un estado a除外.
Haier America
Wayne, NJ 07470
IMPORTANT
Do Not Return This Product To The Store
No regrese este producto a la tienda
Si tiene algo problema con este producto, por favor contacte el
"Centro de Servicio al Consumidor de Haier" al
1-877-337-3639 (V馅ido solo en E.U.A).
NECESITA UNA PRUEBA DE COMPRA FECHADA, NUMERO DE MODELO
Y DE SERIE PARA EL SERVICIO DE LA GARANTIA
Made in China
Fabrique en Chine
Hecho en China
Haier
Haier America
Wayne,NJ07470
HCH2100ACS,HCH3100ACS
HCH6100ACS
ManualFácil