GFD49ERPKDG - Sèche-linge GE - Notice d'utilisation et mode d'emploi gratuit
Retrouvez gratuitement la notice de l'appareil GFD49ERPKDG GE au format PDF.
| Caractéristiques techniques | Sèche-linge à condensation avec pompe à chaleur |
|---|---|
| Capacité | 9 kg |
| Classe énergétique | A++ |
| Dimensions (HxLxP) | 85 x 60 x 65 cm |
| Poids | 50 kg |
| Programmes de séchage | Multi-programmes incluant délicat, coton, synthétique, etc. |
| Fonctionnalités supplémentaires | Départ différé, affichage du temps restant, filtre à peluches accessible |
| Utilisation | Facilité d'utilisation avec un panneau de contrôle intuitif |
| Maintenance | Nettoyage régulier du filtre et du réservoir d'eau |
| Sécurité | Système de protection contre la surchauffe, verrouillage enfant |
| Informations générales | Garantie de 2 ans, service après-vente disponible |
FOIRE AUX QUESTIONS - GFD49ERPKDG GE
Questions des utilisateurs sur GFD49ERPKDG GE
0 question sur cet appareil. Repondez a celles que vous connaissez ou posez la votre.
Poser une nouvelle question sur cet appareil
Téléchargez la notice de votre Sèche-linge au format PDF gratuitement ! Retrouvez votre notice GFD49ERPKDG - GE et reprennez votre appareil électronique en main. Sur cette page sont publiés tous les documents nécessaires à l'utilisation de votre appareil GFD49ERPKDG de la marque GE.
MODE D'EMPLOI GFD49ERPKDG GE
Panneau de contrôle 6
Pour démarrer 7
Chargement 11
Caractéristiques....12
ENTRETIEN ET NETTOYAGE...13
INSTRUCTIONS
D'INSTALLATION....14
Inversion de l'ouverture de la porte .... 33
Comment superposer la sécheuse à la laveuse .... 38
CONSEILS DE DÉPANNAGE... 4 2
SOUTIEN AU CONSOMMATEUR
Garantie 46
Soutien au consommateur ..... 4 8
Inscrivez ici les numéros de modèle et de série :
Modèle # ____
Série # ____
Ces informations figurent sur l'étiquette située à l'avant de la sécheuse, derrière la porte.
GUIDE DE
L'UTILISATEUR
ET INSTRUCTION
D'INSTALLATION
GFD49
GFD48
GFDR485
GFDR480
GHDS365
GHDS360
GFDR275
GFDR270
GFDS265
GFDS260
NOUS VOUS REMERCIONS D'ACCUEILLIR GE APPLIANCES CHEZ VOUS
Que vous ayez grandi avec GE Appliances ou qu'il s'agisse de votre première acquisition, nous sommes heureux de vous accueillir dans notre famille.
Nous sommes fiers du savoir-faire, de l'innovation et de l'esthétique qui composent chaque appareil GE Appliances, et nous pensons que vous le serez aussi. Dans cette optique, nous vous rappelons que l'enregistrement de votre électroménager vous assure la communication de renseignements importants sur le produit et la garantie lorsque vous en avez besoin.
Enregistrez votre électroménager GE en ligne dès maintenant. Des sites Web et des numéros de téléphone utiles figurent dans la section Soutien au consommateur de ce manuel d'utilisation. Vous pouvez aussi poster la fiche de garantie préimprimée incluse dans l'emballage.

GE APPLIANCES
CONSIGNES DE SÉCURITÉ IMPORTANTES.
LISEZ TOUTES LES INSTRUCTIONS AVANT D'UTILISER VOTRE APPAREIL.
INSTRUCTIONS DE SÉCURITÉ IMPORTANTES
AVERTISSEMENT
Pour réduire le risque d'incendie, d'explosion, de choc électrique ou de blessure aux personnes utilisant cet appareil, observez des précautions élémentaires dont les suivantes :
■ Lisez toutes les instructions avant d'utiliser l'appareil.
■ NE séchez PAS les articles qui ont été précédemment nettoyés, lavés, trempés, ou détachés à l'aide d'essence, de solvants de nettoyage à sec ou d'autres substances inflammables ou explosives, puisqu'ils peuvent émettre des vapeurs susceptibles de s'enflammer ou d'exploser.
■ NE placez PAS d'articles exposés aux huiles de cuisson dans la sécheuse. Les articles souillés par les huiles de cuisson peuvent faciliter des réactions chimiques susceptibles d'enflammer une brassée. Pour réduire le risque d'incendie en raison de charges contaminées, la dernière partie du cycle de sèche-linge se produit sans chaleur (période de refroidissement). Évitez d'arrêter une sécheuse avant la fin du cycle de séchage à moins que tous les articles soient rapidement enlevés et répartis de telle sorte que la chaleur est dissipée.
■ N'autorisez PAS les enfants à jouer sur ou dans cet appareil. Une surveillance étroite est requise lorsque des enfants se trouvent à proximité de l'appareil en fonctionnement.
■ Enlevez la porte de la sécheuse lorsque l'appareil est mis hors service ou au rebut.
■ NE vous penchez PAS dans l'appareil lorsque le tambour est en rotation.
■ N'installez PAS et ne rangez PAS cet appareil à un endroit exposé aux intempéries.
■ NE modifiez PAS les commandes.
■ NE réparez PAS cet appareil, en totalité ou en partie, en remplacez une quelconque pièce, à moins que cela ne soit expressément recommandé dans les instructions d'entretien ou de réparation destinées à l'utilisateur dont vous avez une compréhension et une compétence suffisantes pour les appliquer.
■ N'employez PAS de produits assouplissants NI d'agents antistatiques à moins que leur utilisation ne soit recommandée par leurs fabricants.
■ NE sécher PAS des articles qui contiennent du caoutchouc mousse ou des matières à texture caoutchouteuse similaire.
■ Nettoyez la charpie avant et après chaque brassée.
■ N'utilisez PAS la sécheuse sans que le filtre à charpie ne soit en place.
■ NE rangez PAS de matières combustibles, de l'essence ni d'autres liquides inflammables à proximité de la sécheuse. Gardez la zone autour de l'ouverture d'évacuation et tout l'espace adjacent libres de charpie, de poussière et de saletés.
■ L'intérieur de l'appareil et le tuyau d'évacuation doivent être nettoyés régulièrement par du personnel qualifié.
■ Débranchez l'appareil ou fermez le disjoncteur avant une réparation. Le fait d'appuyer sur le bouton Power (Alimentation) ou sur le bouton Start/Pause (Mise en marche/pause) NE coupe PAS l'alimentation électrique.
■ NE faites PAS fonctionner cet appareil s'il est endommagé, ne fonctionne pas correctement, est en partie démonté, ou encore si des pièces sont manquantes ou abîmées, y compris le cordon électrique ou sa fiche.
■ NE vaporisez AUCUN type d'aérosol dans, sur ou à proximité de la sécheuse, et ce en tout temps. N'utilisez AUCUN type de nettoyant en vaporisateur lorsque vous nettoyez l'intérieur de la sécheuse. Cela poserait un risque de vapeurs dangereuses ou de choc électrique.
■ Consultez la section « RENSEIGNEMENTS SUR LES RACCORDS ÉLECTRIQUES » des instructions d'installation pour connaître la procédure de mise à la terre.
CONSERVEZ CES INSTRUCTIONS
AVERTISSEMENTS SUPPLÉMENTAIRES CONCERNANT LES SÉCHEUSES À GAZ
! AVERTISSEMENT
- Risque d'incendie ou d'explosion
Le non-respect strict des avertissements de sécurité pourrait entraîner des blessures graves, la mort ou des dommages matériels.
- N'entreposez PAS et n'utilisez PAS d'essence NI d'autres vapeurs ou liquides inflammables dans les alentours de cet appareil ou de tout autre.
- QUE FAIRE SI UNE ODEUR DE GAZ EST DÉTECTÉE :
• N'allumez AUCUN appareil.
- NE touchez à AUCUN commutateur électrique ; n'utilisez AUCUN téléphone dans votre immeuble.
- Faites évacuer la pièce, l'immeuble ou la zone de tous ses occupants.
- Communiquez immédiatement avec votre fournisseur de gaz au moyen du téléphone d'un voisin. Observez les directives du fournisseur de gaz.
- Si vous ne pouvez pas joindre votre fournisseur de gaz, appelez le service d'incendie.
- L'installation, l'entretien et les réparations doivent être exécutés par un installateur agréé, un organisme de service ou le fournisseur de gaz.
Avertissements de la Proposition 65 de l'État de la Californie
AVERTISSEMENT
Ce produit contient une ou plusieurs substances chimiques reconnues par l'État de Californie pour causer le cancer, et des anomalies congénitales ou d'autres problèmes liés à la reproduction.
Les appareils à gaz peuvent entraîner des expositions de faible intensité à certaines de ces substances, y compris au benzène, au monoxyde de carbone, au formaldéhyde, et à la suie, en raison principalement d'une combustion incomplète du gaz naturel ou liquifié. L'exposition à ces substances peut être réduite au minimum par la ventilation adéquate de la sécheuse vers l'extérieur.
CONSERVEZ CES INSTRUCTIONS
À propos du panneau de contrôle de la sécheuse.
! AVERTISSEMENT
Pour réduire le risque d'incendie, de choc électrique ou de blessure, lisez les IMPORTANTES CONSIGNES DE SÉCURITÉ avant de faire fonctionner cet appareil.
Dans ce manuel, les commandes et l'aspect des éléments peuvent différer de votre modèle.
Modèles : GFD49 GFD48

text_image
1 Power Lock Control 1-5 Items Steam Refresh Cottons Mixed Loads Quick Dry Towels Sheets Bulky Items Active Wear Sanitize Delicates Steam Dewrinkle Full Loads Warm Up Air Fluff Time Dry Delay Dry Hot Smoke/Car 9 Detangle Dry 10 Ext Tumble Damp Alert Start/Pause 2 Light Volume Oil 14 15 7 18 19 65 Add Time Add Time Add Time Add Time Add Time Add Time Add Time Add Time Add Time Add Time Add Time Add Time Add Time Add Time Add Time Add Time Add Time Add Time Add Time Add Time Add Time Add Time Add Time Add Time Add Time Add Time Add Time Add Time Add Time Add Time Add Time Add Time Add Time Add TimeModèles : GFDR485 GFDR480 GHDS365 GHDS360

Modèles : GFDR275 GFDR270

text_image
1 7 Power Steam Refresh Normal Mixed Loads Towels/ Sheets Cottons Active Wear Delicates Quick Dry Time Dry Sanitize Steam Dewrinkle Wall Loads Warm Up Air Fluff Better 8:00 Cycle Complete Detangle Steam Refresh Hold 3 seconds to CANDS Delay Dry Delay Dry Clean Filter STEAM TECHNOLOGY DETANGLE AS 1ST 9 11 eDry Ext Tumble Damp Alert Start/Pause Volume 65 9 17 13 9 65Modèles : GFDS265 GFDS260

1 Appuyez sur le bouton Power (Alimentation).

Si l'écran est obscur, appuyez sur le bouton Power (Alimentation) pour activer l'afficheur.
2 Sélectionnez le cycle de séchage. (Des réglages par défaut sont établis pour chaque lavage. Ces réglages peuvent être modifiés. Consultez la section Réglages des contrôles pour de plus amples informations).
3 Appuyez sur le bouton Start/Pause (Marche/pause).

flowchart
graph TD
A["Cottons"] --> B["Normal"]
B --> C["Mixed Loads"]
C --> D["Towels/Sheets"]
D --> E["Sensitize"]
E --> F["Steam"]
F --> G["DownMe"]
G --> H["Up"]
H --> I["Warm"]
I --> J["Air Fluff"]
J --> K["Time Dry"]
K --> L["Delicates"]
L --> M["Active Wear"]
M --> N["Bulky Shredding"]

Appuyez sur cette touche pour « allumer » l'écran. Si l'écran est actif, appuyez pour éteindre la sécheuse. REMARQUE: Le fait d'appuyer sur Power (Alimentation) ne coupe pas l'alimentation électrique à l'appareil.
2
Start/Pause

Appuyez sur cette touche pour lancer un cycle de séchage. Si la sécheuse est déjà en fonctionnement, le fait d'appuyer sur cette
touche interrompt le cycle en cours. Appuyez encore sur la touche pour reprendre le cycle de séchage.
3 Cycles de séchage
Le cycle de séchage contrôle la durée du processus de séchage. Le tableau ci-dessous vous aidera à trouver le bon réglage de séchage en fonction de votre brassée.
| Normal/Mixed Loads (Charge normale/mixte) | Pour les brassées constituées de cotons et de mélanges de polyester. |
| Cottons (Cotons) | Pour les cotons et la plupart des articles en toile. NOTE: Les modèles Energy Star® sont testés sur Cottons (Cotons) avec les paramètres par défaut. |
| Bulky/Bedding ou Bulky Items (Literie volumineuse) | Pour manteaux grand format, jetés de lit, housses à matelas, sacs de couchage, couvertures, douillettes, blousons, carpettes et autres articles volumineux. |
| Active Wear (Vêtements de sport) | Pour les vêtements de sports, d'exercice et certains vêtements décontractés. Les tissus bénéficient de finitions en nouvelle technologie et sont composés de fibres élastiques comme le Spandex. Aussi pour vêtements étiquetés Sans repassage (Easy Care) ou Infroissable (Perma Press) : Pour les articles qui ne nécessitent pas de repassage. |
| Delicates (Délicats) | Pour la lingerie et les tissus délicats. |
| Speed Dry ou Quick Dry (Séchage rapide) | Pour les petites brassées qui doivent être séchées rapidement, comme les tenues de sport ou les uniformes d'école. Ce cycle peut aussi être utilisé si le cycle précédent a laissé quelques articles encore humides, comme des cols ou des ceintures. |
| Towels/Sheets (Serviettes/draps) | Pour serviettes OU draps. Il n'est pas recommandé de mélanger serviettes et draps dans la même brassée. |
| Sanitize (Sanitize) | Réduit certains types de bactéries de 99.8 %, notamment : Staphylococcus aureus, Pseudomonas aeruginosa et Klebsiella pneumoniae. Le traitement antibactérien survient lorsqu'une chaleur élevée est appliquée durant une partie du cycle de séchage. |
| Steam Dewrinkle (Vapeur défroissage) | Fournit 20 minutes de séchage à vapeur pour aider à défroisser les vêtements. Idéal pour des brassées de vêtements qui ont été laissées dans la sécheuse pendant une longue période de temps. |
| Warm Up (Préchauffage) | Fournit 10 minutes de préchauffage des vêtements. |
| Air Fluff (Air froid) | Fournit 10 minutes de temps de culbutage sans chaleur. |
| Time Dry (Séchage minuté) | Cette commande permet de définir son propre temps de séchage. La fonction Time Dry (Séchage minuté) est aussi recommandée pour les petites brassées. Pour utiliser :1. Tournez le cadran du cycle de séchage sur Time Dry.2. Augmentez le temps de séchage en appuyant sur le bouton Add Time (Prolongation).Remarque : Ce bouton ne fait qu'ajouter du temps. Une fois la durée maximale atteinte, une nouvelle pression sur le bouton remettra la minuterie à la valeur la moins élevée.3. Sélectionnez la température de séchage (Temp).4. Fermez la porte.5. Appuyez sur Start/Pause (Mise en marche/pause). |

Add Time

Appuyez sur ce bouton pour prolonger la durée des cycles Steam Dewrinkle (Vapeur défroissage),
Warm Up (Préchauffage), Air Fluff (Air froid) ou Time Dry (Séchage minuté) par incréments de 10 minutes.

Temp
Temp (Température)
Vous pouvez modifier la température de votre cycle de séchage.
| High (Haute) Pour les cotons normaux à lourds. | |
| Medium (Moyenne) | Pour les synthétiques, les mélanges et les articles étiquetés sans repassage. |
| Low (Basse) | Pour les tissus délicats, synthétiques et les articles étiquetés Tumble Dry Low (séchage par culbutage à basse température). |
| Extra Low (Extra basse) | Pour la lingerie et les tissus délicats. |
| No Heat (Sans chaleur) | Cette option ne peut être utilisée qu'avec la commande Air Fluff (Air froid), par laquelle le culbutage des articles s'exécute sans chaleur. |

Level
Level (Niveau)
Le détecteur surveille en permanence le niveau d'humidité dans le linge. Quand l'humidité dans vos vêtements atteint le niveau de séchage que vous avez choisi, la sécheuse s'arrête.
REMARQUE : La détection du niveau d'humidité fonctionne seulement pour les cycles Cottons (Coton), Normal (Charge normale), Active Wear (Vêtements de sport), Delicates (Délicats), Speed Dry (Séchage rapide), Bulky (Literie volumineuse), Towels/Sheets (Serviettes/draps), Sanitize (Sanitize) et Steam Dewrinkle (Vapeur défroissage).
| Extra Dry (Extra sec) isur certains modèles | Utilisé pour les tissus résistants ou les articles qui ont besoin d'être très secs, comme par exemple les serviettes. |
| More Dry (Plus sec) | Utilisé pour les types de tissus lourds ou mélangés. |
| Dry (Sec) Utilisé pour | un niveau de séchage normal adapté à la plupart des brassées.C'est le cycle recommandé pour un fonctionnement en économie d'énergie. |
| Less Dry (Moins sec) | Utilisé pour les tissus plus légers (idéal pour le repassage). |
| Damp (Humide) Pour | laisser les articles partiellement humides. |

My Cycle

Configurez votre propre combinaison de réglages et enregistrez-la ici pour ensuite la lancer d'une touche. Cette configuration personnalisée peut être définie pendant qu'un cycle est en cours.
Pour enregistrer une combinaison de réglages My Cycle (Mon cycle).
- Sélectionnez un cycle de séchage.
- Changez les réglages Temp et Level afin de répondre à vos besoins.
- Sélectionnez toutes les options de séchage souhaitées.
- Appuyez sur la touche My Cycle (Mon cycle) et maintenez-la enfoncée pendant trois secondes pour sauvegarder votre sélection. Un bip sonore retentit et le bouton s'allume.
Pour lancer votre combinaison My Cycle (Mon cycle) enregistrée :
Appuyez sur la touche My Cycle (Mon cycle) avant de sécher une brassée.
Pour modifier votre combinaison My Cycle (Mon cycle) enregistrée.
Répéter les étapes 1 à 4.


Steam Refresh Cycle (Vapeur rafraîchissante)
Pour des vêtements secs légèrement froissés. Réduit de façon significative les plis sur 5 vêtements. Après le cycle Steam Refresh (Vapeur rafraîchissante), l'unité émettra un bip et affichera 0 :00. Si l'unité n'est pas fermée ou si la porte n'est pas ouve rte, la sécheuse continuera le culbutage pendant 30 minutes. À la fin des 30 minutes, il sera affiché 0 :00 et cycle terminé.
REMARQUE: Un seul article de tissu extrêmement léger peut nécessiter d'ajouter un article supplémentaire pour atteindre des résultats optimaux.


Detangle (Démêlement) (sur certains modèles)
Demarre le culbutage alternatif avant et arrière afin de réduire le démêlement du linge, sécher plus uniformément et améliorer le temps de séchage. Les brassées typiques qui mélangent, par exemple, les articles de literie et de salle de bain tels que draps, serviettes et taies d'oreiller profiteront de cette fonctionnalité. Lorsque le mouvement de la sécheuse s'inverse, une légère pause et une modification sonore seront perceptibles. Ce phénomène est normal.
REMARQUE: Detangle (Démêlement) est sélectionné par default pour les cycles Towels/Sheets (Serviettes/Draps) et Bulky/Bedding (Literie Volumineuse).


eDry
Réduit la consommation totale d'énergie des cycles spécifiques de la sécheuse en ajustant certains réglages de température.
REMARQUE: Les durées de cycle changent lorsque e-Dry est sélectionné.
Ce caractéristiques peut être utilisé avec les tissus Cottons (Cotons), Normal (Normale), Active Wear (Vêtements de sport), Delicates (Délicats), Speed Dry (Séchage rapide), Bulky (Literie volumineuse), Towels-Sheets (Serviettes/draps), Sanitize (Sanitize) and Steam Dewrinkle (Vapeur défroissage).


Extended Tumble (Culbutage prolongé)
Réduit les faux plis au maximum en ajoutant environ 60 minutes de culbutage sans chaleur une fois que les vêtements sont secs. L'avertisseur se fera entendre toutes les cinq minutes pour rappeler de retirer les vêtements ou autres textiles.
L'affichage du temps restant estimé indiquera « 0:00 ».
La prolongation du temps de culbutage ne s'ajoute pas à la durée de cycle affichée.


Damp Alert (Alerte d'humidité)
Cette option fait sonner la sécheuse quand les vêtements ont été séchés jusqu'à un certain niveau d'humidité. Retirez les articles que vous souhaitez étendre pour sécher. Damp Alert (L'Alerte d'humidité) émet un bip lorsque cette option est sélectionnée, et la sécheuse continuera à sécher.
Le fait de retirer les vêtements et les étendre quand ils sont humides peut diminuer le besoin de repasser certains articles.


Delay Dry (Mise en séchage différée)
Utilisez pour retarder le démarrage de votre sécheuse.
- Sélectionnez votre cycle de séchage et toutes les options.
-
Appuyez sur Delay Dry (Mise en séchage différée). Vous pouvez changer le délai d'attente par intervalles de 1 heure en utilisant le bouton Delay Dry (Mise en séchage différée).
-
Appuyez sur le bouton Start/Pause (Mise en Marche/Pause) pour lancer le compte à rebours.
REMARQUES: Si la porte est ouverte alors que la sécheuse est en mode Delay Dry (Mise en séchage différée), le compte à rebours ne redémarrera pas sauf si la porte est fermée et que le bouton Delay Dry (Mise en séchage différée) est à nouveau enfoncée.
Réglage
des
contrôles.

Light

Light (Lumière) (sur certains modèles)
Appuyez sur le bouton pour allumer la lampe dans la sécheuse.
Appuyez sur le bouton à nouveau pour l'éteindre.
Ce bouton ne commande la lampe que lorsque la porte est fermée.
REMARQUE : La lampe s'éteindra d'elle-même au bout d'une minute une fois la porte fermée.

Volume

Volume (Volume)
Ce bouton a deux fonctions :
■ Pour modifier l'intensité sonore du signal de fin de cycle, appuyez sur ce bouton autant de fois nécessaires afin d'atteindre l'intensité sonore désirée. Il y a quatre niveaux d'intensité incluant la sourdine.
■ Pour activer cette fonction, appuyez et maintenez le bouton ON/OFF (Marche/Arrêt) pendant 3 secondes (sur certains modèles).

Lock Control

Lock Control (Verrouillage de contrôle)
Vous pouvez verrouiller les contrôles pour empêcher tout choix de cycle, ou vous pouvez verrouiller les contrôles après avoir commencé un cycle.
Les enfants ne peuvent pas mettre accidentellement en marche la sécheuse en appuyant sur des touches quand vous choisissez cette option.
Pour verrouiller les contrôles de la sécheuse, appuyez sur le bouton Lock Control (Verrouillage de contrôle) et tenez-la appuyée pendant 3 secondes.
Pour déverrouiller les contrôles de la sécheuse, appuyez sur le bouton Lock Control (Verrouillage de contrôle) et tenez-la appuyée pendant 3 secondes.
Un son retentit pour indiquer l'état verrouillé/déverrouillé.
Le témoin au-dessus du bouton s'allumera une fois les commandes verrouillées.
NOTE : Vous pouvez encore utiliser le bouton Power (Alimentation) quand la machine est verrouillée.


eMonitor
eMonitor (sur certains modèles)
Les témoins lumineux de l'échelle de surveillance (eMonitor) indiquent la consommation relative d'énergie du cycle et options choisis. Ils servent de guide de consommation d'énergie et l'échelle s'étend de Good (Bon - 1 témoin) à Better (Meilleur - 5 témoins). Le cycle (durée), le niveau de séchage, la température et des options de
culbutages supplémentaires peuvent augmenter ou diminuer l'efficacité énergétique. Certains cycles ne seront cependant pas affichés.


Message de filtre à nettoyer
Ce message se veut seulement un rappel et il n'apparaît pas toujours lorsque le filtre nécessite un nettoyage. Le filtre devrait être nettoyé après chaque cycle de séchage.
Une pression sur le bouton Start/Pause (Mise en marche/pause) fera disparaître le message. Même si le filtre a déjà été nettoyé (avant ou après avoir appuyé sur le bouton Power (Alimentation)), le message « Clean Filter » (Nettoyer le filtre) ne disparaîtra que sur pression du bouton Start/Pause (Mise en marche/pause).


Affiche le temps restant approximatif jusqu'à la fin du cycle.
Au début du cycle, vous verrez la durée totale approximative du cycle sur l'afficheur.
Puis les témoins vont se mettre à « courser » sur l'afficheur. Cela indique que la sécheuse surveille constamment le niveau d'humidité de la brassée. Les témoins continueront de s'activer jusqu'à ce que la sécheuse détecte un bas niveau d'humidité dans la brassée. À ce stade, la sécheuse calculera et affichera le temps restant approximatif.
Suivez toujours l'étiquette du fabricant de tissus pour laver.
Étiquettes d'entretien de tissu
Ci-dessous figurent les « symboles » des étiquettes d'entretien de tissu qui concernent le linge à sécher.
SÉCHAGE
Séchage par culbutage

Séchage

Normal

Tissus à pressage permanent/infroissables

Doux/tissus-délicats

Ne pas sécher par culbutage

Népnotécher
(utilisé avec
« Ne pas laver »)
Réglage de température

Max.

Moyen

Min.

Pas
dechaleur/d'air
Instructions spéciales

Sécher sur corde/suspendre pour sécher

Sécher par
égouttage

Sécher à plat

À l'ombre
Conseils pour le tri et le chargement
! AVERTISSEMENT

- Risque d'incendie
- Gardez les matières et les vapeurs inflammables telles que l'essence à distance de la sécheuse.
- NE séchez AUCUN article qui a déjà reçu une matière inflammable (même après le lavage).
-
Aucune laveuse ne peut éliminer l'huile totalement.
-
NE séchez AUCUN article qui a déjà reçu un type d'huile quelconque (y compris les huiles de cuisson).
- Les articles qui comportent de la mousse, du caoutchouc ou du plastique doivent sécher sur une corde à linge.
- Le non-respect de ces instructions pourrait entraîner la mort, l'explosion ou l'incendie.
En règle générale, lorsque les vêtements sont correctement triés pour le lavage, ils le sont aussi pour le séchage. Essayez aussi de trier les articles en fonction de leur taille. Par exemple, ne séchez pas un drap avec des chaussettes ou d'autres petits articles.
N'ajoutez pas votre feuille d'assouplissant textile lorsque la brassée a commencé à chauffer, car elle risque de provoquer des taches d'assouplissant. Les feuilles d'assouplissant de tissus Bounce ^MD pour sécheuses ont été approuvées pour cette sécheuse si elles sont utilisées conformément aux instructions du fabricant.
Ne surchargez pas. Ceci consomme inutilement de l'énergie et cause des faux plis.
À propos des caractéristiques de la sécheuse.
Appuyer les pattes arrière sur le rebord angulaire arrière

Appuyer les pattes arrière sur le rebord angulaire arrière
Grille de séchage (sur certains modèles)
Utilisez une grille de séchage pour sécher les articles délicats, par exemple, les chandails lavables. Placez les articles à plat sur la grille de séchage, en mettant de côté les chandails en laine et les tissus délicats. Séchez à faible chaleur.
Pour installer la grille de séchage, la déployer à l'intérieur du tambour de la sécheuse. Appuyez les deux pattes avant sur le rebord angulaire avant, puis les deux pattes arrière sur le rebord angulaire arrière.
REMARQUES :
La grille de séchage est conçue pour une utilisation avec les programmes de Time Dry (Séchage minuté). L'utilisation de la grille avec un programme de séchage par capteur peut augmenter la durée des programmes ou conserver l'humidité dans les articles.
■ N'utilisez pas la grille de séchage lorsque d'autres vêtements dans la sécheuse ne sont pas disposés sur la grille.
■ La grille de séchage, WE01X22274, est disponible en tant qu'accessoire. Commandez en ligne à GEApplianceParts.com, 24 heures par jour ou par téléphone au 800.661.1616 pendant les heures normales de travail.

Extérieur de la sécheuse : Essuyez ou époussetez tout déversement ou produit de lavage avec un chiffon humide. Le panneau de commande de la sécheuse peut être endommagé par certains détergents et produits détachants. Appliquez ces produits loin de la sécheuse. Le tissu peut ensuite être lavé et séché normalement. Les dommages causés par ces produits ne sont pas couverts pas la garantie de votre sécheuse.
Filtre à charpie : Nettoyez le filtre à charpie avant chaque utilisation.
Tirez le filtre à charpie. Mouillez vos doigts et retirez la charpie. Une fois qu'il a été nettoyé, glissez le filtre dans sa position. Demandez à un technicien qualifié d'aspirer la charpie de la sécheuse une fois par année.
N'UTILISEZ JAMAIS LA SÉCHEUSE SANS FILTRE.
Acier inoxydable : Pour nettoyer les surfaces en acier inoxydable, utilisez un chiffon humide et un détergent doux non abrasif convenant aux surfaces en acier inoxydable. Retirez les résidus de produit nettoyant, puis séchez-les avec un chiffon propre.
L'acier inoxydable utilisé pour la fabrication du tambour de la sécheuse vous offre la meilleure fiabilité possible dans une sécheuse GE Appliances. Si le tambour de la sécheuse venait à être marqué ou rayé en cours d'usage normal, il ne rouillerait pas. Ces dommages superficiels n'affecteront pas sa durabilité ni son fonctionnement.
Intérieur et conduit de la sécheuse : L'intérieur de l'appareil et le conduit d'évacuation doivent être généralement confiés à un technicien qualifié.
Conduit d'évacuation : Inspectez et nettoyez le conduit d'évacuation au moins une fois par année afin d'éviter qu'il se bouche. La durée de séchage peut être augmentée lorsque l'évacuation est bouchée.
Hotte d'évacuation : Vérifiez avec un miroir que les battants intérieurs se déplacent sans difficulté au cours de l'utilisation. Vérifiez qu'il n'y a pas d'animaux ou d'insectes qui ont fait leur nid dans le conduit ou la hotte.

Éclairage du tambour
(peut être remplacée par le consommateur sur certains modèles)
REMARQUE : La lampe du tambour ne peut pas être remplacée par le consommateur sur les modèles où il y a un couvercle en forme de dôme sur une ampoule LED. Si cette lampe venait à cesser de fonctionner, communiquez avec une entreprise de réparation.
Pour les modèles qui ont un couvercle plat sur une ampoule, fixé par une vis :
Avant de remplacer l'ampoule, assurez-vous de débrancher le cordon d'alimentation de la sécheuse ou de déconnecter la sécheuse du tableau de distribution de votre domicile (fusible ou disjoncteur). Penchez-vous au-dessus de l'ouverture de la sécheuse vers l'intérieur du tambour pour localiser le couvercle plat.
Retirez la vis et le couvercle en plastique pour accéder à l'ampoule. Remplacer par une ampoule appropriée, puis apposer de nouveau le couvercle et la vis.
Commandez en ligne une ampoule de rechange WE4M305 sur www.electromenagersge.ca, par téléphone au 1-800.561.3344 durant les heures normales d'affaire, ou procurez-vous une ampoule modèle 7C7 chez votre détaillant.
La lampe dans le tambour s'allume automatiquement quand la porte de la sécheuse est ouverte. Sur certains modèles, elle peut également être activée à partir du panneau de contrôle.
Instructions d'installation
Si vous avez des questions, appelez GE Appliances 800.GE.CARES ou visitez notre site web: www.GEAppliances.com Au Canada, appelez le 1.800.561.3344 ou visitez www.electromenagersge.ca
AVANT DE COMMENCER
Lisez attentivement ces instructions dans leur intégralité.
- IMPORTANT – Gardez ces instructions pour l'usage de l'inspecteur électrique local.
- IMPORTANT – Observez toutes les réglementations et ordonnances en vigueur.
- Installez la sécheuse conformément aux instructions du fabricant et aux réglementations locales.
- Remarque pour l'installateur – Assurez-vous de laisser ces instructions au client.
- Remarque pour le consommateur - Gardez ces instructions à titre de référence ultérieure.
- L'installation de la sécheuse doit être effectuée par un installateur qualifié.
- Cette sécheuse doit être mise à l'évent à l'extérieur.
- Retirez la porte de la vieille sécheuse avant de la mettre au rebut ou hors service.
- Les renseignements d'entretien et le schéma de câblage se trouvent dans la console de commande.
- Ne laissez pas les enfants monter sur l'appareil ou entrer dans celui-ci. Une surveillance étroite des enfants doit être exercée lorsque l'appareil est utilisé à leur proximité.
- La responsabilité d'installer correctement l'appareil relève de l'installateur.
- Toute défaillance de l'appareil suite à une installation incorrecte n'est pas couverte par la garantie.
- Installez la sécheuse là où la température est supérieure à 10 C (50 F) pour assurer le bon fonctionnement du système de commande de la sécheuse.
- Retirez et jetez les conduits en feuille métallique ou en plastique existants et remplacez-les par un conduit homologué UL.
! AVERTISSEMENT

- Risque d'incendie
- L'installation de la sécheuse doit être effectuée par un installateur qualifié.
- Installez la sécheuse conformément aux instructions du fabricant et aux réglementations locales.
- N'installez PAS de sécheuse avec des conduits en plastique flexible. Si un conduit métallique flexible (semi-rigide ou du type feuille métallique) est installé, il doit être homologué UL et installé conformément aux instructions figurant dans "Connector la sécheuse à l'évent de la maison" de ce manuel. Les conduits flexibles ont tendance à s'affaisser, à être facilement écrasés et à piéger la charpie. Ces conditions bouchent le débit d'air de la sécheuse et augmentent le risque d'incendie.
- N'installez et ne remisez PAS cet appareil dans un lieu où il peut être exposé à l'eau ou intempéries.
- Pour réduire le risque de blessure grave, voire de mort, suivez toutes les instructions d'installation.
- Gardez ces instructions. (Installateurs: Assurez-vous de laisser ces instructions au client.
SÉCHEUSES À GAZ SEULEMENT
DANS LE COMMONWEALTH DU MASSACHUSETTS, LES INSTRUCTIONS D'INSTALLATION SUIVANTES SONT APPLICABLES :
- Ce produit doit être installé par un plombier ou un monteur d'installations au gaz licencié.
- Si vous utilisez des robinets d'arrêt du gaz à bille, ils doivent avoir une poignée en T.
- Si vous utilisez un raccord de gaz flexible, il ne doit pas dépasser 1 m (3 pieds).
Instructions d'installation
DÉBALLAGE DE VOTRE SÉCHEUSE
Inclinez la sécheuse latéralement et enlevez les coussinets d'expédition en mousse en les poussant sur les côtés et en les détachant des pattes de la sécheuse. Assurez-vous d'enlevez toutes les pièces en mousse autour des pattes.
Enlevez le sac contenant la documentation.

DIMENSIONS
DE LA
SÉCHEUSE
Vue avant

text_image
54 3/8"* (138,1cm) 32 7/8" (83,5cm) 39"* (99cm) 46"* (117cm) Built-In Piédestal™ (Équipés avec élévateur) modèles seulement Vue latérale [3/4 pol)*NOTE :
Avec les pattes de nivellement : 40 1/2 po (102,5 cm) - (réglable de 1,9 cm [3/4 po])
Avec élévateur Built-In Piédestal™ : 46 po (117 cm) - (réglable de 1,9 cm [3/4 po])
Avec piédestal optionnel (GFXP1308) : 52 po (132,1 cm) - (réglable de 1,9 cm [3/4 po])
Superposé : 78 1/4 po (198,8 cm) - Non applicable pour les modèles avec piédestal intégré ™
FLEXIBLES D'EAU OU DE VAPEUR :
GE Appliances recommande vivement l'utilisation de pièces spécifiées par le fabricant. Ces flexibles sont fabriqués et essayés de façon à satisfaire aux spécifications de GE Appliances.
GE Appliances recommande vivement l'utilisation de flexibles d'alimentation d'eau neufs. Les flexibles se détériorent avec le temps et ils doivent être remplacés tous les 5 ans afin de réduire le risque de défaillance ou de dégât d'eau.
Pièces et accessoires
Commandez en ligne sur www.electromenagersge.ca 24 heures sur 24 ou en téléphonant au 1-800 561-3344 durant les heures normales d'affaire.
| No. de pièce Accessoire | |
| WE25X20060OU | Ensemble complet (flexibles, rondelles d'adaptateur en Y) (inclus) |
| WH41X10356 | Flexible long et |
| WH41X10357 | Flexible court |
CORDONS D'ALIMENTATION :
GE Appliances recommande vivement l'utilisation de pièces spécifiées par le fabricant. Choisissez un cordon d'alimentation qui correspond aux exigences de votre installation.
| No de pièce | Type Longueur Intensité de courant | |
| WX9X2 3- | Trifilaire 4 Pied 30 | |
| WX9X3 3- | Trifilaire 5 Pied 30 | |
| WX9X4 3- | Trifilaire 6 Pied 30 | |
| WX9X18 4- | Trifilaire 4 Pied 30 | |
| WX9X19 4- | Trifilaire 5 Pied 30 | |
| WX9X20 4- | Trifilaire 6 Pied 30 | |
ACCESSORIES:
Commandez en ligne sur www.electromenagersge.ca 24 heures sur 24 ou en téléphonant au 1-800 561-3344 durant les heures normales d'affaire.
| No. de pièce | Accessoire |
| GFP1328SK | Piédestal blanc de 28" de large |
| GFP1328PK | Piédestal gris diamant de 28" de large |
| GEFLSTACK Kit | d'empilage d'une sécheuse sur une laveuse |
| PM08X10085 | Conduit flexible de transition de métal pour sécheuses |
| WE01X22274 | Étagère de sécheuse pour souliers |
EXIGENCES RELATIVES À UNE INSTALLATION ENCASTRÉE

AVERTISSEMENT

- Risque d'explosion
Gardez les matières et les vapeurs inflammables telles que l'essence à distance de la sécheuse. Placez la sécheuse à au moins 46 cm (18 po) au-dessus du sol dans le cas d'une installation dans un garage. L'omission de prendre ces précautions peut provoquer la mort, l'explosion ou l'incendie.
- L'air de la sécheuse DOIT être évacué vers l'extérieur.
- L'espace minimum entre la sécheuse et les murs adjacents ou d'autres surfaces est le suivant: 0 mm (0 po) des deux côtés 2,54 mm (1 po) avant et arrière 2,54 mm (1 po) haut
- Il faut veiller à procurer le dégagement nécessaire à l'installation et aux interventions de service.
- Les portes du placard doivent être perforées ou bien ventilées et disposer d'au moins 150 cm ^2 (60 pouces carrés) d'espace. Si le placard abrite une laveuse et une sécheuse, les portes doivent disposer de 3 m ^2 (120 pouces carrés) au minimum d'espace ouvert.
REMARQUE: SI LE TUYAU D'ÉVACUATION EST SITUÉ À L'ARRIÈRE DE LA SÉCHEUSE, LA CONFIGURATION DU TUYAU POURRAIT DEMANDER UNE DÉGAGEMENT EN ARRIÈRE PLUS GRANDE QUE 3 POUCES.
Sécheuses à gaz seulement.
- Aucun autre appareil alimenté au carburant ne doit être installé dans le même placard qu'une sécheuse à gaz.
- La sécheuse doit être débranchée de la conduite d'alimentation en gaz lors des essais de pression lorsque celle-ci est supérieure à ½ psi (3,5 kPa).
- Un connecteur obturé d'un minimum de 1/8 pouce NPT, accessible pour la connection de l'instrument de mesure, doit être posé tout juste en amont de la connection de l'alimentation en gaz de la sécheuse.
DÉGAGEMENTS MINIMUMS AUTRES QUE POUR UNE INSTALLATION ENCASTRÉE
Les dégagements minimums par rapport aux surfaces inflammables et pour l'orifice d'aération sont les suivants : 0 po des deux côtés, 25 mm (1 po) à l'arrière et 25 mm (1 po) haut. Veillez à prévoir des dégagements suffisants pour toute installation et réparation.
INSTALLATION DANS UNE MAISON MOBILE OU PRÉFABRIQUÉE
- Installation DOIT être conforme à la NORME DE SÉCURITÉ POUR LA CONSTRUCTION DE MAISONS FABRIQUÉES, TITRE 24, PARTIE 3280 ou NORME POUR DES MAISONS MOBILES CAN/CSA-Z240 MH, ou, si la norme n'est pas applicable, à la NORME NATIONALE AMÉRICAINE POUR LES MAISONS MOBILES ANSI/NFPA N° 501B.
- L'air de la sécheuse DOIT être évacué vers l'extérieur.
- L'évent d'évacuation DOIT être fixé d'une façon sécuritaire à une partie non combustible de la maison mobile.
- La ventilation NE DOIT PAS déboucher sous une maison mobile ou fabriquée.
- Le matériau du tuyau de ventilation DOIT ÊTRE LE MÉTAL.
- L'ensemble 14-D346-33 DOIT être utilisé pour raccorder la sécheuse à la structure.
- La ventilation NE DOIT PAS être raccordée à tout autre tuyau, évent ou cheminée.
- N'utilisez PAS de vis à tôle ni d'autres dispositifs de serrage qui dépassent à l'intérieur de l'évent d'évacuation.
- Prévoyez une ouverture dotée d'une zone ouverte de 63 cm ^2 (25 pouces carrés) pour l'infiltration d'air extérieur dans de la sécheuse chambre.
- Voir la section pour des renseignements sur la connexion électrique.
BRANCHEMENT DES BOYAUX D'ARRIVÉE
BRANCHEMENT DES BOYAUX D'ARRIVÉE
Pour produire de la vapeur, la sécheuse doit être branchée à une alimentation d'eau froide. Puisque la laveuse doit aussi être branchée à une alimentation d'eau froide, un connecteur en « Y » est inséré, afin de permettre aux boyaux d'arrivée d'être brancher au même moment.
REMARQUE: Utilisez des tuyaux d'entrée nouveaux ; n'utilisez jamais de vieux tuyaux.
- Fermez le robinet d'eau froide. Débranchez le boyau d'arrivée du connecteur du robinet de remplissage (froid).
- Assurez-vous que la rondelle plate en caoutchouc est en place et attachez le raccord femelle du tuyau court fournis au connecteur du robinet de remplissage de la laveuse. Resserrez à la main jusqu'à ce qu'il soit bien serré. Resserrez à la main jusqu'à ce qu'il soit bien serré.
- Raccordez une extrémité mâle du connecteur en « Y » à l'autre raccord femelle du boyau court. Assurez-vous que la rondelle plate en caoutchouc est en place. Resserrez à la main jusqu'à ce qu'il soit bien vissé.

- Insérez la grille de filtre dans le raccord du boyau d'arrivée de la laveuse. Si une rondelle plate en caoutchouc est déjà en place, retirez-la avant d'installer la grille de filtre. Raccordez ce raccord à une extrémité mâle du connecteur en « Y ». Resserrez à la main jusqu'à ce qu'il soit bien serré.
- Assurez-vous que la rondelle plate en caoutchouc est en place et raccordez le tuyau d'arrivée de 4 à 6 pieds (il est possible qu'il soit nécessaire de l'acheter séparément) à une extrémité mâle du connecteur en « Y ». Resserrez à la main jusqu'à ce qu'il soit bien serré.
- Assurez-vous que la rondelle plate en caoutchouc est en place et raccordez l'autre extrémité du boyau d'arrivée long de la sécheuse au connecteur du robinet de remplissage dans le bas du panneau arrière de la sécheuse. Resserrez à la main jusqu'à ce qu'il soit bien serré.
BRANCHEMENT DES BOYAUX D'ARRIVÉE (suite)

- En utilisant des pinces, resserrez toutes les connexions avec un tour au deux-tiers.
REMARQUE: Ne pas trop serrer. Vous pourriez endommager les connexions.

-
Ouvrez le robinet d'eau.
-
Vérifiez l'absence de fuites autour du connecteur en « Y », du robinet et des raccords de boyau.
EXIGENCES DE L'ALIMENTATION D'EAU
Les robinets d'eau chaude et d'eau froide DOIVENT être installés à une distance d'au moins 42 po (107 cm) du boyau d'eau de la laveuse. Les robinets DOIVENT être de type boyau de jardin de 3/4 po (1,9 cm) pour que les boyaux d'arrivée puissent être branchés. La pression de l'eau DOIT être entre 10 et 120 livres par pouce carré. Votre département d'eau peut vous laisser savoir ce qu'est votre pression d'eau.
REMARQUE: Un adoucisseur d'eau est recommandé pour réduire l'accumulation de déport à l'intérieur du générateur de vapeur si l'alimentation d'eau de la maison est très dure.
RACCORDEMENT D'UNE SÉCHEUSE À GAZ
(Sautez s'il s'agit des sécheuses à gaz ou si votre sécheuse possède déjà un cordon d'alimentation fourni)
OUTILS NÉCESSAIRES
□ Clés à molette (2) 10 po

Clé à tuyau 8 po

□ Pince à joint coulissant

□ Tournevis à tête plate

Niveau

MATÉRIEL NÉCESSAIRE
□Coude métallique 4 po de diamètre

□ Mastic ou PTFE ruban pour joints de tuyaux

☐ Colliers de conduit (2) ou brides à ressort (2)


□ Lunettesde protection

□ Tuyau métallique 4 po de diamètre (recommandé)

☐ Plaque de couverture de 4 pouces (Kit WE49X22606)

□ Tuyau métallique souple 4 po de diamètre (si nécessaire)

□Gants

□ Solution savonneuse pour la détection de fuites

□Évent d'évacuation

□ Ruban adhésif

□Gaz adaptateur (2), elbow, un coude et obturateur



□ Tuyau de 4-6 pieds (sur certains modèles)

- Avant de démarrer l'installation, déclenchez le disjoncteur ou enlevez le fusible de la sécheuse au panneau de distribution électrique. Assurez-vous que le cordon d'alimentation de la sécheuse est débranché de la prise murale.

- Fermez la vanne d'arrêt du gaz de la sécheuse de la conduite d'alimentation.

text_image
Vanne d'arrêt- Démontez et jetez l'ancien connecteur de gaz flexible et l'ancien conduit.

- Risque d'explosion
- Utilisez une conduite de gaz flexible neuve, homologuée CSA International. Ne réutilisez jamais des connecteurs flexibles qui ont déjà servi.
- Installez une vanne manuelle d'arrêt individuelle à l'intérieure de 6 pieds de la sécheuse conformément au Code National du Gaz Combustible, ANSI Z223.1 / NFPA 54.
- Serrez fermement tous les raccords de gaz.
- Si l'alimentation consiste en du gaz liquéfié, demandez à un technicien agréé de confirmer que la pression de gaz N'excède pas 33 cm (13 po) de la colonne d'eau.
- Un technicien agréé peut provenir d'une entreprise spécialisée en chauffage, fourniture de gaz ou réparation.
- L'omission de prendre ces précautions peut provoquer la mort, l'explosion ou l'incendie.
- L'installation doit être conformes aux normes des codes locaux ou, en leur absence, avec la norme ANSI Z223.1/NFPA 54 du National Fuel Gas Code ou CSA B149.1 du Natural Gas and Propane Installation Code.
RACCORDEMENT DE L'ALIMENTATION
EN GAZ DE LA SÉCHEUSE

text_image
4.05 cm (1 1½/32 po) ALIMENTATION EN GAZ À FILETAGE MÂLE NPT 3/8 po 11.27 cm (4½/16 po) REMARQUE: Ajoutez à la dimension verticale la distance entre le fond de la carrosserie et le sol.Vous devez utiliser un connecteur flexible en métal certifié par ANSI Z21.24/CSA 6.10. La longueur du connecteur ne doit pas excéder 3 pieds.
- Un robinet de raccordement à filetage National Pipe Taper 3,2 mm (1/8 po), accessible pour le raccordement d'un manomètre, doit être installé immédiatement en amont du raccord d'alimentation en gaz de la sécheuse. Contactez votre service de gaz local si vous avez des questions sur l'installation d'un robinet de raccordement.
- La conduite d'alimentation doit être composée d'un tube rigide de 12,7 mm (1/2 po) et équipée d'une vanne d'arrêt à moins de 1,8 m (6 pieds) de la sécheuse et dans la même pièce.
- Utilisez un mastic d'étanchéité approprié au gaz naturel ou au gaz de petrole liquéfié ou utilisez du ruban PTFE.
- Raccordez le tuyau de raccordement métallique souple à la sécheuse et à l'alimentation en gaz.

AVERTISSEMENT

Risque d'incendie
POUR UNE UTILISATION AVEC GAZ NATUREL SEULEMENT
La sécheuse, telle que produite par le fabricant, doit être utilisée uniquement avec une alimentation en gaz naturel. Pour convertir cette sécheuse au gaz propane il est nécessaire un kit de conversion fourni par le fabricant. Utilisez le kit propane de conversion de gaz WE25M87. La conversion doit être effectuée par du personnel formé et qualifié conformément aux codes et règlements locaux.
AJUSTEMENT DÛ À L'ÉLÉVATION
- Le flux d'entrée des sécheuses à gaz est ajusté pour une opération au niveau de la mer et n'a pas besoin d'être ajusté pour une opération à 2000 pieds d'altitude ou moins. Pour une opération au dessus de 2000 pieds d'altitude, le flux d'entrée doit être réduit à une fréquence de 4 pourcent par 1000 pieds au dessus du niveau de la mer.
- L'installation doit être conforme aux codes locaux ou, si en absence de ces codes, le « NATIONAL FUEL GAS CODE, ANSI Z223 ».
RACCORDEMENT D'UNE SÉCHEUSE À GAZ (suite)
RACCORDEMENT DE LA SÉCHEUSE À L'ALIMENTATION EN GAZ
A Installez un coude femelle 3/8 po NPT à l'extrémité du raccord d'entrée de gaz de la sécheuse.
Installez un raccord adaptateur 3/8 po sur le coude femelle.
IMPORTANT: Utilisez une clé à tuyau pour tenir fermement l'extrémité du raccord d'entrée de gaz de la sécheuse pour éviter de l'endommager.
REMARQUE: Appliquez un mastic d'étanchéité ou du ruban PTFE sur les filetages de l'adaptateur et du raccord d'entrée de gaz de la sécheuse.

text_image
Tuyau de raccordement souple métallique neuf Adaptateur Coude Matériel non fourni 3/8 po NPT Adaptateur Obturateur de 1/8 po NPT pour vérification de la pression à l'entrée de gaz Vanne d'arrêt Tuyau d'au moins 1/2 poB Fixez le tuyau de raccordement métallique souple à l'adaptateur.

text_image
diquez du mastic sur l'adaptateur entrée de gaz de la sécheuse.C Serrez le raccord du tuyau de raccordement souple à l'aide de deux clés à molette.

D Installez un obturateur 1/8 po NPT sur la vanne d'arrêt de la ligne de gaz de la sécheuse pour vérifier la pression d'entrée du gaz.
Installez un raccord adaptateur à l'obturateur.
REMARQUE: Appliquez un mastic d'étanchéité ou du ruban PTFE sur les filetages de l'adaptateur et de l'obturateur.

text_image
Appliquez un mastic d'étanchéité ou du ruban PTFE sur tous les filetages mâles. Obturateur Vanne d'arrêtE Serrez tous les raccords à l'aide des deux clés à molette. Ne serrez pas trop fort.

F Ouvrez la vanne d'arrêt de gaz.

DÉTECTION DES FUITES
N'utilisez jamais une flamme nue pour vérifier la présence de fuites de gaz.
Contrôlez la présence de fuites sur tous les raccordements avec une solution savonneuse ou similaire.
Appliquez une solution savonneuse. La solution de détection des fuites ne doit pas contenir d'ammoniaque, ce qui pourrait endommager les raccords en laiton.
Si des fuites sont détectées, fermez la vanne, resserrez le raccord en cause et répétez la procédure de détection de fuites.

text_image
Ouvrez la vanne de gazINFORMATIONS DE BRANCHEMENT ÉLECTRIQUE POUR LES SÉCHEUSES À GAZ

AVERTISSEMENT

- Risque d'électrocution
Brancher l'appareil dans une prise à 3 broches mise à la terre.
NE PAS enlever la broche de mise à la terre.
N'UTILISEZ pas de rallonge électrique.
N'UTILISEZ pas d'adaptateur de prise.
L'omission de prendre ces précautions peut provoquer la mort, l'explosion ou l'incendie.
- Circuit – individuel, correctement polarisé et mise à la terre, disjoncteur de 15 ou 20 ampères ou fusible à temporisation.
- Alimentation - 2 fils plus la terre, 120 Volt,
monophasé, 60 Hz, courant alternatif.
- Réceptaclesortie - Réceptacle à 3 broches correctement mise à la terre, doit être placé de telle manière que le cordon
d'alimentation soit accessible lorsque la sécheuse est installée dans sa position finale. Si le circuit a un réceptacle à 2 broches, c'est la responsabilité du propriétaire de le faire remplacer par un réceptacle à 3 broches correctement mise à la terre par un électricien agréé.

text_image
Assurez-vous au préalable qu'une mise à la terre existe bien etINFORMATIONS DE BRANCHEMENT ÉLECTRIQUE POUR LES SÉCHEUSES À GAZ (suite)
- La sécheuse doit être mise à la terre conformément aux codes locaux et ordonnances, ou, en l'absence de tels codes, à la dernière édition du Code National Electrique, ANSI / NFPA NO. 70 ou du Code canadien de l'électricité, CSA C22.1. Vérifiez auprès d'un électricien agréé si vous n'êtes pas sûr que la sécheuse est correctement mise à la terre.
INSTRUCTIONS DE MISE À LA TERRE
Cette sécheuse doit être mise à la terre. Dans l'éventualité d'un malfonctionnement ou d'une panne, la mise à la terre réduit le risque de choc électrique en procurant un circuit de moindre résistance au courant électrique. Cette sécheuse utilise un cordon doté d'un conducteur de mise à la terre de l'appareillage et d'une fiche de mise à la terre. La fiche doit être branchée dans une prise compatible correctement installée et mise à la terre conformément à tous les codes et règlements en vigueur.

AVERTISSEMENT
Une connexion incorrecte du conducteur de mise à la
terre de l'appareillage peut poser un risque de choc électrique. Consultez un électricien ou réparateur qualifié si vous doutez que l'appareil soit correctement mis à la terre. NE modifiez PAS la fiche du cordon d'alimentation. Si elle ne s'insère pas dans la prise, demandez à un électricien agréé de poser une prise appropriée.
CONSERVEZ CES INSTRUCTIONS
- Si les codes locaux l'exigent, vous pouvez ajouter un fil en cuivre externe de mise à la terre de calibre 18 ou plus. Fixez ce fil à l'arrière du cabinet de la sécheuse avec une vis de tôle # 8-18 x ½ " (disponible à toute quincaillerie) tel qu'illustré.

text_image
Vis de mise à la terreRACCORDEMENT D'UNE SÉCHEUSE ÉLECTRIQUE (non applicable aux sécheuses à gaz)
OUTILS NÉCESSAIRES
□ Pince à joint coulissant

□Tournevis à tête plate

□ Tournevis cruciforme

Niveau

MATÉRIEL NÉCESSAIRE
□Coude métallique 4 po diamètre

☐ Réducteur de tension 3/4 po (UL)

Colliers de conduit 4 po (2) ou brides à ressort 4 po (2)


□ Lunettes de protection

□Tuyau métallique 4 po de diamètre (recommandé)

□Tuyau métallique souple 4 po de diamètre (si nécessaire)

□Gants

□ L'event d'évacuation

□ Ruban adhésif

☐ Cordon d'alimentation de la sécheuse (non livré avec l'appareil) Conforme à la norme UL 120/240 V, 30 A avec 3 ou 4 broches. Identifiez le type de fiche selon la prise murale de votre domicile avant d'acheter le cordon

☐ Plaque de couverture de 4 pouces (Kit WE49X22606)

Avant d'effectuer le branchement électrique, déclenchez le disjoncteur ou enlevez le fusible de la sécheuse au panneau de distribution électrique. Assurez-vous que le cordon d'alimentation de la sécheuse est débranché de la prise murale. NE LAISSEZ JAMAIS LE CAPOT DE LA PLAQUE À BORNES ENLEVÉ.

Pour les branchements électriques utilisant un cordon d'alimentation :

AVERTISSEMENT

- Risque d'incendie
Utilisez un cordon d'alimentation de 240 V 30 ampères homologué UL pour sécheuse avec cosses à anneau fermées ou cosses fermées aux extrémités renversées.
Utilisez un réducteur de tension homologué UL.
Débranchez l'alimentation avant d'effectuer des connexions électriques.
Connectez le fil neutre (le fil blanc ou central) sur la borne centrale.
Le fil de terre (fil vert ou à nu) doit être branché à un connecteur de terre vert.
Connectez les deux autres fils d'alimentation sur les deux bornes correspondantes.
Serrez fermement toutes les connexions électriques. Replacez le couvercle du bloc des bornes.
L'omission de prendre ces précautions peut provoquer la mort, l'explosion ou l'incendie.
INSTRUCTIONS DE MISE À LA TERRE
Pour une sécheuse branchée par cordon mis à la
terre : Cette sécheuse doit être mise à la terre. Dans l'éventualité d'un malfonctionnement ou d'une panne, la mise à la terre réduit le risque de choc électrique en procurant un circuit de moindre résistance au courant électrique. Cette sécheuse utilise un cordon doté d'un conducteur de mise à la terre de l'appareillage et d'une fiche de mise à la terre. La fiche doit être branchée dans une prise compatible correctement installée et mise à la terre conformément à tous les codes et règlements en vigueur.

AVERTISSEMENT
Une connexion incorrecte du conducteur de mise
à la terre de l'appareillage peut poser un risque de choc électrique. Consultez un électricien ou réparateur qualifié si vous doutez que l'appareil soit correctement mis à la terre. NE modifiez PAS la fiche du cordon d'alimentation. Si elle ne s'insère pas dans la prise, demandez à un électricien agréé de poser une prise appropriée.
CONSERVEZ CES INSTRUCTIONS
RENSEIGNEMENTS SUR LES RACCORDS ÉLECTRIQUES POUR SÉCHEUSES ÉLECTRIQUES
Pour les connexions de fil directes :

AVERTISSEMENT

- Risque d'incendie
Utilisez un fil de cuivre de calibre 10.
Utilisez un réducteur de tension homologué UL.
Débranchez l'alimentation avant d'effectuer des connexions électriques.
Connectez le fil neutre (le fil blanc ou central) sur la borne centrale.
Le fil de terre (fil vert ou à nu) doit être branché à un connecteur de terre vert.
Connectez les deux autres fils d'alimentation sur les deux bornes correspondantes.
Serrez fermement toutes les connexions électriques.
Replacez le couvercle du bloc des bornes.
L'omission de prendre ces précautions peut provoquer la mort, l'explosion ou l'incendie.
INSTRUCTIONS DE MISE À LA TERRE
Pour une sécheuse à branchement permanent :
Cette sécheuse doit être connectée à du métal mis à la terre ou à un système de câblage permanent ; ou encore un conducteur de mise à la terre de l'appareillage doit être acheminé avec les conducteurs du circuit et connecté à une borne de mise à la terre de l'appareillage sur l'appareil.

AVERTISSEMENT
Une connexion incorrecte du conducteur de mise
à la terre de l'appareillage peut poser un risque de choc électrique. Consultez un électricien ou réparateur qualifié si vous doutez que l'appareil soit correctement mis à la terre.
CONSERVEZ CES INSTRUCTIONS
RACCORDEMENT D'UNE SÉCHEUSE ÉLECTRIQUE (suite)
BRANCHEMENT DE LA SÉCHEUSE À L'AIDE D'UN CÂBLE À 4 FILS (À UTILISER POUR L'INSTALLATION DANS UNE MAISON MOBILE)
REMARQUE: Depuis le 1er janvier 1996, le Code national de l'électricité impose aux nouvelles constructions d'utiliser un raccordement à 4 fils pour une sécheuse électrique. Un cordon à 4 fils doit aussi être utilisé lorsque les normes locales n'autorisent pas une mise à la terre via le neutre. Un raccordement à 3 fils NE doit PAS être utilisé dans une nouvelle construction.

text_image
Retirez et jetez la languette de mise à la terre. Conservez la vis de mise à la terre verte Vis Vis Neutre (blanc) Couvercle Fil sous tension Reinstallez la vis de mise à la terre verte à cet endroit Fil vert Support du réducteur de tension Fil sous tension Réducteur de tension 3/4 po (UL) 4 conducteurs en cuivre N° 10 minimum ou cordon d'alimentation de 120/240 V 30 A pour sécheuse muni de cosse ouvertes ou à anneau (non fourni)- Déclenchez le(s) disjoncteurs(s) ou retirez le(s) fusible(s) du circuit du tableau électrique.
- Assurez-vous que le cordon de la sécheuse est débranché de la prise murale.
- Retirez le couvercle du cordon d'alimentation situé à l'arrière.
- Retirez et jetez la languette de mis à la terre. Conserver la vis verte de mise à la terre pour l'étape 7.
- Insérez un réducteur de tension conforme UL 3/4 po dans le trou d'entrée du cordon. Faites passer le cordon d'alimentation dans le réducteur de tension.
- Connectez le cordon d'alimentation comme suit :
A. Connectez les 2 fils sous tension aux vis extérieures de la plaque à bornes (L1 et L2).
B. Connectez le fil neutre (blanc) au centre de la plaque à bornes (N).
- Branchez le fil de terre du cordon à la vis verte de mise à la terre (trou placé au-dessus du support du réducteur de tension). Serrez toutes les vis de la plaque à bornes (3) fermement.
- Fixez le cordon d'alimentation dans le réducteur de tension.
- Réinstallez le couvercle.
NE LAISSEZ JAMAIS LE COUVERCLE ENLEVÉ DE LA PLAQUE À BORNES.
RACCORDEMENT DE LA SÉCHEUSE À L'AIDE D'UN CÂBLE À 3 FILS

text_image
Faites installer, si le code local l'exige, une mise à la terre externe (non fournie) sur un tuyau d'eau froide métallique mis à la terre ou toute autre mise à la terre par un électricien qualifié. Vis verte de mise à la terre Languette de mise à la terre Vis (1) Fil sous tension Vis (2) Fil sous tension Neutre (blanc) Réducteur de tension 3/4 po (UL) Couvercle 3 conducteurs en cuivre N° 10 minimum ou cordon d'alimentation de 120/240 V 30 A pour sécheuse muni de cosses ouvertes ou à anneau (non fourni)Connexion à 3 fils
Ne peut pas être utilisée au Canada.
Ne peut pas être utilisée dans une maison mobile.
Ne peut pas être utilisée dans les nouvelles constructions. Ne peut pas être utilisée dans les véhicules récréatifs.
Ne peut pas être utilisée dans les régions où les codes locaux interdisent la mise à la terre par le biais du câble neutre.
- Déclenchez le(s) disjoncteurs(s) ou retirez le(s) fusible(s) du circuit du tableau électrique.
- Assurez-vous que le cordon de la sécheuse est débranché de la prise murale.
- Retirez le couvercle du cordon d'alimentation situé à l'arrière.
- Insérez un réducteur de tension conforme UL 3/4 po dans le trou d'entrée du cordon. Faites passer le cordon d'alimentation dans le réducteur de tension.
- Connectez le cordon d'alimentation comme suit :
A. Connectez les 2 fils sous tension aux vis extérieures de la plaque à bornes (L1 et L2).
B. Connectez le fil neutre (blanc) au centre de la plaque à bornes (N).
- Veillez à ce que la languette de mise à la terre soit connectée à la borne neutre (centre) de la plaque à bornes et à la vis verte de mise à la terre sur le boîtier. Serrez toutes les vis de la plaque à bornes (3) fermement.
- Fixez le cordon d'alimentation dans le réducteur de tension.
- Réinstallez le couvercle.
NE LAISSEZ JAMAIS LE COUVERCLE ENLEVÉ DE LA PLAQUE À BORNES.
ÉVACUATION DE LA SÉCHEUSE

AVERTISSEMENT

Risque d'incendie
L'air de la sécheuse DOIT être évacué vers l'extérieur. Utilisez seulement des tuyaux métalliques rigides de 10,2 cm (4 po) pour le conduit d'évacuation du domicile. Utilisez seulement des tuyaux métalliques rigides de 10,2 cm (4 po) ou des conduits de transition pour sécheuse homologués UL pour brancher la sécheuse au conduit d'évacuation du domicile.
N'employez PAS un évent en plastique.
Ne dirigez PAS l'évacuation dans une cheminée, la hotte de cuisine, un évent à gaz, un mur, un plafond, un comble, un vide sanitaire ou un espace dissimulé d'un bâtiment.
N'installez PAS un grillage dans ou par-dessus le conduit d'échappement.
N'installez PAS un ventilateur d'appoint dans le tuyau de ventilation.
N'utilisez PAS un conduit dont la longueur dépasse celle spécifiée dans le tableau des longueurs d'échappement.
L'omission d'observer ces directives peut entraîner le décès ou l'incendie.
PIÈCES DISPONIBLES DE GEAPPLIANCES.COM OU D'ENTREPRISES DE SERVICES LOCAUX
PM8X85
Hotte extérieure de ventilation
PM08X10085
Conduit de transition flexible en métal de 8 pieds, à 2 pinces, pour sécheuses
WX08X10130
Pince de serrage pour conduits de 4 pouces pour sécheuses
WE49X22606
Couvercle pour l'ouverture arrière d'échappement, pour des sécheuses ventilées par les côtés ou par le bas.
LISTE DE VÉRIFICATION DU SYSTÈME D'ÉVACUATION
ÉVENT MURAL
- Terminez le conduit de façon à éviter les retours d'air ou l'entrée d'oiseaux ou d'autres animaux.
- La terminaison doit présenter une résistance minimale au flux d'air évacué et nécessiter peu ou pas de maintenance pour empêcher les obstructions.
- Les évents muraux doivent être installés à au moins 30,5 cm (12 po) au-dessus du niveau du sol ou toute autre obstruction avec l'ouverture dirigée vers le bas.
- Ne montez pas le conduit avec de la visserie qui le pénètre. Cette visserie peut accumuler de la charpie qui constitue un risque d'incendie.
SÉPARATIONS DES COUDES
- Pour de meilleures performances, séparez tous les coudes par un conduit droit d'au moins 1,2 m (4 pieds), y compris sur la distance entre le dernier coude et le couvert du tuyau d'échappement.
ÉTANCHÉITÉ DES JOINTS
- Tous les joints doivent être serrés pour éviter les fuites. L'extrémité mâle de chaque section du conduit doit être dirigée vers l'extérieur par rapport à la sécheuse.
- Les joints de conduit doivent être étanches à l'air et à la poussière, recouverts de ruban de toile ou en aluminium.
- N'assemblez pas les conduits avec des fixations qui pénètrent dans le conduit. Elles serviraient de point de collecte pour la charpie.
- Les conduits horizontaux doivent être inclinés vers l'extérieur de 6 mm (1/4 po) par pied de longueur.
- Prévoyez libre un accès pour l'inspection et le nettoyage du système d'évacuation, notamment pour les coudes. Inspectez et nettoyez le système au moins une fois par an.
ISOLATION
- Les conduits qui traversent une zone non chauffée ou situés à proximité d'un climatiseur doivent être isolés pour réduire la condensation et la création de charpie.
OUTILS ET MATÉRIEL NÉCESSAIRES À L'INSTALLATION DU CONDUIT D'ÉVACUATION

□ Tournevis cruciforme
Ruban de
toile ou colliers
pour conduit


☐ Percez à l'aide d'un foret de 1/8 po (pour évacuation par le dessous)

☐ Conduit métallique rigide ou souple homologué UL de 10,2 cm (4 po)

□ Scie à métaux

□ Évent d'évacuation
ÉVACUATION DE LA SÉCHEUSE (suite)
BRANCHEMENT DE LA SÉCHEUSE À L'ÉVENT DU DOMICILE
CONDUIT DE TRANSITION EN MÉTAL RIGIDE
- Pour une meilleure efficacité de séchage, un conduit de transition en métal rigide est recommandé.
- Les conduits de transition en métal rigide réduisent le risque d'écrasement et de pliure.
CONDUIT DE TRANSITION EN MÉTAL FLEXIBLE (SEMI-RIGIDE) HOMOLOGUÉ UL
- Si un conduit métallique rigide ne peut être utilisé, alors un conduit métallique flexible semi-rigide homologué UL peut être employé (ensemble PM08X10085).
- N'installez jamais un conduit métallique flexible dans des murs, des plafonds, des planchers ou d'autres espaces restreints.
- La longueur totale du conduit métallique flexible ne doit pas dépasser 2,4 m (7 pi 9 po).
- Pour de nombreuses applications, l'installation de coudes aussi bien à la sécheuse qu'au mur est vivement recommandée (voir les illustrations à droite). Les coudes permettent à la sécheuse de reposer près du mur sans plier ni écraser le conduit de transition, optimisant ainsi l'efficacité du séchage.
- Évitez de faire reposer le conduit sur des objets coupants.
CONDUIT DE TRANSITION EN MÉTAL FLEXIBLE (TYPE EN FEUILLE) HOMOLOGUÉ UL
- Dans des installations spéciales, il peut être nécessaire de brancher la sécheuse à l'évent du domicile à l'aide d'un conduit métallique flexible (type en feuille). Un conduit métallique flexible (type en feuille) homologué UL peut être utilisé SEULEMENT dans des installations où les conduits métalliques rigides ou flexibles (semi-rigides) ne peuvent pas être employés ET où un diamètre de 10,2 cm (4 po) peut être conservé sur toute la longueur du conduit de transition.
- Au Canada et aux États-Unis, seuls les conduits métalliques flexibles (type en feuille) qui sont conformes à la norme 2158A « Outline for Clothes Dryer Transition Duct Subject » doivent être utilisés.
- N'installez jamais un conduit métallique flexible dans des murs, des plafonds, des planchers ou d'autres espaces restreints.
- La longueur totale du conduit métallique flexible ne doit pas dépasser 2,4 m (7 pi 9 po).
- Évitez de faire reposer le conduit sur des objets coupants.
- Pour une meilleure efficacité de séchage :
- Glissez une des extrémités du conduit par-dessus le conduit de sortie de la sécheuse.
- Fixez le conduit à l'aide d'une bride.
- Sécheuse dans sa position permanente, déployez le conduit à sa pleine longueur. Laissez un recouvrement de 5 cm (2 po) du conduit sur le conduit d'évacuation. Coupez et retirez la longueur de conduit en surplus. Gardez le conduit aussi droit que possible pour obtenir une circulation d'air maximale.
- Fixez le conduit sur le conduit d'évacuation à l'aide de l'autre bride.
POUR L'ÉVACUATION TRANSITOIRE (DE LA SÉCHEUSE AU MUR), FAITES:

• COUPEZ le conduit aussi court que possible et installez-le droit vers le mur.

- UTILISEZ des coudes lorsque des changements de direction sont nécessaires.
Coudes
NE FAITES PAS:

- N'ÉCRASEZ PAS ou ne pliez pas le conduit. Utilisez des coudes lorsque des changements de direction sont nécessaires.

- N'UTILISEZ PAS une longueur excessive de conduit. Coupez le conduit aussi court que possible.

• N'ÉCRASEZ PAS le conduit contre le mur.

• N'INSTALLEZ PAS la sécheuse sur le conduit.
LONGUEUR DU TUYAU D'ÉCHAPPEMENT
Utilisez des tuyaux d'échappement plus long que ce qui est spécifié aura comme conséquence :
- Augmentera les temps de séchage et les coûts d'énergie.
- Réduira la durée de vie de la sécheuse.
- Accumulation de la charpie, créant un danger potentiel de feu.
L'installation correcte du tuyau est VOTRE RESPONSABILITÉ.
Les problèmes causés par une mauvaise installation ne sont pas couverts par la garantie.
La longueur du système d'échappement MAXIMUM PERMISE dépend du type de conduits, du nombre de tours, du type de couvert de tuyau d'échappement (couvert mural) et de toutes les conditions mentionnées sur la carte.
- Les coudes intérieurs ajoutés pour les conversions d'évent latérales ou inférieures doivent être inclus dans le calcul total de coude.
- Tout coude dont l'angle est supérieur à 45° doit être considéré comme un coude de 90°.
- Deux coudes de 45^ devront être considérés comme un coude de 90^ .
- Pour la ventilation latérale, ajouter un coude de 90° au tableau.
- Lors du calcul de la longueur totale du système de ventilation, vous devez ajouter toutes les portions droites et coudes du système (y compris le conduit de transition).
LONGUEUR DU TUYAU D'ÉCHAPPEMENT
| LONGUEUR MAXIMUM RECOMMANDÉ | ||
| Types de couverts de tuyau d'échappement | ||
| Recommandé Utilisation pour des installations de courte durée | ||
4 po de être![]() | ![]() | |
| Nombre de Coudes à 90° | Métal Métal rigide rigide | |
| 0 90 pieds | 60 pieds | |
| 1 60 pieds | 45 pieds | |
| 2 45 pieds | 35 pieds | |
| 3 35 pieds | 25 pieds | |
| 4 25 pieds | 15 pieds | |
ÉVACUATION DE LA SÉCHEUSE (suite)
AVANT DE COMMENCER
Enlevez toute charpie de l'ouverture d'évacuation murale.

text_image
Ouverture du conduit interne Mur Vérifiez que le volet de l'évent mural s'ouvre et se ferme librement.ÉVACUATION ARRIÈRE STANDARD
Nous vous recommandons d'installer votre sécheuse avant d'installer votre laveuse. Cela permettra un accès direct pour faciliter le raccordement de l'évacuation.
Insérez l'extrémité du conduit d'évacuation sur le raccord arrière de la sécheuse et fixez-la avec du ruban de toile ou un collier de fixation.

text_image
ConduitREMARQUE: Nous vous recommandons fortement d'utiliser un conduit d'évacuation rigide et en métal. Si les conduits flexibles de métal sont installés, ils doivent être homologué UL, pas de plastique.
- Pour une installation droite, raccordez le conduit d'évacuation de la sécheuse au mur l'aide de ruban en toile.

text_image
Côté mur Ruban adhésif Côté sécheuseCONFIGURATION RECOMMANDÉE POUR MINIMISER UN BLOCAGE DU CONDUIT
L'utilisation de coudes empêchera les conduits de se déformer et de s'écraser.

text_image
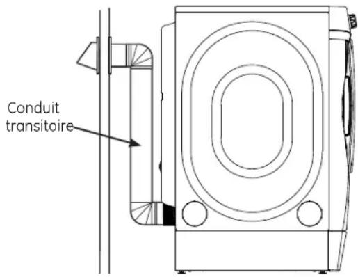
Conduit transitoireÉVACUATION LATÉRALE:
Orifice d'évacuation de la sécheuse sur la droite de la carrosserie sur les modèles fonctionnant à l'électricité uniquement.
Orifice d'évacuation de la sécheuse sur la gauche de la carrosserie sur les modèles fonctionnant au gaz et à l'électricité.

AVERTISSEMENT

- Risque d'incendie
Débranchez la sécheuse de l'alimentation électrique.
Portez des gants et des protège-bras.
Fermez l'ouverture arrière à l'aide de la plaque de recouvrement (ensemble WE49X22606).
L'omission de prendre ces précautions peut causer des incendie, chocs électriques ou des lacérations.

text_image
Droite (modèles électriques uniquement) Retirez la vis et mettez-la de côté Gauge Retirez la débouchure appropriée (une seule)Enlevez la débouchure droite (modèles électriques uniquement) ou gauche. Retirez la vis située à l'intérieur du tuyau d'évacuation de la sécheuse et conservez-la. Retirez le tuyau de la sécheuse.

text_image
Trou de fixation A 40,01 cm (15 x4 po)Coupez le tuyau comme indiqué et conservez la portion A.
EMPLACEMENT DE LA LANGUETTE

text_image
Pliez la languette à un angle de 45° Non applicable au gazÀ travers l'orifice arrière, repérez la languette au milieu de la base de l'appareil. Soulevez la languette à 45° à l'aide d'un tournevis à tête plate.
AJOUTER UN NOUVEAU CONDUIT

text_image
Trou de fixation Portion << A >> Évacuation côté droite (modèles électriques uniquement) ou gauche Droite GaugeRebranchez la portion découpée (A) du conduit au boîtier du ventilateur. Veillez à ce que le conduit raccourci soit aligné sur la languette dans la base. Utilisez la vis mise de côté précédemment pour fixer le conduit à la languette sur la base de l'appareil.
AJOUTER UN COUDE ET UN CONDUIT POUR L'ÉVACUATION SUR DE L'APPAREIL
- Introduisez le coude de 4 po dans l'orifice arrière et connectez le coude au tuyau interne de la sécheuse.

text_image
Tuyau interne Droite Évacuation côté droite (modèles électriques uniquement) ou gauche Gauche Orifice arrière- Introduisez le conduit de 4 po dans l'orifice latéral et connectez-le au coude.

text_image
Orifice latéralNe pas tirer ou endommager les fils électriques et ne pas retirer le couvert de vinyle des pièces électriques à l'intérieur de la sécheuse lors de l'insertion du conduit. Une légère interférence peut se produire entre l'évacuation et les composants de fil.
ÉVACUATION DE LA SÉCHEUSE (suite)
- Appliquez du ruban adhésif comme indiqué sur le joint entreletuyauinterne de la sécheuse et le coude, et également sur le joint entre le coude et le tuyau latéral.
Ruban adhésif

text_image
ban adhésifUtilisez un conduit métallique rigide de 10 cm uniquement à l'intérieur de la sécheuse. Les jonctions de canalisation interne doivent être bloquées avec un ruban adhésif, sinon elles peuvent se séparer et poser un danger pour la sécurité.
AJOUTER UNE PLAQUE D'OBTURATION À L'ARRIÈRE DE LA CARROSSERIE (ÉVACUATION LATÉRALE)

Connectez les coudes et les conduits métalliques pour terminer l'installation du système d'évacuation. Recouvrez l'orifice arrière d'une plaque (Ensemble WE49X22606) disponible auprès de votre fournisseur local. Placez la sécheuse à son emplacement final.
IL FAUT TOUJOURS LAISSER LA PLAQUE D'OBTURATION SUR L'ORIFICE À L'ARRIÈRE DE LA SÉCHEUSE. (Ensemble WE49X22606.)
ÉVACUATION PAR LE DESSOUS:
Orifice d'évacuation de la sécheuse par le dessous de la carrosserie sur les modèles fonctionnant au gaz et à l'électricité SANS Piédestal Encastré™.
AVERTISSEMENT

- Risque d'incendie
Fermez l'ouverture arrière à l'aide de la plaque de recouvrement (ensemble WE49X22606).
Débranchez la sécheuse de l'alimentation électrique.
Portez des gants et des protège-bras.
L'omission de prendre ces précautions peut causer des incendie, chocs électriques ou des lacérations.

text_image
Retirez la vis et mettez-la de côté Dessous Retirez la débouchure appropriée (une seule)Retirez la vis située à l'intérieur du tuyau d'évacuation de la sécheuse et conservez-la. Retirez le tuyau de la sécheuse. Enlevez la débouchure du dessous.

text_image
Trou de fixation A 40,01 cm (15 ¾ po)Coupez le tuyau comme indiqué et conservez la portion A.
Orifice d'évacuation de la sécheuse par le dessous de la carrosserie sur les modèles fonctionnant au gaz et à l'électricité.
AJOUTER UN NOUVEAU CONDUIT
- À travers l'orifice arrière, repérez la languette au milieu de la base de l'appareil. Soulevez la languette à 45° à l'aide d'un tournevis à tête plate.
- Rebranchez la portion découpée (A) du conduit au boîtier du ventilateur. Veillez à ce que le conduit raccourci soit aligné sur la languette dans la base. Utilisez la vis pour fixer le condu l'appareil.
- Introduisez le coude de 4 po dans l'orifice arrière et connectez le coude au tuyau interne de la sécheuse.

text_image
Pliez la languette à un angle de 45°
Prenez soin de ne pas tirer ou endommager les fils électriques placés à l'intérieur de la sécheuse lors de l'insertion du conduit.
- Appliquez du ruban adhésif comme indiqué sur le joint entre le tuyau interne de la sécheuse et le coude, et également sur le joint entre le coude et le tuyau du dessous.

text_image
Ruban adhésifLes joints du conduit interne doivent être fixés avec du ruban adhésif afin d'éviter qu'ils ne se détachent et que ceci n'entraîne un risque pour la sécurité.
AJOUTER UNE PLAQUE D'OBTURATION À L'ARRIÈRE DE LA CARROSSERIE (ÉVACUATION PAR LE DESSOUS)

Connectez les coudes et les conduits métalliques pour terminer l'installation du système d'évacuation. Recouvrez l'orifice arrière d'une plaque (Ensemble WE49X22606) disponible auprès de votre fournisseur local. Placez la sécheuse à son emplacement final.
IL FAUT TOUJOURS LAISSER LA PLAQUE D'OBTURATION SUR L'ORIFICE À L'ARRIÈRE DE LA SÉCHEUSE. (Ensemble WE49X22606.)
INSTALLATION FINALE
① METTEZ LA SÉCHEUSE DE NIVEAU
Placez la sécheuse à proximité de l'emplacement final. Réglez les quatre pattes de nivellement pour la mettre de niveau de gauche à droite, et de l'avant vers l'arrière.

text_image
Monter Baisser3 DÉMARRAGE DE LA SÉCHEUSE
Appuyez sur la touche Power (Alimentation).

REMARQUE: Si la sécheuse a été exposée à des températures inférieures au point de congélation pendant une période prolongée, laissez-la se réchauffer avant d'appuyer sur Power
(Alimentation). Sinon, l'écran ne s'allumera pas. La sécheuse est maintenant prête à l'emploi.
② BRANCHEZ LA SÉCHEUSE

Assurez-vous au préalable qu'une mise à la terre existe bien et qu'elle fonctionne correctement.
INVERSION DE L'OUVERTURE DE LA PORTE (optionnel)
REMARQUES IMPORTANTES
- Lisez l'ensemble des instructions avant de commencer.
- Manipulez les pièces avec soin afin d'éviter d'abîmer la peinture.
- Posez les vis à côté de leurs pièces respectives afin d'éviter de les utiliser aux mauvais endroits.
- Prévoyez une surface non abrasive pour les portes.
- La procédure d'inversion de l'ouverture de la porte dure de 30 à 60 minutes.
IMPORTANT: Après avoir commencé, ne déplacez pas la sécheuse avant que l'inversion de l'ouverture de la porte n'ait été effectuée.
Ces instructions permettent de transférer les charnières du côté droit vers le côté gauche. Si vous souhaitez les réinstaller du côté droit, veuillez suivre ces mêmes instructions et inversez toutes les références aux termes gauche et droite.
OUTILS NÉCESSAIRES
☐ #2 Tournevis cruciforme

☐ Tournevis torx T-25

☐ Tournevis à douille 1/4 po

PIÈCES DE LA PORTE

10 - #8 x 7/8" Vis (montage de la porte)

2 - Vis (prise de panneau) (sur certains modèles)

2 - #8 × 1/2" Vis (plaque de butée)

6 - #8 x 1/2" Vis (montage de charnière et espaceur poignée)

2 - #8 × 1/2" Vis (masque de porte)

2 - #10 x 5/8" Vis (charnière)

2 - #10 × 5/8" Vis (prise de panneau)

1 - #8 × 3/8" Vis (prise de panneau)

1 - La gâche de la porte (sur certains modèles)

1 - Masque de porte

1 - Couvercle de porte chromé

1 - Espaceur de poignée (sur certains modèles)

1 - 1 - Espaceur de poignée/ L'ensemble du loquet (sur certains modèles)

1 - Assemblage de porte intérieur

1 - Le bouchon de la porte (sur certains modèles)
AVANT DE COMMENCER
Débranchez la sécheuse de sa prise électrique.


INVERSION DE L'OUVERTURE DE LA PORTE (optionnel) (suite)
① ENLÈVEMENT DE LA PORTE
A. Ouvrez complètement la porte.
B. Enlevez 2 vis (#10 × 5/8 po) de la charnière, en commençant par celle les bas. La porte s'écartera du panneau frontal, mais finira par rester en place.

C. Soulevez la porte légèrement et décrochez-la du panneau frontal.
D. Placez la porte sur une surface molle et plane.
2A REPOSITIONNEMENT DE LA BUTÉE DE CHARNIÈRE ET DES COUVERCLES DE PANNEAU (sur certains modèles - voir l'étape 2B ci-dessous pour d'autres modèles)
IMPORTANT : Prenez note de la position de la charnière (gauche ou droite) avant l'enlèvement.
A. Enlevez 2 vis (#10 x 5/8 po) et les couvercles de panneau du panneau frontal.
B. Reposez les couvercles de panneau et les vis du côté opposé de l'ouverture de porte.
C. Enlevez 2 vis (#8 x 1/2 po) et la butée de charnière du panneau frontal.
D. Faites pivoter la butée de charnière de 180 degrés et reposez-la à l'aide des vis du côté opposé de l'ouverture de porte.

2B REPOSITIONNEMENT DE LA BUTÉE DE CHARNIÈRE (sur certains modèles - voir l'étape 2A ci-dessus pour d'autres modèles)
IMPORTANT : Prenez note de la position de la charnière (gauche ou droite) avant l'enlèvement.
A. Enlevez 2 vis (#10 x 5/8 po) d'en haut et d'en bas de la gâche de la porte.
b. Enlevez 2 vis (#8 x 1/2 po) du centre de la gâche de la porte et enlevez la gâche du paneau frontal.
C. Faites pivoter la butée de charnière de 180 degrés et reposez-la à l'aide des vis du côté opposé de l'ouverture de porte.

text_image
β φ₂·g
text_image
3.5 4.53 DÉMONTAGE DE LA PORTE
A. Placez la porte sur une surface molle et plane, cadre de porte intérieur dirigé vers le haut.
B. Enlevez 10 vis (#8 × 7/8 po) du périmètre du cadre de porte.
C. Séparez le cadre de porte intérieur du couvercle de porte chromé. Mettez le cadre de porte intérieur de côté sur une surface molle et plane.

A. Placez le couvercle de porte chromé sur une surface molle et plane de façon que le masque de porte soit dirigé vers le haut.
B. Enlevez 2 vis (#8 × 1/2 po) qui fixent le masque de porte.
C. Faites pivoter le masque de porte de 180 degrés et reposez les vis pour le fixer.

text_image
AVANT
D. Le repositionnement est terminé. Mettez le couvercle de porte chromé.
INVERSION DE L'OUVERTURE DE LA PORTE (optionnel) (suite)
5 REPOSITIONNEMENT DE L'ASSEMBLAGE CHARNIÈRE ET DE L'ESPACEUR DE POIGNÉE
A. Placez le cadre de porte intérieur sur une surface molle et plane de façon que le joint d'étanchéité de la porte intérieure soit dirigé vers le haut.
B. Enlevez 6 vis (#8 × 1/2 po) qui fixent l'assemblage charnière et l'espaceur de poignée.

C. Séparez l'assemblage charnière, Le bouchon de la porte (sur certains modèles), espaceur de poignée ou espaceur de poignée/L'ensemble du loquet (selon le modèle) de poignée du cadre de porte intérieur.

text_image
Le bouchon de la porte (sur certains modèles) Espaceur de poignée/ L'ensemble du loquet (sur certains modèles) ou Espaceur de poignée (sur certains modèles) Assemblage charnière⑤ REPOSITIONNEMENT DE L'ASSEMBLAGE CHARNIÈRE ET DE L'ESPACEUR DE POIGNÉE (suite)
D. Faites pivoter l'assemblage charnière de 180 degrés et repositionnez-le ainsi que le bouchon de la porte (dans certains modèles) du côté opposé du cadre de porte intérieur.
E. Faites pivoter l'espaceur de poignée o l'espaceur de poignée/L'ensemble du loquet (selon le modèle) de 180 degrés et repositionnez-le du côté opposé du cadre de porte intérieur.
Espaceur de poignée/L'ensemble du loquet (sur certains modèles)
Le bouchon de la porte (sur certains modèles)

text_image
certains modèles) o Espaceur de poignée (sur certains modèles) certains modèles) Assemblage charnièreF. Reposez les vis qui fixent l'assemblage charnière hinge et l'espaceur de poignée.

A. Placez le couvercle de porte chromé sur une surface molle et plane avec le couvercle de protection extérieur en plastique dirigé vers le bas.
B. Abaissez le cadre de porte intérieur sur le couvercle de porte chromé.
C. Assurez-vous que tous les trous de vis sont alignés et reposez 10 vis (#8 × 7/8 po).

A. Installez la porte en guidant la tête de la vis de l'axe de charnière par le trou de serrure du panneau frontal puis en abaissant la porte en place.
B. Ouvrez la porte sur environ 140 degrés pour donner accès aux trous de vis.
C. En commençant par la vis supérieure, reposez les 2 vis (#10 x 5/8 po) qui fixent la porte au panneau frontal.

A. Retirez la vis de l'axe de charnière du trou identifié « D ».

text_image
W DB. Reposez la vis de l'axe de charnière dans le trou identifié « W ».

text_image
W DCOMMENT SUPERPOSER LA SÉCHEUSE À LA LAVEUSE (optionnel)
AVANT DE COMMENCER
Lisez ces instructions entièrement et soigneusement.
- IMPORTANT – Conservez ces instructions pour l'inspecteur local.
- IMPORTANT – Observez tous les codes et les ordonnances en vigueur.
- Note à l'installateur – Assurez-vous de laisser ces instructions au consommateur.
- Note au consommateur – Conservez ces instructions à titre de référence.
- L'installation de la sécheuse doit être effectuée par un installateur qualifié.
- L'installateur est responsable de bien installer cet appareil.
- Coupez l'alimentation électrique avant de procéder à l'installation. Vous risquez de vous blesser gravement si vous ne le faites pas.

AVERTISSEMENT

- Risque lié au poids excessif
La participation de deux personnes ou plus est nécessaire pour installer la sécheuse.
L'omission de prendre cette précaution peut causer une blessure au dos ou à une autre partie du corps.
- Évitez le basculement et le débranchement des services publics. La sécheuse doit être correctement fixée à la laveuse. NE placez PAS la laveuse au dessus de la sécheuse. Vous risquez de vous blesser gravement, voire mortellement ou des dommages matériels si vous ne tenez pas compte de cette recommandation.
- Maison mobile ou préfabriquée Installation - La superposition d'une sécheuse au gaz dans une maison mobile ou préfabriquée n'est pas autorisée.
ENSEMBLE DE SUPERPOSITION GE APPLIANCES
Commandez en ligne sur www.electromenagersge.ca 24 heures sur 24, ou en téléphonant au 1-800.561.3344 durant les heures normales de bureau.
Numéro de pièce Accessoire
GEFLSTACK Ensemble complet de superposition
DÉGAGEMENTS MINIMUMS AUTRES QUE POUR UNE INSTALLATION ENCASTRÉE
Les dégagements minimums par rapport aux surfaces inflammables et pour l'orifice d'aération sont les suivants : 0 po des deux côtés, 25 mm (1 po) à l'arrière et 25 mm (1 po) haut. Veillez à prévoir des dégagements suffisants pour toute installation et réparation.
EXIGENCES RELATIVES À UNE INSTALLATION ENCASTRÉE

AVERTISSEMENT

- Risque d'explosion
Gardez les matières et les vapeurs inflammables telles que l'essence à distance de la sécheuse.
Placez la sécheuse à au moins 46 cm (18 po) au-dessus du sol dans le cas d'une installation dans un garage.
L'omission de prendre ces précautions peut provoquer la mort, l'explosion ou l'incendie.
• L'air de la sécheuse DOIT être évacué vers l'extérieur.
- L'espace minimum entre la sécheuse et les murs adjacents ou d'autres surfaces est le suivant: 0 mm (0 po) des deux côtés
2,54 mm (1 po) avant et arrière
2,54 mm (1 po) haut
- Il faut veiller à procurer le dégagement nécessaire à l'installation et aux interventions de service.
- Les portes du placard doivent être perforées ou bien ventilées et disposer d'au moins 387,1 cm² (60 pouces carrés) d'espace. Si le placard abrite une laveuse et une sécheuse, les portes doivent disposer de 774,2 cm² (120 pouces carrés) au minimum d'espace ouvert.
REMARQUE: SI LE TUYAU D'ÉVACUATION EST SITUÉ À L'ARRIÈRE DE LA SÉCHEUSE, LA CONFIGURATION DU TUYAU POURRAIT DEMANDER UNE DÉGAGEMENT EN ARRIÈRE PLUS GRANDE QUE 3 POUCES.
Sécheuses à gaz seulement.
- Aucun autre appareil alimenté au carburant ne doit être installé dans le même placard qu'une sécheuse à gaz.
- La sécheuse doit être débranchée de la conduite d'alimentation en gaz lors des essais de pression lorsque celle-ci est supérieure à ½ psi (3,5 kPa).
- Un connecteur obturé d'un minimum de 1/8 pouce NPT, accessible pour la connection de l'instrument de mesure, doit être posé tout juste en amont de la connection de l'alimentation en gaz de la sécheuse.
COMMENT SUPERPOSER LA SÉCHEUSE À LA LAVEUSE (optionnel) (suite)
CONTENU DE L'ENSEMBLE DE SUPERPOSITION GEFLSTACK (ACCESSOIRE EN OPTION)
REMARQUE : Les modèles avec un Piédestal Encastré™ ne peuvent pas être empilés.

□ Support gauche

□ 4 vis #12 × 1 po

□ Support droit

□ 4 vis #8 × 1/2 po

□ 4 cales en caoutchouc
OUTILS NÉCESSAIRES

□ Tournevis cruciforme

□ Gants

□ Clé à fourche

Niveau

□ Pince
COMMENT PRÉPARER L'INSTALLATION
Retirez l'emballage.
Aplatissez le carton pour l'utiliser comme cale pour coucher la sécheuse sur le côté. Utilisez le carton pour protéger également le sol en face de l'endroit choisi pour l'installation.
COMMENT INSTALLER L'ENSEMBLE DE SUPPORT DE SUPERPOSITION
1 COMMENT RETIRER LES PATTES DE NIVELLEMENT DE LA SÉCHEUSE
A. Posez avec précaution la sécheuse sur le côté. Utilisez le matériau d'emballage de manière à ne pas égratigner le fini de la sécheuse.

B. Utilisez une clé à fourche ou une pince pour retirer les pattes de la sécheuse.

text_image
Faites sortir et retirez les 4 pattes
Saisissez-vous des 4 cales en caoutchouc situées dans le paquet contenant toutes les pièces. Retirez la pellicule protectrice et collez les cales dans les coins où vous avez retiré les pattes de nivellement.

Placez les coussinets par-dessus tous les quatre supports de pattes de nivellement.
3 COMMENT INSTALLER LE SUPPORT SUR LA SÉCHEUSE
A. Alignez les trous du support gauche sur ceux situés dans le coin inférieur gauche de l'appareil. Utilisez un tournevis cruciforme pour installer les 2 vis taraudeuses #12 x 1 po.
B. Répétez l'étape ci-dessus avec le support droit sur le coin inférieur droit de la sécheuse.
C. Remettez la sécheuse debout.
REMARQUE: Veillez à placer la sécheuse sur une partie de l'emballage de sorte que les supports fixés au bas de la sécheuse n'endommagent pas le sol.

text_image
Bas de la sécheuse Posez les supports sur le bas de l'arrière.4 COMMENT INSTALLER LA SÉCHEUSE ET LE SUPPORT SUR LA LAVEUSE
A. Placez la sécheuse au-dessus de la laveuse. Prenez soin de ne pas égratigner le dessus de la laveuse avec les supports. Protégez le panneau de contrôle avec du carton ou tout autre protection. Prenez soin de soulever la sécheuse à une hauteur suffisante de manière à ne pas masquer le panneau de contrôle de la laveuse.
Deux personnes sont nécessaires pour soulever la sécheuse en raison de son poids et de sa taille. Vous risquez de vous blesser gravement, voire mortellement si vous ne tenez pas compte de cette recommandation.
4 COMMENT INSTALLER LA SÉCHEUSE ET LE SUPPORT SUR LA LAVEUSE (suite)
B. Alignez les trous du support sur ceux situés à l'arrière de la laveuse. À l'aide d'un tournevis cruciforme, vissez les 2 vis taraudeuses #8 x 1/2 po. Répétez l'opération pour les deux côtés de la laveuse.

text_image
Fixez les supports sur l'arrière de la laveuse.5 COMMENT TERMINER L'INSTALLATION
A. Reportez-vous aux consignes d'installation pour terminer l'installation de la laveuse.
B. Reportez-vous aux consignes d'installation pour terminer l'installation de la sécheuse.
C. Poussez avec précaution la laveuse et la sécheuse superposées à leur emplacement définitif. Utilisez des cales en feutre ou tout autre dispositif coulissant pour faciliter le déplacement et protéger le revêtement du sol.
Ne poussez pas sur la sécheuse lorsqu'elle est installée au-dessus de la laveuse. Si vous poussez sur la sécheuse, vous risquez de vous coincer vos doigts.

text_image
Placez vos mains ici Placez vos mains iciAvant d'appeler un réparateur...
Conseils de dépannage
Economisez du temps et de l'argent ! Consultez les tableaux sur les pages suivantes ou consultez ELECTROMENAGERSGE.CA. Vous n'aurez peut-être pas besoin d'appeler un technicien.
| Problème Causes possibles Correctifs | ||
| La sécheuse émet des secousses et des bruits | Le bruit/ou les secousses sont normaux. La sécheuse est peut-être placée sur une surface inégale | Placez l'appareil sur une surface plane, ou ajustez les pattes au besoin jusqu'à ce qu'il soit bien de niveau. |
| Le séchage est trop long | Des conduits inadéquats ou bouchés | Consultez les consignes d'installation afin de vous assurer que l'évacuation de l'air de la sécheuse est correcte.Veillez à ce que le conduit soit propre, non déformé et non bouché.Assurez-vous que l'évent mural extérieur fonctionne sans problème. |
| Tri erroné | Séparez les articles lourds des légers (en général un linge correctement trié dans la laveuse l'est aussi dans la sécheuse). | |
| Charges de tissus lourds (serviettes par exemple) | Les tissus lourds et de grande taille contiennent de l'humidité et tardent davantage à sécher. Répartissez les tissus lourds et de grande taille en de plus petites charges pour accélérer le séchage. | |
| Les commandes sont mal réglées | Réglez les commandes conformément à la charge que vous séchez. | |
| Le filtre à charpie est plein Nettoyez le filtre à charpie avant chaque utilisation. | ||
| Fusibles grillés ou disjoncteur déclenché | Remplacez les fusibles ou réenclenchez les disjoncteurs. La plupart des sécheuse étant équipées de 2 fusibles/disjoncteurs, assurez-vous que les deux fonctionnent. | |
| Surcharge/charges mixtes Ne mettez pas plusieurs charges dans la sécheuse à la fois. | ||
| Charge insuffisante Si vous ne séchéz qu'un ou deux articles, ajoutez d'autres vêtements afin d'obtenir un bon culbutage. | ||
| eDry est activé. | La fonction eDry est conçue pour faire fonctionner la sécheuse dans le mode le plus économe en énergie, ce qui est toujours le mode le plus rapide. Dans certains cas, le temps de séchage peut être prolongé pour réduire la consommation totale d'énergie pour le cycle. | |
| Le niveau de séchage Dry a été sélectionné mais le linge est toujours humide | La brassée est composée de vêtements lourds et légers | Lorsque vous mélangez les tissus lourds et légers, sélectionnez More Dry (Plus Sec). |
| Le système d'évacuation est bloqué | Inspectez et nettoyez-le. | |
| Les touches de commande ne répondent pas | Les commandes ont été accidentellement réglées au mode réparation | Appuyez sur Start/Pause (Mise en marche/pause). |
| Les commandes ont été accidentellement réglées au mode verrouillage | Maintenez la touche Lock Control (Verrouillage) enfoncée pendant 3 secondes pour déverrouiller la sécheuse. | |
| Les commandes fonctionnement mal | Réenclenchez le disjoncteur de votre domicile. | |
| La sécheuse ne démarre pas | Le panneau de contrôle est en « veille » | C'est normal. Appuyez sur Power (Alimentation) pour activer le panneau de contrôle. |
| La sécheuse est débranchée | Veillez à ce que la fiche de la sécheuse soit entièrement branchée dans la prise. | |
| Fusible grillé/disjoncteur déclenché | Vérifiez le fusible disjoncteur et remplacez le fusible ou réenclenchez le disjoncteur. REMARQUE : Les sécheuses électriques utilisent deux fusibles ou disjoncteurs. | |
| La sécheuse a été arrêtée par inadvertance au moment de régler la fonction Delay Dry (Mise en marche différée) | Si la lumière de la touche Start/Pause (Mise en marche/pause) clignote, la sécheuse est arrêtée. Appuyez sur Start/Pause (Mise en marche/pause) pour lancer le compte à rebours. | |
| Aucun chiffre n'apparaît pendant le cycle, il ne fait que s'allumer | La sécheuse évalue la quantité d'humidité du linge | C'est normal. Lorsque la sécheuse détectera un faible niveau d'humidité dans le linge, elle affichera le temps de séchage restant. |
| Problème Couses possibles Correctifs | ||
| Le temps restanta diminué | Le temps estimé risque de changer lorsqu'une charge plus petite est en train de sécher | C'est normal. |
| Impossible de procéder à une sélection et la sécheuse émet un double bip | L'option dryness Level (Niveau de séchage), Temp (Temperature) ou l'option que vous tentez de sélectionner est incompatible avec le cycle de séchage sélectionné | C'est normal. |
| La sécheuse fonctionne mais 00 est le temps restant affiché | L'option Extend Tumble (Culbutage prolongé) a été sélectionnée | C'est normal. Pendant un culbutage prolongé, le temps restant n'est pas affiché. L'option de culbutage prolongé dure environ 60 minutes. |
| Nettoyez le filtre (message) | Le bouton Power (Alimentation) a été activé | Appuyez sur Start/Pause (Mise en marche/pause) pour à charpie lancer un cycle de séchage et le message disparaîtra. |
| La sécheuse ne chauffe pas | Fusible grillé/disjoncteur déclenché, la sécheuse peut tourner mais ne chauffe pas | Vérifiez le fusible disjoncteur et remplacez le fusible ou réenclenchez le disjoncteur. Votre sécheuse peut tourner si un fusible est grillé ou un disjoncteur est déclenché. |
| L'alimentation de gaz est coupée (modèles à gaz seulement) | Assurez-vous que le robinet d'arrêt du gaz sur la sécheuse et que le robinet principal sont ouverts. | |
| Le réservoir de gaz propane est vide ou il y a eu une coupure de gaz naturel (modèles à gaz seulement) | Faites le plein ou remplacez le réservoir. La sécheuse chauffe lorsque l'alimentation en gaz est restaurée. | |
| Temps de séchage non uniformes | Type de chaleur | Le temps de séchage variera en fonction du type de chauffage utilisé. Si vous avez récemment remplacé votre sécheuse électrique par un modèle à gaz propane, ou vice-versa, le temps de séchage peut ne pas être le même. |
| Type de charge et conditions de séchage | La taille du linge, les types de tissus, l'humidité du linge et la longueur et l'état du système d'évacuation auront une influence sur le temps de séchage. | |
| Le linge est toujours humide et la sécheuse s'est arrêtée après quelques instants | La porte a été ouverte au milieu du cycle. Le linge a été ensuite retiré de la sécheuse et une nouvelle charge introduite sans sélectionner un nouveau cycle | Un cycle de séchage doit être sélectionné chaque fois qu'une nouvelle brassée est placée dans l'appareil. |
| Charge petite | Si vous séchez 3 articles au plus, sélectionnez Speed Dry (Séchage rapide) ou Time Dry (Séchage minuté). | |
| Le linge est déjà sec à l'exception des cols et les ceintures | Sélectionner Speed Dry (Séchage rapide) ou Time Dry (Séchage minuté) pour sécher des cols et des ceintures. À l'avenir, lorsque vous séchez des articles possédant des cols et des ceintures, sélectionnez plutôt More Dry (Plus Sec). | |
| La sécheuse n'est pas placée sur une surface plane | Placez l'appareil sur une surface plane, ou ajustez les pattes au besoin jusqu'à ce qu'il soit bien de niveau. | |
| Le linge est froissé | Séchage excessif Sélectionnez un temps de séchage plus court.Retirez du linge pendant qu'il est encore légèrement humide. Sélectionnez les options Less Dry (Moins sec) ou Damp (Humide). | |
| Linge laissé dans la sécheuse alors que le cycle est fini Surcharge | Retirez le linge une fois le cycle terminé, pliez et suspendez-le immédiatement, ou utilisez l'option Ext Tumble (Culbutage Prolongé).Répartissez les tissus lourds et de grande taille en de plus petites charges. | |
Avant d'appeler un réparateur...
| Problème Causes possibles Correctifs | ||
| Le linge a rétréci Certains tissus rétréciront naturellement au lavage. D'autres peuvent être lavés sans problème, mais rétréciront dans la sécheuse | Afin d'éviter tout rétrécissement, suivez les indications figurant sur les étiquettes des vêtements.Certains vêtements doivent être étirés après le séchage afin qu'ils retrouvent leur forme d'origine.Si vous avez peur qu'un vêtement rétrécisse, ne le lavez pas à la machine ou ne le séchez pas dans la sécheuse. | |
| Des tâches de gras sur le linge | Une utilisation inadéquate de l'assouplissant | Suivez le mode d'emploi figurant sur l'emballage de l'assouplissant. |
| Séchage de linge propre avec du linge sale | Utilisez votre sécheuse pour ne sécher que du linge propre. Le linge sale risque de tacher le linge propre et la sécheuse. | |
| Le linge n'était pas complètement propre | Il arrive parfois que des taches ne soient pas visibles lorsque le linge est humide et apparaissent après le séchage. Utilisez des procédures de lavage adéquates avant le séchage. | |
| De la charpie sur le linge | Le filtre à charpie est plein Nettoyez le filtre à charpie avant chaque utilisation. | |
| Tri erroné Triez les tissus producteurs de charpie (chenille par exemple) des tissus collecteurs de charpie (le velours côté par exemple). | ||
| L'électricité statique peut attirer la charpie | Se reporter aux suggestions de la sectionÉlectricité statique. | |
| Surcharge Répartissez les tissus lourds et de grande taille en de plus petites charges. | ||
| Papier, mouchoir, etc., oubliés dans les poches | Videz toutes les poches avant de laver le linge. | |
| Électricité statique | Aucun assouplissant n'a été utilisé | Essayez un assouplissant.Les feuilles d'assouplissant textile de marque BounceMD ont été approuvées pour toutes les sécheuses GE Appliances lorsqu'elles sont utilisées conformément aux instructions du fabricant. |
| Séchage excessif Essayez un assouplissant.Réglez l'optionLess Dry(Moins Sec) ouDamp(Humide). | ||
| Les synthétiques, les mélanges et les infroissables peuvent provoquer de l'électricité statique | Essayez un assouplissant. | |
| Les cols et les ceintures sont toujours humides à la fin du cycle | Le capteur d'humidité détecte que la majeure partie du linge est sèche | SélectionnezSpeed Dry(Séchage rapide) ouTime Dry(Séchage minuté) pour sécher les cols et les ceintures humides. À l'avenir, lorsque vous séchez des articles possédant des cols et des ceintures, sélectionnez plutôtMore Dry(Plus Sec). |
| Légère variation de la couleur métallique | C'est normalEn raison des propriétés métalliques de la peinture utilisée pour ce produit, de légères variations de couleur peuvent se produire en raison des conditions d'éclairage et des angles d'observation. | |
| La porte est trop embuée pour apercevoir les vêtements durant un cycle vapeur | La vapeur se condense sur la porte intérieure | C'est normal. |
| L'eau visible à l'intérieur de la porte et sur le haut du filtre à charpie lors de l'ouverture de la porte après un cycle vapeur | La vapeur se condense sur ces surfaces | C'est normal. |
| De petites zones des vêtements sont humides après le programme de vapeur | La vapeur se condense sur le tambour intérieur | Si vous utilisez le programmeSteam Dewrinkle(Défroissage à la vapeur), réduisez manuellement la durée du programme. Si vous utilisez le programmeSteam Refresh(Rafraîchissement à la vapeur), ajoutez des vêtements à la charge. |
| Petite quantité d'eau sur le plancher devant la sécheuse | Charge inadéquate pour le programme de vapeur sélectionné, l'excédent de vapeur se condense et fuit | Si vous utilisez le programmeSteam Dewrinkle(Défroissage à la vapeur), réduisez manuellement la durée du programme. Si vous utilisez le programmeSteam Refresh(Rafraîchissement à la vapeur), ajoutez d'autres vêtements à la charge. |
| De l'eau sur le plancher, derrière la sécheuse | Une connexion du tuyau d'eau à la valve n'est pas assez serrée | Resserrez la connexion. |
| Une rondelle de caoutchouc du boyau est manquante sur la connexion avec la valve | Installez la rondelle de caoutchouc fournie avec le boyau. | |
| La sécheuse émet des bruits d'eau | La valve d'eau est ouverte, bruits d'eau remplissant le générateur de vapeur | C'est normal. |
| Le générateur de vapeur émet de la vapeur dans le tambour | C'est normal. | |
| De l'eau dégouline de la porte lorsque cette dernière est ouverte après un Cycle Vapeur | La vapeur se condense sur la porte intérieure | C'est normal. |
| Ne peut voir la vapeur au début du cycle | La vapeur est relâchée à différents moments durant le cycle | C'est normal. |
| Impossible de voir de la vapeur n'importe quand pendant le cycle | Le bec vapeur peut être bouché de débris de l'arrivée d'eau. | Appelez 1-800.561.3344pour commander le nécessaire de rechange de bec WE25M71ou pour demander à un technicien de le remplacer pour vous. |
| Les vêtements sont encore froissés après un cycle vapeur | Trop de vêtements Insérez moins de vêtements ; augmentez manuellement la durée du cycle. | |
| La sécheuse continue à fonctionner après que l'affichage indique que le programme est terminé | L'option de culbutage prolongé a été sélectionnée | Assurez-vous que l'optionExt Tumble(Culbutage prolongé) n'a pas été sélectionnée. Pour le programmeSteam Refresh(Rafraîchissement à la, vapeur),Ext Tumble(Culbutage prolongé) sera automatiquement mis en marche et ne pourra être arrêté. |
Garantie de la sécheuse GE Appliances. (Pour des clients au Canada)

Tout le service sous garantie est fourni par nos Centres de service ou par un technicien autorisé.
Pour le service, appelez le 1.800.561.3344.
Veuillez fournir le numéro de série et le numéro de modèle lorsque vous appelez pour obtenir le service.
Pour le diagnostic, la réparation de votre appareil peut nécessiter l'utilisation du port de données embarqué. Celui-ci permet au technicien de réparation GE Appliances de diagnostiquer rapidement des problèmes avec votre appareil. Il permet également à GE Appliances d'améliorer ses produits en fournissant à ces derniers des informations sur votre appareil. Si vous ne voulez pas que les données de votre appareil soient envoyées à GE Appliances, veuillez demander à votre technicien de NE PAS soumettre les données à GE Appliances pendant la réparation.
Pour une période de: Nous remplacerons:
Un an
À partir de la date d'achat d'origine la pièce défectueuse.
Toute pièce de la sécheuse qui se révèle défectueuse en raison d'un vice de matériaux ou de fabrication. Pendant cette garantie limitée de un an, GE Appliances prendra en charge également, gratuitement, tous les frais de main-d'œuvre et les frais connexes de service pour remplacer
Ce qui n'est pas couvert:
■ Les frais de déplacements à votre maison pour vous apprendre à utiliser votre produit.
■ Une mauvaise installation, livraison ou entretien.
■ Une panne du produit si celui-ci est maltraité, mal utilisé ou utilisé à des fins autres que celles auxquelles il est destiné, ou utilisé commercialement.
■ Remplacement de l'ampoule lumineuse après sa durée de vie utile prévue.
■ Le remplacement de fusibles de la maison ou le réenclenchement des disjoncteurs.
■ Des dommages au produit causés par un accident, un incendie, une inondation ou une catastrophe naturelle.
■ Tout dommage indirect ou consécutif causé par des pannes possibles de cet appareil électroménager.
■ Des dommages après la livraison.
■ Le service s'il est impossible d'avoir accès au produit pour l'effectuer.
■ Défauts ou dommages causés par l'utilisation aux températures en-dessous de zéro C.
■ Produits qui ne sont pas défectueux ou endommagés ou qui fonctionnent tel que décrit dans le manuel de l'utilisateur.
EXCLUSION DE GARANTIES IMPLICITES – Votre seul et unique recours est la réparation du produit selon les dispositions de cette Garantie limitée. Toutes les garanties implicites, incluant les garanties de qualité marchande et de convenance, sont limitées à une année ou à la période la plus courte autorisée par la législation.
Cette garantie est offerte à l'acheteur original et à tout autre propriétaire suivant pour les produits achetés au Canada pour une utilisation domestique au Canada. Le service à domicile en vertu de la garantie sera fourni dans les régions où il est disponible et où Mabe estime raisonnable de le fournir.
LE GARANT N'EST PAS RESPONSABLE DES DOMMAGES INDIRECTS.
Soutien au consommateur.

Site Web appareils GE Appliances
Aux É.-U.: GEAppliances.com
Vous avez une question ou vous avez besoin d'aide pour votre appareil électroménager? Visitez notre site Web consacré aux appareils électroménagers GE Appliances, et ce 24 heures par jour, tous les jours de l'année! Pour des raisons de commodité et pour accélérer le service, vous pouvez maintenant télécharger les manuels du propriétaire, commander des pièces et même programmer les visites de service en ligne. Au Canada: www.GEAppliances.ca

Service de réparation
Aux É.-U.: GEAppliances.com
Un service de réparation expert GE Appliances se trouve à quelques pas de chez vous. Visitez notre site et programmez, à votre convenance, une visite de service à n'importe quel jour de l'année! Ou composez le GE Appliances 800.GE.CARES (800.432.2737) durant les heures normales de bureau.
Au Canada, composez le 1.800.561.3344

Studio de conception universel
Aux É.-U.: GEAppliances.com
GE Appliances appuie le concept de design universel—des produits, des services et des environnements qui peuvent être utilisés par des personnes de tous âges, tailles et capacités. Nous reconnaissons le besoin de concevoir des produits pour un vaste éventail d'aptitudes et déficiencies mentales et physiques. Visitez notre site Web aujourd'hui pour obtenir plus de renseignements sur l'application du design universel par GE Appliances, y compris des conceptions de cuisine pour les personnes handicapées. Dans le cas de personnes malentendantes, veuillez composer le 800.TDD.GEAC (800.833.4322).
Achetez un contrat d'entretien GE Appliances et informez-vous des rabais spéciaux en vigueur pendant toute la durée de votre garantie. Vous pouvez vous le procurer en ligne ou en composant 800.626.2224 durant les heures normales de bureau. Les services à domicile GE Appliances seront toujours disponibles après l'expiration de la garantie. Au Canada, composez le 1.800.290.9029

Pièces et accessoires
Aux É.-U.: GEApplianceparts.com
Les personnes ayant les compétences requises pour réparer elles-mêmes leurs appareils peuvent recevoir directement à la maison des pièces ou accessoires (les cartes VISA, MasterCard et Discover sont acceptées). Commandez en ligne dès aujourd'hui, 24 heures sur 24 tous les jours, ou en téléphonant au 800.626.2002 durant les heures normales de bureau.
Les instructions contenues dans le présent manuel comportent des procédures que tout utilisateur peut effectuer. Les autres types de réparation doivent généralement être confiés à un technicien qualifié. Usez de prudence: une réparation ou un entretien mal effectués peuvent rendre l'utilisation de l'appareil dangereuse.
Les consommateurs au Canada doivent consulter les pages jaunes pour connaître le centre de service Mabe le plus proche, ou composer le 1.800.661.1616.

Communiquez avec nous
Aux É.-U.: GEAppliances.com
Si vous n'êtes pas satisfait du service après-vente de GE Appliances, communiquez avec nous sur notre site Web en fournissant tous les détails et votre numéro de téléphone, ou écrivez à : General Manager, Customer Relations
Au Canada: www.GEAppliances.ca, ou écrivez à : Director, Consumer Relations, MC
Commercial
Suite 310, 1 Factory Lane
Moncton, N.B. E1C 9M3

Enregistrez votre électroménager
Aux É.-U.: GEAppliances.com
Enregistrez votre nouvel appareil en ligne au moment qui vous convient le mieux! L'enregistrement de votre produit dans les délais prescrits permet une meilleure communication et un service rapide, selon les modalités de votre garantie, si besoin est. Vous pouvez également envoyer par courrier la carte d'enregistrement pré-imprimée qui se trouve dans l'emballage de votre appareil. Au Canada: www.GEAppliances.ca
SECADORAS
INSTRUCCIONES
DE SEGURIDAD....4
Réglage des contrôles.
Notice Facile
4 po de être
