DW126FI - Lave-vaisselle PKM - Notice d'utilisation et mode d'emploi gratuit
Retrouvez gratuitement la notice de l'appareil DW126FI PKM au format PDF.
| Caractéristiques | Détails |
|---|---|
| Type de produit | Lave-vaisselle encastrable |
| Capacité | 12 couverts |
| Classe énergétique | A+ |
| Niveau sonore | 49 dB |
| Programmes de lavage | 5 programmes (Eco, Intensif, Rapide, Prélavage, Normal) |
| Température de lavage | De 45°C à 70°C |
| Fonction départ différé | Oui, jusqu'à 24 heures |
| Système de sécurité | Protection anti-débordement |
| Dimensions (L x P x H) | 60 x 55 x 82 cm |
| Poids | 38 kg |
| Consommation d'eau | 11 litres par cycle |
| Garantie | 2 ans |
FOIRE AUX QUESTIONS - DW126FI PKM
Questions des utilisateurs sur DW126FI PKM
0 question sur cet appareil. Repondez a celles que vous connaissez ou posez la votre.
Poser une nouvelle question sur cet appareil
Téléchargez la notice de votre Lave-vaisselle au format PDF gratuitement ! Retrouvez votre notice DW126FI - PKM et reprennez votre appareil électronique en main. Sur cette page sont publiés tous les documents nécessaires à l'utilisation de votre appareil DW126FI de la marque PKM.
MODE D'EMPLOI DW126FI PKM
Cher client! Nous tenons à vous remercier pour l'achat d'un produit de notre vaste gamme d'appareils électroménagers. Veuillez lire le mode d'emploi en entier avant d'utiliser l'appareil pour la première fois. Conservez le présent mode d'emploi dans un lieu sûr pour référence ultérieure. Si vous transmettez l'appareil à un tiers, remettez-lui aussi ce mode d'emploi.
Contenu
- Consignes de sécurité 92
1.1 Mentions d'advertisement 93 1.2 Instructions de sécurité 93
- Installation 98
2.1 Déballage et installation 99 2.2 Avant l'installation 99 2.3 L'espace minimal nécessaire pour ouvrir la porte 101 2.4 Dimensions et fixation du panneau de porte 101 2.5 Réglement de tension du ressort de la porte 102 2.6 Installation du tuyau d'aménagement d'eau 103 2.7 Installation du tuyau d'évacuation d'eau 104 2.8 Installation sur un niveau élevé 104 2.9 Connexion électrique. 105 2.10 Mise à niveau correctement effectuée 105 2.11 Installation de la plinthe 106 2.12 Fixer l'appareil 107 2.13 Fixation de la barre d'espacement 108
- Appareil / Panneau de commande 108
- Avant la première utilisation 109
4.1 Adoucisseur d'eau 110 4.1.1 Remplir le bac à adoucisseur d'eau 110 4.2 Remplir le réservoir à produit de rinceage 111 4.3 Produit de lavage 113
- Utilisation des paniers à vaisselle 115
5.1 Avant/après l'utilisation 115 5.2 Panier supérieur 115
5.3 Panier inférieur 116 5.4 Panier à couvert 116 5.5 Vaisselle / couverts inadaptés 117 5.6 Instructions pour charger le lave-vaisselle 118 5.7 Verres et vaisselle abimés 118
- Utilisation des programmes 119
6.1 Commencer un programme 120 6.2 Comment changer le programme en cours 120 6.3 Rajouter la vaisselle ultérieurement 120 6.4 Fin d'un programme 121
7. Nettoyage et entretien 121
7.1 Système de filtration 121 7.2 Panneau de commande et appareil 123 7.3 Bras de lavage 123 7.4 Porte 124 7.5 Protection antigel 124 7.6 Mise hors service 124
- Instructions de dépannage 125 8.1 Codes d'erreur 128 9. Données techniques. 129
- Gestion de déchets 130

Ne vous débarrasssez pas cet équipement ensemble avec les ordures ménagères. Remettez l'équipement impérativement à un poste de collecte d'appareils ELECTriques et électroniques réutilisables. N'enlevez pas les pictogrammes / autocollants appliqués sur l'équipement.
Il peut être que les illustrations dans cette notice d'utilisation ne correspondent pas exactement à votre produit. Des légères différences sont possibles. Suivez quand même les informations données. Livraison sans objet. Veuillez noter que le fabricant se réserve le droit de faire des modifications n'ayant pas d'influence sur le mode de fonctionnement de l'appareil. Débarrasssez-vous de l'emballage conformément aux consignes sur les déchets des services administratifs de votre mairie.
Il se peut que l'appareil acheté de votre part puisse être amélioré entre-temps et puisse avoir des différences dans la notice d'utilisation, cependant le mode ainsi que les conditions de fonctionnement sont identiques et vous pouvez utiliser l'ensemble de la notice. Sous réserve d'erreurs d'impression et de modifications techniques.
Declaration de conformite europeenne
Les produits décrits dans ce mode d'emploi correspondent à toutes les exigences harmonisées. Les documents pertinents peuvent être obtenus auprès des autorités compétentes par le biais du revendeur du produit.
LES PRESENTES INSTRUCTIONS D'UTILISATION DOIVENT ETRE ACCESSIBLES POUR CHAQUE PERSONNE APPELEE A UTILISER L'APPAREIL. ASSUREZ-VOUS QUE LES UTILISATEURS AIENT LU ET COMPRIS LES INSTRUCTIONS D'UTILISATION AVANT D'UTILISER L' EQUIPEMENT.
Veuillez LIRE attentivement l'ensemble des consignes de securite et des instructions de securite avant la première utilisation de l'appareil.
Les informations continues seront à protégées pour votre santé. Le non-respect des consignes de sécurité peut mettre en péril votre santé et entraîner la mort dans le pire des cas.
Conservez le présent mode d'emploi dans un lieu sûr afin que vous puissiez le consulter à chaque fois que cela est nécessaire. Suivez attentivement les instructions afin d’éviter tout accident ou endommagement de l’appareil. Veuillez vérifier la périphérie technique de l’appareil! Est-ce que tous les fils et les connexions avec l’appareil fonctionnent bien? Ou sont-ils usés par le temps et ne correspondent pas aux exigences techniques de l’appareil? Un contrôle des connexions existantes et récemment créées doit être effectué par un professionnel/agréé. Toutes les connexions et les composants électriques (y compris les fils dans un mur) doivent être vérifiés par un professionnel qualifié. Toutes les modifications apportées au réseau électrique permettant l’installation de l’appareil doivent être effectuées par un professionnel qualifié. L’appareil est destiné uniquement à usage privé.
L'appareil est conçu pour le lavage de la vaisselle et des couverts uniquement dans une habitation privée. L'appareil est conçu uniquement pour un usage à l'intérieur. L'appareil n'est pas prévu pour être utilisé à des fins commerciales, pendant le camping et dans les transports publics. Veuillez utiliser l'appareil uniquement conformément à son usage prévu. Ne laissez pas quelqu'un qui ne connaît pas bien le présent mode d'emploi utiliser l'appareil. Cet appareil peut être utilisé par des enfants âgés de 8 ans et plus, ainsi que par des personnes ayant des capacités physiques, sensorielles et mentales réduites ou le manque d'expérience et de connaissances si elles sont surveillées ou ont reçu des instructions concernant l'utilisation sécuritaire de l'appareil et comprennent les risques encourus. Les enfants ne doivent pas jouer avec l'appareil. Le nettoyage et l'entretien quotidien ne doivent pas être effectués par les enfants, à moins qu'ils soient surveillés.
1.1 Mentions d'advertisement
DANGER! Attract l'attention sur une situation dangereuse qui crec un risque direct pour la vie et la santé si elle n'est pas écartée.
l'attention sur une situation dangereuse susceptible de créer un risque pour la vie et la santé si elle n'est pas écartée.
ATTENTION! attire l'attention sur une situation dangereuse susceptible de provoquer des blessures moyennement graves ou benignes si elle n'est pas écARTe.
OBSERVATION! attire l'attention sur une situation dangereuse susceptible d'endommager l'équipement si elle n'est pas écartée.
Réduction du risque d'électrocution.
- Une inobservation des consignes contenues dans les présentes instructions d'utilisation met la vie et la santé de l'utilisateur de l'équipement en danger et / ou risque d'endommager l'appareil.
- Tous les travaux électriques doivent être effectués par un professionnel qualifié. Ne modifiez pas l'alimentation en énergie. La connexion doit être effectuée conformément aux réglementations locales et juridiques actuelles.
- N'installez pas l'appareil à l'alimentation si l'appareil, le cordon d'alimentation ou la prise de courant montrent des dommages visibles.
- Les données techniques de votre fournisseur d’électricité doivent être conformes aux données sur la plaque signalétique de l’appareil.
- Ne changez jamais la fiche d'alimentation fournie avec l'appareil. Si la fiche ne s'adapte pas à votre prise, consultez un électricien qualifié pour le remplacement de la prise absolète (non couverte par la garantie).
- Ne tentez jamais de réparer vous-même l'appareil. Si l'appareil ne fonctionne pas correctement, veuillez contacter le service après-vente. Uniquement les pièces de rechange originales devraient être utilisées.
- Assurez-vous que le câble d'alimentation électrique ne se trouve pas sous l'appareil ou n'est pas endommagé par le déplacement de l'appareil.
- Quand le câble d'alimentation est endommagé, il doit être remplacé uniquement par le fabricant ou par un service après-vente autorisé ou par un professionnel qualifié.
- Ne vous servez-pas jamais du cordon d'alimentation pour retirer la fiche de secteur. Séparez toujours l'équipement de l'alimentation secteur en retirant la fiche de la prise au secteur. RISQUE DE CHOC ÉLECTRIQUE!
- Ne manipulez jamais la fiche de raccordement au secteur, l'interrupteur d'alimentation ou d'autres composants électriques avec les mains mouillées ou humides. RISQUE DE CHOC ÉLECTRIQUE!
Réduction du risque de brûlures, de choc électrique, d'incendie ou de préjudices corporels.
- Dans un système d'eau chaude qui n'est pas utilisé pendant quinze jours ou plus, l'hydrogène se forme sous certaines conditions. L'hydrogène est explosif. Si vous n'avez pas utilisé le système d'eau chaude pendant la période donnée, ouvrez tous les robinets d'eau chaude et laissez couler l'eau pendant quelques minutes pour libérer l'hydrogène. Pendant cette période, ne fumez pas et n'utilisez pas de flammes nues ou d'ampoules nues, parce que l'hydrogene est inflammable.
- ène, etc.) doivent être tenus hors de la portée des enfants. RISQUE D'ÉTOUFFEMENT.
- Ne branchez pas l'appareil à l'alimentation électrique sauf si tout l'emballage et tous les protecteurs de transfert ont été enlevés.
- Faites fonctionner l'appareil uniquement avec 220~240V/50Hz AC. Toutes les connexions électriques doivent être remplacées par un professionnel qualifié. Tout réparation doit être effectuée par un service après-vente agréé.
- N'utilisez pas un panneau de douille ou une prise multiple lorsque vous branchez l'appareil au réseau électrique.
- Une prise dédiée et proprement mise à terre (250V/10A) qui est conforme aux données de la fiche d'alimentation est exigée afin de minimiser toute sorte de risques.
- Vérifiez que le câble électrique ne se trouve pas sous l'appareil ou qu'il n'est pas endommagé lorsque l'appareil est déplacé.
- Les données techniques de votre fournisseur d’électricité doivent être conformes aux données sur la plaque signalétique de l’appareil.
- Notre circuit interne doit être équipé d'un disjoncteur automatique.
- N'effectuez aucune modification sur l'appareil.
- Coupez l'électricité avant d'installer l'appareil et avant de le brancher au réseau électrique. DANGER DE MORT PAR ÉLECTROCUTION!
- Débranche l'appareil du réseau électrique avant de le nettoyer ou de l'entretenir.
- Ne plongez jamais l'appareil, le cordon d'alimentation ou la prise de courant dans l'eau ou d'autres liquides! RISQUE DE CHOC ÉLECTRIQUE!
- Les détergents pour lave-vaisselle sont très alcalins et sont, donc, extrêmement dangereux en cas d'ingestion. La peau et les yeux ne doivent pas entrer en contact avec les détergents pour lave-vaisselle. Toujours tenir ces détergents hors de la portée des enfants.
- Tenez les détergents pour lave-vaisselle et les additifs hors de la portée des enfants. Tenez les enfants loin de l'appareil quand la porte est ouverte et qu'il peut y avoir encore du détergent dans l'appareil.
- Lorsque tous les indicateurs sur le panneau de commande clignotent, il s'agit du dysfonctionnement de l'appareil. Dans ce cas, débranchez immédiatement l'appareil du réseau électrique et coupez l'approvisionnement en eau.
- N'utilisez jamais l'appareil sans avoir installé les filtres.
- Il est interdit aux enfants de jouer avec l'appareil.
- Ne faites jamais fonctionner l'appareil sans surveillance.
- Veuillez prendre impérativement connaissance des informations dans le chapitre INSTALLATION.
Attention!
- Il est dangereux d'ouvrir la porte de l'appareil pendant qu'il est en marche, car l'eau chaude peut gicler.
- Quand le cycle de rinçage est terminé, attendez quelques minutes avant d'ouvrir la porte, car la vapeur brûlante peut s'en échapper.
- Quand le cycle de rincage est terminé, attendez au moins 20 minutes avant de nettoyer l'intérieur de l'appareil afin que les éléments chauffants puissent se refroidir.
- Ne touchez pas les éléments chauffants pendant ou immédiatement après le fonctionnement. RISQUE DE BRULURES!
- Ne vous asseyez ou ne vous mettez jamais ABOUT sur le panier ou la porte du lave-vaisselle. RISQUE DE RUMENTURE! RISQUE DE BLESSURE!
- Ne mettez pas d'objets lourds sur la porte ouverte parce que l'appareil peut basculer vers l'avant.
- Lorsque vous chargez le lave-vaisselle :
a. Vérifie que des objets pointus n’endommagent pas les joints de la porte. b. Vérifie que les articles ne dépassent pas le fond des paniers. c. Rangez les couteaux pointus, poignées tournées vers le haut ou rangez-les horizontalement pour éviter des blessures.
- Ne laissez pas la porte ouverte pour ne pas faire trébucher quelqu'un.
Observation!
- Les bras de lavage peuvent être équipés d'une protection pour le transport. Retirez la protection de transport avant d'instruire l'appareil.
- Après l'achèvement de l'installation de la prise d'eau et de l'évacuation des eaux usées, et avant la première mise en service régulière, vous devez vérifier l'étanchéité des raccords - y compris ceux de l'appareil en soi. Le fabricant décline toute responsabilité pour les dommages causés par une installation incorrecte.
- Les adoucisseurs / le Sel pour lave-vaisselle provoquent de la corrosion sans lancement d'un programme de lavage complet directement après le rempliss utilisation non conforme. RISQUE DE CORROSION!
- prenant soin d'activer un programme de lavage complet immédiatement après le replissage. RISQUE DE CORROSION! Les dommages dus à la corrosion ne sont pas couverts par la garantie.
- Ne faites jamais fonctionner le lave-vaisselle sans filtres correctement installés.
- Utilisez uniquement un adoucisseur d'eau (= sel pour lave-vaisselle) qui est adapté pour les lave-vaisselles. La dureté de l'eau dépend de votre lieu d'habitation. L'eau dure dans un lave-vaisselle forme des dépôts de minéraux et des sels sur votre vaisselle et dans l'appareil. L'adoucisseur d'eau élimine de l'eau les minéraux et les sels.
- Utilisez un produit de rinceage qui est adapté uniquement pour lave-vaisselle. N'utilisez jamais d'autres substances chimiques, par ex. un produit de nettoyage pour lave-vaisselle ou de nettoyants liquides; sinon vous risquez d'endommager l'appareil.
- Utilisez uniquement un détergent et des additifs qui sont adaptés pour lave-vaisselle. N'utilisez pas de savon, lessives, produits pour le lavage des mains, etc.
- Lorsque vous déplacez l'appareil, tenez-le à la base et soulevez-le prudemment. Tenez l'appareil en position verticale.
- N'utilisez jamais la porte pour déplacer l'appareil, car vous risquez d'endommager les charnières.
- L'appareil doit être transporté et installé par au moins deux personnes.
- Lorsque vous déballez l'appareil, vous devez prendre note de la position de chaque pièce des accessoires internes au cas où vous avez à le remballer et le transporter à un moment ultérieur.
- Le raccordement à l'approvisionnement en eau doit être effectué par un professionnel qualifié.
- Ne faites pas fonctionner l'appareil à moins que tous les composants soient installés correctement.
- Ne marchez pas ou ne vous appuyez pas sur les étagères ou sur la porte.
- Il est interdit à ce que les articles en plastique touchent les éléments chauffants.
- Lavez dans l'appareil uniquement les articles en plastique résistant au lavage dans un lave-vaisselle. De tels articles sont étiquetés par leur fabricant.
- Après chaque cycle de rinçage, vérifie que le réservoir à adoucisseur d'eau est vide.
- N'utilise jamais de produits de nettoyage pour nettoyer la porte car ils peuvent endommager la serrure et des composants électriques.
- L'appareil est conçu pour laver un maximum de 12 couverts.
- Nettoyez régulièrement l'appareil (voir le chapitre NETTOYAGE ET ENTRETIEN).
- Il est strictement interdit d’altérer la lisibilité de la plaque signalétique, voir de la démonter! Les contraventions ont pour effet d’exclure tout recours à la garantie du fabricant!
LISEZ LES PRESENTES INSTRUCTIONS ATTENTIVEMENT ET CONSERVEZ-LES EN LIEU SÜR.
Le fabricant décline toute responsabilité pour les dommages corporels ou matériels en cas d'inobservation des instructions.
2. Installation
L'installation d'un système d'alimentation en eau et d'évacuation doit être effectuée par un professionnel qualifié. Utilisez uniquement des tuyaux et des kits de connecteurs complètement nouveaux. Nous vous recommandons de pouvoir bien sécuriser l'approvisionnement en eau avec une soupape de retenue.
OBSERVATION! Après l'achèvement de l'installation de la prise d'eau et de l'évacuation des eaux usées, et avant la première mise en service régulière, vous devez effectuer l'étanchéité des raccords -y compris ceux de l'appareil en soi-. Le fabricant décline toute responsabilité pour les dommages causés par une installation incorrecte.
2.1 Déballage et installation
- Déballez l'appareil avec soin. Enlevez complètement la protection pour le transport. Soyez très prudent et n'utilisez pas de détergents agressifs ou abrasifs pour enlever les résidus de la protection pour le transport.
- Les bras de lavage peuvent être équipés d'une protection pour le transport. Retirez la protection pour le transport avant d'installer l'appareil.
- Installez l'appareil dans un endroit sec et bien aéré.
- Installez l'appareil sur un sol plat, sec et solide. Vérifiez la bonne installation avec un niveau à bulle.
- Branchez correctement l'appareil au réseau électrique.
- La plaque signalétique se trouve à l'intérieur ou à l'arrière de l'appareil.
L'installation de la BANDE de condensation. (lequipement DEPEND du MODELE)
- Vous devez installer la bande de condensation sur la face inférieure du plan de travail pour la protéger de la vapeur d'eau dégagée par l'appareil. La bande de condensation dévie la vapeur d'eau du plan de travail.
- Vous trouvez la bande de condensation à l'intérieur de votre appareil.
- Nettoyez bien la face inférieure du plan de travail avant d'installer la bande de condensation.
- Retirez le film protecteur de la surface adhésive de la bande de condensation.
- Collez la bande de condensation sur la face inférieure du plan de travail.
LA BANDE DE CONDENSATION
Observation! une mauvaise installation de la bande de condensation peut abîmer le plan de travail.
L'espace requis pour l'appareil : regardez les chiffres suivants. Le dos de l'appareil doit faire face au mur. L'appareil doit être équipé d'un tuyau d'amène et d'un tuyau d'évacuation d'eau, qui peuvent être installés sur la gauche ou la droite 7.

Installez l'appareil.
| 1 | 825-875 mm |
| 2 | min. 598 mm |
| 3 | 100 mm |
| 4 | RACCORDS DES CABLES D'ALIMENTATION, D'AMENEE D'EAU, D'EVACUATION D'EAU |

2.3 L'espace minimal nécessaire pour ouvrir la porte

| 1 | LAVE-VAISSELLE | 2 | PORTE DE LAVE-VAISSELLE |
| 3 | ARMOIRE DE CUISINE | 4 | ESPACE MINIMAL POUR OUVRIR LA PORTE EST DE 50 mm |
2.4 Dimensions et fixation du panneau de porte
: trou/10mm de profondeur.

| 1 | 4 VIS A BOIS DE 4*42 mm |
| 2 | 1.) ENLEVEZ 2 PIECES DE 4*10 2.) 4 VIS A BOIS DE 4*42 mm |
| 3 | PORTE DE L'APPAREIL |
| 4 | BOUCHON EN FORME T |
| 5 | 2 VIS A BOIS DE 4*26 mm |
| 6 | PANNEAU DE PORTE |
| 7 | 4 VIS A BOIS DE 4*42 mm |
2.5 Réglage de tension du ressort de la porte
Après avoir installé le panneau de porte, essayez d'ouvrir et de fermer la porte pour vérifier son équilibre et pour décider si l'installation est bien faite. Si la porte n'est pas bien équilibrée, tournez les vis dans le sens des aiguilles d'une montre et inverse pour bien régler (ou laissez une personne expérimentée équilibrer la porte).
1: tournevis hexagonal/CR-V 4 mm
2.6 Installation du tuyau d'aspiration d'eau
Connectez fermement et en toute sécurité le tuyau d'amnée à un connecteur avec un fil 3/4 de pouces. Lorsque les tuyaux sont nouveaux ou n'ont pas été utilisés pendant une longue période de temps, laissez couler l'eau jusqu'à ce que le tuyau soit décontaminé.
OBSERVATION! Sinon, l'alimentation d'eau peut être bloquée et l'appareil sera endommagé.

OBSERVATION! Après l'achèvement de l'installation de la prise d'eau et de l'évacuation des eaux usées, et avant la première mise en service régulière, vous devez vérifier l'étanchéité des raccords - y compris ceux de l'appareil en soi. Le fabricant décline toute responsabilité pour les dommages causés par une installation incorrecte.
2.7 Installation du tuyau d'évacuation d'eau

Montez le tuyau de vidange de votre appareil à la conduite de drainage sans plier.
Si la longueur du tuyau n'est pas suffisante, envoyez une demande au service autorisé pour une extension constituée du même matériel que le tuyau original. Rappelez-vous que la longueur du tuyau (y compris l'extension) ne doit pas dépasser 4 mètres.
Si le tuyau de vidange est plus long que 4m, la vaisselle ne sera pas bien lavée. Vérifiez qu'il n'y a pas de fuite sur les raccords. Fixez le tuyau d'évacuation avec un support de tuyau.
OBSERVATION! Après l'achèvement de l'installation de la prise d'eau et de l'évacuation des eaux usées, et avant la première mise en service régulière, vous devez vérifier l'étanchéité des raccords - y compris ceux de l'appareil en soi. Le fabricant décline toute responsabilité pour les dommages causés par une installation incorrecte.
2.8 Installation sur un niveau élevé
Les appareils partiellement ou entièrement encastrés peuvent être installés sur un niveau élevé lorsqu'ils sont connectés correctement. Un collier permet la flexion du tuyau de vidange. Il existe un dispositif de maintien sur le collier pour fixer celui-ci. Le tuyau de vidange doit avoir une hauteur de 40 cm minimum dans la partie supérieure du collier. Regardez le dessin ci-dessous pour les options de raccordement A, B et C.

| 1 | Accrochez le crochet du tuyau de vidange sur le comptoir |
| 2 | Crochet du tuyau de vidange |
| 3 | La partie supérieure du tuyau doit être à une hauteur entre 40 et 100 cm. L'extrémité libre du tuyau ne doit pas être plongée dans l'eau. |
| 4 | Comptoir |
| 5 | Façade |
| 6 | Conduite d'évacuation |
2.9 Connexion électrique
Il vous faut une prise spécifique et correctement mise à terre adaptée à la fiche d'alimentation (250V/10A).
MISE EN GARDE! Autrement, vous risquez de causer des accidents ou d'endommager votre appareil.

2.10 Mise à niveau correctement effectuée
L'angle d'inclinaison maximale admissible au-dessous de l'appareil est de 2^0. Ajustez l'appareil en mettant ses pieds horizontalement. Vérifiez avec un niveau à bulle.

| 1 | AJUSTEZ LES PIEDS DE DEVANT |
| 2 | AJUSTEZ LES PIEDS DE DERRIERE |
2.11 Installation de la plinthe

| 1 | PANNEAU DE PORTE |
| 2 | PLINTHE |
POINTS DE REFERENCE
| NUMERO DE SERIE | PANNEAU DE PORTE | PLINTHE |
| 1 | 708 mm | 75 mm |
| 2 | 698 mm | 85 mm |
| 3 | 688 mm | 95 mm |
| 4 | 678 mm | 105 mm |
| 5 | 668 mm | 115 mm |
| 6 | 658 mm | 125 mm |
La hauteur demandée de la plinthe devrait correspondre à vos normes d’esthétique ainsi qu’elle devrait permettre à la porte de s’ouvrir/se fermer correctement. Veuillez trouver des points de référence importants sur la liste ci-dessus.
2.12 Fixer l'appareil
a. Fixez l'appareil sur l'unité encastrée en tournant les vis. b. Appuyez les 4 bouchons dans les trous (voir le dessin). c. Utilisez les vis à bois ST 4 26 (vis auto taraudeuses) pour les trous de gauche et de droite ainsi que pour les 4 trous supérieurs.
1: Bouchons

2.13 Fixation de la barre d'espacement
L'équipement dépend du modèle.
La barre d'espacement supérieure a plusieurs couches. Personnalisez la hauteur de la barre en enlevant le nombre de couches que vous souhaitez depuis la partie basse de la barre. Utilisez le mécanisme de click pour sélectionner le bon nombre de couches.
barre d'espacement

3. Appareil / panneau de commande

- Panier supérieur
- Bras de lavage
- Panier inférieur
- Adoucisseur d'eau (= sel pour la vaisselle)
- Filtrcs
- Bac à produit de lavage
- Réservoir à produit de lavage
- Panneau à couverts
- Support-tasses
- Dispositif de réglage

| 1 | INDICATEUR D'APPROVISIONNEMENT EN EAU | S'allume lorsque le robinet est fermé ou interrompu ou le tuyau est plié. |
| 2 | INDICATEUR DE PRODUIT DE RINÇAGE | S'allume lorsque le réservoir doit être rechargé. |
| 3 | INDICATEUR DE SEL | S'allume lorsque le bac doit être rechargé. |
| 4 | BOUTON SELECTION PROGRAMME | Appuyez sur le bouton et naviguez dans le menu des programmes. La lampe tímoin allumée indique le programme sélectionné. |
| 5 | DEMARRAGE/ARRET-ON/OFF | Appuyez sur le bouton pour démarrer ou arrêtier l'appareil. |
Avant de FAIRE fonctionner l'appareil, verifiez le suivant:
- l'appareil est installé et mis à niveau correctement.
- la vanne d'alimentation d'eau est ouverte.
- les raccords des tuyaux ne fuient pas.
- l'appareil est branché correctement.
- L'alimentation du secteur est allumée.
- les tuyaux ne sont pas entortillés
- vous avez complètement enlevé l'emballage.
Avant de FAIRE fonctionner l'appareil pour la première fois :
a) Versez 500ml d'eau dans le bac à adoucisseur d'eau et versez dedans l'adoucisseur d'eau (= sel pour lave-vaisselle). b) Versez du produit de rinceage. c) Sélectionnez le programme de lavage.
4.1 Adoucisseur d'eau
OBSERVATION! Les adoucisseurs / le Sel pour lave-vaisselle provoquent de la corrosion sans lancement d'un programme de lavage complet directement après le remplissage. La corrosion risque d'endommager l'appareil de façon irrémédiable. Le fabricant décline toute responsabilité pour les dommages dus à la corrosion en raison d'une utilisation non conforme. RISQUE DE CORROSION!
OBSERVATION! Chaque replissage du bac prévu pour l'adoucisseur / le sel pour lave-vaisselle a pour effet de faire déborder de l'eau qui contient déjà l'adoucisseur / le sel pour lave-vaisselle sous une forme dissoute. Cette eau et les particules non encore dissoutes dans cette eau peuvent être à l'origine de corrosion. Par conséquent, faites uniquement l'appoint d'adoucisseur / de sel de lave-vaisselle en prenant soin d'activer un programme de lavage complet immédiatement après le replissage. RISQUE DE CORROSION! Les dommages dus à la corrosion ne sont pas couverts par la garantie.
Vous devez remplir le bac à adoucisseur d'eau manuellement; utilisez le trou de remplissage d'adoucisseur d'eau. Ouvrez le couvercle et versez 2kg environ d'adoucisseur d'eau dans le bac; ensuite, fermez le couvercle correctement.
Le BAC a adoucisseur d'eau se TROUVE sous le PANIER inferieur.
Utilisez uniquement un adoucisseur d'eau (= sel pour lave-vaisselle) qui est adaptable pour lave-vaisselle. Autres adoucisseurs d'eau et sels, en particulier le sel de table, risquent d'endommager le bac à adoucisseur d'eau. Le fabricant ne garantit pas et se dégage de toute responsabilité en cas de tout dommage causé par un adoucisseur d'eau qui ne correspond pas aux critères. Ne remplissez l'écipient que peu de temps avant de commencer un programme, sinon, les résidus de l'adoucisseur d'eau déversés peuvent rester dans l'appareil et provoquer la corrosion. Le voyant de contrôle sur le panneau de commande s'éteint après le premier programme.


- Retirez le panier inférieur et le couvercle du bac à adoucisseur d'eau.
- Lorsque vous remplissez le bac pour la première fois, versez environ 500ml d'eau dans le bac.
- Mettez l’entonnoir adapté dans le trou et versez environ 2kg d’adoucisseur d’eau (= sel pour lave-vaisselle) dans le bac.
- Fermez le couvercle doucement.
- Le voyant de contrôle de la durée de l'eau s'est en général au bout de 2-6 jours.
4.2 Remplir le réservoir à produit de rinçage
Lorsque l'indicateur du produit de rinçage n'est pas allumé, la couleur sur l'écran "D" indique la quantité nécessaire du produit de rinçage.
Tache noire = le réservoir est rempli à sa pleine capacité. Plus la tache diminue, moins il y a de produit dans le réservoir. Le réservoir devrait être rempli au moins à 25% de sa capacité.


| 1 | REMLPI | 2 | 75 % |
| 3 | 50 % | 4 | 25 %; A REMPLIR! |
| 5 | VIDE | D | ÉCRAN |
Reservoir a produit de rinçage



- Tournez le couvercle vers la flèche ouverte (à gauche) et délevez-le.
- Versez le produit de rinçage dans le réservoir. Ne pas trop le remplir.
- Remettez le couvercle à sa place en l'ajustant vers la flèche ouverte et tournez-le vers la flèche fermée (à droite).
Le produit de rinceage est rajouté automatiquement pendant le fonctionnement et soutient le séchage parfait de la vaisselle sans taches. Notre appareil est conçu pour l'usage du produit de lavage. Le réservoir à produit de rinceage se trouve à l'intérieur de l'appareil à côté du bac de produit de lavage. La capacité maximale du réservoir est environ 140 ml. Ne pas trop remplir le réservoir ; sinon, de sévères formations de mousse peuvent survenir. Ne pas oublier de fermer le couvercle après avoir rempli le réservoir.
1: BOUTONROTATIF
Reglage du reservoir a produit de rinçage
Commencez avec la position 4. Sélectionnez la position 5 lorsque les taches sont survenues et le séchage n'est pas satisfaisant. Sélectionnez la position 6 si ces problèmes surviennent de nouveau. Le réglage par défaut est la position 5.
- Si les gouttes d'eau ou les taches restent sur votre vaisselle après le lavage, augmentez la quantité du produit de rinceage.
- S'il y a des taches blanchâtres sur les verres ou une fine couche bleuâtre sur le couvert après le lavage, diminuez la quantité du produit de rinceage.
Les produits de LAVAGE sont divises en 2 GROUPE en RAISON de leurs composants chimiques:
Des produits de lavage alcalins conventionnels, avec des composants corrosifs. Des produits concentrés faiblement alcalins avec enzymes naturelles.
Programmes « normaux » combinés avec des produits de lavage concentrés empêchent la pollution et sont également bons pour votre vaisselle. Ces programmes renforcent l'effet de lavage des enzymes. Par conséquent, les programmes « normaux » combinés avec des détergents concentrés sont aussi efficaces que les programmes « intensifs ».
Il EXISTE 3 GENRES de produits de LAVAGE :
- avec phosphate ct chlorc
- avec phosphate / sans chlorure
- sans phosphate / sans chlorine
La plupart des détergents en poudre pour lave-vaisselle généralement ne contiennent pas de phosphates afin de ne pas adoucir l'eau. Dans un tel cas, ajoutez un adoucisseur d'eau (= sel pour lave-vaisselle), même si la dureur de l'eau est par exemple 6Dh. Sinon des taches blanches peuvent apparaître sur les plats et les verres.
Les détergents pour lave-vaisselle sans chlore, ne blanchissant que légèrement, de sorte qu'ils ne supplètent pas les taches tenaces. Dans un tel cas, sélectionnez un programme avec une température plus élevée.
Pastilles pour lave-vaisselle
Les pastilles pour lave-vaisselle de différents fabricants peuvent exiger de différentes durées de lavage pour laver votre vaisselle. Ainsi, certains types de pastilles ne peuvent pas être utilisés lorsque vous activez un programme court. Choisissez toujours des programmes qui durent longtemps pour nettoyer complètement votre vaisselle.
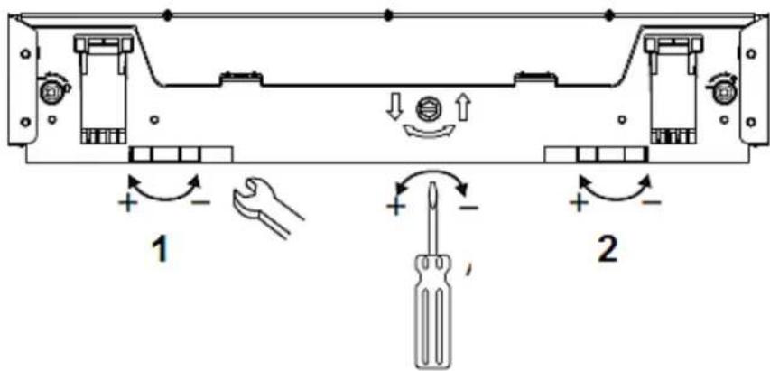
Le BAC à produit de LAVAGE
Vous devez remplir le bac conformément à l'information de la grille des programmes. Utilisez les produits de lavage qui sont uniquement adaptés pour lave-vaisselle. Gardez toujours votre détergent sec.
Remplir le bac juste avant de commencer un programme.
La consommation du produit de lavage et du produit de rinçage pour votre appareil est inférieure à la consommation des appareils classiques. En général, vous avez besoin d'une (1) cuillère à soupe de détergent pour un programme normal.
Vous devez augmenter la quantité du produit de lavage si votre vaisselle est très sale.
Reemplir le BAC


- Quand le couvercle est fermé, appuyez sur le bouton « ouvrir »
- Remplissez le bac juste avant de commencer le programme. Utilisez les produits de lavage qui sont uniquement appropriés pour lave-vaisse.
Versez le produit dans le bac. Les niveaux de dosage sont marqués par les indicateurs (voir le dessin ci-dessous). Si votre vaisselle est très sale, versez une dose supplémentaire de produit de lavage dans le compartiment prélavage.

- Le principal produit de lavage - quantité minimale approximative égale à 20 g.
- Le produit de prélavage - quantité approximative égale à 5 g.
NOTEZ LES INSTRUCTIONS DE DOSAGE DU FABRICANT SUR L'EMBALLAGE DE VOTRE DETERGENT POUR LAVE-VAISSELLE.
Fermez le couvercle et appuyez-dessus jusqu'à ce qu'il soit fermé.
Lisez les consignes données dans ce chapitre afin d'atteindre la meilleure performance de votre appareil. Les caractéristiques et le design des paniers dépendent du modèle.
5.1 Avant/après l'utilisation
- Enlevez les résidus de nourriture de votre vaisselle.
- Vous n'avez pas besoin de rincer la vaisselle sous l'eau courante.
- Remplissez les paniers comme suit :
a. Des objets tels que tasses, verres, casseroles et poêles à l'envers. b. Des objets arrondis et creux dans une position inclinée, afin que l'eau puisse s'écouler. c. Disposez les plats en toute sécurité et bien dans le panier de sorte qu'ils ne peuvent pas se renverser. d. La vaisselle ne doit pas bloquer les bras de lavage rotatifs. e. Ne pas mettre de petits objets dans l'appareil, car ils peuvent facilement tomber sur les paniers.
- Après le lavage, videz d'abord le panier inférieur ; ainsi, l'eau qui reste ne peut pas tomber du panier supérieur dans l'inférieur.
5.2 Panier supérieur
Le panier supérieur est conçu pour la vaisselle délicate et tégueter comme verres, tasses, soucoupes, petites assiettes et petits bols et petits récipients plats. Lorsque vous avez rempli le panier, la vaisselle ne doit pas être bougée par l'eau dispersée (bras de lavage).

| TYPE | VAISSELLE |
| A | TASSES |
| B | VERRES |
| C | SOUCOUPE |
| D | BOL |
| E | BOL |
| F | BOL |
Vous pouvez régler la position du panier supérieur pour créer plus d'espace pour des objets volumineux, soit dans le panier inférieur ou le supérieur. Vous pouvez régler le panier supérieur en plaçant un ensemble de roues données dans le rail. Rangez des objets longs sur l'étagère pour ne pas entraver les bras de lavage rotatifs. Vous pouvez rabattre l'étagère si nécessaire.


5.3 Panier inférieur
Le panier inférieur est destiné à des objets qui sont difficiles à nettoyer comme les casseroles, couvercles, assiettes et bols. Rangez les plateaux et les couvercles sur les côtés de la grille et ne bloquez pas les bras de lavage rotatifs. Rangez les pots et les bols à l'envers.

| TYPE | VAISSELLE |
| G | ASSIETTE CREUSE |
| H | PLAT DE SERVICE |
| I | ASSIETTE A DESSERT |
| J | GRANDE ASSIETTE |
5.4 Panier à couvert
Rangez le couvert (sauf les couteaux pointus), les poignées vers le bas. Rangez les objets longs verticalement dans l'appareil et en toute sécurité afin qu'ils ne bloquent pas les bras de lavage.


| TYPE | COUVERTS | TYPE | COUVERTS |
| 1 | CUILLERES A THE/CAFE | 5 | COUTEAUX |
| 2 | CUILLERES A DESSERT | 6 | FOURCHETTES DE SERVICE |
| 3 | CUILLERES A SOUPE | 7 | CUILLERES DE SERVICE |
| 4 | FOURCHETTES | 8 | CUILLERES A SAUCE |

Les objects suivants NE sont PAS adaptes pour etre LAVES dans un lave-vaisselle.
- Couverts avec poignées en bois, en corne, en porcelaine ou en nacre.
- Objets non résistants à la chaleur.
- Couverts avec des composants collés, qui ne sont pas résistants à la chaleur.
- Objects avec des composants de résine synthétique.
- Objects en cuivre et / ou en étain.
- Objets en cristal au plomb.
- Objets en acier qui montrent des signes de rouille ou sont légèrement corrosifs.
- Tout objet en bois.
- Objets faits de fibres synthétiques.
- Objets salis par les cendres de cigarette, de la crasse, laques et peintures.

Les objects suivants sont partiellement adaptes pour etre LAVES dans un lave-vaisselle.
- Certains types de verres peuvent se casser ou perdre leur brillance après un grand nombre de programmes.
- Des objets en argent ou en aluminium peuvent perdre leur couleur.
- Les motifs émaillés peuvent ternir lorsqu'ils sont souvent lavés dans un lave-vaisselle.
5.6 Instructions pour charger le lave-vaisse
Faites tremper les aliments cramés dans des casseroles. Le couvert et la vaisselle ne doit jamais bloquer les bras de lavage rotatifs. Rangez les tasses, les verres et les pots à l'envers. La vaisselle ne doit pas toucher ni se recouvrir mutuellement. Les verres ne doivent pas se frotter. Rangez la grande vaisselle et la vaisselle qui est difficile à nettoyer dans le panier inférieur. Posez la petite et délicate vaisselle comme les verres ou les tasses dans le panier supérieur.
5.7 Verres et vaisseau abimés
| CAUSES POSSIBLES | SOLUTION RECOMMANDEE |
| Type de verres/vaisselle ou leur méthode de fabrication. | Utilisez uniquement les verres et la vaisselle résistants au lavage dans un lave-vaisselle. |
| Les composants chimiques de votre produit de lavage. | Utilisez un produit de lavage doux. Le fabricant du produit de lavage fournit les informations sur ses caractéristiques chimiques. |
| La température de l'eau et la durée du programme. | Sélectionnez un programme avec une température plus BASSE et une durée plus courte. |
- Utilisation des programmes
| Programme | Information | Description | ProduitvaissellePW/MW | Durée -consommationMin. - kWh - L |
| Intensif | Vaisssellement excrêment salic. | PrélavageLavage principal(63 °C)RinçageRinçage chaudSéchage | 5/25 g | 168-1,30-14 |
| Eco | Programme standard pour l'utilisation au quotidien. | PrélavageLavage principal(50 °C)RinçageRinçage chaudSéchage | 5/25 g | 237-0,92-11 |
| Economique | Pour laVAISSEPeu salie. | PrélavageLavage principal(45 °C)Rinçage chaudSéchage | 5/25 g | 123-0,85-11 |
| Crystal | Lavage économique et rapide. Pour lavaisselle délicate.Commenccz le lavage après avoir utilisé lavaisselle. | PrélavageLavage principal(40 °C)Rinçage chaudSéchage | 5/25 g | 126-0,80-11 |
| Rapide | Courtprogramme pour lavaisselle légèrement salie sans séchage. | Lavage principal(40 °C)Rinçage chaud | 25 g | 37-0,50-7 |
| Prélavage | Pour rincer lavaisselle afin de la laver plus tard. | Prélavage | - | 8-0,01-4 |
6.1 Commencer un programme
- Remplissez d'abord le panier inférieur.
- Versez le produit de lavage et l'adoucissant d'eau (=sel pour lave-vaisselle) dans les bacs adaptés.
- Tout au long de son fonctionnement, l'appareil doit être approvisionné en eau (pression d'eau maximale).
- Fermez la porte correctement lorsque vous appuyez délicatement. La porte correctement fermée, vous entendrez un CLICK léger.
- Appuyer sur le bouton PROGRAMME pour sélectionner un programme.
- Appuyez sur le bouton ARRET (OFF) lorsque le programme est terminé. Ouvrez la porte.
6.2 Comment changer le programme en cours
ATTENTION! Il est dangereux d'ouvrir la porte de l'appareil pendant qu'il est en marche, car l'eau chaude peut gicler. RISQUE D'ÉCHAUDER!

Vous ne pouvez changer le programme que lorsqu'il n'a fonctionné que pendant une courte période. Sinon, le produit de lavage s'est dissolu et l'eau dans le lave-vaisselle a été évacuée. Dans un tel cas, vous devez replir le bac à produit de lavage.
- Ouvrez la porte et appuyez sur le programme actuel pendant encore 3 secondes.
- Sélectionnez un nouveau programme.
- Fermez la porte.
Lorsque vous ouvrez la porte pendant que l'appareil est en marche, l'appareil cessera de fonctionner. Le code E1 s'affichera sur l'écran. Lorsque vous fermez la porte, l'appareil se mettra en marche au bout de 10 secondes. Les 6 voyants indiquent l'état opérationnel de l'appareil.
a. Tous les voyants sont éteints = mode veille. b. Un voyant est allumé = le programme sélectionné est mise en marche. c. Un voyant clignote = mode pause.
6.3 Rajouter la vaisselle ultérieurement
Vous pouvez mettre la vaisselle ultérieurement dans l'appareil à moins que le bac à produit de lavage ne soit ouvert. 1. Ouvrez doucement la porte pour arrêter l'opération.
- Vous pouvez ouvrir complètement la porte après que les bras de lavage rotatifs se soient arrêtés.
- Maintenant, vous pouvez ajouter des plats.
- Lorsque vous fermez la porte, l'appareil se met en marche au bout de 10 secondes.
6.4 Fin d'un programme
- Lorsque sur l'écran est indiqué "-" et vous entendez 6 fois un signal acoustique, le programme est terminé.
- Arrêtez l'appareil (bouton Démarrage/Arrêt - ON/OFF).
- Fermez le robinet.
- ATTENTION! Attendez quelques minutes avant d'ouvrir la porte car la vapeur chaude peut s'en échapper.
- Attendez environ 15 minutes avant de sortir la vaisselle. La vaisselle est toujours chaude et risque de se casser facilement.
- Il est normal que l'appareil soit mouillé à l'intérieur.
7. Nettoyage et entretien
MISE EN GARDE! Débranchez l'appareil du réseau électrique avant de le nettoyer ou de le maintenir. RISQUE DE CHOC ÉLECTRIQUE! ATTENTION! Quand le cycle de rinçage est terminé, attendez au moins 20 minutes avant de nettoyer l'intérieur de l'appareil afin que les éléments chauffants puissent se refroidir.
OBSERVATION! Ne faites jamais fonctionner le lave-vaisselle sans filtres correctement installés.
- Gardez toujours l'appareil propre de sorte que les mauvaises odeurs ne se forment pas.
- Retirez toutes les bagues et bracelets avant de nettoyer ou d'entretenir l'appareil ; sinon, vous risquez d'abimer la surface de l'appareil.
7.1 Système de filtration
Le système de filtration protège la pompe contre les résidus de nourriture et d'autres objets. Ces résidus peuvent boucher les filtres après un certain temps. Le système de filtration comprend un filtre grossier, un filtre plat et un micro-filtre.
Vérifiez l'état des filtres après chaque programme.
Lorsque vous enlevez le filtre grossier, vous pouvez enlever tous les filtres du système. Enlevez tous les résidus et nettoyez les filtres sous l'eau courante.

- Le filtre plat attrape les résidus par une buse spécifique sur la partie inférieure du bras de lavage.
- Le filt , appuyez sur les broches supérieures et sortez le filtre grossier.
- Le micro-filtre capte les résidus à l'orifice d'évacuation de sorte qu'ils ne peuvent pas salir la vaisselle de nouveau.
- Tournez le micro-filtre dans le sens inverse des aiguilles d'une montre et retirez-le.
- Sortez le filtre plat.
- Pour installer les filtres, procédez dans l'ordre inverse.


Nous recommandons de nettoyer une fois par an tout le groupe filtrant. Enlevez les grands résidus après chaque programme. Nettoyez le filtre grossier et le micro-filtre avec une brosse à vaisselle. Ne heurtez pas les filtres, car vous risquez de les abîmer. Notre appareil ne fonctionnera pas correctement si les filtres sont endommagés. Installez toujours les filtres correctement. Les filtres mal installés peuvent endommager l'appareil et la vaisselle.
OBSERVATION! Ne faites jamais fonctionner le lave-vaisselle sans filtres correctement installés.
7.2 Panneau de commande et appareil
Nettoyer le panneau de commande avec un chiffon doux et humide et séchez-le soigneusement. Nettoyer l'extérieur de l'appareil avec un vernis adapté.
Ne jamais utiliser d'objets pointus, de tampons à recycler, de produits abrasifs, de serviettes en papier ou d'autres produits abrasifs et agressifs pour nettoyer quel que soit le composant de l'appareil.
7.3 Bras de lavage
Nettoyez les bras de lavage régulièrement, car les composants chimiques et les minéraux peuvent boucher les buses et les roulements.

- Pour enlever le bras de lavage, dévissez l'écrou (sens antihoraire). Enlevez la rondelle dans la partie supérieure du bras de lavage. Maintenant, enlevez le bras de lavage.
- Retirez le bras inférieur du lavage.8
- Nettoyez le bras de lavage avec de l'eau chaude savonneuse et les buses avec une brosse douce.
- Rincez le bras de lavage sous l'eau courante et réinstallez-le.
7.4 Porte
OBSERVATION! Ne jamais utiliser d'objets pointus, de tampons à recycler, de produits abrasifs, de serviettes en papier ou autres produits abrasifs et agressifs pour nettoyer la porte de l'appareil.
OBSERVATION! Ne jamais nettoyer la porte avec un spray nettoyant, car vous pouvez abîmer le verrou et les composants électriques.
Nettoyer la porte de tous les côtés avec un chiffon chaud et humide. Nettoyer la surface extérieure avec un vernis adapté. Nettoyer les joints de la porte avec une éponge humide; autrement les résidus de nourriture peuvent former de mauvaises odeurs.
Ne jamais utiliser d'objets pointus, de tampons à recycler, de produits abrasifs, de serviettes en papier ou d'autres produits abrasifs et agressifs pour nettoyer la porte de l'appareil.
7.5 Protection antigel
Si votre appareil est situé dans un endroit qui n'est pas chauffé pendant l'hiver, consultez un technicien qualifié pour effectuer les mesures suivantes 9.
- Débrancher l'appareil du réseau électrique.
- Couper l'approvisionnement en eau et débrancher le tuyau d'alimentation d'eau de la vanne d'eau.
- Retirer l'eau provenant du tuyau d'apnée d'eau et la vanne.
- Raccorder de nouveau le tuyau d'amnée d'eau avec la vanne.
- Retirer les filtres. Enlever toute cendre de l'orifice d'évacuation.
7.6 Mise hors service
- Lorsque vous n'utilisez pas l'appareil pendant un certain temps, par ex. pendant les vacances ou les jours où vous êtes absent, mettez d'abord en marche un programme (videz l'appareil).
- Débranchez la fiche d'alimentation et arrêtez l'approvisionnement en eau de l'appareil.
- Laissez la porte entrouverte pour protéger les joints et pour éviter la formation de mauvaises odeurs.
MISE EN GARDE! Débranchez l'appareil du réseau électrique avant de le nettoyer ou de l'entretenir. RISQUE DE CHOC ÉLECTRIQUE!
| ERREUR | |
| CAUSES POSSIBLES | MESURES |
| L'APPAREIL NE FONCTIONNE PAS DU TOUT. | |
| 1. Un fusible a sauté dans la boîte à fusibles. | 1. Vérificz la boîte à fusibles. |
| 2. L'appareil n'est pas alimenté en énergie. | 2. Vérificz si l'appareil est alimenté en énergie / si la porte est fermée correctement / si la fiche d'alimentation est dans la prise. |
| 3. La pression d'eau est faible. | 3. Vérificz l'approvisionnement en eau. |
| LA POMPE D'EVACUATION D'EAU FONCTIONNE EN PERMANENCE. | |
| 1. Trop d'eau. | 1. L'apparil identific qu'il y a trop d'eau. Dans ce cas, il active la pompe d'évacuation et désactive la pompe de circulation. |
| Le bruit. | |
| 1. Un certain bruit est normal. | 1. Le bac à produit de lavage s'est ouvert. |
| 2. La vaiscelle n'est pas miscorrectement. Les pêts objects sont tombés des paniers. | 2. Vérificz la position de la vaiscelle. |
| 3. Le moteur vrombit. | 3. L'appareil n'a pas été utilisé régulièrement. Mème si vous n'utilise pas l'appareil régulièrement, mettcz-le en marche une fois par semaine. |
| LE COUVERCLE DU BAC POUR LE PRODUIT DE LAVAGE NE SE FERME PAS. | |
| 1. Le bouton n'est pas sur OFF. | 1. Appuyez sur OFF et poussez le loquet de la porte à gauche. |
| LA MOUSSE DANS L'APPAREIL. | |
| 1. Le produit de lavage qui ne remplit pas les critères2. Le produit de rinçage a été renversé | 1. Utilisç unquèment le produit de lavage conçu pour lave-vaisselle.2. Ouvrez la portec et attendez jusqu'à ce que la mousse ne s'évapore. Versez environ 4 litres d'eau dans l'appareil.Fermez la porte et scélectionnez le programme prélavage. Renouvelcz la procédure, si nécessaire. |
| L'INTERIEUR DE L'APPAREIL EST TACHE. | |
| 1. Le produit de lavage qui contient les colorants. | 1. Utilisez les produits sans colorants. |
| LA VAISSELLE N'EST PAS PROPRE. | |
| 1. Un programme inapproprié.2. La vaisselle n'a pas été mise correctement. | 1. Sélectionnez un programme plus fort.2. Vérifiez la position de la vaisselle. La vaisselle ne doit pas bloquer les bras de lavage. |
| LES REFLETS BLEUATRES SUR LA VERRERIE. | |
| 1. L'eau douce en combinaison avec trop de produit de lavage. | 1. Si vous avez une eau qui est douce, utilisez moins de produit de lavage.Choisissez un programme court pour la verréric. |
| UNE PELLICULE BLANCHE SUR LES SURFACES INTERIEURES. | |
| 1. Minéaux dans l'eau dure. | 1. Nettoyez l'intérieur avec une éponge douce et du produit de lavage pour le lave-vaisselle. Portez les gants en caoutchouc! Utilisez uniquement le produit de lavage pour lave-vaisselle afin d'éviter la formation de mousse. |
| LA PELLICULE JAUNE OU BRUNE SUR LES SURFACES INTERIEURES. | |
| 1. Les taches de thé ou de café.2. Les dépôts de fer dans l'eau. | 1. Nettoyez avec une solution de 1/2 tasse d'eau de Javel et 3 tasses d'eau chaude. Nettoyez à la main.2. Il vous faut un filtre spécifique.Contactez une entreprise locale qui fait des travaux d'installation d'eau. |
| IL RESTE DU PRODUIT DE LAVAGE DANS LE BAC. | |
| 1. La vaiselle bloque le bac à produit de lavage. | 1. Rangez la vaiselle correctement. |
| LA VAPEUR. | |
| 1. C'est normal. | 1. Il y a de la vapeur qui sort par l'évent à côté du loquet de la porte pendant le séchage et l'évacuation d'eau. |
| LES TRACES NOIRES OU GRISES SUR LA VAISSELLA. | |
| 1. Les objets en aluminium ont touché la vaiselle. | 1. Nettoyez les taches à la main avec un nettoyant légèrement abrasif. |
| L'EAU RESTE AU FOND DE L'APPAREIL. | |
| 1. C'est normal. | 1. Une petite quantité de l'eau propre au bout de tuyau d'évacuation permet au joint hydraulique de fonctionner. |
| L'APPAREIL FUIT. | |
| 1. Trop de produit de rinceage / produit de rinceage renversé.2. L'apparil n'est pas mis à niveau. | 1. Essuyez le produit de rinceage.2. Mettez l'apparil à niveau. |
| TACHES ET DEPOTS SUR LES VERRES ET LES COUVERTS. | |
| 1. L'au extrémçment durable.2. Une température très basse de l'approvisionnement en eau.3. L'appareil est surcharge.4. La vaiselle n'est pas mise correctement.5. Un produit de lavage vicux ou dont la poudre est humidiéée.6. Le réserveir de produit de rinceage est vide.7. Le dosage du produit de lavage n'est pas selon les critères. | 1. Vérifiez la durété de l'eau.2. Vérifiez la température de l'eau à l'entrée.3. Ne surchargez pas la machine.4. Chargez toujours l'appareil correctement.5. N'utilisç qu'un détergent approprié.6. Remplissez le dispositif de rinceage.7. Dosez correctement le détergent. |
Pour enlever les TACHES de la verrerie :
- Retirez tous les objets en métal.
- N'utilisez pas le produit de lavage.
- Sélectionnez le programme le plus long.
- Démarrez le programme. Après 18-22 minutes le principal cycle de lavage commence.
- Ouvrez la porte et versez 2 tasses de vinaigre blanc dans l'appareil (en bas).
- Fermez la porte et laissez le programme terminer. Si cette mesure ne réussit pas, renouvelez la méthode, mais utilisez 1/4 de tasse (60 ml) de cristaux de l'acide citrique au lieu de vinaigre.
En cas de perturbations de fonctionnement divergeant par rapport aux perturbations décrits ci-dessus ou en cas de problèmes vous ne pouvez pas résoudre bien que vous ayez vérifié tous les points du tableau, veuillez vous adresser directement au magasin dans lequel vous avez acheté l'appareil.
8.1 Codes d'erreur
| CODE | SIGNIFICATION | CAUSES POSSIBLES |
| LED 1, LED 2 clignote. | Porte ouverte. | La portes s'ouvre pendant que l'appareil fonctionne. |
| LED 7 clignote. | Tuyau d'amnéé d'eau. | Un dysfonctionnement du tuyau d'amnéé d'eau. |
| LED 1, LED 4 clignote. | Évacuation d'eau. | Un dysfonctionnement de l'évacuation d'eau. |
| LED 1, LED 5 clignotc. | Capteur de températurc. | Un dysfonctionnement du capteur de températurc. |
| LED 2, LED 6 f clignote. | Trop d'eau / Fuite d'eau. | Trop d'eau/une fuite est survenue. |
| LED 2, LED 3 clignote. | Fuite d'eau. | Une fuite d'eau est survenue. |
| LED 2, LED 4 clignote. | Éléments chauffant. | Un dysfonctionnement de l'élement chauffant. |

S'il arrive qu'il y a trop d'eau, coupez l'approvisionnement en eau avant d'appeler un service. S'il y a de l'eau dans le plateau en raison d'un débordement ou d'une petite fuite, enlevez l'eau avant de redémarrer le lave-vaisselle.
9. Données techniques
| DONNEES TECHNIQUES* | |
| Modèle | Lave-vaiselle |
| Contrôle | Électronique |
| Capacité de lavage | 12 couverts standards |
| Classe d'efficacité énergétique1 | E |
| Consommation d'énergie annuelle2 | 92.00 kWh |
| Consommation d'énergie / 1 cycle standard3 | 0.92 kWh |
| Consommation d'énergie / en mode arrêt | 0.49 W |
| Consommation d'énergie / en mode veille(standby) | 0.60 W |
| Consommation d'eau annuelle2 | 1100 l |
| Consommation d'eau / 1 cycle standard3 | 11 l |
| Indice de performance de séchage | 1.09 |
| Cycle de lavage standard / durée4 | Eco / 237 minutes |
| Émission du bruit | 49 dB(A) |
| Classe d'émission du bruit5 | C |
| Montage | Encastré |
| Peut être encastré | oui |
| Dimensions H*L*P en cm | 82.00-87.00*59.60*55.50 |
| Consommation d'énergie | 1850 W |
| Voltage / fréquence | AC 220 - 240 V / 50 Hz |
| Precission d'eau (pression de flux) | 0.4-10 bar = 0.04-1.0 MPa |
| Température d'eau | Max. 63 °C |
Modifications techniques réservées.
| * | Conforme au Règlement UE 2019/2017 |
| 1 | De A (maximum efficacité) à G (minimum efficacité) selon la nouvelle norme européen. |
| 2 | Sur la base de 100 cycles de lavage standard. Les valeurs réelles de consommation d'énergie et d'eau dépendent des conditions d'utilisation de l'appar cil. |
| 3 | Sur la base du cycle de lavage standard. Les valeurs réelles de consommation d'énergie et d'eau dépendent des conditions d'utilisation de l'appareil. |
| 4 | Le présente programme est adapté pour laver la vaisselle normalement salie et il est le programme le plus efficace en termes de la consommation d'énergie et d'eau à la fois pour ce type de vaisselle. |
| 5 | De A (maximum efficacité) à D (minimum efficacité). |
10. Gestion de déchets
- Lors du déballage, les matériaux d'emballage (sacs en polyéthylène, des morceaux de polystyrène, etc.) doivent être tenus hors de la portée des enfants. RISQUE D'ÉTOUFFEMENT!
- Les anciens appareils et les appareils non-utilisés doivent être envoyés pour être éliminés dans un centre responsable de recyclage. Ne jamais exposer aux flammes nues.
- Avant de jeter un ancien appareil, rendez-le inutilisable. Débranchez l'appareil et coupez complètement le cordon d'alimentation. Jetez immédiatement le cordon et la fiche d'alimentation. Retirez complètement la porte afin que les enfants n'entrent pas dans l'appareil, car cela met leur vie en danger!
- Éliminez le papier et le carton dans les conteneurs réservés.
- Débarrassez-vous des matières plastiques dans les conteneurs réservés.
- Si des conteneurs appropriés ne sont pas disponibles dans votre zone d'habitation, jetez ces matériaux dans un centre de collecte de votre commune chargé du recyclage des déchets.
- Veuillez obtenir des informations plus détaillées auprès de votre revendeur ou des institutions de votre municipalité.

Les matériaux marqués par le présent symbole sont recyclables.

Pour obtenir plus d'informations, veuillez contacter les autorités locales.
Veuillez contacter le magasin où vous avez acheté l'appareil
| Änderungen vorbehalten | Subject to alterations | Sous réserve de modifications |
| STAND | UPDATED | MISE À JOUR |
| 18.03.2021 | 03/18/2021 | 18/03/2021 |
Notice Facile