GEM 655 - Cuisinière EMAX - Notice d'utilisation et mode d'emploi gratuit
Retrouvez gratuitement la notice de l'appareil GEM 655 EMAX au format PDF.
| Caractéristiques Techniques | Détails |
|---|---|
| Type de cuisinière | Induction |
| Nombre de foyers | 4 foyers |
| Puissance totale | 7400 W |
| Dimensions (L x P x H) | 60 x 60 x 85 cm |
| Poids | 70 kg |
| Matériau de la surface | Vitrocéramique |
| Fonctionnalités supplémentaires | Minuterie, verrouillage de sécurité |
| Utilisation | Conçue pour la cuisson rapide et efficace, compatible avec les ustensiles en fer et en acier inoxydable. |
| Maintenance | Nettoyage facile avec un chiffon humide, éviter les produits abrasifs. |
| Sécurité | Arrêt automatique, protection contre la surchauffe. |
| Informations générales | Garantie de 2 ans, consommation énergétique A. |
FOIRE AUX QUESTIONS - GEM 655 EMAX
Questions des utilisateurs sur GEM 655 EMAX
0 question sur cet appareil. Repondez a celles que vous connaissez ou posez la votre.
Poser une nouvelle question sur cet appareil
Téléchargez la notice de votre Cuisinière au format PDF gratuitement ! Retrouvez votre notice GEM 655 - EMAX et reprennez votre appareil électronique en main. Sur cette page sont publiés tous les documents nécessaires à l'utilisation de votre appareil GEM 655 de la marque EMAX.
MODE D'EMPLOI GEM 655 EMAX
mercietsincresfelicitations pourlechoix queyouavesfait.
Ce nouveau produit,
developpeavecsoin et fabriqueavecdes matieres de toutepremiere qualite,a ete soigneusementrodepour satisfaire toutesVos exigencesd'une ciisson
parfaite.
Veuillezireattentivement les instructions simples porteesur cette notice qui vousperméttrightnd'obtenir d'excellents résultatsds la premiereutilisation.
Nousyoussou Haitontsune entiere etpleine satisfactionquantal'tilutionde cetappareilmoderne.
LE CONSTRUCTEUR
#
Installation 4 Mode d'emploi 4-8 Entretien 12
Modalités d'installation
Installation 16
Connexion gaz 16
Branchement
electrique 18
Caracteristiques
utilisateurs 24-27
QUESTO PRODOTTO E STATO CONCEPITO PER UN IMPIEGO DI TIPO DOME -STICO.IL COSTRUTORE DECLINA OGNI RESPON - SABILITA NEL CASO DI EVENTUALI DANNI A COSE O PERSONE DERIVANTI DA UNA NON CORRETTA INSTALLAZIONE O DA USO IMPROPRIO,ERRONEO OD ASSURDO.
Ce plan polyvalent a eté réalisé pour être encastré dans n'importe quel modèle de four MAX 2,4 kW avec la marque CE ou de panneau de commande. Le plan est contrôle, à travers des joints de Cardan, par des boutons places sur le tableau de bord du four ou sur le panneau de commande.
Toutes les opérations relatives à l'installation (branchement électrique) doivent être effectuees par des spécialistes suivant les normes en vigueur. Pour les instructions specifiques, voir la partie qui concerne les modalités d'installation.
Mode d'emploi
Brûleurs à gaz (Fig. 1-2a)
On allume le brûleur en approchant une petite flamme aux troughs de sa partie supérieure en poussant et tournant dans le sens contraire des aiguilles d'une montre la manette correspondant jusqu'à faire coincider l'aiguille avec la position de maximum. Quand le brûleur est en marche, regler la flamme selon la nécessité. La position de minimum se trouve à la fin de la rotation contraire au sens des aiguilles
| Vorwort | E Premisa | N Belangrijk | L Premissa |
| Dieses vielseite Kochfeld ist so ausgelegt, daß es mit jedem Ofen der Baureihe MAX 2,4 kW mit CE-Kennzeichnung oder mit jeder Schalttafel kombiniert werden kann. Das Kochfeld wird mit Drehknöpfen bedient, die durch Kardangelenke verbunden sind und sich an der Vorderseite des Ofens oder an der Schalttafel befinden. | Esta superficie de coccción polívalente ha sido construida para poder ser combinada conequalier Modelo deorno MAX 2,4 kW y marcado CE o panel de mandos. La superficie de coccción está dirigida, a través de articulaciones de Cardán, porunos botones colocados sobre el salpí-cadero delorno o sobre el panel de mandos. | Deze multifunctionale plaat is zodanig gemaakt dat hij gecombineerd kan worden met ieder model oven MAX 2,4 kW en met CE merkteken de comandopaneel. De plaat worden biend, via kardankoppelingen, met de bedieningsknoppen van de oven of met het comandopaneel. | Esta superficie polívalente fjoi realizada de forma a poder ser montada com qualquer modelo deorno MAX 2,4 kW e marcado CE ou de palaten de comando. A chapa de cozimento é commandado atraves de uma articulação de Cardan, por um punho situado sobre o pail do forno ou o pail de comando. |
| Anweisungen für den Benutzer | Instrucciones para el usuario | Instructies voor de gebruiker | Instruções para o utilizesador |
| FÜR GLASKERAMIK-KOCHFELDER LESEN SIE DIE ERGANZENDEN ANWEISUNGEN | PARA PLANOS VIDRIOCERA-MICOS CONSULTAR LAS INS-TRUCCIONES INTEGRATIVAS | VOOR PLATEN UIT GLASCERAMIEK ZIE AANVULLLENDE AANWIJZINGEN | PARA PLANOS VIDRO -CERÁMI-COS CONSULTAR AS INSTRU -ÇÔES COMPLEMENTARES |
| Installation Sümmtliche Installationsarbeiten (Elektroanschluss®, Gasanschluss®, Anpassung an einen anderen Gastype, daraufuffolgende Einstellungen, usw.) müssen laut der geltenden Vorschriften durch Fachpersonal ausgeführten. Für die spezifischen Anleitungen verweisen wir an den dem Installateur vorbehaltenen Teil. | Instalación Todas las operaciones relativas à la instalación (conexión electrónica)arem que ser efectuadas por personalrialcualificado según las normas vigentes. Para las instrucciones espécificas vexe la parte reservada al instalador. | Installatie Alle handelingem met betrekking tot de installment (elektrische verbinding) mooten worden uitgevoerd door géwaliffeerd personell volgens de geldende normen. Zie voor de specifice instructies het gedeelte geserveerd voor de installerat. | Instalacao Todas as operações relativas à instalazione (conexão electrolytica) terao de ser efectuadas por pessoal qualificado, segundo as normas em vigor. Para instruçõespecíficas, veja-se a parte reservada para o专业技术e instalador. |
| Gebrauch Gasbrenner (Abb. 1-2a) Zur Anzüindung des Gasbrenners eine Flammene gegen diekleinen Lächern an der Brennstelle halten, wobei man den entspruchen Knopf entgenugen dem Uhrzeigersinn bis zur Großstellung dreht und gedrückt halt. Sobald der Brenner angeziündet ist, Gasflamme auf die gewüinschte Stellung re-geln. Die Kleinstellung befindet sich am Ende der Drehung entgenugen dem Uhrzeigersinn. Bei den Modellen mit auto- | Utilización Quemadores de gas (Fig. 1-2a) El encendió del quemador tiene lugar acercando una llama a los agujeros de la parte de arriba del mesmo quemador presionando y girando en sentido anti-horario el puño correpondiente hasta que su indicatorcoincida conla posición de maximizing. Una vez efectuado el encendió regular la llama según la necessitiesia. La posición de minimo está al final de la rotación antihoraria. | Gebruik Gasbrander (Afb. 1-2a) De ontsteking van de brander gebeurt door een vlammetje)dicht bij de gaatjes bovenop de brandter te houden en ge-lijkltijdig de correspondere knop in te drukken en tegen de klok in te draaien totdat deze overeenkomt met de 'maximum'-indicatie. Regel na ontsteking de vlam waar wens. De 'minimum'-positie bevindt zich aan het einde van de draaiing tegen de klok in. Bij de modellen met auto-matische ontsteking de | Utilização Queimador de gás (Fig. 1-2a) Para acender o quemador de gás, ponha a chama nos furos da parte superior do dito queimador, fazendo pressão e rodando o punho correspondente em sentido anti-horário até fazer coincidir ou indice com a posção maior. Logo que o queimador de gás estiver aceso, regule a chama segundo a necessidade. A posão minima encontrar-se no termo da rotação anti-horária. Nos modelos com atamento automatico, |
I
Pour les modèles à allumage automatique tourner la manette comme indiqué ci-dessus, en poussant en meme temps le bouton spécial. La décharge électrique entre la petite bougie et le brûleur allume le brûleur interesse. Quand le brûleur est allumé, lâcher la manette, et regler la flamme selon nécessité. Pour les modèles à allumage automatique/simultané (à une main), il suffit d'agir sur le bouton correspondant, comme il est indiqué ci-dessus.
Dans le cas de modèles doués de sutureté thermoélectrique, l'allumage du brûleur a lieu comme décrit ci-dessus en appuyant à fond pour 3-5 secondes sur la manette placée à la position maximale. Au moment où vous relâchéz la manette, assurez-vous que le brûleur est allumé.
N.B.: - on Vous conseille d'utiliser des cassetoles avec un diamètre proportionné aux brûleurs evitant que la flamme au maximum déborde de leur fond
-
ne laisses jamais de casseroles vides sur le feu allumé
-
n'employez pas d'ustensiles pour cuisson a grille sur les plans Crystal A la fin de la cuisson il faut fermer le robinet principal du conduit ou de la bouteille.
Plaque electriques (Fig. 2)
Tourner le bouton dans la position correspondante aux nécessités de cuisson, en gardant à l'esprit que la position maximum correspond à la plus grand émission de chaleur, voir tableau "utilisation pla
E
ques electriques".Levoyant lumineux allumé sur le tableau de bord du four ou sur le panneau de commande indique le fonctionnement de la plaque.
N.B. Dans l'emploi des plaques électriques on Vous conseille des recipients à fond plat avec le diamètre égal ou legement supérieur à celui de la plaque.
- éviter les débordements de liquide; ainsi après l'ébullition ou même, quand le liquide a été rechauffé, réduire l'émission de la chaleur;
- ne pas laisser les plaques électriques branchées à vide ou avec des casseroles ou des poèles vides;
- a cuisson terminée, tournier le bouton jusqu'à la position de fermeture et/ou déconnexion.
GAS GAZ

Fig. 1 - Abb. 1 - Afb. 1
corona 20-32
rapido 20-26
semirapido 14-20
ausiliario 010-14
wok 020-32
fast 20-26
semifast 014-20
auxiliary 10-14
wok 20-32
rapide 20-26
semirapide 014-20
auxiliaire 10-14
wok 020-32
schnell 20-26
halbschnell 014-20
hilbrenner 010-14
corona 20-32
rápido 0 20-26
semirápido 0 14-20
auxiliar 010-14
wok 020-32
snel 020-26
matig snel 014-20
sudderpit 010-14
coroa 20-32
rápido 20-26
semi-rápido 014-20
auxiliar 010-14
PIASTRE ELETTRICHE ELECTRICAL PLATES PLAQUE ELECTRIQUES KOCHPLATTEN
PLACAS ELECTRICASELKTRISCHEKOKPLATENCHAPAS ELECTRICAS


DISINSERITO
SWITCHED OFF
DEBRANCHE
ABGESCHALTET
DESCONECTADO
UITGESCHAKELD DESLIGADO






Fig.2-Abb.2-Afb.2
E
1 Brûleur rapide
2 Brûleur semi-rapide
3 Brûleur auxiliaire
4 Brûleur triple couronne
5 Bruleur oblongoissonniere
60145 1000-1500W (Electrique




1 Starkbrenner
2 Normalbrenner
3 Garbrenner
4 Dreikreisbrenner
5 Fischbrenner
60145 1000-1500W (Elektrisch)
Fig.2a - Abb. 2a - Afb. 2a
| utilisation des plaques électriques | |||
| commutateur regolateur d'énergie | intensité chaleur | types de cuisson | |
| 1 | 1-2 | faible | faire fondre les graisses, etc.; chauffer des petites quantités de liquide |
| 2 | 3-4 | douce | chauffer des quantités moyennes de liquide; crèmes, sauges à longue cuisson |
| 3 | 5-6 | lente | décongeler - chauffer de grandes quantités de liquide; cuisson au dessous de la température d'ébullition |
| 4 | 7-8 | moyenne | cuisson rôtis viande blanche; cuisson à température d'ébullition |
| 5 | 9-10 | forte | cuisson rôtis viande rouge - cuisson pour pots-à-feu; cuisson pour viandes dans la poèle |
| 6 | 10-11 | vive | porter à ébullition de grandes quantités de liquide; faire frire |
| Anwendung der Heizkörper | |||
| Kommutator | Energieregler | Intensitätder Wärme | Kocharten |
| 11 - 2 | gering Fett verflüssigen esw. -kleine Mengen Flüssigkeit erwärmen | ||
| 23 - 4 leicht | mittlere Mengen Flüssigkeit erwärmen: Cremes, Soßen - langsamesKochen | ||
| 3 | 5 - 6 | niedrig | auftauen - große Mengen Flüssigkeit erwärmen - Kochen unter demSiedepunkt |
| 47 - 8 | mittel Kochen von zarten Braten: bei Siedepunkt kochen | ||
| 59 - 10 stark | Kochen von Braten - gekochttem Fleisch; Kochen in der Pfanne | ||
| 6 | 10 - 11 | ganz stark | große Mengen Flüssigkeit zum Sieden bringen; backen |
Avant de toute opération, débrancher l'appareil du reseau électrique. Pour assurer une longue vie à l'appareil il faut absolument effectuer de temps en temps un nettoyage général soigneux en gardant à l'esprit ce qui suit:
- les parties en vitre, acier et/ou émailées doivent être nettoyées avec des produits appropriés (faciles à couver ans les magasins) non abrasifs ni corrosifs. Eviter les produits qui contiennent du chlore (eau de Javel.etc.)
- éviter de laisser sur la table de travail des substances acides ou alcalines (vinaigre, sel, jus de citron, etc.)
les orifices du bruleur et les chapeaux (pièces mobiles du bruleur) doivent être frequentlyment lavés avec de l'eau bouillante et du détergent, en ayant soin d'enlever tout incrustation, ensuite ils doivent être essuyés soignement, en contrôle que tous les trous soient débouchés. - les plaques electriques doivent être nettoyées avec un torchon humide et un peu huiilles quand elles sont encore tièdes.
- les grilles inox du plan de travail après avoir eté chauffées prændent une couleur bleuâtre qui ne déterieoure pas leur qualité. Pour leur rendre leur aspect original employer un produit un peu abrasif.
N.B.: - Le graissage eventuel des robinets doit etre faite par des specialites, qui doivent etre appelés en cas d'anomalie de fonctionnement. Controller de
E
N
Wartung
temps en temps l'etat de conservation du tuyau flexible en metal d'alimentation gaz. Si il y a des fuites remplacer immeditatement. Dans tous les cas ne pas oublier de la changer avant la date limite indiquee sur le tube.
NON UTILIZZARE
DO NOT USE STEAM
NE PAS UTILISER DE
PULITORI A VAPORE CLEANERS
NETTOYEURS A VAPEUR







Fig.3-Abb.3-Afb.3
SOLO PER VERSIONE CON PANNELLO COMANDI
----ONLY FOR MODEL WITH CONTROL PANEL
--- SEULEMENT POUR MODELE AVEC PANNEAU DE COMMANDE
NUR FÜR MODELL MIT SCHALTTAFEL
SOLPO PARA MODELO CON PANEL DE MANDOS
ALLEEN VOOR MODELL MET COMANDOPANEEL
SOMENTE PARA MODELO COM PAINEL DE COMANDO
Modalités d'installation
Installazione
Cet apparéil n'est pas pourvu de dispositif d'évacuation des produits de la combustion. On doit donc l'instructor dans des endroits suffisamment aérés suivant les dispositions des lois en vigueur. La quantité d'air nécessaire à la combustion ne doit pas être inférieure à 2.0m^3/h pour chaque kW de puissance installer. Voir tableau puissances brûleurs.
Posizionamento
L'appareil est prevu pour etre encastré dans un plan de travail comme indiquedans la fig.3.
Metre le joint sur tout le périmetre de la table.
Collegamento gas
(Fig. 4) Effectuer la connexion de l'appareil à la bouteille ou à l'installation selon les prescriptions des normes en vigueur s'assurant à l'avance que l'appareil est reglé pour le type de gaz disponible. En cas contraire voir: "Adaptation à un type de gaz différent". Verifier aussi que la pression d'alimentation correspond aux valeurs du tableau: "Caracteristiques utilisateurs".
Effectuer le branchement avec des raccords à conduits métalliques (meme flexibles) de façon à ne pas
E
provoquer de contraintes aux organes internes à l'appareil.
N.B.: -Quand l's installation est terminée, controller, avec une solution savonneuse, la parfaite etoncheite de tout le systeme de branchement.
Branchement électrique
Avant d'effectuer le branchement électrique, s'assurer que:
- la tension de l'installation électrique correspond au voltage indiqué sur la plaque signaletique appliquée au fond du plan;
- l'installation a une connexion de terre efficace suivant les normes et les dispositions de loi en vigueur. La mise a terre est obligatoire aux termes de la loi.
Si l'appareil n'a pas de cable et /ou de prise correspondante, ne utiliser que des cables et des prises, selon les données indiquées sur la plaque signalétique et à la température de travail: T 140°C. Le cable ne devra jamais atteindre une temperature supérieure de 50°C à celle de l'ambiance.
Pour le raccordement direct au réseau, il faut prévoir un interrupteur omnipolaire d'une puissance adaptée aux données figurant sur la plaque pour déconnecter l'appareil en cas debesoin; conformément aux règes d'installation, la distance d'ouverture des contacts doit permettre une déconnexion complète dans les conditions de surtension de la catégorie III (le cable jaune et vert de mis à la terre ne doit pas être interrompu). La prise ou l'interrupteur omnipolaire doivent être facilement accessibles après la mise enplace de l'appareil.
Si le cable d'alimentation est endommagé, le constructeur, le service d'assistance technique ou un technician qualifié devra le remplaçer afin d'éviter toute sorte de risque.
E
Antes de efectuar la connexion électrica comprobar que:
(Fig. 5) Effectuer la connexion des joints de cardan aux raccords de bouton correspondants en tournant la vis à fond dans la borne.
Dans les modèles doués de suture thermoelectrique (thermocouple) (Fig. 5A):
- après le blocage de l'appareil (Fig. 3)
- après l'accompilissement de l'opération précrite ci-dessus (Fig. 5)
- après le positionnement du four et/ou du panneau commandes demontez le plan de travail devissant les vis de fixation brûleurs (2 pour chaque brûleurs) de façon à gagner accès au conteneur dans lequel, au moyen d'une ouverture appropriée, il est possible de bloquer complètement les cardans. Cette opération unit les deux parties du cardan et permet la poussee sur la manette pendant l'allumage. Montez le plan de travail à nouveau.
Adaptation à un différent type de gaz
(Fig.-6-7) Si I'appareil prévoit un type de gaz différent de celui d'alimentation disponible, on doit proceeder:
- à la substitution des in-jecteurs (Fig.6) avec leurs correspondants au type de gaz qu'il faut utiliser (voir tableau "Caracteristiques utilisateurs").
- pour le réglage au minimum, tournez à l'aide d'un tournevis approprié la vis qui se trouve sur le robinet (Fig. 7) après avoir
E
N
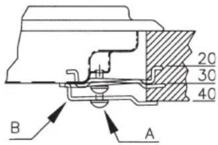
A - pour robinets à soupape
B - pour robinets normaux.


| E | N | L | |
| (Butan-/Propangas) | Para GPL (Butano/ | men de stelschroef vast | GPL (butano/ |
| Einstellschraube fest anziehen. | propano) atornillar a fondo. | aandraaien. | propano) ataraxar a fundo. |
| A - für Hähne mit Ventil (Thermoelement) | A - para llaves valvuladas (termopar) | (thermo-element) | A - para torneiras com valvulas (termo par) |
| B - für herkömmliche Hähne | B - para llaves normales. | B - voor normale kransen | B - para torneiras normais |
Dans un souci constant d'amélioration qualitative, le constructeur se reserve la possibilité d'apporter à ses produits les modifications utiles, sans compromètement ses caractéristiques essentielles. Le constructeur décline toutes responsabilité pour d'eventuelles inexactitudes containues dans cette notice, imputables à des erreurs d'impression ou de transciption.
Notice Facile