DTX500 - Station Météo Cresta - Notice d'utilisation et mode d'emploi gratuit
Retrouvez gratuitement la notice de l'appareil DTX500 Cresta au format PDF.
| Caractéristiques Techniques | Station Météo Cresta DTX500 avec affichage numérique, capteurs intégrés pour température, humidité, pression atmosphérique et prévisions météo. |
|---|---|
| Utilisation | Facile à installer et à utiliser, idéale pour un usage domestique ou professionnel, avec un affichage clair des données météorologiques. |
| Maintenance et Réparation | Vérifier régulièrement les capteurs et remplacer les piles lorsque nécessaire pour un fonctionnement optimal. |
| Sécurité | Utiliser uniquement avec les accessoires recommandés par le fabricant pour éviter tout dommage ou dysfonctionnement. |
| Informations Générales | Compatible avec divers accessoires pour une personnalisation accrue, garantie limitée fournie par le fabricant. |
FOIRE AUX QUESTIONS - DTX500 Cresta
Questions des utilisateurs sur DTX500 Cresta
0 question sur cet appareil. Repondez a celles que vous connaissez ou posez la votre.
Poser une nouvelle question sur cet appareil
Téléchargez la notice de votre Station Météo au format PDF gratuitement ! Retrouvez votre notice DTX500 - Cresta et reprennez votre appareil électronique en main. Sur cette page sont publiés tous les documents nécessaires à l'utilisation de votre appareil DTX500 de la marque Cresta.
MODE D'EMPLOI DTX500 Cresta
Contenu de l'échébladige de
| Contr | ôlez | le contenu | et d'é | ballez | prudemment |
| 1 station | de base | ||||
| 1 m à t en | acier | inoxydable | |||
| 1 capteur | thermo-hygro | ||||
| 1 capteur pluviom | ètre | ||||
| 1 capteur | an é mom | ètre | |||
| 1 capteur girouette | |||||
| Vis de fixation | |||||
| Accessoires | de fixation | en | acier | inoxydable |
Détalbaitechniques
| Six touche,▼,▲,MM,SMOOZEOOZE LIGHT. | ||||||
| Heure radio-pilot é e | ||||||
| R é ception automatique du signal horaire | ||||||
| Changement de l'heure é t é /hiver automatique | ||||||
| Affichage de l'heure aux formats 12 ou 24 | ||||||
| 24 fuseaux horaires ré glables (-/+ 12 heures) | ||||||
| Calendrier continu jusqu'en 2099 | ||||||
| Affichage du jour, mois et nom du jour espagnol, danois (abr é v) | ||||||
| Double alarmé à r'é pétition (après 5 minutes) | ||||||
| 5 pr é visions (ensoleill é , partiellement nuag | ||||||
| Historique barom é trique des derni é res | ||||||
| Temp é rature int é rieure et ext é rieure et l | ||||||
| Alarmes pour les temp é ratures maxi/mini | ||||||
| Port é de mesure du thermom é tre: int é | ||||||
| Affichage de la temp é rature en ° C ou ° F | ||||||
| Alarmé de temp é rature pour l'int é rieur et Indication du niveau confort à l'int é rieur | ||||||
| Phase lunaire | ||||||
| Vitesse du vent km/h ou mp/h, de 0 à 256 | ||||||
| Affichage de 16 directions du vent | ||||||
| Pr é cipitation affich é en mm et pouces, | ||||||
| Indication é pusement des piles | ||||||
| Eclairage de l'é cran par LED bleue Station m é t é o: 3 piles alcalines AA/LR6 d |
Capteurs extennes
Fréquence:433MHz
Porte e jusqu'a 100m sur terrain libre ** La port e e peut perturbation telles
- Capteurs externes:
varier en fonction de l'environ que les murs en b eton, 2 piles alcalines 1,5 va
INSTALLATION
Installation des pilles piles des
Ouvrez le compartment a piles a l'arri e re tout en faisant corresponde les indications
Enlevez la couverture du capteur thermo-hygro marqu é s RAIN et WIND (voir dessin ci-desosus)
- Branchez le c a ble du capteur-an é mom é ensuite le c a ble du capteur-girouette pluviom è tre sur le raccord marqu é RAIN. avez entendu un clic. Placez 2 piles alcalines AA/LR6 dans le co (attention aux indications de polarit é + et

Remarques:
| - | Installez dans le externe. de lancer | d'abord capteur Si cela un nouvel essai. | les externe. ne se | piles La produpendant pas, | dans station 3 | station de seborfides | de base ap |
| - | Chaque base sont | fois que vous | voues | remplacez | les | piles, | |
| - | Chaque de base. | fois que garder | vous | remplacez la touche | les enforc | piles, |
Institutifique la stabilite nationalebese de
| La | station | de | base | peut | être | pos | é | e | sur | n | ’ir |
| est | important | de | v | é rifiér | d’ | abord | si | le | signal |
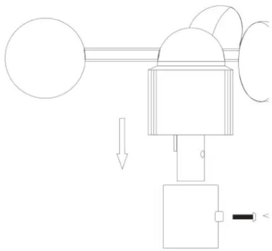
Installation des capteurscapptarresdar le mdtiflaisur
| Afin d ‘-obtenir d'é couvert, d'atteindre | un ré sultat é loign é des les capteurs | pr é cis, arbres et causer | il faut et des ainsi | fixer obstacles des |
1. Montagade laaehmonotretstor leaneepiemserport en plastipabiquen
| I' an é mom ètre peut tourner librement. Montez-le |
| I'aide d'une vis. Assurez-vous que le vent p |
| (voir dessin ci-dessous) |

- Montagegeckelagirouuettessindepremierespporterpliatique:avant de monter la girouette,
il faut brancher le c a ble sortant de I an e mom girouette sur le support en plastique et fixez-le

- Monnagagablupvighudinsur lesdessiemersuppoo support:
r é servoir de r é cup é ration de pluie et un autre sens des aiguilles d'une montre afin d aligner Attachez le capteur-pluviom ètre à l'aide de comme indiqué é dans le dessin ci-dessous.

- Montagcducaepaantthieemoonbiterayggaaransosurledtobbsienssppp: d es que les
capeurs de I' an e mom et tre et du pluviom et WIND
c a bles sur les prises marqu es RAIN
dont é es puissant tre transmises vers
Cela ne peut se faire que d'une fa c on: voir
capteur externe (voir dessin ci-dessous).

Attention: n ' attachez et ne d é tachez pas trop
capteur externe sans son capot de protection.
mauvaise transmission des donnés es vers
- Montazmaltenant toudestecapoleapeurldnndtleieque you uulalz ensultte ensuite I'entrieuefaites attfatae quattantibostcostapntseotienbien fixes avfimcm cbtaudibleaudible)


- Niveau de pile de la station de base (IN) 2. Niveau de pile des capteurs externes (OUT) 3.
Tendance humidit é ext é rieure 4. Humidit é
ext é rieure 7. Tendance temp é rature ext é - Alerte temp é rature int é rieure 11. Temp
- Humidit e de l'air int e rieur 14. Tendance
- Pr évisions m é t é o 17. Pr écipitation 18.
- Symbole RCC 22. Dat e 23. Heure 24.
- Phase lunaire
| • D è s que vous aurez install é les piles, la sl capteur externe. Le symbole RF (Fr é quence temp é rature ext é rieure au coin gauche de ce processus prend environ 3 minutes al air, la vitesse du vent, la direction du vent, station m é t é o. Si cela ne sependaftbduit 3 psacondes il afin de lancer un nouvel essai (le symbole le rep é rage automatique du signal radio donn ées du capteur externe et est indiqu coin mauve sauf d'affichage. • D è s que la réception du signal a r reussie, affiché é en permanence. Si, à cause d'une mauvaise r'é ception, le sign les instructions ci-dessous pour ré gler l'heure |
Réglégégaanuel de l'habilitation(ausdepour (diasititepeagagagetelsrquede fortattmat 12/24 heures, fudesaurareaire,flangueopotir), langue,etc.)
Gardez M la" entorbe é "dM pendant 3 secondes. Lorsque le format 12/24 h clignote, utilisez soushait e
Appuyez M sur pourla touchenfirmer. “M Lorsque le fuseau horaire et “ pour clignote,s e lectionner utilisez horsaire (-12 a +12).
Appuyez M surpour la toxner. "M Lorsque le format d'affichage DM/MD (Jour/s et " 1984 pour s e lectionner le format souhai
Appuyez M surpour la toomher. "M Lorsque le format d'affichage de I'ann e s electionner l'ann e
Appuyez M sur pourla touchenfirmer. “M Lorsque I' affichage du mois clignote, utilisez
Appuyez M surpour la tocmher. M Lorsque le format d' affichage du jour clignote
Appuyez M surpour la tocofiermer. M Lorsque I affichage de let heuf pour dignotgler I'heurtil Appuyez M surpour la tocofiermer. M Lorsque I affichage des ainutpour r edignotes
Appuyez M sur pourla toudfirmer. M Lorsque la s e lection des langues clignote,
Appuyez M sur pourla touchenfirmer. “M Lorsque les formats C/ F clignotent, format souhait e.
Appuyez M surpour la toxomher. "M Lorsque le format d'affichage de la pression touches " et " pour s e lectionner le fo
Appuyez M surpour la toxhermer.
Lorsque le format d'affichage pour la preciption en mm/inch et kmh/mph clignote, utilisez les touches
Appuyez M sur" pouta touchenfirmer.
Information:
| • Si vous du mode Explication | ne touchez de dé r é glage de l' affichage | aucun au mode du fuseau | pendant d ' affichage | |||
| Vous km de mais Si, par vous display | pouvez l'é metteur où l' heures exemple, choisissez affichera | r é gler à Francfort/Main locale l' heures le fuseau l' heures allemande | manuelles diffère locale horaire allemande | duuse | le fuseau en l' heures autreve | horaire: Allemagn pay: L' hour |
Réglaghe l'abdmejournalière:journali è
Appuyez "M'urpour la tqustner "de l'affichage de I
Enoncez "MM perldant touche 3 seconds. Le temps
Lorsque I'heure du temps et paaarmaister clignote, I'heure
Appuyez “M M'ur pour d'infirnurche
Lorsque les minutes du temps d 'alarme ajuster les minutes M'M pour Apfyeer. sur la touche
Appuyez "M'urpour la tpaaseer "de I' affichage A1
R é glez de cette faç on le deuxi é me temps
Marche/arrêt d'abélimajournalière:rejournali è
Appuyer 1x sur pour activer I'alarme 1. de I'afficheur.
Appuyer 2x spour d e sactiver I'alarme 1 et pour a I'alarme 2s 'allume
Appuyer 3x spour activer les alarmes 1 & 2. Les 4x indrukketets om de beide alarmen af te zetten.
Appuyer 4x Spour d esactiver les 2 alarmes
Information:
| Si vous ne touchez du mode de ré glage au mode d'affichage Si vous ne l'arrêté tez pas en appuyant sur |
Répétésboidalabamae
Pour activer cette fonction de somnolence, suivez les é tapes suivantes:
| Lorsque mode | vous somnolence. | entendez | SNOOZE/LIGHTsonnerie, appuyéz! | ||
| L'icône | d'alarme | clignote | pour | signaler | que |
| La sonnerie | s'arrête, arrêté | mais | reprend | 5 minutes | |
| Vous | pouvez | la fonction | de | somnolence | |
Affichage 12/24 heures hed@84
| L'heure manuel). | s' affiche | soit | au | format | de | 12 | heures |
Affichage de la termpenatneredc 6u8Elen
La température peut ettre affich e en C ou
Max./ Min. pountlmbamptahernterieieae/ebtrieieret Ihuididtdedaiain e
| Appuyez l' inté réur | plusieurs et à | “▲” l'ext | bours é rieur. | affichér la | toute temp de é râture | et |
| Gardez la | touché enforc | “ é e pendant | 3 secondes pour | efface |
Programmer une alarmé datamapertéraphtre é
| Gardez de la et "▲ | A lā enfoche tempé rature | é "eA pendant int é rieure | au moins clignote, | 3 se fixez |
| Appuyez fixez | A sur et la quantòuche tempé rature | la lim&Ae et alirhum | inf é rieure à l'aide | de des |
| Appuyez fixez | A 'suet tempé rature | la limiteAe etexirhum | sup é rieure à l'aide | de des |
| Appuyez fixez | A 'suet tempé rature | la lim&Ae minimum | inf é rieure à l'aide | de des |
| Quand | I'alarme | Φ apposta | activ ↑t dénse, | le l'sgaffiblage |
Marche/arrêt de l'alarmonde température é
| • La infé rieure | programmation à la tempé rature | ne peut minimum. | pasêtre | achve | |
| • La température | é rature minimum | é rature doitêtre | minimum. | doitêtre | au moins |
5 Prévisiésiosanédiocologijques
ensoleill é, semi-ensoleill é, couvert, pluvieux, orageux
Remarque : commedesppveisienmertecosbbsaebadtemptnntyetamidtd dede I daimet la palaspiorsiainsospieriqueid, pepeytavoloy petitspediastavecda coahtibitme te reelle.
Historique barometétiques 12 barontépresédétespr
| L'affichage préçé déntes a d'éjàfonctionn | barom en é au moins | étrique appuyaHISTORY plusieurs(àconditionfois heures). | est plusieurs(àconditionfois heures). | en hPa et enHg. |
Vitesse du vent enmbp/bop/km/h kroth
| La vitesse vitesse | du | dmph venth ou s,kratliche est mise | R en glagenph à jour. |
Direction du vent vent du
| La fois | direction par | du minute. | vent | est | affich | é | e | sur | une | rose |
Affichage de la prépipipatatio (ctbe 999998mm)
| • Appuyez des 24 | précipitation | mm | inocht | en affücbinch | pé re é glage mm | manuel | |
| • Gardez enregistr (affichage | 24 | derni | ères | heures | ou | le total. | 3 |
| la touche | ▼ | enfonc | é e pendant | (affiche | |||
| és lors | de la derni | è re heures | |||||
| • La précipitation | maximale | enregistr | é e es | ||||
| précipitation | clignote | quand | ce maximum | ||||
| donn | èes | de la | précipitation | manuellement, | |||
| précipitations. | |||||||
Eclairage del'affifibleur de
Appuyez
SNOZE/LIGHT touche
SNOOZE/LIGHT
activer
Afflchage ddesphinaeslunaties
La
station
m
é t é
rologique
utilise
les
conn
e

A
B
C
D
E
F
G
H
A: Nouvelle
lune
D: Lune
gibbeuse
B:Premier
croissant
croissant
E: Pleine
d'é croissant
G: Dernier quartier
H: Dernier croissant
Humidité dédiarii l'initéieieeur
La station
m
é
e
cal
cule.
a
base
des
conn
announce
le
ré
ultat
au
mc
en
des
symboles

Confortable
- Sec - Humide
Indication pile épuiée épile
La station
m
é
e
affi
chee
le
symbole
d 'une
1
I’unit
é
principal
et
du
cap
external
doivent
Le
symbole
de
la
station
m
t é
C
s
' affiche
Le
symbole
du
capteur
external
s' affiche
Connexion sans fil aegede fappentemsterne
external
Gardez la
toucheenfonce
é e pendant
3 seconds
capteur
external.
Le
symbole
réception
FR
du
capteur
external
quence
est
espace
avec
fen
etre.
murs
en
b é
ton.
Dans
des
Receipjioodusigghraakibepjibbeé
| · Environ 3 minutes automatiquement clignotante. | après l'installation/remplacement | |||||||
| à repérer le signal | radio | |||||||
| · Gardez √leset▲"fêmbores" d'é marrer ou arrêté ter le repérage du signal. | éessimultan ément péné | |||||||
| · Chaque jour, entre 1:00 et 3:00 heures le avec le signal radio DCF afin de corriger u synchronisation é choue (le symbole de l'4:00 et 5:00 heures. Si le signal n ' a pas encovez ajuster la nouvelle information. sera replac é par | ||||||||
Information
| Une | antenne | clignotante | signifie | que | la | sta |
| Une | antenne | repr | é sent | é en | continu | signifie |
| Veuillez | respecter | ou | é crans | d' | ordinateur. | |
| les | t'é l'é viseurs | |||||
| La | réception | radio | est | plus | faible | dans |
| bureau. | Dans | un | cas | extr | éme, | il faudra |
| Il y a moins | de perturbations | atmosph | é rique | |||
| moment | pour | capter | un | signal | radio. | Une |
| affichage | de | l'heure | exacte | à | 1 seconde | p |
Tuyau
| Vous cause signal port | pouvez de radio é e de | r é gler perturbations, peut 1.500 | I' heures | manuellementune distanceé , l' heuresder l'é metteur | trop sera à | ||||
| étre à partir | capt partir | ||||||||
| Sous | ré serve | de | fautes | d' impression |
IMPORTANT
| Nous pourrez il faut, prête | vous encre et/ou à r é parer | remercions profiter avez votre | de de des station | votres longues questions m é | confiance ann é au sujet rapidement |
| Afin magasin, r'éponse autorisation magasin Via 5608940 | r'é aliser votre et, s'il ne sait pas rem é dier au probl autorisation où vous l'avoz achet é. www.cresta.nl | cét objectif, question ne sait pas rem é dier au probl retour ou l'avoz achet é. www.cresta.nl | nous ou plainte rem RMA, achet sous | vouss à l'adresse au permettra support |
AOKeIeIeIeIeIeIeIeIeIeIeIeIeIeIeIeIeIeIeIeIeIeIeIeIeIeIeIeIeIeIeIeIeIeIeIeIeIeIeIeIeIeIeIeIeIeIeIeIeIeIeI e I
BaiLiStaTeKbIgaiJiaHmDadEeBtWiItagLihGnepdOtdalalokbIbIcI,
QingXITowny,Daringguan City,Guangdong FengyufengChina
rovince,China
Notice Facile