F 364 - Chauffage Jøtul - Notice d'utilisation et mode d'emploi gratuit

Retrouvez gratuitement la notice de l'appareil F 364 Jøtul au format PDF.

📄 100 pages Français FR 💬 Question IA 10 questions ⚙️ Specs
Notice Jøtul F 364 - page 22
Caractéristiques techniques Poêle à bois Jøtul F 364, puissance nominale de 6 kW, rendement de 80%, capacité de chauffage jusqu'à 120 m².
Dimensions Hauteur : 1030 mm, Largeur : 550 mm, Profondeur : 450 mm.
Poids Poids net de 140 kg.
Type de combustible Bois (bûches jusqu'à 50 cm).
Utilisation Chauffage d'appoint ou principal, idéal pour les espaces de vie.
Maintenance Nettoyage régulier du foyer et du conduit de cheminée recommandé, vérification annuelle par un professionnel.
Sécurité Équipé d'une porte en fonte avec système de verrouillage, protection contre les surchauffes.
Informations générales Certifié selon les normes européennes, disponible en plusieurs finitions (noir, gris, émaillé).

FOIRE AUX QUESTIONS - F 364 Jøtul

Comment allumer le poêle Jøtul F 364 ?
Pour allumer le poêle Jøtul F 364, ouvrez la porte, placez du papier journal et des petits morceaux de bois à l'intérieur, allumez le papier et fermez la porte. Assurez-vous que l'arrivée d'air est ouverte pour favoriser la combustion.
Quelle est la puissance de chauffage du Jøtul F 364 ?
Le Jøtul F 364 a une puissance de chauffage allant jusqu'à 10 kW, ce qui le rend adapté pour des espaces d'environ 100 à 200 m², selon l'isolation.
Quel type de combustible peut-on utiliser avec le Jøtul F 364 ?
Le Jøtul F 364 est conçu pour fonctionner avec du bois sec et bien fendu. Évitez d'utiliser des combustibles non recommandés pour ne pas endommager l'appareil.
Comment nettoyer le poêle Jøtul F 364 ?
Pour nettoyer le poêle, laissez-le refroidir complètement, puis utilisez une brosse douce pour enlever les cendres et un chiffon humide pour nettoyer la surface extérieure. Ne pas utiliser de produits abrasifs.
Le poêle Jøtul F 364 nécessite-t-il un conduit de cheminée ?
Oui, le Jøtul F 364 doit être installé avec un conduit de cheminée approprié pour évacuer les fumées. Assurez-vous que l'installation respecte les normes locales et soit effectuée par un professionnel.
Comment régler l'arrivée d'air du Jøtul F 364 ?
L'arrivée d'air peut être réglée à l'aide du levier situé sur le devant du poêle. Tournez-le pour augmenter ou diminuer le flux d'air, ce qui influence la combustion et la chaleur produite.
Y a-t-il une garantie sur le poêle Jøtul F 364 ?
Oui, le Jøtul F 364 est généralement couvert par une garantie de 5 ans sur les pièces. Veuillez consulter le manuel d'utilisation ou le revendeur pour les détails spécifiques.
Quel est le poids du Jøtul F 364 ?
Le poids du Jøtul F 364 est d'environ 150 kg, ce qui nécessite une installation sur une surface solide et stable.
Comment savoir si le poêle Jøtul F 364 fonctionne correctement ?
Pour vérifier le bon fonctionnement du poêle, assurez-vous que les flammes sont stables et que la chaleur est uniformément diffusée. Si vous remarquez des fumées excessives ou une odeur désagréable, vérifiez l'évacuation des fumées.
Peut-on utiliser le Jøtul F 364 en continu ?
Oui, le Jøtul F 364 peut être utilisé en continu, mais il est recommandé de ne pas laisser le poêle allumé sans surveillance et de suivre les instructions du fabricant pour la sécurité.

Questions des utilisateurs sur F 364 Jøtul

0 question sur cet appareil. Repondez a celles que vous connaissez ou posez la votre.

Poser une nouvelle question sur cet appareil

L'email reste privé : il sert seulement à vous prévenir si quelqu'un répond à votre question.

Aucune question pour l'instant. Soyez le premier à en poser une.

Téléchargez la notice de votre Chauffage au format PDF gratuitement ! Retrouvez votre notice F 364 - Jøtul et reprennez votre appareil électronique en main. Sur cette page sont publiés tous les documents nécessaires à l'utilisation de votre appareil F 364 de la marque Jøtul.

MODE D'EMPLOI F 364 Jøtul

FR - Manuel d'installation et d'utilisation 22

1.0 Relations avec les autorités ....22
2.0 Données techniques .....22
3.0 Sécurité ......23
4.0 Installation 28
5.0 Utilisation au quotidien ....38
6.0 Entretien 38
7.0 Maintenance 39
8.0 Dysfonctionnements - Causes et dépannage....40
9.0 Équipements disponibles en option ..... 40
10.0 Garantie 40

Tous nos produits sont livrés avec une étiquette reprenant le numéro de série et l'année. Reportez ce numéro à l'endroit indiqué dans les instructions d'installation.

N'oubliez pas de le mentionner à chaque fois que vous contactez votre revendeur ou Jøtul.

Serial no.

1.0 Relations avec les autorités

L'installation d'un poêle est soumise aux législations et réglementations nationales en vigueur.

Les réglementations locales, y compris celles se rapportant aux normes nationales et européennes, doivent être respectées lors de l'installation du produit.

Les instructions de montage, d'installation et d'utilisation sont fournies avec l'appareil. L'installation ne doit pas être utilisée avant d'avoir été inspectée et approuvée.

Une plaque signalétique thermorésistante se trouve sur le bouclier thermique, sous l'appareil. Elle comporte les informations suivantes : fabricant, adresse, nom du produit, référence catalogue, norme de fabrication, référence de production et puissance.

2.0 Données techniques

Matériau :fonte
Finition :peint noir ou gris
Combustible :bois exclusivement
Longueur des bûches (maxi) :30 cm
Conduit :supérieur, arrière
Conduit de raccordement : 150 mm/section de min.177 cm^2

Poids :

  • avec base en fonte : env. 168 kg
  • avec piédestal en fonte : env. 161 kg
  • avec pied en fonte : env. 159 kg
  • avec base en fonte et avec porte vitrée :
  • avec base en verre : env. 163 kg
  • avec trois pieds env. 154 kg

Options :

Plaque décorative - roseau/caches pour vitres latérales, set de rotation (Jøtul F 363), pierre ollaire, décoration en verre, supérieure, latérale et frontale. Panier à bois.

Dimensions, distances : voir fig. 1

Données techniques conformes à la norme EN 13240 :

Puissance thermique nominale :5,5 kW
Débit massique de fumées :5,9 g/s
Tirage recommandé :12 Pa
Rendement :73 %@5,8kW
Taux de CO (13 % O_2 ) :0,12 %
Température des fumées :330°C
Mode de fonctionnement :intermittent

La combustion intermittente correspond à l'utilisation normale d'un foyer, réalimenté dès que le combustible a brûlé et formé suffisamment de braises.

Arrivée d'air

L'arrivée d'air frais peut être raccordée directement au poêle Jøtul F 360 par :

  • la base, le piédestal, le pied ou
  • par un tuyau flexible depuis l'extérieur ou la cheminée (seulement si celle-ci dispose d'une conduite propre pour l'air frais) et vers le raccord d'air frais de l'appareil.

Par un mur

Jøtul F 364 - Arrivée d'air - 1

Par le sol et la plaque de sol

Jøtul F 364 - Arrivée d'air - 2

Par le sol et la cave

Jøtul F 364 - Arrivée d'air - 3

Indirectement par un mur

Jøtul F 364 - Arrivée d'air - 4

Remarque : Afin d'assurer un niveau de rendement et de sécurité optimal, l'installation d'un poêle Jøtul doit être confiée à un installateur qualifié.

Toute modification de l'appareil par le distributeur, l'installateur ou l'utilisateur final, risque de compromettre le bon fonctionnement de l'appareil et de ses éléments de sécurité. Ceci s'applique également à l'installation d'accessoires ou d'équipements en option qui ne sont pas fournis par Jøtul. Ce risque peut par ailleurs survenir dans le cas où des pièces ou éléments essentiels pour le bon fonctionnement et la sécurité du poêle, ont été désassemblés ou retirés.

Dans tous ces cas, le fabricant ne pourra être tenu responsable pour le produit et le droit de recours à la garantie sera rendu nul et sans effet.

3.1 Mesures de prévention anti-incendie

Toute utilisation du poêle comporte un certain degré de risque. C'est pourquoi, il est indispensable de toujours respecter les consignes de sécurité suivantes :

  • Les distances minimales à respecter en utilisant le poêle ressortent de la figure 1.
  • Assurez-vous que les meubles et autres matériaux inflammables ne sont pas trop rapprochés du poêle. Pas de matériaux inflammables dans un rayon de 1 mètre du poêle.
  • Laissez le feu s'éteindre de lui-même. Ne tentez jamais d'éteindre le feu avec de l'eau.
  • Le poêle devient chaud lorsqu'il est allumé et peut provoquer des brûlures à la personne qui le touche.
  • Attendez que le poêle soit froid pour retirer les cendres. Les cendres pouvant encore contenir des braises, il convient de les recueillir dans un réceptacle ininflammable.
  • Il convient d'épandre les cendres à l'extérieur ou de les vider dans un endroit ne présentant aucun risque d'incendie.

En cas de feu de cheminée :

  • Fermer l'ensemble des trappes et des entrées d'air.
  • Maintenir la porte de la chambre de combustion fermée.
    • Vérifier toute présence de fumée dans le grenier et dans la cave.
  • Contacter le service de sécurité incendie.
  • Suite à un feu de cheminée, le foyer et la cheminée doivent être contrôlés par un spécialiste avant toute nouvelle utilisation afin de s'assurer que l'installation est opérationnelle.

3.2 Le sol

Sol

Assurez-vous que le sol convient pour un poêle. Se reporter à la section « 1.o Données techniques » pour la spécification du poids. Il est recommandé d'enlever les revêtements situés sous le poêle, si ceux-ci ne sont pas solidaires du sol (parquets flottants).

Exigences relatives à la protection des sols en bois

Le modèle Jøtul F 360 comporte un bouclier thermique sur le dessous pour protéger le sol du rayonnement. L'appareil a une protection du sol intégrée et peut donc être posée directement sur un sol en bois.

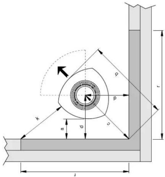
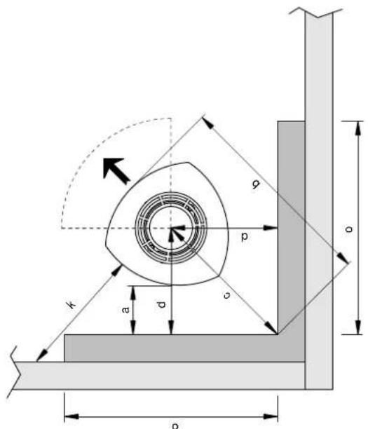
Jøtul F 360 Series
Distance minimum par rapport au mur en matériau combustible (fig. 1a).

Point de mesureConfigurationbcdefghi
Modèle de base avec ou sans tubage acier300925720509400552347621100
Avec habillage verre de côté et conduit à semi-isolé.200805591418400571357630100
Modèle C (produits avec kit de convection) N° cat. 50044359 + 5004364210067246733025052431949150
Modèle C (produits avec kit de convection et conduit semi isolé). Modèle arrêté.150 735521 368 400 571357 630 100

Fig. 1a
Distance par rapport à la paroi en matériau combustible avec piètement rotatif
Jøtul F 364 - Exigences relatives à la protection des sols en bois - 1

text_image max 180° h e max 90° d a

900092-P01

Distance minimale par rapport au mur en matériau combustible
Jøtul F 364 - Exigences relatives à la protection des sols en bois - 2

text_image a b c d a d

Jøtul F 364 - Exigences relatives à la protection des sols en bois - 3

text_image e f b0 h

Jøtul F 361 / F 363 / F 364 / F 365 / F 366 / F 369
Mur en matériau combustible
Jøtul F 364 - Exigences relatives à la protection des sols en bois - 4

text_image F 360 C: 88 482 181 205 474 241

Trous dans le sol pour air extérieur. ∅100mm de raccords Jøtul F 361, F 364, F 365, F 366, F 369
Trous dans le sol pour air extérieur. Ø100mm de raccords Jøtul F 363
Dimensions minimales de la plaque de sol X/Y = Conformes aux lo et règlements en vigueur

Jøtul F 364 - Exigences relatives à la protection des sols en bois - 5

text_image 1025

Jøtul F 364 - Exigences relatives à la protection des sols en bois - 6

text_image 740 1150 410

Jøtul F 364 - Exigences relatives à la protection des sols en bois - 7

text_image 66 442 181 205 452 221

Jøtul F 364 - Exigences relatives à la protection des sols en bois - 8

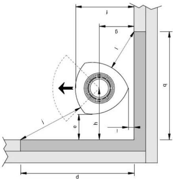
Jøtul F 360 Series
Distance minimale par rapport au mur en matériau combustible protégé pare un pare-feu, fig. 1b

Configuration\Point de mesureabcdefghijklmnopqrst
Modèle de base100 643 438310 200492 287421 40550 480 440735 799773 934999 962756 1156
Jøtul F 365, F 366 et F 369 :L'arrivée d'air frais - par un mur100643438310200552347421100550--795--994----

Fig. 1b
Jøtul F 361 / F 363 / F 364 / F 365 / F 366 / F 369
Mur en matériau
combustible
Jøtul F 364 - Exigences relatives à la protection des sols en bois - 9

Jøtul F 364 - Exigences relatives à la protection des sols en bois - 10

Jøtul F 364 - Exigences relatives à la protection des sols en bois - 11

text_image g l s r l

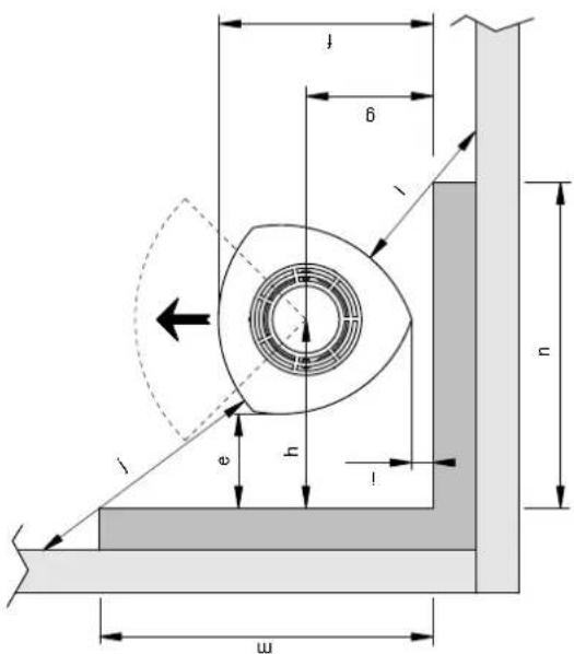
Distance minimale par rapport au mur en matériau combustible protégé par un pare-feu
Jøtul F 364 - Exigences relatives à la protection des sols en bois - 12

text_image k a d σ b σ o

Jøtul F 364 - Exigences relatives à la protection des sols en bois - 13

text_image E h i g f n

Intégré
Jøtul F 364 - Exigences relatives à la protection des sols en bois - 14

text_image p e h i f q

Jøtul F 364 - Exigences relatives à la protection des sols en bois - 15

text_image g l f l t

Jøtul F 364 - Exigences relatives à la protection des sols en bois - 16

text_image r a d c b r k

900092-P01

FRANCAIS

Les éventuels revêtements de sol combustibles, tels que le linoléum, la moquette, etc., doivent être retirés de la surface couverte par la plaque de sol.

Distance minimum au mur pour les Jøtul F 365 et F 366 avec une arrivée d'air de combustion par le mur :

Fig. 1 C
Jøtul F 364 - FRANCAIS - 1

text_image min 100 min 347

Exigences relatives à la protection d'un revêtement de sol combustible devant le poêle

La plaque frontale doit être conforme aux lois et réglementations nationales en vigueur.

Veuillez contacter les autorités locales compétentes pour connaître les restrictions d'usage et les exigences liées à l'installation.

3.3 Les murs

Le poêle peut être utilisé avec un conduit de fumée non isolé, à condition que les distances entre le poêle et les murs/cloisons inflammables soient conformes à la figure 1.

3.4 Le plafond

Si le plafond au-dessus du poêle est inflammable, la distance minimum entre le poêle et le plafond doit être de 1000 mm au minimum.

4.0 Installation

Avant de commencer l'installation, s'assurer que le poêle n'a pas été endommagé au cours du transport.

Attention : l'appareil est lourd ! Plusieurs personnes sont requises pour le redresser et le positionner.

4.1 Avant l'installation

  1. Le produit standard est livré dans deux unités d'emballage. L'un contient le poêle lui-même proprement dite, l'autre la base optionnelle en fonte, en béton, en verre ou le piédestal en fonte.
  2. Une fois le produit déballé, sortez les plaques de doublage, le déflecteur, le déflecteur supérieur, la plaque de source, le cendrier et la grille. Enlevez également les petites plaques de doublage latérales et le joint de la buse qui sont dans le cendrier

Fig. 3
Jøtul F 364 - Avant l'installation - 1

text_image A B C
  1. Soulevez le couvercle, ainsi que la grille supérieure (fig. 3 A) et la cuve (fig. 3 B).
  2. Assurez-vous que les poignées de manœuvre fonctionnent (fig. 29 A, B et C).
  3. Si vous raccordez à l'arrière, percez d'abord des trous (fig. 5 A) dans les couvercles amovibles pour le passage de la buse avant de les retirer.
  4. Positionnez la cale de bois qui maintient le déflecteur d'éjection de telle sorte que les plateaux latéraux soient soutenus lors du retrait des couvercles (fig. 5 B).
  5. Dépliez le carton d'emballage sur le sol. Couchez soigneusement le poêle sur le côté.

Fig. 4
Jøtul F 364 - Avant l'installation - 2

text_image Front B A B A C D E
  1. Pour un modèle avec décor en verre (en option), les 4 vis TFHC du fond sont enlevées (fig. 4B) à l'aide de la clé fournie dans le set décor verre.

3.2 Montage

Jøtul F 361 - La base en fonte

N.B. : pour connecter le conduit flexible par un trou dans le sol, n'enlevez pas les caches amovibles.

Fig. 5
Jøtul F 364 - Jøtul F 361 - La base en fonte - 1

text_image A B C
  1. Si le flexible de ∅ 100 mm qui alimente en air extérieur doit être raccordé à l'entrée d'air externe (fig. 4C) sous-la chambre de combustion, percez d'abord un trou (fig. 5C) dans les couvercles amovibles avant de les retirer. Remarque: veillez à ce que la plaque arrière de la base (fig. 7A) soit en position lorsque vous retirez les couvercles.

FRANCAIS

Fig. 7
Jøtul F 364 - FRANCAIS - 1

  1. Enlevez la claire et la plaque arrière de la base. Assurez-vous que la poignée est en position avant dans l'entrée d'air extérieur (fig. 4D).
  2. Assemblez la base avec la chambre de combustion à l'aide des 4 vis (M8x30 mm) prises dans le sachet (fig. 4A).
  3. Faites-vous aider, protégez le sol pour éviter de le rayer ou de le marquer, puis redresser le poêle prudemment.
  4. Introduisez le conduit flexible dans le trou et fixez-le à la buse à l'aide d'un collier de serrage. N.B.: assurez-vous que le conduit flexible est assez long pour éviter l'utilisation de joints.

Fig. 8
Jøtul F 364 - FRANCAIS - 2

text_image A B C C C C
  1. La surface de la base doit être protégée du rayonnement calorifique de l'appareil grâce au bouclier thermique (fig. 8A) l'accompagne. Fixez-le avec 2 vis, comme indiqué à la fig. 8B.
  2. Ajustez l'appareil à l'aide des 4 vis de réglage (voir fig. 8C).
  3. Remontez l'étagère et la plaque arrière sur la base.

Jøtul F 363 - Le piédestal

Important ! Le mécanisme de rotation doit être assemblé avant la fixation du piédestal au poêle. Voir les consignes de montage jointes au mécanisme de rotation.

  1. Assemblez le piédestal au poêle avec les quatre vis (M8x30mm) préalablement retirées (fig.4A).
  2. Pour obtenir un apport en air extérieur par l'entrée d'air extérieure, fixez le conduit flexible de 100 mm de diamètre à l'entrée d'air de l'appareil (fig. 4C).
  3. Poussez la poignée en position avant dans l'entrée d'air extérieur (fig. 4D).
  4. Fixez le conduit à l'entrée d'air extérieur à l'aide d'un collier de serrage. N.B.: assurez-vous que le conduit flexible est assez long pour éviter l'utilisation de joints.

Fig. 11
Jøtul F 364 - Jøtul F 363 - Le piédestal - 1

  1. Si l'air extérieur doit arriver par le sol, placez le joint (fig. 11B) sous la colonne autour du trou. Tirez sur le flexible à travers le joint en dessous de la colonne. A noter ! Le trou est au centre du piédestal.
  2. Poussez la poignée en position arrière dans l'entrée d'air extérieur (fig. 4E).
  3. Faites-vous aider, protégez le sol pour éviter de le rayer ou de le marquer, puis redresser le poêle prudemment.
  4. Ajustez l'appareil à l'aide des 3 vis de réglage (fig. 11A). Important ! Vérifiez que la poignée dans l'entrée d'air extérieur est bien en position avant si l'air extérieur n'est pas destinée à passer par le piédestal.

Jøtul F 364 - pied en fonte

Si l'on utilise une admission d'air via un conduit d'arrivée d'air extérieur, raccordez un tuyau flexible, de 100 mm de ∅, à l'orifice d'entrée d'air (fig. 4C) de l'appareil.

Installation avec une admission d'air extérieur

  1. Poussez le clapet de l'admission d'air extérieur dans sa position avant (fig. 4D).
  2. Fixez le tuyau à l'admission d'air extérieur à l'aide d'un collier de serrage. N.B : Assurez-vous que le tuyau est suffisamment long pour éviter l'utilisation de raccords.

Fig. 12
Jøtul F 364 - Installation avec une admission d'air extérieur - 1

  1. Déplacez la base en fonte vers la chambre de combustion tout en passant le conduit d'air à travers celle-ci et, si nécessaire, à travers l'orifice sur la partie arrière (fig. 12).

Fig. 13
Jøtul F 364 - Installation avec une admission d'air extérieur - 2

  1. Fixez la base à la chambre de combustion à l'aide des 4 vis (M8 x 30 mm) fournies dans le sachet (fig. 13 A).
  2. Faites-vous aider, protégez le sol pour éviter de le rayer ou de le marquer, puis redresser le poêle prudemment.

FRANCAIS

Fig. 14
Jøtul F 364 - FRANCAIS - 1

  1. Ajustez si besoin la hauteur du produit à l'aide des vis de réglage situées sous la base (fig. 14 A).

Fig. 15
Jøtul F 364 - FRANCAIS - 2

  1. Remettez le couvercle de l'admission d'air extérieur en place (fig. 15 A).

Installation sans admission d'air extérieur

  1. Fixez la base à la chambre de combustion à l'aide des 4 vis (M8 x 30 mm) fournies dans le sachet (fig. 13 A).
  2. Faites-vous aider, protégez le sol pour éviter de le rayer ou de le marquer, puis redresser le poêle prudemment. le positionner correctement au-dessus de l'admission d'air extérieur.
  3. Ajustez si besoin la position du produit à l'aide des vis de réglage situées sous la base (fig. 14 A).
  4. Remettez le couvercle en place (fig. 15 A).

Jøtul F 365 - Base en fonte avec porte vitrée

  1. Assemblez la base en fonte comme décrit au point du Jøtul F 361 : base en fonte.

Fig. 16
Jøtul F 364 - Jøtul F 365 - Base en fonte avec porte vitrée - 1

  1. Fixez la charnière de la porte vitrée à la base en fonte au moyen des vis M6 x 20 mm fournies dans le sachet de vis pour la porte (fig. 16 A).
  2. Insérez le ressort entre les trous filetés et la charnière avant de serrer les vis (fig. 16 B).

Fig. 17
Jøtul F 364 - Jøtul F 365 - Base en fonte avec porte vitrée - 2

text_image A C B
  1. Vissez fermement en place l'autre extrémité du ressort (fig. 17 A).

  2. Fixez l'amortisseur de porte sur l'intérieur de la porte vitrée dans l'angle inférieur droit (fig. 17 B).

N.B : Veillez à ménager un interstice régulier entre la porte et la base afin que la porte soit suspendue bien verticalement. Ajustez la porte si nécessaire en serrant ou desserrant les deux vis (fig. 17 C).

Jøtul F 366 - Base en verre

N.B : Si vous choisissez de faire passer le conduit flexible à travers le plancher, ne retirez pas les caches amovibles (Fig. 18 A).

Fig. 18
Jøtul F 364 - Jøtul F 366 - Base en verre - 1

text_image A B C D
  1. Desserrez les vis qui maintiennent les clips supérieurs de la vitre des deux côtés (Fig. 18 B et C). Vérifiez que le clapet de l'admission d'air extérieur est dans sa position avant (Fig. 4D).
  2. Si vous raccordez le conduit flexible (∅ 100 mm) pour l'arrivée d'air frais extérieur à un clapet/sortie d'admission d'air extérieur (Fig. 4C) sous la chambre de combustion, percez d'abord un trou (Fig. 18 A) dans les caches amovibles avant de les retirer.
    N.B : Veillez à ce que la plaque arrière de la base (Fig. 18 D) soit en position, lorsque vous retirez les caches amovibles.
  3. Retirez la plaque arrière (Fig. 18 D) de la base.

Fig. 19
Jøtul F 364 - Jøtul F 366 - Base en verre - 2

text_image A B B
  1. Placez la base dans la position correcte sur la plaque de sol (si installée). Ajustez la hauteur du produit à l'aide des vis de réglage (Fig. 19 A). Si vous utilisez une plaque de sol en verre (réf. 351121), relevez la base d'environ 8 mm au-dessus du sol, de manière à pouvoir insérer la plaque de sol sous le bord avant de la base.
  2. Assemblez la base avec la chambre de combustion à l'aide des 4 vis (M8 x 30 mm) fournies dans le sachet (fig. 19 B).
  3. Faites-vous aider, protégez le sol pour éviter de le rayer ou de le marquer, puis redresser le poêle prudemment.
  4. Ajustez la porte en verre, si nécessaire, avec les vis (Fig. 17 C). Veillez à ménager un interstice régulier entre la porte et la base afin que la porte soit suspendue bien verticalement.

FRANCAIS

Fig. 20
Jøtul F 364 - FRANCAIS - 1

  1. Montez les vitres latérales en les positionnant dans les clips inférieurs (Fig. 20 A). Soulevez les clips supérieurs et enfoncez-les sur les vitres latérales. Assurez-vous qu'il y a interstice régulier entre les vitres latérales et la plaque latérale devant et derrière. Serrez la vis frontale de la vitre latérale (Fig. 18 B). Desserrez la vis arrière (Fig. 18 C) juste assez pour permettre au clip de se soulever sans retirer la vis (ceci facilite le remplacement de la vitre à l'avenir).

  2. Introduisez le conduit flexible (si installé) dans le trou sur le sol ou à l'arrière de la base (Fig. 18 A) et fixez-le à la buse à l'aide d'un collier de serrage.

N.B : Assurez-vous que le conduit flexible est suffisamment long pour éviter l'utilisation de joints.

  1. Remontez la plaque arrière (Fig. 18 D).

  2. La surface de la base doit être protégée du rayonnement calorifique de l'appareil grâce au bouclier thermique (fig. 8A) l'accompagne. Fixez-le avec 2 vis, comme indiqué à la fig. 8B.

Jøtul F 369 – avec trois pieds

Remarque : Si vous choisissez de faire passer le conduit flexible à travers le plancher, ne retirez pas les caches amovibles.

Fig. 21a
Jøtul F 364 - Jøtul F 369 – avec trois pieds - 1

  1. Si vous raccordez le conduit flexible (∅ 100 mm) pour l'arrivée d'air frais extérieur à un clapet d'admission d'air extérieur (Fig. 21b) sous la chambre de combustion, percez d'abord un trou (Fig. 21a - A) dans les caches amovibles avant de les retirer. Remarque : Placez les éléments sur une surface appropriée avant de retirer les caches amovibles.

Fig. 22
Jøtul F 364 - Jøtul F 369 – avec trois pieds - 2

  1. La surface de la base doit être protégée du rayonnement calorifique de l'appareil par le bouclier thermique fourni (Fig. 22 A). Commencez par fixer ce dernier avec une vis (Fig. 22 B).

  2. Fixez sans serrer le bras de renforcement (Fig. 22 C) en place avec une vis (Fig. 22 D).

  3. Assemblez la base avec la chambre de combustion à l'aide des 4 vis (M8 x 30 mm) fournies dans le sachet (Fig. 4 A).

  4. Fixez les pieds sur le bord arrière à l'aide de 2 vis placées dans les trous de vis (Fig. 22 E).

  5. Fixez sans serrer le bras de renforcement (Fig. 22 C) en place avec une vis (Fig. 22 D) et un écrou aux deux extrémités.

  6. Faites-vous aider, protégez le sol pour éviter de le rayer ou de le marquer, puis redresser le poêle prudemment.

  7. Ajustez le produit à l'aide des vis de réglage (Fig. 22 G).

  8. Si les pieds ne sont pas correctement alignés, desserrez les vis (Fig. 22 F) de chaque côté. Réglez les pieds et serrez les vis de nouveau.

  9. Serrez la vis (Fig. 22 D).

  10. Introduisez le conduit flexible dans le trou et fixez-le à la buse à l'aide d'un collier de serrage. Remarque : Assurez-vous que le tuyau est suffisamment long pour éviter l'utilisation de raccords.

Fig. 23
Jøtul F 364 - Jøtul F 369 – avec trois pieds - 3

  1. Positionnez le capot (Fig. 23 A). Assurez-vous que la patte (débordement) B est orientée vers le bas.

4.3 Cheminées et conduits

  • Le poêle peut être relié à une cheminée et à un conduit approuvés pour les poêles à combustible solide, avec les températures de fumées spécifiées dans la section «2.0 Données techniques».
  • La section minimale de la cheminée doit correspondre à celle du conduit. Pour calculer la section adéquate de la cheminée, voir la section «2.0 Données techniques ».
  • Plusieurs poêles à combustible solide peuvent être raccordés à la même cheminée si la section de la cheminée et la règlementation le permettent.
  • Le raccordement à la cheminée doit être réalisé conformément D.T.U. 24.2.1 et 24.2.2 ; ainsi qu'aux instructions d'installation du fournisseur de la cheminée.
  • Procéder à un montage d'essai du poêle avant de percer un trou dans la cheminée. Voir fig. 1 pour les cotes.
  • Raccordement arrière : veiller à ce que le conduit de raccordement soit incliné vers le haut.
  • Utiliser un coude de conduit doté d'une trappe ou un té ou siphon afin de permettre les opérations de ramonage.
    Veiller à ce que les raccordements soient souples afin d'empêcher toute fissure lors de l'installation.

Tirage recommandé ; Voir également les sections « 2.0 Données techniques ». En cas de tirage trop important, utiliser un clapet ou un modérateur de tirage.

Montage du conduit sur la sortie supérieure (fig. 3)

Le poêle est livré avec la sortie par le haut.

  1. Placez le couvercle (fig. 3 C) sur l'appareil.

  2. Pour la FRANCE: mettre l'adaptateur en place sur la buse ; étancher-le avec du joint corde ou du mastic réfractaire.

  3. Faites passer le conduit à travers le crible du couvercle et placez-le sur le conduit d'évacuation de la fumée de la sortie supérieure.

  4. Mettre les tuyaux en place après avoir collé le joint.

Montage du conduit sur la sortie arrière

Le poêle est livré avec la sortie par le haut. Pour un montage sur l'arrière, procédez comme suit :

  1. Placez le produit dans la position adéquate (voir fig. 1).

Fig. 24
Jøtul F 364 - Montage du conduit sur la sortie arrière - 1

  1. Démonter la buse (fig. 24 B).

  2. Dévissez le cache sortie de fumées à l'arrière de l'intérieur de la chambre de combustion (fig. 24 A) puis placez-le dessus à la place de la buse.

FRANCAIS

Fig. 25
Jøtul F 364 - FRANCAIS - 1

  1. Fixez la buse à l'arrière EN PASSANT PAR L'INTERIEUR (attention au joint qui est à l'inverse de l'habitude.

  2. Placez le joint à l'extrémité du premier tuyau ou de l'adaptateur.

  3. Mettre le tuyau dans la buse ou l'adaptateur.

N.B. : Si la longueur du tuyau est supérieure à 350 mm, il doit être installé à l'intérieur de la buse de fumées depuis l'extérieur.

N.B.: les joints doivent être parfaitement étanches. Toute fuite d'air peut entraîner des dysfonctionnements.

4.4 Montage de l'appareil

Fig. 26
Jøtul F 364 - Montage de l'appareil - 1

  1. Placez le déflecteur avec la barre dans la rainure sur les nervures (fig. 26 A).

  2. Remettez la plaque de source en place, sur la plaque de source.

Fig. 27
Jøtul F 364 - Montage de l'appareil - 2

  1. Vérifiez que l'encoche de la grille est bien engagée sur la barre de commande de grille, à droite (fig. 27 A).
  2. Remettez le cendrier à sa place.
  3. Placez la plaque de doublage arrière dans la rainure arrière de la plaque de source.
  4. Placez les plaques de doublage latérales (fig. 29 F) dans les rainures de chaque côté de la plaque de source en commençant par une, puis rentrez le déflecteur de façon qu'il repose sur les plaques de doublage arrière et latérales.
  5. Maintenez le déflecteur pendant le montage de l'autre plaque de doublage latérale.

Fig. 28
Jøtul F 364 - Montage de l'appareil - 3

  1. Montez les petites plaques de doublage en fonte (fig. 28 A) dans les encoches sur la plaque de fond interne.
  2. Repositionnez le couvercle avec la grille supérieure et la cuve.
  3. Placer la plaque d'informations techniques qui se trouve dans le cendrier sous l'appareil.

4.5 Contrôle des fonctions

Une fois le poêle installé, toujours vérifier les commandes. Elles doivent pouvoir être actionnées facilement et fonctionner correctement.

Le poêle Jøtul F 360 est équipé des commandes suivantes :

Fig. 29
Jøtul F 364 - Contrôle des fonctions - 1

Entrée d'air supérieure, fig. 29 A

Poussée = fermée

Tirée = ouverte

Entrée d'air inférieure, fig. 29 B

Poussée = fermée

Tirée = ouverte

Grille de décendrage (même poignée que pour l'entrée d'air inférieure) (fig. 29 B)

Poignée droite poussée et tirée.

Tirez sur la poignée fig. 29 C :

pour ouvrir la porte.

Allumage

- Ouvrir l'entrée d'air supérieure et l'entrée d'air inférieure en les tirant complètement. Conseil pratique : laissez toujours fermée l'entrée d'air inférieure à droite et favorisez l'allumage du feu en laissant la porte entrouverte (fig. 29 A et B). Si nécessaire, laissez la porte entrebâillée. (Utiliser des gants car la poignée risque d'être chaude).

- Placer deux bûches de taille moyenne à l'entrée et au fond de la plaque de source. N.B.: pour éviter que de la suie ne se

dépose sur le verre, veillez à ce que les bûches ne touchent pas le verre lorsqu'elles sont placées dans l'appareil.

- Froissez quelques feuilles de papier journal, jamais de papier glacé (ou utilisez de l'écorce de bouleau) entre ces deux bûches, entrecroisez du bois d'allumage sur ce papier, puis mettez-y le feu.

- Augmentez graduellement la taille du feu sans que le bois ne s'empile au-delà des orifices horizontaux de la plaque foyère. Voir fig. 26 H.

Remarque : La hauteur maximale de la pile de bois ne doit pas dépasser la ligne de trous horizontale. Ne pas recouvrir les trous.

- Fermer l'entrée d'air inférieure une fois que le feu a pris. ATTENTION ! Ne pas fonctionner avec l'entrée d'air inférieure ouverte, cela risque d'endommager la sole foyère.

- Veiller à ce que la postcombustion s'amorce (présence de flammes jaunes et oscillantes sous le déflecteur).

- Régler ensuite la vitesse de combustion sur la capacité de chauffage souhaitée en ajustant l'entrée d'air supérieure (fig. 26 A).

Jøtul F 364 - Allumage - 1

Alimentez le poêle régulièrement mais n'ajoutez que de petites quantités de combustible à la fois. Si la combustion est trop vive, la contrainte thermique dans la cheminée risque de devenir excessive. Faites preuve de modération. Évitez les feux couvant car ils sont les plus polluants. Le feu est parfait lorsque le bois brûle bien et que la fumée qui sort de la cheminée est pratiquement invisible.

4.7 Risque de surchauffe

Ne surchauffez jamais le poêle

La surchauffe est provoquée par un excès de combustible et/ou d'air qui donne lieu à un dégagement de chaleur trop important. Lorsque le poêle devient incandescent par endroits, c'est un signe incontestable de surchauffe. Si le cas se produit, réduisez immédiatement l'apport d'air frais. En cas de surchauffe, la garantie ne pourrait pas être assurée.

Si vous pensez que la cheminée tire mal (tirage excessif ou insuffisant), contactez un spécialiste. Pour plus de détails, reportez-vous à «4.o Installation » (Cheminée et conduit d'évacuation).

FRANCAIS

4.8 Retrait des cendres

Le poêle Jøtul F 360 est équipé d'un cendrier qui facilite l'élimination des cendres.

  1. Enlevez les cendres uniquement lorsque le poêle est froid.
  2. Nous vous recommandons de toujours laisser deux à trois centimètres de cendres au fond de votre appareil.
  3. La cendre va protéger le fond, conserver les braises et favoriser le redémarrage du feu au rechargement en bois après quelques heures de feu ralenti.
  4. Assurez-vous que le cendrier est bien enfoncé avant de refermer la porte.

5.0 Utilisation au quotidien

Odeurs perceptibles lors de la première utilisation du poêle

Lors de la première utilisation, le poêle peut émettre un gaz irritant et dégager des odeurs désagréables. Ceci se produit lorsque la peinture sèche. Ce gaz n'est pas toxique, mais il est recommandé de bien aérer la pièce. Maintenir une température élevé dans le poêle jusqu'à qu'aucun gaz, fumée ou odeur ne puisse être détecté.

5.1 Utilisation

Conseils de chauffage

Remarque : Il est recommandé d'entrer les bûches qui ont été stockées à l'extérieur ou dans une pièce froide 24 heures avant de les brûler afin de les amener à température ambiante.

Il existe différentes manières de chauffer le poêle, mais soyez toujours attentif à ce que vous y mettez. Voir le chapitre intitulé « La qualité du bois ».

La qualité du bois

Par bois de qualité, nous entendons les essences les plus courantes telles que bouleau, épicéa et pin ou hêtre, chêne, érable. Suivant les pays.

Les bûches doivent sécher afin que leur teneur en eau ne dépasse pas 20 %.

Pour cela, il convient de couper le bois à la fin de l'hiver. Fendez-les et empilez-les pour permettre à l'air de bien circuler. Recouvrez les piles afin de protéger les bûches de la pluie. Entrez les bûches dans la maison au début de l'automne en vue de leur utilisation pendant l'hiver qui suit.

Soyez particulièrement attentif à ne jamais brûler les matériaux suivants dans le poêle :

  • Les déchets ménagers, les sacs en plastique, etc.
    • Le bois peint ou imprégné (très toxique).
    • Le bois contreplaqué
    • Le bois qui est resté dans l'eau
  • Les chutes de menuiserie dont le bois est trop sec.
    • Le bois de récupération de chantier

Ceux-ci risquent d'endommager l'appareil et ce sont aussi des polluants.

Si vous utilisez des bûches de bois compressé, réduisez la quantité de moitié par rapport au bois en bûches.

Remarque : N'employez jamais de l'essence, de la paraffine, de l'alcool (méthylique) ou tout liquide similaire pour allumer le feu. Vous risqueriez de vous blesser sérieusement et d'endommager l'appareil.

Consommation de bois

Utilisation de bois avec puissance thermique nominale : Env. 1,9 kg/h. L'efficacité de la combustion du bois dépend par ailleurs d'une longueur correcte des bûches utilisées. La dimension des bûches devrait être de :

Pour le bois d'allumage :

Longueur : Env. 30 cm

Diamètre : 2 - 5 cm

Quantité par flambée : 6 – 8 bûches

Pour le bois de chauffage (fendu) :

Longueur : 20 - 30 cm

Diamètre : Env. 8 cm

Fréquence de remplissage : Environ toutes les 45 minutes

Taille du foyer : 1,4 kg

Quantité par remplissage : 2 bûches

Ne laissez jamais une bûche dont les extrémités seraient coincées entre les plaques de doublage latérale en vermiculite : en chauffant elle les casserait.

La puissance de chauffage nominale s'obtient lorsque le registre d'air est ouvert à environ 100 % (Fig. 29 A) et lorsque le registre d'allumage (Fig. 29 B) est sorti de 1-2 cm environ.

6.0 Entretien

6.1 Nettoyage de la vitre

Le produit est équipé d'un système d'entrée d'air par le haut. L'air est aspiré au-dessus du foyer et circule le long de la vitre.

L'accumulation de suie sur la vitre est toutefois inévitable, la quantité de dépôts dépendant du taux d'humidité du combustible, des conditions de tirage et du réglage de l'entrée d'air supérieure. Une grande partie de cette suie est normalement consumée lorsque l'entrée d'air est ouverte à son maximum et en présence d'un feu vif dans le foyer.

Un bon conseil ! Pour les opérations courantes de nettoyage, humidifier un essuie-tout ou du papier journal à l'eau chaude et l'imprégner de quelques cendres prélevées dans la chambre de combustion. Frotter la vitre avec ce papier puis rincer à l'eau claire et essuyer. Pour un nettoyage optimal, il est recommandé d'utiliser un nettoyant à vitres. Ne jamais projeter le produit directement sur la vitre : il risque de détériorer les fixations de la vitre et le joint, ce qui peut entraîner la cassure de la vitre.

6.2 Nettoyage et élimination des dépôts de suie

Pendant l'utilisation, de la suie peut se déposer sur les surfaces internes du foyer. La suie est un bon isolant. Elle réduit donc la puissance thermique du foyer. Utiliser une brosse métallique pour retirer tout dépôt de suie dans le produit, sauf sur les plaques en vermiculite !

Laisser brûler vivement afin d'éviter tout dépôt de goudron et d'eau dans le foyer.

Un nettoyage annuel de l'intérieur du foyer est requis pour optimiser le rendement du produit. Cette opération peut être réalisée lors du ramonage des conduits et de la cheminée.

6.3 Ramonage des conduits d'évacuation vers la cheminée

Sur certains foyers autonomes, il est possible de soulever le couvercle et de ramoner le conduit par le haut.

Sinon, le ramonage des conduits doit s'effectuer à partir de la trappe de ramonage ou depuis l'intérieur du produit, auquel le déflecteur doit être retiré. . Renseignez-vous auprès de votre distributeur Jøtul sur la règlementation à ce sujet.

6.4 Contrôle du foyer

Jøtul recommande que l'utilisateur contrôle personnellement et soigneusement le foyer suite à une opération de ramonage/nettoyage. Vérifier l'absence de fissures sur toutes les surfaces visibles. Vérifier également l'état et la bonne installation de tous les joints. Tout joint montrant des signes d'usure, de déformation ou de dureté doit être remplacé.

Nettoyer soigneusement les gorges de joint, appliquer de la colle céramique (disponible auprès des distributeurs Jøtul), puis insérer correctement le joint sans tirer dessus. Le séchage est rapide.

6.5 Entretien de la surface externe

La couleur des produits peints peut se ternir après plusieurs années d'utilisation. Avant d'appliquer une nouvelle couche de peinture, brosser et laver la surface peinte pour en éliminer toutes les particules.

7.0 Maintenance

Danger : toute modification non autorisée du produit est interdite et annule la garantie.

Utiliser uniquement les pièces détachées d'origine.

7.1 Remplacement des déflecteurs

(N.B. : si des outils sont utilisés, veiller à ne pas endommager les plaques en vermiculite).

  1. Soulevez le bord avant du déflecteur et inclinez-le vers l'extérieur (fig. 29 G). Retirez les plaques de doublage latérales (fig. 29 F) et arrière (fig. 29 E).
  2. Le déflecteur supérieur (en fonte) situé au-dessus du déflecteur, repose avec la barre sur la rainure au niveau de la sortie arrière (fig. 26 A). Pour extraire le déflecteur supérieur, soulevez-le légèrement, puis tirer-le en l'inclinant vers l'extérieur.
  3. Inversez l'ordre de ces étapes pour remettre les déflecteurs en place.

7.2 Remplacement des plaques de doublage/plaques de source

(N.B.: si des outils sont utilisés, veiller à ne pas endommager les plaques en vermiculite).

  1. Soulevez le bord avant du déflecteur et inclinez-le vers l'extérieur. Retirez les plaques de doublage latérales (fig. 29 F) et arrière (fig. 29 E).
  2. Soulevez ensuite la grille mobile et la plaque de source pour les extraire (fig. 29 D).
  3. Inversez l'ordre de ces étapes selon que le déflecteur est à insérer ou à extraire du foyer.
  4. Au moment de ré assembler la grille et la plaque de source, assurez-vous que la barre de commande de la grille est engagée dans l'encoche sur le côté droit. (fig. 27 A).

FRANCAIS

8.o Dysfonctionnements – Causes et dépannage

Tirage faible

  1. Vérifier que la longueur de la cheminée est conforme aux législations et aux réglementations nationales en vigueur. (Voir aussi «2.0 Données techniques» et «3.0 Installation» (Cheminées et conduits) dans le manuel d'installation à ce sujet.)
  2. Vérifier que la section minimale de la cheminée est conforme aux spécifications de la section «2.0 Données techniques» du manuel d'installation.
  3. Vérifier que rien n'empêche l'évacuation des fumées : branches, arbres, etc.
  4. Pour remédier à tout tirage semblant faible ou excessif, demander à un professionnel de vérifier et éventuellement de redimensionner la cheminée.

Le feu s'étouffe rapidement

  1. Vérifier que le bois de chauffage est suffisamment sec.
  2. Vérifier l'absence d'aspiration dans la pièce. Arrêter toute ventilation mécanique et ouvrir une fenêtre à proximité du foyer.
  3. Vérifier que l'entrée d'air est ouverte.
  4. Vérifier que le conduit n'est pas obstrué.

Important dépôt de suie sur la vitre

L'accumulation de suie sur la vitre est inévitable, mais la quantité de dépôt varie en fonction :

  1. Du taux d'humidité du combustible.
  2. Des conditions locales de tirage.
  3. Du réglage de l'entrée d'air.
    Une grande partie de cette suie est normalement consumée lorsque l'entrée d'air est ouverte à son maximum et en présence d'un feu vif dans le foyer. (Voir la rubrique Un bon conseil à la section «6.1 Nettoyage de la vitre ».)

9.0 Équipements disponibles en option

9.1 Plaque décoratives

Pierre ollaire, partie supérieure 25 mm, une pièce - N° cat. 50012988.

Pierre ollaire, partie supérieure 25 mm, trois pièces - N° cat. 50013013, remplace 50012988 installé sur la cheminée en acier.

9.2 Décoration en verre, supérieure, latérale et frontale

(instructions de montage séparées)

Set verre pour conduit d'évacuation de la fumée arrière, peint Noir, N° cat 51012250

Set verre pour conduit d'évacuation de la fumée supérieur, peint Noir, - N° cat 51012252

9.3 Set de rotation

Voir les instructions d'installation séparées.

Set de rotation pour Jøtul F 363, - N° cat 51012254

9.4 Panier à bois

Peintes Noir Mat - N° cat. 50012995

10.0 Garantie

La société Jøtul offre une garantie sur les pièces extérieures en fonte en cas de vice de matière et/ou de fabrication à compter de la date de l'achat / de l'installation du poêle. L'acheteur est en droit de retourner la marchandise à condition que le poêle ait été installé en conformité avec les lois et règlements en vigueur ainsi qu'avec les instructions d'installation et d'utilisation de Jøtul.

La garantie ne couvre pas :

L'installation d'options, notamment pour rectifier le tirage, l'arrivée d'air ou d'autres circonstances qui échappent au contrôle de Jøtul. La garantie ne couvre pas les consommables tels que les plaques de doublage, les déflecteurs de fumée, les grilles de poêle, les grilles de fond, les briques réfractaires, les amortisseurs et les joints car ces éléments nécessitent d'être remplacés régulièrement en usage normal. La garantie ne couvre pas non plus les vitres. La garantie ne couvre pas les dommages causés par l'utilisation d'un combustible inapproprié pour allumer le feu, tel que du bois ayant séjourné dans l'eau, du bois imprégné, du bois peint, des résidus de coupe, de l'aggloméré, des chutes de menuiserie, etc. La surchauffe se produit facilement en cas d'utilisation d'un combustible inapproprié. Le poêle devient alors incandescent, ce qui provoque le ternissement de la peinture et la fissuration des pièces en fonte.

La garantie ne couvre pas les avaries causées lors du transport de l'appareil entre le distributeur et le lieu de livraison. La garantie ne s'applique pas non plus aux dommages causés par l'utilisation de pièces qui ne sont pas d'origine.

ESPAÑOL

Indice

Jøtul vise sans cesse à améliorer ses produits. C'est pourquoi, il se réserve le droit de modifier les specifications, couleurs et équipements sans avis prélable.

Quality

Le système de contrôle de la qualité de Jøtul AS est conforme à la norme NS-EN ISO 9001 relative à la conception, à la fabrication et à la distribution de poêles, foyers et inserts. Cette politique nous permet d'offrir à nos clients une qualité et une sécurité reposant sur la vaste expérience accumulée par Jøtul depuis sa création en 1853.

Sommaire Cliquez un titre pour y accéder
Assistant notice
Powered by Anthropic
En attente de votre message
Informations produit

Marque : Jøtul

Modèle : F 364

Catégorie : Chauffage