AV41IX - Réfrigérateur AVINTAGE - Notice d'utilisation et mode d'emploi gratuit
Retrouvez gratuitement la notice de l'appareil AV41IX AVINTAGE au format PDF.
| Caractéristiques techniques | Détails |
|---|---|
| Type de réfrigérateur | Réfrigérateur combiné |
| Capacité totale | Environ 200 litres |
| Classe énergétique | A+ |
| Dimensions (HxLxP) | 175 x 60 x 65 cm |
| Poids | Environ 60 kg |
| Système de refroidissement | Froid statique |
| Niveau sonore | 40 dB |
| Nombre de tiroirs | 3 tiroirs à légumes |
| Éclairage intérieur | LED |
| Utilisation | Réglage de la température via un thermostat mécanique |
| Maintenance | Dégivrage manuel recommandé |
| Consignes de sécurité | Ne pas obstruer les grilles de ventilation |
| Garantie | 2 ans |
| Informations générales | Idéal pour les petites cuisines et les appartements |
FOIRE AUX QUESTIONS - AV41IX AVINTAGE
Téléchargez la notice de votre Réfrigérateur au format PDF gratuitement ! Retrouvez votre notice AV41IX - AVINTAGE et reprennez votre appareil électronique en main. Sur cette page sont publiés tous les documents nécessaires à l'utilisation de votre appareil AV41IX de la marque AVINTAGE.
MODE D'EMPLOI AV41IX AVINTAGE
Cave à vin de service
NOTICE D'UTILISATION






AV7X(-IX) -AV21SX(-IX) -AV51SX(-IX) -PRO51C-AV53CDZ-CV52IXDZ-AV41SXDP(-IX) -AV54SXDZ(-IX)
GB - USE INSTRUCTIONS
NL-HANDLEIDING
26
74
Avant toute utilisation, merci de litre et appliquer les regles de sécurité et d'utilisation du present manuel.
Tout d'abord nous vous remercions d'avoir fait confiance au groupe CLIMADIFF en accuerant cet apparéil et espérons qu'il satisfera pleinement vos attentes.
Cet apparéil vous permet au besoin de conserver vos bouteilles ou de lesmettre àtempérature de service (suivant vos bouteilles)grace à sa plage de réglageétendue.
1° CHARACTERISTIQUES TECHNIQUES
Ci-dessous l'exemple d'une plaque signalétique :

La plaque signalétique collée à l'intérieur ou à l'arrière de l'appareil (selon modele) comporte toutes les informations spécifiques à votre armoire à vin.
Nous vous conseillons de noter son numero de série sur ce livre retard avant son installation, pour vous y reférer si nécessaire ultérieurement (intervention technique, demande d'assistance...)

En effet, une fois l'armoire installée et chargée, son accès y est plus compliqué.
ATTENTION : Aucune assistance ne pourrait vous etre donné sans ces informations.
2^ CONSIGNES GENERALES DE SECURITE
Lisez attentivement les indications portées dans ce manuel avant la mise en service de votre cave. Conservez-le soignement pour vous y reférer ultérieurement en cas de besoin.
D'une manière générale, la maintenance de votre apparéil doit être réalisée par un professionnel qualifié.
Cet apparéil est exclusivement réservé à un usage domestique et à la mise en température de vin ou autres boissons si vous le désirez. En aucun cas il n'est destiné à conserver de la nourriture.
Assurez-vous que le voltage et la tension de votre installation électrique correspondant bien aux indications portées sur la plaque signalétique de votre apparéil qui doit être raccordé à un système avec mise à la terre homologué. Les réparations ou raccordement incorrects entraîment des dangers. Faites vérifier vos installations électrique par un professionnel en cas de doute sur celle-ci.
Cette unité doit être correctement branchée sur une prise de terre pour votre sécurité. Ne coupez, ni ne retirez enaucun cas le fil de terre du cordon fourni.
Pour des raisons de sécurité, n'utilise pas de rallonge électrique.
Si vous appeareil est endommagé (choc important) ou a subi un sinistre qualconque, (surtension due à la foudre, inondation, incendie) celui ci peut s'avérer dangereux. Debranchez la fiche d'alimentation et faites contrôler l'appareil par un réparateur professionnel agréé.
Afin d'éviter tout danger, ne remplacez pas vous même le cordon d'alimentation s'il est endommagé. Adressez vous à votre revendeur, à un centre agrée ou un réparateur professionnel.
Cet apparéil doit être positionné de manière à ce que la prise d'alimentation soit accessible. Ne déplacez pas l' apparéil une fois plein, vous risquez de déformer irrémédiablement le corps de l' apparéil. Les parties électriques ne doivent pas être directement accessibles.
Tenez eloigné les enfants de l'appareil.
- N'utilisez pas cet apparéil à l'extérieur.
Dans le cas d'écoulement accidentel de liquide (bouteille cassete ou autres) sur les organes électriques (moteur et autres), débranchez aussi t la fiche d'alimentation.
Pour éviter tout risque d'incendie, d'électrocution ou de blessure, n'immergez pas le cordon, la prise ou l'appareil dans de l'eau ou tout autre liquide. Ne manipulez pas l'appareil avec les mains humides.
Conservez l'appareil eloigné de toute source de chaleur et non exposé directement aux rayons du soleil.
Ne laissiez pas le cordon pendre d'une table ou etre en contact avec des parties coupantes ou chaudes.
Ne tirez pas sur le cordon pour débrancher la prise mais saisissez la fiche et tirez dessus.
Assurez-vous que l'endetroit ou est posée votre apparéil peut supporter le poids de cette-ci une fois chargée (1 bouteille de 75cl est environ égale à 1.3kg).
Votre cave doit etre placé sur une surface plane. Si you devez la placer sur un tapis ou de la moquette, inserez un support dessous.
Cet apparéil n'est pas destiné à être utilisé par des personnes (notamment des enfants) dont les capacities physiques, sensorielles ou intellectuelles sont réduites, ou par des personnes manquant d'expérience ou de connaissances, à moins que celles-ci ne soient sous surveillance ou qu'elles aient reçu des instructions quant à l'utilisation de l' apparéil par une personne responsable de leur sécurité.
Veiller à ce que les enfants ne jouent pas avec cet apparéil. Des apparéils abandonnés sont toujours dangereux.
Débranche l'appareil avant toute intervention d'entretien ou de nettoyage (déconnectez la fiche d'alimentation ou le coupe circuit correspondant selon modèle.)
Ne nettoyez jamais l'appareil avec des produits inflammables.
Ne stockez ou ne vaporisez aucun gaz ou liquide inflammable à proximé de l'appareil.
Avant de jeterVote cave a vin dans un endroit prevu de recyclage, enlevez la porte, laissez les clayettes en place de maniere a ce qu'il soit dificile aux enfants de rentrer a l'intérieur.
En cas de non respect des consignes de branchement ou d'utilisation, la responsabilité de Climadiff ne saurait etre mise en cause quant aux avaries en resultant.
R600a

Instructions de sécurité

Attention: Ne pas utiliser de dispositifs mécaniques ou d'autres moyens pour accélérer le processus de dégivrage, autres que ceux recommendés par le fabricant.

Attention: N'obstruer aucune grille de ventilation de l'appareil.
Attention: Ne pas stocker de substances explosives comme les bombes d'aerosol avec un propulseur inflammables dans cet apparéil.

Attention: Ne pas endommager le circuit frigorifique de l'appareil.

Attention: Les unités de réfrigération fonctionnant avec de l'isobutane (R600a), elles ne peuvent être placées dans une zone avec des sources d'ignition (par exemple, descendé contacts électriques ou lorsque le fluide frigorigène pourrait rassembler en cas de fuite). Le type de fluide frigorigène est indiqué sur la plaque signalétique de l'armoire.

Attention: Ne pas utiliser d'appareils électriques dans les compartments de stockage des aliments de l'appareil, sauf si elles sont du type recommendé par le fabricant.
Cet apparéil est conforme aux exigences des Directives Européennes suivantes :
Avant d'utiliser votre Cave à Vin
- Enlevez l'emballage extérieur et intérieur.
- Avant de connecter la cave à la prise électrique, laissez-la en position debout pendant 24 heures. Ceci réduit la possibilité de disfonctionnement du circuit frigorifique d'au transport.
- Nettoyer l'intérieur à l'aide d'un chiffon doux et d'eau tiède.
Utilisation de votre cave à vin :
Votre cave à vin doit être placée dans une piece dont la température ambiente se situe dans une plage comprise entre + 16 et + 32° Celsius.
Si la température ambiente est inférieure ou supérieure, les performances de votre apparéil peuvent en être affectées et les Températures de 5 à 18^ degrés peuvent ne pas être atteintes.
Installation de votre cave à vin
- Cette cave est concue pour etre installee en "pose libre" ou "encastree"
- Placez la cave dans un endroit assez résistant pour supporter le poids en charge pleine. Pour la mesure a niveau ajustez la hauteur des pieds régiables au dessous de la cave.
- Pour obtenir le meilleur de votre apparéil, avec la plus faible consommation d'énergie, ne placez pas votre apparéil pres d'une source de chaleur (chauffage, cuisineille...), ne l'expose pas directement aux rayons du soleil et ne le mettez pas non plus dans un local trop froid.
- Branchez la cave à une prise unique, laissez un espace de 10 cm entre l'arrière de la cave et le mur. Veillez à la caler parfaitement et à ajuster l'horizontalité de votre cave à vin. (L'utilisation d'un niveau à bulles est conseillée). Ceci évitera tout mouvement du à l'instabilité, générateur de bruit et de vibrations et assurar la parfaite herméticité de la porte.
Panneau de contrôle
AV7X(-IX)

- "Button
Bouton de contrôle de la lumière
" ”Button
Bouton Marche/Arrêt
- "DISPLAY"
Afficheur electronique de la température
- “▲Button
Bouton de réglage de la température +.
- “▼Button
Bouton de réglage de la température -
AV21SX(-IX)/AV51SX(-IX)/PRO51C/AV41SXDP(-IX)

“RUN”
Indicateur de mise sous tension
"LIGHT"Button
Bouton de contrôle de la lumière
- "POWER" Button
Bouton Marche/Arrêt
- "DISPLAY"
Afficheur electronique de la temperature
"UP" Button
Bouton de réglage de la température +.
"DOWN" Button
Bouton de réglage de la température -
- Vous pouvezCHOISIR LA TEMPERATURE QUE VOUS SUIHAITEZ dans le compartment en pressant les touches "▲ /▼". La temperature que vous souhaitez programme augmentera/diminuera de 1^ à chaque pression sur les boutons.
La température peut être可以选择 entre 5 et 18^ . Une fois seLECTIONnée, l'afficheur clignotera environ 5s avant d'indiquer la température interne instantanée de la cave. A tout moment, la température de réglage est visible en appuyant 5 s sur les touches de seLECTION de température.
AV53CDZ/CV52IXDZ/AV54SXDZ(-IX):

Light
Bouton de contrôle de la lumière
RUN
Indicateur de mise sous tension
Power
Bouton Marche/Arrét (maintenir appuyé 3s)
- "Set Upper" Button
Bouton de réglage de la température pour le compartment supérieur.
- "Set Lower" Button
Bouton de réglage de la température pour le compartmentement inférieur
- "Upper Chamber"
Afficheur électronique du compartment supérieur
- "Lower Chamber"
Afficheur electronic du compartment inférieur.
Appuyez sur "Set Upper" pour régler la température du compartment supérieur. L'afficheur relat au comportement se met alors à clignoter et chaque pression vous permet de faire varier la température de 1^ . Une fois la température de réglage la plus BASSE atteinte 5^ , l'afficheur se repositionne automatiquement sur la température de réglage la plus elevée 10^ . Une fois sélectionnée, l'afficheur clignotera environ 5s avant d'indiquer la température interne instantanée de la cave. A tout moment, la température de réglage est visible en appuyant 5s sur les touches de selection de température.
Appuyez sur "Set Lower" pour régler la température du compartment inférieur. L'afficheur relatif au comportement se met alors à clignoter et chaque pression vous permet de faire varier la température de 1^ . Une fois la température de réglage la plus BASSE atteinte 10^ , l'afficheur se repositionne automatiquement sur la température de réglage la plus ÉLEVée 18^ . Une fois sélectionnée, l'afficheur clignotera environ 5s avant d'indiquer la température interne instantanée de la cave. A tout moment, la température de réglage est visible en appuyant 5 s sur les touches de sélection de température.
Dans le cas d'une coupure de courant toutes les températures précédemment choisisies seront effacées et chaque compartment reviendra par défaut à la valeur de température préprogrammée d'usine soit 6^ pour le compartment haut et 12^ pour le compartment bas.
A tout moment, la température de réglage est visible en appuyant 5 s sur les touches de seLECTION de température.
4^ EQUIPEMENTS
Le système de climatisation
Selon l'avis des spécialistes, la tempéature ideale de conservation des vins se situe autour de 12^ , dans une fourchette de 10^ à 14^ . Ne pas confondre avec la tempéature de service, qui elle varie selon la spécifique de chaque type de vin de 5 à 18^ .
Il est sur tout important d'éviter les variations brutes de température. Conçu par des spécialistes, pour des cènophiles, cet apparéil, contrairement au simple réfrigerateur, prend en compte la sensibilité des grands crués aux variations brutes de températures en assurant un contrôle fin d'une température moyenne constante.
Le système anti-vibrations :
Le compresseur frigorifique est equipé d'amortisseurs spéciaux (les silent-blocks) et la cuve interieure est isolée de la carrosserie par une épaissce couche de mousse de polyuréthane. Ces caractéristiques permettent d'éviter la transmission de vibrations à vos vins.
Le système d'humidification :
Cet appeareil est {_equipe d'un bac (selon modèle) qui mantient un niveau correct d'humidite. Si l'humidite est trop basse, replisssez le niveau du {_reservoir aux 3 / 4 de sa {_capacite. Verifiez le {_eau d'eau de {_tems en {_temps et ajoutez de I'eau si {_necessaire. Veiliez a ce que le bac contienne {_oujours de I'eau.
Conqu par des spécialistes pour des oenophiles, Climadiff a donc pris en compte la sensibilité des bouchons à une humidité ambiente trop BASSE. C'est pourquoit le bac est à placer sur la clayette sous le ventilateur situé au fond afin d'apporter une humidité minimale. Attention à contrôler le niveau d'eau si vous stockez vos vins sur une longue période et que vous ne dédiez pas l'appareil à leur mise à température de service uniquement (avec des rotations rapides de vos bouteilles).
Le système anti-UV :
La lumière accélère le vieillissement de vos vins. Dans nos caves à portes pleine, vos vins sont naturellement à l'abri, sous réserve bien entendu d'ouvertures pas trop féquentes. Ce modele à porte verre a fait l'objet d'un traitement particulier, qui filtreet les rayons ultra-violets néfastes ; vos vins sont donc parfaitement à l'abri.
Dégivrage :
Votre appareil est equiped d'un cycle automatique de degivrage. Pendant l'arret du cycle de refroidissement, les surfaces réfrigérées de l'appareil dégivrent automatiquement. L'eau de dégivrage ainsi récapucérée est evacuée vers un bac d'évaporation des condensas qui est situé à l'arrière de l'appareil prés du compresseur. La chaleur produit par le compresseur évapore ensuite les condensas récapucérés dans le bac.
Clayettes
Pour eviter d'endommager le joint de la porte, assurez-vous que la porte soit bien ouverte avant de tirer les clayettes pourmettre ou enlever les bouteilles.
Pour un plus simple accès au contenu des clayettes vous devez faire glisser la clayette vers l'extérieur d'environ 1/3 cependant elles sont conçues avec une butée d'arrêt de chaque côte pour éviter que les bouteilles ne tombent.
- Pourzheimer ou positionner les clayettes, inclinez la clayette comme indiqued sur le schema et tirer ou pousser selon les cas.

AV41SXDP(-IX)
Placez les clayettes aux emplacements adaptés.

a. boîte en carton de pieces de rechange

b. petite clayette
c. grande clayette
- Avec oar retire l'emballage, sortez le carton contenant les pieces de rechange de I'appareil.
- 4 petite clayettes (b) sont presents dans le compartment de gauche. Retirez les deux clayettes inférieures.
Dans le compartment de droite, on peut tracer 4 grandes clayettes (c). Retirez les deux clayettes supérieures.
- La position des petites et grandes clayettes doit alors être inversée (fig.2). Dans chaque compartment, placez
deux petites clayettes en haut et deux grandes clayettes en bas.
4. Une fois les clayettes correctement positionnées, vous cave à vin peut être utilisée conformément aux instructions figurant dans le manuel d'utilisation.
La sécurité renforcée :
Cette gamme d'appareils étant destinée au stockage d'objets de valeur, nous avons prissoon de selectionner des composants de qualite et de concevoir des techniques de fabrication propres à assurer une sécurité optimale de fonctionnement.
Installation de la poignée:
Votre appareil est equiped d'une poignee en acier inoxydable. Pour l'installer, vissez-la simplement sur la porte avec les vis fournies, suivant le schema ci-dessous en ayant prealablement retiree le joint magnetique.

Inversion de la porte :
AV7X(-IX):

AV21SX(-IX)/AV51SX(-IX) :





-
Charnière inf. (droite) 2. Vis 3. Axe de la porte
-
Porte 5. Charniere sup. (droite) 6. Vis des charnières
-
Charnière sup. (gauche) 8. Clou décoratif
10.Dispositif deretenu 11.Vis
-
Charnière inf. (gauche)
-
Bouchon
-
Ouvrez la porte à 90 degrés. Dévissez deux vis (2) de l'axe inférieur de la porte, puis retirez la porte (4) et l'axe de la porte (Fig. A)
- Positionnez correctement la porte (4) et retirez le bouchon (12) de la partie supérieure du cadre de la porte; dévissez l'une des vis (11) inférieures et otez le dispositif de retenue (10). Installez ensuite ce dispositif sur la partie supérieure du cadre de la porte. Il est préféable d'utiliser un bouchon de rechange (12) pour obturer le trou sur la partie supérieure du cadre. (Fig. A/B)
- Retirez 3 vis (6) de la charnière supérieure (droite) (5) et otez celle-ci. (Fig. C)
- Retirez les clous decoratifs (8) du cote supérieur gauche de l'appareil et installez la charniere supérieur de rechange (gauche) (7) sur le cote supérieur gauche à l'aide de trois vis. (Fig. D)
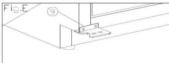
- Toujours selon la procEDURE ci-dessus, procedede a l'installation de la charniere inférieure de rechange (gauche) (9) (Fig. E).
- La porte s'ouvre à 180 degrés. La méthode d'installation de la porte est la même que celle de son démontage; alignez correctement la porte et fixez.
- Obtrez le trou situated en haut à droite de l'appareil avec un clou décoratif (8).
-
Charnière inf. (droite) 2. Vis 3. Axe de la porte
-
Porte 5. Charniere sup. (droite) 6. Vis des charnières
-
Charnière sup. (gauche) 8. Clou décoratif
-
Charnière inf. (gauche)
-
Ouvrez la porte à 90 degrés. Dévissez deux vis (2) de l'axe inférieur de la porte, puis retirez la porte (4) et l'axe de la porte (Fig. A).
- Positionnez correctement la porte (4).
- Retirez 3 vis (6) de la charnière supérieure (droite) (5) et otez celle-ci. (Fig. C).
- Retirez les clous decoratifs (8) du cote supérieur gauche de l'appareil et installez la charnière supérieur supplémentaire (gauche) (7) sur le cote supérieur gauche à l'aide de trois vis. (Fig. D)
- Toujours selon la procEDURE ci-dessus, procedez à l'installation de la charnière inférieure restante (gauche) (9) (Fig. E)
- La porte s'ouvre à 180 degrés. La méthode d'installation de la porte est la même que celle de son démontage; alignez correctement la porte et fixez.
7.Obturez le trou situated en haut a droite de I'appareil avec un clou decoratif (8).
CV52IXDZ





1 Retirez la grille d'aération (1) en dévissant les vis (2)
2 Utilisez un tournevis cruciforme pour retarder la charnière supérieure. Soulevez la porte et posez-la avec précaution.
3 Devissez la charmière inférieure
4 Retirez le bouchon en plastique situés dans le sens opposé.
5 Revissez la charnière en bas du côte opposé de la porte
6 Faites coicider les trous de I'armoire avec ceux des deux channières puis vissez ces dernieres.(figure E)
7 Repositionner les bouchons en plastique de I'autre cote de la cave de façon a masquer les trous dessormais visibles.
8 Remontez la grille d'aération et revissez la (figure A)
Scheme d'encastrement :
AV7X(-IX):



AV21SX(-IX):






AV41SXDP(-IX) :



Les quantités maximales de chargementannoncées de bouteilles sont données à titre indicatif, ne sont pas contractuelles, et permettent ( comme les litrages des réfrigerateurs) d'avoir une estimation rapide de la taille de l'appareil.
Elles correspondant a des tests effectués avec une bouteille étalon : la bouteille de type « cordelaise tradition en 75 cl » (la normalisation reconnait pour chaque forme de bouteille, une origine géographique : cordelaise, bourguignonne, provencale, etc... et un type : tradition, lourde, allégée, flute, etc., compteant chacune des diamètres et des hauteurs propres.
Dans la réalité, on pourrait ranger, à l'extreme, plus de bouteilles en empilage monotype et sans clayettes mais une «cave variee » se constitue d'une grande variete de bouteilles et I'aspect « pratique » de la gestion quotidienne d'une cave limite son chargement. Vous en chargerez dont probabilitem un peu moins que le maxima anoncé.
Comment garnir et tener votre cave à vin :
Types de bouteilles :

Nous voyons ici 4 sortes de bouteilles 75 cl, Bourgogne et Bordelaise, de dimensions différentes.
Il en existe de nombreux autres de toutes contenances et toutes formes.
Vou notere les differences de rangement selon hauteur des bouteilles, diametre et methode de croissement.
A titre d'exemple, si I'on charge exclusivement une cave de bouteilles de Bourgogne, on remarquera etre environ 30% sous la quantite initiale calculee a partir de Bordeaux.
Types de croisement :
Tete bêche col à col :
Notez bien la différence de profondeur!
Tete bêche col entre futs :
Chargement accru.


Exemples de températures de service : (à respecter lors de vos dégustations pour éviter de passer à côte de la richesse des arômes de vos vins !)
Les opinions varient, la température ambiente également mais beaucoup s'accordent sur :
Grands vins de Bordeaux - Rouge
16-17°C
Grands vins de Bourgogne - Rouge
15-16°C
Grands crus de vins blancs secs 14-16°C
Rouges légers, fruítés, jeunes 11-12°C
Rosés de Provence, vins de primeur 10-12°C
Blancs secs et vins de pays rouges 10-12°C
Vins de pays blancs 8-10°C
Champagnes 7-8°C
Vins liquoreux
6^
6^ ENTRETIEN
Avant de nettoyer voire appareil (opération a faire regulierement), debranchez l'appareil en retirant la prise de courant ou en debranchant le fusible dont elle depend.
Nous vous conseillons avant la première utilisation et de façon reguliere de nettoyer l'intérieur comme l'extérieur (face avant, laterales et dessus) avec un mélange d'eau tiède et de produit de lavage doux. Rincez à l'eau pure, laissez sécher totalement avant de rebrancher. N'utilise ni solvants, ni agents abrasifs.
Lavez la plastification des clayettes acier avec une solution détergente douce puis séchez avec un chiffon sec et doux. Les clayettes en bois ne demandent pas d'entretien particulier.
Lors de la première mise sous tension, des odeurs résiduelles peuvent subsister. Dans ce cas, faites fonctionner l'appareil à vide pendant quelques heures, en demandant la température la plus froide. Le froid annihilera ces odeurs possibles.
7^ STOCKAGE DE VOTRE CAVE A VINS
Si vous étés amèné à ne pas utiliser votre apparéil pendant de courtes périodes, laissez le panneau de commande à ses réglages habituels.
Pendant un arrêt prolongé :
- Enlevez les bouteilles containues dans l'appareil
- Debranchez l'appareil de la prise de courant
- Nettoyez soigneusement l'intérieur et l'extérieur de l'appareil
- Laissez la porte ouverte pour éviter la formation de condensas, odeurs, moisissures.
8° QUE FAIRE EN CAS DE COUPURE DE COURANT?
La majorité des coupures de courant sont résolues pendant une courte période. Une coupure de 1 ou 2 heures n' affectera pas les températures de votre armoire à vins. Afin de protéger vos vins pendant les coupures de courant, pensez à minimiser le nombre d'ouvertures de porte. Pour des coupures de courant de très longue durée, prenez les mesures nécessaires pour protéger votre vin.
Si l'appareil est debranché, eteint ou s'il y a une coupure de courant vous devez attendre de 3 à 5 minutes avant de le redemarrer. Si you essayez de le redemarrer avant ce retard, le compresseur se mettra en fonction seulement au bout de 3/5 minutes (si la temperture le nécessite).
- Au premier démarriage et suite à un arrêt prolongé de la cave, au moment du redémarrage il est possible que les températures choisies et celles affichées ne correspondent pas. Ceci est normal! Il sera alors nécessaire d'attendre quelques heures avant que celles-ci retrouvent leur stabilité.
9° SI VOUS DEVEZ DEPLACER VOTRE CAVE A VINS
Débranchez votre cave avant toute opération.
Enlevez toutes les bouteilles presents dans la cuve et fixez les éléments mobiles.
Pour eviter d'endommager les vis de mise a niveau des pieds, vissez-les a fonds dans leur base.
Déplacez l'appareil en position verticale de préférence ou notez à partir des inscriptions portées sur l'emballage, le sens sur lequel peut être couché l'appareil.
10^ EN CAS DE PANNE
Malgré tout le sein que nous apportons à nos fabrications, une panne n'est jamais totalement exclue. Avant de contacter le Service Àpres-vente de votre revendeur, vérifie néanmoins que :
- la prise de courant est toujours en place
- Il n'y a pas de coupure de courant
- Que la panne n'a pas pour origine l'une de celles décrites dans le tableau en fin de ce manuel.
IMPORTANT :
Si le cordon d'alimentation fourni est endommagé, il doit être remplace par le fabricant, un service agrée de la marque ou du revendeur. Dans tous les cas, il doit être remplace par un personnel qualifié pour éviter tout risque de blessure.
SICES CONTROLES NE DONNENT RIEN, CONTACTEZ ALORS LE SERVICE APRES VENTE DE VOITE REVENDEUR.
ATTENTION!
Débranche la prise murale avant toute opération d'entretien ou réparation !
11° PROBLEMES ET SOLUTIONS
Vou puez resoudre beaucoup de simples problèmes de votre cave à vin, en evitant de faire appel à votre service après vente. Essayez avec les suggestions ci-dessous!.
| PROBLEMES | CAUSES POSSIBLES |
| La cave ne démarre pas. | La prise n'est pas branchée.Le bouton marche/arrêt est sur la position arrêt.Le fusible a sauté au niveau de votre installation électrique. |
| La cave ne refroidit pas assez. | Contrôlez la température可以选择.La température externe est au-delà de la température d'application de la cave.La cave est ouverte trop souvent.La porte n'est pas bien fermée.Le joint de la porte n'est pas étanche. |
| Le compresseur démarre et s'accête féquèment. | La température externe est élevée.Une grossse quantité de bouteilles a été mise dans la cave.La cave est ouverte féquèment.La porte n'est pas bien fermée.Le réglage n'a pas été fait correctement.Le joint de la porte n'est pas étanche. |
| La lumière ne fonctionne pas. | La prise n'est pas branchée.Le fusible a sauté au niveau de votre installation électrique.Le LED est hors service.Le bouton de la luzière est sur arrêt. |
| Vibrations. | Contrôlez et assurez vous que la cave soit bien au niveau. |
| La cave semble faire beaucoup de bruit. | Un bruit qui ressemble à de l'eau qui circule est produit par le gaz réfrigérant, ce qui est normal.En fin de cycle du compresseur, il est possible d'entendre un bruit d'eau qui circule.Des contractions et des expansions des parois internes peuvent provoquer des claquements.La cave n'est pas à niveau. |
| La porte ne se ferme pas bien. | La cave n'est pas à niveau.Le joint de la porte est sale ou abîmé.Les clayettes ne sont pas bien positionnées.Une partie du contenu empêche la porte de se fermer. |
12^ ENVIRONNEMENT
Ce produit est conforme à la Directive DEEE 2002/96/CE.

Le symbole de poubelle barrée apposé sur l'appareil indique que ce produit devra etre, à la fin de sa vie utile, traité séparation des autres déchets domestiques.
Il devra donc être apporté dans un centre de collecte sélectif pour les apparêils électriques et/ou électroniques ou bien, si vous achetez un apparéil équivalent, au revendeur de ce nouvel apparéil.
L'utilisateur est responsable d'apporter l'appareil en fin de vie aux structures de collecte appropriées. Une collecte sélective et ajustée visant à envoyer l'appareil inutilisé au recyclage, au traitement et à une élimination compatible avec l'environnement, contribue à éviter les effets négatifs possibles sur l'environnement, sur la santé et favorise le recyclage des matériaux dont le produit est composé.
Pour obtenir des renseignements plus détaillés sur les systèmes de collecte disponibles, s'adresser au service local d'élimination des déchets ou bien au magasin où l'appareil a été acheté
13^ AVERTISSEMENT
Dans un souci d'amélioration constante de nos produits, nous nous réservons la possibilité de modifier les caractéristiques techniques sans préavis.
Les garanties des produits de la marque CLIMADIFF sont exclusively enoncées par les distributeurs que nous avons choisis. Aucun élément des générées ne peut être interprétré comme une garantie supplémentaire.
La société CLIMADIFF ne peut etre tenu responsable des erreurs ou des omissions techniques et de redaction dans les presentes.
Document non contractuel.
ANNEXE 1
| Modèle | Marque: Avintage Référence: AV21SX - AV21SX-8x Catégorie d'apparéil de réfrigeration menager :2 |
| Alimentation | 220-240V~50Hz |
| Dimension (LxPxA cm) | 29,5 x 57,2 x 82 cm |
| Poids (kg) | 28kg |
| Classe d'éfficacité énergétique | B |
| Consommation d'énergie annuelle (AEc) | Consommation d'énergie de 184 kWh par an calculée sur la base du résultat obtenu pour 24h dans des conditions d'essai normalisées. La consommation d'énergie réelle dépend des conditions d'utilisation et de l'emplacement de l'appareil. |
| Volume utile des compartments (l) | 60L |
| Dégivrage | Automatic defrost |
| Classe climatique | Classe climatique : N Cet apparéil est conçu pour être utilisé à une température ambiente comprise entre 16°C (température la plus BASSE) et 32°C (température la plus haute) |
| Émissions acoustiques dans l'air en dB(A) re 1pW | 41dB |
| Type d'installation | Pose libre ou encasirable |
Cet appareil est destiné uniquement au stockage du vin.
ANNEXE 2
| Modèle | Marque: Avintage Référence: AV51SX - AV51SX-IX Catégorie d'apparéil de réfrigeration menager :2 |
| Alimentation | 220-240V- 50Hz |
| Dimension (LxPxA cm) | 59.5 x 57.2 x 82 cm |
| Poids (kg) | 44kg |
| Classe d'efficacité énergétique | B |
| Consommation d'énergie annuelle (AEc) | Consommation d'énergie de 186 kWh par an calculée sur la base du résultat obtenu pour 24h dans des conditions d'essai normalisées. La consommation d'énergie réelle dépend des conditions d'utilisation et de l'emplacement de l'applièl. |
| Volume utile des compartments (I) | 146L |
| Dégivrage | Automatic defrost |
| Classe climatique | Classe climatique : N Cet apparteil est conçu pour être utilisé à une température ambiente comprise entre 16°C (température la plus BAS) et 32°C (température la plus haute) |
| Émissions acoustiques dans l'air en dB(A) re 1pW | 42dB |
| Type d'installation | Pose libre ou encastrable |
Cet appareil est destiné uniquement au stockage du vin.
ANNEXE 3
| Modèle | Marque: Avintage Rèférence: PRO51C Catégoriee d'apparéel de réfrigération menager :2 |
| Alimentation | 220-240V~50Hz |
| Dimension (LxPxDcm) | 59,5 x 57,2 x 82 cm |
| Poids (kg) | 44kg |
| Classe d'efficacité énergétique | 8 |
| Consommation d'énergie annuelle (AEc) | Consommation d'énergie de 186kWh par an calculée sur la base du résultat obtenu pour 24h dans des conditions d'essai normalisées. La consommation d'énergie réelle dépend des conditions d'utilisation et de l'emplacement de l'applièl. |
| Volume utile des compartments (I) | 146L |
| Dégivrage | Automatic defrost |
| Classe climatique | Classe climatique : N Cet produit est conçu pour être utilisé à une température ambiente comprise entre 16°C (température la plus BASSE) et 32°C (température la plus haute) |
| Emissions acoustiques dans l'air en dB(A) re 1pW | 42dB |
| Type d'installation | Pose libre ou encasirable |
Cet appareil est destiné uniquement au stockage du vin.
ANNEXE 4
| Modèle | Marque: Avintage RÉférence: AV53CDZ Catégorie d'appareil de réfrigeration menager :2 |
| Alimentation | 220-240V~ 50Hz |
| Dimension (LxPxAH cm) | 59.5 x 57.2 x 82 cm |
| Poids (kg) | 50kg |
| Classe d'efficacité énergétique | C |
| Consommation d'énergie annuelle (AEC) | Consommation d'énergie de 235 kWh par an calculée sur la base du résultat obtenu pour 24h dans des conditions d'essai normalisées. La consommation d'énergie réelle dépend des conditions d'utilisation et de l'emplacement de l'appareil. |
| Volume utile des compartments (l) | 134L |
| Dégivrage | Automatic defrost |
| Classe climatique | Classe climatique : N Cet produit est conçu pour être utilisé à une température ambiente comprise entre 16°C (température la plus BAS) et 32°C (température la plus haute) |
| Emissions acoustiques dans l'air en dB(A) re 1pW | 43dB |
| Type d'installation | Pose libre ou encasirable |
Cet appareil est destiné uniquement au stockage du vin.
ANNEXE 5
| Modèle | Marque: Climadiff Référence: CV52IXDZ Catégorie d'apparéil de réfrigération menager :2 |
| Alimentation | 220-240V~ 50Hz |
| Dimension (LxPxA cm) | 57.2 x 59.5 x 82 cm -without handle |
| Poids (kg) | 50kg |
| Classe d'éfficacité energétique | C |
| Consommation d'énergie annuelle (AEC) | Consommation d'énergie de 235 kWh par an calculée sur la base du résultat obtenu pour 24h dans des conditions d'essai normalisés. La consommation d'énergie réelle dépend des conditions d'utilisation et de l'emplacement de l'apparéil. |
| Volume utile des compartments (l) | 134L |
| Dégivrage | Automatic defrost |
| Classe climatique | Classe climatique : N Cet apparéil est conçu pour être utilisée à une température ambiente comprise entre 16°C (température la plus BASSE) et 32°C (température la plus haute) |
| Emissions acoustiques dans l'air en dB(A) re 1pW | 43dB |
| Type d'installation | Pose libre ou encastrable |
ANNEXE 6
| Modèle | Marque: AVINTAGERéférence: AV41SXDP - AV41SXDP-IXCatégorie d'apparéil de réfrigération menager :2 |
| Alimentation | 220-240V~ 50Hz |
| Dimension (LxPxA cm) | 59.5 x 57.5 x 82 cm --without handle |
| Poids (kg) | 48kg |
| Classe d'éfficacité énergétique | D |
| Consommation d'énergie annuelle (AEC) | Consommation d'énergie de 284 kWh par an calculée sur la base du résultat obtenu pour 24h dans des conditions d'essai normalisées. La consommation d'énergie réelle dépend des conditions d'utilisation et de l'emplacement de l'apparéil. |
| Volume utile des comptiments (l) | 2X59.5 |
| Dégivrage | Automatic defrost |
| Classe climatique | Classe climatique : N Cet apparéil est conçu pour être utilisé à une température ambiente comprise entre 16°C (température la plus BASSE) et 32°C (température la plus haute) |
| Emissions acoustiques dans l'air en dB(A) re 1pW | 42dB |
| Type d'installation | Pose libre ou encasirable |
ANNEXE 7
| Modèle | Marque: Avintage RÉférence: AV545XDZ - AV545XDZ-IX Câtiogorie d'apparéil de réfrigération menager :2 |
| Alimentation | 220-240V~50Hz |
| Dimension (LxPxAH cm) | 59.5 x 57.2 x 82 cm |
| Poids (kg) | 50kg |
| Classe d'éfficacité énergétique | C |
| Consommation d'énergie annuelle (AEc) | Consommation d'énergie de 235 kWh par an calculée sur la base du résultat obtenu pour 24h dans des conditions d'essai normalisées. La consommation d'énergie réelle dépend des conditions d'utilisation et de l'emplacement de l'appareil. |
| Volume utile des compartments (l) | 134L |
| Dégivrage | Automatic defrost |
| Classe climatique | Classe climatique : N Cet appartil est conçu pour être utilisé à une tempête ambiente comprise entre 16°C (température la plus BAS) et 32°C (température la plus haute) |
| Emissions acoustiques dans l'air en dB(A) re 1pW | 43dB |
| Type d'installation | Pose libre ou encasirable |
Cet appareil est destiné uniquement au stockage du vin.
ANNEXE 8
| Modèle | Marque: Avintage Référence: AV7X-AV7X-Dx Catégoriee d'apparéil de réfrigération ménager :2 |
| Alimentation | 220-240V~50Hz |
| Dimension (LxPxA cm) | 47.5 x 14.5 x 86.5 cm |
| Poids (kg) | 19kg |
| Classe d'efficacité énergétique | 8 |
| Consummation d'énergie annuelle (AEc) | Consommation d'énergie de 155 kWh par an calculée sur la base du résultat obtenu pour 24h dans des conditions d'essai normalisées. La consommation d'énergie réelle dépend des conditions d'utilisation et de l'emplacement de l'appareil. |
| Volume utile des compartments (l) | 19L |
| Dégivrage | Automatic defrost |
| Classe climatique | Classe climatique : N Cattee apparemil est conçu pour être utilisé à une tempête ambiente comprise entre 16°C (température la plus BAS) et 32°C (température la plus haute) |
| Émissions acoustiques dans l'air en dB(A) re 1pW | 40dB |
| Type d'installation | Pose libre ou encasirable |
Cet appareil est destiné uniquement au stockage du vin.
Types de croisement :
Tete bêche col à col :
Notez bien la différence de profondeur!
Tete bêche col entre futs :
Chargement accru.


Niet-contractueel document.
BJLAGE1
Notice Facile