Powerbank 5200mAh - Batterie portable FRESH N REBEL - Notice d'utilisation et mode d'emploi gratuit
Retrouvez gratuitement la notice de l'appareil Powerbank 5200mAh FRESH N REBEL au format PDF.
| Caractéristiques | Détails |
|---|---|
| Capacité | 5200 mAh |
| Type de batterie | Li-ion |
| Entrée | 5V / 1A |
| Sortie | 5V / 1A |
| Dimensions | 10.5 x 6.5 x 1.5 cm |
| Poids | 150 g |
| Matériau | Plastique |
| Couleurs disponibles | Plusieurs couleurs |
| Utilisation | Compatible avec la plupart des appareils USB |
| Maintenance | Conserver dans un endroit sec, éviter l'humidité |
| Sécurité | Protection contre les courts-circuits et la surcharge |
| Informations générales | Idéal pour les déplacements, léger et portable |
FOIRE AUX QUESTIONS - Powerbank 5200mAh FRESH N REBEL
Questions des utilisateurs sur Powerbank 5200mAh FRESH N REBEL
0 question sur cet appareil. Repondez a celles que vous connaissez ou posez la votre.
Poser une nouvelle question sur cet appareil
Téléchargez la notice de votre Batterie portable au format PDF gratuitement ! Retrouvez votre notice Powerbank 5200mAh - FRESH N REBEL et reprennez votre appareil électronique en main. Sur cette page sont publiés tous les documents nécessaires à l'utilisation de votre appareil Powerbank 5200mAh de la marque FRESH N REBEL.
MODE D'EMPLOI Powerbank 5200mAh FRESH N REBEL
- Chargez complètement votre Powerbank avant utilisation.
- Branchez le Powerbank à l'appareil que vous souhaitez charger.
- Appuyez sur le bouton pour démarrer le chargement. L'indicateur DEL de chargement rouge s'allume.
- L'indicateur s'éteint lorsque votre appareil est complètement chargé.




VOTRE APPAREIL EST ALORS PRÊT POUR LA FÊTE!


Pour charger vos périphériques
2. Port USB 2.1 amp
Pour charger rapidement vos périphériques
3. Port USB micro
Pour charger votre powerbank
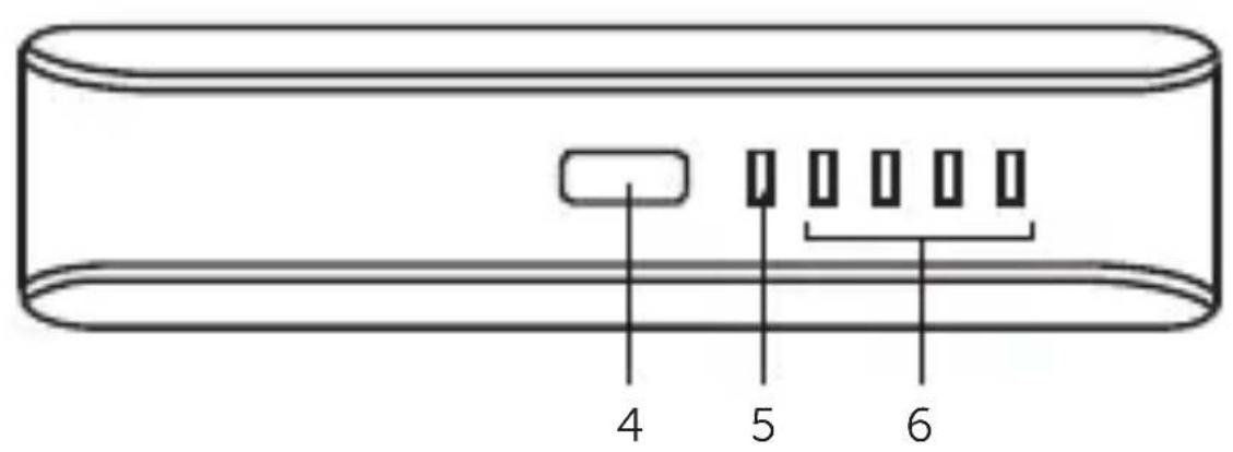
4. Bouton
Appuyer pour démarrer le chargement
Appuyer pour afficher l'état de charge de la batterie
5. LED de chargement
Rouge = Powerbank en cours Éteinte = Powerbank terminé
6. Indicateur de batterie
1 voyant = 25% de charge restante 2 voyants = 50% de charge restante 3 voyants = 75% de charge restante 4 voyants = 100% de charge restante
Instructions de sécurité importantes

Les directives de sécurité sont conçues pour vous faire profiter en toute sécurité des valeurs performances de vos produits Fresh 'n Rebel. Pour garantir un fonctionnement sans souci:
- Respectez toujours toutes les instructions et tous les avertissements.
- Lisez attentivement toutes les instructions du manuel d'utilisation avant d'utiliser le produit.
- N'ouvrez pas l'appareil, il ne contient aucune pièce réparable et cette intervention annulerait votre garantie.
- N'utilisez pas le produit dans un environnement humide ou dans des conditions humides.
- Ne manipulez pas l'adaptateur d'alimentation à proximité d'une source de chaleur importante, d'une grille de chauffage ou en plein soleil pendant une longue durée. Le produit doit être utilisé à des températures comprises entre 5°C et 35°C (entre 41°F et 95°F).
- Ne recouvre pas le produit avec du papier ou d'autres matières. Ceci risquerait de compromettre la capacité de refroidissement du produit.
Garantie et limitations
Nous garantissons le produit contre tout vice de fabrication ou de malfaçon dans des conditions d'utilisation normales pendant une période de 2 ans à partir de la date d'achat. Pendant cette période, les produits défectueux pourront être ramenés pour réparation ou remplacement au magasin où ils ont été achetés. La garantie ne couvre pas les dommages accidentels, l'usure, la perte accidentelle ou toute utilisation ne respectant pas les instructions du manuel d'utilisation.
Spécifications du produit
- Capacité de la batterie: 5200 mAh
- Entrée: 5V / 1,5A (max.)
- Puissance de sortie: 15W USB Sortie 1: 5V/1A
- USB Sortie 2 : 5 V / 2,1A
- Dimensions: 49 × 101 × 27 mm
- Poids du produit : 135g
- Protections intégrées : protection contre les surintensités, protection contre les surtensions, protection contre les surchauffes, protection contre les surpuissances, protection contre les courts-circuits.
Notice Facile