Powerbank 5200mAh - Draagbare batterij FRESH N REBEL - Gratis gebruiksaanwijzing en handleiding
Vind de handleiding van het apparaat gratis Powerbank 5200mAh FRESH N REBEL in PDF-formaat.
Gebruikersvragen over Powerbank 5200mAh FRESH N REBEL
0 vraag over dit apparaat. Beantwoord die u kent of stel uw eigen vraag.
Stel een nieuwe vraag over dit apparaat
Download de handleiding voor uw Draagbare batterij in PDF-formaat gratis! Vind uw handleiding Powerbank 5200mAh - FRESH N REBEL en neem uw elektronisch apparaat weer in handen. Op deze pagina staan alle documenten die nodig zijn voor het gebruik van uw apparaat. Powerbank 5200mAh van het merk FRESH N REBEL.
GEBRUIKSAANWIJZING Powerbank 5200mAh FRESH N REBEL
- Laad je Powerbank volledig op voor gebruik.
- Sluit de Powerbank aan op het apparaat dat je wilt opladen.
- Druk op de knop om het opladen te starten. De oplaadindicator-led Licht rood op.
- Zodra je apparaat volledig is opgeladen, gaat de oplaadindicator-leduit.




JE APPARAAT KAN ER NU WEER VOL TEGENAAN!

NL

- USB poort 1 Amp
Apparaten opladen
- USB poort 2.1 Amp
Fast charge apparatus
- Micro-USBpooft
Powerbank opladen
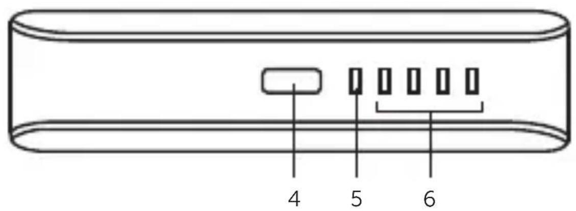
- Knop
Druk op de knop om het opladen te starten
Druk op de knop om de batterijstatus te lezen
- LED - oplaadindicator
Rood = je Powerbank worden opgeladen
Uit = je Powerbank is volledig opgeladen
- Batterij-indicator
1lichtje = 25% batterij vermogen
2 Lichtjes = 50% batterij vermogen
3 Lichtjes = 75% batterij vermogen
4 Lichtjes = 100% batterij vermogen
BELANGRIJKE VEILIGHEIDSINSTRUCTIES

Waarschuwing!
De veiligheidsrichtlijnen zijn opgesteld om je op veilige wijze te latent genieten van optimale prestaties van je Fresh'n Rebel-producten. Houd je aan het onderstaande om een betrouwbare werkig te waarborgen:
- Volg alkijd alle instructies en waarschuwingen op.
- Lees alle instructies in de gebruikershandleiding zorgvuldig door voordat je het product gaat gebruiken.
- Open het apparaat Niet; er bevinden zich geen bruikbare onderdelen in het apparaat en als je dit noch doet, komt de garantie te verrallen.
- Gebruik het product Niet in een native omgeving of onder native omstandigheden.
- Bedien de stroomadapter nicht gedurende langearend in of nabij een groe warmtebron, een warmterooster of direct zonlicht. Het product moet worden gezruikt bij een temperatuur tussen 5^ en 35^ (41^ - 95^) .
- Dek het product Niet af met papier of andere materialen. Hierdoor wordt het koelvermogen van het product möglichk gehinderd.
Garantie en beperkingen
Wij garanderen het product gegen defecten in materiaal en bouw kwaliteit gedurende eenperiode van 2aar vanaf de aankoopdatum. Gedurende dieperiode mogen defecte producten ter reparatie of verranging worden aangeboden in de winkel waar je het product hebt gekocht. Onopzettelijke schade, slijtage, verlies of gebruik anders dan beschreiben in de gebruikershandleiding vallen nicht onder de garantie.
Productspecificities
- Batterijvermogen: 5200 mAh
- Invoer: 5 V/1,5 A (max.)
Uitgangsvermogen: 15W
USB Uitvoer 1:5 V/1 A
USB Uitvoer 2:5 V/2,1 A - Afmetingen: 49 × 101 × 27 mm
Productgewicht: 135g - Diverse ingebouwde beschermingen: stroombegrenzing, overspanningsbeveiliging, bescherming gegen oververhitting, beveiliging gegen stroompieken, kortsluitbeveiliging.
SimpelGids