1PB200WH - Batterie portable FRESH N REBEL - Notice d'utilisation et mode d'emploi gratuit
Retrouvez gratuitement la notice de l'appareil 1PB200WH FRESH N REBEL au format PDF.
| Caractéristiques techniques | Batterie portable Fresh 'n Rebel 1PB200WH, capacité de 10 000 mAh, sortie USB-A et USB-C, compatible avec la recharge rapide. |
|---|---|
| Utilisation | Idéale pour charger des smartphones, tablettes et autres appareils électroniques en déplacement. |
| Maintenance et réparation | Pas de maintenance nécessaire, mais éviter l'exposition à des températures extrêmes. En cas de dysfonctionnement, contacter le service client. |
| Sécurité | Équipée de protections contre les surcharges, courts-circuits et surchauffes. |
| Informations générales | Poids léger, design compact, disponible en plusieurs couleurs. Garantie de 2 ans. |
FOIRE AUX QUESTIONS - 1PB200WH FRESH N REBEL
Questions des utilisateurs sur 1PB200WH FRESH N REBEL
0 question sur cet appareil. Repondez a celles que vous connaissez ou posez la votre.
Poser une nouvelle question sur cet appareil
Téléchargez la notice de votre Batterie portable au format PDF gratuitement ! Retrouvez votre notice 1PB200WH - FRESH N REBEL et reprennez votre appareil électronique en main. Sur cette page sont publiés tous les documents nécessaires à l'utilisation de votre appareil 1PB200WH de la marque FRESH N REBEL.
MODE D'EMPLOI 1PB200WH FRESH N REBEL
- Chargez complètement votre Powerbank avant utilisation.
- Branchez le Powerbank à l'appareil que vous souhaitez charger.
- Appuyez sur le bouton pour démarrer le chargement.
L'indicateur DEL de chargement rouge s'allume. - L'indicateur s'estint lorsque votre apparéil est complètement chargé.




VOTRE APPAREIL EST ALORS PRÉT POUR LA FÊTE!

FR

1. USB port 1 Amp
Pour charger vos périphériques
2. Port USB 2.1 Amp
Pour charger rapidement vos péripériques
3. Port USB micro
Pour charger votre powerbank
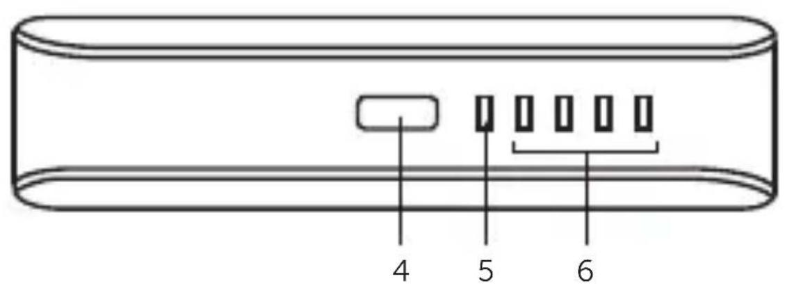
4. Bouton
Appuyer pour démarrer le chargement
Appuyer pour afficher l'etat de charge de la batterie
5. LED de chargement
Rouge = Powerbank en cours Éteinte = Powerbank terminé
6. Indicateur de batterie
1 voyant = 25% de charge restante
2 voyants = 50% de charge restante
3 voyants = 75% de charge restante
4 voyants = 100% de charge restante
INSTRUCTIONS DE SÉCURITÉ IMPORTANTES

Advertisement!
Les directives de sécurité sont conçues pour vous faire profiter en toute sécurité des valeurs performances de vos produits Fresh 'n Rebel. Pour garantir un fonctionnement sans souci:
- Respectez toujours toutes les instructions et tous les averissements.
- Lisez attentivement toutes les instructions du manuel d'utilisation avant d'utiliser le produit.
- N'ouvrez par l'appareil, il ne contient aucune piece réparable et cette intervention annulerait votre garantie.
- N'utilisez pas le produit dans un environnement humide ou dans des conditions humides.
- Ne manipulez pas l'adaptateur d'alimentation à proximé d'une source de chaleur importante, d'une grille de chauffage ou en plein soleilpendant une longue durée. Le produit doit être utilisé à des températures comprises entre 5^ et 35^ (entre 41^ et 95^ ).
- Ne recouvre pas le produit avec du papier ou d'autres matières. Ceci risquerait de générer la capacité de refroidissement du produit.
Garantie et limitations
Nous garantissons le produit contre tout vice de fabrication ou de malfaçon dans des conditions d'utilisation normales pendant une période de 2 ans à partir de la date d'achat. Pendant cette période, les produits défectueux pourront être raménés pour réparation ou remplacement au magasin où ils ont été achetés. La garantie ne couvre pas les dommages accidentels, l'usure, la perte accidentelle ou toute utilisation ne respectant pas les instructions du manuel d'utilisation.
Spécifications du produit
- Capacité de la batterie: 5200 mAh
- Entre: 5V / 1,5A (max.)
- Puissance de sortie: 15W
USB Sortie 1:5V/1A - USB Sortie 2 : 5 V / 2,1A
- Dimensions: 49 × 101 × 27 mm
- Poids du produit : 135g
- Protections intégrées : protection contre les surintensités, protection contre les surtensions, protection contre les surchauffes, protection contre les surpuissances, protection contre les courts-circuits.
Notice Facile