1PB200WH - Tragbarer Akku FRESH N REBEL - Kostenlose Bedienungsanleitung
Finden Sie kostenlos die Bedienungsanleitung des Geräts 1PB200WH FRESH N REBEL als PDF.
Benutzerfragen zu 1PB200WH FRESH N REBEL
0 Frage zu diesem Gerät. Beantworten Sie die, die Sie kennen, oder stellen Sie Ihre eigene.
Eine neue Frage zu diesem Gerät stellen
Laden Sie die Anleitung für Ihr Tragbarer Akku kostenlos im PDF-Format! Finden Sie Ihr Handbuch 1PB200WH - FRESH N REBEL und nehmen Sie Ihr elektronisches Gerät wieder in die Hand. Auf dieser Seite sind alle Dokumente veröffentlicht, die für die Verwendung Ihres Geräts notwendig sind. 1PB200WH von der Marke FRESH N REBEL.
BEDIENUNGSANLEITUNG 1PB200WH FRESH N REBEL
- Lade die Powerbank vor Gebrauch vollständig auf.
- Verbinde die Powerbank mit dem Gerät, das du aufladen möchtest.
- Drücke die Taste, um den Ladevorgang zu starten. Die Lade-LED leuchtet rot.
- Wenn das Gerät vollständig geladen ist, erlischt die Lade-LED.




DEIN GERÄT IST NUN WIEDER EINSATZBEREIT!


- USB-Anschluss 1 Amp
Gerate aufladen
- USB-Anschluss 2.1 Amp
Geräte Schnell aufladen
- Micro-USBAnschluss
Powerbank aufladen
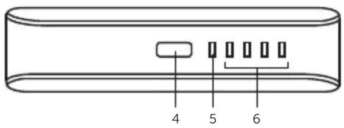
- Taste
Drücken, um Akkustand anzuzeigen
- Lade - LED
Rot = Powerbank wird geladen
Aus = Powerbank ist vollständig geladen
- Akkuanzeige
1 Leuchte = 25 % Energie
2 Leuchten = 50 % Energie
3 Leuchten = 75% Energie
4 Leuchten = 100 % Energie
WICHTIGE SICHERHEITSHINWEISE

Warnings!
Um ihre Fresh'n Rebel-Produkte gefahrlos bei voller Leistung nutzen zu können,lesen Sieitte die folgenden Sicherheitshinweise. Sicherstellung eines zuverlässigen Betriebs:
- Befolgen Sie alle Hinweise und Warnungen.
- Lesen Sie vor der Inbetriebnahme des Produkts alle Anweisungen im Benutzerhandbuch sorgfältig durch.
- Öffnen Sie das Gerät nicht. Es enthalt keine zu wartenden Teile, und das Öffnen des Geräts führt zum Erlösen der Garantie.
- Verwenden Sie das Gerät nicht in feuchten Umgebungen.
- Betreiben Sie das Netzteil nicht für einen längeren Zeitraum in der Höhe einer starken Wärmequelle, eines Warmluftauslasses oder unter direkter Sonneneinstrahlung. Die empfohlene Betriebstemperatur beträgt 5 bis 35^ .
- Bedecken Sie das Produkt nicht mit Papier oder anderen Gegenständen. Andernfalls wird die Kühlfähigkeit des Produkts beeinträchtigt.
Garantieumfang und Einschränkungen der Garantie
Wir gewährren eine Garantie für einen Zeitraum von zwei Jahren ab Kaufdatum auf Material- und Herstellungsehler bei normalem Gebrauch des Produkts. Wahrend these Zeitraums konnen defekte Produkte in dem Geschäft, in dem sie erworben wurden, zur Reparatur oder zum Austausch zurückgegeben werden. Die Garantiedeckt keine Schäden ab, die durch versehentliche falsche Handhabung, Verschleiß, beiläufige Schäden oder eine unsachgemäße Verwendung entgegen den Anweisungen im Benutzerhandbuch entwickelten sind.
Produkspezifikationen
- Akkukapazität: 5200 mAh
Eingang: 5V / 1,5A (max.)
Ausgangsleistung: 15W
USB Ausgang 1:5 V/1 A
USB Ausgang 2:5V/2,1A
Abmessungen: 49 X 101 X 27 mm
Produktgewicht: 135g - Integrierte Schutzschaltungen: Überstromschutz, Überspannungsschutz, Übertemperaturschutz, Überlastschutz, Kurzschlussschutz.
EinfachAnleitung