WKL 2503 - Chauffage AEG - Notice d'utilisation et mode d'emploi gratuit
Retrouvez gratuitement la notice de l'appareil WKL 2503 AEG au format PDF.
| Caractéristiques techniques | Chauffage électrique, puissance 2500 W, thermostat réglable, protection contre la surchauffe. |
|---|---|
| Utilisation | Idéal pour le chauffage d'appoint dans les espaces de vie, bureaux ou ateliers. |
| Maintenance et réparation | Nettoyage régulier de la grille d'aération, vérification des câbles et de la prise électrique. |
| Sécurité | Équipé d'un système de sécurité contre la surchauffe et d'un arrêt automatique en cas de basculement. |
| Informations générales | Dimensions compactes, léger et portable, idéal pour un usage domestique ou professionnel. |
FOIRE AUX QUESTIONS - WKL 2503 AEG
Questions des utilisateurs sur WKL 2503 AEG
0 question sur cet appareil. Repondez a celles que vous connaissez ou posez la votre.
Poser une nouvelle question sur cet appareil
Téléchargez la notice de votre Chauffage au format PDF gratuitement ! Retrouvez votre notice WKL 2503 - AEG et reprennez votre appareil électronique en main. Sur cette page sont publiés tous les documents nécessaires à l'utilisation de votre appareil WKL 2503 de la marque AEG.
MODE D'EMPLOI WKL 2503 AEG
Notice d'utilisation et de montage
Wand-convector
- Notice d'utilisation 16-18 1.1 Description de l'appareil 1.2 Fonctionnement 1.3 Consignes de sécurité 1.4 Entretien et maintenance Que faire quand...? 18
- Instructions de montage 19 - 20 2.1 Composition de l'appareil Caractéristiques techniques 19 2.2 Normes et spécifications 2.3 Montage 2.4 Raccordement électrique 2.5 Remise de l'appareil Garantie 21
Environnement et recyclage 21
Cesky strana 34-39
1. Notice d'utilisation

L'utilisation d'appareils électriques doit, bien entendu, faire l'objet de la prudence qui s'impose afin d'exclure tout risque potentiel d'incendie, d'électrocution ou de blessure. C'est pourquoi l'appareil peut uniquement s'utiliser conformément à la présente notice. Toute utilisation non conforme aux recommandations du fabricant risque d'entraîner des dommages ou blessures.
L'utilisateur doit veiller à coordonner les besoins en chaleur dans la pièce et la capacité de chauffe de l'appareil. Avant utilisation, il convient de lire toutes les instructions et de suivre les consignes qu'elle contient en vue d'une utilisation appropriée de l'appareil.
Conserver soigneusement la notice d'utilisation et la remettre au propriétaire suivant en cas de changement de propriétaire. En cas de travaux d'entretien éventuels, la remettre également au technicien.
1.1 Description de l'appareil
Le WKL est un appareil à chauffage électrique direct destiné uniquement à un montage mural. Il convient, par exemple, au chauffage principal dans une salle de bain ou de chauffage d'appoint pour des petites pièces, par exemple des salles de loisirs ou chambres d'amis.
Série WKL-S
Après fixation murale et raccordement électrique au moyen d'une fiche secteur à insérer dans une prise de courant, l'appareil est prêt à l'utilisation.
Série WKL-U
Après fixation murale et raccordement électrique au moyen d'un raccordement mural (respecter les consignes nationales en vigueur!), l'appareil est prêt à l'utilisation.
Fonctionnement de l'appareil
L'air présent dans le convecteur est chauffé par un corps de chauffe et dessert par convection naturelle par la grille de sortie d'air (4) située dans la partie supérieure de l'appareil. L'air ambiant frais pénètre dans l'appareil par les ouvertures situées dans la partie inférieure de l'appareil.
Dispositif de sécurité
Le convecteur est doté d'un régulateur de température de protection (STR) qui éteint l'appareil en cas de surchauffe. Après avoir éliminé la cause du problème (p. ex. les ouvertures de sortie ou d'entrée d'air sont obstruées), après un retard de refroidissement de quelques minutes, l'appareil se remet en marche.
1.2 Fonctionnement
L'interrupteur (1) situé à droite de l'appareil permet d'allumer le convecteur ou de l'éteindre. La température ambience souhaitée peut être réglée en continu entre +6°C et +30°C au moyen du sélecteur de température (2). Dès que la température ambience réglée est atteinte, elle est maintenue en permanence grâce à des périodes de chauffage intermittentes (la capacité de chauffe de l'appareil doit correspondre au moins aux besoins en chaleur de la pièce).
Si plusieurs appareils de chauffage sont installés dans une même pièce, les réglages du sélecteur de température peuvent différer pour chaque appareil.
Afin d'éviter une consommation trop importante en électricité lorsque les fenêtres sont ouvertes afin d'aérer une pièce, l'appareil doit être éteint au moyen de l'interrupteur (1).
Protection hors-gel
Si l'appareil doit faire office de protection hors-gel, le sélecteur (2) de température doit être placé sur la butée droite (*). Dans cette position, le régulateur de température enclenche automatiquement le chauffage lorsque la température ambiante tombe et la maintient à environ +6° C.
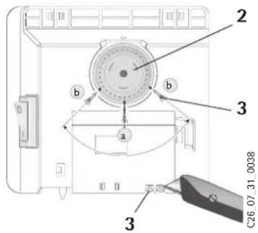
Limitation du régulateur de température
Les deux butées (3) situées à l'arrière du capot de l'appareil permettent de bloquer le régulateur de température sur une température déterminée ou de limiter la plage de réglage des températures.
Pour bloquer le régulateur sur la température souhaitée, il suffit d'insérer une butée a dans le trou correspondant.
Pour limiter la plage de réglage des températures, il faut régler la valeur minimale et la valeur maximale sur le sélecteur en insérant une butée b dans un trou correspondant.

1.2.1 Régulateur externe de température
En cas de besoin, l'appareil peut être utilisé avec un régulateur externe de température que l'on trouve généralement dans le commerce.
Pour ce faire, le sélecteur de température doit être tourné jusqu'à la butée de droite (MAX). Il convient de placer le régulateur de température le plus loin possible de l'appareil et à une hauteur de minimum 1,5 mètre.
1.2.2 Mise hors service
Pour la mise hors service de l'appareil, l'interrupteur doit être placé sur AUS (éteint) et la fiche doit être retirée de la prise de courant (ne pas retirer la fiche de la prise en tirant sur le cordon d'alimentation).
1.3 Consignes de sécurité

L'appareil ne peut pas être utilisé
- Dans des pièces où des produits chimiques, poussières, gaz ou vapeurs risquent de provoquer des incendies ou explosions
- À proximité directe de conduites ou de récipients contenant ou transportant des matières risquant de provoquer des incendies ou explosions. Lorsque les distances minimales par rapport aux surfaces environnantes ne sont pas respectées.
Le montage (installation électrique) ainsi que la première mise en service et les travaux d'entretien peuvent uniquement être effectués par un installateur agréé conformément à la présente notice. L'appareil ne peut en aucun cas être utilisé lorsque, dans la pièce où il est installé, des travaux de pose, de polissage, de scellement, de nettoyage à l'essence ou des travaux d'entretien (avec des aerosols, cires encaustiques) de revêtements de sols etc., sont en cours. Lorsque l'appareil fonctionne, la surface du capot devient très chaude (plus de 80°C).
Attention au risque de brûlures !
Les enfants doivent absolument être éloignés de l'appareil!
Il est interdit de poser des objets sur l'appareil, d'en suspendre ou d'en placer entre le convecteur et le mur (par exemple, pour faire sécher le linge). À proximité directe de l'appareil, il est également interdit de poser des objets inflammables, combustibles ou isolants ou des tissus, tels que linge, couvertures, des magazines, récipients contenant des cires encaustiques ou de l'essence, des aerosols etc.

Attention au risque d'inflammation!
Pour éviter toute surchauffe de l'appareil, il est interdit de le recouvrir.
Il convient de respecter les distances suivantes vis-à-vis d'objets de toutes sortes tels que meubles, rideaux, tentures et textiles ainsi que par rapport aux autres matières inflammables:
Par rapport
| à la grille de sortie d'air | ⇒ 500 mm |
| aux côtés de l'appareil | ⇒ 100 mm |
| à la partie supérieure de l'appareil | ⇒ 150 mm |
| à la partie inférieure de l'appareil | ⇒ 100 mm |
| à la partie arrêté de l'appareil | ⇒ 26 mm |
La sortie d'air chaud ne doit pas être entravée.
L'appareil ne peut jamais être placé sur le sol. - Il est interdit de grimper sur l'appareil! - Il est interdit d'apporter des modifications quelles qu'elles soient à l'appareil. - Ne jamais laisser l'appareil sans surveillance. - Une prudence toute particulière s'impose lorsque l'appareil est utilisé en présence d'enfants, de personnes handicapées ou d'animaux. Risque de blessure! Si un composant est endommagé, si l'appareil est tombé ou si un problème de fonctionnement s'est présenté, il est interdit de l'utiliser. Si le câble d'alimentation de cet appareil était détérioré, il devra être remplacé par le fabricant, ou son service après-vente, ou tout autre personne qualifiée, afin d'éviter tous risques.
1.4 Entretien et maintenance
Si le capot de l'appareil présente des légères décolorations brunâtres, il faut les éliminer le plus rapidement possible au moyen d'un chiffon humide et d'eau claire. L'appareil doit être nettoyé quand il est froid et au moyen de nettoyants usuels. L'utilisation de produits abrasifs ou mordants est à éviter. L'humidité ne peut pas pénétrer dans l'appareil. Ne pas pulvériser d'aérosols dans les fentes d'aération. Pour les entretiens réguliers, nous recommandons d'également faire vérifier les organes de contrôle et de réglage. Les organes de sécurité, de contrôle et de réglage doivent être vérifiés par l'installateur au plus tard 10 ans après la mise en service.
Que faire quand...?
| Le radiateur nechauffe pas? | Contrôlez ... ... si l'interrupteur d'allumage /d'extinction de l'appareil est activé. ... si dans votre armoire à fusibles, le fusible correspondant a sauté ou si le disjoncteur s'est dé- lenché. Supprimez la cause ! Si, après avoir contrôle ces points, le radiateur nechauffe toujours pas,appelez l'installateur ! |
| L'appareil s'arrête auto- matiquement? | Contrôlez si l'appareil est recouvert de sorte qu'une surchauffe a pu se produit (par exemple, les ouvertures d'arrivée ou de sortie d'air sont obturées). Supprimez la cause ! Si, après avoir lissé l'appareil refroidir pendant quelques minutes, il ne chauffe toujours pas, appelez l'installateur ! |
| Vous appelez le service clientèle? | Lisez le type (Typ) et le nombre (Nr.) de l'appareil sur la plaquette signalétique (8) et communiquez-les au service clientèle. |
2. Instructions de montage
Le montage et le raccordement électrique peuvent uniquement être effectués par un installateur agréé, conformément aux présentes instructions. Déballer l'appareil et retirer l'emballage contenant les accessoires à l'endroit où l'appareil sera installé et bien faire attention à l'emballage secondaire ! Lors du déballage, veiller à ce que des composants des accessoires ne soient pas restés dans le matériel d'emballage.
2.1 Composition de l'appareil
4 Grille de sortie d'air chaud 5 Support mural 6 Boulons de serrage 7 Câble d'alimentation 8 Plaquette signalétique
Caractéristiques techniques
| Type WKL 503 S | WKL 503 U | WKL 753 S WKL 753 U | WKL 1003 S WKL 1003 U | WKL 1503 S WKL 1503 U | WKL 2003 S WKL 2003 U | WKL 2503 S WKL 2503 U | WKL 3003 S WKL 3003 U | |
| Hauteur mm 450 | ||||||||
| Largeur mm 370 445 | 445 590 | 740 890 10 | 40 | |||||
| Profondeur avec support mural | mm | 78 100 | ||||||
| Dimensions A mm 121 | 195 | 195 343 491 | 639 787 | |||||
| Poids kg 4,0 4,6 4,6 6,0 | 7,2 | 8,4 9,9 | ||||||
| Raccordement | 1/N ~ 230 V | |||||||
| Puissance | kW | 0,5 | 0,75 | 1,0 | 1,5 | 2,0 | 2,5 | 3,0 |
| Plage de rélage des températures | °C | environ 6 à 30 | ||||||
| Protection hors-gel °C | environ 6 | |||||||
| Classe de protection | II | |||||||
| Indice de protection | IP 24, protection contre les projections d'eau | |||||||
| Agrément | voir plaquette signalétique de l'appareil | |||||||
2.2 Normes et spécifications

L'appareil ne peut pas être utilisé
- Dans des pièces où des produits chimiques, poussières, gaz ou vapeurs risquent de provoquer des incendies ou explosions à proximité directe de conduites ou récipients contenant ou transportant des matières risquant de provoquer des incendies ou explosions
- Quand les distances minimales par rapport aux surfaces avoisinantes ne sont pas respectées
Dans les ateliers ou autres locaux, soumis à des gaz d’échappement, à des odeurs d’huile ou d’essence, etc. et où l’on utilise des solvants et produits chimiques, le risque de surcharges olfactives durables et, le cas échéant, de pollution est présent.
L'appareil peut uniquement être placé à la verticale sur un mur résistant au moins à des températures de 80°C. Les distances minimales par rapport aux surfaces avoisinantes doivent être respectées. Tous les travaux de raccordement électrique et d'installation doivent être effectués conformément aux dispositions de la norme VDE (0100), aux normes des fournisseurs d'électricité concernés et aux spécifications nationales et régionales en vigueur.
L'appareil ne peut pas être placé directement en dessous d'une prise de courant murale. - En cas de raccordement fixe de l'appareil à du courant alternatif (boîte de raccordement de l'appareil), il doit pouvoir être séparé du réseau, sur tous les pôles, au moyen d'une section de séparation de minimum 3 mm. À cet effet, l'installateur peut utiliser des protections, interrupteurs LS, fusions, etc. L'installation au moyen d'une conduite de raccordement fixe est interdite.
2.3.1 Montage du support mural b
Le support mural s'utilise également en guise de gabarit pour la fixation et garantit la distance nécessaire par rapport au sol.
Pour fixer l'appareil, procédez comme suit :
1 Placer le support mural (5) orienté sur le point central à l'horizontal sur le sol et marquer les trous indiqués par les lettres a et d sur le mur où l'appareil sera installé; - Soulever le support mural de façon telle à que les trous b dans le support mural coincident parfaitement avec les marquages indiqués sur le mur; - Marquer les trous c et d dans le support mural sur le mur; - Forer des trous au niveau des 4 marquages et suspendre le support mural au moyen de matériels de fixation appropriés (vis, chevilles) en fonction du type de mur. Les trous verticaux longitudinaux permettent de mettre le support d'aplomb.
Le convecteur est suspendu par les fentes situées dans la partie arrière simultanément sur les 4 pattes du support mural et est ensuite calé. Ensuite, les boulons de serrage (6) du support mural doivent être visser à fond dans le sens des aiguilles d'une montre afin que la fixation soit verrouillée.
Pour démonter le convecteur, après avoir desserré les boulons de serrage, l'appareil doit être soulevé légèrement et retiré du support en tirant vers soi.
2.4 Raccordement électrique
L'appareil peut uniquement être raccordé sur du courant alternatif de 230V
Pour le raccordement, il faut prévoir une prise de courant avec contact de protection ou installer une boîte de raccordement pour raccordement fixe sur le côté de l'appareil, à une distance de minimum 10 cm.
2.5 Remise de l'appareil
Expliquez les fonctions de l'appareil à l'utilisateur. Attirez tout particulièrement son attention sur les consignes de sécurité. Remettez la notice d'utilisation et de montage à l'utilisateur.
3. Garantie
La garantie est à faire valoir dans le pays où l'appareil a été acheté. À cette fin, il faut prendre contact avec la filiale AEG concernée, à défaut l'importateur agréé.

Le montage, les raccordements, la maintenance ainsi que la première mise en service sont à réaliser par un installateur qualifié.
Le fabricant ne saurait être rendu responsable des dommages causés par un appareil qui n'aurait pas été installé ou utilisé conformément à la notice de montage et d'utilisation jointe à l'appareil.
3.1 Environnement et recyclage
Collecte et recyclage des produits en fin de vie

Les appareils munis de ce symbole ne doivent pas être mis avec les ordures ménagères, mais doivent être collectés séparément et recyclés. La collecte et le recyclage des produits en fin de vie doivent être effectués selon les dispositions et les décisions locales.
Notice Facile