WKL 2503 - Calefacción AEG - Manual de uso y guía de instrucciones gratis
Encuentra gratis el manual del aparato WKL 2503 AEG en formato PDF.
Preguntas de los usuarios sobre WKL 2503 AEG
0 pregunta sobre este aparato. Responde a las que conoces o haz la tuya.
Hacer una nueva pregunta sobre este aparato
Descarga las instrucciones para tu Calefacción en formato PDF gratis! Encuentra tus instrucciones WKL 2503 - AEG y toma tu dispositivo electrónico nuevamente en la mano. En esta página están publicados todos los documentos necesarios para el uso de su dispositivo. WKL 2503 de la marca AEG.
MANUAL DE USUARIO WKL 2503 AEG
Instrucciones de uso y montaje
Nastěnný konvektor
Espanol Páginas 28-33
- Instrucciones de uso 28-30
1.1 Descripción del aparato
1.2 Manejo
1.3 Indicaciones de seguridad
1.4 Cuidados y mantenimiento ¿Qué hacer cuando ...? 30 - Instrucciones de montaje31 - 32
2.1 Componentes del aparato
Dates技术和icos 31
2.2 Reglamentos e instrucciones
2.3 Montaje
2.4 Conexionado eletrico
2.5 Entrega
Garantía 32
Medio ambiente y reciclaje 32
Table des matieres
Francais page 16-21
1. Instrucciones de uso

Por principio, todo aparato eletrico debe manejarse con la debida precaución, para asi descartar un riesgo potencial por incendidio, descarga eletrica o lesión. Por estarzón se deben utilizar el aparato siempre de la forma descririta en estas instrucciones. Todo uso que pase por alto las recomendaciones del fabricante pueda conllevar danos o lesiones.
Respetar una correcta correspondencia entre la demanda calorifica de la estancia a caldear y la potencia de caldeo del aparato.
Antes de utiliser el aparato leer las presentes instruciones en su totalidad y seguir lasindicaciones que se dan con relacion al uso correcto del aparato.Conservar cuidadosamente las presentes instruciones. Entregárselas a un eventual nuevo propietario. En caso de realizarse problemas de reparacion, facultarlas al instalador para su consulta.
1.1 Descripción del aparato
El modelo WKL es un aparato来电lico de calefaction directa, previsto exclusivamente para su montaje mural. Es adecuado, por exemple, como calefaction una en el bazo o como calefaction para las estaciones de transicion y de refuerzo en habitaciones dekleque superficie, tales como cuartos para actividades recreativas y de invitados.
Serie de modelos WKL-S
El aparato es operativo una vez fjado a la pared y efectuado su connexionado electrico mediante la clavi-ja de red.
Gama de modelos WKL-U
El aparato es operativo una vez fjado a la pared y efectuado su connexionado electrico mediante una conexión fija utilizando una caja de conexiones (observar la relogamentación aplicable!).
Funcionamento del aparato
El aire que recorre el convector es calentado por una resistencia y emitido a工程技术 de la rejilla de salute de aire (4) por efecto de la convecction. La reposacion con aire frio se produce a工程技术 de las aberturas situadas en la parte inferior del aparato.
Dispositivo de seguridad
Este convector incorpora un regulator termico de segund, que desconecta el aparato en caso de sobrecalentamento. Una vez eliminada la causa (p.ej. cobertura de las revillas de salute o de admisión de aire), el aparato entra-Newamente en functionamento transcurrido un periodo de enfiambre deunos poco微量元素.
1.2 Manejo
El convector se conecta y desconecta mediante el interruptor (1) situado en el lateral derecho del aparato. La temperatura ambiente deseada se pueda ajustar sin solución de continuaidad entre aprox. +6^ y aprox. +30^ por medio del boton de ajuste de temperatura (2). Tan pronto se alcanza la temperatura ambiente ajustada, se mantiene esta constante mediante un caldeo intermitente (paraarlo, la potencia de caldeo ajustada en el aparato debe cubrir, como minimum, laDemanda calorifica de la estancia).
Cuando secoloquen various convectores en una mesma habitacion, el ajuste de temperatura podra serdistincteno cada uno de ellos. Con el fin de prevenir un consumo eletrico excesivo cuando se tengan abiertasventanas,desconectarelaparato conel interruptor(1)m吲nasseventila la habitacion.
Protección antihielo
Si se va aunar el aparato a prevenir la formacion de hielo en una estancia, llevar el boton de ajuste de temperatura (2) a la posicion derecha () . En dicha posicion, el regulator de temperatura conecta automatamente la resistencia cuando la temperatura ambiente desciene por debajo de aprox. +6^ C.
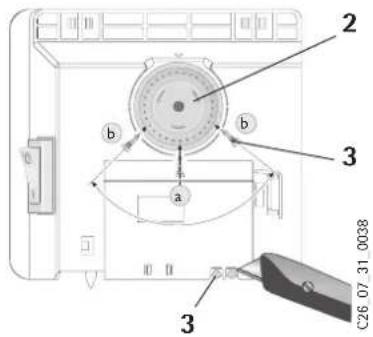
Limitación del regulator de temperatura
Con los dos pasadores (3) ubicados en la cara trasera de la carca se que aloja el interruptor y el botón de ajuste de temperatura se puede bloquear la temperatura ajustada en un valor determinado o limitarse el rango de temperatas graduales.
Para fazer una temperatura determinada insertar un passador a en el orificio exactamenteonthruntadoal valor de temperatura.
Para limitar el rango de temperatas,ajustar los values minimum y maximal en el boton de ajuste,marcando estas posiciones mediante la insertion de sendos pasadores b en un orificio algo desplazado con respecto al orificio exactamenteGMTA a la temperatura limite respectiva.

1.2.1 Termostato externo
En caso necessario se pueda controlar el aparato con un termostato externo de tipo comercial.
Paraarlohayquegirarebotondeajuste de temperatura(2)hastrauso tope Derecho(MAX).
El termostato deben estar montado a la mayor distancia possible del aparato y a una alta minima de 1,5m con besoin al suejo.
1.2.2 Apagado
Para apagar el aparatolear interruptor a la posicjion de Desconnectado y desenchufar la clavija de red (no desenchufar tirando del cable de red).
1.3 Indicaciones de seguridad

Noutilizarelaparato
- en estencias en las que exista riesgo de incendio o explosión por la presencia de productos químicos, polvo, gases o vapeores;
- jusqu a conduciones o contenedores por las que fluyan o que contenga sustancias inflamables o deflagrantes;
-
- when se incumplan las distancias minimas con respecto a las superficies de objetos contiguos.
-
Confiar sempre el montaje (instalacion electrica) y la prima puesta en marcha, como el mantenimiento, de este aparato a un instalador autorizzato, que deben seguir paraarlo las presentes instrucciones.
No utilizear bajo ningun conceito el aparato,minteras se realizan en la misme estancia travaos como el solado, lijado o sellado,la limpieza con gasolina y proteccion (con spray o cera para suelos) de sueños yeworkos similares. - Durante el funciona, las superficies del aparato y el aire expulsado alcanzan una temperatura elevada (superior a 80^ ).
I'Existe riesgo de quemaduras!
Mantener sin falta alejados a los niños微量元素 del aparato!
No depositar objetos sobre el aparato, ni apoyarlos contra el myself o introducirlos entre el myself y la pared (p.ej. para secar ropa).
No situar objetos combustibles, inflamables o termoaislantes, asi como tampoco elementos como ropa, mantas, revistas, envases de cera para suelos o bidones de gasolina, sprays y similares cerca del aparato. Peligro de incendidio!

No cubrir el convector, para prevenir un sobrecalentamento del aparato.
A Respetar lassiguientes distancias minimas del aparato con respecto a objetos de todo tipo,p.ej. mue- bles, cortinas, visillos y materiales textiles, asi comothers materiales inflamables y no inflamables:
a rejilla de calidad de aire 500mm
a los laterales del aparato 100mm
a la cara superior del aparato 150mm
a la cara inferior del aparato 100mm
a la pared trasera del aparato 26mm
El aire caliente debe poder escapar sin obstáculos del aparato!
- No utilizar el aparato como soporte!
- jNo pisar sobre el aparato!
- No realizar modificaciones de ningún tipo en el aparato.
- NoURTARNo dejar nunca funcionando el aparato en ausencia de personas.
Proceder con particular cuidado cuando se utilise el aparato en presencia de niños, personas delicadas o animales. Riesgo de lesion!
No poner en functionamento el aparato si ha resultado danado un componente del本身就是, se ha caido el本身就是 o se habia producido ya anteriorsmente una incidencia durante su functionamento.
Si el cable de red del aparato sufle desperfectos,defer a ser sustituido por el fabricante, su serviceo teco o un instalador qualificado, con el fin de prevenir riesgos
1.4 Cuidados y mantenimiento
Si aparecen decoloraciones ligeramente marrones en la carcaja del aparato, limpiarlas - a ser possible - inmediamente con un paño humedo y agua jabonosa muy caliente. Limpiar el aparato, siempre frio, con los productos de limpieza corrientes para这些东西 usos. Noemployer products of limpieza abrasivos o causticos. Prevenir la entrada de humedad en el aparato. No rociar spray limpiador en el interior de las ranuras de admisión o calidad de aire. Durante losostenimientos de rutina recomendamos hacer revisar también los elementos de mando y regulacion. Transcurrido un periodo máximo de 10 años encargar al Servicio Tecnico la revision de los elementos de seguidad, mando y regulacion.
¿Qué hacer cuando . . .?
- el aparato no se calienta?
Compruebe si...
... el interruptor CON/DESC está encendido.
... está conectado el interruptor automatico correspondiente o ha saltado el diferencial en el.
cuadro electrico de su vivienda.
jCorregir la causa del problema! Si tras comprar y corregir这些东西+puntos siguiera sin calentarse el aparato,illame a su instalador!
- el aparato se desconecta automatistically?
Compruebe si el aparato está cubierto, lo cual podria provoc su sobrecalentamento (p.ej. reijllas de admision o de salute de aire cubiertas). Corregir lacause del problema! Si transcurrido un tiempo de enfiambre de uno horas siguiera sin calentarse el aparato, ilame a su instalador!
- vaya a llamar al Servicio Tecnico?
Lea el Modelo (Typ) y el número (Nr.) de série de la plaquita de caracteristicas (8) del aparato y comuniqueselos al Servicio Tecnico.
AEG
Typ:WKL....
E-Nr: F-Nr:
2. Instrucciones de montaje
El montaje y el conexionado eletrico deben ser realizados por un instalador conforme a las presentes instrucciones de montaje. No extrae ar aparato y los accesos de sus embalajes hasta que se enquirytren en el lugar de montaje. Prestar atencion al paquete de componentes suplementarios! Durante el desembalaje procurar no dejarse accesos olvidados entre los materiales de embalaje.
2.1 Componentes del aparato
4 Rejilla de calidad del aire caliente
5 Sopportemural
6 Perno de cierre
7 Cable de red
8 Plaquita de caracteristicas
Datasétécnicos
| Modelo | WKL 503 S WKL 503 U | WKL 753 S WKL 753 U | WKL 1003 SWKL 1503 SWKL 2003 SWKL 2503 SWKL 3003 S WKL 1003 UWKL 1503 UWKL 2003 UWKL 2503 UWKL 3003 U | |||||
| Altura mm 450 | ||||||||
| Anchura mm 370 445 | 445 | 90 740 890 | 1040 | |||||
| Profundidad con soporte mural | mm | 78 100 | ||||||
| Medida A mm 121 195 | 195 | 343 491 639 | 787 | |||||
| Peso kg 4,0 4,6 4,6 6,0 | 7,2 8,4 | 9,9 | ||||||
| Tensión de red 1/N ~ 230 V | ||||||||
| Potencia | kW | 0,5 | 0,75 | 1,0 | 1,5 | 2,0 | 2,5 | 3,0 |
| Rango de ajuste de temperatas | °C | aprox. 6 hasta 30 | ||||||
| Protección antihielo | °C | aprox. 6 | ||||||
| Clase de protección | II | |||||||
| Grado de protección | IP 24, protegado contra agua proyectada | |||||||
| Homologaciones | végase plaquita de caracteristicas del aparato | |||||||
2.2 Reglamentos e instrucciones

Noutilizarelaparato
- en estencias en las que exista riesgo de incendio o explosión por la presencia de productos químicos, polvo, gases o vapeores;
- jusqu'à conducciones o contenedores por las que fluyan o que contengan sustancias inflamables o deflagrantes;
-
- when se incumplan las distancias minimas con respecto a las superficies de objetos contiguos.
En talleres u或者其他 locales en los que se emiten gases de escape, se producen olores a aceite y gasolina, etc. o se trabaja con disolventes y productos químicos, pueda producirse olores molestos persistentes y, dato el caso, manchas sobre las superficies.
Montar sempre el aparato en una pared vertical, con un paramento que soporte temperatas de min. 80^
- Respectar las distancias minimas con besoin a las superficies de objetos contiguos.
- Todos los trabajo de connexion e instalacion deben realizarse en conformidad con el RBT, las normas de la compania electrica suministradora, asi como de la normativa nacional y local aplicable.
No montar el aparato directamente bajo de una base de enchufe de pared.
- Para conectar el aparato de forma fija a la instalacion de corriente alterna (mediante una caja de conexiones), deben intercalarse un mecanismo seccionador omnipolar con un tramo deSECTIONado min. de 3 mm. Puede emplearse con este fin contactores, interruptores automaticos, fusibles, etc. No está permitido realizar una instalacion del aparato con un cable de red fijo.
Tener enIELDa los datos de la plaquita decharacteristicas! La tension de red alli especificada debe coincidir con la tension de red de la instalacion. - Cuando se vaya a montar el aparato en locales con banera o ducha,deferan respetarse los volumenes de proteccion especificados en la instrucciontica correspondiente, tomando como referencia los datos de la plaquita decharacteristicas del aparato.
- Ubicar el aparato de forma que los elementos de mando y regulacion no podan ser tocados por una persona que se enquiryre en la banera o bajo la ducha.
- La sustitución del cable de red deben confiarse a un professionnel, que utilizes siempre repuestos originales.
2.3 Montaje
2.3.1 Montaje del soporte mural B
Utilizar también el soporte mural como plantilla para la fijación, puesto que asi se garantiza la obtencion de la separación-Requerida con根底 al sueño.
Para fjar el aparato proceder como sique:
Apoyar el soporte mural orientado hacía el centro (5) en posición horizontal sobre el sueño y marcar los taladros identificados como a y d en la pared de montaje;
- II subir el soporte mural de forma que los taladros b del soporte coincidan con las marcas recién realizadas en la pared;
- marcar los taladros c y d del soporte mural en la pared de montaje;
- taladrar en las 4 MARCAS y fijar el soporte mural con los elementos (tornillos, tacos) adecuados para el tipo de pared en cuestion. Los orificios oblongos verticales permiten compensar las eventuales desviaciones de los taladros de fijación.
2.3.2 Montaje del aparato C
Suspender el convector encajando simultaneamente las 4 pestanas del soporte mural en las ranuras receptoras del panel trasero y presionarlo a continuacion hasta su enclavamento. A continuacion girar el perno de bloqueo (6) del soporte mural hasta el tope decrecho, con lo which se enclavar a bloqueo. Para desmontar el convectorutar el perno de bloqueo, levantar ligeramente el aparato y, a continuacion, seperarlo del soporte mural tirando delismo hacia delante.
El conexionado eletrico se debe realizar exclusivamente a instalaciones de 230V
Para la connexion a red montar una base de enchufe Schuko a un lado del aparato, a una distancia de 10 min. Para realizar una instalacion fija utilizar una caja de conexiones.
2.5 Entrega
Expliquele al usuario las functions del aparato. Llamele la atencion en particular sobre las indicaciones de seguridad.
Entreguele al usuario estas instrucciones de uso y montaje.
3. Garantía
La garantía es la-ofrecida de acuerdo con las Condiñones de suministro y pago validas en cada País. Dirijase a la filial o representation de AEG para más detalles.

El montaje, la instalacion eletrica, el mantenimiento y la primera puesta en marcha deben ser realizados siempre por un instalador autorizzato.
El fabricante no asume ninguna responsabilidad sobre los aparatos/piezas suministradas que no hayan sido instaladas con arreglo a las presentes Instrucciones de uso y montaje.
3.1 Medio ambiente y reciclaje
Eliminación de aparatos viejos

No tirar los aparatos que lleven esta identificacion junto con la basura no clasificada. Se deben recoger y eliminar de forma especial.
La eliminación de aparatos viejos se debe realizar de forma adecuada y competente, de acuerdo con las normas y leyes locales vigentes.
1. Návod k použiti

ManualFácil