Carillon Classic - Chauffage La Nordica - Notice d'utilisation et mode d'emploi gratuit
Retrouvez gratuitement la notice de l'appareil Carillon Classic La Nordica au format PDF.
| Type de chauffage | Poêle à bois |
| Puissance nominale | 7 kW |
| Rendement énergétique | 80% |
| Volume de chauffage | jusqu'à 200 m³ |
| Dimensions (L x P x H) | 50 x 50 x 115 cm |
| Poids | 150 kg |
| Matériaux | Acier et fonte |
| Type de combustible | Bois |
| Émissions de CO | 0,1% |
| Normes de sécurité | Conforme aux normes EN 13240 |
| Entretien | Nettoyage régulier du foyer et du conduit de cheminée |
| Garantie | 2 ans |
| Accessoires inclus | Kit de montage et notice d'utilisation |
FOIRE AUX QUESTIONS - Carillon Classic La Nordica
Téléchargez la notice de votre Chauffage au format PDF gratuitement ! Retrouvez votre notice Carillon Classic - La Nordica et reprennez votre appareil électronique en main. Sur cette page sont publiés tous les documents nécessaires à l'utilisation de votre appareil Carillon Classic de la marque La Nordica.
MODE D'EMPLOI Carillon Classic La Nordica
Conformément aux normes de sécurité sur les appareils, l'acheteur et l'utilisateur sont obligés de s'informer sur le fonctionnement correct sur la base des instructions d'utilisation.
Objet: absence d'amiente et de cadmium
Nous déclarons que tous nos produits sont assemblés avec des matériaux qui neprésent pas de parties en amiente ou ses dérivés et que le matériel d'apport utilisé pour les soudures ne présente/utilise pas de cadmium, sous aucune forme, comme prévu par la norme de referencia.
Objet: Reglement CE n. 1935/2004. Nous déclarons que dans tous nos apparciels, les matériaux destinés à entraire en contact avec les alimentés sont aptes à l'usage alimentaire, conformément au Reglement CE en question.
INDICE IT
| CARILLON 4:3 | CARILLON 16:9 | CARILLON CLASSIC | |
| Type | 1 1 1 | ||
| Puisance nominale en kW | 6 9 8 | ||
| Rendement en % | 78.3 78.8 | 78.5 | |
| Diamètre tuyau en mm | 130 160 | 150 | |
| Consommation hora de bois en kg/h (bois avec 20% d'humidité) | 1.8 2.7 2.3 | ||
| Dépression à rendement calorifique nominal en mm H2O bois | 1,2 1,4 | 1,4 | |
| Emission de CO au 13% Oxig. | 0.11 0.11 | 0.09 | |
| Emission gaz de décharge en g/s - bois | 7 | 8.5 8.3 | |
| Température gaz de décharge en °C - bois | 254 299 | 264 | |
| Dimensions ouverte foyer en mm (L x H) | 335x245 | 635x245 | 335x460 |
| Dimensions corps du foyer/ plan foyer en mm (L x H x P) | 285x320x360 | 600x315x360 | 288x500x360 |
| Type de grille | Grille plate | ||
| Hauteur in mm | 1011 | 1011 | 1297 |
| Largeur in mm | 948 1249 | 750 | |
| Profondeur (sans poignees) en mm | 585 585 | 585 | |
| Poids en Kg | Chap 16 | ||
| Distances de sécurité anti-incendie | Chap. 4 | ||
La capacité de chauffage selon EN 13240, pour des édifices dont l'isolation thermique ne correspond pas aux dispositions du Reglement sur les isolations thermiques est de:
| CARILLON4:3 | CARILLON16:9 | CARILLONCLASSIC | |
| (30 Kcal/h x m3)- type de construction favorable | 172 m3 | 258 m3 | 229 m3 |
| (40 Kcal/h x m3)- type de construction moinsfavorable | 129 m3 | 193 m3 | 172 m3 |
| (50 Kcal/h x m3)- type de construction défavorable | 103 m3 | 155 m3 | 137 m3 |
Avec une isolation thermique conforme aux dispositions sur la protection de la chaleur, le volume de chauffage est supérieur.
En cas de chauffage temporaire, en cas d'interruptions supérieures à 8 h, le volume de chauffage diminue de 25% eviron.
2.DESCRIPTION TECHNIQUE
Les poèles à cheminée La Nordica sont parfaits pour rechauffer des espaces habitats pendant certaines périodes de l'année. Les combustibles utilisés sont des bùches de bois.
Le poèle est constitué de plaques en tôle d'acier vernis et zingué, en fonte (grille et portegrille du foyer, anneau fumée), de décorns en faïence et de panneaux en verre. Le foyer est complètement revetu à l'intérieur de plaques en fonte et refractaire (IRONKER). A l'intérieur s'y trouvent un portegrille et une grille plate en fonte, de grande épaissieur, amovibles.
Toute la chambre de combustion est rendue hermetique grâce à une soudure et protégée par un carter en acier verni. Le déflecteur interne en vermiculite réfléchit le rayonnement du feu et augmente ultérieurement la température à l'intérieur de la chambre de combustion. Ce qui permet, grâce aux flux des gaz d'échémpement, d'optimiser la combustion et d'augmenter le niveau d'efficience. La particularité du modele suivant réside dans la possibilité de faire pivoter le corps de +/- 45° par rapport à l'axe du piédestal, même lorsque l'appareil fonctionné, d'ou la possibilité de
bloquer l'appareil dans la position souhaitée en utilisant la manette prévue à cet effet (Figure 1 pos.A).
La vitrocéramique de la porte, faite en une seule piece (résistant jusqu'à 700 °C) offre une vue fascinante des flamme s ardentes et empêche les étincelles et la fumée de sorter. Sous la porte du foyer est situé un cendrier (tiroir) escamtable (Figure 1 pos.A).
Le rechauffement du local se fait: par rayonnement : la chaleur se propage dans le local environnant à travers l'écran vitré panoramicique et les surfaces chaudes externes du poèle.
Le poèle est équipé avec registres d'air primaire et secondaire, avec les quels on règle l'air de combustion.
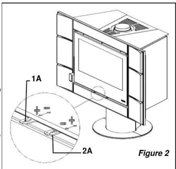
1A - REGISTRE AIR PRIMAIRE (levier gauche)
Le levier de commande du registre de l'air primaire est situé sous la porte du foyer à gauche (Figure 2 Pos.1A). Gráce au registre, il est possible de régler l'air qui entre par le bas du poèle et progresse à travers des canaux appropriés en direction du combustible. L'apport de l'air primaire est nécessaire à la combustion en phase d'allumage. Le tiroir-cendrier doit être vidé régulièrement pour éviter que la cende n'obstrue l'entrée de l'air primaire.
Pour permettre I'arrivee de I'air primaire, basculer complètement le levier.
Le registre d'air primaire doit etre peine ouvert au cours de la combustion du bois, car autrement le bois se consumerait trop rapidement et le poele risquerait de surchauffer. (voir Chap. 10).
2A - REGISTRE AIR SECONDDAIRE.
Le levier de commande du registre de l'air seconde est situé sous la porte du foyer à droite (Figure 2 Pos.2A).
L'air secondaire, qui circule à l'intérieur des deux montants lateraux de la façade se rechauffe et déclenché la double combustion tout en gardant la vitre propre (le registre étant ouvert).
Quand le levier est complètement inséré le passage de l'air est tout ouvert (Figure 2 Pos.2A).


3. NORMES POUR L'INSTALLATION
Le poèle est livre assemblé et prét pour le branchement ; il doit être relié à travers un raccord au conduit de fumée préexistant dans la maison. Le raccord doit être, si possible, court, rectiligne, horizontal ou légarement ascendant. Les raccordements doivent être étanches. Il est obligatoire d'observer les normes nationales et européennes, les dispositions locales ou celles existant en matière de législation du bathtub, sans compter les réglementations anti-incendie. C'est pourquoi nous vous recommandons de vous renseigner au préalable auprès du chef ramoneur de votre zone.
Il est également nécessaire de vérifier si l'apport d'air nécessaire à la combustion est suffisant; dans ce but, faire attention aux fenêtres et aux portes ayant une fermeture étanche (garnitures d'étanchéité).
Il est interdit de brancher plusieurs appareils sur la même cheminée. Le diamètre d'ouverture du conduit de fumée servant au raccordement doit correspondre, pour le moins, au diamètre du tube de fumée
L'ouverture devrait etre equipee d'un element mural (connexion) pour recevoir le tuyau d'évacuation et une rosace.
Avant installation, s'assurer que la structure sous-jacente est en mesure de supporter le poids de votre apparil. Si la portée est insuffisante, adopter les mesures appropriées (par exemple une plate-forme pour distribuer le poids) pour augmenter la portée.
Placer le poèle dans une position parfaitement horizontale afin d'éviter toute tension en cours de rotation ou tout mauvais fonctionnement lorsque l'on souleve la porte du foyer.
Nordica S.p.a. déclinera toute responsabilité si le produit est modifié sans autorisation et en cas de recours à des pieces de rechange non originales.
IL EST INTERDIT DE MODIFIER LES APPAREILS!
4. SECURITE ANTINCENDIE
Observer les consignes de sécurité suivantes pendant l'installation du poèle:
a) pour assurer une isolation thermique suffisent, respecter la distance minimale de sécurité entre le poèle et les éléments de construction et objets inflammables et sensibles à la chaleur (meubles, revêtements en bois, tissus, etc.) (voir Chap. 18 A1-A2). Toutes les distances minimales de sécurité sont indiquées dans l'étiquette du produit et on il NE FAUT PAS descendre au-dessous des valeurs indiqués.
b) Veiller à ce qu'il n'y ait, devant la porte du foyer, dans l'espace de rayonnement de cette-ci et dans son espace de rotation (+/- 45°), aucun objet ou matériel de con struction inflammable, sensible à la chaleur, à une distance de moins de 100 cm. Cette distance pourra être réduite à 40 cm si l'on install une protection, ventilée par l'arrière, résistant à la chaleur, devant toute la partie à protégger..
c) si le produit est installée sur un sol de matériel inflammable, prévoir une base ignifuge. Les sols composés par matériaux inflammables, comme moquette, parquet ou liège etc., doivent être remplacés pas une couche de matériel pas inflammable, par exemple céramique, pierre, vitre ou acier etc.. (dimensions selon les dispositions régionales). Le fond doit dépasser frontalement d'au moins 50cm et létalement d'au moins 30cm au-delà de l'ouverture de la porte de charge (voir Chap. 18 B1 B2).
d) Il ne faut pasmettre des elements inflammbles au au-dessus du produit (es.meubles - suspendus).
Le poèle devra fonctionner uniquement lorsque le tiroir à cendre est emboité. Les restes carbonisés solides (les cendres) doivent être recueillis dans un recipient hermétique et résistant au feu. Le poèle ne devra jamais été allumé en présence d'émissions gazeuses ou de vapeurs (par exemple de la colle pour linoléum, de l'essence, etc.). Ne jamais déposer des matériaux inflammables à proximé de la cuisine.
Le combustible brule en dégageant de l'énergie thermique qui provoque un important réchauffement des surfaces, de la porte et de la vitre du foyer, des poignées des portes et du levier de commande, du tube de fumée et évientuelles, celui de la partie avant de l'appareil. Eviter tout contact avec ces éléments si vous ne portez pas des vêtements de protection ou les outils auxiliaires appropriés (gants résistants à la chaleur, disposifits de commande!!!).
Faites en sorte que les enfants soient conscients des dangers et qu'ils se tiennent àonne distance du foyer en cours de fonctionnement.
Si on utilise un combustible qui n'est pas adapte ou avec trop d'humidite on pourrait avoir la formation de créosote dans le conduit de fumée avec possible d'incendie à l'intérieur du conduit même.
4.1. INTERVENTION EN CAS D'INCENDIE
En cas de feu dans le raccordement ou dans le conduit de cheminée:
a) Fermer le volet d'alimentation
b) Fermer les registres d'air comburant.
c) Eteindre le feu au moyen d'extincteurs à anhydride de carbone (CO2 à poussières)
d) Appeler immédiatement les pompiers.
Ne pas utiliser des jets d'eau pour eteindre le feu.
Quand le conduit de fumée aura cesser de brûler, demander à un spécialiste de vérifier s'il y a des fissures ou des points permeables.
5. CONDUIT DE FUMEE
Exigences fondamentales pour un fonctionnement correct de l'appareil:
la section interne doit etre de prefere circulaire
- être thermiquement isolée et imperméable et construite avec des matériaux résistants à la chaleur, aux produits de la combustion et aux évientuelles condensations
- être exempt d'étranglements et avoir un parcours vertical compteant des déviations qui ne dépasseit pas 45^
- déjà utilisé au préalable il doit être nettoyé r
- respectable les données techniques du manuel d'instructions;
Si le conduit de cheminée était à section carrée ou rectangulaire les angles internes doivent être arrondis, avec un rayon non inférieur à 20 mm. Pour la section rectangulaire le rapport maximum entre les côtes doit être ≤ 1,5. Une section trop petite provoque une diminution du tirage. Nous conseillons une hauteur de 4m.
Sont interdits et pour cette raison portent préjudice au bon fonctionnement de l'appareil: fibrociment, acier galvanisé, surfaces internes rugueuses et poreuses. Dans la Figura 3 certains exemples de solution sont mentionnés.
La section minimale soit etre de 4 dm2 (par exemple 20× 20~cm ) pour les apparuils dont le diametre de conduit est inférieur a 200 mm ou 6,25 dm2 (par exemple 25× 25~cm ) pour les apparuils avec un diametre supérieur a 200 mm.
Le tirage creé par votre conduit de cheminée doit être suffisant mais non pas excessif.
Une section du conduit de cheminée trop importante peut partager un volume trop important à rechauffer et par conséquent peut provoquer des difficultés de fonctionnement de l'appareil; pour éviter cela il faut garnir de tubes celui-ci le long de toute sa hauteur. Une section trop petite provoque une diminution du tirage.
Le conduit de cheminée doit être à une certaine distance des matériaux inflammables ou combustibles au moyen d'une isolation appropriée ou d'un matelas d'air. Il est interdit de faire transiter à l'intérieur du même tube des installations ou des canaux d'amnéé d'air. Il est interdit en outre de pratiquer des ouvertures mobiles ou fixes, sur celui-ci, pour y raccorder d'autres appareils.




Figure 3
1) Tuyau d'évacuation des fumées en acier AISI 316 avec double chambre isolée avec du matériel résistant à 400. Efficacité 100% optimale.
(2) Tuyau d'évacuation des fumées en matériel réfractaire avec double chambe isolée et revêtement extérieur en béton allégé. Efficacité 100% optimale.
(3) Tuyau d'évacuation de fumées traditionnel en argile section carrée avec cloisons de doublage. Efficacité 80% optimale.
(4) Éviter des tuyaux d'évacuation des fumées d'une section rectangulaire interne dont le rapport soit différent de celui indiqué sur le dessin. Efficacité 40% médiocre.
Les apparêls avec fermeture automatique de la porte (type 1) doivent obligatoirement fonctionner, pour des raisons de sécurité, avec la porte du foyer fermée (exception faite pour la phase de chargement du combustible ou de l'enlèvement des cendres). Les apparêls dotés de portes sans fermeture automatique (type 2) doivent être raccordés à leur propre conduit d'évacuation de la fumée. Le fonctionnement avec la porte ouverte est permitted sous surveillance.
Le tube de raccordement au conduit de la cheminée doit etre le plus court possible, rectiligne, hermetique et conforme aux normes en vigueur.
Le raccordement doit être effectué avec des tubes stables et robustes (nous conseillons une épaissur de 2 mm) et d'être fixé hermetiquement au conduit de la cheminée. Le diamètre interne du tube de raccordement doit correspondre au diamètre externe du manchon d'évacuation de la fumée du poèle (DIN 1298).
ATTENTION: Si le raccordement avait transiter au travers d'éléments composés de matériels inflammables, dans un rayon de 20 cm tout autour du tube, tous les matériels inflammables doivent être substitués par des matériels ignifugés et résistants à la chaleur.
Pour un bon fonctionnement de l'appareil il est essentiel que, dans le lieu de l'installation, suffisamment d'air s'introduise pour la combustion (voir Chap. 10).
La dépression à la cheminée (TIRAGE) doit être au moins de 12-14 Pa (= 1,2 -1,4 mm de colonne d'eau). La mesure doit être toujours effectuee avec l'appareil chaud (rendement calorifique nominal).
Lorsque la dépression dépasse 17 Pa (1,7 mm de colonne d'eau) il faut réduire celle-ci en installant un régulateur de tirage supplémentaire (vanne à papillon) sur le tube d'évacuation ou dans la cheminée.
Pour des raisons de sécurité la porte du foyer peut etre ouverte seulement pendant le chargement du combustible. Le foyer doit rester fermé pendant l'utilisation et pendant les périodes de transition.
Nous vous recommendons de faire tournier le poèle CARILLON lentement lorsqu'il est en fonction. La rosace de raccordement au conduit de fumée doit être fixée par des clous ou des vis et le tuyau de raccordement fixé avec un coude de 90^ ,@cci afin d'eviter que I e tube de fumée puisse se detacher pendant la rotation du poèle et provoquer un incendie.
6.1. POSITION DU TERMINAL DU CONDUIT DE FUMEE
Le tirage du conduit de la fumée dépend également de laonne conformation du terminal de cheminée.
Par conséquent il est indispensable, s'il a été construitartisanalement, que la section de sortie soit deux fois la section interne du conduit d'évacuation de la fumée. Devant toujours dépasser le faitage du toit, le terminal de cheminée devra assurer l'évacuation même en présence de vent (Figure 4).
Le terminal de cheminée doit répondre aux conditions suivantes:
- avoir une section interne équivalente à celle de la cheminée;
- avoir une section utile de sortie double de cette interne du conduit de cheminée.
- être construit de manière à empêcher la pénétration dans le conduit de la cheminée de pluie, de neige et de tout autre corps étranger.
- pouvoir être facilement inspecté, pour d'eventuelles opérations d'entretien et de nettoyage.

(1) Un terminal industriel à éléments préfabriques, permet une excellente élimination de la fumée.

(2 Terminal de cheminée artisanal. La section correcte de sortie doit etre au minimum 2 fois la section interne du conduit de la cheminée, ideale 2,5 fois

(3) Terminal pour conduit de cheminée en acier avec cône interne déflecteur de la fumée

Figure 4

(1) En cas de conduits de fumée mitoyens, un des deux terminaux devra dépasser l'autre d'au moins 50 cm afin d'éviter des transferts de pression entre les conduits eux-mêmes.
Figure 5
Figure 6

(1) Le pot de cheminée ne doit pas avoir d'obstacles à moins de 10 m des murs,
appentis et arbres. Dans le cas contraire il faut le surélever d'au moins 1 m au-dessus de l'obstacle.
Le pot de cheminée doit dépasser le faîte du toit d'au moins 1 m.

(1) Axe (2) Toit
Figure 7
| TERMINAUX DISTANCES ET POSITIONNEMENT UNI 10683/98 | ||
| Inclinaison du toit | Distance entre le faîtage et le terminal de la cheminée | Hauteur minimum de la cheminée (à partir de l'embouchure) |
| α A (m) H (m) | ||
| 15° | < 1,85 m 0,50 m au-dessus du faîtage | |
| > 1,85 m 1,00 m du toit | ||
| 30° | < 1,50 m 0,50 m au-dessus du faîtage | |
| > 1,50 m 1,30 m du toit | ||
| 45° | < 1,30 m 0,50 m au-dessus du faîtage | |
| > 1,30 m 2,00 m du toit | ||
| 60° | < 1,20 m 0,50 m au-dessus du faîtage | |
| > 1,20 m 2,60 m du toit | ||
Les combustibles admis sont les bûches de bois de chauffage. On doit utiliser exclusivement des bûches de bois sec (contenu en eau max 20%).
Les bûches de bois devront avoir une longueur d'environ 30 cm et une circonference de 30 cm max.
Le bois utilisé comme combustible doit containir un taux d'humidité inférieur à 20%; on l'obtient après un an au moins de séchage (bois tendre) ou de deux ans (bois dur) en plaçant ce bois dans un endroit sec et ventilé (par exemple sous une toiture). Le bois humide rend l'allumage plus difficile car pour faire evaporer l'eau présente dans le bois il faut une quantité supplémentaire d'énergie. Le contenu d'humidité est un désavantage puisque lorsque la température s'abaisse, l'eau se condense d'abord dans le foyer puis dans la cheminée. Le bois frais contient environ 60% d'H2O, par conséquent il n'est pas apte à être brûlé.
Les produits suivants ne peuvent pas etre brules: restes de charbon, rognures, dechets d'ecorce et de panneaux, bois humide ou verni, matériels plastiques; dans le cas contraire la garantie de l'appareil dechoit. Le papier et le carton doit etre utilisés uniquement durant I'allumage. La combustion des dechets est interdite puisqu'elle peut endommager le poele ainsi que le conduit de cheminée, provoquer des dommages a la sante et a cause de son odeur peut entrainer des problemes avec le voisinage.
Le bois n'est pas un combustible à longue durée et par conséquent il ne permet pas de chauffer continuèlement pendant toute la nuit.
| Type Kg/mc | KWh/Kg Humidité 20% | |
| Hêtre | 750 4,0 | |
| Chêne | 900 4,2 | |
| Orme | 640 4,1 | |
| Peuplier | 470 4,1 | |
| Mélèze * 660 4,4 | ||
| Sapin rouge * | 450 4,5 | |
| Pin Silvestre * | 550 4,4 |
- BOIS RESINEUX PEU ADAPTES POUR UN POELE.
ATTENTION: l'utilisation continue et prolongée d'un bois particulièrement riches en huiles aromatisées (telles que Eucalyptus, Myrte, etc.) provoque la détérioration (effritement) brusque des éléments en fonte qui composent l'appareil.
8. AFFLUX DE L'AIR DANS LE LIEU D'INSTALLATION PENDANT LA COMBUSTION
Etant donné que les poèles à bois prélevent l'air utile à la combustion dans le local d'installation, il est indispensable qu'une quantité d'air suffisante soit présente dans la piece. En cas de fenêtres et de portes étanches (par ex: les maisons construites conformément au critère de l'économie d'énergie) il se peut que l'entrée d'air froid ne soit plus garantie, cela risque de comprometterle tirage de l'appareil, vous bien être ainsi que vous sécurité. Par conséquent il faut garantir une alimentation supplémentaire d'air froid au moyen d'une prise d'air externe placée a proximate de l'appareil ou bien installer une conduite pour l'air de combustion dirigée vers l'extérieur ou dans une piece aérée, à l'exception de la piece où se trouve la chaudière ou le garage (INTERMIT).
Le poèle est fourni avec un raccord (D.120 mm Figure 8 A) uni à un tuyau flexible pour l'air comburante externe, qui se trouve à l'arrière sur le piédestal.
Le tuyau de raccordement doit être lisse, de 120mm de diamètre minimum, devra mesurer 4 m de longueur maximum et ne devra pas avoir plus de 3 coudes.
Si celui-ci sera raccordé directement avec l'extérieur, il devra être équipé d'un pare-vent.
L'entrée d'air pour la combustion dans le lieu d'installation ne doit pas être fermée durant le fonctionnement du poèle. Il est absolument nécessaire que dans les locaux, où fonctionnent les poèles avec un tirage naturel de la cheminée, soit introduite une quantité d'air suffisante pour la combustion, jusqu'à 20m^3/ heures. La recirculation naturelle de l'air doit être garantie par quelques ouvertures fixes vers l'extérieur, leur grandeur est établie par les normes en la matière. Demander des informations à votre ramoneur habituel.
Les ouvertures doivent etre protégées par des grilles et il ne faut jamais les obstruer.
Une hotte d'extraction (aspiration) installée dans la même piece ou dans une piece adjacente provoque une dépression dans le local. Ceci provoque l'échéappement de gaz brûlés (épaissse fumée, odeur) et il faut donc assurer une plus grande arrivée d'air frais.

La dépression d'une hotte aspirante peut, dans le pire des cas, transformer le tuyau d'évacuation des fumées du poèle en prise d'air extérieure et aspirer à nouveau les fumées dans le local ce qui entraîne de très graves conséquences pour les personnes.
9. ALLUMAGE
IMPORTANT: il est inévitable qu'une oedur désagréable se produit au premier allumage (suite au séchage des collants de la cordelette câblée du joint d'étanchéité et des vernis de protection), qui disparaît après une courte période d'utilisation. Il faut donc assurer une bonne ventilation du local. Au premier allumage, nous vous conseillons de charger une quantité réduite de combustible et d'augmenter progressivement le rendement calorifique de l'appareil.
Pour effectuer un premier allumage correct des produits traités avec des vernis pour haute temperatures, il faut savoir ce qui suit:
les matériaux utilisés pour la fabrication des appareils en question ne sont pas homogènes, en effet coexistent des éléments en fonte, en acier, refractaire et en faïence;
- la température à laquelle le corps de l'appareil est soumis n'est pas homogène: de secteur à secteur on enregistr des températures qui varient de 300^ à 500^ .
- tout au long de sa durée de vie l'appareil est soumis à des cycles alternés d'allumage et de repos durant la même journée et à des cycles d'utilisation intense ou de repos absolu au cours des saisons;
- l'appareil neuf, avant de pouvoir se considérer rode devra être soumis à divers cycles d'allumage afin de consentir à tous ses matérielles et à la peinture de compléter les différentes sollicitations elastiques;
en particulier au tout début on pourra noter l'émission d'odeurs typiques des métaux soumis à une grande sollicitation thermique et de vernis encore frais. Ce vernis, bien qu'il soit cuit à 250^ pendant quelques heures au cours de sa fabrication, devra dépasser plusieurs fois etpendant une certaine durée la température de 350^ avant de s'incorporer parfaitement aux surfaces métalliques.
Il est donc important de prendre ces petites précautions au cours de l'allumage:
1) S'assurer qu'un renouvellement important de l'air soit garanti dans le local où est installé l'appareil.
2) Au cours des premiers allumages, ne pas charger excessivement la chambre de combustion (la moitié environ de la quantité indiquée dans le manuel d'instructions) et maintainir le produit allumé pendant au moins 6-10 heures de suite, avec les réglages moins ouverts que ce qui est indiqué dans le manuel d'instructions.
3) Répéter cette opération au moins 4-5 fois ou plus, selon votre disponibilité.
4) Ensuite charger de plus en plus (en suivant de toute façon les indications fournies dans le manuel d'instructions au sujet de la charge maximale) et si possible, effectuer de longues périodes d'allumage en évitant, au moins au début, des cycles d'allumage-arrêt de courte durée.
5) AU cours des premiers allumages,aucun objet ne devrait etree appuyé sur l'appareil et tout particulierement sur les superficies laquees. Les surfaces laquees ne doivent pas etre touchees pendant le chauffage.
6) Àpres avoir terminé la période de «rodage», vous pourrez utiliser votre apparéil comme le moteur d'une voiture, en évitant de brusques échauffements avec des charges excessives.
Pour allumer le feu, nous conseillons d'utiliser du petit bois et du papier journal ou autres moyens allumage vendus dans le commerce, à l'exception de toutes les substances liquides telles que alcool, essence, petrole et équivalents. Les réglages pour l'air primaire doit être ouvert, donc complètement extrait Figure 2 -1A).
Quand le bois commence à brûler, on peut charger encore combustible, on ferme le registre de l'air primaire (completement inséré) et on contrôle la combustion à travers l'air secondaire (Figure 2 -2A) selon les indications du chap. 10. Au cours de cette phase, ne jamais laisser le poèle sans surveillance.
Ne jamais surcharger la cusinière (comprérez le tableau technique - quantité max. de combustible qui peut être charge). Trop de combustible et trop d'air pour la combustion peuvent cause une surchauffe et donc endommager le poèle.
La garantie ne couvre pas endommagements causés par le sur chauffage de l'appareil.
10. FONCTIONNEMENT NORMAL
Les apparêils avec ferméture automatique de la porte (type 1) doivent obligatoirement fonctionner, pour des motifs de sécurité, quand la porte du foyer est fermée (à l'exception de la phase de chargement du combustible ou de l'enlevement évientuel des cendres). Les apparêils dotés de portes sans ferméture automatique (type 2) doivent être raccordés à leur propre conduit d'évacuation de la fumée.
Le fonctionnement avec la porte ouverte est permittedseulement sous surveillance.
IMPORTANT: Pour des raisons de sécurité, la porte du foyer ne peut etre ouverte que pendant le chargement de combustible. Le foyer doit rester fermé pendant le fonctionnement et pendant les périodes de repos
ATTENTION: afin d'eviter la rupture de la vitre temperee placed dans la partie superieure du poele, NE PAS y appuyer aucun objet. La rupture de ces vitre peut etre causue unquement pas de shock mecaniques (choc ou chargement excessif etc.). Donc la substitution de ces vitre n'est couverte par garantie.
La puissance calorifique nominale du poèle correspond à 6 - 8 - 9 kW et on l'obtient avec un tirage (dépression) min 12 - 14 Pa (= 1,2 - 1.4 mm colonne d'eau).
Grace aux régulateurs qui se trouvent sur la façade du poële (Figure 2) on règle l'émission de la chaleur du foyer. Ils doivent rester ouverts selon la demande calorifique.
On obtient la meilleure combustion (emissions min.) quand, en chargeant le bois, la plus grande partie de l'air de combustion passé à travers le registre air secondaire.
Jamais surcharger la cusiniere (voir Donnes techniques - Quantite max. de combustible a charger). Trop combustible et trop sari pour la combustion peuvent cause une surchauffe et par consquence endommager le poèle. Les dommages causés par surchauffe ne sont pas couverts par garantie.
Il faut donc toujours utiliser le poèle avec la porte fermée (abaissee) pour éviter l'effet forge.
| COMBUSTIBLE | Bois (Longueur 30cm, diam. 30 cm) |
| Quantité max. de chargement (kg) | 1.8 (CAR.4/3) – 2.7 (CAR.16/9) – 2.3 (CAR.CLASSIC) |
| Air primaire (Figure 2) | FERMEE |
| Air secondaire (Figure 2) | OUVERTE |
| Temps de combustion | 1 h |
Le poèle mod. CARILLON est un apparéil à combustion temporisée.
L'intensité de la combustion et, par conséquent le rendement calorifique de votre poële sont influencés non seulement par le réglage de l'air de combustion mais aussi par votre cheminée. Pour obtenir un bon tirage de cheminée, il faut une régulation plus réduite de l'air de combustion ; en revanche, un tirage faible requiert un réglage précis de l'air de combustion.
Pour s'assurer de la bonne combustion de votre poèle, vérifier que la fumée qui sort de la cheminée est bien transparente. Lorsqu'elle est blanche, cela signifie que le poèle n'est pas bien reglé ou que le bois est trop humide : si, au contraire, la fumée est grise ou noire, cela peut dire que la combustion n'est pas totale (il sera nécessaire d'augmenter la quantité d'air secondaire).
11. FONCTIONNEMENT PENDANT LES PERIODES DE TRANSITION
Pendant la période de transition, c'est-à-dire lorsque les températures extérieures sont plus élevées, une augmentation imprévue de la température peut provoquer des difficultés au niveau du conduit de fumée de sorte que les gaz brûlés ne sont pas totalement aspirés. Les gaz d'échéppement ne sortent plus complètement (forte oedur de gaz).
Dans ce cas, secouer plus souvent la grille et augmenter l'air de combustion. Ajouter par la suite une faible quantite de combustible en faisant en sorte que celui-ci brule rapidement (plus de flammes) et que le tirage du conduit de fumee se stabilise. Verifier donc que toutes les ouvertures servant au nettoyage et les raccordements à la cheminée sont hermetiques.
12. ENTRETIEN ET SOIN
Faites contrcler par voire ramoneur de zone l'installation de la ciusiniere, le raccordement a la cheminee et la eation. Pour le nettoyage des parties emailles, utilise de I'eau et du savon ou des detergents non abrasifs ou chimiquement non agressifs.
Dans le cas de pieces en laiton devenues bleuâtres suite à une surchauffe, utiliser un produit de nettoyage ajusté pour éliminer cet inconvenient.
IMPORTANT: Utiliser exclusivement des pieces de rechange expressement autorises et offertes par la société La
Nordica. En cas de besoin, nous vous prions de vous adresser à votre revendeur spécialisé.
L'APPAREIL NE PEUT PAS ETRE MODIFIE!
12.1. NETTOYAGE DU CONDUIT DE FUMEE
La procedure correcte d'allumage, l'utilisation de la quantité et du type de combustibles adéquats, le tirage suffisant de la cheminée et la présence d'air comburant sont les conditions indispensablees pour le fonctionnement optimal de l'appareil. Nous recommendons d'effectuer un nettoyage complet au moins une fois par an ou chaque fois que nécessaire (problèmes de mauvais fonctionnement avec faible rendement).
Cette opération, qui ne peut avoir lieu qu'avc le poel froid, devrait etre effectuee par un ramoneur qui en meme temps, peut faire une inspection.
Pendant le nettoyage il faut enlever le cendrier et le tuyau des fumées.
Le nettoyage du bac de récolte fumées peut se faire par le foyer ou par le canal de décharge après avoir enlevé le tuyau des fumées, avec l'aide d'une brosse ou d'un aspirateur.
Faitez attention qu'une fois terminée le nettoyage toutes les parties soient re-installées hermétiquement.
12.2. NETTOYAGE DE LA VITRE
Grace a une entrée spécifique de l'air secondaire, la formation de dépôts de saleté sur la vitre de la porte est efficacement ralentie. Cependant il est impossible de l'éviter complètement avec l'utilisation des combustibles solides (exemple bois humide) mais ceci ne doit pas être considéré comme un défaut de l'appareil.
IMPORTANT: il ne faut nettoyer la vitre panoramaque que quand le poele est froid pour en eviter l'explosion.
Ne pas utiliser cependant de chiffons, produits abrasifs ou chimiquement agressifs.
Meme chose pour le nettoyage de la vitre temperee qui se fouve dans la partie superieure du poele.
La procedre correcte d'allumage, l'utilisation de quantités et combustibles appropriés, la position correcte du registre d'air secondaire, le bon tirage du conduit et la présence d'air comburent sont indispensablees pour le bon fonctionnement de l'appareil et garantissant le nettoyage de la vitre.
RUPTURE DES VITRES : les vitres sont en vitrocéramique résistante à des poussees thermiques allant jusqu'à 750^ C et ne sont donc pas sujettes à des chocs thermiques. Elles ne peuvent se rompre que par chocs mécaniques (coups ou fermeture violente de la porte, etc.) Par conséquent, le remplacement de la vitre n'est pas sous garantie.
12.3. NETTOYAGE DU CENDRIER
Toutes les apparèils La NORDICA sont équipées d'une grille de foyer et d'un tiroir pour le ramassage des cendres (Figure 9 - A). Nous vous conseillons de vider périodiquement le tiroir des cendres et d'en éviter le replissage total pour ne par surchauffer la grille. De plus, nous recommendons de laisser toujours 3-4 cm. de cendres dans le foyer.
ATTENTION: les cendres retirees du foyer doivent etre déposées dans un recipient en materiel ignifuge muni d'un couvercle étanche. Le recipient doit etre posé sur un sol ignifuge, loin de materiaux inflammbables jusqu'à ce que les cendres soient eteintes et complètement refroidies.

12.4. ENTRETIEN DES GLISSIERES EXTENSIBLES (ou presents)
La porte du poèle est fixée à des glissières extensibles à billes afin de garantir un fonctionnement silencieux, fiable et robuste. En utilisant constamment l'appareil, à la longue le lubrifiant des glissières a tendance à diminuer progressivement de sorte que celles-ci coulissant moins facilement et deviennent plus bruyantes.
C'est pourquoi notre apparéil est livré avec une seringue de graissse pour hautees températures permettant à l'utilisateur de graisser les glissières lorsque cela est nécessaire (trop de bruits ou coullissement réduit).
Après avoir complètement relevé la porte de la cheminée, prendre la seringue livrée avec l'appareil et appliquer à l'intérieur contre le rail dans un point bien visible, le plus élevé possible, deux petites boules de graisses (ce qui correspond à environ 0,5ml de l'échelle graduée de la seringue). Faire attention à ne pas dépasser la quantité recommandée.
Renouveler cette opération sur l'autre rail, soulever et baisser plusieurs fois la porte de maniere à ce que laGRAISSSE se distribue sur toutes les billes.
ATTENTION : utiliser uniquement de laGRAisse provenant d'une seringue La Nordica.
Cette mêmeGRAISE pourraegalement servir àlubrifier avecmodérationles molettes de rotation du raccord de fumee rotatif enfonte.
Pour nettoyer les parties émailées, utiliser de l'eau et du savon ou des produits détergents non abrasifs non agressifs du point de vue chimique.
Utiliser uniquement des pieces de rechange expressement autorisées ou offertes par l'entreprise La Nordica. En cas de besoin, veuillez vous adresser à votre revendeur spécialisé.
LE POELE NE PEUT ETRE MODIFIE!!
12.5. LES FAIENCES LA NORDICA
Les faïences La NORDICA sont des produits de haute fabricationartisanale et comme tels, elles peuvent pesenter de très petits grumeaux, des craquelures et des imperfections chromatiques. Ces caractéristiques sont la preuve de leur grande valeur. L'émail et la faïence, pour leur différent coefficient de dilatation, produit des microfissures (craquelure) qui en démontré l'authenticité.
Pour nettoyer les faiences, nous conseillons d'utiliser un chiffon doux et sec; un détergent ou produit liquide quelconque pourrait pénétre à l'intérieur des craquelures et lesmettre en évidence d'une façon permanente.
13. ARRET PENDANT L'ETE
Après avoir nettoyé le foyer, la cheminée et le tuyau d'évacuation de la fumée et avoir retire toutes les cendres et autres résidus évventuels, il faut fermer toutes les portes du foyer et les régulateurs correspondants et déconnecter l'appareil de la cheminée.
Nous conseillons d'effectuer le nettoyage du tuyau d'évacuation de la fumée au moins une fois par an; tout en vérifier entre-temps le bon état des joints d'étanchéité qui s'il n'était plus en parfait état, ne garantiraient pas le bon fonctionnement de l'appareil. Il serait donc nécessaire de les replacer.
En cas d'humidité du local où est situé l'appareil, placer des sels absorbants à l'intérieur du foyer de celui ci.
Protégé les pieces en fonte brute avec de la vaseline neutre pour maintainir intact dans le temps leur aspect esthétique.
14. RACCORDEMENT AU CONDUIT DE FUMEE D'UNE CHEMINEE OU D'UN FOYER OUVERT
Le canal des fumées est le tronçon du tuyau qui relié l'appareil au tuyau d'évacuation des fumées, il faut respecter ces simples principes très importants au cours de son raccordement:
- sousaucnPretexe on devrautiliser le conduit d'evacuation de la fumee s'il a un diametre inférieur a celui du collier de sortie dont est doté l'appareil;
chaque metre de parcours horizontal du canal de fumee provoque une sensible perte de charge qui devra eventuellement etre compensée en elevant le tuyau d'évacuation des fumées; - dans tous les cas, le tronçon horizontal ne devra jamais dépasser 2 m (UNI 10683-2005);
chaque coude du canal de la fumee reduit sensiblement le tirage du tuyau d'evacuation des fumées, ce qu'il faudra compenser en l'élevant ajustement; - la Norme UNI 10683-2005 - ITALIE prévoit que les coudes et les variations de direction ne doivent en aucune cas dépasser le nombre de 2, y compris l'introduction dans le tuyau d'évacuation des fumées.
Si on souhaite utiliser le tuyau d'évacuation des fumées d'une cheminée ou d'un foyer ouvert, il faudra fermer hermetiquement la hotte au-dessous du point d'entrée du canal de fumée (Pos. A Figure 10).
Si le tuyau d'évacuation des fumées est trop grand (par ex. cm 30 x 40 ou 40 x 50), il faut y insérer un tuyau supplémentaire en acier inox d'un diamètre minimum de 200 mm, pos.B, en ayant soin de bien fermer l'espace restant entre le tuyau lui-même et le tuyau d'évacuation des fumées immédiatement en dessous du terminal de cheminée pos. C.

Nos vus prions de contacter va reventeur de zone pour toute information complémentaire/pour plus de precisions.
15. MONTAGGIO COPERTURA IN VETRO / GLASS COVERING ASSEMBLY / MONTAGE DER GLASABDECKUNG



Cette déclaration de performance est délivrée sous la responsabilité exclusive du fabricant où au point 4.
09/06/2013 Montecchio Precalcino (VICENZA)
Cette déclaration de performance est délivrée sous la responsabilité exclusive du fabricant où au point 4.
09/06/2013 Montecchio Precalcino (VICENZA)
Cette déclaration de performance est délivrée sous la responsabilité exclusive du fabricant où au point 4.
09/06/2013 Montecchio Precalcino (VICENZA)
Les données et modèles ne compromèttent en rien la société La Nordica, qui se réserves le droit d'apporter modifications et améliorations sans préavis

La NORDICA S.p.A.
Notice Facile