EZ1U23DLCD - Machine à coudre TOYOTA - Notice d'utilisation et mode d'emploi gratuit
Retrouvez gratuitement la notice de l'appareil EZ1U23DLCD TOYOTA au format PDF.
| Caractéristiques techniques | Machine à coudre électronique avec écran LCD, 23 points de couture, enfilage automatique, pied-de-biche interchangeable. |
|---|---|
| Utilisation | Idéale pour les couturiers débutants et avancés, convient pour coudre des tissus légers à moyens. |
| Maintenance et réparation | Nettoyage régulier de la machine, lubrification des pièces mobiles, remplacement des aiguilles selon l'utilisation. |
| Sécurité | Équipée d'un dispositif de sécurité pour éviter les accidents, ne pas toucher les parties mobiles pendant le fonctionnement. |
| Informations générales | Garantie de 2 ans, manuel d'utilisation inclus, accessoires variés disponibles pour élargir les possibilités de couture. |
FOIRE AUX QUESTIONS - EZ1U23DLCD TOYOTA
Questions des utilisateurs sur EZ1U23DLCD TOYOTA
0 question sur cet appareil. Repondez a celles que vous connaissez ou posez la votre.
Poser une nouvelle question sur cet appareil
Téléchargez la notice de votre Machine à coudre au format PDF gratuitement ! Retrouvez votre notice EZ1U23DLCD - TOYOTA et reprennez votre appareil électronique en main. Sur cette page sont publiés tous les documents nécessaires à l'utilisation de votre appareil EZ1U23DLCD de la marque TOYOTA.
MODE D'EMPLOI EZ1U23DLCD TOYOTA
Lorsque you utilisez un appareilélectrique, you veez toujours prende des mesures de sécurité élémentaires, dont celles reprise ci-dessous: Lisez toutes les instructions avant d'utiliser la machine.
DANGER - - Pour limiter le risque de décharges électriques.
- Ne laissez jamais la machine à coudre sans surveillance lorsqu'elle est branchée. Debranchetz toujours la machine de la prise murale immidiatement après l'avoir utilisée et avant de la nettoyer.
- Debranchez toujours la machine à coudre avant de remplaçer l'ampoule. Remplacez l'ampoule avec une ampoule de 5 W de même type.
- Ne touchez jamais un apparéil qui est tombé dans l'eau. Débranchez-le immédiatement.
- Ne placez jamais la machine a coudre a un endroit où elle risquerait de tomber ou d'être poussaee par megaarde dans une baignoire ou un lavabo.
Ne la déposez pas sur de l'eau ou tout autre liquide.
AVERTISSEMENT - - Pour limiter le risque de brûlures, d'incendie, de décharges électriques ou de blessures.
-
Ne laissez pas les enfants jouer avec la machine. Faites particulièrement attention lorsque des enfants utilisent la machine ou se trouvent à proximé.
-
N'utilisez la machine à coudre que pour les tâches prévues dans ce manuel. N'utilise que les accessoires recommendés par le fabricant et repris dans ce manuel.
-
N'utilissez jamais cette machine à coudre si un cable ou une fiche sont endommagés, si elle ne fonctionnent pas correctement, si elle est tombée, est endommagée ou est tombée dans l'eau. Adressez-vous au revendeur ou au service technique le plus proche, qui effectuera les vérifications, les réparations et les réglages électriques ou mécaniques nécessaires.
-
N'utilisiez jamais la machine à coudre si l'un des orifices d'aération est obstrué. Assurez-vous dans les orifices de la machine et de la pédale ne sont pas obstrués par des peluches, de la poussière ou des bouts tissu.
-
Veillez à ce qu'aucun objet ne tombe dans ces ouvertures et n'y introduisez pas d'objets.
6.N'utilisez pas la machine à l'extérieur.
-
N'utilisez pas la machine dans des endroits ou des aerosols ou de l'oxygène sont utilisés.
-
Pour débrancher la machine, placez tous les interrupteurs sur "0" (désactivé), puis sortez la fiche de la prise murale.
-
Ne tirez pas sur le cable pour debrancher la machine. Pour debrancher, tirez sur la fiche, jamais sur le cable.
-
Eloignez les doigts de toutes les pieces en mouvement. Faites particulièrement attention lorsque vous travailliez pres de l'aiguille.
-
Utilisez toujours une plaque d'aiguille appropriée. Si vous utilisez une plaque d'aiguille inadéquate, l'aiguille risque de casser.
-
N'utilisez pas d'iguilles pliees.
-
Ne tirez pas sur le tissu lorsque vous cousez. Si vous tirez dessus, l'aiguille risque de se plier et de se casser.
-
Eteignez la machine a coudre (interrupteur sur "0") avant d'effectuer des réglages dans la zone où se trouve l'aiguille (enfilage de l'aiguille, remplacement de l'aiguille ou du pied-de-biche).
-
Dedebranche tous la machine de la prise murale avant d'enlever des couvercles, de lubrifier ou d'effectuer l'un des réglages mentionnés dans ce manuel.
-
N'utilisez jamais la machine sur une surface molle telle un lit ou un canapé, car cela risque de boucher des orifices de ventilation.
-
Cet apparéil (230-240V) est pourvu d'une double isolation. Les pieces de rechange doivent être identiques aux pièces d'origine.
Reportez-vous aux instructions relatives à la réparation et à l'entretien d'appareils à double isolation.
Réparation et entretien de produits à double isolation (230V-240V)
Dans un apparéil à double isolation, la double isolation remplace la prise de terre. Aucune prise de terre n'est prévue sur un apparéil à double isolation et il ne faut jamaismettre à la terre un tel type d'appareil.
Pour effectuer la réparation et l'entretien d'un apparéil à double isolation, il faut procéder avec beaucoup de précaution et connaître le système. C'est pourquoit ces opérations doivent être confiées à un technicien qualifié. Les pieces de rechange d'un apparéil à double isolation doivent être identiques aux pieces d'origine. Les apparéils à double isolation sont identifiés par un symbole.
Cette machine à coudre est destiné à un usage domestique.
CONSERVEZ CES INSTRUCTIONS
UK UNIQUEMENT
IMPORTANT
VEUILLEZ LIRE ATTENTIVEMENT
La couleur des fils du cable principal correspond au code suivant:
BLEU - NEUTRE BRUN - SOUS TENSION (ACTIVE)
Les couleurs du cable principal de cet apparéil risquent de ne pas correspondre aux repères colorés des bornes de la prise. Si tel est le cas, PROCEDEZ COMME SUIT:
La broche de la prise de terre est inutil. Comme la machine est equipée d'une double isolation, la prise de terre a ete enlevee. Le fil BRUN doit etre branché sur la borne L ou A ou de couleur ROUGE. Le fil BLEU doit etre branché sur la borne N ou de couleur NOIRE. Aucun fil ne doit etre relié à la masse d'une prise a trois broches.
Désignation des pieces 2
Accessoires standard 6
Tipos de costura 9
- Utilisation de la machine à coudre Interrupteur (alimentation électrique et éclairage) .. 13
Choix du point 13
Fonctions de I'ecran LCD d'information 13
Levier de pied-de-biche 15
Sélecteur de largeur de point 15
Sélecteur de longueur de point 15
Vitesse de couture 15
Pedale 17
Commande de la griffe d'entrainement 19
Levier de réglage de la pression du pied-de-biche 19
Rangement de la machine à coudre 19
3. PREPARATION DE VOTRE MACHINE
Bobinage de la canette 22
Acheminement du fil de la canette 26
Cheminement du fil supérieur 30
Utilisation de l'enfile-aiguille 33
Remplacement du pied-de-biche 37
Remplacement de I'aiguille 39
Tableau de correspondence des tissus, fils et aiguilles 42
4. COUTURE
Point droit 46
Couture en sens inverse 49
Réglage de la tension du fil 49
Point en zigzag 52
Surfilage 55
Appliques 57
Couture d'ourlet invisible 59
Confection de boutonnières 61
Fermeture éclair 67
Pointélastique 69
5. Entretien
Nettoyage de la zone ou se trouvent la griffe d'entrainement et la navette 71
Remplacement de I'ampoule 75
- Messages d'erreur et signaux sonores 79
- Dépannage 85, 91
- Accessoires en option 96
- Caracteristiques 98
INHALTSVERZEICHNIS
1. ÜBERSICHT
Teilename 4
Standardzubehor 6
Stichmuster 10
Désignation des pieces
1-1. Guide-fil
1-2. Guide-fil de la canette
2. Molette de réglage de la tension du fil supérieur (voir page 49)
3. Selecteur de largeur de point (voir page 15)
4. Selecteur de longueur de point page 15)
5. Levier de réglage de la pression dupied-de-biche (voir page 19)
6. Ampoule
7. Coupe-fil
8. Bras libre Retirez la table d'extension en tirant vers la gauche pour utiliser la machine en bras libre.
9. Table d'extension
10. Ecran LCD d'information (voir page 13)
11. Molette de selection du point
- Enfile-aiguille (voir page 33)
- Support du pied-de-biche
- Vis de fixation de l'aiguille
- Guide-fil de l'aiguille
- Aiguille
- Pied-de-biche
- Plaque d'iguille
- Griffe d'entrainment
- Coupe-fil de la bobine
- Logement de la canette
- Couvercle du logement de la canette
23-1. Curseur de réglage de la vitesse (voir page 15)
23-2. Levier de marche arriere (voir page 15)
23-3. Touche pour relever ou abaiser l'aiguille (voir page 15)
23-4. Touche marche/arrêt (voir page 15)
24. Butée de la canette
-
Axe de bobinage de la canette
-
Poignée
- Porte-bobine
- TCouvercle de la bobine
-
Levier de pied-de-biche (voir page 15)
-
Volant
Lorsque le volant tourne, l'aiguille monte et descend.
Tournez toujours le volant vers vous. - Interrupteur (alimentation électrique et éclairage)
- Entrée pour cable
- Entre pour cable (pedale)
- Bouton de réglage du point de boutonnière (voir page 65)
- Commande de la griffe d'entrainement (voir page 19)
- Levier pour boutonnière


Deutsch
ÜBERSICHT
Teilename
Les accessoires se trouvent dans la table d'extension. Remarque:
- Nous vous recommendons d'utiliser les accessoires d'origine TOYOTA.
- Si vous doivent commander une canette neue, voirlez à ce qu'elle ait les dimensions correctes (20,5 mm de diamètre et 11 à 11,6 mm de hauteur).
-
Utilisez des canettes en plastique.
-
Boîte à accessoires
- Table d'extension
- Pedale
- Pied-de-biche pour zigzag (monté sur la machine)
- Pied-de-biche pour boutonnière
- Pied-de-biche pour fermeture éclair
- Pied-de-biche pour surfilage
- Pied-de-biche pour couture invisible
- Pedale (voir page 17)
- Découseur
- Couvercle de la bobine (monté sur la machine)
- Canettes (2)
- Aiguilles (1 jeu) #75/14X2
- Tournevis
- Brosse de nettoyage et extracteur de canette
Nederlands
SAMENVATTING
Standaardtoebehoren
| N° de point | Type de point (page de référence) | Pied-de-biche | Largeur de point | Longueur de point | N° de point | Type de point (page de référence) | Pied-de-biche | Largeur de point | Longueur de point | ||
| 1 | Boutonnière (page 61) | Pied-de-biche pour boutonnière | 4-5 0.4 | -10.4-0.6 | 10 | B | Point de feston | Pied-de-biche | 5-6 4 | ||
| 2 | Point droit (page 45) | Pied-de-biche pour zigzag | 0 | 1-4 | 11 | W | Point décoratif | ||||
| Fermeture éclair (page67) | Pied pour fermeture éclair | 2-3 | 12 | X | Double surjet | ||||||
| Point en zigzag, appliques (pages 51 et 55) | Pied-de-biche pour zigzag | 3-6 0.5 | 2 | 13 | Y | Surjet incliné | |||||
| Surfilage de tissus de poids moyen (page55) | Surfilage | 5 1-4 | 14 | Z | Surjet élastique / Point tricot | ||||||
| 3 | Point décoratif ou surfilage | Pied-de-biche pour zigzag | 4-6 1-2 | 15 | A | Gland / Surjet | |||||
| 4 | Couture d'ourlet invisible (page 59) | Pied pour couture invisible | 16 | K | Point d'épines | ||||||
| 5 | Surfilage de tissus légers (page 55) Raccomodage | Pied-de-biche pour zigzag | 17 | M | Surjet / Surfilage | ||||||
| 6 | Couture d'ourlet invisible sur tissu élastique (page 59) | Pied pour couture invisible | 18 | E | Surjet | ||||||
| 7 | Point double | Pied-de-biche pour zigzag | 19 | V | Surfilage de tissus lourds ou élastiques (page 55) | Surfilage | 5 | ||||
| 8 | Point coquille | 20 | I | Point droit/ zigzag élastique (page 69) | Pied-de-biche pour zigzag | 0-6 | |||||
| 9 | Point perlé | 5-6 0.4 | -1 | ||||||||
Utilisation de la machine à coudre Interrupteur (alimentation électrique et éclairage)
A Branchez d'abord le cable d'alimentation electrique sur l'entrée prevue a cet effet sur la machine a coude.
Ensuite, mettez la fiche du cable dans la prise murale.
①Interrupteur
② Fiche
③ Cable d'alimentation electrique
B Poussez sur le cote I de l'interrupteur pour allumer.
Cet interrupteur commande à la fois l'alimentation électric et l'éclairage. Poussez sur le côte de l'interrupteur pour êtreindre.
Choix du point
Relevez I'aiguille au maximum (reportez-vous a "Touche pour relever ou abaiser I'aiguille", à la page 15). Tournez la molette de selection du point pour obtenir le type de point souhaité.
Fonctions de I'ecran LCD d'information Le type de point selectionné apparait sur I'ecran LCD
- Type de point
Le type de point selectionné s'affiche.
-
Numéro du point
-
Largeur de point
La largeur de point recommandee s'affiche.
- Longueur de point
La longueur de point recommende s'affiche.
- Bobinage de la canette
S'affiche lorsque l'axe de bobinage de la canette se déplace vers la droite. (Ne s'affiche pas en permanence)
^2 Le symbole clignote et un signal sonore retetint lorsque la machine n'est pas correctement utilisée.
- Pédale
① S'affiche lorsquela pedale est branchee sur la machine a coudre. (Ne s'affiche pas en permanence)
(2) Le symbole clignote et un signal sonore retentit lorsque la machine n'est pas utilisée correctement.
- Symboles clignotants
Ces symboles clignotent et un signal sonore retentit lorsque la machine n'est pas utilise correctement. (Se reporter a la page 79 "Messages d'erreur et signaux sonores")

C
Deutsch
① Pendant la couture, baissez le levier de pied-de-biche pour baisser le pied-de-biche.
Lors de l'insertion du tissu, levez le levier de pied-de-biche pour lever le pied-de-biche.
Lors de l'insertion d'un tissu tres epais sous le pied-de-biche, vous pouvez augmenter la hauteur de celui-ci enainaient le levier de pied-de-biche dans cette position.
Sélecteur de largeur de point
- Vous pouvez modifier la largeur du point en zigzag en tournant le selecteur de largeur de point.
- Pour la réduire, tournez le sélecteur vers un chiffre plus petit. Pour l'augmenter, tournez le sélecteur vers un chiffre plus grand.
- Lorsque le selecteur est place sur "0", la machine produit un point droit.
Sellecteur de longueur de point
Selectionnez la largeur et la longueur de point en fonction des chiffres recommandés, affichés sur l'écran LCD d'information.
- Vous pouvez modifier la longueur du point en tournant le selectingeur de longueur de point.
- Pour la réduire, tournez le sélecteur vers un chiffre plus petit. Pour l'augmenter, tournez le sélecteur vers un chiffre plus grand.
Vitesse de couture
- Vous pouvez régler la vitesse de couture à l'aide du curseur de réglage de la vitesse.
- Levier de marche arriere La machine deplace le tissu vers l'arriere et coud lentement en marche arrriere tant que vous appuyez sur le levier de marche arriere.
- Touche pour relever ou abaiser l'aiguille Enforcez la touche pour placer I'aiguille dans sa position la plusasse.Appuyez de nouveau sur la touche pour placer I'aiguille dans sa position la plus haute.
Pour régler la hauteur de l'aiguille, vous pouvez tourner le volant au lieu d'utiliser cette touche. - Touche marche/arrêt
Appuyez sur cette touche pour commencer à coudre.
Enforcez-la de nouveau pour arreter la machine. - Vous pouvez également utiliser la pedale au lieu de la touche marche/ arrêt. (Voir page 17)

C

D
Deutsch
FüBchenheber
Pour vous securite, debranchez tous la machine de l'alimentation avant de brancher la pedale sur la machine.
La pedale yous permit de commander la marche, I'arret et la vitesse de
couture de la machine, à l'aide du pied. (Le bobinage de la canette (marche, arrêt et vitesse de couture) peut aussi être commandé par la pédale)
Remarque: la touche marche/arrêt ne peut pas ettre utilisée lorsque la machine a coudre est branchee a la pedale. Branchement a la pedale
① Eteignez la machine à coudre.
② Branchez la fiche A du cable de la pedale a la machine a coudre et la fiche B, a la pedale.
③ Lorsque la pedale est branchee a la machine a coudre, s'affiche sur
I'ecran LCD d'information.
Lors du débranchement de la pedale, cette indication disparaît.
Utilisation de la pedale
- Appuyez lentement sur la pedale.
- Plus you enforcez la pedale, plus la machine fonctionne rapidement.
- Lachez la pedale pour arreter la machine.
- Vous pouvez régler la vitesse maximale de la pédale en réglient le curseur de réglage de la vitesse.
Rangement de la pedale
Rangez la pedale dans la base de la table d'extension.
① Appuyez sur la pédale avec la main et introduisez les fiches A et B en meme temps dans l'orifice C.
② Enroulez le cable autour de la pedale.
③ Introduisez la pedale dans la base de la table d'extension, sous la boite a accessoires.

C
C-1

C-2

C-3C-2

Deutsch
Pedal
WARNHINWEISE
Commande de la griffe d'entrainement
Voupez baiser la griffe d'entrainement pour maitriser l'entrainement du tissu.
Cette manoeuvre est utile pour la broderie et le matelassage. Fixez le tissu dans un cerceau.
Remarque: Avant d'utiliser la commande de la griffe d'entrainment, enievez toujours la table d'extension et relevez le pied-de-biche.
Pour la couture ordinaire, relevez le pied-de-biche.
Baissez la griffe d'entrainment pour que la machine n'entraîne pas le tissu.
Levier de réglage de la pression du pied-de-biche
-
Vous pouvez modifier la pression dupied-de-biche en changeant la position du levier de pied-de-biche.
-
La position la plusasse convient aux tissus standard.
-
Pour les tissus elastiques ou légers, relevant le levier et diminuez la pression du pied-de-biche.
Rangement de la machine a coude Pour ranger la machine,
① Eteignez d'abord la machine a coude.
② Debranchez le cable d'alimentation electrique de la prise murale et de la machine a coude.
③ Rangez la pedale dans la boite a accessoires, puis reposez le couvercle. Remarque: Lors du rangement de la machine a coude, respectez les instructions suivantes.
- Ne placez pas la machine dans un lieu poussiereux ou tres humide.(Le fonctionnement de la machine risquerait d'être alteré)
- N'exposez pas la machine au soleil direct et ne la place pas pres d'un système de chauffage. (La machine risquerait d'être décorée ou endommagée)
- Pour empêcher toute chute de la machine, ne la place pas sur une surface instable.
- Ne placez pas la machine a l'envers ou sur le cote. (Le fonctionnement de la machine risquerait d'être alteré)
- N'exposez pas la machine a de la fumée ou a de la vapeur. (Le fonctionnement de la machine risquerait d'être alteré)
Remarque: Lorsque vous prénez la machine à coudre à l'endetroit ou vous l'avez rangée, suivez les instructions suivantes. - Enlevez le couvercle.
- Maintenez la poignee de la machine a coudre d'une main et le fond de la machine avec l'autre main.


Deutsch
Bediening van de transporteur
Bobinage de la canette
A. Placez une bobine de fil et le couvercle de la bobine sur le porte-bobine.
* Laissez un espace de 2 mm entre la bobine de fil et le couvercle de la bobine.
- Pour une petite bobine de fil
Pour une grande bobine de fil
B.Faites passer le fil à travers le guide-fil ① et le guide du fil de la canette ②.
Guide-fil ①
Guide du fil de la canette ②
C.Faites passer l'extrémité du fil à travers le trou de la canette, comme illustré.
- Placez la canette sur l'axe de bobinage de la canette de manière à ce que la rainure s'adapte sur le ressort d'axe. Poussez la canette vers le bas; l'axe de bobinage de la canette se déplace automatiquement vers la droite.
- (冒) s'affiche sur l'écran LCD d'information.
D. Pour accélérer le bobinage de la canette, poussez le curseur de réglage de la vitesse vers la droite.
AVERTISSEMENT
Ne touchez pas l'axe de bobinage de la canette pendant le bobinage.
E.Tenez l'extrémité du fil.
Appuyez sur la touche marche/arrêt pourmettre la machine en marche.
Si vous utilisez la pédale, appuyez dessus avec le pied pourmettre la machine en marche.
F.ÀpRES avoir un peu entamé le bobinage, arrêtez la machine et coupez l'excedent de fil au-dessus de l'orifice de la canette, puis continuez le bobinage.
G. La canette s'immobilise lorsque le bobinage est terminé.
- Appuyez sur la touche marche/arrêt pour arrêté la machine.
Si vous utilisez la pédale, levez le pied.
H.Poussez l'axe de bobinage de la canette vers la gauche avec le doigt.
* Il est impossible de coudre lorsqu'l'axe de bobinage de la canette se trouve à droite.
I. • Enlevez la canette de l'axe.
- Coupez le fil.


Deutsch
Acheminement du fil de la canette
A. • Eteignez la machine à coudre.
- Ouvrez le couvercle du logement de la canette en le faisant couilisser vers vous et le coupe-fil de la bobine apparait.
B. Introduisez la canette dans le logement de canette en veillant à ce qu'elle tourne dans le sens inverse des aiguilles d'une montre.
Remarque: Si vous l'introduisez dans le mauvais sens, la tension du fil sera anormale.
C. Faites passer le fil sous le guide du fil de la canette.
D. Faites passer le fil le long du guide du fil de la canette jusqu'au bout.
E. Faites passer le fil par le coupe-fil et coupez le fil.
Coupe-fil de la bobine
- Lors de l'utilisation de fil élastique, comme la laine, ne coupez pas le fil après l'avoir acheminé par le guide du fil de la canette. Tirez et laisserez environ 15 cm de fil.
F. Faites coulisser le couvercle du logement de la canette pour le remetre en place. Couvercle du logement de la canette
Remarque: Il n'est pas nécessaire de tirer le fil de la canette pour commencer à piquer.

CBA





DEF


¥

Deutsch
Cheminement du fil supérieur
A. Placez une bobine de fil et le couvercle de la bobine sur le porte-bobine.
Pour une petite bobine de fil
- Pour une grande bobine de fil
- Laissez un espace de 2 mm entre la bobine de fil et le couvercle de la bobine.
B.Relevez I'aiguille au maximum en appuyant sur la touche pour relever et abaiser I'aiguille. - Au lieu d'utiliser cette touche, vous pouvez aussi relever l'aiguille en tournant le volant.
C. • Eteignez la machine à coudre. - Relevez le levier du pied-de-biche.
Remarque: Pour passer le fil dans la plaque de tension, il faut TOUJOURS relever le levier du pied-de-biche.
D.Prenez le fil dans une main et appuyez sur le fil avec l'autre main, puis passez le fil dans le guide.
Acheminez le fil en suivant le parcours pour fil simple.
E.Passez le fil par le guide-fil de l'aiguille.
F. Enfilez l'aiguille d'avant en arrête, en laissant environ 15cm de fil.
* L'aiguille s'enfile plus facilement avec l'enfile-aiguille (reportez-vous à la page 33).







Deutsch
Oberfaden
Utilisation de l'enfile-aiguille
Remarque: • Reportez-vous au
"Tableau de correspondance des tissus, fils et aiguilles" (page 42) pour le fil et l'aiguille à utiliser.
N'utilisez pas cet enfile-aiguille pour I'aiguille n°65/9.
A. Pour commencer, assurez-vous que le fil est correctement placé sur le guide-fil de l'aiguille.
B.Relevez I'aiguille au maximum en appuyant sur la touche pour relever et abaisser I'aiguille.
* Au lieu d'utiliser cette touche, vous pouvez aussi relever l'aiguille en tournant le volant.
C. Eteignez la machine à coudre.
- Relevez le levier du pied-de-biche.
D. Placez le fil sur le guide-fil A.

C

D
Deutsch
E. Passez le fil sous le guide-fil B.
F. Passez le fil dans la fente du guide-fil C. Tirez environ 10 cm de fil.
G. Baissez lentement le levier de l'enfile-aiguille de manière à ce que le guide tourne et le crochet passée par le chas de l'aiguille.
Pour pouvoir enfilier l'aiguille, le crochet doit toujours passer pars le chas de l'aiguille.
Si le crochet est plié et ne passé pas par le trou de l'aiguille, utilisez un tournevis pour le redresser.
H. Remettez lentement le levier en place et l'aiguille sera automatiquement enfilée. Tirez le fil vers l'arriere de la machine, sous le pied-de-biche, en laissant 15 cm de fil.
I. S'il est impossible d'enfiler l'aiguille, replacez le fil dans le guide et essayez de nouveau d'enfiler l'aiguille à l'aide de l'enfile-aiguille.

G
H


1
Deutsch
Pour éviter tout risque de blessures, assurez-vous que le pied-de-biche est bien maintenu par son support.
Dépose du pied de biche
A.Eteignez la machine a coudre.
Tournez le volant vers vous pour lever l'aiguille.
Relevez aussi le levier du pied-de-biche.
B.Appuyez sur le bouton du support du pied-de-biche pour degager le pied-de-biche.
Mise en place du pied-de-biche
C. Placez un nouveau pied-de-biche sous le support en veillant à ce que la goupille se trouve juste en dessous de la rainure du support.
D.Abaissez doucement le levier dupied-de-biche jusqu'à ce que la goupille du pied-de-biche s'emboite dans le support.

C

D
Deutsch
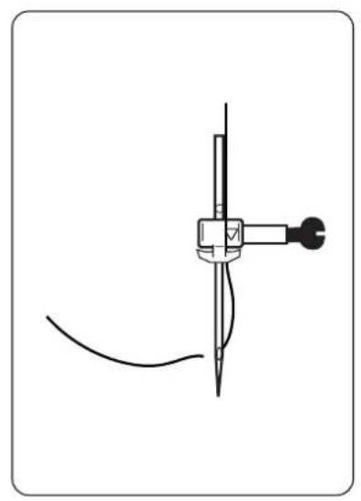
Remplacement de l'aiguille AVERTISSEMENT
Lorsque you remplacez l'aiguille, assurez-vous toujours que la vis de fixation de l'aiguille est bien serrée. N'utilise pas d'aiguilles pliees.
A. • Eteignez la machine a coudre.
- Relevez l'aiguille dans sa position la plus haute.
- Desserrez la vis de fixation de l'aiguille avec un tournevis et otez l'aiguille.
B. Vis de fixation de l'aiguille
Placez la nouvelle aiguille, cote plat à l'opposé de vous, et poussez-la vers le haut jusqu'à ce qu'elle attéigne la butee ©. Serrez correctement la vis de fixation de l'aiguille.
Choix de l'aiguille adequate
- Les aiguilles pliees ou émoussées accrochant les fils du tissu et cassent le fil à coudre.
C-1. O Aiguille appropriée
C-2. X Aiguille defectueuse
X Aiguille émoussée
X Aiguille pliee

C

Deutsch
Pour obtenir des coutures plus nettes, reportez-vous au tableau ci-dessous:
Tableau de correspondance des tissus, fils et aiguilles
| Tissu Taille de l'aiguille | Section du fil | ||
| Léger | Tissus très fins, batiste, crépe georgette | Aiguille standard #75/11 | Coton 60 à 100Soie 50 à 80Synthétique 60 a 80 |
| Moyen | Vichy, laine, velours, satin, popeline,toile légère, coton gabardine et autrestissus de poids moyen | Aiguille standard #75/11 to #90/14 | Coton 60 à 100Soie 50 à 80Synthétique 60 a 80 |
| Lourd | Tweed, toile épaisse, tapisserie, ve-lours côteélé | Aiguille standard #75/11 | Coton 40 à 50Soie 50Synthétique 30 à 50 |
| Elastique | Jersey | Aiguille à pointe arrondie #11 | Synthétique 50 à 60 |
Remarque: • Le fil supérieur et le fil de la canette doit etre de meme type et epaisseur.
- Pour les tissus élastiques, utilisez des aiguilles à pointe arrondie.
- Utilisez des aiguilles Denim (aiguille pour toile) pour les tissus épais, les blue-jeans, les tentures et les ruflettes.
- La grosseur des aiguilles augmente avec leur taille.
- Le fil est d'autant plus fin que le chiffre correspondant à sa section est grand.
Deutsch
Utilisez toujours un pied-de-biche adapté au type de point.
A.Fixez le pied-de-biche pour zigzag Pied-de-biche pour zigzag
B.Sélectionnez la largeur de point "0".
* Lorsque le sélecteur de largeur de point se touve sur une position autre que "0", la machine could en zigzag.
C.Tournez la molette de selection du point pour selectionner le point droit (point n°2).
D.Sélectionnez une longueur de point entre "1" et "4".
E. Placez la molette de réglage de la tension du fil sur "4".
- Placez le tissu sous le pied-de-biche. Abaissez l'aiguille en appuyant sur la touche pour relever et abaiser l'aiguille.
Baissez le levier du pied-de-biche. - Appuyez sur la touche marche/arrêt et commencez à coudre.
- Si vous utilisez la pédale, appuyez dessus avec le pied pourmettre la machine en marche.
- Les 2 ou premiers points se feront très lentement.
Sortir le tissu
F.Appuyez sur la touche marche/arrêt pour arrêté la machine.
* Si vous utilisez la pédale, relâchéz la pression.
G.Relevez le levier du pied-de-biche et repoussez doucement le tissu vers la gauche.
H.Coupez le fil excédante avec le coupe-fil.


Deutsch
NAHEN
Geradstich
WARNHINWEISE
Couture en sens inverse Pour renforcer les coutures, il est conseilé de commencer et de terminer la couture en faisant quelques points en sens inverse.
A·Marquez un repere a l'endetroit ou doit commencer ou s'arreter la couture en sens inverse.
- Placez le tissu sous le pied-de-biche de manière à ce que l'aiguille penètre dans le tissu à l'endroit où doit commencer la couture en sens inverse.
Baissez le levier du pied-de-biche.
1 Couture en sens inverse
2 Couture dans le sens de la marche
3 Couture en sens inverse
B Appuyez sur le levier de marche arriere et commencez a coudre en sens inverse. La vitesse sera de 90 à 150 tr/min. Reglez la vitesse a l'aide du curseur de réglage de la vitesse.
- Relâchéz le levier pour arrêter la couture en sens inverse.
Réglage de la tension du fil.
Une couture est équilibrée lorsque la tension du fil supérieur et celle du fil de la bobine sont identiques et que les fils se nouvent au milieu des épaisseurs de tissu.
Placez la molette de réglage de la tension du fil sur "4" pour effectuer une couture normale.
Pointsirreguliers
b:Le point supérieur est trop tendu Cela signifie que le fil supérieur est trop tendu.
Pour réduire la tension, tournez le sélecteur vers un chiffre plus petit.
:Le point supérieur est trop lache Cela signifie que le fil supérieur est trop lache.
Pour tendre le fil, tournez le sélecteur vers un chiffre plus grand.

C
Deutsch
NAHEN
Rückwärtsstich
Pour obtenir un meilleur résultat, réduisez legerement la tension du fil supérieur.
Point zigzag de base
A.Fixez le pied-de-biche pour zigzag
Pied-de-biche pour zigzag
B.Sélectionnez une largeur de point entre "3" et "6".
C.Tournez la molette de selection du point pour selectionner le point en zigzag (point n^2
D.Sélectionnez une longueur de point entre "0,5" et "4".
E.Réduisez légèrement la tension du fil
Réglage de la tension du fil
Le fil de la canette apparait a l'endetrot du tissu.
Donnez du mou au fil en tournant le sélecteur vers un chiffre plus petit.
Le fil supérieur apparait à l'envers du tissu.
Tendez le fil en tournant le sélecteur vers un chiffre plus grand.


Deutsch
NAHEN
Zickzack-Stich
Le surfilage empêche le bord du tissu de s'effilocher.
1.Le tableau ci-dessous vous aide aCHOISIR le point et le pied-de-biche les dernux adaptés au tissu utilise.
*Selectionnez toujours une largeur de point de "5" lorsque vous utilisez le pied-de-biche pour surfilage.
| Tissu Point | Largeur de point | Longueur de point | Pied-de-biche Aiguille | ||
| Léger | No.5 | 4 ~ 6 | 1 ~ 2 | Pied-de-biche pour zigzag | Aiguille standard #75/11 |
| Moyen | No.2 | 5 | 1 ~ 4 | Pied pour surfilage | Aiguille à pointe arrondie (tissu élastique) Aiguille standard #75/11 ~#90/14 |
| Lourd | No.19 | 5 | 4 | Aiguille à pointe arrondie (tissu élastique) Aiguille standard #90/14 ~#100/16 |
Deutsch
Versaubern
-
Tournez le volant jusqu'à ce que l'aiguille se déplace vers la droite. Placez le tissu de manière à ce que l'aiguille s'enforce légèrement en dehors du bord du tissu.
-
Abaissez l'iguille.
Baissez le levier du pied-de-biche et commencez a coudre.
Lorsque vous utilisez le pied-de-biche pour surfilage, veillez à ce que le guide du pied-de-biche reste contre le bord croit du tissu.
Appliques
A. Faites un dessin de l'applique sur le tissu et découpez-le.
- Placez la pièce ainsi découvertes sur le tissu de base et fixez-la en faufilant ou avec des épinges.
B. Cousez les bords de l'applique en point zigzag.
Utilisez une largeur de fil de "3" ou "4" et une longueur de fil entre "0,5" et "2", en fonction de la taille et de la forme de l'applique et du tissu de celle-ci.
* Pour faire descoins ou de petits cercles, arrêtez la machine en veillant à ce que l'aiguille soit enforcée à l'extérieur du bord, levez le levier du pied-de-biche et tournez le tissu.

A

B
Deutsch
Couture d'ourlet invisible
La couture d'ourlet invisible permet de coudre des oulets de manière praticquement invisible lorsque le fil est assorti au tissu.
A. Fixez le pied-de-biche pour couture d'ourlet invisible
Pied-de-biche pour couture d'ourlet invisible
B. Tournez la molette de selection du point pour selectionner le point d'ourlet invisible (point n^4 Reglez la largeur du point entre "4" et "6" et sa longueur sur "1" ou "2".
C. Pliez le tissu comme illustré.
- Faufilez ou appuyez sur le pli avant de coudre.
D. Placez le tissu de manière que le zigzag prenne un ou deux fils dans le bord replie.
E. Baissez le levier du pied-de-biche.
A l'aide de la vis de réglage, assurez-vous que le pied-de-biche passe contre le pli.
Couture correcte
En dépliant le tissu, vous en voyagez que des points presque invisibles.
Coutures incorrectes
- Points trop larges sur l'endetroit
L'ourlet n'est pas cousu
D
E

F

Deutsch
Blindstich
Cette machine vous permet de confectionner des boutonnieres adaptées à la taille des boutons.
Remarque:
Le diamètre maximal possible pour les boutonnieres est de 2.7 cm. Ne pas utiliser de boutons ronds, écais ou de forme spéciale.
- Sur un tissu élastique ou léger, il est recommandé d'utiliser un stabilisateur pour obtenir une meilleure finition.
A. Fixez le pied pour boutonniere.
Pied pour boutonniere
B. Tournez la molette de selection du point pour selectionner le point pour boutonniere (point n^1 Selectionnee une longueur de point entre "0.4" et "0.6". Selectionnee une largeur de boutonniere de "4" ou "5".
C. Tracez des repères sur le tissu aux endroits où vous allez faire les boutonnieres, comme le montre l'illustration. Position de départ
D. Placez un bouton dans le tiroir ⑧. Placez le tissu de manière a ce que le repere trace se trouve en dessous de l'aiguille. Baissez le levier du pied-de-biche.
Tirez sur le fil supérieur et place-le sous le pied-de-biche, avec le fil de la canette. Pied-de-biche pour boutonniere

C

D
Deutsch
Knopflöcher
E. Abaissez le levier de boutonniere, puis poussez-le vers l'arriere jusqu'à ce vous entendiez un déclic.
- Appuyez sur la touche marche/ arrêt et commencez à coudre.
Si vous utilisez la pedale, appuyez dessus avec le pied pourmettre la machine en marche.
F. La confection de la boutonniere se fait dans l'ordre ① à ④, comme illustrre.
-
Arrétez la machine lorsque l'aiguille atteint la position de départ ①.
-
Si vous utilisez la pédale, levez le pied.
G. • Relevez le levier du pied-de-biche et enlevez le tissu.
- Pour renforcer la boutonniere, sortez le fil supérieur par l'envers du tissu, en tirant sur l fil de la canette, et faites un noeud.
AVERTISSEMENT
Pour éviter tout risque de blessures, ne tenez pas le découceur avec la pointe vers vous main.
H. A l'aide d'un découseur, pratique une ouverture au milieu de la boutonniere.
- Pour ne pas couper trop loin, placez une épingle aux points d'arrêt.

G

H
Deutsch
Si la boutonniere n'est pas reussie Si la boutonniere n'est pas reussie, prenez les mesures suivantes avant de la refaire.
A. Les cotes ① et ② de la boutonniere sont ratés
1 Relevez le levier de boutonniere.
2 Relevez le pied-de-biche et sortez le tissu.
3 Decousez toute la boutonniere (a l'aide du decouseur).
4 Sortez le fil de l'aiguille et faites 10 points.
5 Recommencez la boutonniere depuis le début.
B. Les cotes ③ et ④ de la boutonniere sont ratés
1 Relevez le pied-de-biche et sortez le tissu.
2 Decousez toute la boutonniere (a l'aide du découseur).
3 Recommencez la boutonniere depuis le début.
Equilibrage du point
C. Sur certains tissus, il est parfois nécessaire d'équilibrer les côtes gauche et droit de la boutonnière. Pour ce faire, réglez le point à l'aide du bouton de réglage du point de boutonniere, situé à l'arrière de la machine. Servez-vous d'une piece de monnaie ou d'un tournevis pour tournier le bouton.
D. Si les points du côte croit de la boutonniere sont trop serrés, tournez le bouton de réglage du point de boutonniere dans le sens —.
E. Si les points du cote gauche de la boutonniere sont trop serrés, tournez le bouton de réglage du point de boutonniere dans le sens

C

D

E
Deutsch
Le pied spécial pour fermétures éclair permet de coudre facilement les fermétures éclair.
Cousez d'abord le côte gauche de la fermeture éclair.
A. Placez le piez-de-biche de maniere à ce que le support du pied-de-biche soit fixé à la goupille droite.
B. Tournez la molette de selection du point pour selectionner le point droit (point n°2). Reglez la largeur du point sur "0" et sa longueur sur "2" ou "3".
C. Mettez le tissu et la fermeture éclair en place et fafilez-les.
D. Placez le tissu de maniere a ce que la fermeture eclair se situe a droite du pied-de-biche.
E. Baissez le levier du pied-de-biche.
- Cousez jusqu'à ce que le pied-de-biche touche légèrement lecurseur et que la machine s'arrête.
F. - Abaissez l'aiguille.
Relevez le levier du pied-de-biche.
- Tournez le tissu pour placer le curseur de la fermeture éclair derrière le pied-de-biche.
Baissez le pied-de-biche et cousez jusqu'au bout.
G. - Enlevez le pied-de-biche de son support et fixez le support a la goupille gauche.
Cousez le cote croit de la fermetre éclair en suivant les étapes D à F.
* Le fait de coudre dans le même sens permet d'obtenir un résultat plus équilibré.

E

F

G
Deutsch
Le point elastique convient parfaitement pour renforcer les coutures ou coudre sur du tissu elastique.
Pour coudre sur un tissu elastique comme, par exemple, du jersey, il est recommendé d'utiliser des aiguilles à pointe arrondie pour obtenir des coutures plus nettes.
A. Fixez le pied-de-biche pour zigzag
Pied-de-biche pour zigzag
B. Reglez la longueur et la largeur du point d'après les indications données sur I'ecran LCD.
C. Tournez la molette de selection du point pour selectionner le point droit (point n°20).
D. Sélectionnez la longueur de point "4".
E. Placez le tissu sous le pied-de-biche.
Abaissez l'aiguille.
Baissez le levier du pied-de-biche et commencez à coudre.

C


D

E
Deutsch
Stretchstich
Le nettoyage et le graissage réguliers de la machine garantissant un fonctionnement optimal de cette-ci.
Remarque:
Elevez les taches avec un chiffon doux.
- Evitez tout contact de la machine avec de l'eau.
N'utilisez pas de détengent, d'eau de Javel, de benzène ou de diluant.
Ils poursraient decolorer ou fissurer le matériel.
Nettoyage de la zone ou se trouvent la griffe d'entrainement et la navette (comment enlever le logement de la canette)
Si du fil est coincide dans le logement de la canette ou la navette, suivez les instructions cidesous pour enlever le logement de la canette.
A - Debranche la machine et enlevez l'aiguille et le pied-de-biche.
B - Retirez le couvercle de la canette en le faisant couilisser vers vous, puis retirez la canette.
C - Introduisez la pointe d'un tournevis dans l'ouverture située du cote croit, à l'arriere de la plaque d'aiguille.
Poussez le tournevis vers l'arrière pour dégager la plaque d'aiguille.
D • Soulevez le logement de la canette dans votre direction et sortez-le.
- Enlevez toutes les peluches et la poussière du logement de la canette.

D
Deutsch
Wartung
E. A l'aide d'un chiffon doux ou d'une brosse, enlevez tous les fils et la poussière qu'il puisse y avoir sur et autour de la griffe d'entrainment et de la navette. Vous pouvez utiliser un aspirateur pour enlever les fils.
Mise en place du logement de la canette
A. Remettez le logement de la canette en place.
B. Placez la plaque d'aiguille sur le logement de la canette et faites-la coulisser vers l'arriere.
C. Assurez-vous que le volant tourne sans a-coup.
Lorsque le logement de la canette est mal mis en place, le volant devient dur et ne tourne pas librement.
Sortez le logement de la canette et remettez-le en place.


Deutsch
Pour votre sécurité, débranchez toujours la machine de la prise de courant.
Pour éviter tout risque de brûlures et de décharges électriques, laissez l'ampoule refroidir avant de la remplacer.
Vous pouvez vous procurer des ampoules chez le revendeur le plus proche.
(Utilisez toujours des ampoules T10 de 12V 5W)
A. Assurez-vous que la machine est débranchée et que l'ampoule est froide.
- Desserrez la vis du panneau l'italéral et enlevez-le comme l'indique l'illustration.
B. Tirez doucement sur l'ampoule vers le bas pour l'enlever.
- Placez une ampoule neue en la poussant vers le haut jusqu'à la butée.
C. Baissez la tige du levier de réglage de la pression du pied-de-biche.
D. Introduisez la tige dans le levier de réglage de la pression du pied-de-biche. Remettez le panneau l'atéral en place.
E. Assurez-vous que le levier de réglage de la pression du pied-de-biche rouge sans a-coup. Si ce n'est pas le cas, retirez le panneau l'etal et recommencez les étapes C à E.

C
D


E
Deutsch
L'écran LCD affiche des messages d'erreur lorsque la machine n'est pas correctement utilisée.
Si I'un des messages suivants s'affiche, corrigez le problème en suivant les instructions ci-dessous.
Messages d'erreur et signaux sonores
| Message d'erreur Cause pos | sible et solution | ||
| L'écran clignote et un signal sonore retentit | # 2 3-6 0.5-4 | Solution | Baissez le levier du pied-de-biche. |
| Cause possi-ble | La touche marche/arrêt (ou le levier de marche arrrière) a été utilisé alors que le levier du pied-de-biché était relevé. | ||
| # 1 4-5 0.4-0.5 | Solution | Abaissez le levier de boutonnière, puis poussez-le vers l'arrière jusqu'à ce vous entendiez un déclic. | |
| Cause possi-ble | La touche marche/arrêt a été enforcée alors que le point de boutonnière est sélectionné (point n°1) et que le levier de boutonnière est relevé. | ||
| # 2 3-6 0.5-4 | Solution | Relevez le levier de boutonnière. | |
| Cause possi-ble | La touche marche/arrêt a été enforcée alors que le point de boutonnière est sélectionné (point n°1) et que le levier de boutonnière est relevé. | ||
| # 2 3-6 0.5-4 | Solution | Déplacez l'axe de bobinage de la canette vers la croite. | |
| Cause possi-ble | L'axe de bobinage de la canette s'est déplaced vers la gauche lors du bobinage de la canette. | ||
| # 2 3-6 0.5-4 | Solution | 1 Branchez correctement la pédale. | |
| Cause possi-ble | 1 N'appuyez pas sur la touche marche/arrêt lorsque la machine est reliée à la pédale. | ||
| 1 La pédale s'est débranchée pendant la couture. | |||
| 2 La touche marche/arrêt a été enforcée alors que la pédale était connectée à la machine à coudre. | |||
| Symboles clignotants※ Aucun signal sonore. | #20 0-6 4 | Solution | Sélectionnez la longueur de point adéquate. |
| Cause possi-ble | 1 Le sélecteur de largeur de point n'est pas en position "4" alors qu'un point élastique (points 11 à 20) a été sélectionné. | ||
| 2 Le sélecteur de largeur de point est en position "4" alors que les points n°1 ou n°13 à 10 ont été sélectionnés. | |||
| # 1 4-5 0.4-0.5 | Solution | Sélectionnez la largeur de point adéquate (sauf "0") | |
| Cause possi-ble | Le selecteur de largeur de point est sur "0" alors que le point sélectionné n'est PAS le point droit (point n°2) ou le point élastique (point n°12). | ||
Les problèmes repris ci-dessous ne sont pas dus à un defaulted de la machine.
Vérifiez la machine avant d'appeler un technicien.
Dépannage
| PAGEP | |||
| • La machine ne coud pas | L'axe de bobinage de la canette se trouve du côté droit. | Déplacez l'axe de bobinage de la canette vers la gauche. | P21 |
| La machine est mal branchée. | Connectez correctement le cable d'alimentation électrique à la prise murale et à la machine. | P13 | |
| L'interrupteur est sur "0". | Placez l'interrupteur sur "I". | ||
| • L'écran LCD d'information n'affiche aucune indication. | La machine est mal branchée. | Connectez correctement le cable d'alimentation électrique à la prise murale et à la machine. | P13 |
| L'interrupteur est sur "0". | Placez l'interrupteur sur "I". | ||
| • Bruit anormal • Vitesse trop lente | Des peluches sont coincéées dans la navette. | Nettoyez la navette et la griffe d'entrainment. | P71 |
| Des peluches sont coincéées dans la griffe d'entrainment. | |||
| • L'aiguille casse | L'aiguille est mal posée. | Placez l'aiguille correctement. | P39 |
| La vis de fixation de l'aiguille est desserrée. | Serrez la vis de l'aiguille. | ||
| Le fil supérieur est trop tendu. | Réglez la tension du fil. | P49 | |
| L'aiguille est trop fine pour le tissu ou elle est piée. | Utilisez une aiguille appropriée. | P39 | |
| • L'enfile-aiguille ne fonctionne pas. | Une aiguille #65/9 est utilisée. | Reportez-vous à la page 42 pour savoirquel fil etquelle aiguille utiliser. | P42 |
| L'aiguille ne se trouve pas dans sa position la plus élevée. | Relevez l'aiguille dans sa position la plus haute. | P33 | |
| L'aiguille est mal posée. | Placez l'aiguille correctement. | P39 | |
| L'aiguille est piée. | Placez une nouvelle aiguille. | ||
| Le crochet de l'engile-aiguille est pié. | Redressez le crochet avec un tournevis, de manière à ce que le crochet entre dans le chas de l'aiguille lorsque le levier de l'enfile-aiguille est abaisse. | P35 | |
| Le fil est mal placé sur le guide de l'aiguille. | Faites correctement passer le fil par le guide de l'aiguille. | P33 | |
| • Le fil est trop apparent sur l'endroit du tissu Envers Endroit | Le fil de la canette est mal acheminé. | Acheminez le fil de la canette correctement. | P25 |
| Le fil supérieur est trop tendu. | Réglez la tension du fil. | P49 |
Si le probleme subsiste, prenez contact avec le revendeur le plus proche ou appelez le service technique.
Voutrouvrez les informations sur les points de vente et le service technique dans le certificat de garantie.
| PROBLEME CAUSE | SOLUTION | PAGE | |
| • Le fil est trop apparent sur l'envers du tissu.EnversEndroit | Le fil supérieur est mal acheminé(Le fil ne passes pas par la plaque de tension) | Acheminez le fil supérieur correctement. | P29 |
| Le fil supérieur est trop tendu. | Réglez la tension du fil. | P49 | |
| • Le fil supérieur se casse | Le fil supérieur est mal acheminé. | Acheminez le fil supérieur correctement. | P29 |
| Le fil de la canette est mal acheminé. | Acheminez le fil de la canette correctement. | P25 | |
| Des peluches sont coincées dans la navette. | Nettoyez la navette et la griffe d'entrainment. | P71 | |
| Le fil supérieur est trop tendu. | Réglez la tension du fil. | P49 | |
| L'aiguille est piée ou émoussée. | Placez une nouvelle aiguille. | P39 | |
| • Le fil de la canette se casse | Le fil de la canette est mal acheminé. | V'Achemiez le fil de la canette correctement. | P25 |
| • La machine saute des points | L'aiguille est mal posée. | Placez l'aiguille correctement. | P39 |
| L'aiguille est piée. | Placez une nouvelle aiguille. | ||
| L'aiguille ou le fil ne conviennent pas au tissu utilisé. | Utilisez un fil et une aiguille appropriés. | ||
| L'aiguille est mal enfilée. | Enfilez à nouveau l'aiguille. | P29 P33 | |
| Le fil supérieur est mal acheminé. | Acheminez le fil supérieur correctement. | P29 | |
| • Formation de faux plis | Le fil supérieur est trop tendu. | Réglez la tension du fil. | P49 |
| Le fil supérieur est mal acheminé. | Acheminez le fil supérieur correctement | P29 | |
| Le fil de la canette est mal acheminé. | Acheminez le fil de la canette correctement. | P25 | |
| L'aiguille est trop grossse pour le tissu. | Utilisez un fil et une aiguille appropriés. | P39 | |
| La pression du pied-de-biche est trop grande. | Relevez le levier de réglage de la pression du pied-de-biche. | P19 | |
| • La machine ne fait pas avancer le tissu correctement. | Des peluches sont coincées dans la griffe d'entrainment. | Nettoyez la navette et la griffe d'entrainment. | P71 |
| Le pied-de-biche n'exercce pas une pression suffisante. | Abaisssez le levier de réglage de la pression du pied-de-biche. | P19 | |
| La griffe d'entrainment est baisseée. | Relevez la griffe d'entrainment. |
Deutsch
La griffe d'entrainment supérieure, qui se trouve sur le pied-de-biche, assure un entrainment fiable du tissu. Pour coudre plusieurs couches à la fois.
2. Pied-de-biche pour raccommoder
Le ressort incorpore permet a ce pied-de-biche de se déplacer avec l'aiguille. Il sert a raccommoder et a matelasser.
3. Pied-de-biche en teflon (plastique)
Evite que des matières telles que le vinyle ou le cuir adhérent au pied-de-biche.
4. Pied-de-biche pour fermétures éclair invisibles
Permet de coudre facilement des fermétures éclair escamotées.
5. Guide à matelasser
Joint au pied mobile. Elle sert de guide pour étabir une distance précise d'un point à un autre. Pour l'utiliser, il faut l'introduire dans le trou situé à l'arrière du pied mobile.
6. Pied-de-biche et plaque d'iguille pour point droit
Les utiliser pour faire des coutures en point droit sur des tissus très legiers.
7. Pied-de-biche transparent
8. Pied-de-biche pour doublure etroite
Permet de coudre facilement des doublures étroitement roulées.
- Vous pouvez vousrialquer des accessoires optionnels chez le revendeur le plus proche.
Nederlandsl
Accessoirelijst
1. Loopvoet
\section*{Charactéristiques}
| Modèle | EZ1-U2-3DLCD |
| Crocket | Horizontal |
| Aiguille | Aiguille standard (HA-1) |
| Type de canette | Plastique (hauteur 11 à 11,6 mm / diamètre 20,5 mm) |
| Largeur maximale de point | 6 mm |
| Longueur maximale de point | 4 mm |
| Vitesse | Max: 700 tr/min. Min: 90 tr/min. |
| Position de l'aiguille | Centre |
| Poids | 9 kg |
| Dimensions de la machine | Largeur: 435 mm Profondeur: 195 mm Hauteur: 325 mm |
| Caractéristiques électriques | CA 220-240V 50 / 60 Hz 40 W (ampoule de 5 W) |
| Pédale | 678560-AGA10 |
Deutsch
Technische Daten
Notice Facile