Terratrac TT 77 - Tracteur AEBI - Notice d'utilisation et mode d'emploi gratuit
Retrouvez gratuitement la notice de l'appareil Terratrac TT 77 AEBI au format PDF.
| Type de produit | Tracteur AEBI Terratrac TT 77 |
| Caractéristiques techniques principales | Moteur diesel, 4 cylindres, refroidissement liquide |
| Puissance | 77 ch (56,5 kW) |
| Transmission | Transmission hydrostatique |
| Dimensions approximatives | Longueur : 3,2 m, Largeur : 1,5 m, Hauteur : 2,1 m |
| Poids | Environ 1 800 kg |
| Capacité de charge | 1 000 kg |
| Vitesse maximale | 20 km/h |
| Utilisation | Idéal pour l'agriculture, l'entretien des espaces verts et les travaux de déneigement |
| Système de direction | Direction articulée |
| Entretien et nettoyage | Vérification régulière des niveaux d'huile, nettoyage des filtres et entretien du moteur |
| Pièces détachées et réparabilité | Disponibilité de pièces détachées auprès des revendeurs AEBI |
| Sécurité | Équipé de ceintures de sécurité, protection contre les retournements |
| Informations générales | Tracteur polyvalent, conçu pour une utilisation sur terrain accidenté |
FOIRE AUX QUESTIONS - Terratrac TT 77 AEBI
Questions des utilisateurs sur Terratrac TT 77 AEBI
0 question sur cet appareil. Repondez a celles que vous connaissez ou posez la votre.
Poser une nouvelle question sur cet appareil
Téléchargez la notice de votre Tracteur au format PDF gratuitement ! Retrouvez votre notice Terratrac TT 77 - AEBI et reprennez votre appareil électronique en main. Sur cette page sont publiés tous les documents nécessaires à l'utilisation de votre appareil Terratrac TT 77 de la marque AEBI.
MODE D'EMPLOI Terratrac TT 77 AEBI
| Table des matières | Contrôles importants | 27 |
| Données techniques | 28 | |
| Maniement | 31 | |
| Entretien | 34 | |
| Montage des outils de travail | 40 | |
| Technique de conduite en général | 43 | |
| Technique de conduite dans les pentes | 44 | |
| Outils de travail en action | 45 | |
| Plan de graissage | 48 | |
| Plan d'entretien | 49 | |
| Conditions de garantie |
Contrôles importants
Avant chaque mise en marche:
- Niveau d'huile du moteur (voir page 48). Faire contrôle sur sol plat.
- Réserve de carburant. Ne jamais laisser le réservoir se vider complètement, pour ne pas être obligé de désaérer les conduites.
- Pression des pneus. Pression minimale = 0,5 bar (atm), voir page 39.
- Nettoyer grille d'aspiration d'air devant le conducteur, le radiateur et du côté droit (voir page 34).
- Filtre à air. Dès que le rouge apparait à l'indicateur de dépression, nettoyer le filtré à air (voir page 34).
- La vis des étriers-supports de l'hydraulique frontale.
- Essai des freins (sécurities dans les pentes).
- Installation électrique: clignoteurs, stop et phares.
- Lors de températures en-dessous de 0^ , contrôle si les freins sont gelés.
Pendant le travail:
- Surveiller les lampes témoin rouge et verte; si les lampes s'allument, arrêter immidiatement le moteur. Chercher cause du dérangement (voir page 31).
- Température de l'eau de refroidissement. L'orsqu'elle dépasse 100^ nettoyer les grilles d'aspiration d'air (voir page 34).
- Surveiller le clinomètre sur les pentes (voir page 43).
Données techniques
| Mateur | Type: Perkins 4 cylindres Diesel, type 4.108 à refroidissement par eau, cylindrée 1760 cm3 | |
| Embrayages | Commande des roues: Embrayage sec à disque unique Prise de force: Embrayage à lamelles à disques multiples | |
| Boîte à vitesses | Vitesses à 3000 t/min du moteur, marches avant et arrière: L1 = 2,9 km/h S1 = 10 km/h L2 = 4,8 km/h S2 = 16,5 km/h L3 = 7,1 km/h S3 = 24,4 km/h | |
| Prises de force | Dépendantes du moteur à l'avant et à l'arrière, profil normalisé 13/8" selon DIN 9611, tournant à droite (vu sur l'arbre), em-brayables sous charge, en plus débrayables à l'avant. Vitesses à 3000 t/min du moteur: avant = 530 t/min, arrière = 545 t/min. | |
| Arbre à cardan | Frontal: libre et de chaque côté profil normalisé 13/8" selon DIN 9611 (d'autres indications voir page 45). | |
| Commande des essieux | Commande sur les 4 roues, débrayable à l'avant. Blocage des différents avant et arrière, avec leviers de préselection. | |
| Direction | Direction hydrostatique sur roues avant. | |
| Pneus | Pneus Terra WXT 31×15,5-15, 4 PR (Pression des pneus voir page 39). | |
| Freins | Frein mécanique au pied et à main, les deux agissant sur les 4 roues, freins individuels de braquage à l'arrière. | |
| Siège | Siège de santé «Bostrom» à redressement horizontal rapide facilitant les trajets horizontally dans les pentes réglable également en longueur. | |
| Hydraulique frontale | 3-points cat. 1, étriers portes-outils et barre supérieure déplaçables à gauche et à droite. Moto-pompe et distributeur pour la commande des 5 fonctions. Force de levage environ 620 kg à 180 bar (atm). (D'autres indications voir page 40). | |
| Hydraulique arrière (sur demande) | 3-points norm. cat. 1, avec chaînes pour la stabilisation latérale. Moto-pompe et distributeur pour diriger les 3 fonctions. Force de levage env. 770 kg à 180 bar. (D'autres indications voir page 41). | |
| Installation électrique | 12 V, alternateur 420 W, masse négative, démarreur 2 kW, batterie 88 Ah. | |
| Dispositif de traction (sur demande) | a) Accoulement de remorquage en haut sur la prise de force, pivotant, hauteur depuis le sol 750 mm, broche Φ 30 mm (autres indications voir page 42). b) Crochet d'attelage en bas, sous la prise de force, hauteur depuis le sol 300 mm, broche Φ 25 mm. | |
| Charge sur essieux | Admissibles: Essieu avant 1250 kg, essieu arrière 1700 kg | |
| Poids | Poids total admis, conducteur compris Poids à vide avec cabine | 2500 kg 1325 kg |
| Capacité des réservoirs | Radiateur | 9,6 litres |
| Réserveur à carburant | 35 litres | |
| Huile voir page 48 | ||

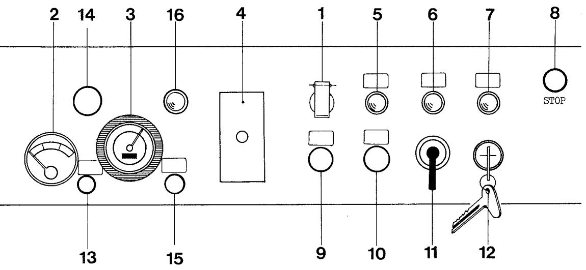
Fig. 1
1 Prise de courant pour essuie-glace
2 Thermomètre
3 Compteur d'heures
4 Boite a fusibles
5 Lampe temoin pression d'huile (vert)
6 Lampe témoin clignoteur (jaune)
7 Lampe témoin batterie (rouge)
8 Bouton d'arrêt
9 Interrupteur luiere
10 Bouton pour installation lave-glace
11 Commutateur du clignoteur
12 Starter
13 Commutateur pour essuie-glace
14 Commutateur feuix de panne
15 Commutateur feuix de route
16 Lampe témoin feuux de route (bleu)

Fig. 2
20 Embrayage
21 Frein a main
22 Frein au pied
23 Gaz au pied
24 Hydraulique frontale (voir page 33)
25 Blocage du différentiel avant
26Commandesurles4roues
27 Réglage du siège
28 Changement de vitesses
= rapides
= lentes
29 Sens de marche
30 Embrayage pris de force
31 Hydraulique arrête
$$ \begin{array}{l} H = \text {H e b e n} (\text {l e v e r}) \ O = \text {T r a g e n} (\text {p o r t e r}) \ S = \text {S e n k e n} (\text {a b a i s s e r}) \ \end{array} $$
32 Remplissage de carburant
33 Blocage du différentiel arrêté
34 Frein de braquage gauche
35 Prise de force avant
36 Frein de braquage droite
37 Levier de réglage pour poids du conducteur
38 Clinometre
Maniement
Demarrage du moteur (voir pages 29 et 30)
- Presser à fond sur le bouton d'arrêt 8.
- Appuyer à fond sur la pédale d'embrayage 20 et passer sur 0 le levier d'embrayage de la prise de force 30.
- Donner plein gaz, le levier des gaz à pied ou des gaz à main (à la colonne de direction). Donner moins de gaz si pendant le démarrage le moteur se met à fumer fortement.
-
Clef de contact (fig.3)
-
introduire la clef de contact (position 1)
— tourner à droite (position 2). Les lampes tiemoin huile et batterie (7 rouge et 5 verte) doivent s'allumer - continuer de tourner à droite jusqu'à la butée (position 3) — Temps d'incandescence 10-12 secondes. Lorsque le moteur est chaud, pas d'incandescence nécessaire!
— pousser la clèf de contact à fond et la tourner ensuite jusqu'à la butée finale (position 4). L'opération de démarrage ne doit pas prendre plus de 10 sec. maximum.

Fig. 3
1 Point mort
2 Marche
3 Incandescence
4 Demarrage
- Une fois le moteur lance, les lampes tiemoin verte et rouge doivent s'eteindre. Sinon arrêter tout de suite le moteur.
-Si la lampe temoin verte s'allume: la pression d'huile et donc le graissage font defaut. Contrcler le niveau d'huile ou recherche une autre cause du dérangement.
-Si la lampe temoin rouge s'allume: la batterie ne se recharge plus. Contrcler les courroies trapezoidales pour refroidissement et alternateur et les connexions electriques.
Marchedu moteur
Pendant les premières 25 heures de marche, moteur doit être rode (ne jamais donner longtemps plein gaz). Surveiller les lampes tiemoins rouge et verte aussi pendant la marche, de même que la température de l'eau de refroidissement (voir grille d'aspiration d'air fig. 5, page 34).
| Arrêt du moteur | 1. Réduire les gaz 2. Tirer le bouton d'arrêt 8 jusqu'à ce que le moteur s'arrête, puis rentrer complètement le bouton 3. Ramener la clef de contact en arrrière (position 1) Après un gros effort de marche, faisser tourner le moteur encore quelles instants au ralenti avant son arrêt (compensation de température). |
| Changement de vitesses | 1. Passer le levier de changement de vitesses 28 sur la préselection «lent» ou «rapide」. 2. Passer ensuite le même levier sur la vitesse voulue (1 à 3). 3. Pousser en avant ou en arrrière le levier du sens de marche 29. Avant chaque déplacement de levier, pousser à fond la pedale d'embrayage. Ne jamais force les leviers, mais embrayer briè- vement et repêter l'opération. Ne pas utiliser la pedale d'em- brayage comme repose-pied. Attention: Desserrer les freins avant d'embrayer et ne pas lâcher brusquement l'embrayage! |
| Commande sur les 4 roues | Embrayer: Tirer le levier 26 vers le haut jusqu'à son enclenchement. Débrayer: Il est préférible de débrayer pendant la marche. Tirer le levier sans forceur vers le bas. Pour cela, débrayer si nécessaire. Si le levier reste coincide, modifier la direction du vehicule. Dans le terrain et sur des routines naturelles déclives, circuler avec la commande sur les 4 roues. |
| Blocage des différents | Bloquer: Tirer vers l'arrière le levier 25 ou 33 - lorsque dans le terrain une roue patine et abîme le sol - lorsque dans une pente le dérapage des roues avant est trop pro- noncé, ne bloquer que l'essieu avant. Libre: Levier en avant - Parcours sur route à bonne adherence - pour circuler dans les virages et tourner dans le terrain Ne jamais bloquer les différentes plus longtemps que nécessaire! |
| Freins de braquage | Levier 36 en avant: le TT 77 avance à droite Levier 34 en avant: le TT 77 avance à gauche Ne pas utiliser les freins de braquage sur les voies publiques! |
| Freins | Frein au pied = Frein de circulation Frein à main = Frein d'arrêt et de réserve Arrêt en côte: Mettre si possible le vehicule en travers de la pente. Si pas possible, procéder comme suit: - engager la plus petite vitesse d'avancement en冲动 et embrayer la commande sur 4R - Serrer le frein à main - Mettre la direction amont |
| Attention: Lors de températures en-dessous de 0 °C, ne pas em- ployer le frein à main pour stationner (les garnitures de frein pourraient geler). Àpres une pause de travail, lors de mêmes températures, tousjours démarrer avec le levier sur «rapide» (®, ou S), afin que, si les freins devaient être gelés, il ne se présente pas de surcharge dans la commande. Si le moteur cale, les freins sont gelés et doivent d'abord être dégelés. | |
| Prises de force | Engager les prises de force avant: Passer sur 0 le levier d'embrayage 30, engager à fond sur positio tion 1+2 le levier d'embrayage 35 en donnant peu de gaz, voir «Em- brayer»; arrière: Si la prise de force est engagée directement avec le levier d'em- brayage 30, voir «Embrayer». Embrayer: Manier le levier d'embrayage 30 comme la pédale d'em- brayage, c.-à-d. tirer lentement vers l'arrière en donnant peu de gaz. Si pour actionner le levier d'embrayage il faut une force inférieure à 4,5 kg, il y a lieu de régler l'embrayage (voir page 36, fig. 9). |
| Hydraulique | Hydraulique frontale: Levier d'embrayage (position et fonctions) ⇔ = Abaisser et flotter (outil reposant de tout son poids sur le sol et flottant librement en hauteur) O = Porter ⇔ = Lever L = Charger (augmentation de la pression dans l'hydraulique de décharge) M = Décharger (une partie du poids de l'outil reportée sur l'essieu avant) Hydraulique arrière: Levier d'embrayage 31: H = Lever, O = Porter, S = Abaisser. |
| Eclairage | Tirer le commutateur lumière 1re étage = feu de position 2e étage = feu-code Tirer commutateur 15 = feu de route (lampe témoin bleue 16 est allumée) |
| Installation de signalisation | Commutateur du clignoteur 11: tourner le levier en sens voulu Tirer commutateur 14 = feu de panne Bouton de klaxon au volant: presser sur le bouton Support pour triangle de panne: sous le couvercle devant le tableau de bord |
| Installation lave-glace | Prise pour moteur 1: si le contact s'établit difficilement, tourner légèrement la fiche, nettoyer la prise si nécessaire. Commutateur pour moteur essie-glace 13: tirer le bouton Presser sur le bouton 10 de la pompe selon la nécessité Boîte à fusibles 4: disposition des fusibles indiquée dans le cou- vercle (pour feu de route, fuseible spécial sur le cable. Enlever le couvercle frontal TP 7353/1 pour l'échange des fusibles). |
| Réglage du siège | Réglage de l'inclination: pousser de la main droite le levier 27 vers le bas,mettre le siège avec le corps en position voulue jus- qu'à enclenchement. La main gauche reste au volant. Réglage en longueur: dévisser les vis sous le siège et faire glisser le siège dans les rainures. |
Entretien
Filtre à air (fig. 4)
Contrcler journellement le filtre a air supplémentaire g, en haut sur le garde-boue croit arriere. Si les depots de saleté depassent la marque sur la partie transparente du recipient, alors il faut le vider. Lorsque la partie rouge de l'indicateur de dépression apparait dans le regard a, nettoyer le filtre a air suppl. g et le filtre principal. Pour nettoyer le filtre principal, enlever le couvercle f, sorting la cartouche, la tapoter et souffler dedans depuis l'intérieur. Si nécessaire, nettoyer également la boite. Pour cela enlever de la boite le tuyau i et l'anneau de conduite d'air k. Remplacer la cartouche toutes les 400 heures. Avres le remontage, contrcler I'etanchete de la conduite i et les raccords des deux cotes. Presser sur la touche b pour faire rentrer I'indicateur de dépression rouge. Vérifier la fonction de la soupage de vidange de poussière h. Elle doit pouvoir bouger librement.

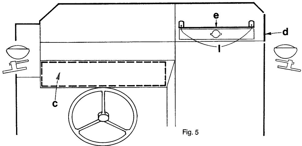
Grilles d'aspiration d'air (fig. 5)
Lorsque la température de l'eau de refroidissement dépasse 100^ (la partie rouge du thermomètre 2), faisser tourner le moteur une minute à vide, puis l'arreter. Nettoyer les grilles c, d et e. Si nécessaire, il est possible d'enlever par le haut la grille e devant le radiateur, au moyen des griffes I. Pour la remetre, accrocher d'abord en-bas, ensuite en-haut.

Le Terratrac est équipé d'un circuit de refroidissement avec réci-pient de compensation (capacité totale = 9,6 litres). Le couvercle du radiateur a doit être fermé de façon étanche au moyen du joint en caoutchouc b. Le circuit de refroidissement est valable pour toute l'année, c.-à-d. hiver comme éted; ajouter de l'antigel si nécessaire (-25 à -30^) . Contrôle du niveau de liquide dans le radiateur et dans le récipient de compensation:
- lorsque le moteur est froid, le recipient de compensation doit être rempli au 3/4 , le radiateur complètement;
- après un nouveau remplissage du circuit de refroidissement, il faut - après le premier employ - ajouter du liquide dans le recipient de compensation jusqu'àux 3 / 4
Le niveau du liquide dans le représentant monte lorsque le moteur se rechauffe, il descend lorsque le moteur se refroidit. Chaque automne, contrôle l'effet de l'antigel pour des températures de -25à -30^ .
Remplacement du contenu: Vidanger le radiateur c et le bloc du moteur d. Rincer à l'eau le radiateur et le bloc du moteur. Remplir d'un mélange eau-antigel de marques reconnues (-25à -30^)


Fig. 6
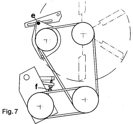
Tension des courroies trapezoidales (fig.7)
Les courroies trapézoidales sont tendues correctement lorsqu'à la pression elles cédent d'une distance correspondant à leur épaisseur. Avant de retendre la courroie du ventilateur, dévisser la vis de serrage e. Pour retendre la courroie de la pompe hydrau-lique, se servir de la vis de tension f, assurer cette dernière par un contre-écrou.

Batterie (fig. 8)
Les plaques doivent être couvertes d'acide, si ce n'est pas le cas, ajouter de l'eau distillée. Lorsque le vehicule est remisé, la batterie doit être rechargée toutes les 4 à 6 semaines. La batterie doit être demontee chaque année (démonter d'abord le pole négatif), nettoyer l'extérieur à l'eau froide et à la Brosse; de même que les connexions du cable. Enduire deGRAISSSE (vaseline, graissé àTRAIRE) goujons et brides de connexion. Le couvercle doit avoir une bonne assise sur la batterie (verifier position et fixation).

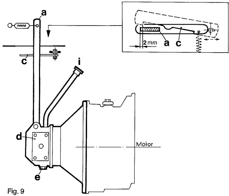
Embrayagede prisede force (fig.9)
Contrôle: Avec la balance à ressort livrée avec la machine, tirer le levier d'embrayage horizontally dans le trou a vers l'arrière, le moteur tournant à vide. Pendant le mesurage, pousser de côté la butée c. Si le levier d'embrayage peut être tiré avec une force inférieure à 4,5 kg, c'est qu'un réglage de l'embrayage par l'agent de service s'impose.

Réglage: Enlever la roue arrêté droite. Vider l'huile par la vis de vidange e. Enlever le couvercle d du carter. Débrayer l'arbre de prise de force et le tourner jusqu'à ce que la vis de serrage de l'écrou de réglage sur
le moyeu d'embrayage arrive vers l'ouverture de réglage. Dévisser la vis de serrage au moyen de la clef à 6 pans int. SW 3 mm et desserrer l'écroud'env. 5-10 mm sur le pourtour (dans le sens des aiguilles d'une montre, vu en direction de marche).
Resserrer la vis de sèrage et contrôle la force d'embrayage avec la balance à ressort, comme indiqué sous «Contrôle». En tirant avec une force de 5-6 kg sur le levier à main, celui-ci doit aller vers l'arrière. Remonter le couvercle d avec le joint. Mettre de l'huile neue dans la tube i (voir page 48).
Contrôler le chemin du levier d'embrayage a: Pousser la butée c de côté. Tirer le levier d'embrayage a vers l'arrière jusqu'àu fond du chemin d'embrayage. La butée dégagée doit retenir le levier d'embrayage 2 mm devant la position finale. Déplacer la butée si nécessaire.
Huile d'hydraulique - contrôle et replissage (fig. 10)
(voir aussi pages 48+49)
Ces opérations doivent se faire avec une grande propriété. Nettoyer d'abord le bouchon filtré a, la vis de replissage b et les alentours.
Dévisser le bouchon fileté par le 6-pans (non par le couvercle en tôle) et le déposer à un endroit propre. Nettoyer la jauge c retenue à l'avant par deux pince sur le radiateur et contrôle le niveau d'huile par la vis de replissage b. Pour ce contrôle tous les vérins raccordés doivent être

rentrés et le vérin de direction doit se couver en position mitoyenne = marche en ligne droite. L'eellet de la jauge doit reposer sur le tuyau de replissage. Lorsque le niveau d'huile n'atteint pas le minimum sur la jauge, c'est qu'il faut ajouter de l'huile propre jusqu'à la marque supé
rieure (voir tabelle, page 48 en haut). Remetre en place la jauge devant sur la radiateur. Revisser le bouchon filtré à fond.
S'il faut ajouter plus d'un litre d'huile (fuites aux conduites, réparation, raccord d'un nouveau verin de travail), désaérer le circuit en actionnant tous les vérins sous charge. Ensuite, contrôle à nouveau le niveau d'huile. En cas de fuites aux raccords, resserrer ces derniers immédiatement ou les faire réparer.
Réglage des freins
Necessaire dans les cas suivants:
—Le levier du frein à pied peut être abaisse jusqu' sur la tôle de fond
L'effet de freinage est unilatéral
-L'effet de freinage sur le pont arriere et l'essieu avant est insuffisant.
Réglage (fig. 11)
a) Soulever la roue. Enlever le bouchon en caoutchouc de la fenetre F. Tourner au moyen d'un tourne-vis la roue dentée G dans le sens de la flèche, jusqu'à perception d'une résistance (les deux machoires de frein appuient contre le tambour de frein).

b) Dévisser de 2 tours la vis à 6 pans E du système de centrage et la dégager par un coup de marteau. Resserrer ensuite la vis à 6 pans.
c) Dévisser la roue dentée G de 5 dents (les deux machoires de frein ne touchent pas le tambour, vide d'air 0,5mm ). Remetre en place le bouchon en caoutchouc.
Attention: Ne rien changer aux tringles de freins, leur effet étant coordonné.
Réglage du frein à ruban sur l'essieu avant (fig. 12)
Amener la machine sur une fosse ou la metre sur des cales. Dévisser le contre-écrou de la vis de réglage a et la tourner dans
le sens contraire aux aiguilles d'une montre. Bien regle, le frein à ruban répond immédiatement après le frein sur roues arrrière.

(Fig. 12)
Jeu de l'embrayage (fig.13)
Machine sur fosse ou sur cales. Le jeu de l'embrayage doit être de 5 mm. On peut l'obtenir par la vis de réglage e, après avoir dévissé le contre-écrou.

Pour les outils frontaux et arrêté montés normalement et d'un poids jusqu'à env. 350 kg, une pression minimale de 0,5 bar (atm) est nécessaire. Pour les engins lourds (p.e. distributeur d'engrais rempli, lame à neige) on choisisra la pression selon le tableau cédssous:
Charge sur essieu Pression
jusqu'à 1000 kg 0,5 bar (atm)
jusqu'à 1250 kg C,75 bar (atm)
jusqu'à 1500 kg 1,00 bar (atm)
jusqu'à 1700 kg 1,25 bar (atm)
Chambres à air pour pneus
Pour éviter, dans certains cas extrêmes, des pertes d'air dans les pneus, il est possible d'y ajouter une chambre à air (voir liste de pièces de rechange, page 1).
Vis de fermetre avec bouchon magnétique
Les vis de fermeture avec bouchon magnétique (voir page 48) aux carters d'essieux avant et arrrière, de même qu'à la boîte des vitesses attirrent les déchets métalliques d'abrasion. Les nettoyer à chaque vidange d'huile. Des dépôts eventuèlement importants sont à signaler immédiatement à l'agent de service.
Nettoyage par jet d'eau et vaporisation
Attention: Danger de corrosion pour l'inst. électrique. Recouvrir l'alternateur et le démarreur!
Montage des outils de travail
Montage des outils frontaux
Gracé à 2 crochets déplacables sur le cadre de releavage, les outils de travail peuvent être fixés sur toute la largeur de la barre. Pour la barre supérieure, il est prévu 3 points de fixation. Les outils de travail doivent être munis du 3-points normalisé cat.1 (DIN 9674 - grandeur 1). Force de levage aux crochets, voir données techniques page 28).
Instructions pour premier montage
Monter l'outil de travail dans toutes les positions possibles (quant à la hauteur, l'inclinaison et le déplacement l'etal) et examiner les points ci-après:
-L'arbre a cardan ne doit pas toucher a des points fixes.
- Les tubes profilés de l'arbre à cardan doivent, selon leur longueur,présenter au minimum le recouvrement suivant et ne doit pas coincer dans leur position la plus courte:
milieu au milieu arbre articulé recouvrement
750 1000 1250
200 275 350
Lorsqu'on raccourcit l'arbre à cardan, arrondir soigneusement la partie frontale du tube interieur et extérieur.
- Pour fauchues à fléaux, utiliser un arbre à cardan lourd (liste pièces de rechange page 41) et contrôle la longueur.
- Les roues avant ne doivent en aucune position toucher l'outil de travail.
-L'outil de travail ne doit pas-cache la signalisation du TT 77 lors des trajets sur route.
Instructions pour chaque montage (fig. 14)
Suite des opérations: Arrêteur au moyen des brides b les crochets à distance correspondant aux goujons z de l'outil et en position laterale voulue. Conduire le Terratrac, cadre de releavage abaisse, pres de l'outil et introduire les goujons z dans les crochets a. Pousser en avant la broche c. Raccorder l'arbre à cardan e à l'outil de travail. Poser la barre supérieure d le peux possible en

direction de marche, c.-à-d.CHOISIR sur le cadre de releveage le point de fixation adequat. Raccorder la barre supérieure à l'outil de travail au moyen de la broche s et assurer cette derniere. Mettre l'outil en position de travail par la barre supérieure, fixer ensuite cette derniere en longueur par I'ecrou a poignee g. Le support h doit reposer sur le tuyau du cadre de releavage. Pour circuler sur voies publiques, il y a lieu de placer 2 broches i dans le cadre de releavage et de les assurer par des chevilles a ressort.
Montage d'outils arrêté
Le Terratrac peut être équipé à l'arrière d'une mâchoire de traction et d'une hydraulique normale à 3-points (hydraulique arrière). Dimensions d'adaptation selon DIN 9675, grandeur 1, avec chaînes de fixation laterales. La machine est déjà munie d'un distributeur pour l'hydraulique arrière. Force de levage: voir données techniques page 28. Une mâchoire de traction est livrable pour les outils tractés.

Fig. 15
Indications pour le premier montage d'un outil de travail à l'hydraulique arrêté (fig. 15)
Suite des opérations: Reculer contre l'outil de travail. Pousser la barre inférieure a sur le goujon b et assurer au moyen de la fiche articulée c. Raccorder l'arbre à cardan au Terratrac. Accoupler l'outil par la barre supérieure d à la machine (grand œillet avec douille f à l'intérieur entre les attaches e. Assurer les deux broches g au moyen de la fiche articulée h. Regler la position de travail correcte de l'outil à la barre supérieure d et assurer l'écroude réglage par l'écrou à poignée i. Controler la liberté d'action et la longueur de l'arbre à cardan dans toutes les positions de l'outil (voir «montage d'outils frontaux»). En position supérieure, fixer létalement l'outil au moyen des chaînes d'arrêt k.
Lorsque l'outil n'est pas suffisamment relevant à l'arrière, la barre supérieure peut être fixée à l'avant dans l'accouplement de remorquage n (exécution sur demande) il faut alors que le crochet d'attelage soit tourné perpendicularément à l'aide de la barre supérieure raccordée.
Pour adapter la position transversale de l'outil par rapport au Terratrac, tourner au tendeur m après avoir dévisse l'écrou à poignée I. Se servir pour cela du mandrin qui se trouve dans la boite d'outillage. La poignée de l'écrou I doit, dans la position serrée, toujours se trouver vers l'avant au-dessus de la barre inférieure (fig. 15). Pour circuler sans outil, placer la barre supérieure dans le carquois (fig. 16), à l'arrière gauche du Terratrac. Lorsqu'il s'agit d'outils frontaux d'un poids supérieur à 250 kg placer un contre-poids à l'avant pour circuler dans les pentes (outil frontal ou contre-poids spécial).
Remorquer avec le Terratrac (fig.16)
Les outils avec timon en bas et prise de force en dessus sont à atteler au crochet d'attelage o (art. 4122 sur demande). Les remorques avec timon en haut et prise de force en dessous sont à atteler à l'accoupling de remorquage n (art. 4123 sur demande). Charge d'appui max. pour timon = 600 kg. Poids de remorque max. = 3500 kg.
L'orsqu'une remorque est attelée pour la première fois, s'assurer que dans les virages serrés vehicule et remorque ne subissant pas de dommages (prises de courant, leviers de commande, be-quilles etc.).
Pour les travaux de traction dans les pentes, ajouter un contre-poids à l'hydraulique frontale (outil ou contre-poids spécial). Un contre-poids en béton peut être commandé à l'agent. Un frein de remorque en bon état de fonctionnement, qui peut être actionné depuis le siège du Terratrac, permet de circuler en sécurité. Pour les remorques avec levier de frein à main déplacable, nous recommendons de faire faire un support p à fixer à l'arrière droit du Terratrac. Ainsi, et pour autant que les freins et les pneus soient en ordre, le remorque est freinée rapidement et suturement, sans entraver la conduite du vehicule.

Raccord d'accouplement hydraulique a fiche
En général: Fiche et prise de courant doivent toujours être propres (mettre prise resp. enveloppe pare-poussière). Le contenu de tous les cylindres de levage raccordés ne doit pas dépasser 2 litres en tout. Accoupler et découvert les outils de travail avec cylindre hydraulique à simple effet, lorsque le vehicule est libéré de tout poids. L'huile hydraulique de l'outil à accoupler doit correspondre à la qualité de l'huile hydraulique du Terratrac (voir page 48).
Avant: Raccorder de telle maniere que lorsque le levier de commande est orienté à gauche, l'outil se déplace «vers le haut» ou à «gauche».
Arrière: Raccorder sur x l'outil avec cylindre à simple effet (fig. 16). Raccorder sur y + z le cylindre à double effet de telle manière que lorsque le levier de commande est orienté à gauche, l'outil se déplace «vers le haut» ou «gauche».
Au travail
Technique de conduite en général
Le Terratrac TT 77 est d'une stabilité extraordinaire. Pour des raisons de sécurité et pour ne pas compromètre la suture du graissage du moteur, les limites ci-après ne doivent toutfois pas être dépassées:
— pour circuler en amont et en aval max. 70 % de déclivité du terrain
- pour circuler dans le sens des courbes de niveau max. 65% de déclivité du terrain
Contrôle: La bille dans le clinomètre 38 (page 30) ne doit pas pénétrer dans la surface orange.
N = Limite d'inclinaison.



Fig. 17
Lorsque la déclivité dépasse 30% relever les outils de travail de maximum 10 cm
- Par contre, pour circuler sur route, toujours maintainir les outils dans la position la plus haute.
a) Parcelles en sens vertical (fig. 18)
- Monter à droite ou à gauche les outils ayant moins de 1,9 m de large.
— Lorsque l'outil est à gauche, on travaille en tournant à gauche, à droite lorsque l'outil est à droite.


Fig. 18
b) Parcelles en sens horizontal (fig. 19)
-Si la déclivité est minime, déporter l'outil létairelement et tourner autour du champ.
- Mais qu'en haut du champ les roues du Terratrac passent dans le fourage encore debout, il est temps de déplacer l'outil de travail au centre pour faucher en va-et-vient en commencer par le bas.
-Pour compenser le dérapage, ne pas diriger les roues avant trop fortement en amont. Pour corriger la direction, actionner brièvement le frein de braquage côte amont. Bloquer le différentiel sur l'essieu avant.


Fig. 19
c) Parcelles irrégulières (fig. 20/21/22)
- Diviser les parcelles de telle manière qu'on puisse proceder selon a) ou b).

Fig. 20

Fig. 21



Technique pour tourner
Travail avec les différences outils
Voir instructions en page 40. Où rien ne figure ici quant au réglage, à la conduite et à l'entretien, consulter le mode d'emploi de l'outil de travail en question.
Fauchese à rotors
Avant d'abaisser la faucheuse, faire marcher les rotors à leur vitesse maximale (ne pas embrayer la prise de force par a-coup). Pour faucher, passer le levier de l'hydraulique sur M. Si les roues se mettent à patiner, tirer brievement (1-2 secondes) le levier d'hydraulique sur L. Vitesse d'avancement normale 3 «lent». Avancer plus lentement en terrain ondulé ou représentant d'autres difficultés. Devant des creux ou des bos
ses réduire les gaz pour laisser à la faucheuse le temps de s'adapter au terrain. Devant une suréLEVation trop prononcée, soulever la faucheuse pour ne pas endommager le terrain.
Attention: De gros obstacles peuvent endommager les rotors et les engrenages. Des pierres peuvent être projétées par les couteaux tournant à une très grande vitesse, spécialement le long des chemins et des talus. Les rideaux de protection défectueux doivent être remplacés. Le conducteur doit faire s'éloigner toute personne stationnant dans la zone de travail dangereuse.
Faneur pirouettes
Ce sont les faneurs à 4 pirouettes qui se présent ici le mistrs. Dans les fortes pentes, ajouter un contre-poids à l'avant (par ex. la fauchese à rotors). Dans les virages serrés débrayer la prise de force pour éviter d'endommager l'arbre à cardan.
Faneur à ruban
Contrairement aux indications dans le mode d'emploi «Heublitz Variator», le faneur à ruban est pousse par le Terratrac; il faut donc tener compte de ce qui suit:
— Les indications «vorn» (devant) et «hinten» (arrière) de même que «rechts» (droite) et «links» (gauche) sont inversées.
— Pour la commande, utiliser l'arbre à cardan du Terratrac.
A la place d'un râteau rigide, nous livrons une tôle de retenue régliable en hauteur et munie d'un tablier en caoutchouc. Assurer le bras de la tôle de retenue au moyen d'une chevelle à ressort pour l'empêcher de se relever. Pour le transport sur route, pousser la tôle de retenue à fond contre la machine, la faire reposer sur cette dernière et l'assurer au moyen d'une chevelle à ressort.
Pour travailler, la position du levier d'hydraulique est normalement sur M. Lorsqu'il prend mal le fourage, passer tout de suite sur la position Dans le sens des courbes de niveau, travailler de préférence en va-et-vient, sans tourner le vehicule.
Fauchese à fléaux
et autres outils de travail nécessitant un couple de rotation elevé au départ (puissance d'accelération):
N'utiliser pour travailler avec ces machines-là que l'arbre à cardan exécution forte AEBI art. No. 4114 ou une exécution équivalente. Il faut absolument qu'il soit équipé de la roue libre et de l'embrayage de suture, réglé sur un couple de rotation maximum de 135 daN. Notre exécution correspond au type Walterscheid WII-F3-K92/4-135-750MM-SC24-1bGA/2aG avec tubes emboités à fond. Raccords 13 / 8'' , en 6 parties.

Fig. 23
La fonction de l'embrayage de sureté doit être contrôle après chaque longue période d'arrêt et au moins à chaque début de saison (fig. 23).
- Serrer les écrous jusqu'à allègement des étançons
Tournar à fond l'embrayage
Tourner l'écrou en contre-sens jusqu'à la fin du filet.
Attention: Pour premier montage, voir page 40. Si nécessaire, utiliser des arbres à cardan avec profil et tuyau de protection plus longs.
Attention: De par leur vitesse de rotation élevée, les éléments rotatifs de la faucheuse à fléaux sont dangereux (projection de pierres). Le conducteur doit demander de s'éloigner aux personnes stationnant dans la zone de travail!
Si l'on constate un déséquilibre (vibrations), en rechercher immédiatement la cause. Il peut s'agir de couteaux manquants ou défectueux, d'arbres de couteaux pliers ou de vis détendues. Faire la réparation sans tarder, afin d'éviter des dégats importants.
Plan de graissage
Vidange d'huile d'après plan d'entretien, cependant au moins 1 fois par année.
Ne proceder à la vidange d'huile que tout de suite après l'emploi de la machine, lorsque l'huile encore chaude coule bien. Contrôler le niveau d'huile lorsque la machine se trouve sur sol plat et que le moteur est arrêté, donc froid. Remplir d'huile jusqu'à la marque supérieure de la jauge (max.) ou jusqu'à la vis de niveau. Le contrôle de l'huile d'hydraulique ne doit se faire qu'une fois les outils de travail abaisSES.
Après chaque nettoyage par jet d'eau ou vaporisation, graisser la machine d'après le plan deGRAISSAGE.
1 Essieu avant 3,0 litres Huile d'engrenage hypoide
2 Boite à vitesses 4,5 litres SAE 90 (AP I-GL 4 résp.
3 Pont arriere 2,5 litres MIL-L-2105)
4 Embrayage prise de f. 0,4 litres
5 Hydraulique 5 litres
6 Moteur) 6 litres
SAE 10W/30 (AP I-SE/CD)
résp.MIL-L-46152 ^+ MIL-L-
2104C) Example:
Shell Rotella TX 10W/30
1) voir aussi mode d'emploi du moteur


| Plan d'entretien | |||||||||||||||
| Contrôles journalistiers voir page 271e et 2e inspection du Terratrac voir carnet de service | |||||||||||||||
| Vidange d'huile du moteur | ● | ● | ● | ● | ● | ● | ● | ● | ● | ● | |||||
| Echange cartouche du filtré à huile | ● | ● | ● | ● | ● | ● | ● | ● | |||||||
| Graisser les nipples, huiher les articul. de la tringlerie | ● | ● | ● | ● | ● | ● | ● | ● | ● | 48 | |||||
| Echange du filtré à carburant | ● | ● | ● | ● | ● | ● | |||||||||
| Contrôle du regard au filtré à carburant | ● | ● | ● | ● | ● | ● | ● | ● | ● | ● | |||||
| Rinçage du réservoir à carburant | ● | ● | |||||||||||||
| Echange de la cartouche du filtré à air | ● | ● | ● | 34 | |||||||||||
| Contrôler le niveau du liquide (réservoir et réciendent) | ● | ● | ● | ● | ● | ● | ● | ● | ● | 35 | |||||
| Nettoyer le système de refroidissement et replir d'antigel | ● | 35 | |||||||||||||
| Contrôler la tension des 2 courroies trapezoidales du moteur | ● | ● | ● | ● | ● | ● | ● | ● | ● | 35 | |||||
| Contrôler le niveau de l'acide dans la batterie | ● | ● | ● | ● | ● | ● | ● | 36 | |||||||
| Resserrer les écrous de culasse | ● | × | |||||||||||||
| Faire contrôler le jeu des soupapes | ● | ● | ● | × | |||||||||||
| Faire contrôler les injecteurs | ● | ● | × | ||||||||||||
| Contrôler l'embrayage de prise de force | ● | ● | ● | ● | ● | ● | ● | ● | ● | 36 | |||||
| Contrôler les freins | ● | ● | ● | ● | ● | ● | 38 | ||||||||
| Contrôler les garnitures de freins | ● | ● | × | ||||||||||||
| Contrôler le jeu d'embrayage | ● | ● | ● | ● | ● | ● | 39 | ||||||||
| Contrôler vis et écrous | ● | ● | ● | ● | × | ||||||||||
| Contrôler l'huile d'engrenages | ● | ● | ● | ● | ● | ● | 48 | ||||||||
| Vidanger l'huile (boîte à vitesses, pont arrêté et avant) | ● | ● | ● | 48 | |||||||||||
| Contrôler l'huile de l'embrayage de prise de force | ● | ● | ● | ● | ● | ● | ● | ● | 48 | ||||||
| Vidanger l'huile de l'embrayage de prise de force | ● | ● | ● | ● | ● | ● | 48 | ||||||||
| Contrôler l'huile d'hydraulique | ● | ● | ● | ● | ● | ● | ● | 48 | |||||||
| Echanger le filtré au récipient d'huile | ● | ● | 48 | ||||||||||||
| Contrôler l'installation électrique (compteur d'heures etc.) | ● | ● | ● | ● | ● | ● | ● | ● | |||||||
x = par l'agent de service

Important Controls
Nous garantissons un fonctionnement impeccable et un matériel de bonne qualite durant 12 mois a dater de la livraison. Pour le moteur, nous appliquons la garantie du fabricant, selon les indications données dans le mode d'emploi.
Notre garantie est limitée à l'échange gratuite de pieces reconnues par nous défectueuses. Les frais de démontage, de montage et de transport vont à la charge du client. La garantie de bon fonctionnement n'est applicable que si la machine a été utilisée et entretenue correctement, selon les prescriptions du mode d'emploi.
La garantie cesse de nous engager:
- lorsque des modifications sont apportées à nos machines par des tiers, sans notre consentement;
- lorsque les agregats ne sont pas montés et utilisés selon les instructions du mode d'emploi;
- lorsque d'autres pièces de rechange que nos pièces originales AEBI sont montées sur nos machines.
La garantie ne s'étend pas aux dommages provoqués par une usure normale; elle n'est pas non plus valable pour les pieces d'usure.
Notice Facile