WALL3 PLUS - TILE3 PLUS - MOON - LEAN3 PLUS - Poêle à granulés FREEPOINT - Notice d'utilisation et mode d'emploi gratuit
Retrouvez gratuitement la notice de l'appareil WALL3 PLUS - TILE3 PLUS - MOON - LEAN3 PLUS FREEPOINT au format PDF.
| Type d'appareil | Poêle à granulés |
| Puissance thermique | Non précisé |
| Capacité du réservoir à granulés | Non précisé |
| Autonomie de fonctionnement | Non précisé |
| Rendement énergétique | Non précisé |
| Dimensions (HxLxP) | Non précisé |
| Poids | Non précisé |
| Type de ventilation | Ventilation forcée |
| Type de contrôle | Non précisé |
| Alimentation électrique | 230 V / 50 Hz |
| Matériaux principaux | Acier et fonte |
| Type de granulés | Granulés de bois standard |
| Émissions de CO | Conforme aux normes CE |
| Installation | Murale ou en angle |
| Garantie | Non précisé |
| Accessoires inclus | Non précisé |
FOIRE AUX QUESTIONS - WALL3 PLUS - TILE3 PLUS - MOON - LEAN3 PLUS FREEPOINT
Questions des utilisateurs sur WALL3 PLUS - TILE3 PLUS - MOON - LEAN3 PLUS FREEPOINT
0 question sur cet appareil. Repondez a celles que vous connaissez ou posez la votre.
Poser une nouvelle question sur cet appareil
Téléchargez la notice de votre Poêle à granulés au format PDF gratuitement ! Retrouvez votre notice WALL3 PLUS - TILE3 PLUS - MOON - LEAN3 PLUS - FREEPOINT et reprennez votre appareil électronique en main. Sur cette page sont publiés tous les documents nécessaires à l'utilisation de votre appareil WALL3 PLUS - TILE3 PLUS - MOON - LEAN3 PLUS de la marque FREEPOINT.
MODE D'EMPLOI WALL3 PLUS - TILE3 PLUS - MOON - LEAN3 PLUS FREEPOINT
MANUEL DE L'INSTALLATEUR Poèle à granulés
CE


©2019 CADEL srI | All rights reserved - Tutti i diritti riservati
SOMMAIRE
1 AVERTISSEMENT D'INSTALLATION POUR LE MARCHÉ FRANÇAIS 3
2 SYMBOLES DU MANUEL. 4
3 EMBALLAGE, MANUTENTION ET POSITIONNEMENT 4
3.1 EMBALLAGE 4
3.2 INFORMATIONS SUR LA PIECE OU LE POÉLE EST INSTALLÉ, CHUTE DE PRESSION 4
4 CONDUIT DES FUMÉES 5
4.1 CONDUIT DES FUMÉES SELON LES NORMES EUROPEENNES 5
4.1.1 AVANT-PROPOS 5
4.1.2 CONDUIT DES FUMÉES 5
4.1.3 COMPOSANTS DE CHEMINÉE 6
4.1.4 CARACTERISTIQUES TECHNIQUES DU CONDUIT DE FUMÉES 7
4.1.5 CARACTERISTIQUES TECHNIQUES DU RACCORD DE FUMÉES 8
4.1.6 PRISE D'AIR COMBURANT 8
4.1.7 SORTIE DE TOIT 9
4.1.8 TOIT EN PENTE: CALCUL DE LA HAUTEUR MINIMALE AU DESSUS DU FAIAGE 9
4.1.9 ENTRETIEN 10
4.2 PARTICULARITÉS DES NORMES FRANÇAISES ....10
4.2.1 AVANT-PROPOS 10
4.2.2 INSTRUCTIONS D'INSTALLATION AVEC TUBES CONCENTRIQUES 10
4.2.3 SCHEMA DES PRECONISATIONS CADEL/FREEPOINT EN ZONE 1, 2 ET 3 12
4.2.4 INSTALLATION EN ZONE 1 (FRANCE) 14
4.2.5 INSTALLATION EN ZONE 2 (FRANCE) 15
4.2.6 INSTALLATION EN ZONE 3 (FRANCE) 17
4.2.7 PRISE D'AIR 19
4.2.8 RÉGLAGE DES PARAMÉTRES DE COMBUSTION....19
4.2.9 EXAMPLES D'INSTALLATION CORRECTE .... 20
5 INSTALLATION 22
5.1 AVANT-PROPOS 22
5.2 DIMENSIONS GÉNÉRALES 23
5.3 INSTALLATION GÉNÉRIQUE AVEC PIEDESTAL......27
5.4 INSTALLATION MURALE 28
5.5 FIXATION DE SECURITE 30
5.6 RETRAIT/MONTAGE DE LA PORTE DU FOYER 30
5.7 ASSEMBLAGE PANNEAUX (MODELE WALL3 PLUS)....31
5.8 ASSEMBLAGE PANNEAUX (MODELE LEAN3 PLUS)....31
5.9 ASSEMBLAGE PANNEAUX (MODELE MOON) 32
5.10 ASSEMBLAGE PANNEAUX (MODELE TILE ^3 PLUS) ..32
5.11 RACCORDEMENT THERMOSTAT EXTERNE... 33
5.12 BRANCHEMENT ÉLECTRIQUE 34
5.13 CANALISATION D'AIR CHAUD 34
5.14 ETALONNAGE DU POELE ET MESURATION DE LA DEPRESSION 35
6 ENTRETIEN EXTRAORDINAIRE 36
6.1 AVANT-PROPOS 36
6.2 ENTRETIEN DE LA VIS SANS FIN 36
6.3 NETTOYAGE DE L'ASPIRATEUR DES FUMÉES 37
6.4 NETTOYAGE DE LE VENTILATEUR AMBIANT 38
6.5 NETTOYAGE ANNUEL DU CONDUIT DES FUMÉES...38
6.6 REMPLACEMENT DES JOINTS 38
7 EN CAS D'ANOMALIES 38
7.1 SOLUTION DES PROBLEMES 38
8 DONNÉES TECHNIQUES 42
8.1 INFORMATION POUR LES REPARATIONS 42
8.2 ETIQUETTE CE 42
8.3 CARACTERISTIQUES 43
INSTALLATION

ZONE 1

OK
Installation possible pour toute la gamme CADEL/FREEPOINT

ZONE 2


OK
DEGLAGE DE LA CONDUSTION PAR UN PROFESSIONNEL OBLIGATOIRE
Installation possible seulement pour les
poles avec CHAMMBLE ETANCOIE et
determination du fabricant

ZONE 3

OK
REGLAGE DE LA COMBUSTION PAR UN PROFESSIONNEL OBLIGATIOIRE
Installation possible seulement pour les poies avec CHAMBRE ETANCHE et déclaration du fabricant
Le reglage de la combustion est une opération nomiale, à faire lors de la pose d'un poule àGranik.
Elpeennet d'optimise les prestations du poule en fonction des caractenistiques de l'installation. Pourles zones 2 et 3 elle est obligatoire.
Merci de dire avec attention pour les détails requis au niveau de l'installation (voir le chapitre dédié).
| UTILISATEUR | |
| TECHNICIEN AGRÉÉ (faisant allusion au Fabricant du poège ou le Technicien Autorisé du Servi- ce d'Assistance Technique EXCLUSIVÉMENT) | |
| FUMISTE SPÉCIALISÉ | |
| ATTENTION: LIRE ATTENTIVÉMENT LA NOTE | |
| ATTENTION: POSSIBILITÉ DE DANGER OU DE DOMMAGE IRRÉVERSIBLE | |
| VALABLE SELON LES NORMES EUROPÉENNES EN VIGUEUR En absence de drapeaux, les informations s'appliquent partout | |
| VALABLE SELON LES NORMES FRANÇAISES EN VIGUEUR En absence de drapeaux, les informations s'appliquent partout |
- Les icônes à côté de chaque paragraphe indiquent à qui s'adresse chaque sujet (Utilisateur final et/ou Technicien/agréé et/ou fumiste spécialisé).
- Les symboles ATTENTION indiquent une note importante.
3 EMBALLAGE, MANUTENTION ET POSITIONNEMENT
3.1 EMBALLAGE
- L'emballage se compose d'une boîte en carton recyclable selon les normes RESY, d'inserts recyclables en EPS (polystyrene expansé) et d'une palette en bois.
- Tous les matériaux d'emballage peuvent etre réutilisés pour un usage similaire ou eventuèlement éliminés en tant que déchets solides urbains, dans le respect des normes en viqueur.
- Une fois l'emballage retire, vérifier que le produit soit intact.
3.2 INFORMATIONS SUR LA PIECE OU LE POÉLE EST INSTALLÉ, CHUTE DE PRESSION
Comme endroit de positionnement du poèle, certaines pieces sont à éviter : voir RÉGLES DE SECURITÉ.

Il est nécessaire de vérifier que, lorsque tous les apparêls actifs dans la piece sont allumés, la chute de pression entre la pierce et l'extérieur ne dépasse pas la valeur de 4,0 Pa. Des exemples d'appareils actifs susceptibles de générer des dépressions sont par exemple : des ventilateurs d'extraction d'air, des hottes de cuisine, autres poèles, etc. Ces apparêls mettent en dépression l'environnement et affectent le fonctionnement correct du poèle. Cette précaution s'applique aussi bien sur le positionnement de poèles étanches que nonétanches. Si nécessaire, il faut agrandir les prises d'air pour compenser la dépression causée par ces apparêls (EN 13384).
Renouvellement de l'air dans la piece où le poèle est installé : il est obligatoire de prévoir un dispositif de renouvellement de l'air extérieur pour assurer le bien-être ambient.

4.1 CONDUIT DES FUMÉES SELON LES NORMES EUROPÉENNES
4.1.1 AVANT-PROPOS
Ce chapitre CONDUIT DES FUMÉES a pag. 5 est tiré des normes européennes (EN 15287 - EN 13384 - EN 1856 - EN 1443). Il fournit des indications sur la réalisation correcte du conduit des fumées mais ne doit enaucun cas replacer les normes en vigueur dont le fabricant/installateur agree doit en assurer le respect.
ATTENTION POUR LA FRANCE, LIRE ÉGALEMENT LE CHAPITRE PARTICULARITÉS DES NORMES FRANÇAISES a pag. 10.
4.1.2 CONDUIT DES FUMÉES
Nos poêles à pellets sont pourvus d'extracteurs de fumées et tombent sous la catégorie des poêles à combustibles solides à tirage force. Le conduit des fumées ou cheminée revêt une grande importance dans le bon fonctionnement d'un poêle de ce genre. Il est donc essentiel que le conduit de fumées soit correctement dimensionné, ajustement construit et toujours efficace. Le conduit de fumées peut être neuf avec des conduits double paroi isolé (voir schéma A ci-dessous) ou raccordé à un conduit de fumées existant (voir schéma B ci-dessous). Faire vérifier l'efficacité du conduit de fumées existant par un ramoneur expert. Il pourrait être nécessaire de tuber le conduit existant à l'aide de matérielaux répondant aux normes en vigueur.


Fig. 1 - Conduit des fumées
| LÉGENDE | Fig. 1 |
| A | Cheminée avec conduit isolé extérieure en inox |
| B | Cheminée préexistante isolée |
| 1 | "T" tampon |
| 2 | Trappe de contrôle |
| 3 | Longueur (hauteur) du conduit de fumée |
Les deux solutions doivent avoir un « T » tampon (1) et/ou une trappe de contrôle (2).
La longueur ou hauteur du conduit de fumée (3) fait partie des caractéristiques techniques du conduit qui sont expliquées dans le chapitre CARACTERISTIQUES TECHNIQUES DU CONDUIT DE FUMÉES a pag. 7. Cette longueur se mesure en metres entre la sortie de fumée du poèle et le terminal.
4.1.3 COMPOSANTS DE CHEMINÉE

Fig.2 - Composants de cheminée
| LÉGENDE | Fig. 2 |
| 1 | Terminal |
| 2 | Voie d'écoulement |
| 3 | Conduit de fumées |
| 4 | Isolant thermique |
| 5 | Mur extérieur |
| 6 | Raccord de la cheminée |
| 7 | Raccord des fumées |
| 8 | Généteur de chaleur |
| 9 | Trappe à suie |
| 10 | Raccord avec "T" tampon |
Remarquer la différence fondamentale entre (7) raccord de fumées et (3) conduit de fumées.
Le raccord des fumées (7) porte l'évacuation des produits de combustion de la sortie du poèle au conduit de fumées (3).
4.1.4 CARACTERISTIQUES TECHNIQUES DU CONDUIT DE FUMÉES
Les caractéristiques techniques du conduit de fumées sont toutes orientées à garantir un bon «tirage» ou «dépression» au poèle à la sortie de fumée.
Le tirage fournit par le conduit de fumée se mesure donc à la sortie de fumée du poèle et doit être:
Au minimum de 5 Pa à la puissance minimale du poèle (« à froid »)
Au maximum de 18 Pa à la puissance maximale du poèle (« à chaud »).
Vérifier la dépression selon les valeurs reportées dans le tableau CARACTERISTIQUES.

La « dépression » ou le « tirage » d'un conduit de fumées dépend d'un ensemble de caractéristiques qui sont toutes fondamentales pour le fonctionnement correct du poèle:
- La hauteur minimale du conduit de fumées est de 4 metres à partir de la sortie des fumées du poèle (ne s'applique pas sur Zone 2 et Zone 3 en France).
La dimension de la section interne (diametre) du conduit des fumées doit être:
Au minimum 0100 mm
Au maximum 200 mm
- Prévoir eventuellement moderation de tirage.
- Le conduit des fumées doit être droit sans points d'étranglement et doit être constitué de matérielux imperméables aux fumées et à la condensation, thermiquement isolés et aptes à résister dans le temps aux sollicitations mécaniques normales.
Le conduit de fumées doit être étanche aux fumées.
Utiliser un conduit de fumee rigide. Par contre un conduit flexible (double peau) et isolé certifié est considéré conforme. - Il doit être tenu à distance de matériaux combustibles ou facilement inflammables grâce à un interstice d'air ou des matériaux isolants. Vérifier la distance conseillée par le fabricant du conduit.
L'entree du conduit doit se trouver dans la meme piece que l'appareil ou, tout au plus, dans une piece voisine. - En dessous de l'entrée du conduit il doit y avoir une chambre de récepération des solides et de la condensation dont la trappe d'accès métallique doit être étanche.
Des aspirateurs auxiliaires ne pourront pas etre installés le long du conduit ni sur la cheminée. - La section interne du conduit de cheminée peut être ronde (c'est la(Meilleure) ou carrée avec les angles raccordés avec un rayon minimum de 20~mm .
L'évacuation ou la sortie de toit des fumées doit se situer au dessus de la toiture. Voir SORTIE DE TOIT a pag. 9 et TOIT EN PENTE: CALCUL DE LA HAUTEUR MINIMALE AU DESSUS DU FAITAGE a pag. 9. Voir SORTIE DE TOIT à la page 10 et TOIT EN PENTE : CALCUL DE LA HAUTEUR MINIMALE AU DESSUS DU FAITAGE à la page 10
Le conduit des fumées doit être CE selon la norme EN 1443. Nous joignons un exemple de plaquette (voir Fig. 3).

Fig. 3 - Exemple de plaquette
L'extérieur du conduit des fumées doit être isolé afin d'éviter les phénomènes de condensation et réduire l'effet de refroidissement des fumées.
- Dans le cas où une cheminée préexistante est utilisé (tubage) pour faire passer le conduit de fumée du poèle à granulés, il est de toute manière nécessaire d'isoler le conduit de fumée.

LA CONDENSATION ET LE POINT DE ROSE
La cause de la condensation est la température trop basse des fumées à cause d'une isolation insuffisante du conduit fumées. Les températures de sortie des fumées d'un poèle à granulés sont inférieures à celle des poèles à bùches. Les poèles de dernieré génération ont un rendement très élevé afin de réduire au minimum les émissions et garantir le chauffage le plus efficace possible.
-
Le poèle n'est donc pas imputable au cas où de la condensation se produit dans le conduit de fumée.
-
]Des inconveniens de condensation peuvent etre evites des le début par un dimensionnement et isolement corrects du conduit de fumee.
Pour des informations ultérieures, consulter le chapitre EN CAS D'ANOMALIES 1. SOLUTIONS DES PROBLEMES « Le conduit de fumée condensation »
4.1.5 CARACTERISTIQUES TECHNIQUES DU RACCORD DE FUMÉES
Au même titre que le conduit de fumée, le raccord de fumée garantit le bon tirage à la sortie du poèle, spécifique dans le raccordement au conduit de fumée.
Au niveau général, les mêmes caractéristiques s'appliquent tant pour le raccord des fumées que pour le conduit de fumée SAUF en ce qui concerne :
Lisolement: en cas d'installation à l'intérieur, dans une piece rechauffee il n'est pas nécessaire que le raccord de fumee soit isolé.
- En revanche, si le raccord des fumées passé dans des endroits froids et/ou humides, il sera nécessaire d'isoler le raccord des fumées. Rappel: L'entrée du conduit doit se couver dans la même piece que l'appareil ou, tout au plus, dans une piece voisine.
- Le nombre maximal de coudes qui peuvent etre installés s'élever à 3.
On peut travailler avec deux diamètres différents au niveau du RACCORD DES FUMÉES:
DIAMÉTRE 80 MM
La Longueur max. avec 1 coude ou T est de 6 metres à partir de la sortie des fumées du poèle.
La Longueur max. avec 3 coudes ou T est de 4 metres à partir de la sortie des fumées du poèle.
- Les Sections horizontales peuvent être max. de 2 mètres avec une pente maximal de 3% .

Il n'est pas permitted d'inverter un raccord de fumées de 80 mm de diamètre à des altitudes supérieures à 1200 metres a.s.l.
DIAMÈTRE 100 MM
La Longueur max. avec 1 coude ou T est de 10 metres a partir de la sortie des fumées du poèle.
La Longueur max. avec 3 coudes ou T est de 8 metres a partir de la sortie des fumées du poêle.
- Les Sections horizontales peuvent être max. de 2 mètres avec une pente maximal de 3% .

Le raccord de fumées diamètre 100 mm est obligatoire en cas d'installation à des altitudes supérieures à 1200 metres au-dessus du niveau de la mer
4.1.6 PRISE D'AIR COMBURANT
L'air combustant est l'air que le poèle consomme pour gérer la combustion des granulés. En règle générale, l'air nécessaire à la combustion est à prélever directement depuis l'extérieur.
- La prise d'air devra être réalisée à une hauteur proche du sol avec une grille de protection externe anti-volatiles et qui ne devra pas être obstruée.
Il y a deux méthodes de prise d'air combustant possibles:
A. PAR GRILLE:
L'afflux d'air entre l'extérieur et la piece peut se produit directement, a travers une ouverture dans les murs extérieurs de la piece.
- La prise d'air doit avoir une surface nette totale de 80~cm^2 minimum.
- ATTENTION: Utiliser une grille qui n'a pas la fonction ouvrir/fermer afin d'eviter qu'elle ne reste fermée de façon inaperçue.
B. PARTUYAU:
Utiliser un tuyau d'un diametre minimum de 060 mm et d'une longueur de 2 metres maximum; pour la fixation, voir derrière le poèle.

ATTENTION: la prise d'air dans le vide sanitaire n'est pas autorisé.
4.1.7 SORTIE DE TOIT

1

②
Fig. 4 - Sortie de toit
La sortie de toit joue également un role important dans le bon fonctionnement de l'appareil de chauffage :
Il est conseilé deCHOISIR une souche de type anti vent, voir Fig.4.
Laire des perçages pour l'évacuation des fumées doit correspondre au double de l'aire du conduit de fumée et doit être conque de manière à assurer l'évacuation des fumées, même en cas de vent.
- Elle doit empêcher l'entrée de la pluie, de la neige et d'eventuels animaux.
4.1.8 TOIT EN PENTE: CALCUL DE LA HAUTEUR MINIMALE AU DESSUS DU FAITAGE
Le Terminal doit etre au moins 40 cm au-dessus du faitage.
- Il faut éviter le positionnement de la sortie du terminal dans les zones de reflux (zones « z » dans la Fig. 5) qui varient en fonction de l'inclinaison du toit.

Fig. 5 - Zones de reflux
LEGE NDE
Fig. 5
| Inclinaison du toit à | Hauteur de la zone de reflux Z |
| 15° (27%) | 0,5 m |
| 30° (58%) | 0,8 m |
| 45° (100%) | 1,5 m |
| 60° (173%) | 2,1 m |
4.1.9 ENTRETIEN
- Les conduits d'évacuation des fumées (conduit de cheminée + raccord des fumées + sortie de toit) doivent toujours être propres, nettoyés et contrôlés par un ramoneur qualifié, en conformité avec les normes locales, selon les indications du fabricant de la cheminée et les directives de votre compagnie d'assurance.
- En cas de doutes, toujours appliquer les normes les plus restrictives.
Il est nécessaire de faire contrôler et nettoyer le raccord des fumées et la cheminée par un ramoneur qualifié au moins une fois par an. - Le ramoneur devra délivrer une déclaration écrite attesting la sécurité de l'installation.
Le non nettoyage nuit à la sécurité.

À propos de la fréquence des entretiens : les indications générales d'entretien se basent sur une utilisation moyenne du produit, c'est-à-dire 2-3 allumages par jour et un fonctionnement quotidien qui varie entre puissance 5 et 1 pourMAININIR la chaleur programmee. Quand un poèle est utilisé de façon extrème, avec >5 allumages par jour et des fonctionnements prolongés ou constants sur la puissance maximale, un entretien par an ne sera pas suffisant, il faudra au moins en prévoir 2. Consultez votre professionnel pour plus d'info.
4.2 PARTICULARITÉS DES NORMES FRANÇAISES
4.2.1 AVANT-PROPOS
Ce chapitre est tiré des normes européennes (EN 15287 - EN 13384 - EN 1856 - EN 1443) et NF DTU 24.1 - NF DTU 24.2. Il reprend des aspects d'installation qui sont typiques pour les normes françaises.
Il fournit des indications sur la réalisation correcte du conduit des fumées mais ne doit enaucun cas replacer les normes en vigueur dont le fabricant/installateur agree doit en assurer le respect.
IMPORTANT : la liste suivante de chapitures dérivè des normes européennes, toutefois elles s'appliquent éga-lement à des installations sur le territoire français. Veuillez lire les chapitures précédents qui s'appli-quent à tous les pays européens :

- CONDUIT DES FUMÉES a pag. 5
COMPOSANTS DE CHEMINEE a pag. 6 - CARACTERISTIQUES TECHNIQUES DU CONDUIT DE FUMÉES a pag. 7
- CARACTERISTIQUES TECHNIQUES DU RACCORD DE FUMÉES a pag. 8
- PRISE D'AIR COMBURANT a pag. 8
- SORTIE DE TOIT a pag. 9
- TOIT EN PENTE: CALCUL DE LA HAUTEUR MINIMALE AU DESSUS DU FAIAGE a pag. 9
- ENTRETIEN a pag. 10
4.2.2 INSTRUCTIONS D'INSTALLATION AVEC TUBES CONCENTRIQUES
Les poêles étanches de la gamme CADEL sont les poêles qui portent un "3" dans leur nom. Les poêles étanches de la gamme FreéPoint sont les poêles qui portent un "AT" de "AIRTIGHT" dans leur nom. Ces poêles sont typiquement tous certifiés « CSTB - Avis Technique » et peuvent donc être installés sur des conduits des fumées concentriques. Veuillez trouver ci-après un tableau récapitulatif sur les installations en concentrique selon les préconisations du CSTB pour有關ir l'Avis Technique.
Les poêles étanches sont à installer en configuration étanche : l'appareil préféve l'air comburant directement à l'extérieur par un conduit d'amnée d'air et est raccordé à un conduit dévacuation des produits de combustion.

Dans certains pays et/ou villes, l'installation étanche est obligatoire: en cas de doute, toujours appli-quer les normes les plus restrictives.
Les poêles étanches peuvent être mis en œuvre dans les configurations indiquées dans le tableau ci-dessous, avec des termi
naux concentriques ou séparés, en respectant les prescriptions figurant dans le Document Technique d'Application (DTA) relatif au système d'amnée d'air combustant et d'évacuation des produits de combustion, ainsi que celles figurant dans le « Cahier des Prescriptions Communes n° 3708 V2 »
| Configurations d'installation du terminal (1) | Configurations des systèmes EVAPDC(2) | |
| Terminal concentrique | HorizontaleZone 3 | - Conduits systèmes concentriques (AAC + EVAPDC)- Terminal concentrique horizontal |
| VerticaleZone 1 ou Zone 2 | - Conduits systèmes concentriques (AAC + EVAPDC)- Terminal concentrique vertical | |
| Verticale en rénovationZone 1 ou Zone 2 | - En raccordement: conduit concentrique (AAC + EVAPDC)- Tubage pour EVAPDC et espace annulaire pour AAC- Terminal concentrique vertical | |
| Terminal séparé | VerticaleZone 1(3) ou Zone 2(4) | - En raccordement: conduit SP, conduit CC(5) ou isolé Cl- EVAPDC: Cl(6) et terminal vertical- AAC: conduit et terminal façade |
| Verticale en rénovationZone 1(3) ou Zone 2(4) | - En raccordement EVAPDC: conduit SP- EVAPDC: tubage- AAC: conduit et terminal façade | |
| (1) Zone 1: conduit dont la position du débouché répond à l'arrêté du 22/10/1969Zone 2: terminal en toiture, hors zone 1Zone 3: terminal en façade(2) EVAPDC: Évacuation des produits de combustionAAC: Amenée d'air combustantSP: simple paroi, CC: conduit concentrique, Cl: conduit isolé(3) Les dispositions du DTU 24.1 sont applicables(4) Uniquement hors zone de surpression selon la norme EN 13384-1 (5) AAC + EVAPDC raccordés à un Cl d'EVAPDC situé àl'extérieur(6) Les Cl sont les seuls types de conduits autorisés en situation extérieure | ||
FICHE SIMPLIFIÉE, NE REMPLACE PAS LE MANUEL D'INSTALLATION, QUE RESTE LA RÉFERENCE À SUIVRE
| PRÉCONISATIONS POUR LA FRANCE (2020) Voir RT2012 et CSTB comme normes en vigueur | INSTALLATION ZONE 1 | INSTALLATION ZONE 2 | INSTALLATION ZONE 3 | ||
| Uniquement poèmes ÉTANCHES CSTB | Uniquement poèmes ÉTANCHES CSTB | ||||
| RACCORD DES FUMÉES (SORTIE FUMÉES Ø80 MM) | |||||
| Diamètre | 80 mm | 100 mm | Raccordement au concentrique en proximité de la sortie fumées du poèle | Raccordement au concentrique en proximité de la sortie fumées du poèle | |
| Longueur maximale (avec 1 coudes ou T) | 6 mt | 10 mt | |||
| Nombre maximal de coudes ou T | 3 | 3 | |||
| Longueur maximale (avec 3 coudes ou T) | 4 mt | 8 mt | |||
| Sections horizontally (pente minimum 3%) | 2 mt | 2 mt | |||
| Installation à des altitudes > 1200 mt | NON | Obligatoire | |||
| CONDUIT DES FUMÉES | |||||
| Typologie | CONDUIT ISOLÉ (double paroi isolé) | CONDUIT CONCENTRIQUE ou ISOLÉ (le dernier en « configuration dissociée ») Sous Avis Technique CSTB | CONDUIT CONCENTRIQUE (en ventouse) Sous Avis Technique CSTB | ||
| Souche/ Terminal Distance minimale du sol | Souche anti-vent et anti-pluie | TTerminal concentrique anti-vent et anti- pluie. Au moins 2 mt du sol | |||
| Diamètre minimale du conduit des fumées Diamètre maximale du conduit des fumées | 100 mm section interneA 200 mm section interne prévoir éventuellesment modération de tirage | 100 mm section interneA | 80 mm section interne | ||
| Longueur minimale (hauteur) à partir de la sortie de fumée du poèle | 4 mt | Respecter tirage ci-dessous | 1,5 mt vertical (buse applicel arrêté) 0,8 mt vertical (buse applicel dessusB) | ||
| Longueur maximale à partir de la sortie de fumée du poèle | Respecter tirage ci-dessous Voir EN13384-1 | 6 mt | 4 mt totale (horizontal + vertical + coude à 90° comprise) | ||
| Valeurs de tirage du conduit de fumée | Extrémités acceptables conseillée | 5 Pa (à froid) - 18 Pa (max) 12 Pa (nominal) | 5 Pa (à froid) - 18 Pa (max) 12 Pa (nominal) | 5 Pa (à froid) - 18 Pa (max) 12 Pa (nominal) | |
| Coudes | max 2 coudes à 45° impliquent 1 mt de conduit en moins. Respecter le tirage | 2 coudes à 45° impliquent 1 mt de conduit en moins. Respecter le tirage | 1 coude à 90° en plus du « TÉ » (« TÉ » uniquement si buse applicel arrêté) | ||
| Positions des termitaux | L'orifice du conduit doit dépasser le faitage de 40 cm et être distant minimum de 8 mt de toute obstacle | Selon préconisation CSTB. Si en « configuration dissociée » hors de la zone de turbulence | Selon préconisation CSTB | ||
| PRISE D'AIR (ENTREE AIR COMBURANT) | |||||
| Source d'air carburant | Grille et/ou raccordement extérieure | Raccordé sur le concentrique ou prise d'air directe de l'extérieur (si en configuration dissociée) | Obligatoirement par le concentrique | ||
| Dimension minimale grille de ventilation | 80 cm2 | ||||
| Diamètre minimale raccordement pris d'air | Ø60 mm | Ø60 mm | Ø60 mm | ||
| Longueur maximale raccordement pris d'air extérieure | 2 mt (sans coudes) | 2 mt (sans coudes) en cas de prise d'air extérieure | Adaptateur en proximité sortie fumées | ||
| Prise d'aire dans vide sanitaire | Oui, si ventilé (min. 500 cm² autour de la maison) | Oui, pour la « configuration dissocié», si ventilé (min. 500 cm² autour de la maison) | NON | ||
080 mm (interne) accepté jusqu'au plafond, puis élargir au minimum à 0100 mm. Longueur maximale du segment 080 mm: 2 mt sortie supérieure préinstallé et 3 mt sortie arrêté.
B Uniquement pour les apparèels avec sortie fumées concentrique supérieure.
Remarque: le tableau ci-dessus est une synthese des préconisations et ne remplace aucunement la totalité du chapitre « conduit de fumées ». Lire la totalité des chapitres pour les détails d'installation.
Avis Technique 14/08-1303, Relevant des normes NF EN 1856-1, NF EN 1856-2

Fig. 6 - Position des terminaux

Fig. 7 - Rebord de toit
LEGENDE Fig.7
| A | Distance minimum de l'axe de l'orifice des produits de combustion à tout ouvrant: 2 m |
| B | Distance minimum de l'axe de l'orifice des produits de combustion à tout orifice d'entrée d'air de ventilation: 2 m |
| C | Hauteur minimum de l'axe de l'orifice des produits de combustion par rapport au sol: 2 m |
| D | Hauteur minimum de l'axe de l'orifice des produits de combustion par rapport à un rebord de toit (voir Fig. 7) |
| E | Distance minimum de l'axe de l'orifice des produits de combustion à un mur avec fenêtre ou orifice d'entrée d'air de ventilation: 4 m |
| F | Distance minimum de l'axe de l'orifice des produits de combustion à un mur sans ouverture: 1 m |
| G | Distance minimum de l'axe de l'orifice des produits de combustion à un mur de clôture ou une haie: 3 m |
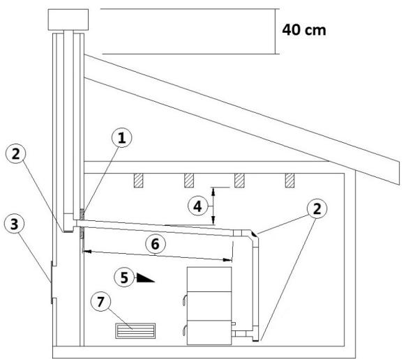
4.2.4 INSTALLATION EN ZONE 1 (FRANCE)
L'installation en Zone1 correspond aux installations « classiques » expliquées à propos des normes européennes (CONDUIT DES FUMÉES SELON LES NORMES EUROPÉENNES a pag. 5). Voir Fig. 2 pour une définition des composants de cheminée et pour la différence entre le « Raccord des fumées » et le « Conduit de fumées »
Nous répétons de façon synthétique les restrictions qui s'appliquent sur ce genre d'installation :
RACCORD DES FUMÉES (SORTIE DE FUMÉES POÊLE 80 MM)
On peut travailler avec deux diamètres différents en ZONE1 au niveau du RACCORD DES FUMÉES
C. DIAMÉTRE 80 MM
La Longueur maximale avec 1 coude ou T est de 6 metres à partir de la sortie des fumées du poèle.
- Le Nombre maximal de coudes ou T est 3 pieces
La Longueur maximale avec 3 coudes ou T est de 4 metres a partir de la sortie des fumées du poèle.
- Les Sections horizontales peuvent extre maximum de 2 mètres avec une pente maximale de 3%

L'installation avec raccord de fumées d'un diamètre de 80 mm à des altitudes supérieures à 1200 mètres au-dessus du niveau de la mer n'est pas permise
D. DIAMÉTRE 100 MM
La Longueur maximale avec 1 coude ou T est de 10 metres à partir de la sortie des fumées du poèle.
Le Nombre maximal de coudes ou T est 3 pieces
La Longueur maximale avec 3 coudes ou T'est de 8 metres a partir de la sortie des fumées du poèle.
- Les Sectionsizontales peuvent être maximum de 2 mètres avec une pente maximal de 3 %

Le raccord de fumées d'un diamètre de 100 mm est obligatoire en cas d'installation à des altitudes supérieures à 1200 metres au-dessus du niveau de la mer
CONDUIT DE FUMÉES:
Pour les marques CADEL et FREEPOINT le conduit des fumées doit être ISOLÉ
La Hauteur minimale du conduit de fumées en installation Zone1 est de 4 mètres à partir de la sortie des fumées du poële.
La dimension de la section interne (diametre) du conduit des fumées doit être:
Au minimum 0100 mm
- Au maximum de 0200 mm (prévoir éventuellesment modération de tirage)
PRESE D'AIR COMBURANT:

Fig. 8 - Installation possible pour tous les poèmes (ZONE 1)
En règle générale, l'air nécessaire à la combustion est à prélever directement depuis l'extérieur.
- La prise d'air devra etre realizatione a une hauteur proche du sol avec une grille de protection externe anti-volatiles et qui ne devra pas etre obstruete.
Il y a deux méthodes de prise d'air combustant possibles:
E. PAR GRILLE:
- L'afflux d'air entre l'extérieur et la piece peut se produit directement, à travers une ouverture dans les murs extérieurs de la piece (solution conseillée voir Fig. 8)
La prise d'air doit avoir une surface nette totale de 80~cm^2 minimum.
Utiliser une grille qui n'a pas la fonction ouvrir/fermer afin d'eviter qu'elle ne reste fermée de façon inaperçu.
F. PARTUYAU:
Utiliser un tuyau d'un diamètre minimum de 060 mm et d'une longueur maximale de 2 metres; pour la fixation, voir derrière le poèle.

ATTENTION: la prise d'air dans le vide sanitaire n'est pas autorisée.
RéGLAGE DES PARAMÉTRES DE COMBUSTION
- Nous conseillons le réglage des paramètres de combustion par un professionnel.
4.2.5 INSTALLATION EN ZONE 2 (FRANCE)
Contexte d'installation des installations en ZONE 2:
- La prise d'air séparée du conduit de fumée n'est pas nécessaire dans le cas d'une pose avec conduit concentrique car l'amnéé d'air comburant est prélevée de l'espace interstitiel du conduit concentrique:
- Le décret N. 2008-1231 article R131-2 dispense de l'entrée d'air directement de l'extérieure puisque l'appareil dispose de sa propre aménée d'air pour les-appareils étanches.
- Toutjour vérifier l'isolement correct du conduit des fumées.
- Vérifier si le poèle recoit assez d'air comburant.
L'installation en zone 2 n'est autorisée que pour des poêles étanches et si le conduit concentrique est visé par un DTA. - Habitation individuelle seulement
La dimension de la section interne du conduit des fumées doit être :
-minimum0100mm
La hauteur maximale du conduit des fumées est de 6 mètres à partir de la sortie des fumées du poële.
Nous pouvons désigner trois types d'installation en zone 2 :
(A) « configuration concentré » la sortie de toiture avec conduit d'évacuation des fumées à conduit concentré avec prise d'air au niveau du terminal vertical;
Préconse par CADEL-FREEPOINT aux conditions suivantes:
Le terminal du conduit visé par le DTA est impératif
L'amnéé d'air est uniquement raccordée au conduit concentrique;
La prise d'air est au moins à 30 cm au-dessus du toit;
Installation à l'intérieur uniquement (à l'extérieur le conduit isolé est impératif);
(B) « configuration dissociée »: avec double parois isolée pour la sortie des fumées en terminal vertical sans dépasser le faîtage et prise d'air directe à extérieur du terminal horizontal;
Préconse par CADEL-FREEPOINT aux conditions suivantes:
- Prise d'air raccordée directement sur l'appareil comme décrite sur la page 17 à propos de l'installation en Zone 1;
- Débouché du conduit au-dessus de la zone de turbulence selon EN13384-1): les zones de surpression dues au vent sont interdites. Tenir compte des pentes du toit.
Dispositif anti-oiseau sur le débouché du conduit de fumée ; - Longueur maximale de 2 metres avec un diamètre de tuyau de 60mm
(C) « raccord concentrique et conduit tube »: la connexion avec raccord de fumée concentrique à un conduit maconné existant tube qui descend jusqu'au sol ou s'arrête au plafond et qui prend l'air comburant dans l'espace annulaire laissez vide du conduit maconné.
Déconseilé par CADEL-FREEPOINT mais accepté sur responsabilité de l'installeur qui connaitra entre autres les conditions suivantes:
-
Les tubes flexibles doivent être à double peu, à paroi interieure lisse, et ISOLÉS
L'airation de l'espace annulaire entre le conduit et le tube, doit être prévue en menageant une communication avec l'atmosphère par: -
un orifice de 5cm^2 minimum en partie haute, protégé des rentrées de pluies
-
un orifice de 20 cm² minimum en partie basse
-
En cas de problème de tirage, les services après-vente CADEL-FREEPOINT demanderont à l'installateur qui a effectué le tubage de démontré que le tubage a été fait selon les règles de l'art, entre autre par les mesures de tirage réel.

Fig. 9 - Schéma de principe des 3 types de système concentrique avec terminal vertical (ZONE 2)
Voir éqalement le schéma des positions des terminaux sur, voir Fig. 9.
- En ce qui concerne les BRANCHEMENTS des tuyaux et conduits, voir Fig. 10.

ATTENTION: exception sur le prélevement d'air comburant de l'espace interstitiel du conduit concentrique (C). CADEL et FREEPOINT n'autorisent pas que l'on préleve de l'air comburant de l'espace annulaire laissé vide dans le cas d'un tubage de conduit maçonné comme suggéré dans le schéma dans Fig. 9, cas (C).
Vérifier auprès des autorités locales s'il existe des normes restrictives concernant la prise d'air combustant : si de telles normes existent, elles doivent être respectées.

BRANCHEMENTDELAPRISED'AIRENCASDEPRELEVEMENT DE L'AIR COMBURANT DE L'INTERSTITIEL DU CONDUIT
Pour ce branchement, il faudra un tuyau flexible ou rigide:
qui resiste aune tempereut de 100^,
- ayant un diamètre de 60~mm
- et une longueur maximale de 2 mètres
- Nous conseillons un tuyau flexible en aluminium.

Fig. 10 - Tuyau flexible

Fig. 11 - Branchements
LEGENDE Fig.10-Fig.11
| I | Entrée de l'air comburant ayant un diamètre de 40 mm |
| N | Raccord en caoutchouc ayant un diamètre de 40/60 mm |
| R | Tuyau flexible en aluminium |
| Q | Raccord de l'air comburant tuyau coaxial |
Exemple de procEDURE de branchement:
Insérer le raccord N sur le tuyau d'entrée d'air I.
Raccorder N avec Q en utilisant le tuyau flexible ou rigide.
RéGLAGE DES PARAMÉTRES DE COMBUSTION

Le réglage des paramètres de combustion par un professionnel est indispensable.
4.2.6 INSTALLATION EN ZONE 3 (FRANCE)
-
L'installation en zone 3 n'est autorisée que pour des poêles étanches.
-
L'installation en ZONE 3 implique la sortie de fumée murale en horizontal.
- Cette installation n'est autorisée que dans la renovation de batiments existants ( >3 ans) SI les installations en ZONE1 et ZONE2 ne sont pas réalisables.
L'évacuation des fumées doit être la plus courte possible, réalisée avec conduit concentrique. Toutefois, la hauteur minimale pour la partie verticale après le T de purge est de 1,5 mètres.
Le debouché des fumées doit être place à une hauteur minimale de 2 mètres par rapport au sol extérieur. - La longueur totale du conduit de fumée concentrique (sections horizontales + verticales) ne peut pas être supérieure à 4 mètres.
- Pour l'installation en ZONE3 qui prévoit la sortie horizontale en façade, il est obligatoire de faire au moins un coude en plus du « T » pour la sortie en horizontale.
- Placer sur le terminal horizontal (sortie façade) une grille anti-volatiles.
La dimension de la section interne du conduit des fumées doit être minimum 080 mm.

Fig. 12 - Schéma de principe du système concentrique avec terminal horizontal (ZONE 3)

Fig. 13 - Exmaple: Zone 3
4.2.7 PRESE D'AIR
Voir schéma des positions des terminaux sur Fig. 4.
- La norme française permet l'installation dans un conduit d'évacuation des fumées à double paroi (système concentrique); l'air de combustion est prélevé de l'espace interstitiel.
Le décret N. 2008-1231 article R131-2 dispense de l'entrée d'air directement de l'extérieure puisque l'appareil dispose de sa propre aménée d'air pour les-appareils étanches.
- En ce qui concerne les BRANCHEMENTS, voir Fig. 15 et Fig. 16 à la page suivante.

Vérifier auprès des autorités locales s'il existe des normes restrictives concernant la prise d'air comburant : si de telles normes existent, elles doivent être respectées.
4.2.8 RÉGLAGE DES PARAMÉTRES DE COMBUSTION
- Le réglage des paramètres de combustion part un professionnel est indispensable.

ATTENTION AU VENT DOMINANT! Le tirage « naturel » de votre conduit de fumée qui a été consolidé/confirmé par le ramoneur resté sujeet aux variations climatiques, comme par exemple Fig. 15 le vent (dominant) qui ajoute ou enlève du tirage au conduit. Par conséquent, ces variations peuvent cause des alarmes de dépression de la part du logiciel du poèle (voir le chapitre dédié aux alarmes).
L'installation en Zone3 est la typologie d'installation la plus sensible aux vents dominants et aux autres facteurs climatiques.

Fig. 14 - Vent dominant

BRANCHEMENT DE LA PRESE D'AIR EN CAS DE PRELEVEMENT DE L'AIR COMBURANT DE L'INTERSTITIEL DU CONDUIT CONCENTRIQUE
Pour ce branchement, il faudra un tuyau flexible ou rigide:
- qui résiste à une température de 100^ ,
- ayant un diamètre de 60~mm
-
et une longueur maximale de 2 mètres.
-
Nous conseillons un tuyau flexible en aluminium.
Exemple de procEDURE de branchement:
- Insérer le raccord N sur le tuyau d'entrée d'air I.
Raccorder N avec Q en utilisant le tuyau flexible ou rigide.

Fig. 15 - Tuyau flexible

Fig. 16 - Branchements
| I | Entree de l'air comburant ayant un diamètre de 40 mm |
| N | Raccord en caoutchouc ayant un diamètre de 40/60 mm |
| R | Tuyau flexible en aluminium |
| Q | Raccord de l'air comburant tuyau coaxial |
4.2.9 EXAMPLES D'INSTALLATION CORRECTE



Fig. 17 - Example 1, ZONE1
LEGENDE
Fig. 17
| 1 | Isolant |
| 2 | Réduction |
| 3 | Bouchon de control |
| 4 | Distance minimale de sécurité = 0,5 m |
| 5 | Prise d'air extérieur par Grille |
Installation du conduit des fumées d'un diamètre de 0100 avec perçage d'un trou pour le passage du tuyau.

Fig. 18 - Example 2, Zone1



LEGENDE
Fig. 18
| 1 | Isolant |
| 2 | « T » tampon |
| 3 | Trappe d'inspection |
| 4 | Distance minimale de sécurité = 0,5 m |
| 5 | Inclinaison ≥ 3° |
| 6 | Longueur horizontal ≤ 2 m |
| 7 | Prise d'air à l'extérieur par Grille |
- Vieux conduit de fumées, ayant un diamètre de 0100 mm minimum avec réalisation d'une trappe à suie pour le nettoyage de la cheminée..

Fig. 19 - Example 3


LEGENDE
Fig. 19
| 1 | Isolant |
| 2 | « T » tampon |
| 3 | Distance minimale de sécurité = 0,5 m |
| 4 | Prise d'air à l'extérieur (seulement pour ZONE 1 |
- Conduit de fumées extérieures réalisé exclusivement avec des tuyaux en inox isolés, c'est-à-dire avec une double paroi d'un diamètre interne minimum de 0100 mm. L'ensemble doit bien être fixé au mur. Avec terminal anti-vent (Fig. 6).
- Système de canalisation avec raccords en T permettant un nettoyage facile sans le démontage des tuyaux.

Vérifier avec le fabricant de la cheminée les distances de sécurité à respecter et le type de matériel isolant à utiliser (EN 13501 - EN 13063 - EN 1856 - EN 1806 - EN15827).


Fig. 20 - Examples des installations correctes
Nous conseillons le réglage des paramètres de combustion par un professionnel.
5 INSTALLATION
5.1 AVANT-PROPOS
L'emplacement d'installation du produit doit etre choisi en fonction de la piece, de I'evacuation et du conduit de fumees. Vérifier apres des autorités locales l'existence de normes restrictives concernant la prise d'air comburant, la prise d'aération, le dispositif d'évacuation des fumées y compris le conduit de fumées et le terminal de cheminée.
- Vérifier l'existence de la prise d'air comburant.
- Vérifier une éventuelle présence d'autres poèles ou d'appareils qui mettent la pierce en dépression.
Vérifier, avec le poèle allumé, qu'il n'y ait pas de CO dans la piece.
Vérifier que la cheminée ait le tirage nécessaire.
Vérifier que durant le trajet de la fumée, tout se produit en sécurité (eventuelles pertes de fumées et distance des matériaux inflammables, etc.)
L'installation de l'appareil doit permettre un nettoyage facile de ce dernier, des tuyaux de raccord des fumées et du conduit de fumées.
- L'installation doit également permettre un accès facile à la prise d'alimentation électrique (voir BRANCHEMENT ÉLECTRIQUE a pag. 34).
Pour installer plusieurs appareils, il faut adapter les dimensions de la prise d'air extérieur (voir CARACTERISTIQUES a pag. 40).
5.2 DIMENSIONS GÉNÉRALES




Fig. 21 - Dimensions générales: Wall Plus
LEGENDE Fig.21
| 1 | 96,3 cm |
| 2 | 100,5 cm |
| 3 | 27,7 cm |
| 4 | 82,8 cm |
| 5 | 17,2 cm |
| 6 | 87,7 cm |
| 7 | 17,1 cm |
| 8 | 15,9 cm |
| 9 | 8,3 cm |
| 10 | 87,5 cm |
| 11 | 13,5 cm |
| 12 | 13,5 cm |
| 13 | 30,5 cm |
| 14 | 29 cm |
| 15 | Évacuation d'air chaud d.8 cm |
| 16 | Prise d'air comburant d.6 cm |
| 17 | Tuyau d'évacuation d.8 cm |



Fig. 22 - Dimensions générales: Lean Plus
| LEGENDE | Fig. 22 |
| 1 | 93 cm |
| 2 | 114,3 cm |
| 3 | 27,8 cm |
| 4 | 85,5 cm |
| 5 | 8 cm |
| 6 | 89,5 cm |
| 7 | 17,2 cm |
| 8 | 10,5 cm |
| 9 | 8,3 cm |
| 10 | 89,5 cm |
| 11 | 7,5 cm |
| 12 | 7,5 cm |
| 13 | 46,5 cm |
| 14 | 32,5 cm |
| 15 | 27,3 cm |
| 16 | Évacuation d'air chaud d.8 cm |
| 17 | Prise d'air comburant d.6 cm |
| 18 | Tuyau d'évacuation d.8 cm |




Fig. 23 - Dimensions générales: Moon
| LEGENDE | Fig. 23 |
| 1 | 95,2 cm |
| 2 | 98,8 cm |
| 3 | 30 cm |
| 4 | 82 cm |
| 5 | 17,2 cm |
| 6 | 85,3 cm |
| 7 | 17,2 cm |
| 8 | 13,4 cm |
| 9 | 8,3 cm |
| 10 | 85 cm |
| 11 | 13,2 cm |
| 12 | 13,2 cm |
| 13 | 28 cm |
| 14 | 28,4 cm |
| 15 | Évacuation d'air chaud d.8 cm |
| 16 | Prise d'air comburant d.6 cm |
| 17 | Tuyau d'évacuation d.8 cm |




Fig. 24 - Dimensions générales: Tile3 Plus
| LEGENDA | Fig. 24 |
| 1 | 94,7 cm |
| 2 | 111,7 cm |
| 3 | 28,8 cm |
| 4 | 12,6 cm |
| 5 | 11 cm |
| 6 | 47,4 cm |
| 7 | 7,9 cm |
| 8 | 11 cm |
| 9 | 85,5 cm |
| 10 | 194 cm |
| 11 | 6 cm |
| 12 | 28,1 cm |
| 13 | 28,5 cm |
| 14 | 12,6 cm |
| 15 | 85,5 |
| 16 | 19,4 |
| 17 | 5,9 |
| 18 | Canalizzazione d.8 cm |
| 19 | Presa aria comburente d.6 cm |
| 20 | Scarico fumi d.8 cm |
5.3 INSTALLATION GÉNÉRIQUE AVEC PIEDESTAL

pour l'évacuation supérieure des fumées (voir Fig. 25), il faut acheter 2 coudes de 45^ standard diam. 80 mm (voir Fig. 26).
Les coudes NE sont pas fournis avec le poèle.

Fig. 25 - Sortie fumée supérieure

Fig.26-Courbea 45^

Fig. 27 - Installation générique avec piedestal
LEGENDE Fig.27
| 1 | Poèle |
| 2 | Distance latérale minimum = 300 mm |
| 3 | Distance arrière minimum = 0 mm |
| 4 | Distance frontale minimum = 1000 mm |
- Il est obligatoire d'installer le poèle éloigné des murs et/ou meubles, avec un écart minimum de 300 mm aux côtes afin de permettre un refroidissement efficace de l'appareil et une bonne distribution de la chaleur dans l'ambiance (voir Fig. 27).
- Si les murs sont en matériel inflammable, contrôle les distances de sécurité (voir Fig. 27).
- Contrôler que à la puissance maximal la température des murs ne doit pas excéder les 80^ . Si il est nécessaire procédé à l'installation sur les murs intercessés d'une plaque résistante au feu.
- En certains pay même les murs portants de maçonnerie sont considérés murs inflammables.
5.4 INSTALLATION MURALE
La poèle peut être accroché à un mur. portant (ja mais sur du placopatre, du bois, etc...). Rappelons que le mur doit être porteuse et de maconnerie (NON placopâtre, bois, etc...) concu pour supporter le poids de l'ensemble du poèle.

Fig. 28 - Installation murale
LEGENDE Fig.28
| 1 | Poèle |
| 2 | Distance latérale minimum = 300 mm |
| 3 | Distance frontale minimum = 1000 mm |
- Il est obligatoire dinstaller le poèle éloigné des murs et/ou meubles, avec un écart minimum de 300 mm aux côtes, afin de permettre un refroidissement efficace de l'appareil et une bonne distribution de la chaleur dans l'ambiance (voir Fig. 28).

En certains pay même les murs portants de maconnerie sont considérés murs inflammables.
Si vous voulez installer le poèle avec un mur porteur en matériel non inflammable, vous devez fixer le support au mur (le support est fourni avec le poèle).
- Consulter une personne compétente qui va préparer les trouss pour la combustion et l'air de combustion.
Fixez au mur avec le support arriere avec chevilles metalliques aptes à supporter le poids du poèle (voir Fig. 29).

Fig. 29 - Fixation au mur non inflammable
| RIF. | WALL3 PLUS | LEAN3 PLUS | MOON |
| 1 | 833 mm | 833 mm | 833 mm |
| 2 | 148 mm | 168 mm | 124 mm |
| 3 | 182 mm | 182 mm | 182 mm |
| 4 | 101 mm | 101 mm | 101 mm |
| 5 | 305 mm | 325 mm | 281 mm |
| 6 | 257 mm | 257 mm | 257 mm |
| 7 | 875 mm | 895 mm | 851 mm |
| 8 | D.80 mm trou pour l'air de combustion | D.80 mm trou pour l'air de combustion | D.80 mm trou pour l'air de combustion |
| 9 | D.120 mm trou sortie fumées | D.120 mm trou sortie fumées | D.120 mm trou sortie fumées |
| 10 | Support au mur | Support au mur | Support au mur |
| 11 | Chevilles fischer | Chevilles fischer | Chevilles fischer |
Si vous voulez fixer le poèle au mur dans le cas de parois porteuses en métériau inflammable, vous devrez fixer un support au mur et une vente soie cod. 5013016 (il n'est pas fourni avec le poèle).
- Consulter une personne compétente qui va préparer les trouss pour la combustion et l'air de combustion.
Fixez au mur avec le support arriere avec chevilles métalliques aptes à supporter le poids du poèle (voir Fig. 30).

Fig. 30 - Fixation au mur inflammable
| LÉGENDE | WALL3 PLUS | LEAN3 PLUS | MOON |
| 1 | 833 mm | 833 mm | 833 mm |
| 2 | 148 mm | 168 mm | 124 mm |
| 3 | 182 mm | 182 mm | 182 mm |
| 4 | 101 mm | 101 mm | 101 mm |
| 5 | 305 mm | 325 mm | 281 mm |
| LEGEENDE | WALL3 PLUS | LEAN3 PLUS | MOON |
| 6 | 257 mm | 257 mm | 257 mm |
| 7 | 875 mm | 895 mm | 851 mm |
| 8 | 735 mm | 735 mm | 735 mm |
| 9 | 227 mm | 247 mm | 203 mm |
| 10 | Support au mur | Support au mur | Support au mur |
| 11 | Entretoise mur (cod. 5013016) | Entretoise mur (cod. 5013016) | Entretoise mur (cod. 5013016) |
| 12 | D.80 mm trou pour l'air de combustion | D.80 mm trou pour l'air de combustion | D.80 mm trou pour l'air de combustion |
| 13 | D.120 mm trou sortie fumées | D.120 mm trou sortie fumées | D.120 mm trou sortie fumées |
| 14 | Chevilles fischer | Chevilles fischer | Chevilles fischer |
| 15 | Boulon M8x20 | Boulon M8x20 | Boulon M8x20 |
5.5 FIXATION DE SECURITÉ

L'appareil doit être installé par un technicien/agréé!
Pour la sécurité du renversement accidentel, vous devez fixer le poèle au mur avec 2 vis comme indiqué dans Fig. 31.

Fig. 31 - Fixation murale
5.6 RETRAIT/MONTAGE DE LA PORTE DU FOYER
RETRAIT DE LA PORTE
Pour certaines interventions (par exemple : montage des flancs et nettoyage), il faut retarder la porte du foyer.
Pour-retirer la porte,procededezla maniere suivante:
Ouvrir la porte.
- À l'aide d'un tournevis, tourner le levier dans le sens de la flèche (voir Fig. 32).
- Lever la porte de façon à ce que les goujons de la porte sortent de l'étrier sur la structure (voir Fig. 33).
.
- Poser la porte dans un lieu sur jusqu'à la prochaine utilisation.

Fig. 32 - Retrait des vis

Fig. 33 - Retrait de la porte
MONTAGE DE LA PORTE
Pour le montage de la porte, il faut center les goujons fixés dans la porte sur le trou de l'étrier situé dans la structure.
Lorsque la porte a ete remontee, soulever le levier a l'aide d'un tournevis de facon a ce que la porte soit bloquée.
5.7 ASSEMBLAGE PANNEAUX (MODELE WALL3 PLUS)

Toutes les opérations d'assemblage doivent être effectuées par un technicien/agree.
Pour assembler les panneaux, procédez comme suit:

Fig. 34 - Inséorer les panneaux

Fig. 35 - Fixer les panneaux
- Emboiter les montants lateraux par le haut en mettant les deux dents dans les fissures correspondantes et en les faisant coulisser jusqu'au fond (voir Fig. 34).
Avec une clé 8, serrer les deux vis sous le panneau (voir Fig. 35).
5.8 ASSEMBLAGE PANNEAUX (MODELE LEAN3 PLUS)

Toutes les opérations d'assemblage doivent être effectuées par un technicien/agree.
Pour assembler les panneaux, procédez comme suit:

Fig. 36 - Insérer les panneaux

Fig. 37 - Fixer les panneaux

Fig. 38 - Fixation inférieure des panneaux
- Insérer de haut les panneaux lateraux en métal en insérant les dents / vis dans les fentes pourvues à cet effet et les faire descendre jusqu'au bout (voir Fig. 36 et Fig. 37).
Fixer la partie inférieure des panneaux à l'aide des vis (voirFig. 38).
5.9 ASSEMBLAGE PANNEAUX (MODELE MOON)

Toutes les opérations d'assemblage doivent être effectuées par un technicien/agree.
Pour assembler le panneau, professionnel comme suit:

Fig. 39 - Accrocher le panneau

Fig. 40 - Fixer les vis
- Insérer le panneau en couleur par le haut, en encastrant les dents dans les fissures prévues à cet effet (voir Fig. 39).
Fixer le panneau sur l'arrière avec 4 vis (voir Fig. 40).
5.10 ASSEMBLAGE PANNEAUX (MODELE TILE ^3 PLUS)

Toutes les opérations d'assemblage doivent être effectuées par un technicien/agree.
Pour assembler le panneau, professionnel comme suit:

Fig. 41 - Demontage de l'étrier supérieur

Fig. 42 - Decrochage de I'étrier inférieur

Fig. 43 - Fixer les panneaux
- Dévisser 2 vis et-retirer l'étrier supérieur.
- Décrocher des aimants les étriers d'union de revêtement, supérieur et inférieur.
- Composer le revêtement en fixant les 2 panneaux colorés aux 2 éttriers d'union.

Fig. 44 - Pliage des dents

Fig. 45 - Inséorer les panneaux

Fig. 46 - Fixation du revêtement
Au moyen d'un tournevis, soulever et plier les 2 dents/leviers. (voir Fig. 44).
- Insérer le revêtement par le haut, en encastrant les dents dans les fentes appropriées et revisisser les 2 vis (voir Fig. 45).
5.11 RACCORDEMENT THERMOSTAT EXTERNE
Le poèle a déjà un thermostat interne. Si vous le désirez, le poèle peut être relié à un thermostat ambient externe. Cette opération doit être effectuee par un technicien agree.
Relier les câbles provenant du thermostat externe à la borne « Term opt » sur la fiche présente sur le poële. Activer le thermostat externe (configuration d'usine OFF) de la manière suivante :
Appuyer sur la touche « menu »
Défilere avec les flèches jusqu'à « Selection »
- Sélectionner en appuyant sur « menu »
Défilé à nouveau avec les flèches jusqu'à « Therm. Deporte »
- Sélectionner en appuyant sur « menu »
Appuyer sur les touches - / +
Pour activer le thermostat externe, selectionner « On »
- Appuyer sur la touche « menu » pour confirmer.

Important: l'appareil doit être installe par un technicien spécialisé!
- Le branchement électric què s'effectue au moyen d'un cable avec fiche sur une prise électricque capable de supporter la charge et la tension de chaque modèle comme indiqué dans le tableau des données techniques (voir CARACTERISTIQUES a pag.40).
La fiche doit être facilement accessible quand l'appareil est installé. - S'assurer que le réseau électrique dispose d'une mise à terre suffisante : si celle-ci est inexistante ou insuffisante, procéder à sa réalisation selon les normes en viqueur.
- Brancher le cable d'alimentation avant sur le dos du poèle (voir Fig. 47), puis à une prise murale.

Fig. 47 - Prise électrique avec interrupteur général
L interrupteur général 0/1 (voir Fig. 47) ne doit être activé que pour allumer le poêle; si ce n'est pas le cas, il est conseillé de le tenir étèint.
- Ne pas utiliser de rallonges.
- Si le cable d'alimentation est endommagé, il doit être remplaced par un technicien/agréé.
- Débrancher le poèle pendant les périodes d'inutilisation.
5.13 CANALISATION D'AIR CHAUD
Le poèle est équipé d'1 sortie d'air chaud canalisable dans d'autres pieces.
Le tuyau de canalisation peut etre dirigé ainsi:

Fig. 48 - Canalisation 1

Fig. 49 - Canalisation 2

Fig. 50 - Canalisation 3
Le tuyau peut etre dirige vers la gauche (voir Fig.48).
- Le tuyau peut être dirigé vers la droite (voir Fig. 49). Pour cette solution, le tuyau peut passer à travers le socle en enlevant les bouchons prédécoupés.
- Le tuyau peut être dirigé vers l'arrière du poèle (voir Fig. 50).

Fig. 51 - Exemple de canalisation
- Avec un poèle sans canalisation, il y a une portée d'air variable d'un minimum de 60m^3/h à un maximum de 130m^3/h et une température de l'air qui varie entre un minimum de 90^ et un maximum de 170^ .
Pour la canalisation, il est recommendé de ne pas dépasser les 6 mètres de tuyau et 3 coudes de 90^ car l'air chaud perdrait de son efficacité.
Utiliser des tuyaux d'un diamètre de 80mm avec des parois internes lisses. - Si les tuyaux passent à travers des murs froids, isoler les tuyaux avec un matériel adaptations.
- Sur la bouche de sortie,mettre une grille de protection à grandes mailles avec une superficie nette totale d'un minimum de 40 cm^2 .
Au-delà de 6 mètes de tuyau, la portée d'air variable est au minimum de 58m^3 /h et au maximum de 90m^3 /h et la tempéra-ture de l'air varie entre 65^ minimum et 130^ maximum. (Ces valeurs ont été enregistrées dans un laboratoire d'essais. Dans la piece où est installé le poèle la portée d'air et la températe peuvent varier).
Si you desirez augmenter la portee d'air, il faut installer a la sortie du tuyau un petit ventilateur mural d'un portee supérieure à 130m^3 /h . Cette operation doit etre effectuee par un technicien agree. - Avec les paramètres de fabrication, 1/2 de la chaleur produit par le poèle est reliachée dans la piece où est installé le poèle. Un autre 1/2 sort par la canalisation par celle de gauche.
- Pour obtenir les mêilles prestations possibles, il est nécessaire d'équilibrer la Puisance avec la portée d'air (voir MANUEL UTILISATEUR). Cette opération doit être effectuee avec l'aide d'un technicien agre.
5.14 ETALONNAGE DU POELE ET MESURATION DE LA DEPRESSION
Cet apparéil est équipé d'un point de détention, placé dans le réservoir, qui permet de mésurer la dépression en,chambre de combustion et vérifier le fonctionnement.
Pour effectuer cette opération procéder comme suit:
- Dévisser l'écrou « D » place sur le fond du poèle, à proximité du pressostat (voir Fig. 52).
- Connecter un pressostat numérique à l'aide d'un tube pour mesurer la dépression (voir Fig. 53).
- Charger la vis sans fin au moyen de la fonction prévue à cet effet.
- Demarrer le poèle et configurer « Set flamme » sur la puissance 1 (le démarrage de ce poèle dure de 8 à 10 minutes pour assurer un tirage minimum).
- Comparer les valeurs lues à celles figurant dans le tableau.
- Changer de puissance toutes les 10 minutes et attendre qu'elle se stabilise.
- Entrer dans le menu utilisé et, le cas échéant, modifier les paramètres

Fig. 52 - Retrait du carter

Fig. 53 - Connexion du pressostat numérique
| DONNÉES | P1 | P2 | P3 | P4 | P5 |
| Dépression - température du poège 10 kW | 22/24 Pa - 170°C | 28/30 Pa - 128°C | 40/42 Pa - 148°C | 49/51 Pa - 164°C | 56/58 Pa - 190°C |
NB: pour obtenir une combustion optimale les valeurs de dépression doivent être comprises entre + - 5 Pa et les valeurs de tempéra-ture entre + - 10^
Pour une longue durée de vie du poèle, le nettoyer régulièrement comme indiqué dans les paragraphs reportés ci-dessous.
- Les conduits d'évacuation des fumées (conduit de cheminée + conduit de fumée + cheminée) doivent toujours être propres, nettoyés et contrôlés par un ramoneur qualifié, en conformité avec les normes locales, selon les indications du fabricant de la cheminée et les directives de votre compagne d'assurance.
- Au moins une fois par an, il est nécessaire de faire nettoyer la chambre de combustion, de vérifier les joints, de nettoyer les moteurs et les ventilateurs et de contrôler la carte électrique.

Toutes ces opérations doivent être programmes à temps avec le service Technique d'assistance agrée.
- Àprous une longue période de non-utilisation, avant d'allumer le poèle, contrôle que le système d'évacuation des fumées ne soit pas obstrué.
- Si le poèle est utilisé de manière continue et intense, toute l'installation (y compris la cheminée) doit être nettoyée et contrôleé à une fréquence plus importante.
Pour un remplacement eventuel des parties endommagées, demander une piece détachée d'origine à votre Revendeur Agréé
6.2 ENTRETIEN DE LA VIS SANS FIN
Pour l'entretien de la vis sans fin, procéder comme suit :

Fig. 54 - Retrait des vis

Fig. 55 - Retrait de la coque

Fig. 56 - Retrait du motoréducteur
- Entrer par le réserveit et devisser les 4 vis de la coque de la vis sans fin (voir Fig. 54).
Retirer la coque (voir Fig. 55). - Retirer le motoréducteur en devissant la vis qui le bloque (voir Fig. 56).

Fig. 57 - Retrait des spirales

Fig. 58 - Retrait du palier
- Retirer la spirale (voir Fig. 57).
- Si use, restirer le palier (voir Fig. 58) et le remplacer.
Pour le remontage,proceder dans le sens inverse.
6.3 NETTOYAGE DE L'ASPIRATEUR DES FUMÉES
Chaque année, nettoyer l'aspirateur des fumées en enlevant la cendre ou la poussière qui pourrait cause un déséquilibre des pales et un bruit accru.

Compte tenu de la délicasse de l'opération, faire effectuer le nettoyage par un technicien/agree.

Fig. 59 - Nettoyage de l'aspirateur des fumées: phase 1

Fig. 60 - Phase 2

Fig.61-Phase 3
- Suivre le procédé selon Fig. 59, Fig. 60 e Fig. 61.
6.4 NETTOYAGE DE LE VENTILATEUR AMBIANT
Chaque année, nettoyer le ventilateur ambient en enlevant la cende ou la poussière qui pourrait cause un déséquilibre des pales et un bruit accru.

Compte tenu de la délicasse de l'opération, faire effectuer le nettoyage par un technicien/agree.
- Enlever le panneau à gauche et aspirer la cendre ou la poussière accidé à l'intérieur.
6.5 NETTOYAGE ANNUEL DU CONDUIT DES FUMÉES

Chaque année, enlever la suite à l'aide de brosses.
Chaque année, enlever la suite à l'aide de brosses.
Le nettoyage doit être effectué par un technicien compétent qui s'occupera du nettoyage du conduit de cheminée, du conduit de fumées et de la cheminée, il vérifiera leur bon fonctionnement et délivrera une déclaration écrite attesting la sécurité de l'installation. Cette opération doit être effectuee au moins une fois par an.
6.6 REMPLACEMENT DES JOINTS
Si les joints de la porte à feu, du réservoir ou de la chambre des fumées se détiennent, il est nécessaire de les faire remplaçer par un technicien/agree afin de garantir le bon fonctionnement du poèle.

Utiliser uniquement des pieces de rechange d'origine.
7 EN CAS D'ANOMALIES
7.1 SOLUTION DES PROBLEMES

Avant tout essai et/ou intervention du technicien agréé, il devra vérifier que les paramètres de la carte électronique correspondent à son tableau de référence.

En cas de doute sur l'utilisation de poèle, TOUJOURS appeler le personnel technique agréé afin d'éviter des dommages irréparables!
| PROBLEME | CAUSE | SOLUTION | INTERVENTION |
| Le panneau de contrôle ne s'allu-me pas | Le poèle n'est pas alimenté | Vérifier que la fiche soit raccordée. | |
| Fusibles de protection dans la prise électrique ont sauté | Remplacer les fusibles protection prise électrique (3,15A-250V). | ||
| Panneau de commande défectueux | Remplacer la console du panneau de commande. | ||
| Câble plat défectueux | Remplacer le cable plat. | ||
| Carte électronique défaillante | Remplacer la carte. | ||
| Les pellets n'ar-rient pas dans la chambe de combustion | Réserveoir vide | Remplir le réservoir. | |
| Porte du feu ouver-te ou portillon du pellet ouvert | Fermer la porte du feu et le portillon du pellet et contrôler qu'il n'y ait pas de grains de pellet en correspondance avec le joint. | ||
| Poèle bouché | Nettoyer la chambre des fumées | ||
| Vis sans fin bloquée par un objet étranger (par exemple des clous) | Nettoyer la vis sans fin. | ||
| Motoréducteur vis sans fin cassé | Remplacer le motoréducteur. | ||
| Vérifier qu'aucune "ALARM ACTIVE" | Faire contrôr le poèle par un technicien agrée. | ||
| Le feu s'éteint et le poèle s'arrête | Réserve vide | Remplir le réservoir. | |
| Vis sans fin bloquée par un objet étranger (par ex. des clous) | Nettoyer la vis sans fin. | ||
| Pellets de mauvaisé qualité | Essayer avec d'autres types de pellets. | ||
| Paramètre confi-guré dans la carte à la phase 1 est trop bas | Régler la charge des pellets. | ||
| Vérifier qu'aucune "ALARM ACTIVE" n'apparaisse à l'écran. | Faire contrôle le poèle par un technicien/agree. | ||
| Flamme faible ou orange, les pellets ne brûlent pas correctement et la vitre se noircit | Air de combustion insuffisant | Contrôler les points suivants: obstructions eventuelles de l'entrée d'air comburant à l'arrière ou sous le poèle; grille du brasero obstruée et/ou logement brasero obstrué par un excès de centre. Faire nettoyer par un technicien/agree les pales et l'intérieur de l'aspirateur. | |
| Évacuation ob-struée | La cheminée d'évacuation est partiellement ou totalement obstruée. Appeler un ramoneur qualifié qui effectuera un contrôle depuis l'évacuation du poèle jusqu'àau terminal de cheminée. Nettoyer immédiatement. | ||
| Poèle bouché | Nettoyer l'intérieur du poèle | ||
| Aspirateur des fumées cassé | Les pellets peuvent brûr grêce à la dépression du conduit de fumées sans l'aide de l'aspirateur. Faire immédiatement rem-placesper l'aspirateur des fumées. Le fonctionnement du poèle sans l'aspirateur des fumées peut être nocif pour la santé. | ||
| Le ventilateur échangeur continue à tournier même si le poèle est froid | Sonde de tempora-ture des fumées défectueuse | Faire replacer la sonde des fumées. | |
| Carte électronique défectueuse | Faire replacer la carte électronique. | ||
| Cendres autour du poèle | Joints de la portedéflectieux ouabîmés | Faire replacer les joints. | |
| Tuyaux du conduitde cheminée nonhermétiques | Consulter un ramoneur qualifié qui effectuera immédiatementles raccordements avec du silicone haute température et/oule remplacement des tuyaux par des tuyaux répondant auxnormes en vigueur. La canalisation des fumées non hermétique peut nuire à la santé. | ||
| Le poèle à puissan-ce maximale maisil ne chauffe pas | Température am-biante atteinte | Le poèle marche au minimum Élever la température ambienteoushaitée | |
| Le poèle marcheà plein régime.L'écran affiche"SurchauffeFumees" | Températurelimite des fuméesatteinte | Le poèle marche au ralenti, pas de problème. | |
| Le conduit defumée du poèlecondense | Température desfumées trop BASSE | Vérifier que le conduit de fumée ne soit pas obstrué | |
| Augmenter la puissance minimale de l'appareil (descente degranulés et vitesse ventilateurs) | |||
| Installer un collecteur de condensation | |||
| Le poèle marcheà plein régime.L'écran affiche"SERVICE" | Avis de maintenancepériodique (nebloque pas) | Lorsque cette mention clignotante apparait à l'allumage, celasignifie que les heures de fonctionnement préétablies avant lamaintenance sont écoulées. Appeler le centre d'assistance. |
8 DONNÉES TECHNIQUES
8.1 INFORMATION POUR LES REPARATIONS
Voici quelques indications pour permettre au technician agree d'acceder aux parties mécaniques du poèle.
Pour le replacement des fusibles dans la prise electrique qui se trouve a l'arriere du poele retarder le couvercle en plastique a l'aide d'un tournevis plat (voir) et retarder les fusibles a replacer.

Fig. 62 - Hublot avec les fusibles a enlever
Procedez comme suit:
- Dévisser le couvercle Decrocher les flancs latéraux droit et gauche et les retirer de leur emplacement.
- Àpèras avoir effectué ces opérations, il est possible d'accéder aux composants suivants : motoréducteur, bougie d'allumage, ventilateur ambient, aspirateur des fumées, sonde ambiente, sonde des fumées, thermostat, carte électronique, pressostat.
- Pour le remplacement et/ou le nettoyage de la vis sans fin de chargement, il faut dévisser les trois boulons du motoréducteur et le retirer, dévisser les deux vis sous le motoréducteur de la vis sans fin, retarder la protection des mains à l'intérieur de la vis sans fin; pour le remontage, procédér dans le sens inverse.
8.2 ETIQUETTE CE
L'étiquette CE avec les données du poèle est placé sous le panneau lésral droit du poèle (voir Fig. 63).

Fig. 63 - Position étiquette CE
8.3 CHARACTERISTIQUES
| DESCRIPTION | WALL3 PLUS | LEAN3 PLUS | MOON |
| LARGEUR | 96 cm | 51,5 cm | 95 cm |
| PROFONDEUR | 27 cm | 48,5 cm | 27 cm |
| HAUTEUR | 101 cm | 94,5 cm | 99 cm |
| POIDS | 103 kg | 115 kg | 103 kg |
| PUISSANCE THERMIQUE INTRODUITE (Min/Max) | 3,16 - 11 kW | 3,16 - 11 kW | 3,16 - 11 kW |
| PUISSANCE THERMIQUE NOMINALE (Min/Max) | 3 - 10 kW | 3 - 10 kW | 3 - 10 kW |
| RENDEMENT (Min/Max) | 94,5 - 91 % | 94,5 - 91 % | 94,5 - 91 % |
| TEMPÉRATURE DES FUMÉES (Min/Max) | 111 - 215 °C | 111 - 215 °C | 111 - 215 °C |
| PORTÉE MAXIMALE DES FUMÉES (Min/Max) | 2,5 - 5,6 g/s | 2,5 - 5,6 g/s | 2,5 - 5,6 g/s |
| ÉMISSION CO (13% O2) (Min/Max) | 0,0139 - 0,0095 % | 0,0139 - 0,0095 % | 0,0139 - 0,0095 % |
| ÉMISSION OGC (13% O2) (Min/Max) | 5 - 4 mg/Nm3 | 5 - 4 mg/Nm3 | 5 - 4 mg/Nm3 |
| ÉMISSION NOX (13% O2) (Min/Max) | 108 -104 mg/Nm3 | 108 -104 mg/Nm3 | 108 -104 mg/Nm3 |
| CONTENU moyen en CO à 13% O2 (Min/Max) | 174 - 119 mg/Nm3 | 174 - 119 mg/Nm3 | 174 - 119 mg/Nm3 |
| CONTENU moyen de POUSSIÈRES à 13% O2 (Min/Max) | 9,9 - 16,5 mg/Nm3 | 9,9 - 16,5 mg/Nm3 | 9,9 - 16,5 mg/Nm3 |
| DéPRESSION CHEMINÉE (Max) | 10 Pa | 10 Pa | 10 Pa |
| SUR CONDUIT DE FUMÉE PARTAGÉ | NO | NO | NO |
| DIAMÈTRE ÉVACUATION DES FUMÉES | Ø80 mm | Ø80 mm | Ø80 mm |
| COMBUSTIBLE | Pellet Ø6-7 mm | Pellet Ø6-7 mm | Pellet Ø6-7 mm |
| POUVOIR CALORIFIQUE DES PELLETS | 5 kWh/kg | 5 kWh/kg | 5 kWh/kg |
| HUMIDITÉ DES PELLETS | ≤ 10% | ≤ 10% | ≤ 10% |
| VOLUME POUVANT ÉTRE CHAUFFÉ 18/20 °C Coeff. 0,045 kW (Min/Max) | 72 - 240 m3 | 72 - 240 m3 | 72 - 240 m3 |
| CONSOMMATION HORAIRE (Min/Max) | 0,66 - 2,24 kg/h | 0,66 - 2,24 kg/h | 0,66 - 2,24 kg/h |
| CAPACITÉ RÉSEROVOIR | 15 kg | 17 kg | 15 kg |
| AUTONOMIE (Min/Max) | 6,7 - 22,7 h | 7,8 - 26,5 h | 6,7 - 22,7 h |
| ALIMENTATION | 230 V - 50 Hz | 230 V - 50 Hz | 230 V - 50 Hz |
| PUISSANCE ABSORBÉE (Max) | 350 W | 350 W | 350 W |
| PUISSANCE ABSORBÉE RÉSISTANCE ALLUMEUR | 300 W | 300 W | 300 W |
| PRISE D'AIR EXTÉRIEUR MINIMUM (dernière section utile) | 80 cm2 | 80 cm2 | 80 cm2 |
| POÉLE À CHAMBRE ÉTANCHE | OUI | OUI | OUI |
| PRISE D'AIR EXTÉRIEUR POUR CHAMBRE ÉTANCHE | 60 mm | 60 mm | 60 mm |
| DISTANCE DE MATÉRIAU COMBUSTIBLE (derrière/côte/en dessous) | 0 / 300 / 0 mm | 0 / 300 / 0 mm | 0 / 300 / 0 mm |
| DISTANCE DE MATÉRIAU COMBUSTIBLE (plafond/devant) | 750 / 1000 mm | 750 / 1000 mm | 750 / 1000 mm |
| DESCRIPTION | TILE3 PLUS | ||
| LARGEUR | 94,8 cm | ||
| PROFONDEUR | 28,8 cm | ||
| HAUTEUR | 110,8 cm | ||
| POIDS | 125 kg | ||
| PUISSANCE THERMIQUE INTRODUITE (Min/Max) | 3,16 - 11 kW | ||
| PUISSANCE THERMIQUE NOMINALE (Min/Max) | 3 - 10 kW | ||
| RENDEMENT (Min/Max) | 94,5 - 91 % | ||
| TEMPÉRATURE DES FUMÉES (Min/Max) | 111 - 215 °C | ||
| PORTÉE MAXIMALE DES FUMÉES (Min/Max) | 2,5 - 5,6 g/s | ||
| ÉMISSION CO (13% O2) (Min/Max) | 0,0139 - 0,0095 % | ||
| ÉMISSION OGC (13% O2) (Min/Max) | 5 - 4 mg/Nm3 | ||
| ÉMISSION NOX (13% O2) (Min/Max) | 108 -104 mg/Nm3 | ||
| CONTENU moyen en CO à 13% O2 (Min/Max) | 174 - 119 mg/Nm3 | ||
| CONTENU moyen de POUSSIÈRES à 13% O2 (Min/Max) | 9,9 - 16,5 mg/Nm3 | ||
| DéPRESSION CHEMINÉE (Max) | 10 Pa | ||
| SUR CONDUT DE FUMÉE PARTAGÉ | NO | ||
| DIAMÈTRE ÉVACUATION DES FUMÉES | Ø80 mm | ||
| COMBUSTIBLE | Pellet Ø6-7 mm | ||
| POUVOIR CALORIFIQUE DES PELLETS | 5 kWh/kg | ||
| HUMIDITÉ DES PELLETS | ≤ 10% | ||
| VOLUME POUVANT ÉTRE CHAUFFÉ 18/20 °C Coeff. 0,045 kW (Min/Max) | 72 - 240 m3 | ||
| CONSOMMATION HORAIRE (Min/Max) | 0,66 - 2,24 kg/h | ||
| CAPACITÉ RÉSEROVIR | 18 kg | ||
| AUTONOMIE (Min/Max) | 8 - 27 h | ||
| ALIMENTATION | 230 V - 50 Hz | ||
| PUISSANCE ABSORBÉE (Max) | 350 W | ||
| PUISSANCE ABSORBÉE RÉSISTANCE ALLUMEUR | 300 W | ||
| PRISE D'AIR EXTÉRIEUR MINIMUM (dernière section utile) | 80 cm2 | ||
| POÉLE À CHAMBRE ÉTANCHÉ | SI | ||
| PRISE D'AIR EXTÉRIEUR POUR CHAMBRE ÉTANCHÉ | 60 mm | ||
| DISTANCE DE MATÉRIAU COMBUSTIBLE (derrière/côte/en dessous) | 0 / 300 / 0 mm | ||
| DISTANCE DE MATÉRIAU COMBUSTIBLE (plafond/devant) | 750 / 1000 mm |
NOTE
NOTE
NOTE

89019086B
Rev.00-2020
Notice Facile