DE29IN - Plaque de cuisson électrique FRIONOR - Notice d'utilisation et mode d'emploi gratuit
Retrouvez gratuitement la notice de l'appareil DE29IN FRIONOR au format PDF.
| Type d'appareil | Table de cuisson électrique |
| Nombre de foyers | 2 |
| Type de foyers | Foyers électriques à plaques |
| Commandes | Manettes rotatives |
| Matériau de la surface | Acier inoxydable |
| Indicateur de chaleur résiduelle | Oui |
| Fonction sécurité | Non précisé |
| Dimensions (L x P) | Non précisé |
| Installation | Encastrable |
| Type d'alimentation | Électrique |
| Puissance totale | Non précisé |
| Couleur | Inox et noir |
| Type de contrôle température | Manuel |
| Type de plaque | Plaque pleine |
| Marque | Non précisé |
| Modèle | Non précisé |
FOIRE AUX QUESTIONS - DE29IN FRIONOR
Questions des utilisateurs sur DE29IN FRIONOR
0 question sur cet appareil. Repondez a celles que vous connaissez ou posez la votre.
Poser une nouvelle question sur cet appareil
Téléchargez la notice de votre Plaque de cuisson électrique au format PDF gratuitement ! Retrouvez votre notice DE29IN - FRIONOR et reprennez votre appareil électronique en main. Sur cette page sont publiés tous les documents nécessaires à l'utilisation de votre appareil DE29IN de la marque FRIONOR.
MODE D'EMPLOI DE29IN FRIONOR
Vous venez d'acquerir une de nos tables de cuisson et nous vous remercions de votrechoix.
Celle-ci a ete soigneusement concue, fabriquee et testee pour suaive plus grande satisfaction.
Nous vous conseillons de dire très attentivement cette notice d'utilisation. Les instructions et conseils vous aideront à utiliser au mieux votre table de cuisson. Cette table de cuisson est destinée uniquement à un usage domestique, excluant l'usage professionnel. Nous déclinons toute responsabilité en cas de dommages occasionnés par l'utilisation incorrecte, erronée ou non compatible avec l'usage pour lequel elle a été conçue, c'est-à-dire la cuisson des alimentés et non le chauffage d'un local par exemple.
SOMMAIRE
PAGE
PRECAUTIONS D'EMPLOI 3
DESCRIPTION 7
INSTALLATION 8
Conseils à l'installateur 8
Déballage 9
Installation de la table de cuisson 9
Branchementélectrique 12
AVANT LA PREMIÈRE UTILISATION 12
UTILISATION 13
NETTOYAGE ET ENTRETIEN 16
MISE AU REBUT 16
QUE FAIRE EN CAS DE PANNE 17
ECOCONCEPTION ET CONSOMMATION
D'ENERGIE 18
SPECIFICATIONS TECHNIQUES 20
Ces produits ont ete concus, fabriqués et vendus dans le respect des normes suivantes:
- La Directive Basse Tension 2014/35/EU pour la sécurité
- La Directive « EMC » 2014/30/EU pour la protection
- Les pièces détachées pour ces produits sont disponibles pour une durée de 5 ans à la date de production.
PRECAUTIONS D'EMPLOI
Lisez attentivement tous les conseils importants de sécurité et les précautions d'emploi avant d'utiliser votre apparéil.
1 - Les conditions de branchement sont indiquées sur la plaque signalétique.
2 - Cette table de cuisson doit être installée par un technicien qualifié suivant les normes en vigueur. Elle doit être utilisée dans un endroit bien aéré uniquement. Lisez attentivement cette notice avant la première installation et utilisation.
3 - IMPORTANT : l'installation doit être effectuees suivants les instructions indiquées dans cette notice. Une installation incorrecte peut causer des dommages aux personnes, animaux ou biens. Le fabricant decline toute responsabilité en cas d'installation ne respectant pas les règles en vigueur.
4 - Cet apparéil doit avoir un branchement à la terre. En cas de branchement incorrect la garantie ne sera pas validée et le fabricant ne sera pas responsable des conséquences.
5 - Retirez toutes traces d'emballage avant d'utiliser la table de cuisson. Les emballages devront être éliminés dans le cadre du tri sélectif.
6 - L'utilisation d'un apparéil de cuisson provoque de la chaleur et de la vapeur dans la piece dans laquelle il se trouve. Assurez-vous donc que
la cuisine soit bien aérée au moyen d'une ventilation naturelle ou hotte électrique. L'utilisation intensive et prolongée de l'appareil peut nécessiter une aération supplémentaire (par exemple en ouvrant une fenêtre ou une aération plus efficace (par exemple en augmentant la puissance de la ventilation mécanique si elle existe)). Les trou s d'aérations de l'appareil ne doivent pas être couverts.
7 - MISE EN GARDE : Pendant et immédiatement après le fonctionnement les parties accessibles de l'appareil deviennent chaudes. Evitez de les toucher. Les enfants doivent être tenus à distance.
8 - MISE EN GARDE: Risque d'incendie: ne pas entreposer d'objets sur les surfaces de cuisson.
9 - Ne rangez jamais pres des foyers des recipients contenant du gaz pressurisé, des aérosols, des produits et matières inflammables tel que du papier, du plastique ou du tissu etc., ainsi que des objets et ustensiles contenant des matières inflammables. Ils pourraient prendre feu
10 - MISE EN GARDE : La cuisson sans surveillance avec huile ouGRAisse peut etre dangereux et peut causer un feu. Ne jamais essayer d'eteindre un feu avec de I'eau. Arretez le fonctionnement de I'appareil et couvrir les flammes, par exemple avec une couverture anti-feu ou un couvercle.
11 - MISE EN GARDE : Lors de l'utilisation l'appareil et ses parties accessibles deviennent chauds. Faire attention de ne pas toucher les éléments chauffants sur le plan de cuisson. Si les enfants de moins de 8 ans d'âge ne sont pas surveillés en permanence, ils doivent être tenus à distance.
12 - Surveillance vous appeareil en cours de fonctionnement pour éviter tout risque d'incident.
13 - Àprous avoir utilisé la table de cuisson, vérifie que l'index des manettes est sur la position de fermeture.
14 - Pour utiliser un apparéil électrique il est recommandé de respecter certaines règles :
Ne pas toucher l'ordinateil avec des mains ou des pieds mouillés ou humides
Ne pas utiliser l'appareil les pieds nus
15 - Si le cordon d'alimentation est endommagé, il doit être remplace par le fabricant, son service après-vente ou toute personne de qualification similaire afin d'éviter tout danger.
16 - Cet apparéil n'est pas prévu pour être utilisé par des enfants.
17- Cet apparéil peut être utilisé par des enfants à partir de 8 ans et plus et par des personnes ayant des capacité physiques, sensorielles ou mentales réduites ou un manque d'expérience et de connaissance à condition qu'ils (qu'elles) soient correctement surveillé(e)s et qu'ils (qu'elles) aient reçu des instructions concernant l'utilisation de
l'appareil en toute sécurité et qu'ils (qu'elles) comprend les dangers encourus.
Les enfants ne doivent pas jouer avec l'appareil. Le nettoyage et l'entretien de cet apparéil ne doit pas être effectuels par des enfants sauf qu'ils ont plus de 8 ans et qu'ils sont surveillés.
18 - Cet apparéil n'est pas destiné à être mis en fonctionnement au moyen d'une minuterie externe ou d'un système de commande à distance séparée.
19 - Cet apparéil doit être débranché après usage et avant l'entretien par l'usage.
20 - Ne pas utiliser d'appareil de nettoyage à vapeur pour nettoyer cet apparéil.
21 - Les produits electroménagers usages ne doivent pas etre jetes avec les ordures menagères. Veuillez utiliser les aménagements spécifiques prevus pour les traiter.
Renseignez-vous auprès des autorités locales ou du revendeur pour obtenir la marche à suivre en matière de recyclage.
22 - MISE EN GARDE : Utiliser uniquement les dispositifs de production de table de cuisson concus par le fabricant de l'appareil ou indiqués par le fabricant de l'appareil dans les instructions d'utilisation comme adaptés ou les dispositifs de protection de table de cuisson intégrés à l'appareil. L'utilisation de dispositifs de protection non appropriés peut entrainer des accidents.
Attention: utilisez des gants protecteurs lors du déballage et de l'installation.
DESCRIPTION

1 - Plaque normale 1000W / 145mm
2 - Plaque rapide 2000W / 180mm
3 - Manette plaque normale (1)
4 - Manette plaque rapide (2)
5 - Voyant de mise sous tension
INSTALLATION
Attention : Utilisez des gants protecteurs lors du débal-lage et de l'installation.
IMPORTANT: l'installation doit être effectuee suivant les instructions indiquées dans cette notice. Une installation incorrecte peut cause des dommages aux personnes, animaux ou biens. Le fabricant decline toute responsabilité en cas d'installation ne respectant pas les règes en vigueur.
L'installation et le branchement doivent être effectués suivant les normes en vigueur. La non observation de cette règle annule la garantie et le fabricant ne peut pas être tenu responsable des conséquences.
CONSEILS A L'INSTALLATEUR
1) L'installateur doit se rapporter aux normes locales en vigueur en ce qui concerne la ventilation et aération de la piece ou l'appareil est installé.
2) L'appareil doit être débranché pendant toutes les interventions.
3) L'appareil est construit pour être placé dans des meubles résistants à la chaleur. Les parois de meuble doivent résister à une température de 75^ en sus de la température ambiente.
4) Ces tables de cuisson sont prévues pour être encastrées dans des meubles de cuisine ayant une profondeur de 600mm.
5) Eviter l'installation à proximité de matériels in-flammables (par ex. rideaux).
DEBALLAGE
Mettez la table de cuisson le plus pres possible de l'endroit où elle sera installée et déballez-la. Les éléments de l'emballage devront être éliminés dans le cadre du tri sélectif. Ne laissez pas à la portée des enfants.
INSTALLATION DE LA TABLE DE CUISSON Les parois du mobilierAdjacentes à la table de cuisson doivent être obligatoirement résistantes à une température de 120^ , pour éviter tout dé
collage ou déformation.
Pour faire l'encastrement, il est nécessaire de pratiquer une dette avec les dimensions indiquées dans la figure 2 en tenant compte des remarques

suivantes:
- Il faut garder une distance d'au moins 30mm entre la partie inférieure de la table de cuisson et l'étagère située dans le meuble en-dessous.
- Toute paroi à côté de la table de cuisson doit se couver à une distance minimale de 100mm.
- La paroi derrière la table de cuisson doit se couver à une distance minimale de 60mm.
Les autres dimensions à respecter sont indiquées dans la figure ci-après (Fig 3).

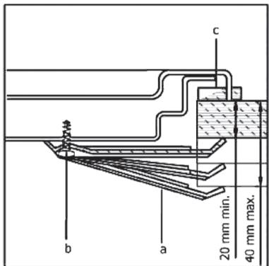
FIXATION DE LA TABLE DE CUISSON (Fig 3 et Fig4).
Votre table de cuisson est fournie avec un jeu de pattes et de vis pour la fixation sur des plans de travail d'une épaisseur de 20 à 40mm.
Retourner la table de cuisson et monter les pattes « a » aux endroits prévus en serrant légèrement les vis « b » (Fig 4).
Placer le joint « c » (fournit avec votre table de cuisson) sur le plan de travail au ras de l'ouverture d'encastrement.
Poser la table de cuisson dans l'ouverture en la positionnant correctement.
Placer les pattes « a » et serrer les vis « b » afin d'assurer le blocage complet de la table de cuisson.
Eliminer la partie du joint débordant la table de cuisson à l'aide d'un outil.

Figure 4
BRANCHEMENT ELECTRIQUE
Le cable d'alimentation de votre table de cuisson (fourni sans fiche) doit obligatoirement être branché sur une prise électrique (minimum 16A) avec terre selon les normes en vigueur. Si votre prise n'est pas équipée d'une terre normalisée, veuillez-vous adresser à un électricien qualifié.
Le cable d'alimentation ne doit pas etre en contact avec des parties chaudes et ne doit pas etre place a un endroit dont la temperature peut depasser 75^
Il est nécessaire de pouvoir déconnecter l'appareil facilement. La déconnection peut être obtenu en prévoyant une fiche de prise de courant accessible ou en incorporaient un interrupteur dans les canalisations fixes conformément aux règles d'installation en vigueur.
AVANT LA PREMIÈRE UTILISATION
1) Avant la première utilisation assurez-vous qu'il ne resteaucun matériel d'emballage survoitrable de cuisson. Ces emballages devront etre triés séparément pour le recyclage.
2) Les plaques électriques de votre table de cuisson sont recouvertes d'un film protecteur qu'il faut eliminer avant l'emploi. Il est important de bien aérer lapiece durant cette opération pour eliminer la fumée dégagée. Tournez la manette de la plaque sur la position maximale. Laissez fonctionner pendant 10 minutes. Eteignez la plaque et laissez refroidir.
UTILISATION
UTILISATION DES PLAQUES ELECTRIQUES
Votre table de cuisson est équipée de 2 types de plaque électrique: une plaque normale et une plaque rapide.
Pour obtenir une performance maximale des plaques, utilisez des casseroles avec les diamètres suivants :
MISE EN GARDE: Utilisez uniquement des éléments à fond plat.
À la première utilisation ou si la plaque a été inutilisée depuis longtemps, il convient de la faire fonctionner à vide pendant 2-3 minutes en plaçant le commutateur sur la position maximale afin d'éliminer l'humidité résiduelle. Ne pas toucher la plaque électrique avec une partie du corps mouillé ou humide. Utilisez des recipients de dimension ajusté, le diamètre des casseroles devant être identique au diamètre de la plaque, ce qui est important pour économiser l'énergie. Fermez la manette après la cuisson. Lorsque la plaque est allumée, la lampe témoin rouge qui se trouve sur le tableau de bord s'allume (Fig 1 Rep 5). Cela vous permet de voir si la plaque reste allumée par erreur.
Manette de plaque électrique

POSITION DE LA MANETTE DE PLAQUE ELECTRIQUE UTILISATION
| 1 | 2 | 3 | |
| Utilisation | Cuisiner à chaleur minimum | Cuisiner, frire à chaleur moyenne | Cuisiner, frire à chaleur maximum |
Lorsqu'on utilise la plaque électrique, il faut:
- Eviter de la faire fonctionner à vide (sans réseau)
- Ne se servir que des casseroles à fond plat (type électrique)
- Cuire si possible avec un couvercle pour économique l'énergie
- Ne jamais cuire les alimentents directement sur les plaques électriques, mais dans des marmites ou des recipients adaptés.
NETTOYAGE ET ENTRETIEN
1 - Nettoyez la table de cuisson pendant qu'elle est froide
2 - Déconnectez toujours l'appareil du réseau électrique avant le nettoyage
3 - Utilisez de l'eau savonneuse tiège en ayant soin de rincer et d'essuyer avec un chiffon doux.
4 - N'utilisez jamais de produits abrasifs et corrosifs, nettoyez les parties en inox avec des produits spéciaux que l'on trouve dans le commerce 5 - Graissez la plaque électrique si vous ne l'utilisez pas pendant un certain temps.
6 - Evitez de laisser sur la table de cuisson des substances alcalines ou acides (jus de citron, sel, vinaigre etc.)
MISE AU REBUT

Enlèvement des apparêls menagers usages
La directive Européenne 2012/19/EU sur les Déchets des Equipements Electriques et Electroniques (DEEE), exige que les apparèils menagers usages ne soient pas jetés dans le flux normal des déchets municipaux.
Les apparèils usages doivent être collectés séparément afin d'optimiser le taux de récapération et le recyclage des matériaux qui les composent et réduire l'impact sur la santé humaine et l'environnement.
Le symbole de la « poubelle barringe » est apposé sur tous les produits pour rappeler les obligations de la collecte séparée.
Les consommateurs devront contacter les autorités locales ou leur revendeur concernant la démarche à suivre pour l'enlèvement de leur apparreil.
QUE FAIRE EN CAS DE PANNE
En cas de panne électrique vérifie d'abord que le compteur est enclenché et que le fusible de protection est correct.
Après cette vérificationappelezle service après-.
ventedevoirerevendeurenc luiindiquantleréfERENCEdevoirtappareilindiquee surla plaque
signalétique.
ATTENTION !!
Cet apparéil doit être réparé seulement par un technicien qualifié.
ECOCONCEPTION ET CONSOMMATION D'ENERGIE
REGLEMENT (UE) N° 66 / 2014
Ecoconception
Votre apparéil est en conformité avec les exigences du règlement 66/2014 de la Commission Européenne.
| Marque | FRIONOR |
| Référence | DE29IN |
| Poids net | 4,3 kg |
| Source d'énergie | Electrique |
| Type de plan de cuisson | Foyer en fonte |
| Nombre de foyers | 2 |
| Diamètre du foyer avant | 14.5 cm |
| Consommation d'énergie du foyer avant (EC) | 156 Wh/kg |
| Diamètre du foyer arrière | 18 cm |
| Consommation d'énergie du foyer arrière (EC) | 177 Wh/kg |
| Consommation d'énergie du plan de cuisson(EC) | 166 Wh/kg |
| Méthode de mesure et de calcul | EN50304 - EN60350 / Règl.(EU) N°66/2014 |
Conseils pour economiser de l'énergie :
Utiliser des casseroles et poêles avec un fond bien plat et épais.
Nettoyer bien les foyers et les fonds des casse
roles et poêles. Les saletés diminuent le transfert de chaleur.
Utiliser des casseroles et poêles avec un couvercle.
Utiliser des couvercles adaptés à votre casserrole ou poèle.
Utiliser des casseroles et poêles de diamètre adapté aux diamètres de vos foyers (voir les diamètres indiqués dans la partie « UTILISATION » de la notice d'utilisation).
- Eteindre le foyer quelques minutes avant la fin de la cuisson pour les plats qui nécessitent un temps de cuisson assez long.
SPECIFICATIONS TECHNIQUES
| MODELE | |
| DE29IN | |
| Alimentation | 230V AC 50Hz |
| Puisance Totale | 3000 W |
| Plaque normale Diam. 145 mm | 1000 W |
| Plaque rapide Diam. 180 mm | 2000 W |
| Voyant | OUI |
| Câble d'alimentation (sans fiche) | OUI |
SA NORD INOX 151 Rue Simon Vollant 59832 LAMBERSART
Notice Facile