MODE D'EMPLOI Workforce WF-2960 EPSON
Entretien de l'imprimante
Résolution de problèmes
Table des matières
Guide duprésent manuel
Présentation des manuels. 7
Consignes de sécurité importantes (manuel papier). 7
Démarrez ici (manuel papier). 7
Guide d'utilisation (manuel numérique). 7
Informations sur les derniers manuels. 7
Guide des Manuels de film Web. 7
Recherche d'informations. 7
Impression de certaines pages uniquement. 8
A propos de ce manuel. 9
Repères et symboles. 9
Remarques sur les captures décran et illustrations. 9
Références du système d'exploitation. 9
Marques commerciales. 10
Copyright. 11
Consignes importantes
Consignes de sécurité. 13
Instructions de sécurité pour l'encre. 13
Conseils et averissements concernant
l'imprimante. 14
Conseils et averissements relatifs à la configuration de l'imprimante. 14
Conseils et averissements relatifs à l'utilisation de l'imprimante. 15
Conseils et averissements relatifs à l'utilisation de l'écran tactile. 15
Conseils et averissements relatifs à la connexion à l'Internet. 15
Conseils et averissements relatifs à l'utilisation de l'imprimante avec une connexion sans fil. 15
Conseils et averissements relatifs au transport ou au stockage de l'imprimante. 16
Protection de vos informations personnelles. 16
Nom et fonction des pieces
Avant. 18
A l'intérieur. 19
Arriere. 20
Guide du panneau de commande
Panneau de commande. 22
Opérations sur l'écran tactile. 22
Configuration de Iecran d'accueil. 23
Guide de I'icone de reseau. 24
Chargement du papier
Precautions de manipulation du papier. 26
Paramètres de format et de type de papier. 26
Liste des types de papier. 27
Chargement du papier. 28
Chargement du papier. 28
Chargement d'enveloppes. 29
Chargement de papier préperféré. 29
Positionnement des originaux
Positionnement des originaux. 32
Les documents originaux ne sont pas pris en charge par l'ADF. 33
Impression
Impression de documents. 35
Impression à partir d'un ordinateur. 35
Impression de documents depuis des péripériques intelligents. 49
Impression sur des enveloppes. 51
Impression d'enveloppes depuis un ordinateur (Windows). 51
Impression d'enveloppes depuis un ordinateur (Mac OS). 52
Impression de photos. 52
Impression de photos depuis un ordinateur. . . . . 52
Impression de pages Web. 52
Impression de pages Web depuis un ordinateur. . 52
Impression de pages Web depuis un périphérique intelligent. . . . . . . . . . . . . . . . . . . . . . . . . . . . . . . . . . . . . . . . . . . . . . .
Impression à l'aide d'un service de cloud. 53
Copie
Copie à l'aide des paramètres simples. 56
Copie recto versus. 56
Copie avec agrandissement ou réduction. 57
Copies avec des originaux de plusieurs pages sur une seule feuille. 57
Copiedoriginauxdebonne qualite. 58
Copied'unecartedidentite. 58
Copiesansmarges. 59
Options de menu de base pour la copie. 59
N&B: 59
Couleur: 59
(Rec/Ver) : 59
(Densité) : 60
Options de menu avances pour la copie. 60
Parametre papier: 60
Zoom: 60
Tailledocument: 60
Multi-Pages: 61
Qualité: 61
Sens de l'original: 61
Enlever ombre: 61
Retirer perforations 61
Copie Carte d'identité: 61
SansbordureCopie: 61
Eff tout param. 61
Numérisation
Méthodes de numérisation disponibles. 63
Numérisation d'originaux vers un ordinateur. 63
Numérisation d'originaux vers le cloud. 64
Options de menus pour la numérisation. 65
N&B/Couleur. 65
JPEG/PDF. 65
Zone numéri. 65
Type de document. 65
Densité: 65
Enlever ombre: 65
Retirer perforations: 65
Eff tout param. 65
Numérisation à l'aide de WSD. 66
Configuration d'un port WSD. .66
Numérisation d'originaux vers un périphérique
intelligent. 68
Télécopie
Avant d'utiliser les fonctions de fax. 70
Connexion de l'imprimante à la ligne téléphonique. 70
Rendre l'imprimante prete à envoyer et recevoir des télécopies. 73
Réglage des paramètres de la fonction fax de l'imprimante, en fonction de l'utilisation. 75
Mise à disposition des contacts. 79
Présentation des fonctions de télécopie de cette imprimante. 81
Fonction:envoi defax. 81
Fonction:Reception de fax. .82
Fonction: PC-FAX envoi/reception (Windows/Mac OS). 83
Fonctions:Differentrarpportsdefax. 83
Fonction: sécurité lors de l'envoi et de la réception de fax. 84
Fonctions:autres fonctions utiles. 84
Envoi de fax à l'aide de l'imprimante. 84
Sélection des destinataires. 85
Diverses manieres d'envoyer des fax. 85
Réception de fax sur l'imprimante. 88
Réception de fax entrants. 88
Réception de fax à l'aide d'un appel téléphonique. 90
Affichage des fax reçus enregistrés dans l'imprimante sur l'écran LCD. 91
Options de menu pour le fax. 92
Destinataire. 92
Param.fax. 92
Plus. 94
Options de menus pour Boîte de réception. 95
Ouvr Boite de réception/confid. (XX n'a pas lu). .95
Utilisation des autres fonctionnalités de fax. 97
Impression manuelle d'un rapport de fax. 97
Envoi d'un fax à partir d'un ordinateur. 97
Envoi de documents créés à l'aide d'une application (Windows). 97
Envoi de documents créés à l'aide d'une application (Mac OS). 100
Réception de fax sur un ordinateur. 101
Vérification de nouvelles télécopies (Windows). 102
Vérification de nouvelles télécopies (Mac OS). . 103
Annulation de la fonctionnalité servant à enregistrer les fax entrants sur l'ordinateur. . . . 104
Entretien de l'imprimante
Verification de I'etat des consommables. 106
Résolution des problèmes d'entrainment du papier. 106
Amélioration de la qualité d'impression, de copie, de numérisation, et de télécopie. 108
Verification et nettoyage de la tete d'impression 108
Execution de Nettoyage auto. 110
Prevention de I'obstruction des buses. 110
Alignment de la tete d'impression. 111
Nettoyage du trajet du papier en cas de traces d'encre. 111
Nettoyage de la Vitre du scanner. 112
Nettoyage du chargeur automatique de documents. 113
Nettoyage du film translucide. 116
Nettoyage de l'imprimante. 119
Dans ces situations
Lors du remplacement d'un ordinateur. 121
Economies d'energie. 121
Désactiver notre connexion Wi-Fi. 121
Installation séparée des applications. 122
Vérifier qu'un pilote d'imprimante Epson
authentique est installé — Windows. 123
Vérifier qu'un pilote d'imprimante Epson
authentique est installé — Mac OS. 124
Reconfiguration de la connexion réseau. 125
Réglages pour connexion à l'ordinateur. 125
Réglages pour connexion à un périphérique intelligent. 126
Définition des paramètres Wi-Fi depuis le panneau de commande. 126
Verification du statut de connexion du réseau de l'imprimante (rapport de connexion réseau). 129 Messages et solutions sur le rapport de connexion réseau. 129
Connexion directe d'un périphérique intelligent et l'imprimante (Wi-Fi Direct). 135
A propos de Wi-Fi Direct. 135
Connexion aux péripériques à l'aide de Wi-Fi Direct. 135
Arret d'une connexion Wi-Fi Direct (PA unique). 137
Modifier les paramètres de Wi-Fi Direct (PA unique) tels que le SSID. 137
Ajouter ou modifier la connexion de l'imprimante 138 Pour configurer une imprimante sur plusieurs ordinateurs. 138
Passer d'une connexion Wi-Fi à USB. 139
Changement de la connexion de Wi-Fi à réseau LAN cable. 140
Définition d'une adresse IP statique pour l'imprimante. 140
Transport et stockage de l'imprimante. 141
Résolution de problèmes
Impossible d'imprimer, de scanner ou de télécopier. 146
Résolution des problèmes. 146
L'application ou le pilote d'impression ne fonctionnent pas correctement. 147
L'imprimante ne peut pas se connecter au réseau. 151
Impossible d'envoyer ou de receivevoir des fax. . . . 155
Le papier n'est pas entrainé correctement. 161
La qualité d'impression, de copie, de numérisation et de télécopie est mauvaise. 164
La qualité d'impression est mauvaise. 164
La qualité de copie est médiocre. 173
Problèmes relatifs aux images numériées. 180
La qualité du fax envoyé est médiocre. 183
La qualité des fax reçus est mauvaise. 185
Impossible de selectionner le type de papier ou la source de papier dans le pilote d'impression. . . . 185
Un pilote d'imprimante authenticate Epson n'a pas ete instalé. 185
Un message s'affiche sur lécran LCD. 185
Bourrage papier. 187
Retrait du papier coince. 188
Retrait de papier coincide dans le ADF. 191
Prevention des bourages papier. 192
Le moment est venu de replacer les cartouches d'encre. 193
Précautions de manipulation des cartouches d'encre. 193
Remplacement des cartouches d'encre. 195
Poursuivre temporairement l'impression sans replacer les cartouches d'encre. 196
Le moment est venu de replacer le boitier de maintenance. 199
Précautions de manipulation du boîtier de maintenance. 199
Remplacement du boitier de maintenance. 200
L'imprimante ne fonctionne pas comme prévu. . . . 201
L'imprimante ne s'allume pas ou ne s'eteint pas. 201
Le fonctionnement est lent. 202
Lecran LCD devient noir. 204
Le fonctionnement est bruyant. 204
La date et l'heure sont incorrectes. 204
Le certificat racine doit'être mis à jour. 204
Impossible d'effectuer une impression recto-verso manuelle (Windows). 205
Le menu Configuration Imprimante ne s'affiche pas (Mac OS). 205
Impossible de passer des appels sur le téléphone connecté. 205
Le numero de fax de l'expéditeur n'est pas affché. 205
Le numero de fax de l'expéditeur affiché sur les fax reçus est errone. 205
Le répondeur ne peut répondre aux appels vocaux. 206
De nombreux fax indésirables ont été reçus. 206
Impossible de résoudre le problème. 206
Impossible de résoudre les problèmes d'impression ou de copie. 206
Informations sur le papier. 209
Papiers disponibles et capacités. 209
Types de papier non disponibles. 212
Informations produit sur les consommables. . . . .212
Codes des cartouches d'encre. 212
Code du boîtier de maintenance. 213
Informations relatives au logiciel. 214
Application d'impression depuis un ordinateur (pilote d'imprimante Windows). 214
Application d'impression depuis un ordinateur (pilote d'imprimante Mac OS). 215
Application de contrôle du scanner (Epson Scan 2). 216
Application de configuration et d'envoi de télécopies (FAX Utility). 216
Application d'envoi de télécopies (pilote PC-FAX). 217
Application de configuration des opérations de l'imprimante (Web Config). 217
Application pourmettreà jourleslogicielset micrologiciels(Epson SoftwareUpdater).218
Listedu menu Parametres. 219
Réglages généraux. 219
Etat de l'alimentation. 233
Entretien. 233
Impr.feui.d'etat. 234
Compteur d'impressions. 234
Paramètresutilisateur. 235
Recherche client. 235
Rest param défaut. 235
Mise à jour firmware. 236
Caracteristiques de I'appareil. 236
Spcifications de I'imprimante. 236
Spcifications du scanner. 237
Caracteristiques reseau. 239
Services tiers pris en charge. 241
Dimensions. 242
Caracteristiques electriques. 242
Caracteristiques environnementales. 243
Configuration requise. 243
Informationsreglementaires. 244
Normes et conformité. 244
Restrictions relatives à la copie. 245
Où trouver de l'aide
Site Web du support technique. 248
Contacter l'assistance Epson. 248
Avant de contacter Epson. 248
Aide pour les utilisateurs d'Europe. 249
Aide pour les utilisateurs de Taiwan. 249
Aide pour les utilisateurs d'Australie. 249
Aide pour les utilisateurs de Nouvelle-Zélande. .250
Aide pour les utilisateurs à Singapour. 250
Aide pour les utilisateurs de Thaïlande. 251
Aide pour les utilisateurs du Vietnam. 251
Aide pour les utilisateurs d'Indonésie. 251
Aide pour les utilisateurs de Hong Kong. 254
Aide pour les utilisateurs de Malaisie. 255
Aide pour les utilisateurs en Inde. 255
Aide pour les utilisateurs des Philippines. 256
Guide duprésent manuel
Présentation des manuels. 7
Guide des Manuels de film Web. 7
Recherche d'informations. 7
Impression de certaines pages uniquement. 8
A propos de ce manuel. 9
Marques commerciales. 10
Copyright. 11
Présentation des manuels
Les manuels suivants sont fournis avec votre imprimante Epson. En plus des manuels, vous pouvez consulter les différents types d'informations d'aide disponibles à partir de l'imprimante ou des applications logicielles Epson.
Consignes de sécurité importantes (manuel papier)
Fournit des consignes de sécurité pour une utilisation sûre de cette imprimante.
Démarrez ici (manuel papier)
Fournit des informations de configuration de l'imprimante et d'installation des logiciels.
Guide d'utilisation (manuel numérique)
Le présent manuel. Disponible en version PDF et Web. Contient des informations et des instructions détaillées sur l'utilisation de l'imprimante et la résolution des problèmes.
Informations sur les derniers manuels
Manuel papier
Consultez le site Web d'assistance de Epson Europe à l'adresse http://www.epson.eu/support ou le site Web d'assistance de Epson international à l'adresse http://support.epson.net/.
Manuel numérique
Visitez le site Web suivant, entrez le nom du produit, puis allez dans la section Support. https://epson-sn
Guide des Manuels de film Web
Vousspuvezregarder lesManuels de filmWeb pour apprenda tutiliser l'imprimante.Accedez au site web suivant.Le contenu des Manuels de film Web est sujet a modification sans preavis.

Le manuel au format PDF permet de tracer les informations recherchées en utilisant des mots clés ou en passant directement aux sections spécifique à l'aide de signets. Cette section explique comment utiliser un manuel au format PDF ouvert sous Adobe Acrobat Reader DC sur votre ordinateur.
Recherche par mot-clé
Cliquez sur Modifier > Recherche avancée. Saisissez le mot-clé (texte) des informations que vous souhaitez trouver dans la fenêtre de recherche, puis cliquez sur Rechercheer. Les correspondances apparaissent sous forme deliste. Cliquez sur une des correspondances affichées pour acceder à la page.

Saut direct aux pages grâce aux signets
Cliquez sur un titre pour sauter à la page correspondante. Cliquez sur + ou > pour afficher les titres de niveau inférieur de cette section. Pour returner à la page précédente, effectuez l'opération suivant sur votre clavier.
Windows: maintenez la touche Alt enfoncée et appuyez sur
Mac OS: maintenez la touche de commande enfoncée et appuyez sur

Impression de certaines pages uniquement
Voussoupiezextraireetn'imprimerque certainespages.Cliquez surImprimer dansle menuFile,puis precisezles pagesa imprimer dansPages,dansPagesa imprimer.
Pour préciser une série de pages, saississez un tiret entre la première et la derniere page.
Par exemple: 20 à 25
Pour indiquer des pages qui ne se suivent pas, séparez-les par des virgules.
Par exemple : 5, 10 et 15

À propos de ce manuel
Cette section détaille la signification des marques, symboles, notes de description et références de système d'exploitation utilisés dans ce manuel.
Repères et symboles

Attention:
Instructions à suivre à la dette pour éviter des blessures corporelles.

Important:
Mises en garde à respecter pour éviter d'endommager votre équipement.
Remarque:
Fournit des informations complémentaires et de références.
Liens vers les sections correspondantes.

Fournit des Manuels de film Web des instructions d'utilisation. Reportez-vous au lien vers des informations supplémentaires.
Remarques sur les captures décran et illustrations
Les captures décran du pilote de l'imprimante ont été réalisées sous Windows 10 ou macOS High Sierra (10.13). Le contenu affché sur les écrans dépend du modèle et de la situation.
Les illustrations utilisées dans ce manuel sont fournies à titre d'exemple seulement. Bien qu'il puisse y avoir de légères différences selon le modele, la méthode de fonctionnement est identique.
Certaines options de menu affichées sur l'écran LCD variant selon le modèle et les paramétres.
- Vous pouvez dire le code QR en utilisant l'application dédiée.
Références du système d'exploitation
Windows
Dans ce manuel, des termes tels que « Windows 11 », « Windows 10 », « Windows 8.1 », « Windows 8 », « Windows 7 », « Windows Vista », « Windows XP », « Windows Server 2022 », « Windows Server 2019 », « Windows Server 2016 », « Windows Server 2012 R2 », « Windows Server 2012 », « Windows Server 2008 R2 », « Windows Server 2008 », « Windows Server 2003 R2 », et « Windows Server 2003 » se refère aux systèmes d'exploitation suivants. De plus, « Windows » est utilisé pour faire référence à toutes les versions.
Système d'exploitation Microsoft® Windows® 11
Système d'exploitation Microsoft® Windows® 10
Système d'exploitation Microsoft® Windows® 8.1
Système d'exploitation Microsoft® Windows® 8
Système d'exploitation Microsoft® Windows® 7
Système d'exploitation Microsoft® Windows Vista®
Système d'exploitation Microsoft® Windows® XP
Système d'exploitation Microsoft® Windows® XP Professional x64 Edition
Systeme d'exploitation Microsoft® Windows Server® 2022
Système d'exploitation Microsoft® Windows Server® 2019
Systeme d'exploitation Microsoft® Windows Server® 2016
Système d'exploitation Microsoft® Windows Server® 2012 R2
Systeme d'exploitation Microsoft® Windows Server® 2012
Système d'exploitation Microsoft® Windows Server® 2008 R2
Système d'exploitation Microsoft® Windows Server® 2008
Système d'exploitation Microsoft® Windows Server® 2003 R2
Système d'exploitation Microsoft® Windows Server® 2003
Mac OS
Dans ce manuel, « Mac OS » désigne Mac OS X 10.9.5 ou version ultérieure ainsi que macOS 11 ou version ultérieure.
Marques commerciales
Avis général : les autres noms de produit utilisés dans ce manuel sont disponibles uniquement à titre d'identification et peuvent être des noms de marque de leur détenteur respectif. Epson dénie toute responsabilité vis-à-vis de ces marques.
Copyright
Aucune partie de cette publication ne peut etre reproduce, stocke dans un systeme de syste de recuperation de données, ni transmise, sous quelque forme que ce soit ni par aucun procedelectronique ou mecanique, y compris la photocopie, l'enregistrement ou autrement, sans le consentement ecrit prealable de Seiko Epson Corporation. Aucune responsabilité ne sera engagée relative à l'utilisation des informations contenues dans ce manuel. Aucune responsabilité n'est assume pour les dommages resultant des informations contenues dans ce manuel. L'information continue dans la presente ne peut etre utilise qu'vec ce produit Epson. Epson decline toute responsabilité de l'utilisation de ces informations appliquées à d'autres produits.
Neither Seiko Epson Corporation et ses filiales ne peuvent etre tenus responsables par l'acheteur de ce produit ou des tiers de tout dommage, perte, cout ou depense encourus par l'acheteur ou des tiers à la suite d'un accident, d'une mauvaise utilisation, d'un abus ou des modifications, réparations ou alterations non autorises de ce produit, ou (sauf aux États-Unis) le non-respect strict des instructions d'exploitation et de maintenance de Seiko Epson Corporation.
Seiko Epson Corporation et ses filiales ne peuvent être tenus responsables des dommages ou des problèmes découulant de l'utilisation d'options ou de consommables autres que ceux désignés comme des produits Epson authentiques approuviés par Seiko Epson Corporation.
Seiko Epson Corporation ne pourrait être tenu pour responsable des dommages resultant des interférences electromagnétiques dues à l'utilisation de cables d'interface autres que ceux désignés comme produits Epson approvés par Seiko Epson Corporation.
Le contenu de ce manuel et les caractéristiques de ce produit sont modifiables sans préavis.
Consignes importantes
Consignes de sécurité. 13
Conseils et averissements concernant l'imprimante. 14
Protection de vos informations personnelles. 16
Consignes de sécurité
Lisez et suivez ces instructions pour garantir une utilisation sure de l'imprimante. Veillez à conserver ce manuel pour pouvoir vous y reporter ultérieurement. Veillez également à suivre l'ensemble des averissements et des instructions figurant sur l'imprimante.
Certains des symboles utilisés sur votre imprimante sont destinés à garantir la sécurité et l'utilisation correcte de l'imprimante. Rendez-vous sur le site Web suivant pour connaître la signification des symboles.
http://support.epson.net/symbols/
- Utilisez uniquement le cordon d'alimentation fourni avec l'imprimante et ne l'utilisez avecaucun autre équipement. L'utilisation d'autres cordons avec cette imprimante ou l'utilisation de ce cordon d'alimentation avec un autre équipement pourrait vous exposer à des risques d'incendie ou d'électrocution.
Veillez a ce que voite cordon d'alimentation soit conforme aux normes de securite locales aplicables.
Sauf indication contraire spécifique dans les guides de l'imprimante, ne procededz jamais à des travaux de démontage, de modification ou de réparation au niveau du cordon d'alimentation, de sa fiche, du module imprimante, du module scanner ou des accessoires.
Debranche z imprimante et faites appel a un technicien qualifie dans les circonstances suivantes: Le cordon d'alimentation ou sa fiche est endommage, du liquide a coule dans l'imprimante, l'imprimante est tombee ou le boitier a ete endommagé, l'imprimante ne fonctionne pas normalement ou ses performances ont changede maniere sensible. N'ajustez pas les commandes non traitées dans les instructions de fonctionnement.
Placez l'imprimante a proximete d'une prise de courant permettant un débranchement facile du cordon d'alimentation.
Ne placez et ne rangez pas l'imprimante à l'extérieur, dans des lieux particulièrement sales ou poussiereux, à proximate de points d'eau ou de sources de chaleur, ou dans des lieux soumis à des chocs, des vibrations, des températures élevées ou de l'humidité.
Veillez a ne pas renverser de liquide sur l'imprimante et a ne pas la manipuler les mains mouillées.
- Maintenez l'imprimante à au moins 22 cm de distance des stimulateurs cardiaques. Les ondes radio générées par l'imprimante peuvent affecter de manière négative le fonctionnement des stimulateurs cardiaques.
Si l'écran LCD est endommagé, contactez votre revendeur. En cas de contact de la solution à base de cristaux liquides avec vos mains, lavez-les soigneusement avec de l'eau et du savon. En cas de contact de la solution à base de cristaux liquides avec vos yeux, rincez-les abondamment avec de l'eau. Si une gène ou des problèmes de vision subsistant après un nettoyage approfondi, consultez immédiatement un medecin.
Évitez de téléphoner pendant un orage. Les écaires pourraient provoquer un risque d'électrocution.
Ne téléphonez pas pour signaler une fuite de gaz lorsque vous etes a proximite de la fuite.
Instructions de sécurité pour l'encre
Manipuez les cartouches d'encre usagées avec précaution, le port d'alimentation en encre pouvant être légèrement taché d'encre.
En cas de contact de l'encre avec la peau, nettoyez enerigiquement la région a I'eau et au savon.
En cas de contact avec les yeux, rincez-les abondamment avec de l'eau. Si une gène ou des problèmes de vision subsistant après un nettoyage approfondi, consultez immédiatement un médecin.
En cas de contact de l'encre avec l'intérieur de votre bouche, consultez un medecin dans les plus brefs délais.
Ne démonze pas la cartouche d'encre ni le boitier de maintenance, car de l'encre pourrait etre projetée dans vos yeux ou sur votre peau.
Ne se couze pas les cartouches d'encre trop vigoureusement et ne les laissez pas tomber. En outre, veillez a ne pas les serrer ou déchirer leurs étiquettes. Faute de quoi vous risquez de provoquer une fuite.
Conservez les cartouches et le boitant de maintenance hors de portee des enfants.
Conseils et averissements concernant l'imprimante
Lisez et suivez ces consignes pour éviter d'endommager l'imprimante ou vos installations. Veillez à conserver ce manuel pour pouvoir le consulter ultérieurement.
Conseils et averissements relatifs à la configuration de l'imprimante
Veiliez à ne pas obstruer ou recouvrir les ouvertures de l'imprimante.
Utilisez uniquement le type de source d'alimentation indiqué sur l'étiquette de l'imprimante.
Évitez l'utilisation de prises de courant reliées au même circuit que les photocopieurs ou les systèmes de climatisation qui sont également arrêtés et mis en marche.
Évitez d'utiliser des prises de courant commandées par un interrupteur mural ou une temporisation automatique.
Placez l'ensemble du système informatique à l'écart des sources potentielles de parasites electromagnétiques telles que les haut-parleurs ou les bases fixes des téléphones sans fil.
Les cordons d'alimentation electrique doivent etre placés de maniere à eviter tout phénomène d'abrasion, de coupure, de frottement, de recoumbement ou de pliure. Ne placez aucun objet sur les cordons d'alimentation electrique et faites en sorte que l'on ne puisse pas marcher ou rouler sur les cordons d'alimentation electrique. Veiliez a ce que tous les cordons d'alimentation electrique soient bien droits aux extrémités et aux points d'entrée et de sortie du transformateur.
Si vous utilisez une rallonge avec l'imprimante, veillez à ce que l'ampereage maximum des perehriques reliés à la rallonge ne dépasse pas celui du cordon. De même, veillez à ce que l'ampereage total des perehriques branchés sur la prise de courant ne dépasse pas le courant maximum que celle-ci peut supporter.
Si vous nevez utiliser l'imprimante en Allemagne, le réseau électrique de l'immeuble doit être protégé par un disjoncteur de 10 ou 16 ampères pour assurer une protection déquate contre les courts-circuits et les surintensités.
Lors du raccordement de l'imprimante à un ordinateur ou un autre péripérisque à l'aide d'un cable, assurez-vous que les connecteurs sont orientés correctement. Les connecteurs ne disposent que d'une seule orientation correcte. Si les connecteurs ne sont pas insérés correctement, les deux péripérisques reliés par le cable risquent d'être endommages.
Placez l'imprimante sur une surface plane et stable sensiblement plus grande que la base du produit. L'imprimante ne fonctionnera pas correctement si elle est placée dans une position inclinée.
Laissez suffisamment d'espace au-dessus de l'imprimante pour pouvoir entierement lever le capot de documents.
Laissez suffisamment de place devant l'imprimante pour que le papier puisse etre ejecte sans probleme.
Évitez les emplacements soumis à des variations rapides de température et d'humidité. Maintenez également l'imprimante à l'écart du rayonnement solaire direct, des fortes lumières et des sources de chaleur.
Conseils et averissements relatifs à l'utilisation de l'imprimante
N'insérez aucun objet à travers les orifices de l'imprimante.
Ne placez pas vos mains à l'intérieur de l'imprimante au cours de l'impression.
Ne touchez pas le cable plat blanc situé à l'intérieur de l'imprimante.
N'utilisez pas de produits en aérosol contenant des gaz inflammables à l'intérieur ou autour de l'imprimante, faute de quoi vous risquez de provoquer un incendie.
Ne retirez pas la tete d'impression manuellement. Vous pourriez endommager l'imprimante.
Veiliez à ne pas coincer vos doigts lorsque vous fermez le module scanner.
N'appuyez pas trop fort sur la vitre du scanner lors de la mise en place des documents originaux.
- Mettez toujours l'imprimante hors tension en appuyant sur le bouton . Ne débranchez pas l'imprimante et ne la mettez pas hors tension au niveau de la prise tant que levoyant clignote.
Si vous ne comptez pas utiliser l'imprimante pendant une période de temps prolongée, veilsz à retarder le cordon d'alimentation de la prise électrique.
Conseils et averissements relatifs à l'utilisation de l'écran tactile
Il est possible que quelques petits points lumineux ou noirs apparaissent sur l'écran LCD. De même, il est possible que la luminosité de l'écran LCD soit irrégulière en raison de ses caractéristiques. Il s'agit de phénomènes normaux, qui n'indiquent absolument pas que l'écran est endommagé.
- Utilisez uniquement un chiffon sec et doux pour le nettoyage. N'utilisez pas de nettoyants liquides ou chimiques.
Le couvercle extérieur de l'écran tactile peut se briser en cas d'impact important. Contactez votre revendeur en cas de craquelure ou de fissure de l'écran. Ne le touche pas et ne tentative pas de retarder le verre brisé.
Avec voit doigt, appuyez delicatement sur Iecran tactile. N'exerce pas une forte pression et ne le touche pas avec vos ongles.
N'tilisez pas d'objets pointus tels que des stylos bille ou des crayons pointus pour effectuer les operations.
La presence de condensation à l'intérieur de l'écran tactile causée par des changements brusques de température ou du taux d'humidité peut entraîner la détérioration de ses performances.
Conseils et averissements relatifs à la connexion à l'Internet
Ne connectez pas ce produit directement à l'Internet. Connectez-le uniquement à un réseau protégé par un routeur ou un pare-feu.
Conseils et averissements relatifs à l'utilisation de l'imprimante avec une connexion sans fil
Les ondes radio générées par l'imprimante peuvent avoir un effet négatif sur le fonctionnement des équipements électroniques Médicaux et entrainer des dysfonctionnements. Lors de l'utilisation de l'imprimante dans des établissements Médicaux ou à proximé déquipements Médicaux, respectez les consignes du personnel autorisé représentant l'établissement et l'ensemble des avertissements et des consignes figurant sur l'équipment Médical.
- Les ondes radio générées par l'imprimante peuvent avoir un effet négatif sur le fonctionnement des dispositifs contrôls de manière automatique, tels que les portes automatiques ou les alarmes incendie, par exemple, et causeurs des accidents liés à des dysfonctionnements. Lors de l'utilisation de l'imprimante à proximate de dispositifs contrôls de manière automatique, respectez l'ensemble des averissements et des consignes figurant sur les dispositifs.
Conseils et averissements relatifs au transport ou au stockage de l'imprimante
Lors du stockage ou du transport de l'imprimante, évitez de l'incliner, de la placer verticalement ou de la renverser, faute de quoi de l'encre risque de fuir.
Avant de transporter l'imprimante, assurez-vous que la tete d'impression est en position initiale (à l'extreme droite).
Si vous donnez l'imprimante à une autre personne ou que vous la mettez au rebut, effacez toutes les informations personnelles enregistrées dans la mémoire de l'imprimante en selectionnant Param. > Rest param défaut > Eff ttes données et param depuis le panneau de commande.
Nom et fonction des pieces
Avant. 18
A l'intérieur. 19
Arriere. 20
Avant

| 1 | Capot du chargeur automatique de documents ADF | Ouvrez-le pour-retirer les originaux coincés dans le ADF. |
| 2 | Bac d'insertion du ADF | Permet d'insérer automatiquement les documents originaux. |
| 3 | Guide létal du ADF | Permet d'insérer les documents originaux droits dans l'imprimante. Faites glisser contre les bords des originaux. |
| 4 | Prise en charge des documents par le chargeur automatique de documents | Prend en charge les originaux. |
| 5 | Extension du bac de sortie du chargeur automatique de documents | Contient les documents originaux au format L'égal éjectés depuis le ADF.
Assurez-vous de l'étendre lorsque vous scannez des document originaux au format L'égal via l'ADF. |
| 6 | Bac de sortie du ADF | Contient les documents originaux éjectés depuis le ADF. |


| 1 | Bac de sortie | Contient le papier éjecté. |
| 2 | Bac à papier | Charge le papier. |
| 3 | Guide létral | Permet d'insérer le papier droit dans l'imprimante. Faites glisser contre les bords du papier. |
| 4 | Extension du guide de papier | Faites glisser vers l'extérieur pour charger du papier dont le format est supérieur au format A4. |

| 1 | Capot de documents | Bloque la lumière externe pendant la numérisation. |
| 2 | Vitre du scanner | Placez les documents originaux. |
| 3 | Panneau de commande | Indique l'état de l'imprimante et vous permet d'effectuer les paramétrages d'impression. |
| 4 | Capot avant | À ouvrir pour charger du papier dans le bac papier. |
À l'intérieur

| 1 | Scanner | Permet de numériser les documents originaux mis en place. Ouvrez-le pour remplacer les cartouches d'encre ou retarder le papier coincé dans l'imprimante.
Ce module doit normalement être maintainu fermé. |
| 2 | Support de cartouche | Installez les cartouches d'encre. L'encre est éjectée par les buses de la tête d'impression situées en dessous. |
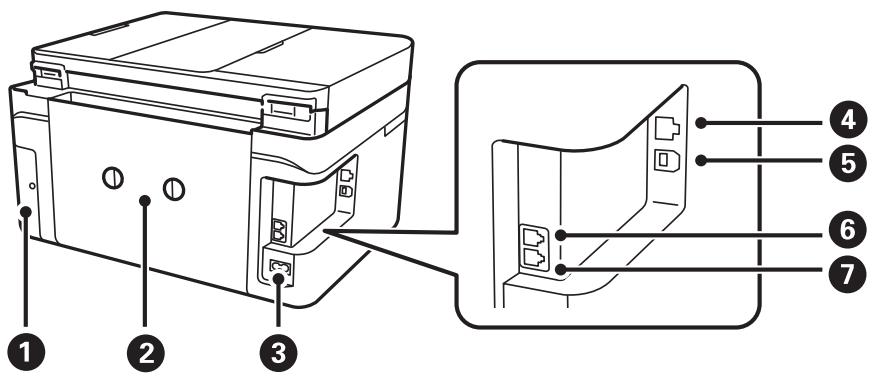
Arrière

| 1 | Capot du boîtier de maintenance | Retirez lors du remplacement du boîtier de maintenance. Le boîtier de maintenance est un conteneur qui recueil très peu d'exçès d'encre durant le nettoyage ou l'impression. |
| 2 | Capot arrêté | Retirez-le pour dégager le papier coincé. |
| 3 | Prise d'alimentation | Permet de brancher le cordon d'alimentation. |
| 4 | Port LAN | Permet de brancher un cable LAN. |
| 5 | Port USB | Permet de brancher un cable USB pour raccarder à un ordinateur. |
| 6 | Port EXT. | Connexion de disposits fétéléphoniques externes. |
| 7 | Port LINE | Permet de connecter une ligne téléphonique. |
Guide du panneau de commande
Panneau de commande. 22
Opérations sur l'écran tactile. 22
Configuration de I'ecran d'accueil. 23
Panneau de commande

| 1 | Permet d'allumer ou d'éteindre l'imprimante. Débranchez le cordon d'alimentation après avoir vérifié que levoyant d'alimentation était étant. |
| 2 | Affiche l'écran d'accueil. |
| 3 | S'allume lorsque les documents reçus qui n'ont pas encore été lus, imprimés ou enregistrrés sont stockés dans la mémoire de l'imprimante. |
| 4 | Affiche les menus et les messages. |
| 5 | Affiche les solutions lorsque vous avez des problèmes. |
Opérations sur l'écran tactile
L'écran tactile est compatible avec les opérations suivantes.
| Pression | | Pour appuyer sur ou sélectionner les éléments ou les icônes. |
| Effleurement | | Pour faire défilier rapidement les données à l'écran. |
| Glissement | → | Pour déplacer les éléments. |
| Pincement avant Pincement arrière | → | Effectuez un zoom avant ou arrêt de l'image prévisualisée du panneau de commande lors de l'impression de photos. |

Configuration de l'écran d'accueil
| 1 | | Affiche l'écran État de l'alimentation. Vous pouvez consulter les niveaux d'encre approximatifs et la durée de vie approximative du boîtier de maintenance. Vous pouvez également replacer les cartouches d'encre ou imprimer le rapport d'etat des consommables. |
| 2 | | Affiche l'état de la connexion réseau.
« Guide de l'icone de réseau » à la page 24 |
| 3 | OFF | Affiche l'écran Paramètres audio de l'appareil. Vous pouvez désirir les paramètres Muet et Mode silencieux. Vous pouvez également accéder au menu Son depuis cet écran. |
| ON | Indique si le mode Mode silencieux est activé pour l'imprimante.:Lorsque cette fonctionnalité est activée, le bruit produit par l'imprimante est réduit, mais son fonctionnement peut être ralenti. Il se peut cependant que les bruits ne soient pas réduits, selon le type de papier et la qualité d'impression sélectionnés. |
| OFF |
| Indique si Muet est défini pour l'imprimante. |
| 4 | | Affiche l'écranInfos données fax. Le chiffre qui s'affiche indique le nombre de fax qui n'ont pas encore été lus, imprimés ou sauvégardés. |
| 5 | | Affiche chaque menu.
Copie
Permet de copier des documents.
Numérique
Permet de numérique des documents et de les enregistrer sur un ordinateur.
Fax
Permet d'envoyer des fax.
Entretien
Affiche les menus recommends pour améliorer la qualité de vos tirages, par exemple pour déboucher les buses en imprintan un motif de vérification des buses et en procédant à un nettoyage de la tête d'impression, ou améliorer la nettété ou réduire les bandes de vos tirages en alignant la tête d'impression.
Param.
Permet de régler certains paramètres relatifs à la maintenance, à la configuration de l'imprimante et à son fonctionnement. |
| 6 | | Fait défilier l'écran vers la droite. |
Guide de l'icone de réseau
| L'imprimante n'est pas connectée à un réseau filaire (Ethernet) ou à un réseau sans fil (Wi-Fi). |
| L'imprimante est connectée à un réseau filaire (Ethernet). |
| L'imprimante recherche un SSID, une adresse IP non connectée ou a un problème avec un réseau sans fil (Wi-Fi). |
| L'imprimante est connectée à un réseau sans fil (Wi-Fi). |
| Le nombre de barres indique la force du signal de la connexion. Plus le nombre de barres est élevé, plus le signal est fort. |
| L'imprimante n'est pas connectée à un réseau sans fil (Wi-Fi) en mode Wi-Fi Direct (PA unique). |
| L'imprimante est connectée à un réseau sans fil (Wi-Fi) en mode Wi-Fi Direct (PA unique). |
Chargement du papier
Précautions de manipulation du papier. 26
Paramètres de format et de type de papier. 26
Chargement du papier. 28
Précautions de manipulation du papier
Lisez les fiches d'instruction fournies avec le papier.
Pour obtenir des impressions de haute qualité avec du papier d'origine Epson, utilisez le papier dans l'environnement indiqué sur les feuilles d'information fournies avec le papier.
- Ventilez et alignez les bords du papier avant de le charger. Ne ventilez pas et ne gondolez pas le papier photo.
Vous risquez sinon d'endommager la surface d'impression.

Si le papier gondole, aplatissez-le ou courbez-le légèrement dans le sens inverse avant de le charger. Une impression sur papier gondolé peut provoquer des bourages papier et maculer le tirage.

Des problèmes d'entrainment du papier peuvent survenir dans le cadre d'une impression recto verso manuelle, lors de l'impression sur un coto du papier preimprimé. Réduisez le nombre de feuilles de moitié ou plus, ou chargez une seule feuille à la fois si les bourrages continuent.
- Ventilez et alignez les enveloppes avant de les charger. Lorsque les enveloppes empilées sont gonflées d'air, appuyez dessus pour les aplatir avant de les charger.

Papiers disponibles et capacités à la page 209
→ « Types de papier non disponibles » à la page 212
Assurez-vous d'enregistrer le format et le type de papier sur l'écran affché lorsque vous chargez le papier. L'imprimante vous informera lorsque les informations enregistrées et les paramètres d'impression diffère. Ceci
vous évite de gâcher du papier et de l'encre en vérifier que vous n'imprimez pas sur un mauvais format de papier ou avec une mauvaise couleur à cause de paramètres qui ne correspondraient pas au type de papier.


Si le format et le type de papier affichés ne s'appliquent pas au papier charge, selectionnez l'element à modifier. Si les paramétres correspondent au papier charge, fermez cet écran.
Remarque:
Si vous ne souhaitez pas afficher automatiquement l'écran des paramètres du papier lorsque vous chargez du papier, Sélectionné les menus de l'écran d'accueil comme décrit ci-dessous.
Param. > Réglages généraux > Param imprint > Réglages source papier > Affichage auto Config. papier > Arrêt
« Affichage auto Config. papier : » à la page 221
Listedes typesdepapier
Pour des résultats optimaux, Sélectionnéz le type de papier adapté au papier.
| Nom du support | Type de support |
| Panneau de commande | Pilote d'impression, périphérique intelligent* |
| Epson Bright White Ink Jet Paper | Papier ordinaire | Papier ordinaire |
| Epson Ultra Glossy Photo Paper | Ultra Glacé | Epson Ultra Glacé |
| Epson Premium Glossy Photo Paper | Prem. Glacé | Epson Premium Glacé |
| Epson Premium Semigloss Photo Paper | Premium Semi-Glacé | Epson Premium Semi-Glacé |
| Epson Photo Paper Glossy | Glacé | Papier Photo Glacé |
| Epson Matte Paper-Heavyweight | Mat | Epson Mat |
| Epson Double-Sided Matte Paper | | |
| Epson Photo Quality Ink Jet Paper | Jet d'encre qualité photo | Epson Jet d'encre Qualité Photo |
| Epson Double-sided Photo Quality Ink Jet Paper | | |
| Epson Photo Quality Self Adhesive Sheets | | |
| Panneau de commande | Pilote d'impression, pérophérique intelligent* |
| Papier ordinaire | Papier ordinaire | Papier ordinaire |
| Enveloppe | Enveloppe | Enveloppe |
- Pour les périhériques intelligents, ces types de supports peuvent être sélectionnés lors de l'impression à l'aide de l'application Epson Smart Panel.
Chargement du papier
Chargement du papier
Vou puez charger du papier en you rerant aux animations affichees sur l'ecran LCD de imprimante.
Sélectionnez ②, puis sélectionnez Comment faire pour > Chargez du papier.

Selectionnez Terminer pour fermer l'écran d'animation.
Précautions lors du chargement du papier à en-tête
Pour du papier à en-tête, Sélectionnez En tête comme type de papier.
Pour du papier à en-étè, si vous imprimez sur du papier plus petit que celui du pilote d'imprimante, l'imprimante risque d'imprimer au-delà des bords du papier, ce qui peut entraîner des taches d'encre et un excès d'encre dans l'imprimante. Veiliez à selectionner le bonne taille de papier dans les paramêtres.
L'impression recto verso et l'impression sans cordure ne sont pas disponibles pour le papier à en-tête. La vitesse d'impression peut également être plus lente.
Chargement d'enveloppés
Chargez les enveloppes avec le rabat orienté vers le haut, puis faites glisser les guides latéraux contre les bords des enveloppes.

« Papiers disponibles et capacités » à la page 209
→ « Types de papier non disponibles » à la page 212
Chargement de papier préperféré
Chargez une feuille simple de papier préperféré dans le bac papier.
Format papier : A4, B5, A5, A6, Letter, Legal

Ajustez la position d'impression de votre fichier pour éviter d'imprimer sur les trous.
L'impression recto verso automatique n'est pas disponible pour le papier pré-imprimé.
Sélectionnez En tête comme format de papier.
« Papiers disponibles et capacités » à la page 209
→ « Types de papier non disponibles » à la page 212
Chargent de papiers longs
Selectionnez Personnalisée comme format de papier.

Assurez-vous que l'extrémité du papier est coupée perpendiculairement. Une coupe diagonale pourrait entrainer des problèmes d'alimentation du papier.
Ne touche pas le papier en cours d'alimentation ou en éjection. Cela pourrait blesser votre main ou entrainer une baisse de la qualité d'impression.
« Papiers disponibles et capacités » à la page 209
→ « Types de papier non disponibles » à la page 212
Positionnement des originaux
Positionnement des originaux. 32
Les documents originaux ne sont pas pris en charge par l'ADF. 33
Positionnement des originaux
Placez les originaux contre la vitre du scanner ou le chargeur automatique de documents.
Vous pouvez placer plusieurs originaux dans l'ADF.
Procedez comme suit pour consulter les animations illustrant le positionnement des originaux.
Sélectionnez (?) , puis sélectionnez Comment faire pour > Placez les originaux. Sélectionnez la méthode de placement des originaux que vous souhaitez visualiser. Sélectionnez Terminer pour fermer l'écran d'animation.

Lors de l'utilisation de la vitre du scanner

Attention:
Veillez a ne pas coinceer vos doigts lorsque vous fermez le capot de documents. Vous risqueriez de vous blesser.

Important:
Lorsque you place des originaux épais, par exemple des livres, évitez que la lumière extérieure ne frappe directement la vitre du scanner.
Nappuyez pas trop fort sur la vitre du scanner ni sur le capot de document. Cela pourrait les endommager.
Remarque:
Sily a des residus ou de la saleté sur la vitre du scanner, la zone de numérisation peut sétendre pour les inclure, de sorte que l'imagé de l'origina pourra être décalée ou réduite. Retirez tous les débris et la poussière de la vitre du scanner avant la numérisation.

Lorsque des originaux sont placés dans le chargeur automatique de documents et contre la vitre du scanner, la priorité est donnée aux originaux qui se trouvent dans l'ADF.
Si you laissez les documents originaux sur la vitre du scanner pendant une période prolongée, ilis risquent d'adherer a sa surface.
Lors de l'utilisation du chargeur automatique de documents

Important:
Ne chargez pas les originaux au-delà de la ligne située sous le symbole triangulaire à l'intérieur du guide latéral du chargeur.

Najoutez pas de documents originaux lors de la numérisation.
→ « Spécifications du scanner » à la page 237
« Les documents originaux ne sont pas pris en charge par l'ADF » à la page 33
Les documents originaux ne sont pas pris en charge par l'ADF

Important:
N'alimentez pas de photographies ou d'illustrations originales de valeur dans l'ADF. Une mauvaise alimentation pourrait endommager ou froisser le document. Numériquez plutôt ces documents sur la vitre du scanner.
Pour éviter les bourrages papier, évitez de placer les documents originaux suivants dans le ADF. Pour ces types, utilisez la vitre du scanner.
□ Documents originaux déchirés, floissés, déteriorés ou gondolés
Documents originaux avec trous de reliure
□ Originaux fixés ensemble avec un adhésif, des agrafes, des trombones, etc.
Documents originaux sur lesquels des autocollants ou des étiquettes sont collés
Documents originaux au découpage irrégulier ou non droits
Documents originaux reliés
Transparents, papier a transfert thermique ou papier carbone
Impression
Impression de documents. 35
Impression sur des enveloppes. 51
Impression de photos. 52
Impression de pages Web. 52
Impression à l'aide d'un service de cloud. 53
Impression de documents
Impression à partir d'un ordinateur
Cette section explique comment faire pour imprimer un document à partir de votre ordinateur en utilisant Windows comme exemple. Sur Mac OS, la procédure peut être différente ou certaines fonctionnalités peuvent ne pas être prises en charge.
Impression à l'aide des paramètres simples

Remarque:
Le fonctionnement peut varier selon l'application. Pour plus de détails, reportez-vous à l'aide de l'application.
- Chargez du papier dans l'imprimante. « Chargement du papier » à la page 28
- Ouvrez le fichier que vous souhaitez imprimer.
- Sélectionnez Imprimer ou Configuration de l'impression dans le menu Fichier.
-
Sélectionnéz votre imprimante.
-
Sélectionnez Preférences ou Propriétés pour ouvrir la fenêtre du pilote d'impression.

- Modifiez les paramètres selon les besoin.
Vouss pouvez you reporter à l'aide en ligne pour plus d'explications sur les éléments de paramétrage. Un clic croit sur un élément affiche l'Aide.
- Cliquez sur OK pour fermer la fenetre du pilote de l'imprimante.
- Cliquez sur Imprimer.
«Listedes typesdepapier»àla page27
« Papiers disponibles et capacités » à la page 209
Ajout de préréglages d'impression pour une impression simplifiée
Si vous créez votre propre préselection de paramètres d'impression liéquement utilisés sur le pilote d'impression, vous pouze facilement procéder à l'impression en sélectionnant la préselection dans une liste.

- Dans l'onglet Principal du pilote d'impression ou sur Plus d'options, définièsez chaque élément (tel que Format document et Type de papier).
- Cliquez sur Ajouter/supprimer les éléments prédéfiis dans Présélections impression.
- Saisissez un Nom et un commentaire si nécessaire.
- Cliquez sur Enregistrer.
Remarque: Pour supprimer un ensemble de paramètres prédéfinis ajouté, cliquez sur Ajouter/supprimer les éléments prédéfinis, sélectionnez le nom de l'ensemble que vous souhaitez supprimer de la liste et supprimez-le.
- Cliquez sur Imprimer.
La prochaine fois que vous voudrez imprimer en appliquant les mêmes paramètres, sélectionnez le nom du réglage enregistré dans PréseLECTIONs impression et cliquez sur OK.
Impression recto verso
Yououpouzeutiliserlune desdeuxmethodessuivantes pourimprimer surlesdeuxcots du papier.
□ Impression recto verso automatique
Impression recto versus manuelle
Une fois l'impression du premier cotoé terminée, returnez le papier pour imprimer l'autre cotoé.

Remarque:
Cette fonction n'est pas disponible pour l'impression sans marges.
Accédez au pilote d'impression, puis effectuez les réglages suivants.
Onglet Principal > Impression recto verso
« Papier pour impression recto verso » à la page 211
→ « Impossible d'effectuer une impression recto-verso manuelle (Windows) » à la page 205
Impression d'un livre
Vou puez egalment imprimer un livre qui peut etre cree en reordonnant les pages et en pliant les tirages.

Remarque:
Cette fonction n'est pas disponible pour l'impression sans marges.
Accédez au pilote d'impression, puis effectuez les réglages suivants.
Dans l'onglet Principal, Sélectionnéz la méthode d'impression recto-verse dans Impression recto verse, puis Sélectionnéz Configuration poster > Livret.
« Papier pour impression recto verso » à la page 211
→ « Impossible d'effectuer une impression recto-verso manuelle (Windows) » à la page 205
Impression de plusieurs pages sur une seule feuille
Voussoupiezimprimerplusieurspagesdedonnéessuruneseulefeuilledepapier.

Remarque:
Cette fonction n'est pas disponible pour l'impression sans marges.
Accédez au pilote d'impression, puis effectuez les réglages suivants.
Onglet Principal > Multi-Pages >2 -haut, etc.
Adaptation à la taille du papier
Vou puez imprimer de telle sorte que l'impression s'adapte à la taille du papier chargé dans l'imprimante.

Remarque:
Cette fonction n'est pas disponible pour l'impression sans marges.
Accédez au pilote d'impression, puis effectuez les réglages suivants.
Dans l'onglet Plus d'options > Sortie papier, Sélectionnéz le format du papier charge.
Impression d'un document agrandi ou réduit à n'importe quel niveau d'aggrandissement
Vou puez réduire ou agrandir la taille d'un document d'une valeur en pourcentage donnée.

Remarque:
Cette fonction n'est pas disponible pour l'impression sans marges.
- Dans l'onglet Plus d'options du pilote d'impression, Sélectionnez la taille du document depuis le paramètre Format document.
- Sélectionnéz le format du papier sur lequel vous souhaitez imprimer dans le paramètre Sortie papier.
- Sélectionnéz Réduire/Agrandir le document, Zoom, puis saisissez un pourcentage.
Impression d'une image sur plusieurs feuilles en vue d'un agrandissement (création d'une affiche)
Cette fonctionnalité vous permet d'imprimer une image sur plusieurs feuilles de papier. Vous pouvezisser une affiche plus grande en les assemblant.

Remarque:
Cette fonction n'est pas disponible pour l'impression recto-verse.
Accédez au pilote d'impression, puis effectuez les réglages suivants.
Onglet Principal > Multi-Pages > Poster 2 x 2, etc.
Réalisation de posters à l'aide des marques de chevauchement
Voici un exemple de la procédure de création d'un poster lorsque Poster 2 x 2 est sélectionné, et Guides de recouvrement est sélectionné dans Imprimer les marques de coupe.

- Préparez Sheet 1 et Sheet 2. Coupez les marges de Sheet 1 le long de la ligne bleue verticale en passant par le centre des croix inférieure et supérieure.

- Placez le bord de Sheet 1 en haut de Sheet 2 et alignez les croix, puis collez temporairement les deux feuilles ensemble par l'arrête.

- Coupez les feuilles collées en deux le long de la ligne rouge verticale en passant par les guides de recouvrement (cette fois, la ligne à gauche des croix).

- Collez les feuilles ensemble par l'arrête.

- Répétez les étapes 1 à 4 pour coller Sheet 3 à Sheet 4.
- Coupez les marges des Sheet 1 et Sheet 2 le long de la ligne bleue horizontale en passant par le centre des croix gauche et droite.

- Placez le bord de Sheet 1 et Sheet 2 en haut de Sheet 3 et Sheet 4, et alignez les croix, puis collez-les temporairement par l'arrête.

- Coupez les feuilles collées en deux le long de la ligne rouge horizontale en passant par les guides de recouvrement (cette fois, la ligne au-dessus des croix).

- Collez les feuilles ensemble par l'arrête.

- Coupez les bords restants le long du guide extérieur.

Impression avec en- ete et pied de page
Vouss pouvez imprimer des informations comme le nom d'utilisateur ou la date d'impression sur l'en- 電 ou le bas de page.

Accédez au pilote d'impression, puis effectuez les réglages suivants.
Onglet Plus d'options > Caracteristiques des filigranes > En-tête/Pied de page
Impression d'un motif anticopie
Voues aee la possibite d'imprimer un motif anticopie sur vos tirages. Lors d'une impression, les lettres ne sont pas reallement imprimées et le tirage apparait légerement tramé. Les lettres cachées se révèlent lors de la photocopie afin de disconnuer aisément l'original des copies.

Motif de protection contre la copie est disponible dans les conditions suivantes :
Type de papier: Papier ordinaire, En tete
Qualité : Standard, Standard - vif
□ Impression recto verso automatique : Non
Sans marges: non sélectionné
Correction des couleurs : Automatique
Accédez au pilote d'impression, puis effectuez les réglages suivants.
Onglet Plus d'options > Caracteristiques des filigranes > Motif de protection contre la copie
Impression combinée de plusieurs fichiers
L'Arrangeur d'impressions simple vous permet de combiner plusieurs fischiers créé par différentes applications et de les imprimer comme une tâche d'impression unique. Vous pouvez définir les paramètres d'impression pour les fischiers combinés, comme la mise en page pour plusieurs pages et l'impression recto verso.

- Dans l'onglet Principal, selectionnez Arrangeur d'impressions simple, puis cliquez sur OK.
- Cliquez sur Imprimer.
Lorsque you lancez l'impression, la fenetre Arrangeur d'impressions simple s'affiche.
- Avec la fenêtre Arrangeur d'impressions simple ouverte, ouvre le fjichier que vous souhaitez combiner avec le fjichier actuel, puis répétez les étapes ci-dessus.
-
Lorsque vous sélectionnez un travail d'impression ajoute à Projet d'impression dans la fenêtre Arranger d'impressions simple, vous pouvez modifier la mise en page.
-
Cliquez sur Imprimer dans le menu Fichier pour lancer l'impression.
Remarque:
Si vous fermez la fenêtre Arranger d'impressions simple avant d'ajouter toutes les données d'impression au Projet d'impression, la tâche d'impression en cours est annulée. Cliquez sur Enregistrer dans le menu Fichier pour enregistrer la tâche en cours. L'extension des fichiers enregistrés est « .ecl »
Pour ouvrir un projet d'impression, cliquez sur Arrangeur d'impressions simple dans l'onglet Utilitaire du pilote d'impression. La fenetre Arrangeur d'impressions simple s'ouvre. Sélectionnez ensuite Ouvrir dans le menu Fichier pour sélectionner le fichier.
Impression à l'aide de la fonctionnalité Impression universelle couleur
Vou puez améliorer la visibilité des textes et images dans les impressions.

Impression universelle en couleur est uniquement disponible lorsque les paramètres suivants sont sélectionnés.
Type de papier: Papier ordinaire, En tete
Qualité : Standard ou qualité supérieure
□ Couleur: Couleur
□ Applications: Microsoft® Office 2007 ou supérieur
□ Format du texte : 96 points ou moins
Accédez au pilote d'impression, puis effectuez les réglages suivants.
Onglet Plus d'options > Correction des couleurs > Options d'image > Impression universelle en couleur
Réglage des couleurs d'impression
Vouss pouvez regler les couleurs utilisées pour la tâche d'impression. Ces réglages ne sont pas appliqués aux données d'origine.

Accédez au pilote d'impression, puis effectuez les réglages suivants.
Onglet Plus d'options > Correction des couleurs > Perso. > Plus d'options, etc.
Impression pour épaissir les lignes fines
You pouze épaissir les lignes trop fines pour être imprimées.



Accédez au pilote d'impression, puis effectuez les réglages suivants.
Onglet Plus d'options > Correction des couleurs > Options d'image > Accentuer les lignes fines
Impression de codes-barres lisibles
Si vous ne parvenez pas à dire correctement les codes-barres imprimés, vous pouvez les imprimer plus nettement grâce à la réduction des coulures. N'activez cette fonctionnalité que si le code-barres que vous avez imprimé ne peut pas être scanned. Selon les circonstances, il est possible que l'amélioration de l'impression ne puisse pas toujours être effectué.

Vousspuvezutiliserceftefonctionnaliteaveclestypesdepapieret lesqualitésd'impressionsuivantes.
Papier ordinaire, En tete: Standard ou Standard - vif
Enveloppe: Standard ou Supérieure
Accédez au pilote d'impression, puis effectuez les réglages suivants.
Onglet Utilitaire > Paramètres étendus > Mode code à barres
Impression de documents depuis des péripériques intelligents
Vou puez imprimer des documents depuis un périhérique intelligent tel qu'un smartphone ou une tablette.


Impression à l'aide de l'application Epson Smart Panel
Epson Smart Panel est une application qui vous permet d'effectuer facilement des opérations d'impression, de copie ou de numérisation à partir d'un apparéil intelligent tel qu'un smartphone ou une tablette. Vous pouvez connecter l'imprimante et l'appareil intelligent via un réseau sans fil, vérifier les niveaux d'encre et l'état de l'imprimante, et rechercher des solutions en cas d'erreur. Vous pouvez également copier facilement les réglages en enregistrant une copie des réglages prédéfinis.

Installez Epson Smart Panel depuis l'adresse URL ou le code QR suivant.
Démarrez Epson Smart Panel, puis sélectionnez le menu d'impression dans l'écran d'accueil.
Impression de documents à l'aide d'AirPrint
AirPrint permit l'impression sans fil instantanée à partir de l'iPhone, de l'iPad, de l'iPod touch et d'un dispositif Mac sans avoir à installer de pilotes ni à télécharger de logiciel.

Fonctionne avec Apple AirPrint
Remarque:
Vou ne pouvez pas utiliser AirPrint si vous avez désactifié les messages de configuration du papier sur le panneau de commande votre imprémante. Reportez-vous au lien ci-dessous pour activer les messages si nécessaire.
- Configurez l'imprimante pour l'impression sans fil. Reportez-vous au lien ci-dessous.
https://epson-sn
- Connectez votre périphérique Apple au même réseau sans fil que celui utilisé par l'imprimante.
- Imprimez depuis votre dispositif sur votre imprimante.
Remarque:
Pour plus de détails, reportez-vous à la page AirPrint du site Web Apple.
« Impression impossible, alors qu'une connexion a bien eté établie (iOS) » à la page 150
Impression à l'aide d'Epson Print Enabler
Vou puez imprimer sans fil vos documents, e-mails, photos et pages Web directement depuis votre téléphone ou tablette Android (version 4.4 ou supérieure). Quelques pressions suffisant pour que votre périphérique Android détecte une imprimante Epson connectée au même réseau sans fil.
Recherche et installez Epson Print Enabler depuis Google Play.
Accédez aux Paramètres de votre périphérique Android, sélectionnez Impression, puis activez Epson Print Enabler. Ouvrez une application Android telle que Chrome, appuyez sur l'icone du menu et imprimez ce qui s'affiche à l'écran.
Remarque:
Si vous ne VOYZ pas votre imprimante, appuyez sur Toutes les imprimantes et selectionnez votre imprimante.
Impression à l'aide de l'application Mopria Print Service
Mopria Print Service permit une impression sans fil instantanée depuis les smartphones ou tablettes Android.
Installez Mopria Print Service depuis Google Play.

Pour plus d'informations, accedede au site Web Mopria à l'adresse https://mopria.org.
Impression sur des enveloppes
Impression d'enveloppes depuis un ordinateur (Windows)
- Chargez les enveloppes dans l'imprimante. « Chargement d'enveloppes » à la page 29
- Ouvrez le fjichier que vous souhaitez imprimer.
- Accedez à la fenêtre du pilote de l'imprimante.
- Sélectionnez la taille des enveloppes dans Format document de l'onglet Principal, puis sélectionné Enveloppe dans Type de papier.
- Reglez les autres éléments des anglets Principal et Plus d'options selon vos besoins, puis cliquez sur OK.
- Cliquez sur Imprimer.
Impression d'enveloppés depuis un ordinateur (Mac OS)
- Chargez les enveloppès dans l'imprimante.
« Chargement d'enveloppes » à la page 29
- Ouvrez le fichier que vous souhaitez imprimer.
- Sélectionnez Imprimer dans le menu Fichier ou une autre commande pour acceder à la zone de dialogue d'impression.
- Sélectionnéz le format en tant que paramètre Taille papier.
- Sélectionnéz Configuration Imprimante dans le menu contextuel.
- Sélectionnez Enveloppe en tant que paramètre Support.
- Définissez les autres éléments si nécessaire.
- Cliquez sur Imprimer.
Impression de photos
Impression de photos depuis un ordinateur
Epson Photo+ you per met d imprimer des photos detaillles avec une grande variet de mises en page et en tout simplicité sur du papier photo ou des etiquettes de CD/DVD (l'pression détiquettes de CD/DVD n'est possible qu'avc certains moddes uniquement). Pour plus de détails, reportez-vous à l'aide de l'application.
Impression de pages Web
Impression de pages Web depuis un ordinateur
Epson Photo+ yous permet d'afficher des pages Web, de recadrer la zone de suaive choix, de la modifier et de imprimer. Pour plus de details, reportez-vous a laide de l'application.
Impression de pages Web depuis un périphérique intelligent
Installez Epson Smart Panel depuis l'adresse URL ou le code QR suivant.
Ouvrez la page Web que vous souhaitez imprimer dans votre application de navigation Web. Appuyez sur Partager dans le menu de l'application du navigateur Web, Sélectionnez Panneau intelligent, puis commencez l'impression.
Impression à l'aide d'un service de cloud
Gréace au service Epson Connect disponible sur Internet, vous pouvez imprimer depuis votre smartphone, votre tablette PC ou votre ordinateur portable, à tout moment et quasiment partout. Pour utiliser ce service, vous devez enregistrer l'utilisateur et l'imprimante dans Epson Connect.

Les fonctionnalités disponibles sur Internet sont les suivantes.
Email Print
Lorsque vous envoyez un e-mail contenant des pieces jointes telles que des documents ou images à une adresse e-mail affectée à l'imprimante, vous pouvez imprimer cet e-mail et les pieces jointes depuis des emplacements distants tels que l'imprimante de votre domicile ou celle de votre bureau.
Remote Print Driver
Il s'agit d'un pilote partagé compatible avec Remote Print Driver. Lorsque vous imprimez sur une imprimante distante, vous pouvez imprimer en changeant d'imprimante dans la fenêtre d'applications habituelle.
Reportez-vous au portail Web d'Epson Connect pour en savoir plus sur la configuration ou l'impression.
Copie à l'aide des paramètres simples. 56
Copie recto versus. 56
Copie avec agrandissement ou réduction. 57
Copies avec des originaux de plusieurs pages sur une seule feuille. 57
Copiedoriginauxdebonne qualite. 58
Copied'unecarted'identite. 58
Copie sans marges. 59
Options de menu de base pour la copie. 59
Options de menu avances pour la copie. 60
Copie à l'aide des paramètres simples
Cette section explique comment utilise le menu Copie du panneau de commande pour copier des originaux.

- Chargez du papier dans l'imprimante.
«Chargement du papier » à la page 28
- Placez les documents originaux.
« Positionnement des originaux » à la page 32
- Sélectionnez Copie sur le panneau de commande.
- Sélectionnez la copie en couleur ou en noir et blanc.
- Définissez le nombre de copies.
- Appuyez sur
Remarque:
La couleur, la taille et la cordure de l'image copiee different legement de l'original.
Copie recto verso
You pouvez copier plusieurs originaux les deux cotsés du papier.

Copie > (Rec/Ver)
« Options de menu de base pour la copie » à la page 59
« Options de menu avances pour la copie » à la page 60
Copie avec agrandissement ou réduction
Vou pouvez copier des originaux avec un grossissement donné.

Onglet Copie > Paramètres avances > Zoom
« Options de menu de base pour la copie » à la page 59
« Options de menu avances pour la copie » à la page 60
Copies avec des originaux de plusieurs pages sur une seule feuille
Permet de copier deux documents originaux recto sur une feuille unique selon la disposition 2 en 1.

Onglet Copie > Paramètres avances > Mise en page
« Options de menu de base pour la copie » à la page 59
« Options de menu avancées pour la copie » à la page 60
Copie d'originaux de bonne qualité
Vou pouvez copier des documents originaux sans ombres ni troue de perforation.

Copie > onglet Parametes avances > Enlever ombre ou Retirer perforations
« Options de menu de base pour la copie » à la page 59
« Options de menu avances pour la copie » à la page 60
Copie d'une carte d'identité
Numérique les deux côts d'une carte d'identité et les copie sur un côté d'une feuille A4.

Onglet Copie > Paramètres avancés > Copie Carte d'identité
Placez l'original avec la face vers bas et faites-le glisser vers la marque au coin. Placez une carte d'identité contre la vitre du scanner, à 5 mm de la marque d'angle.

« Options de menu de base pour la copie » à la page 59
→ « Options de menu avances pour la copie » à la page 60
Copie sans marges
Permet de réaliser des copies sans mages sur les bords. L'image est légèrement agrandie pour supprimer les mages des bords du papier.



Onglet Copie > Paramètres avancés > Sans bordure Copie
« Options de menu de base pour la copie » à la page 59
« Options de menu avances pour la copie » à la page 60
Remarque:
Certaines options peuvent ne pas etre disponibles selon les autres parametes selectionnés.
N&B:
Permet de copier le document original en noir et blanc (monochrome).
Couleur:
Permet de copier le document original en couleur.
(Rec/Ver):
Selectionnez la mise en page recto verso.
□ 1 > 1 -Faces
Permet de copier une copie du document original sur un côte du papier.
□ 1 > 2 -Faces
Permet de copier deux documents originaux recto sur les deux cots d'une feuille de papier. Sélectionnez l'orientation de votre original et la position de reliure du papier.
(Densité):
Augmentez le niveau de densité si les copies sont pâles. Réduisez le niveau de densité en cas de taches d'encre.
Remarque:
Certaines options peuvent ne pas etre disponibles selon les autres parametes selectionnés.
Paramètre papier :
Selectionnez la taille et le type de papier charge.
Zoom:
Configure le taux d'agrandissement pour l'agrandissement ou la réduction. Si vous désirez réduire ou augmenter la taille de l'original en fonction d'un pourcentage spécifique, Sélectionnez la valeur et saississez un pourcentage compris entre 25 et 400% .
Taille réelle
Permet de réaliser des copies avec un taux d'agrandissement de 100% .
A4->A5 et autres
Permet d'agrandir ou de réduire automatiquement le document original en fonction d'une taille de papier spécifique.
Aj page auto
Permet de détecter la zone de numérisation et d'agrandir ou de réduire automatiquement le document original en fonction du format de papier sélectionné. S'il y a des marges blanches autour du document original, les marges blanches à partir de la marque dans le coin de la vitre du scanner sont détectées en tant que zone de numérisation, il est cependant possible que les marges de l'autre côté soient rognées.

Tailledocument:
Sélectionnez la taille de votre original. Lorsque vous copiez des documents de format non standard, sélectionnez le format qui est le plus proche de celui de votre original.
Multi-Pages :
Selectionnez la mise en page de la copie.
Page unique
Copie un document original recto sur une feuille unique.
2 en 1
Permet de copier deux documents originaux recto sur une feuille unique selon la disposition 2 en 1. Sélectionnéz la mise en page et l'orientation de votre original.
Qualité :
Sélectionnez la qualité de copie. L'option Supérieure permet d'obtenir une impression de toute valeur qualité, l'impression peut cependant être plus lente.
Sens de l'original :
Selectionnez l'orientation de votre document original.
Enlever ombre :
Supprime les ombres qui apparaissent autour des copies lorsqu'on copie du papier écais ou qui apparaissent au centre des copies lorsqu'on copie un livre.
Supprime les trouss de reliure lors de la copie.
Copie Carte d'identité :
Numérique les deux faces d'une carte d'identité et les copie sur un seul côte d'une feuille.
Sans bordure Copie :
Permet de réaliser des copies sans marges sur les bords. L'image est légèrement agrandie pour supprimer les marges des bords du papier. Sélectionnez le taux d'agrandissement dans le paramètre Extension.
Eff tout param.:
Permet de réinitialiser les paramètres de copie.
Numérisation
Méthodes de numérisation disponibles. 63
Numérisation d'originaux vers un ordinateur. 63
Numérisation d'originaux vers le cloud. 64
Options de menus pour la numérisation. 65
Numérisation à l'aide de WSD. 66
Numérisation d'originaux vers un périhérique intelligent. 68
Méthodes de numérisation disponibles
Vou pousse utiliser n'importe qu'elle méthode de numérisation suivante avec cette imprimante.
Numérisation vers un ordinateur
Voupez enregister l'imaginemerie sur un ordinateur connecte a l'imprimante.
« Numérisation d'originaux vers un ordinateur » à la page 63
Envoi vers un service de cloud
Voupez envoyer des images numeriees depuis le panneau de commande de l'imprimante vers des services cloud configurés au préalable.
« Numérisation d'originaux vers le cloud » à la page 64
Numérisation à l'aide de WSD
Voupe enregistrer l'imaginése sur un ordinateur connecté à l'imprimante à l'aide de la fonctionnalité WSD.
« Numérisation à l'aide de WSD » à la page 66
Numérisation directe depuis un périphérique intelligent
Voupe enregistrer directement les images numériées sur un pérophérique intelligent comme un smartphone ou une tablette grâce à l'application Epson Smart Panel sur le pérophérique intelligent.
« Numérisation d'originaux vers un périphérique intelligent » à la page 68
Numérisation d'originaux vers un ordinateur
Remarque:
Pour utiliser cette fonctionnalité, vérifie que les applications suivantes sont installées sur votre ordinateur.
Epson ScanSmart (Windows 7 ou version ulterieure, ou OS X El Capitan (10.11) ou version ulterieure)
Epson Event Manager (Windows Vista/Windows XP, ou OS X Yosemite (10.10)/OS X Mavericks (10.9.5))
Epson Scan 2 (application nécessaire pour utiliser la fonction scanner)
Reportez-vous à ce qui suit pour vérifier les applications installées.
Windows 11: Cliquez sur le bouton Demarrer, puis vérifie le dossier All apps > Epson Software > Epson ScanSmart, et le dossier EPSON > Epson Scan 2.
Windows 10 : cliquez sur le bouton Demarrer, puis rendez-vous dans le dossier Epson Software > Epson ScanSmart, puis dans le dossier EPSON > Epson Scan 2.
Windows 8.1/Windows 8: entrez le nom de l'application dans l'icone Rechercher, puis vérifier l'icone affichée.
Windows 7: cliquez sur le bouton Demarrer, puis selectionnez Tous les programmes. Rendez-vous ensuite dans le dossier Epson Software > Epson ScanSmart, puis dans le dossier EPSON > Epson Scan 2.
Windows Vista/Windows XP : cliquez sur le bouton Demarrer, puis selectionnez Tous les programmes ou Programmes. Rendez-vous ensuite dans le dossier Epson Software > Epson Event Manager, puis dans le dossier EPSON > Epson Scan 2.
Mac OS: Sélectionnez Aller > Applications > Epson Software.
- Placez les documents originaux.
« Positionnement des originaux » à la page 32
- Sélectionnéz Numériser > Ordinateur sur le panneau de commande.
- Sélectionnéz l'ordinateur sur lequel les images numériées doivent être enregistrées.
Si l'écran Sélectionnez un Ordinateur s'affiche, sélectionné z l'ordinateur.
Si l'écran Numér. vers ordi s'affiche et que l'ordinateur est déjà sélectionné, vérifié que la sélection est correcte. Si vous souhaitez changer d'ordinateur, sélectionnez , puis sélectionnez un autre ordinateur.
- Sélectionnez pourCHOIR la maniere dont sont enregistrées les images numériées sur l'ordinateur.
Aperçu sur ordinateur (Windows 7 ou version ultérieure, ou OS X El Capitan (10.11) ou version ultérieure): prévisuelle l'image numérique sur un ordinateur avant d'enregistrer les images.
Enreg en JPEG: enregistre l'imaginemérisée au format JPEG.
Enr en PDF: enregistrre l'imaginemuréisée au format PDF.
- Appuyez sur
Lors de l'utilisation de Windows 7 ou d'une version ultérieure, ou d'OS X El Capitan (10.11) ou d'une version ultérieure : Epson ScanSmart se lance automatiquement sur votre ordinateur, et la numérisation démarre.
Remarque:
Pour une information plus détaillée sur l'utilisation du logiciel, reportez-vous à laide d'Epson ScanSmart. Cliquez sur Aide à l'écran Epson ScanSmart pour ouvrir laide.
- Vous pouvez non seulement lancer la numérisation à partir de l'imprimante, mais aussi à partir de votre ordinateur en utilisant Epson ScanSmart.
Numérisation d'originaux vers le cloud
Avant d'utiliser cette fonctionnalité, définisse les paramétres à l'aide de l'application Epson Connect. Pour plus de détails, reportez-vous au site Web du portail Epson Connect.
- Placez les documents originaux.
« Positionnement des originaux » à la page 32
- Sélectionnéz Numériser > Cloud sur le panneau de commande.
- Sélectionnez sur la partie supérieure de l'écran, puis Sélectionnez une destination.
- Reglez les paramètres de numérisation.
« Options de menus pour la numérisation » à la page 65
- Appuyez sur
Certain éléments peuvent ne pas être disponibles en fonction de la méthode de numérisation que vous avez sélectionné ou d'autres paramètres que vous avez définis.
N&B/Couleur
Indiquez si vous souhaitez numériser en monochrome ou en couleur.
JPEG/PDF
Permet de selectionner le format d'enregistrement de l'image numérique.
Zone numéri.:
Selectionnez la zone de numérisation. Sélectionnez Recadr auto pour ropner l'espace blanc situé autour du texte ou de l'image lors de la numérisation. Pour numériser la zone maximale de la vitre du scanner, selectionnez Zone Max.
Sens de l'original :
Permet de selectionner l'orientation du document original.
Type de document
Permet de selectionner le type de votre original.
Densité :
Permet de selectionner le contraste de l'image numérique.
Enlever ombre :
Permet de supprimer les ombres du document original qui apparaissent dans l'image numérique.
Surround:
Permet de supprimer les ombres se trouvant sur les bords du document original.
Centre:
Permet de supprimer les ombres se trouvant sur marge de reliure du livre.
Supprime les trous de perforation qui apparaissent dans l'image numérique. Vous pouvez indiquer la zone où supprimer les trous de perforation en faisissant une valeur dans la boite située à droite.
Effacement position :
Permet de selectionner la position pour supprimer les trous de perforation.
Sens de l'original :
Permet de selectionner l'orientation du document original.
Eff tout param.
Permet de réinitialiser les paramètres de numérisation.
Numérisation à l'aide de WSD
Remarque:
- Cette fonctionnalité est uniquement disponible pour les ordinateurs exécutant Windows Vista ou supérieur.
Si vous utilisez Windows 7/Windows Vista, vous devez configurer votre ordinateur au préalable à l'aide de cette fonctionnalité.
« Configuration d'un port WSD » à la page 66
- Placez les documents originaux.
« Positionnement des originaux » à la page 32
- Sélectionnéz Numériser > WSD sur le panneau de commande.
- Sélectionnéz un ordinateur.
- Appuyez sur
Configuration d'un port WSD
Cette section indique comment configurer un port WSD sous Windows 7/Windows Vista.
Remarque:
Sous Windows 8 ou supérieur, le port WSD est automatiquement configuré.
La configuration d'un port WSD nécessite les éléments suivants.
L'imprimante et l'ordinateur sont connectés au réseau.
Le pilote d'impression est installé sur l'ordinateur.
1. Mettez l'imprimante sous tension.
2. Cliquez sur Demarrer, puis cliquez sur Reseau au niveau de l'ordinateur.
3. Cliquez avec le bouton droit de la souris sur l'imprimante, puis cliquez sur Installerer. Cliquez sur Continuer lorsque l'écran Contrôle de compte d'utilisateur s'affiche.
Cliquez sur Désinstaller et redémarrez si l'écran Désinstaller s'affiche.

Remarque:
Le nom de l'imprimante définie pour le nom de réseau et de modèle (EPSON XXXXXX (XX-XXXX)) est affiché sur l'écran réseau. Vous pouvez vérifier le nom de l'imprimante à partir du panneau de commande de l'imprimante ou en imprintant une feuille d'etat du réseau.
- Cliquez sur Notre périphérique est prét à être utilisé.

- Consultez le message, puis cliquez sur Fermer.

- Ouvrez l'écran Péripériques et imprimantes.
Windows 7
Cliquez sur Panneau de configuration > Matériel et audio (ou Matériel) > Périphériques et imprimantes.
Windows Vista
Cliquez sur Demarrer > Panneau de configuration > Matériel et audio > Imprimantes.
- Vérifiez qu'une icône avec le nom réseau de l'imprimante est affichée.
Sélectionnez le nom de l'imprimante lors de l'utilisation d'un port WSD.
Numérisation d'originaux vers un périphérique intelligent
Remarque:
Installez Epson Smart Panel sur votre périphérique intelligent avant de numériser.
- Placez les documents originaux.
« Positionnement des originaux » à la page 32
- Lancez Epson Smart Panel sur votre périphérique intelligent.
- Sélectionnéz le menu numériser sur l'écran d'accueil.
- Suívez les instructions à l'écran pour numériser et sauvegarder les images.
Télécopie
Avant d'utiliser les fonctions de fax. 70
Présentation des fonctions de télécopie de cette imprimante. 81
Envoi de fax à l'aide de l'imprimante. 84
Réception de fax sur l'imprimante. 88
Options de menu pour le fax. 92
Options de menus pour Boite de réception. 95
Utilisation des autres fonctionnalités de fax. 97
Envoi d'un fax à partir d'un ordinateur. 97
Réception de fax sur un ordinateur. 101
Avant d'utiliser les fonctions de fax
Vérifiez les points suivants avant de commencer à utiliser les fonctions de fax.
L'imprimante et la ligne téléphonique, et (s'il est utilisé) l'appareil téléphonique sont correctement connectés
- Les paramètres de base de fax (Assistant param fax) sont complétés
Les autres Param. fax sont complétés
Pour définiir des paramètres, consultez les Informations connexes ci-dessous.
« Connexion de l'imprimante à la ligne téléphonique » à la page 70
« Rendre l'imprimante prete à envoyer et receivevoir des télécopies » à la page 73
« Réglage des paramètres de la fonction fax de l'imprimante, en fonction de l'utilisation » à la page 75
«Param.fax» à la page 225
« Mise à disposition des contacts » à la page 79
« Paramètres utiliser » à la page 235
Connexion de l'imprimante à la ligne téléphonique
Lignes téléphoniques compatibles
Vouss pouvez utiliser l'imprimante via des lignes téléphoniques analogiques standard (RTC = réseau téléphonique commuté) et des systèmes téléphoniques PBX (PBX = commutateur téléphonique privé).
Voussoupiezrerencounterdesproblèmessiyouusutilizezl'imprimanteavecles ligneset systèmesdelignes
telephoniques suivants.
Ligne teléphonique VoIP telle une ligne DSL ou un service numérique de fibre optique
Ligne téléphonique numérique (RNIS)
Cercains systèmes tellephoniques PBX
Lorsque des adaptateurs tels des adaptateurs de terminal, des adaptateurs VoIP, des séparateurs, ou des routeurs DSL sont connectés entre la prise téléphonique murale et l'imprimante.
Connexion de l'imprimante à la ligne téléphonique
Connectez l'imprimante à une prise téléphonique murale à l'aide d'un cable téléphonique RJ-11 (6P2C). Lors de la connexion d'un téléphone à l'imprimante, utilisez un deuxième cable téléphonique RJ-11 (6P2C).
Selon la zone, un cable de téléphone peut etre livre avec l'imprimante. Si le cable est inclus, utilisez celui-ci.
Il est possible que deviez connecter le cable de téléphone à un adaptateur fourni pour votre région ou pays.
Remarque:
Retirez le cache du port EXT. de l'imprimante uniquement lorsque vous connectez votre téléphone à l'imprimante. Ne retirez pas le cache si vous ne connectez pas votre téléphone.
Dans les zones où les risques de foudroiement sont élevés, nous vous recommendons d'utiliser un parasurtenseur.
Connexion à la ligne téléphonique standard (RTC) ou à la ligne PBX
Branchez un cable de téléphone à la prise téléphonique murale ou au port PBX, puis branchez-le au port LINE situé à l'arrière de l'imprimante.

« Connexion de votre dispositif téléphonique à l'imprimante » à la page 71
Connexion à la ligne DSL ou RNIS
Branchez un cable de téléphone au modem DSL ou à l'adaptateur de terminal RNIS, puis branchez-le au port LINE situé à l'arrière de l'imprimante. Reportez-vous aux manuels fournis avec le modem ou l'adaptateur pour plus de détails.
Remarque:
Si aucun filtré DSL n'est intégré à votre modem DSL, branchez un filtré DSL distinct.

« Connexion de votre dispositif téléphonique à l'imprimante » à la page 71
Connexion de votre dispositif téléphonique à l'imprimante
Si vous utilisez l'imprimante et votre téléphone sur une meme ligne téléphonique, connectez le téléphone à l'imprimante.
Remarque:
Si vous dispositif téléphonique est doté d'une fonction fax, désactivez la fonction fax avant la connexion. Reportez-vous aux manuels fournis avec le dispositif téléphonique pour plus de détails. Selon le modele de votre dispositif téléphonique, la fonction de fax ne pourrait pas etre entierement désactivée, et vous ne pourrez donc pas l'utiliser comme téléphone externe.
Si vous connectez un répondeur, assurez-vous que le paramètre Sonneries avant réponse de l'imprimante est régèle sur un nombre supérieur au nombre de sonneries sur lequel votre répondeur est régèle pour répondre à un appel.
- Retirez le cache du port EXT. à l'arrière de l'imprimante.

- Connectez le dispositif téléphonique au port EXT. à l'aide d'un cable téléphonique.

Remarque:
Lorsque vous partagez une unique ligne téléphonique, assurez-vous de brancher le dispositif téléphonique au port EXT. de l'imprimante. Si vous séparez la ligne pour connecter le dispositif téléphonique et l'imprimante séparation, le téléphone et l'imprimante ne fonctionnent pas correctement.
- Sélectionnez Fax sur le panneau de commande de l'imprimante.
4. Décrochez le combiné.
Si un message d'envoi ou de réception de fax s'affiche tel qu'illustré à l'écran suivant, la connexion a bien été établie.

« Rendre l'imprimante prete à envoyer et receivevoir des télécopies » à la page 73
« Utilisation d'un répondeur » à la page 76
→ « Configurer la réception de fax à l'aide d'un téléphone connecté uniquement » à la page 76
« Mode réception : » à la page 227
Rendre l'imprimante prête à envoyer et receivevoir des télécopies
Assistant param fax configure les fonctionnalités de télécopie de base afin de préparer l'imprimante à l'envoi et à la réception de télécopies.
L'Assistant est automatiquement affché lorsque l'imprimante est mise sous tension pour la première fois. Vous pouvez également afficher l'assistant manuellement depuis le panneau de commande de l'imprimante. Vous doivent exécuter l'assistant à nouveau dans le cas où celui-ci a été sauté à la première mise sous tension de l'imprimante, ou lorsque l'environnement de connexion a changé.
□ Les éléments ci-dessous sont ce que vous pouvez définir via l'assistant.
En-tête (Votre num de phone et En-tete télécopie)
□ Modereception (Auto ou Manuel)
Réglage Distinctive Ring Detection (DRD)
Les éléments ci-dessous sont définis automatiquement selon l'environnement de connexion.
Mode numérotation (tel que Tonalité ou Impulsion)
Les autres éléments dans Param de base restent tels quels.
«Paramdebase»àla page226
Rendre l'imprimante prête à envoyer et receivevoir des télécopies en utilisant Assistant param fax
- Sélectionnéz Param. sur l'écran d'accueil du panneau de commande.
- Sélectionnez Réglages généraux > Param. fax > Assistant param fax.
- En suivant les instructions affichées à l'écran, saisissez le nom de l'expéditeur tel que le nom de l'entreprise, votre numéro de fax.
Remarque:
Votre nom d'expéditeur et votre numéro de fax apparaisent comme en-été des fax envoyés.
- Effectuez le réglage de la détéction de sonnerie distinctive (DRD).
Si vous etes inscrit a un service de sonnerie distincte apres de votre fournisseur telephonique :
Passez à l'écran suivant et Sélectionnez le modèle de sonnerie à utiliser pour les fax entrants.
Lorsque vous sélectionnez une option sauf Tout, Mode réception est défini sur Auto et vous passez à l'écran suivant où vous pouvez vérifier les régages que vous avez effectués.
Si vous n'avez pas souscrit à un service de sonnerie distinctive auprès de votre opérateur téléphonique, ou si vous n'avez pas besoin de définir cette option :
Passez ce paramètre et passez à l'écran où vous pouvez vérifier les réglages que vous avez effectués.
Remarque:
□ Les services de sonnerie distincte, proposés par plusieurs fournisseurs téléphoniques (le nom diffère selon les fournisseurs) vous permettent de concentrer plusieurs numeros de téléphone sur une seule ligne téléphonique. Un modele de sonnerie différent est attribué à chaque numero. Vous pouvez utiliser un numero pour les appeals vocaux et un autre pour les appeals de télécopie. Sélectionnez le modele de sonnerie attribué aux appeals fax dans DRD.
Selon la région, On et Arrêt sont affichés dans les options DRD. Sélectionnez On pour utiliser la fonctionnalité de sonnerie distincte.
- Configurez le paramètre Mode réception.
Si vous n'avez pas besoin de connecter un combiné téléphonique à l'imprimante :
Sélectionnez Non.
Mode réception est définir sur Auto.
Si vous devez connecter un combiné téléphonique à l'imprimante :
Selectionnez Oui, puis choisissez de receivevoir ou non les fax automatiquement.
- Vérifiez les paramètres que vous venez de désir sur l'écran affché, puis passez à l'écran suivant.
Pour corriger ou modifier des paramètres, sélectionnéz
- Vérifiez la connexion fax en selectionnant Lancer vérification, puis selectionnez Imprimer pour imprimer un rapport qui affiche le statut de connexion.
Remarque:
Si des erreurs sont identifiées, suivez les instructions sur le rapport pour les résoudre.
Si l'écran Sélect. type de ligne s'affiche, seLECTIONnez le type de ligne.
- Lorsque vous connectez l'imprimante à un système PBX ou à un adaptateur de terminal, Sélectionnez PBX.
- Lorsque vous connectez l'imprimante à une ligne téléphonique, Sélectionnez PSTN, puis Sélectionnez Désactiver sur l'écran Confirmation qui s'affiche. Toutefois, la définition de ce paramètre sur Désactiver risque de pousser l'imprimante à sauter le premier chiffre d'un numéro de télécopie et envoyer ainsi la télécopie à un mauvais numéro.
« Connexion de l'imprimante à la ligne téléphonique » à la page 70
« Utilisation d'un répondeur » à la page 76
« Mode réception : » à la page 227
« Configurer la réception de fax à l'aide d'un téléphone connecté uniquement » à la page 76
«Paramdebase»àla page226
Réglage des paramètres de la fonction fax de l'imprimante, en fonction de l'utilisation
Vous pouvez régler individuellement les fonctions de fax de l'imprimante depuis son panneau de commande, en fonction de l'utilisation. Vous pouvez également modifier les paramétres configurés à l'aide de l'Assistant param fax. Pour en savoir plus, reportez-vous aux descriptions du menu Param.fax.
«Param.fax» à la page 225
« Définition des paramètres pour un système téléphonique PBX » à la page 75
→ « Réglage des paramètres lors de la connexion d'un combiné téléphonique » à la page 76
« Réception de fax entrants » à la page 88
« Définir les paramètres de sorte d'enregistrer les fax reçus » à la page 77
« Configuration des paramètres pour bloquer les fax non désirés » à la page 78
« Réglage pour envoyer et receivevoir des fax sur un ordinateur » à la page 78
Définition des paramètres pour un système téléphonique PBX
Définissez les paramètres suivants lorsque vous utilisez l'imprimante dans un bureau qui utilise des extensions et nécessite des codes d'accès externes, comme le 0 ou le 9, pour acceder à une liste externe.
- Sélectionnéz Param. sur le panneau de commande de l'imprimante.
- Sélectionnéz Réglages généraux > Param. fax > Param de base.
-
Sélectionnez Type de ligne, puis selectionné PBX.
-
Lors de l'envoi d'un fax à un numéro de fax externe à l'aide d'un # (dièse) au lieu du code d'accès externe réel, Sélectionnéz la boîte Code d'accès pour la définir sur Utiliser.
Le #, remplaçant le code d'accès réel, est remplaced par le code d'accès stocké lors de la numération.
L'utilisation du caractère # permet d'éviter les problèmes lors de la connexion à une ligne externe.
Remarque:
Il est impossible d'envoyer des fax à des destinataires issues des Contacts qui ont des codes d'accès externes tels que 0 et 9.
Si vous avez enregistr de des destinataires dans Contacts qui utilise un code d'acces exter tel que 0 et 9, definissez
Code d'accès sur Ne pas utiliser. Sinon, vous doivent remplaner le code par # dans Contacts.
- Appuyez sur la boîte de saisie Code d'accès entre le code d'accès externe utilisé pour votre système téléphonique, puis appuyez sur OK.
- Sélectionnéz OK pour appliquer les paramètres.
Le code d'accès est stocké dans l'imprimante.
Réglage des paramètres lors de la connexion d'un combiné téléphonique
Utilisation d'un répondeur
Vous devez paramétrer le répondeur pour pouvoir l'utiliser.
- Sélectionnéz Param. sur le panneau de commande de l'imprimante.
- Sélectionnéz Réglages généraux > Param. fax > Param de base.
- Définissez Mode réception sur Auto.
- Définissez le paramètre Sonneries avant réponse de l'imprimante sur un nombre supérieur au nombre de sonneries pour le répondeur.
Si la valeur de Sonneries avant réponse est inférieure au nombre de sonneries pour le répondeur, celui-ci ne pourra pas enregistrer d'appels vocaux. Reportez-vous aux manuels fournis avec le répondeur pour des informations sur ses paramètres.
Selon cette zone géographique, le paramètre Sonneries avant réponse de l'imprimante peut être affché ou non.
«Paramdebase»àla page226
Vouss pouze recevoir les fax entrants simplement en decrochant le combiné et en manipulant uniquement le téléphone.
La fonctionnalité Réception à distance est disponible pour les téléphones qui prennt en charge la numérotation à tonalité.
-
Sélectionnéz Param. sur le panneau de commande de l'imprimante.
-
Sélectionnez Réglages généraux > Param. fax > Param de base > Réception à distance.
- Appuyez sur Réception à distance pour le définir sur On.
- Sélectionnez Code de démarr, saisissez un code à deux chiffres (vous pouvez saisir 0 à 9, * et #), puis appuyez sur OK.
- Sélectionnez OK pour appliquer les paramètres.
«Paramdebase»àla page226
Définir les paramètres de sorte d'enregistrer les fax reçus
Par défaut, l'imprimante est réglée pour imprimer les fax reçus. Outre l'impression, vous pouvez régler l'imprimante pour enregistrer les fax reçus.
Boite de réception dans l'imprimante
Vous pouze enregister les faxe reçus dans la Boîte de réception. Vous pouze les visualiser sur le panneau de commande de l'imprimante afin de n'imprimer que ceux que vous souhaitez imprimer ou supprimer les fax inutiles.
Un ordinateur (réception PC-FAX)
Toutes ces fonctionnalités peuvent être utilisées en même temps. Si vous les utilisez en même temps, les documents reçus sont enregistrés dans la boîte de réception et sur un ordinateur. Pour receivevoir les fax sur un ordinateur, effectuez les réglages à l'aide de FAX Utility.
« Réglage pour envoyer et receivevoir des fax sur un ordinateur » à la page 78
- Sélectionnéz Param. sur le panneau de commande de l'imprimante.
- Sélectionnéz Réglages généraux > Param. fax > Param. de réception > Sortie fax.
- Si un message de confirmation s'affiche, confirmez-le, puis appuyez sur OK.
- Sélectionnéz Enreg. dans boîte de réception.
- Sélectionnéz Enreg. dans boîte de réception pour régler cette option sur On
- Sélectionnez Options si mémoire pleine, puis sélectionnez l'option à utiliser lorsque la boîte de réception est pleine.
Recevoir et imprimer les fax : l'imprimante imprime tous les documents reçus qui ne peuvent pas'être enregistrés dans la boîte de réception.
- Rejeter les fax entrants : l'imprimante ne répond pas aux appel de fax entrants.
- Vous pouvez définir un mot de passer pour la boîte de réception. Sélectionnez Rég MdPasse de Bte récep, puis saississez le mot de passer.
Remarque:
Vous ne pouvez pas définir un mot de passer lorsque Options si mémoire pleine est défini sur Recevoir et imprimer les fax.
«Sortie fax» à la page 229
« Affichage des fax reçus enregistrés dans l'imprimante sur l'écran LCD » à la page 91
Configuration des paramètres pour bloquer les fax non désirés
Vous pouvez bloquez les fax non désirés.
- Sélectionnez Param. sur le panneau de commande de l'imprimante.
- Sélectionnéz Réglages généraux > Param. fax > Param de base > Fax rejeté.
- Choisissez les conditions de blocage des fax indésirables.
Sélectionnez Fax rejeté, puis activez les options suivantes selon votrechoix.
-
List des nombres refusés : rejette les fax provenant de la liste des numérios rejets.
Blanc en-tête télécopie bloqué: rejette les fax sans informations d'en-tête.
□ Contacts désenregistrés : rejette les fax qui ne proviennent pas des contacts.
-
Appuyez sur pour revenir à l'écran Fax rejeté.
- Si vous avez activé l'option List des numérores refusés, selectionnez Modifier liste numérores refusés, puis modifiez la liste selon vos besoin.
Réglage pour envoyer et receivevoir des fax sur un ordinateur
Pour envoyer et receivevoir des fax sur un ordinateur, FAX Utility doit être installé sur un ordinateur connecté au réseau ou par cable USB.
Réglage du paramètre Enreg. sur ordi pour receivevoir les fax
Vous pouze receivevoir les fax sur un ordinateur à l'aide de la fonction FAX Utility. Installez FAX Utility sur l'ordinateur et procédez au réglage. Pour plus d'informations, consultez la rubrique Opérations de base de l'aide de FAX Utility (fenêtre principale).
Le paramètre suivant est réglé sur Oui au niveau du panneau de commande de l'imprimante, et les fax reçus peuvent être enregistrés sur l'ordinateur.
Param. >Réglages généraux > Param. fax > Param. de réception > Sortie fax > Enreg. sur ordi
Régler le paramètre Enreg. sur ordi sur l'imprimante pour imprimer aussi à la réception de fax
Vou puez regler l'imprimante pour imprimer les fax reçus tout en les enregistrant sur un ordinateur.
- Sélectionnez Param. sur l'écran d'accueil du panneau de commande.
- Sélectionnez Réglages généraux > Param. fax > Param. de réception.
- Sélectionnez Sortie fax > Enreg. sur ordi > Oui et Imprimer.
Régler le paramètre Enreg. sur ordi pour ne pas receivevoir de fax
Pour que l'imprimante n'en registre pas les fax reçus sur l'ordinateur, modifiez ce paramètre sur l'imprimante.
Remarque:
Voupez eaglement modifier les parametes à l'aide de FAX Utility. Toutefois, s'il existe des fax qui nont pas ete enregistrres sur l'ordinateur, cette fonctionnalite ne sera pas disponible.
- Sélectionnéz Param. sur l'écran d'accueil du panneau de commande.
- Sélectionnéz Réglages généraux > Param. fax > Param. de réception.
- Sélectionnéz Sortie fax > Enreg. sur ordi > Non.
L'enregistrement d'une liste de contacts vous permet de saisir des destinataires plus facilement. Vous pouvez enregistré jusqu'à 100 entrées, et vous pouvez utiliser la liste de contacts lorsqu'elles saississez un numéro de fax.
- Sélectionnéz Fax à l'écran d'accueil.
- Sélectionnez Contacts.
- Procedez de l'une des manieres suivantes.
Pour enregistrer un nouveau contact, selectionnez Ajout entrée, puis selectionnez Ajouter contact.
Pour modifier un contact, selectionnez > sur le contact cible et selectionnez Modifier.
Pour supprimer un contact, selectionnez > sur le contact cible, selectionnez Supprimer, puis selectionnez Oui. Vous n'avez pas à effectuer les procédures suivantes.
- Définisse les paramètres nécessaires.
Remarque:
Lorsque vous entrez un numero de fax, saisissez un code d'accès externe au début du numero de fax si vous système téléphonique est de type PBX et que vous avez besoin d'un code d'accès pour obtenir une ligne externe. Si le code d'accès a été définis dans le paramètre Type de ligne, saisissez un dièse (#) au lieu du code d'accès. Pour ajouter une pause (pause de trois secondes) pendant la numérotation, saisissez un tiret (-).
- Sélectionnez OK.
L'ajout de contacts à un groupe vous permet d'envoyer un fax à plusieurs destinataires simultanément.
- Sélectionnéz Fax à l'écran d'accueil.
-
Sélectionnéz Contacts.
-
Procedez de l'une des manieres suivantes.
Pour enregistrer de nouveaux contacts groupés, Sélectionnez Ajout entrée, puis Sélectionnez Ajouter groupe.
Pour modifier des contacts groupés, Sélectionnez > sur les contacts groupés cibles et Sélectionnez Modifier.
Pour supprimer des contacts groupés, Sélectionnez > sur les contacts groupés cibles, Sélectionnez Supprimer, puis Sélectionnez Oui. Vous n'avez pas à effectuer les procédures suivantes.
- Saisissez ou modifiez Nom du groupe (Requis) et Mot d'index, puis selectionnez Contacts ajoutés au Groupe (requis).
- Sélectionné les contacts que vous pouze enregistrer dans le groupe, puis appuyez sur Fermer.
Remarque:
Vous pouvez enregistrer jusqu'à 99 contacts.
Pour désélectionner un contact, appuyez à nouveau.
- Sélectionnez OK.
Grace a Web Config, you pouze creer une liste de contacts sur voite ordinateur et l'importer dans l'imprimante.
- Accédez à Web Config.
- Cliquez sur Log in, saisissez le mot de passer, puis cliquez sur OK.
- Sélectionnéz Contacts.
- Sélectionné le numéro à enregistrer, puis cliquez sur Edit.
- Saisissez Name, Index Word, Fax Number et Fax Speed.
- Cliquez sur Apply.
« Application de configuration des opérations de l'imprimante (Web Config) » à la page 217
Éléments de configuration de la destination
| Éléments | Paramètres et explication |
| Name | Saisissez un nom d'utilisateur à afficher dans les contacts en Unicode (UTF-8) et en moins de 30 caractères. Laissez le champ vide si vous ne poulez pas en spécifique. |
| Index Word | Saisissez des mots à rechercher en Unicode (UTF-8) et en moins de 30 caractères. Laissez le champ vide si vous ne poulez pas en spécifique. |
| Type | Cet élément est régé sur Fax. Vous ne pouvez pas modifier ce paramètre. |
| Assign to Frequent Use | Cet élément n'est pas pris en charge. |
| Fax Number | Saisissez entre 1 et 64 caractères en utilisant 0–9 - * # et l'espace. |
| Fax Speed | Sélectionnez une vitesse de communication pour une destination. |
Enregistrement des destinations en tant que groupe
- Accédez à Web Config.
- Cliquez sur Log in, saisissez le mot de passer, puis cliquez sur OK.
- Sélectionnez Contacts.
- Sélectionnez le numéro à enregistrer, puis cliquez sur Edit.
- Saisissez le Name et l'Index Word.
- Sélectionnez un groupe dans Type.
- Cliquez sur Select pour Contact(s) for Group. Les destinations disponibles s'affichent.
- Sélectionnez les destinations que vous pouze enregistrer dans le groupe, puis cliquez sur Select. Remarque: Les destinations peuvent etre enregistrées dans plusieurs groupes.
- Cliquez sur Apply.
« Application de configuration des opérations de l'imprimante (Web Config) » à la page 217
Présentation des fonctions de télécopie de cette imprimante
Fonction : envoi de fax
Méthodes d'envoi
Envoi automatique
Lorsque vous numérisz un original en appuyant sur (Envoyer), l'imprimante compose le numéro du destinataire et envoie le fax.
« Envoi de fax à l'aide de l'imprimante » à la page 84
Envoi manuel
Lorsque you effectuez un contrôle manuel de la connexion téléphonique en composant le numero du destinataire, appuyez sur (Envoyer) pour commencer à envoyer directement un fax.
« Envoi de fax via la numérotation sur un périphérique téléphonique externe » à la page 86
Désignation du destinataire lors de l'envoi d'un fax
You pouvez saisir les destinataires, à l'aide de Clavier, Contacts, et de Récent.
« Désinatitaire » à la page 92
« Mise à disposition des contacts » à la page 79
Param. de numéro. lors de l'envoi d'un fax
Vou puez selectionner des options telles que Resolution ou Taille initiale (Vitre) lors de I'envoi de teleropies.
«Param.de numér.:» à la page 92
Utilisation de Rég. envoi fax lors de l'envoi d'un fax
Voues pouvez utiliser Reg. envoi fax tels que Envoi direct (pour envoyer un document volumineux de manière stable) ou Envoi différé fax (pour envoyer un fax à l'heure spécifique).
« Rég. envoi fax : » à la page 93
Fonction: Réception de fax
Mode réception
Le Mode réception propose deux options pour receivevoir les fax entrants.
Manuel
Principalement pour téléphoner, mais aussi pour envoyer et receivevoir des fax
« Utilisation du mode Manuel » à la page 89
Auto
- Seulement pour envoyer et receivevoir des fax (aucun téléphone externe nécessaire)
- Principalement pour envoyer et receivevoir des fax, mais aussi pour téléphoner
« Utilisation du mode Auto » à la page 89
Réception de fax en utilisant un téléphone connecté
You pouze receivevoir des fax en utilisant uniquement un combiné téléphonique externe.
«Paramdebase»àla page 226
«Réglage des paramètres lors de la connexion d'un combiné téléphonique » à la page 76
Destination des télécopies reçues
□ Les fax reçus sont imprimés par défaut. Vous pouvez paramétrer les destinations des fax reçus vers la boîte de réception. Si vous les enregistrez dans la boîte de réception, vous pouvez en vérifier le contenu à l'écran.

« Sortie fax » à la page 229
« Options de menus pour Boîte de réception » à la page 95
« Affichage des fax reçus enregistrés dans l'imprimante sur l'écran LCD » à la page 91
Fonction : PC-FAX envoi/reception (Windows/Mac OS)
Envoi PC-FAX
Vous pouvez envoyer des fax depuis un ordinateur.
« Application de configuration et d'envoi de télécopies (FAX Utility) » à la page 216
« Envoi d'un fax à partir d'un ordinateur » à la page 97
Réception PC-FAX
Vous pouvez receivevoir les fax sur un ordinateur.
« Réglage pour envoyer et receivevoir des fax sur un ordinateur » à la page 78
« Application de configuration et d'envoi de télécopies (FAX Utility) » à la page 216
« Réception de fax sur un ordinateur » à la page 101
Fonctions : Différents rapportés de fax
Vou puez vérifier le statut des fax envoyés et reçus dans un rapport.

« Paramètres de rapportes » à la page 232
« Rég. envoi fax : » à la page 93
« Journal de transmission : » à la page 94
« Rapport de fax : » à la page 94
Fonction : sécurité lors de l'envoi et de la réception de fax
Vous pouvez utiliser de nombreuses fonctions de sécurité telles que Restrictions de numérotation directe afin d'éviter d'envoyer un fax à une destination incorrecte, ou Effac auto donn. sauveg pour prévenir toute perte d'information. Vous pouvez définir un mot de passer pour la boîte de réception dans l'imprimante.
«Param.de sécurité» à la page 232
« Enreg. dans boîte de réception : » à la page 229
Fonctions : autres fonctions utiles
Blocage des fax indésirables
You pouvez rejoeter les fax non désirés.
« Fax rejeté : » à la page 228
Réception de fax après la numérotation
Après avoir effectué la numérisation vers un autre apparéil de fax, vous pouvez receivevoir des documents depuis cet apparéil de fax.
« Réception de fax à l'aide d'un appel téléphonique » à la page 90
« Réception vote : » à la page 94
Envoi de fax à l'aide de l'imprimante
Voues pouez envoyer des fax en saississant les numeros des destinataires à l'aide du panneau de commande de l'imprimante.
Remarque:
Lors de I'envoi de fax en monochrome, you pouze prévisualiser l'imag numérisée sur l'ecran LCD avant I'envoi.
- Placez les documents originaux.
Vou puez envoyer jusqu'à 100 pages en une seule transmission. Toutefois, selon la quantité de mémoire restante, vous ne pourrez peut-être pas envoyer de fax, même s'ils font moins de 100 pages.
« Positionnement des originaux » à la page 32
- Sélectionnez Fax sur le panneau de commande de l'imprimante.
- Indiquez le destinataire.
« Sélection des destinataires » à la page 85
- Sélectionnéz l'onglet Param.fax, puis configurez les paramètres nécessaires.
- Appuyez sur dans l'onglet Destinataire pour envoyer le fax.
Remarque:
Si le numero de fax est occupé ou en cas de problème, l'imprimante recompose automatiquement le numero après une minute.
Pour annulera lenvoi, appuyez sur
Lenvoi d'un fax en couleurs demande plus de temps car l'imprimante effectue la numérisation en même temps que l'envoi. Vous ne pouvez pas utiliser les autres fonctionnalités pendant que l'imprimante envoie un fax en couleurs.
Sélection des destinataires
Vous pouvez spécifique les destinataires sur l'onglet Destinataire pour envoyer le fax en utilisant les méthodes suivantes.
Saisie manuelle du numéro de fax
Sélectionnez Clavier, saisissez un numéro de fax à l'écran affché, puis sélectionnéz OK.
- Pour ajouter une pause (pause de trois secondes pendant la numérotation), saisissez un tiret (-).
- Si vous avez defini un code d'accès externe dans Type de ligne, saisissez le caractère # (dièse) au lieu du code d'accès externe réel au début du numéro de fax.
Remarque:
Si vous ne pouvez pas saisir manuellement un numero de fax, Restrictions de numérotation directe dans Param. de sécurité est défini sur On. Sélectionnez les destinataires de fax dans la liste des contacts ou dans l'histoire des fax envoyés.
Sélectionnez Contacts, sélectionnez les destinataires à qui vous voulez envoyer, puis Sélectionnez Fermer. Si le destinataire n'a pas été enregistré dans les Contacts, sélectionnez Ajout entraue pour le faire.
Sélectionnez les destinataires à partir de l'histoire des télécopies envoyées
Selectionnez Récent, puis selectionné un destinataire.
Remarque:
Pour effacer les destinataires que vous avons entrés, affichez la liste des destinataires en appuyant sur le champ qui affiche un numero de fax ou le nombre de destinataires sur l'écran LCD, Sélectionnez le destinataire dans la liste, puis Sélectionnez Retirer.
« Mise à disposition des contacts » à la page 79
Diverses manières d'envoyer des fax
Envoi d'un fax après avoir vérifié l'image numérique
Vous pouvez prévisUALiser l'image numérique sur l'écran LCD avant l'envoi du fax. (Fax en noir et blanc uniquement)
- Placez les documents originaux.
« Positionnement des originaux » à la page 32
- Sélectionnéz Fax à l'écran d'accueil.
- Indiquez le destinataire.
« Sélection des destinataires » à la page 85
- Sélectionné z'longlet Param.fax, puis configurez les paramètres nécessaires.
- Sélectionnez Aperçu dans l'onglet Destinataire pour numériser, puis vérifie l'image numérique du document.





rmet de déplacer l'écran dans le sens des flèches.


:permet de réduire ou d'agrandir.


:permét d'afficher la page précédente ou la page suivante.
Remarque:
Lorsque Envoi direct est activé, vous ne pouvez pas prévisualiser.
Si you ne touche pas à l'écran de prévisualisation pendant le délambda configuré dans Param. >Réglages généraux >Param.fax>Param.d'envoi>Heure d'affichage de l'aperçu fax, le fax est automatiquement envoyé.
La qualite d'image d'un fax envoye peut etre differente de celle de la previsualisation selon les capacités de la machine du destinataires.
- Sélectionnéz Début d'envoi. Sinon, Sélectionnéz Annuler
Remarque:
La qualité d'image d'un fax envoyé peut être différente de celle de la prévisualisation selon les capacités de la machine du destinataire.
Envoi de fax via la numérotation sur un périphérique téléphonique externe
Vou puez envoyer un fax en numerotant via le téléphone connecté lorsque vous souhaitez parler au téléphone avant d'envoyer un fax, ou lorsque le télécopieur du destinataire ne passe pas automatiquement en mode fax.
- Décrochez le combiné du téléphone connecté puis numérotez le numéro de fax du destinataire à l'aide du téléphone.
Remarque:
Lorsque le destinataire répond au téléphone, vous pouvez lui parler.
- Sélectionnéz Fax à l'écran d'accueil.
- Effectuez les réglages nécessaires sur Param. fax.
<Param.fax a la page 92
- Lorsque vous entendez une tonalité de fax, appuyez sur , puis raccrochez le combiné.
Remarque:
Lorsqu'un numero est composé à l'aide du téléphone connecté, l'envoi d'un fax demande plus de temps car l'imprimante effectue la numérisation en même temps que l'envoi. Vous ne pouvez pas utiliser les autres fonctionnalités lors de l'envoi du fax.
Envoi de documents de tailles différentes à l'aide de l'ADF (Numérisation continue (ADF))
Envoyez des fax en plaçant les originaux un par un. Vous pouvez les envoyer sous la forme d'un document à leur format d'origine en plaçant les originaux par format.
Si vous disposez des originaux de tailles différentes dans l'ADF, tous les originaux sont envoyés à la taille du plus grand d'entre eux. Pour envoyer des originaux à leur taille d'origine, ne placez pas d'originaux de tailles différentes.
- Placez le premier lot d'originaux au même format.
- Sélectionnéz Fax à l'écran d'accueil.
- Indiquez le destinataire.
« Sélection des destinataires » à la page 85
- Sélectionnéz l'onglet Param. fax, puis sur Numérisation continue (ADF) afin détabrir ce paramètre à On.
Voupez egalement definir les parametes tels que la resolution et la methode d'envoi selon vos besoins.
- Appuyez sur (Envoyer) au niveau de l'onglet Destinataire.
- Lorsque vous avez terminé de numériser un premier lot d'originaux et qu'un message vous invitant à numériser le lot d'originaux suivant s'affiche sur le panneau de commande, Sélectionnez Oui, positionné les originaux suivants et sélectionné Démarrer la numérisation.
Remarque:
Si vous n'utilise pas l'imprimante pendant le début défini dans Param. > Régles généraux > Param. fax > Param. d'envoi > Temps d'attente pr prochain origin après avoir ete invite a dispose les originaux suivants, l'imprimante interrompt le stockage et lance l'envoi du document.
Envoi de plusieurs pages d'un document monochrome (Envoi direct)
Lors de l'envoi d'un fax monochrome, le document numérique est stocké temporairement dans la mémoire de l'imprimante. De ce fait, l'envoi de plusieurs pages peut saturer la mémoire de l'imprimante et interrompre l'envoi de fax. Vous pouvez éviter ce problème en activant la fonctionnalité Envoi direct. Toutefois, l'envoi du fax demande plus de temps car l'imprimante effectue la numérisation en même temps que l'envoi. Vous pouvez utiliser cette fonctionnalité pour un seul destinataire.
Yououpouze trover le menu sur le panneau de commande de l'imprimante, ci-dessous.
Fax > Param. fax Envoi direct.
Envoi de télécopies en noir et blanc à une heures spécifique du jour (Envoi différé fax)
Vou puez parameter l'envoi d'un fax à un moment donné. Seuls les fax monochromes peuvent etre programmes pour etre envoyés a un moment donne.
- Sélectionnéz Fax à l'écran d'accueil.
- Indiquez le destinataires. « Sélection des destinataires » à la page 85
- Sélectionnéz l'onglet Param. fax, puis selectionnéz Envoi différé fax.
- Sélectionné le champ Envoi différé fax pour définir ce paramètre à On.
- Sélectionnéz le champ Heure, définissez l'heure à laquelle vous souhaitez envoyer le fax, puis sélectionnéz OK.
- Sélectionnez OK pour appliquer les paramètres.
Vous peuvent également définir les paramètres tels que la résolution et la méthode d'envoi selon vos besoins.
- Envoi d'un fax.
Remarque:
Vous devez attendre que le fax soit envoyé à l'heure indiquée avant de pouvoir envoyer d'autres fax. Si vous pouze envoyer un autre fax, vous devez d'abord annuler le fax planifié en selectionnant Fax sur l'écran d'accueil et en le supprimant.
Réception de fax sur l'imprimante
Si l'imprimante est connectee à la ligne téléphonique et que les paramètres de base ont été définis dans l'Assistant param fax, vous pouvez receivevoir des fax.
Voupez enregister les fax reus, les verifier sur l'ecran de l'imprimante et les imprimer au besoin.
Les fax reçus sont imprimés selon les paramètres initiaux de l'imprimante.

Si vous souhaitez vérifier le statut des paramètres de fax, imprimez une Liste param fax en Sélectionnant Fax > (Plus) > Rapport de fax > Liste param fax.
Réception de fax entrants
Mode réception possède deux options.
« Utilisation du mode Manuel » à la page 89
« Utilisation du mode Auto » à la page 89
Utilisation du mode Manuel
Ce mode est principalement concu pour les appels téléphoniques. Il fonctionne toute fois égarlement pour le fax.
Réception de fax
Lorsque le téléphone sonne, vous pouvez répondre manuellement à la sonnerie en décrochant le combiné.
Lorsque vous entendez un signal de télécopie (baud) :
Sélectionnez Fax à l'écran d'accueil de l'imprimante, Sélectionnez Envoyer/ Recevoir > Réception, puis appuyez sur ◆. Raccrochez ensuite le combiné.
Si la sonnerie est pour un appel vocal :
You pouvez répondre au téléphone normalement.
Réception de fax en utilisant uniquement le téléphone connecté
Lorsque l'option Réception à distance est activée, vous pouvez receivevoir des fax en saississant simplement le Code de démarr.
Lorsque le téléphone sonne, décrochez le combiné. Lorsque vous entendez une tonalité de fax (baud), numérotez les deux chiffres du Code de démarr, puis raccrochez le combiné.
« Réception à distance : » à la page 227
Utilisation du mode Auto
Ce mode vous permet d'utiliser la ligne pour les utilisations suivantes.
- Utilisation de la ligne uniquement pour le fax (un téléphone externe n'est pas nécessaire)
- Utilisation majoritaire de la ligne pour le fax, et minoritaire pour le téléphone
Réception de fax sans périphérique téléphonique externe
L'imprimante bascule automatiquement en mode de réception de fax lorsqu'el nombre de sonneries définis dans Sonneries avant réponse est atteint.
Réception de fax avec périphérique téléphonique externe
Une imprimante avec un périhérique téléphonique externe fonctionne comme suit.
Lorsque le répondeur répond dans le nombre de sonneries définis dans Sonneries avant réponse :
- Si la sonnerie retentit pour un fax, l'imprimante bascule automatiquement sur la réception de fax.
- Si la sonnerie retentit pour un appel vocal, le répondeur peut receivevoir des appels vocaux et enregistrer des messages vocaux.
Lorsque you decrochez le combiné dans le nombre de sonneries défini dans Sonneries avant réponse :
- Si la sonnerie retentit pour un fax : restez en ligne jusqu'à ce que l'imprimante commence automatiquement à receivevoir le fax en affichtant Connexion sur le panneau de commande de l'imprimante. Une fois que l'imprimante commence à receivevoir le fax, vous pouvez raccrocher le combiné. Pour commencer à receivevoir le fax immédiatement, procédez de la même manière que pour l'option Manuel. Sélectionnez Fax sur le panneau de commande de l'imprimante, puis Sélectionnez Envoyer/ Recevoir > Réception. Appuyez ensuite sur ◇, puis raccrochez le combiné.
- Si la sonnerie retentit pour un appel vocal, vous pouvez répondre au téléphone normalement.
Lorsque la sonnerie s'arrête de retentir et l'imprimante bascule automatiquement sur la reception de fax :
- Si la sonnerie retentit pour un fax : l'imprimante commence à receivevoir des fax.
- Si la sonnerie retentit pour un appel vocal, vous ne pouvez pas répondre au téléphone. Demandez à la personne de vous rappeler.
Remarque:
Définisse le nombre de sonneries à la suite desquelles le répondeur doit répondre à un nombre inférieur au nombre défini dans Sonneries avant réponse. Sinon le répondeur ne peut pas receivevoir d'appels vocaux pour enregistrer des messages vocaux. Pour plus d'information sur la configuration du répondeur, consultez le manuel fourni avec le répondeur.
Réception de fax à l'aide d'un appel téléphonique
Vou puez recevoir un fax stocké sur un autre télécopieur en composant le numero de télécopieur.
Réception de fax par invitation (Réception vote)
Vouss pouvez receivevoir un fax stocké sur un autre télécopieur en composant le numéro de télécopieur. Utilisez cette fonctionnalité pour receivevoir un document à partir d'un service d'information par fax. Cependant, si le service d'information par télécopie dispose d'une fonctionnalité d'instructions audio que vous nevez suivre pour receiveoir un document, vous ne pouvez pas utiliser cette fonctionnalité.
Remarque:
Pour receivevoir un document à partir d'un service d'information par télécopie avec guidage audio, il vous suffit de composer le numero du télécopieur utilisant le téléphone connecté et d'utiliser le téléphone et l'imprimante conformément aux instructions audio.
- Sélectionnéz Fax à l'écran d'accueil.
- Appuyez sur (Plus).
- Appuyez sur Réception vote pour définit ceci sur On, puis appuyez sur Fermer.
- Entrez le numero de fax.
« Sélection des destinataires » à la page 85
Remarque:
Lorsque Param. de sécurité dans Restrictions de numérotation directe est définir sur On, vous pouvez selectionner uniquement les destinataires de fax a partir de la liste de contacts ou de l'histoire des fax envoyés. Vous ne pouvez pas saisir de numero de fax manuellement.
- Appuyez sur pour démarrer Réception vote.
Affichage des fax reçus enregistrés dans l'imprimante sur l'écran LCD
Si vous avez configuré l'enregistrement des fax reçus dans l'imprimante, vous pouvez en visualiser le contenu et les imprimer, si nécessaire.
« Définir les paramètres de sorte d'enregistrer les fax reçus » à la page 77
- Appuyez sur à l'écran d'accueil.
Remarque:
Lorsque des fax reçus non lus sont présents, le nombre de documents non lus s'affiche sur l'icone du mode fax sur l'icone de l'écran d'accueil.

- Appuyez sur Ouvr Boîte de réception/confid. (XX n'a pas lu).
- Si la boîte de réception est protégée par mot de passer, saisissez le mot de passer de la boîte de réception.
- Sélectionnez dans la liste le fax que vous souhaitez afficher.
Le contenu du fax s'affiche.
:permet de déplacer l'écran dans le sens des flèches.
:permet de réduire ou d'agrandir.
:permet de faire pivoter l'imagede 90 degrés vers la droite.
:permetd'afficher la page precedente ou la page suivante.
- Pour cacher les icones de commande, appuyez n'importe où sur l'écran de prévisualisation (mais pas sur les icones). Appuyez à nouveau pour afficher les icones.
- Choisissez d'imprimer ou de supprimer les documents que vous avez consultés, puis suivez les instructions affichées à l'écran.

Important:
Si l'imprimante manque de mémoire, la réception et l'envoi de fax sont désactivés. Supprimez les documents que vous avez déjà lus ou imprimés.
Destinataire
Selectionnez les menus sur le panneau de commande comme indiqué ci-dessous.
Fax > Destinataire
Clavier :
Saisissez manuellement un numero de télécopieur.
Contacts :
Selectionnez un destinataires dans la liste des contacts. Vous pouvez également ajouter ou modifier un contact.
Récent:
Sélectionnez un destinataire à partir de l'histoire des télécopies envoyées. Vous pouvez également ajouter le destinataire à la liste de contacts.
→ « Sélection des destinataires » à la page 85
Param.fax
Sélectionnez les menus sur le panneau de commande comme indiqué ci-dessous.
Fax > Param.fax
Param. de numér.:
Résolution :
Sélectionnez la résolution du fax à envoyer. Si vous sélectionnez une résolution supérieure, la taille des données augmente et l'envoi du fax prend du temps.
Densité :
Permet de définir la densité du fax à envoyer. + augmente la densité (plus nombre) et - la diminuè (plus clair).
Supprimer arrriere-plan :
Permet de détecter la couleur du papier (couleur de l'arrière-plan) du document original et de supprimer ou déclarcir la couleur. Selon la luminosité et la vivacité de la couleur, il est possible qu'elle ne puisse être supprimée ou éclaircie
Netteté:
Permet d'optimiser ou de passer au flou les contours de l'image. + augmente la nettete, - la diminue.
Numérisation continue (ADF):
Envoyez des fax en plaçant les originaux un par un. Vous pouvez les envoyer sous la forme d'un document à leur format d'origine en plaçant les originaux par format. Consultez les informations connexes sur ce sujet ci-dessous.
Taille initiale (Vitre) :
Selectionnez la taille et l'orientation de l'original que vous avez placé sur le titre du scanner.
Mode coul :
Permet d'indiquer s'il faut numériser en couleur ou en noir et blanc.
Rég.envoi fax:
Envoi direct :
Envoie un fax monochrome pendant la numérisation des originaux. Dans la mesure où les originaux numériés ne sont pas stockés temporairement dans la mémoire de l'imprimante, même lorsque vous envoyez un important volume de pages, vous pouvez éviter les erreurs d'imprimante engendrées par un manque de mémoire. Notez que l'envoi via cette fonctionnalité prend plus de temps que de ne pas l'utiliser. Consultez les informations connexes sur ce sujet ci-dessous.
Vous ne pouvez pas utiliser cette fonction lors de l'envoi d'une télécopie à plusieurs destinataires.
Envoi différé fax :
Permet d'envoyer le fax à une heures que vous avez définie. Seule un fax monochrome est disponible avec cette option. Consultez les informations connexes sur ce sujet ci-dessous.
Ajouterinfos d'expéditeur :
Ajouterinfosd'expéditeur:
Selectionnez la position où vous pouze faire apparaître les informations d'en-tête (nom et numéro de fax de l'émetteur) dans le faxSORTANT, ouchoisissez de ne pas faire apparaitre ces informations.
Arrêt: envoie une télécopie sans informations d'en-tête.
A l'extérieur de l'image: envoie un fax avec des informations d'en-tête dans la marge vide en haut de la télécopie. Cela empêche l'en-tête de recouvrir l'image numérique, mais le fax reçu par le destinataire risque de s'imprimer sur deux pages, selon la taille des originaux.
À l'intérieur de l'image : envoie un fax avec des informations d'en-tête se trouvant environ 7mm sous le haut de l'image numérique. L'en-tête risque de chevaucher l'image, mais le fax reçu par le destinataire ne sera pas divisé en deux documents.
En-tête télécopie :
Sélectionné l'en-tête pour le destinataire. Pour utiliser cette fonction, vousdez avoirAAParavant enregistré plusieurs en-têtes.
Informations supplémentaires:
Sélectionnez les informations que vous souhaitez ajouter. Vous pouvez en sélectionner dans Notre num de phone et Liste de destination.
Rapp. Transmiss.:
Imprime un rapport de transmission après l'envoi d'un fax.
Imprimer sur erreur imprime un rapport uniquement en cas d'erreur.
Lorsque l'option Joindre l'image au rapport est paramétrée dans Param. > Réglages généraux > Param. fax > Paramétres de rapport, les fax comptant des erreurs sont également imprimés avec le rapport.
Eff tout param.:
Permet de restaurer tous les paramètres dans Param. de numéro. et Rég. envoi fax aux valeurs par défaut.
« Envoi de documents de tailles différentes à l'aide de l'ADF (Numérisation continue (ADF)) » à la page 87
→ « Envoi de plusieurs pages d'un document monochrome (Envoi direct) » à la page 87
→ « Envoi de télécopies en noir et blanc à une heures spécifique du jour (Envoi différé fax) » à la page 88
Plus
Selectionner dans Fax sur lécran d'accueil affiche le menu Plus.
Journal de transmission :
You pouvez vérifier l'historique des tâches de fax envoyés ou reçus.
Rapport de fax :
Dernière transmission :
Imprime un rapport pour le dernier fax envoyé ou reçu par invitation à émettre.
Journal fax :
Imprime un rapport de transmission. Vous pouvez définir les paramètres de manière à imprimer automatiquement ce rapport à l'aide du menu suivant.
Param. > Réglages généraux > Param. fax > Paramètres de rapport > Impr auto journal fax
Listeparamfax:
Imprime les paramètres actuelsment définis pour le fax.
Trace protocole :
Permet d'imprimer un rapport détaillé pour le dernier fax envoyé ou reçu.
Réception vote :
Si cela est défini sur On et que vous appelez le numéro de fax de l'expéditeur, vous pouvez receivevoir des documents du télécopieur de l'expéditeur. Consultez les informations connexes ci-dessous pour plus de détails sur la réception de fax à l'aide de Réception vote.
Lorsque you quittez le menu Fax, le paramètre est redéfini sur Arrêt (par défaut).
Boîte de réception :
Accede à (Boîte de réception) sur l'écran d'accueil.
Réimprimez le fax reçu :
Réimprime les fax reçus dans l'imprimante.
Param.fax:
Accede à Param. >Réglages généraux >Param.fax.
« Réception de fax par invitation (Réception vote) » à la page 90

Appuyez sur cette icône pour acceder à votre boîte de réception où sont conservés les fax reçus. Lorsque des fax reçus non lus sont prênts, le nombre de documents non lus s'affiche sur l'icône du mode fax sur l'icône
« Définir les paramètres de sorte d'enregistrer les fax reçus » à la page 77
Ouvr Boîte de réception/confid. (XX n'a pas lu)

Menu boîte de réc.)
Param.
Enreg. dans boîte de réception :
Enregistre les fax reçus dans l'Boîte de réception de l'imprimante. Vous pouvez enregistrer jusqu'à 100 documents. Notez qu'il peut ne pas être possible d'enregistrer 100 documents en fonction des conditions d'utilisation, par exemple la taille de filchier des documents enregistrés et l'utilisation de plusieurs fonctionnalités d'enregistrement de fax à la fois.
Bien que les télécopies reçues ne soient pas imprimées automatiquement, vous pouvez les afficher sur l'écran de l'imprimante et imprimer uniquement celles dont vous avez besoin.
Options si mémoire pleine :
Vousepuze selectionner d'imprimer le fax requ ou refuser de le receivevoir lorsque la memoire de I'Boite de reception est pleine.
Rég MdPassé de Bte récep :
Le mot de passer empêche les utilisateurs de voir les télécopies reçues dans l'Boîte de réception. Sélectionnez Changer pour modifier le mot de passer, et Sélectionnez Réinitialiser pour annuler la protection par mot de passer. Lors de la modification ou de la réinitialisation du mot de passer, le mot de passer actuel est requis.
Vous ne pouvez pas définir de mot de passer quand Options si mémoire pleine a été définis sur Recevoir et imprimer les fax.
Imprimer tout :
La sélection de cette option supprime tous les fax reçus dans la boîte de réception.
Supprimer tout :
La seLECTION de cette option supprimer tous les fax reçus dans la boîte de réception.
Boîte de réception (Liste)
Vou pouve enregistrer jusqu'à 100 documents dans la boîte de réception au total.
écran d'aperçu
:permet de réduire ou d'agrandir.
:permet de faire pivoter l'imagede 90 degrés vers la droite.
: permet de déplacer l'écran dans le sens des flèches.
:permetd'afficher la page precedente ou la page suivante.
Pour cacher les icones de commande, appuyez n'importe ou sur l'écran de prévisualisation (mais pas sur les icones). Appuyez à nouveau pour afficher les icones.
Supprimer:
Supprime le document que vous prévisualisez.
Continuer à imprimer :
Imprime le document que vous prévisualliez. Vous pouze effectuer des réglages tels que Rec/Ver avant de commencer l'impression.

Detalls:
Affiche les informations pour le document sélectionné tel que la date et l'heure de sauvégarde, et le nombre total de pages.
Utilisation des autres fonctionnalités de fax
Impression manuelle d'un rapport de fax
- Sélectionnéz Fax à l'écran d'accueil.
- Appuyez sur (Plus).
- Sélectionnez Rapport de fax.
- Sélectionné le rapport que vous souhaitez imprimer, puis suivez les instructions affichées à l'écran.
Remarque:
Voupez modifier le format du rapport. A partir de l'ecran d'accueil, selectionnez Param. > Réglages généraux > Param. fax > Paramétres de rapport, puis modifie les paramétres Joindre l'image au rapport ou Format rapport.
Envoi d'un fax à partir d'un ordinateur
You pouvez envoyer des fax à partir de l'ordinateur à l'aide du pilote FAX Utility et PC-FAX.
Remarque:
Vérifiez si le FAX Utility et le pilote de l'imprimante PC-FAX ont été installés avant d'utiliser cette fonction.
« Application de configuration et d'envoi de télécopies (FAX Utility) » à la page 216
« Application d'envoi de télécopies (pilote PC-FAX) » à la page 217
Si le FAX Utility n'est pas installé, installez le FAX Utility à l'aide de EPSON Software Updater (application pourmettre a jour le logiciel).
Envoi de documents créé à l'aide d'une application (Windows)
En selectionnant un télécopier dans le menu Imprimer d'une application comme Microsoft Word ou Excel, vous pouvez directement transmettre des données telles que des documents, schémas et tableaux que vous avez créé avec une page de garde.
Remarque:
L'explication qui suit prend l'exemple de Microsoft Word. L'opération à effectuer peut varier selon l'application utilisée. Pour plus d'informations, consultez la aide de l'application.
- Dans une application, créez un document à envoyer par fax.
- Cliquez sur Imprimer dans le menu Fichier.
La fenêtre Imprimer de l'application soudre.
- Sélectionnez XXXXX (FAX) (XXXXX étant le nom de votre imprimante) dans Imprimante et passez en revue les paramètre d'envoi de fax.
Indiquez 1 pour le Nombre de copies. Il est possible que la transmission du fax échoue si vous indiquez 2 ou plus.
Vous pouvez envoyer jusqu'à 100 pages au cours d'une meme transmission de fax.
- Cliquez sur Propriétés de l'imprimante ou Propriétés si vous voulez préciser Taille papier, Orientation, Couleur, Qualité image, ou Densité des caractères.
Pour plus d'informations, consultez l'aide du pilote PC-FAX.
- Cliquez sur Imprimer.
Remarque:
Lors de l'utilisation de FAX Utility, une fenêtre d'enregistrement des informations s'affiche. Saisissez les informations nécessaires, puis cliquez sur OK.
L'écran Paramètres du destinataire de FAX Utility s'affiche.
- Lorsque vous souhaitez envoyer d'autres documents au cours de la même transmission de fax, Sélectionnez la case à cocher Ajouter docs à envoyer.
L'écran pour ajouter des documents s'affiche lorsque vous cliquez sur Suivant à l'été 9.
-
Sélectionnéz la case à cocher Joindre une couverture si nécessaire.
-
Indiquez un destinataires.
Sélectionnez un destinataire (nom, numéro de fax, etc.) dans Répertoire PC-FAX: Suivez les étapes ci-dessus si le destinataire figure dans l'annuité téléphonique.
1 Cliquez sur longlet Répertoire PC-FAX.
Sélectionné le destinataire dans la liste et cliquez sur Ajouter.
□ Sélection d'un destinataire (nom, numéro de fax, etc.) depuis les contacts de l'imprimante : Suivez les étapes ci-dessous si le destinataire est enregistré dans les contacts de l'imprimante.
Cliquez sur longlet Contacts sur l'imprimante.
Sélectionné les contacts dans la liste et cliquez sur Ajouter pour acceder à la fenêtre Ajouter à Destinataire.
3 Sélectionnéz les contacts dans la liste affichée, puis cliquez sur Modifier.
Ajoutez les données personnelles, telles que Entreprise/gpe et Titre le cas échéant, puis cliquez sur OK pour revenir à la fenêtre Ajouter à Destinataire.
Le cas échéant, cochez Enregistrer dans le Répertoire PC-FAX pour enregistrer les contacts dans Répertoire PC-FAX.
Cliquez sur OK.
Indiquez un destinataire (nom, numero de fax, etc.) directement :
Réalizez les étapes ci-dessous.
Cliquez sur Ionglet Numérotation manuelle.
Saisissez les informations nécessaires.
3 Cliquez sur Ajouter.
De plus, cliquer sur Enreg. dans rep. vous permet d'enregistrer le destinataire de la liste sous l'onglet Répertoire PC-FAX.
Remarque:
Si le Type de ligne de votre imprimante est défini sur PBX et que le code d'accès utilise le caractère # (dièse) au lieu du préfixé exact, saisissez # (dièse). Pour plus d'informations, voir Type de ligne dans la rubrique Param de base à partir du lien d'informations connexes ci-dessous.
Si vous avez selectionné Saisissez le numero de fax deux fois dans les Paramétres optionnels de l'écran principal de FAX Utility, vous doivent pressoir le même numero lorsque vous cliquez sur Ajouter ou Suivant.
Le destinataires est ajouté à la Liste des destinataires affichée en haut de la fenêtre.
- Cliquez sur Suivant.
Lorsque you ave selectionne la case a cocher Ajouter docs a envoyer, suivez les etapes ci-dessous pour ajouter des documents dans la fenetre Fusion de documents.
Ouvrez un document que vous souhaitez ajouter, puis selectionné la même imprimante (nom du fax) dans la fenêtre Imprimer. Le document est ajouté à la liste Listes des documents à fusionner.
Cliquez sur Apercu pour vérifier le document fusionné.
Cliquez sur Suivant.
Remarque:
Les paramètres Qualité image et Couleur que vous avons sélectionnés pour le premier document s'appliquent aux autres documents.
Lorsque you've selectionne la case a cocher Joindre une couverture, specifiez le contenu de la page de garde dans la fenetre Parametes de la couverture.
1 Sélectionnez une page de garde dans la liste Couverture. Notez qu'aucune fonction ne permet de créé une page de garde originale ou d'en ajouter une à la liste.
Saisissez le Obj et le Message.
3 Cliquez sur Suivant.
Remarque:
Configurez les éléments suivants selon vos besoin dans Paramêtres de la couverture.
□ Cliquez sur Formatage couverture si vous poulez modifier l'ordre des éléments de la page de garde. Vous pouvez selectionner le format de la page de garde dans Taille papier. Vous pouze également selectionner une page de garde de taille différente de cette du document envoyé.
□ Cliquez sur Police si vous voulez modifier la police du texte de la page de garde.
□ Cliques sur Paramètres de l'expéditeur si vous pouze modifier les informations sur l'émetteur.
□ Cliquez sur Apercu detaillé si vous voulez contrôler la page de garde avec l'objet et le message que vous avez saisis.
- Vérifiez le content de l'envoi et cliquez sur Envoyer.
Avant de proceser à l'envoi, vérifie que le nom et le numero de fax sont corrects. Cliquez sur Aperçu pour afficher un aperçu de la page de garde et du document à envoyer.
Dès que l'envoi démarre, une fenêtre affiche l'état de la transmission.
Remarque:
Pour interrompre l'envoi, selectionnez les données et cliquez sur Annuler. Vous pouvez également annuler depuis le panneau de commande de l'imprimante.
Si une erreur se produit pendant la transmission, la fenetre Erreur de communication s'affiche. Consultez le texte de l'erreur et reconnencez l'envoi.
L'écran Moniteur d'etat du fax (mentionné ci-dessus, dans lequel vous pouvez vérifier l'état de l'envoi) ne s'affiche pas si Afficher le moniteur d'etat du fax lors de la transmission n'est pas sélectionné dans la fenêtre Paramétres optionnels de l'écran principal de FAX Utility.
«Paramdebase»àla page226
Envoi de documents créé à l'aide d'une application (Mac OS)
En selectionnant une imprimante dotée d'une fonction de fax dans le menu Imprimer d'une application du commerce, vous pouvez envoyer des données telles que documents, schémas et tableaux que vous avez créé.
Remarque:
L'explication qui suit prend l'exemple de Text Edit, une application standard de Mac OS.
- Creez le document à envoyer par fax.
- Cliquez sur Imprimer dans le menu Fichier.
La fenêtre Imprimer de l'application s'affiche.
- Sélectionnez votre imprimante (nom du télécopieur) dans Nom, cliquez sur pour afficher les paramètres détaillés, vérifiez les paramètres d'impression et cliquez sur OK.
- Définissez des paramètres pour chaque élément.
Indiquez 1 pour le Nombre de copies. Meme si vous indiquez 2 ou plus, une seule copie est envoyee.
Vous pouvez envoyer jusqu'à 100 pages au cours d'une meme transmission de fax.
Remarque:
Laaille des documents que vous pouvez envoyer correspond à celle que vous pouvez envoyer par fax depuis l'imprimante.
- Sélectionnéz Paramètres fax dans le menu contextuel puis procédéz à des réglages pour chaque élément.
Reportez-vous à l'aide du pilote de PC-FAX pour plus d'explications sur chaque élément de paramétrage.
Cliquez sur en bas à gauche de la fenêtre pour ouvrir l'aide du pilote de PC-FAX.
- Sélectionnez le menu Paramètres du destinataire, puis indiqué le destinataire.
Indiquez un destinataire (nom, numero de fax, etc.) directement :
Cliquez sur l'objet Ajouter, saisissez les informations nécessaires et cliquez sur + . Le destinataire est ajouté à la Liste des destinataires affichée en haut de la fenêtre.
Si vous avez sélectionné « Saisissez le numéro de fax deux fois » dans les paramètres du pilote PC-FAX, vous nevez dessaisir le même numéro lorsque vous cliquez sur +
Si vous ligne de fax exige un code de préfixe, saisissez Préfixe d'accès externe.
Remarque:
Si le Type de ligne de votre imprimante est défini sur PBX et que le code d'accès utilise le caractère # (dièse) au lieu du préfixé exact, saisissez # (dièse). Pour plus d'informations, voir Type de ligne dans la rubrique Param de base à partir du lien d'informations connexes ci-dessous.
□ Sélection d'un destinataire (nom, numéro de fax, etc.) depuis l'annuaire téléphonique :
Si le destinataire figure dans l'annuaire téléphonique, cliquez sur. Selectionnez le destinataire dans la liste puis cliquez sur Ajouter >OK
Si vous ligne de fax exige un code de préfixe, saississez Préfixe d'accès externe.
Remarque:
Si le Type de ligne de votre imprimante est défini sur PBX et que le code d'accès utilise le caractère # (dièse) au lieu du préfixé exact, saisissez # (dièse). Pour plus d'informations, voir Type de ligne dans la rubrique Param de base à partir du lien d'informations connexes ci-dessous.
- Vérifiez les paramètres du destinataire, puis cliquez sur Faxer.
I'envoi commence.
Avant de procesder à l'envoi, vérifie que le nom et le numero de fax sont corrects.
Remarque:
Si vous cliquez sur l'icone de l'imprimante dans Dock, l'écran de vérification de l'état de l'envoi s'affiche. Pour interrompree I'envoi, cliquez sur les données puis sur Supprimer.
Si une erreur se produit pendant la transmission, le message Échec de la transmission s'affiche. Vérifiez l'enregistrement de transmission dans l'écran Registre de transmission fax.
Il est possible que les documents de taille différente ne soient pas envoyés correctement.
«Paramdebase»àla page226
Réception de fax sur un ordinateur
Vous pouze receiveoir les fax sur une imprimante et les enregistrer au format PDF sur un ordinateur qui y est connecté. Utilisez l'FAX Utility (application) pour effectuer ce réglage.
Pour en savoir plus concernant l'utilisation de l'FAX Utility, reportez-vous aux Opérations de base de l'aide de l'FAX Utility (fenêtre principale). Si l'écran de saisie du mot de passer s'affiche sur l'écran de l'ordinateur pendant que vous définisse les paramètres, saisissez le mot de passer. Si vous ne connaissiez pas le mot de passer, contactez votre administrateur.
Remarque:
Vérifiez si le FAX Utility et le pilote de l'imprimante PC-FAX ont été installés et si les paramètres de l'FAX Utility ont été régles avant d'utiliser cette fonction.
« Application de configuration et d'envoi de télécopies (FAX Utility) » à la page 216
« Application d'envoi de télécopies (pilote PC-FAX) » à la page 217
Si FAX Utility n'est pas installé, installez l'FAX Utility à l'aide d'EPSON Software Updater (application pourmettre a jour le logiciel).

Important:
Pour receivevoir des fax sur un ordinateur, le paramètre Mode réception du panneau de commande de l'imprimante doit être régé sur Auto. Contactez votre administrateur pour obtenir plus d'informations sur l'état des paramètres de l'imprimante. Pour effectuer les réglages depuis le panneau de commande de l'imprimante, sélectionnez Param. >Réglages généraux >Param. fax >Param de base >Mode réception.
L'ordinaireur devant receivevoir les fax doit toujours être allumé. Les documents reçus sont temporairement enregistrés dans la mémoire de l'imprimante avant d'être enregistrés sur l'ordinateur. Si vous éteignez l'ordinateur, la mémoire de l'imprimante peut arriver à saturation du fait qu'elle ne peut pas envoyer les documents à l'ordinateur.
Le nombre de documents temporairement enregistrés dans la mémoire de l'imprimante est indiqué sur le du panneau de commande de l'imprimante.
Pour dire les fax reçus, vous doivent installer un lecteur de PDF tel qu'Adobe Reader sur l'ordinateur.
Vérification de nouvelles télécopies (Windows)
En paramétrant un ordinateur de manière à enregistrer les télécopies reçues par l'imprimante, vous pouvez connaître l'état du traitement des télécopies et savoir s'il y a de nouvelles télécopies en utilisant l'icone de télécopie de la barre de tâches Windows. En paramétrant l'ordinateur de façon à afficher une notification lorsque de nouvelles télécopies arrivent, une fenêtre s'ouvre pres de la zone d'état Windows et vous pouvez les afficher.
Remarque:
Les données des télécopies reçues enregistrées sur l'ordinateur sont supprimées de la mémoire de l'imprimante.
Pour afficher les télécopies reçues, vous avez besoin de Adobe Reader car elles sont enregistrées au format PDF.
Utilisation de l'icone de fax de la barre de tâches (Windows)
Vou puez verifier la presence de nouveaux fax ou le statut de l'opération par le biais de I'icone de fax affichee dans la barre de taches Windows.
- Consultez l'icone.

: veille.

: verification de nouveaux fax.

: l'importation de nouveaux fax est terminée.
- Cliquez avec le bouton croit de la souris sur l'icone, puis cliquez sur Voir l'Historique des fax reçus.
L'écran Historique des fax reçus s'affiche.
- Vérifiez la date et l'émetteur dans la liste, puis ouvre le fichier reçu en tant que PDF.
Remarque:
□ Les fax reçus sont automatiquement renommés au format suivant.
YYYYMMDDHHMMSS_xxxxxxxxxxx_nnnnn (année/mois/jour/minute/numéro second_émetteur)
Vous pouvez également ouvrir le dossier du fax reçu directement lorsque vous faites un clic droit sur l'icone. Pour plus d'informations, voir Paramètres optionnels dans FAX Utility et sa rubrique d'aide (affichée dans la fenêtre principale).
Lorsque l'icone de fax indique un état de veille, vous pouvez voir instantanément s'il y a de nouveaux fax en selectionnant Vérifiez les nouveaux fax maintainant.
Utilisation de la fenêtre Notification (Windows)
Lorsque you demandez a receiveoir une notification pour chaque nouveau fax, une fenetre de notification apparait pres de la barre de tache de chaque fax.
- Consultez l'écran de notification affché sur l'écran de votre ordinateur.
Remarque:
L'écran de notification disparait lorsqu'aucune opération n'est effectué pendant une durée prédéfinie. Vous pouvez modifier des paramètres de notification tels que l'heure d'affichage.
- Cliquez n'importe où dans l'écran de notification sauf sur le bouton
L'écran Historique des fax reçus s'affiche.
- Vérifiez la date et l'émetteur dans la liste, puis ouvre le filchier reçu en tant que PDF.
Remarque:
□ Les fax reçus sont automatiquement renommés au format suivant.
YYYYMMDDHHMMSS_xxxxxxxxxxx_nnnnnn (année/mois/jour/minute/nétro second_émètteur)
Vous pouvez également ouvrir le dossier du fax reçu directement lorsque vous faites un clic droit sur l'icone. Pour plus d'informations, voir Paramètres optionnels dans FAX Utility et sa rubrique d'aide (affichée dans la fenêtre principale).
Vérification de nouvelles télécopies (Mac OS)
Vou puez verifier si de nouvelles teleropies sont arrivées en utilisant l'une des méthodes suivantes. Disponceable uniquely sur les ordinateurs paramétrés sur "Enregister" (enregister les fax sur cet ordinateur).
Ouivre le dossier des télécopies reçues (indiquédans Paramètres de sortie des fax reçus)
Ouivre le Moniteur de réception de fax et cliquez sur Vérifiez les nouveaux fax maintainant.
□ Notification d'arrivée de nouvelles télécopies
Sélectionnez l'M'informer des nouveaux fax via une icône du Dock dans Moniteur de réception de fax > Préférences du FAX Utility. L'icône de surveillance de la réception de télécopies s'affiche pour vous avertir de l'arrivée de nouvelles télécopies.
Ouverture du dossier des fax reçus depuis la surveillance de fax reçus (Mac OS)
Vousepuvez ouvr le dossier d'enregistrement depuis l'ordinateur configuRe pour receivevoir les fax lorsque youselectionnee "Enregistrer" (enregistrre les fax sur cet ordinateur).
- Cliquez sur l'icone de surveillance des fax reçus sur le Dock pour ouvrir Moniteur de réception de fax.
-
Sélectionnéz l'imprimante et cliquez sur Ouvrir le dossier, ou double-cliquez sur le nom de l'imprimante.
-
Consultez la date et l'émetteur dans le nom du fichier puis ouvre le fichier PDF.
Remarque:
Les fax reçus sont automatiquement renommés au format suivant.
YYYYMMDDHHMMSS_xxxxxxxxxxx_nnnnn (année/mois/jour/minute/nétro second_émètteur)
Les informations envoyées par l'émetteur apparaissent sous la forme du numéro d'émetteur. Il est possible que ce paramètre ne s'affiche pas selon l'émetteur.
Annulation de la fonctionnalité servant à enregistrer les fax entrants sur l'ordinateur
Vou puez annuler l'enregistrement des fax sur l'ordinateur à l'aide de FAX Utility.
Pour plus d'informations, consultez la rubrique Opérations de base de l'aide de FAX Utility (fenêtre principale).
Remarque:
Si certains fax nont pas ete enregistrres sur l'ordinateur, il vous sera impossible dannuler la fonctionnant servant a enregistrer les fax sur l'ordinateur.
Vou puez egelement modifier les parametes sur l'imprimante. Contactez voire administrateur pour plus d'informations sur l'annulation des parametes servant a enregister les fax entrants sur l'ordinateur.
« Régler le paramètre Enreg. sur ordi pour ne pas receivevoir de fax » à la page 79
Entretien de l'imprimante
Vérification de l'etat des consommables. 106
Résolution des problèmes d'entrainment du papier. 106
Amélioration de la qualité d'impression, de copie, de numérisation, et de télécopie. . 108
Nettoyage de l'imprimante. 119
Vérification de l'etat des consommables
Vous pouvez consulter les niveaux d'encre approximatifs et la durée de vie approximative du boîtier de maintenance depuis le panneau de commande de l'imprimante. Sélectionnez à l'écran d'accueil.
Remarque:
Voupeq ealemt er les niveaux approximatifs d'cre et la durée de vie approximative du boitier de maintenance a partir de l'ecran de statut sur le pilote de l'imprimante.
Windows
Cliquez sur EPSON Status Monitor 3 au niveau de l'onglet Utilitaire.
Si EPSON Status Monitor 3 est désacté, cliquez sur Paramètres étendus dans l'onglet Utilitaire, puis sélectionné Activer EPSON Status Monitor 3.
Mac OS
Menu Apple > Préférences système > Imprimantes & Scanners (ou Imprimer & Scan, Imprimer & Fax) > Epson(XXXX) > Options & Fournitures > Utilitaire > Ouvrir l'utilitaire d'impression > EPSON Status Monitor
Vousspuvezcontinueràimprimer,meme silemessage de niveaud'encrefaibleestaffiché.Remplacezlescartouches d'encrelorsqueçaesta necessaire.
« Poursuivre temporairement l'impression sans replacer les cartouches d'encre » à la page 196
« Poursuivre l'impression pour préserver l'encre noire (Windows uniquement) » à la page 198
« Le moment est venu de replacer les cartouches d'encre » à la page 193
« Le moment est venu de replacer le boitant de maintenance » à la page 199
Résolution des problèmes d'entrainment du papier
Si le papier n'est pas correctement entrainé depuis le bac papier, nettoyez l'intérieur du rouleau.
- Mettez l'imprimante hors tension en appuyant sur la touche .
- Débranchez le cordon d'alimentation de la prise, puis de l'imprimante.
-
Débranchez les cables s'ils sont connectés.
-
Retirez le bac papier.

- Mettez l'imprimanteABOUTavecla touche du panneau de commande vers le haut.


Attention:
Veillez à ne pas vous coincer la main ou les doigs lorsque vous mettez l'imprimantebout. Vous risqueriez de vous bleisser.

Important:
Ne laisses pas l'imprimantebout pendant longtemps.
- Humectez un chiffon, essorez-le soigneusement puis essuyez le rouleau en le faisant tourner avec le chiffon.

- Remettez l'imprimante dans sa position habituelle puis inserez le bac papier.
- Connectez le cordon d'alimentation.
Amélioration de la qualité d'impression, de copie, de numérisation, et de télécopie
Vérification et nettoyage de la tête d'impression
Si les buses sont obstruées, les impressions deviennent pâles, des bandes sont visibles ou des couleurs inattendues apparaisent. Si les buses sont très obstruées, la page imprimée est blanche. Lorsque la qualité d'impression diminue, utilisez d'abord la fonction de vérification des buses pour vérifier si ces dernières sont obstruées. Si les buses sont obstruées, nettoyez la tête d'impression.

Important:
Nouvre pas le scanner et ne mettez pas l'imprimante hors tension pendant le nettoyage de la tete d'impression. Si le nettoyage de la tete d'impression est incomplet, vous risquez de ne pas pouvoir imprimer.
Le nettoyage de la tete consomme de l'encre et ne doit être réalisé que lorsqu'il est nécessaire.
Si le niveau d'encre est faible, il est possible que vous ne puissiez pas nettoyer la tete d'impression.
Si la qualité d'impression ne s'est pas améliorée après avoir vérifié les buses et nettoyé la tête 3 fois, attendez au moins 12 heures avant de lancer une impression, executez à nouveau le test de verification des buses, et repêze à nouveau un nettoyage de la tête si nécessaire. Nous vous recommendons déteindre l'imprimante à l'aide de la touche. Si la qualité d'impression ne s'améliore pas, procédez à un Nettoyage auto.
Pour éviter que la tête d'impression ne s'est, ne débranche pas l'imprimante lorsqu'elle est allumée.
Vou puez verifier et nettoyer la tete d'impression en utilisant le panneau de commande de l'imprimante.
- Sélectionnez Entretien sur le panneau de commande de l'imprimante.
- Sélectionnez Tête d'impr Vérification des buses.
-
Suivez les instructions à l'écran pour charger du papier et imprimer le motif de vérification des buses.
-
Examinez le motif imprimé pour vérifier que les buses de la tete d'impression ne sont pas obstruées.

A) OK

B) NG

C) NG
□A:
Toutes les lignes sont imprimées. Sélectionnez. Aucune autre étape n'est nécessaire.
B ou similaire à B
Certaines buses sont obstruées. Sélectionnez, puis Nettoyez tête impr à l'écran suivant.
C ou similaire à C
Si la plupart des lignes sont absentes ou non imprimées, la plupart des buses sont bouchées. Sélectionnez
X, puis Nettoyage auto à l'écran suivant.
- Suivez les instructions à l'écran pour procéder à un nettoyage de la tête d'impression ou Nettoyage auto.
- Une fois le nettoyage terminé, le motif de vérification des buses est imprimé automatiquement. Répétez le nettoyage et l'impression du motif jusqu'à ce que toutes les lignes s'impriment correctement.

Important:
Si la qualité d'impression ne s'est pas améliorée après avoir vérifié les buses et nettoyé la tête 3 fois, attendez au moins 12 heures avant de lancer une impression, exécutez à nouveau le test de verification des buses, et repêtz à nouveau un nettoyage de la tête si nécessaire. Nous vous recommendons déteindre l'imprimante à laide de la touche
. Si la qualité d'impression ne s'améliore pas, procédez à un Nettoyage auto.
Remarque:
Vou puez également vérifier et nettoyer la tete d'impression depuis le pilote d'imprimante.
Windows
Cliquez sur Tete d'impr Vérification des buses au niveau de l'onglet Utilitaire.
Mac OS
Menu Apple > Préférences système > Imprimantes et scanners (ou Impression et numérisation, Impression et télécopie) > Epson(XXXX) > Options et consommables > Utilitaire > Ouvrir l'utilitaire de l'imprimante > Tête d'impr Vérification des buses
« Exécution de Nettoyage auto » à la page 110
Exécution de Nettoyage auto
La fonction Nettoyage auto peut améliorer la qualité d'impression dans les cas suivants.
Lorsque la plupart des buses sont bouchées.
Lorsque vous avez proceded a une verification des buses et a un nettoyage de la tete 3 fois, puis attendu au moins 12 heures sans imprimer, mais la qualite d'impression ne s'est always pas ameliorée.
Avant d'exécuter cette fonction, utilisez la fonction de vérification des buses pour vérifier si les buses sont obstruées, lisez les instructions suivantes, puis executez Nettoyage auto.

Important:
Le Nettoyage auto consomme plus d'encre que le nettoyage de la tete d'impression.
- Sélectionnéz Entretien sur le panneau de commande de l'imprimante.
- Sélectionnez Nettoyage auto.
- Suivez les instructions qui s'affichent à l'écran pour exécuter un Nettoyage auto.
- Une fois cet utiliser exécuté, lancez l'utilitaire de vérification des buses afin de s'assurer qu'elle ne sont pas obstruées.
Pour en savoir plus sur la procédure de vérification des buses, consultez le lien Informations complémentaires ci-dessous.

Important:
Si la qualité d'impression ne s'est pas améliorée après avoir procédé à un Nettoyage auto, patientez au moins 12 heures sans procédé à aucune impression, puis imprimez à nouveau le motif de vérification des buses. Procedez à un Nettoyage tête d'impr. ou un Nettoyage auto selon le motif imprimé. Si la qualité d'impression ne s'est toujours pas améliorée, contactez l'assistance Epson.
Remarque:
Vous pouze également effectuer un nettoyage approfondi depuis le pilote de l'imprimante.
Windows
Onglet Utilitaire >Nettoyage tete d'impr. >Nettoyage auto
Mac OS
Menu Apple > Préférences système > Imprimantes et scanners (ou Impression et numérisation, Impression et télécopie) > Epson(XXXX) > Options et consommables > Utilitaire > Ouvrir l'utilitaire de l'imprimante > Nettoyage tête d'impr. > Nettoyage puissant
« Vérification et nettoyage de la tête d'impression » à la page 108
Prévention de l'obstruction des buses
Utilisez systématiquement le bouton d'alimentation pour allumer et éteindre l'imprimante.
Vérifiez que levoyant d'alimentation est éteint avant de débrancher le cordon d'alimentation.
L'encre elle-même peut secher si elle n'est pas couverte. Assurez-vous que la tete d'impression est bien capuchonnée pour éviter le séchage de l'encre, de la même manière que vous capuchonneriez un stylo-plume ou un style à huile.
Lorsque le cordon d'alimentation est débranché ou qu'une coupure de courant se produit durant le fonctionnement de l'imprimante, il se peut que la tete d'impression ne soit pas correctement capuchonnée. Si la tete d'impression est laissée telle qu'elle, elle séchera et engendrera une obstruction des buses (sorties d'encre).
Dans ce cas, rallumez et eteignez l'imprimante des que possible pour capuchonner la tete d'impression.
Alignement de la tête d'impression
Si you constatez un désalignement des lignes verticales ou des images flues, alignez la tete d'impression.
- Sélectionnéz Entretien sur le panneau de commande de l'imprimante.
- Sélectionnéz Alignment de la tête.
- Sélectionnéz l'un des menus d'alignement.
Si les lignes verticales semblent mal alignées ou si vos impressions semblant flues : sélectionnez Alignmentement vertical.
Les bandes horizontales se produit a intervalles reguliers : selectionnez Alignment horizontal.
- Suivez les instructions affichées à l'écran.
Nettoyage du trajet du papier en cas de traces d'encre
Si les impressions sont tachées ou rayées, nettoyez le rouleau à l'intérieur.
- Sélectionnéz Entretien sur le panneau de commande de l'imprimante.
- Sélectionnéz Nettoyage guide papier.
- Suivez les instructions à l'écran pour charger du papier et nettoyer le trajet du papier.
-
Répétez cette procédure jusqu'à ce que le papier ne soit plus taché d'encre.
-
Lorsque le problème persiste après avoir nettoyé le trajet du papier, la partie illustrée située à l'intérieur de l'imprimante est tachée. Éteignez l'imprimante, puis essuyez l'encre à l'aide d'un coton-tige.


Important:
Nutilisez pas de mouchoir en papier pour nettoyer l'intérieur de l'imprimante. Il est possible que les buses de la tete d'impression soient obstruées par de la poussière.
Ne touche pas aux parties indiquées dans l'illustration ci-dessous. Faute de quoi vous risquez de provoquer un dysfonctionnement.

Nettoyage de la Vitre du scanner
Si les copies ou les images numériées sont tachées, nettoyez la vitre du scanner.

Attention:
Veillez à ne pas coincer vos mains ou vos doigs lors de l'ouverture ou de la fermeture du couvercle de document.
Vous risqueriez de vous blesser.

Important:
Ne nettoyez jamais l'imprimante avec de l'alcool ou des diluants. Ces produits chimiques peuvent endommager l'imprimante.
- Ouvrez le capot de documents.

- Nettoyez la surface de la vitre du scanner à l'aide d'un chiffon doux, sec et propre.

Important:
Si la surface de la vitre est tachée avec de la graisse ou autre substance difficile à oter, retirez la tache à l'aide d'une faible quantité de produit nettoyant pour les vitres et d'un chiffon doux. Essuyez l'excedent de liquide.
Nappuyez pas trop fort sur la surface de la vitre.
Veillez à ne pas rayer ou endommager la surface de la vitre. Si la surface de la vitre est endommagée, la qualité de numérisation risque de baisser.
Nettoyage du chargeur automatique de documents
Si les images copiees ou numerisées depuis le chargeur automatique de documents sont tachées ou si les documents originaux ne sont pas entrainés correctement dans le chargeur, nettoyez le chargeur.

Important:
Ne nettoyez jamais l'imprimante avec de l'alcool ou des diluants. Ces produits chimiques peuvent endommager l'imprimante.
- Ouvrez le capot du chargeur automatique de documents.

- Nettoyez le rouleau et l'intérieur du chargeur à l'aide d'un chiffon doux et humide.


Important:
L'utilisation d'un chiffon sec risque d'endommager la surface du rouleau. Attendez que le rouleau soit sec avant d'utiliser le chargeur.
- Rabattez le capot du chargeur automatique de documents, puis ouvre le capot de document.

- Nettoyez la partie indiquée sur l'illustration.


Important:
Si la surface vitrée presente des traces de graisse ou autre substance difficile à enlever, retirez la tache à l'aide d'une petite quantité de produit nettoyant pour vitres et d'un chiffon doux. Essuyez le excédent de liquide.
Nappuyez pas trop fort sur la surface vitrée.
Veillez à ne pas rayer ou endommager la surface vitrée. Si la surface vitrée est endommagée, la qualité de numérisation risque de baisser.
- Si le problème ne peut pas etre résolu, eteignez l'imprimante en appuyant sur la touche , ouvre le capot du chargeur automatique de documents, puis soulevez le bac d'alimentation du chargeur.

- Nettoyez la partie indiquée sur l'illustration.

Nettoyage du film translucide
Si l'impression ne s'améliore pas après avoir aligné la tête d'impression ou nettoyé le trajet du papier, cela peut signifier que le film translucide à l'intérieur de l'imprimante est taché.
Élement requis :
Cotons-tiges
Eau avec quelques gouttes de détergent (2 à 3 gouttes de détergent dans 1/4 tasse d'eau du robinet)
Lumière pour vérifier les taches

Important:
N'utilisez que de l'eau avec quelques gouttes de détergent comme liquide de nettoyage.
- Mettez l'imprimante hors tension en appuyant sur la touche .
-
Refermez le capot de documents s'il est ouvert.
-
Soulevez le module scanner avec vos deux mains jusqu'à ce qu'il se bloque.

- Vérifiez si le film translucide est taché. Les taches seront plus facies à repérer si vous utilisez une lampe torche. S'il y a des taches (telles que des marques de doigs ou deGRAisse) sur le film translucide (A), passez à l'etape suivante.

A : film transluicide
B: rail

Important:
Faites attention de ne pas toucher le rail (B). Vous pourriez ne plus etre en mesure d'imprimer. Ne nettoyez pas laGRAisse du rail,car elle est indispensable au bon fonctionnement.
- Humidifiez un coton-tige avec de l'eau mélangée à quelques gouttes de détergent de sorte que l'eau ne s'écoule pas, puis essuyez la partie tachée.
Faites attention à ne pas toucher l'encre qui se trouve à l'intérieur de l'imprimante.


Important:
Essuyez doucement la tache. Si vous appuyez trop fort avec le coton-tige, les ressorts du film peuvent se disloquer et l'imprimante peut être endommagée.
- Utilisez un nouveau coton-tige sec pour essayer le film.

Important:
Ne laissez aucune fibre sur le film.
Remarque:
Pour éviter d'étaler la tache, remplacez féquèment le coton-tige usagé.
- Répétez les étapes 5 et 6 jusqu'à ce que le film ne soit plus taché.
- Vérifiez visuellement que le film n'est pas taché.
- Fermez le scanner.

Remarque:
Le scanner est concu pour se refermer lentement et opposer une légere résistance afin d'eviter de blesser vos doigts.
Continuez à le referrer malgré la légere résistance.
Nettoyage de l'imprimante
Si les composants et le boitier sont sales ou poussiéreux, éteignez l'imprimante et nettoyez-les à l'aide d'un chiffon propre et deux humidifié avec de l'eau. Si vous ne parvenez pas à éliminer la saleté, essayez d'ajouter une petite quantité de détergent doux au chiffon humide.


Important:
Veillez à ne pas faire rentrer d'eau dans le mécanisme de l'imprimante ni sur ses composants électriques. Cela risquerais d'endommager l'imprimante.
- Ne nettoyez jamais les composants ou le capot de l'imprimante avec de l'alcool ou des diluants. Ces produits chimiques peuvent les endommager.
Ne touchez pas les pieces indiquées sur l'illustration suivante. Faute de quoi vous risquez de provoquer un dysfonctionnement.

Dans ces situations
Lors du remplacement d'un ordinateur. 121
Economies d'energie. 121
Désactiver notre connexion Wi-Fi. 121
Installation separée des applications. 122
Reconfiguration de la connexion réseau. 125
Connexion directe d'un périhérique intelligent et l'imprimante (Wi-Fi Direct). 135
Ajouter ou modifier la connexion de l'imprimante. 138
Transport et stockage de l'imprimante. 141
Lors du remplacement d'un ordinateur
Voudevez installer le pilote d'impression et d'autres logiciels sur le nouvel ordinateur.
Accédez au site Web suivant, puis saisissez le nom du produit. Accédez à Installation, puis démarrez la configuration. Suivez les instructions affichées à l'écran.
https://epson-sn
Économies d'énergie
Le mode de veille de l'imprimante est activé ou l'imprimante est automatiquement désactivée si aucune opération n'est effectuee pendant une période donnée. Vous pouvez regler la durée avant application de la fonction de gestion de I'energie. Toute augmentation affertera le rendement energetique du produit. Prenez en compte l'environnement avant d'apporter une modification.
Selon le lieu d'achat, l'imprimante peut disposer d'une fonction qui l'est automatique si elle n'est pas connectee au réseau pendant 30 minutes.
- Sélectionnéz Param. à l'écran d'accueil.
- Sélectionnez Réglages généraux > Param de base.
- Procedez de l'une des manieres suivantes.
Remarque:
Votre produit peut dispose de la fonction Reglages d'arrêt ou Temporisation arrêt selon le lieu d'achat.
□ Sélectionnez Minut. veille, Réglages d'arrêt > Arrêt si inactif ou Arrêt si déconnecté, puis définissez les paramètres.
□ Sélectionnez Minut. veille ou Temporisation arrêt, puis définissez les paramètres.
Déactivé votre connexion Wi-Fi
Si vous utilisiez souvent le Wi-Fi (réseau local sans fil) mais que vous n'en avez plus besoin en raison d'un changement de mode de connexion, etc., vous pouvez désactiver votre connexion Wi-Fi.
En déconnectant les signaux Wi-Fi inutiles, vous pouvez également réduire la charge sur votre alimentation de secours.
- Appuyez sur dans l'écran d'accueil de l'imprimante.
- Sélectionnéz Wi-Fi (Recommendé).
- Sélectionnéz Modifier les param..
-
Sélectionnez Autres.
-
Sélectionnéz Désactiver le Wi-Fi.
Suivez les instructions affichées à l'écran.
Installation séparée des applications
Connectez votre ordinateur au réseau et installez la derniere version des applications depuis le site Web. Connectez-vous à votre ordinateur comme administrateur. Saisissez le mot de passer d'administrateur si l'ordinateur vous y invite.
Remarque:
Si vous réinstallez une application, vous devez d'abord la désinstaller.
- Vérifiez que l'imprimante et l'ordinateur sont en mesure de communiquer et que l'imprimante est connectée à Internet.
- Lancez l'application Epson Software Updater.
La capture décran est un exemple sur Windows.

- Pour Windows, Sélectionnez votre imprimante, puis cliquez sur pour vérifier les dernières applications disponibles.
- Sélectionnez les éléments que vous souhaitez installer oumettre à jour, puis cliquez sur le bouton d'installation.

Important:
N'eteignez et ne débranchez pas l'imprimante tant que la mise à jour n'est pas terminée. Vous risqueriez de perturber le fonctionnement de l'imprimante.
Remarque:
- Vous pouvez télécharger les applications les plus récentes depuis le site Web Epson. http://www.epson.com
Sous Windows Server, vous ne pouvez pas utiliser Epson Software Updater. Téchéargez les applications les plus récentes depuis le site Web Epson.
« Application pourmettre à jour leslogiciels et micrologiciels (Epson Software Updater) » à la page 218
Vérifier qu'un pilote d'imprimante Epson authenticate est installé — Windows
Vou puez verifier si un pilote d'imprimante Epson authentique est installe sur voire ordinateur en utilisant l'une des methodes suivantes.
Sélectionnez Panneau de commande > Afficher les périphériques et imprimantes (Imprimantes, Imprimantes et télécopieurs), puis procédez comme suit pour ouvrir la fenêtre des propriétés du serveur d'impression.
Windows 11/Windows 10/Windows 8.1/Windows 8/Windows 7/Windows Server 2022/Windows Server 2019/ Windows Server 2016/Windows Server 2012 R2/Windows Server 2012/Windows Server 2008 R2 Clique sur l'icone de l'imprimante, puis clique sur Propriétés du serveur d'impression en haut de la fenêtre.

Windows Vista/Windows Server 2008
Faites un clic droit sur le dossier Imprimantes, puis cliquez sur Executer en tant qu'administrateur > Propriétés du serveur.
Windows XP/Windows Server 2003 R2/Windows Server 2003
Dans le menu Fichier, selectionnez Propriétés du serveur.
Cliquez sur l'onglet Pilotes. Si le nom de votre imprimante est affiché dans la liste, un pilote d'imprimante Epson authenticate est installé sur votre ordinateur.

« Installation séparée des applications » à la page 122
Vérifier qu'un pilote d'imprimante Epson authenticate est installé — Mac OS
Vou puez verifier si un pilote d'imprimante Epson authentique est installe sur voire ordinateur en utilisant l'une des methodes suivantes.
Sélectionnez Préférences Système dans le menu Apple > Imprimantes et scanners (ou Impression et numérisation, Impression et télécopie), puis sélectionné l'imprimante. Cliquez sur Options et fournitures. Si les
onglets Options et Utilitaire sont affichés dans la fenêtre, un pilote d'imprimante Epson authenticate est installé sur votre ordinateur.

« Installation séparée des applications » à la page 122
Reconfiguration de la connexion réseau
Le réseau de l'imprimante doit être configuré dans les cas suivants.
Lors de l'utilisation d'une imprimante avec une connexion réseau
Lorsquevoirenvironnementréseauachangé
Lors du remplacement du routeur sans fil
Lors de la modification de la méthode de connexion à l'ordinateur
Réglages pour connexion à l'ordinateur
Vouspouvez executer le programme d'installation enutilisant l'une des méthodes suivantes.
Configuration à partir du site Web
Accédez au site Web suivant, puis saisissez le nom du produit. Accédez à Installation, puis démarrez la configuration.
https://epson-sn
Voupuez eaglement regarder la procedure dans les Manuels de film Web. Accedez au site web suivant.
https://support.epson.net/publist/vlink.php?code=NPD6870
Configuration à l'aide du disque du logiciel
Si vous imprimante est livrée avec un disque du logiciel et que vous utilisez un ordinateur Windows avec un lecteur de disque, insérez le disque dans l'ordinateur, puis suivez les instructions à l'écran.
Réglages pour connexion à un périphérique intelligent
Vous peuvent utiliser l'imprimante via le routeur sans fil depuis votre périphérique intelligent lorsque vous connectez l'imprimante au même réseau que le routeur sans fil.
Pour configurer une nouvelle connexion, accededez au site Web suivant à partir du périphérique intelligent que vous souhaitez connecter à l'imprimante. Saisissez le nom du produit, accededez à Installation, puis démarrez la configuration.
https://epson-sn
Vos pouvez regarder la procEDURE dans les Manuels de film Web. Accedez au site web suivant.
https://support.epson.net/publist/vlink.php?code=VC00006
Remarque:
Si vous avez déjà configuré la connexion entre votre périhérique intelligent et l'imprimante mais que vous devez la reconfigurer, vous pouvez le faire à partir d'une application telle que Epson Smart Panel.
Définition des paramètres Wi-Fi depuis le panneau de commande
Si vous n'utilise pas d'ordinateur ou de périphérique intelligent pour configurer la connexion de l'imprimante, vous pouvez le faire sur le panneau de commande.
Voussouvez definir les parametes reseau a partir du panneau de commande de l'imprimante, et ce de differentes facons. Choisissez la methode de connexion correspondant a l'environnement et aux conditions que vous utilisez.
Si vous connaissiez le SSID et le mot de passer de votre routeur sans fil, vous pouvez les définir manuellement.
→ « Définissez les paramètres Wi-Fi en saisissant le SSID et le mot de passer » à la page 126
→ « Réglage des paramètres Wi-Fi par pression sur une touche (WPS) » à la page 127
→ « Réglage des paramètres Wi-Fi par code PIN (WPS) » à la page 128
Définissez les paramètres Wi-Fi en saisissant leSSID et le mot de passé
Vouss pouvez configurer un réseau Wi-Fi en saisissant manuellement les informations nécessaires à la connexion à un point d'accès à partir du panneau de commande de l'imprimante. Pour procéder à la configuration à l'aide de cette méthode, vous doivent disposer du SSID et du mot de passer du routeur sans fil.
Remarque:
Si vous utilisez un routeur sans fil dont les parametes par défaut nont pas ete modifiés, le SSID et le mot de passage figurent sur l'etiquette. Si vous ne connaissez pas le SSID et le mot de passage, consultez la documentation fournie avec le routeur sans fil.

- Appuyez sur à l'écran d'accueil.
- Sélectionnez Wi-Fi (Recommendé).
Si l'imprimante a déjà esté connectée par Ethernet, Sélectionnez Routeur.
- Appuyez sur Commencer la configuration.
Si la connexion réseau est déjà définie, les informations de connexion s'affichent. Appuyez sur Modifier les param. pour modifier les paramétres.
Si l'imprimante a déjà été connectée par Ethernet, appuyez sur Passez en connexion Wi-Fi., puis sélectionnez Oui après avoir vérifié le message.
- Sélectionnez Assistant de configuration Wi-Fi.
- Suivez les instructions à l'écran pour sélectionner le SSID, saisissez le mot de passer pour le routeur sans fil, et démarrez la configuration.
Si vous souhaitez vérifier le statut de connexion réseau pour l'imprimante après que la configuration est terminée, voir le lien d'informations liées ci-dessous pour plus d'informations.
Remarque:
Si vous ne connaissiez pas le SSID, déterminez s'il figure sur l'étiquette du routeur sans fil. Si vous utilisez un routeur sans fil dont les paramètres par défaut nont pas été modifiés, le SSID à utiliser figure sur l'étiquette. Si vous ne trouvez aucune information, consultez la documentation fournie avec le routeur sans fil.
Le mot de passage est sensible à la casse.
Si vous ne connaissiez pas le mot de passer, déterminez s'il figure sur l'étiquette du point d'accès. Sur l'étiquette, le mot de passer peut être écrit « Network Key», « Wireless Password », etc. Si vous utilisez un routeur sans fil dont les paramètres par défaut nont pas été modifiés, le mot de passer à utiliser figure sur l'étiquette.
« Vérification du statut de connexion du réseau de l'imprimante (rapport de connexion réseau) » à la page 129
Réglage des paramètres Wi-Fi par pression sur une touche (WPS)
Vouss pouvez configurer automatiquement un réseau Wi-Fi en appuyant sur une touche au niveau du routeur sans fil. Vous pouze proceder à la configuration de cette manière si les conditions suivantes sont remplies.
Le routeur sans fil prend en charge WPS (Wi-Fi Protected Setup).
Lactuelle connexion Wi-Fi a ete etablie en appuyant sur une touche au niveau du routeur sans fil.
Remarque:
Si vous ne parvenez pas à couver la touche ou si vous procédez à la configuration à l'aide du logiciel, reportez-vous à la documentation fournie avec le routeur sans fil.
- Appuyez sur à l'écran d'accueil.
- Sélectionnéz Wi-Fi (Recommende).
Si l'imprimante a déjà esté connectée par Ethernet, Sélectionnez Routeur.
- Appuyez sur Commencer la configuration.
Si la connexion réseau est déjà définie, les informations de connexion s'affichent. Appuyez sur Modifier les param. pour modifier les paramétres.
Si l'imprimante a déjà esté connectée par Ethernet, appuyez sur Passez en connexion Wi-Fi., puis sélectionnez Oui après avoir vérifié le message.
-
Sélectionnéz Config. boutons poussoirs (WPS).
-
Suivez les instructions affichées à l'écran.
Si vous souhaitez vérifier le statut de connexion réseau pour l'imprimante après que la configuration est terminée, voir le lien d'informations liées ci-dessous pour plus d'informations.
Remarque:
En cas d'échec de la connexion, redémarrez le routeur sans fil, rapprochez-le de l'imprimante et réessayez. Si cela ne fonctionne toujours pas, imprimez un rapport de connexion réseau et consultez la solution préconisée.
« Vérification du statut de connexion du réseau de l'imprimante (rapport de connexion réseau) » à la page 129
Réglage des paramètres Wi-Fi par code PIN (WPS)
Vous pouvez automatiquement vous connecter à un routeur sans fil en utilisant un code PIN. Vous pouvez utiliser cette méthode de configuration si un routeur sans fil prend en charge WPS (Wi-Fi Protected Setup). Utilisez un ordinateur pour saisir un code PIN au niveau du routeur sans fil.
-
Appuyez sur à l'écran d'accueil.
-
Sélectionnez Wi-Fi (Recommendé).
Si l'imprimante a déjà esté connectée par Ethernet, selectionnez Routeur.
- Appuyez sur Commencer la configuration.
Si la connexion réseau est déjà définie, les informations de connexion s'affichent. Appuyez sur Modifier les param. pour modifier les paramétres.
Si l'imprimante a déjà esté connectée par Ethernet, appuyez sur Passez en connexion Wi-Fi., puis sélectionnez Oui après avoir vérifié le message.
-
Sélectionnéz Autres > Config. code PIN (WPS).
-
Suivez les instructions affichées à l'écran.
Si vous souhaitez vérifier le statut de connexion réseau pour l'imprimante après que la configuration est terminée, voir le lien d'informations liées ci-dessous pour plus d'informations.
Remarque:
Reportez-vous à la documentation fournie avec votre routeur sans fil pour plus de détails concernant la saisie du code PIN.
« Vérification du statut de connexion du réseau de l'imprimante (rapport de connexion réseau) » à la page 129
Vérification du statut de connexion du réseau de l'imprimante (rapport de connexion réseau)
Vouss pouez imprimer un rapport de connexion reseau pour contrcler l'etat de la connexion entre l'imprimante et le routeur sans fil.
- Sélectionnéz Param. dans l'écran d'accueil.
- Sélectionnez Réglages généraux > Paramètres réseau > Vérification de la connexion au réseau. La vérification de la connexion démarre.
- Suivez les instructions sur l'écran de l'imprimante pour imprimer le rapport de connexion réseau. En cas d'erreur, consultez le rapport de connexion réseau, puis suivez les solutions préconisées.
Messages et solutions sur le rapport de connexion réseau
Vérifiez les messages et les codes d'erreur dans le rapport de connexion réseau, puis suivez les solutions.

a. Code d'erreur
b. Messages dans l'environnement réseau
E - 1 a la page 130
«E-2,E-3,E-7» à la page 130
«E-5» à la page 131
«E-6» à la page 131
E-8 > à la page 132
E - 9 a la page 132
E-10 a la page 132
E-11 a la page 133
E-12 a la page 133
E-13 a la page 134
« Message dans l'environnement réseau » à la page 134
E-1
Solutions:
Assurez-vous que le cable Ethernet est bien connecté à votre imprimante, à votre concentrateur ou à un autre périphérique réseau.
Assurez-vous que votre concentrateur ou votre autre péripérisque réseau est sous tension.
Si vous souhaitez connecter l'imprimante en Wi-Fi, redéfinissez les paramètres Wi-Fi pour l'imprimante, car celui-ci est désactisé.
« Définition des paramètres Wi-Fi depuis le panneau de commande » à la page 126
E-2, E-3, E-7
Solutions:
Assurez-vous que votre routeur sans fil est allumé.
- Confirmez que votre ordinateur ou péripérisque est correctement connecté au routeur sans fil.
Éteignez le routeur sans fil. Attendez environ 10 secondes, puis rallumez-le.
Rapprochez l'imprimante de votre routeur sans fil et retirez tout obstacle entre les deux.
Si vous aze saisi le SSID manuellement, verifie qu'il est correct. Verifie le SSID dans la partie Etat reseau du rapport de connexion reseau.
Si un routeur sans fil comporte plusieurs SSID, selectionnez le SSID qui s'affiche. Lorsque le SSID utilise une fréquence qui n'est pas conforme, l'imprimante ne l'affiche pas.
Si vous utilisez la configuration via une touche pour etabrir une connexion reseau, assurez-vous que voitre routeur sans fil prend en charge le WPS. Vous ne pouvez pas utiliser la configuration via une touche si vous routeur sans fil ne prend pas en charge le WPS.
Assurez-vous que votre SSID n'utilise que des caractères ASCII (caracteres alphanumerices et symboles). L'imprimante ne peut afficher un SSID qui contient des caractères non-ASCII.
Avant de vous connecter au routeur sans fil, assurez-vous de connaître le SSID et le mot de passer. Si vous utilisez un routeur sans fil dont les paramètres par défaut nont pas été modifiés, le SSID et le mot de passer figurent sur une étiquette du routeur sans fil. Si vous ne connaissiez pas votre SSID et votre mot de passer, contactez la personne qui a configuré le routeur sans fil ou reportez-vous à la documentation fournie avec le routeur sans fil.
Si vous vous connectez à un SSID géné ré par un périphérique intelligent d'affiliation, vérifie le SSID et le mot de passer dans la documentation fournie avec l'appareil connecté.
Si vous connexion Wi-Fi se déconnecte soudainement, vérifie les conditions ci-dessous. Si l'une de ces conditions s'applique, réinitialisez vos paramètres reseau en téléchargeant et en executant le logiciel à partir du site Web suivant.
- Un autre apparéil connecté a été ajoute au réseau par configuration via une touche.
Le reseau Wi-Fi a ete configu re en utilisant une methode autre que la configuration via une touche.
« Reconfiguration de la connexion réseau » à la page 125
→ « Définition des paramètres Wi-Fi depuis le panneau de commande » à la page 126
E-5
Solutions:
Assurez-vous que le type de sécurité du routeur sans fil est réglo sur l'un des éléments suivants. Si ce n'est pas le cas, modifiez le type de sécurité sur le routeur sans fil, puis réinitialisez les paramètres réseau de l'imprimante.
WEP 64 bits (40 bits)
WEP 128 bits (104 bits)
WPA PSK (TKIP/AES)
WPA2 PSK (TKIP/AES)
WPA (TKIP/AES)
WPA2 (TKIP/AES)
WPA3-SAE (AES)
- WPA PSK est également appelé WPA Personal. WPA2 PSK est également appelé WPA2 Personal.
E-6
Solutions :
Vérifiez si le filtrage d'adresses MAC est désactivé. S'il est activé, enregistrez l'adresse MAC de l'imprimante pour qu'elle ne soit pas filtrée. Consultez la documentation fournie avec le routeur sans fil pour plus de détails. Vous pouvez vérifier l'adresse MAC de l'imprimante dans la partie État réseau sur le rapport de connexion réseau.
Si voitre routeur sans fil se sert d'une authentification partagee avec la sicurite WEP, assurez-vous que la clé d'authentification et l'index sont corrects.
Si le nombre de péripériques pouvant être connectés au routeur sans fil est inférieur au nombre de péripériques réseau que vous souhaitez connecter, effectuez le paramétrage sur le routeur sans fil afin d'augmenter le nombre de péripériques pouvant être connectés. Consultez la documentation fournie avec le routeur sans fil pour effectuer le paramétrage.
→ « Réglages pour connexion à l'ordinateur » à la page 125
E-8
Solutions :
Activez la fonction DHCP sur le routeur sans fil si le parametre Obtenir l'adresse IP de l'imprimante est regle sur Auto.
Si le paramètre Obtenir l'adresse IP de l'imprimante est.Regle sur Manuel, l'adresse IP définie manuellement est invalide, car hors de la plage (par exemple 0.0.0.0).Définissez une adresse IP valide depuis le panneau de commande de l'imprimante.
« Définition d'une adresse IP statique pour l'imprimante » à la page 140
E-9
Solutions:
Vérifiez les éléments suivants.
- Les périphériques sont sous tension.
Vous pouze acceder à Internet et aux autres ordinateurs ou périphériques réseau sur le même réseau à partir des périphériques que vous souhaitez connecter à l'imprimante.
Si vous imprimante et vos périphériques réseau ne se connectent toujours pas suite à la confirmation des éléments ci-dessus, éteignez le routeur sans fil. Attendez environ 10 secondes, puis rallumez-le. Réinitialisez ensuite vos paramètres réseau en téléchargeant et en exécutant le programme d'installation à partir du site Web suivant.
« Réglages pour connexion à l'ordinateur » à la page 125
E-10
Solutions:
Vérifiez les éléments suivants.
Les autres péripériques réseau sont sous tension.
□ Les adresses réseau (adresse IP, masque de sous-réseau et passerelle par défaut) sont correctes si vous avez régle l'option Obtenir l'adresse IP de l'imprimante sur Manuel.
Réinitialisiez les adresses réseau si elles sont incorrectes. Vous pouvez vérifier l'adresse IP, le masque de sous-reseau et la passerelle par défaut dans la partie État réseau du rapport de connexion réseau.
Si la fonction DHCP est activée, réglez l'option Obeitenir l'adresse IP de l'imprimante sur Auto. Si vous pouze définir manuellement l'adresse IP, consultez l'adresse IP de l'imprimante dans la section État réseau du rapport de connexion réseau, puis sélectionnez Manuel à l'écran des paramètres réseau. Réglez le masque de sous-résseau sur [255.255.255.0].
Si vous imprimante et vos périphériques réseau ne se connectent toujours pas, éteignez le routeur sans fil. Attendez environ 10 secondes, puis rallumez-le.
« Définition d'une adresse IP statique pour l'imprimante » à la page 140
E-11
Solutions :
Vérifiez ce qui suit.
L'adresse de passerelle par défaut est correcte si vous définisse le réglage Configuration TCP/IP de l'imprimante sur Manuel.
L'appareil défini comme passerelle par défaut est allumé.
Définissez la bonne adresse de passerelle par défaut. Vous pouvez vérifier l'adresse de la passerelle par défaut depuis la partie État réseau sur le rapport de connexion réseau.
« Définition d'une adresse IP statique pour l'imprimante » à la page 140
E-12
Solutions :
Vérifiez les éléments suivants.
Les autres péripériques réseau sont sous tension.
Les adresses reseau (adresse IP, masque de sous-reseau et passerelle par defaut) sont correctes si vous les saisissez manuellement.
Les adresses reseau pour les autres peripériques (masque de sous-reseau et passerelle par défaut) sont les mêmes.
L'adresse IP n'est pas en conflit avec d'autres périphériques.
Si vous imprimante et vos périphériques réseau ne se connectent toujours pas suite à la confirmation des éléments ci-dessus, précédez comme suit.
Éteignez le routeur sans fil. Attendez environ 10 secondes, puis rallumez-le.
Définissez de nouveau les paramètres réseau à l'aide du programme d'installation. Vous pouvez l'exécuter depuis le site web suivant.
- Vous pouvez enregistrer plusieurs mots de passer sur un réseau sans fil qui utilise le type de sécurité WEP. Si plusieurs mots de passer sont enregistrés, vérifie que le premier mot de passage enregistré est configuré sur l'imprimante.
« Définition d'une adresse IP statique pour l'imprimante » à la page 140
E-13
Solutions :
Vérifiez les éléments suivants.
□ Les périphériques réseau (routeur sans fil, concentrateur, hub, etc.) sont sous tension.
La configuration TCP/IP pour les péripériques réseau n'a pas été effectué manuellement. (Si la configuration TCP/IP de l'imprimante est effectué automatiquement alors que la configuration TCP/IP d'autres péripériques réseau est manuelle, il se peut que le réseau de l'imprimante ne corresponde pas à celui des autres péripériques)
Si vous ne pouvez toujours pas vous connecter après avoir vérifié les points ci-dessus, essayez ce qui suit.
Éteignez le routeur sans fil. Attendez environ 10 secondes, puis rallumez-le.
Définissez les paramètres réseau de l'ordinateur appartenant au même réseau que l'imprimante, en vous servant du programme d'installation. Vous pouvez l'exécuter depuis le site web suivant.
- Vous pouvez enregistrer plusieurs mots de passer sur un routeur sans fil qui utilise le type de sécurité WEP. Si plusieurs mots de passer sont enregistrés, vérifie que le premier mot de passage enregistré est configuré sur l'imprimante.
« Définition d'une adresse IP statique pour l'imprimante » à la page 140
« Réglages pour connexion à l'ordinateur » à la page 125
Message dans l'environnement réseau
| Message | Solution |
| L'environnement Wi-Fi doit être amélioré. Éteignez le routeur sans fil puis allumez-le. Si la connexion ne s'améliore pas, consultez la documentation du routeur sans fil. | Après avoir rapproché l'imprimante du routeur sans fil et retire tout évientuel obstacle entre eux, éteignez le routeur sans fil. Attendez environ 10 secondes, puis rallumez-le. S'il ne se connecte toujours pas, consultez la documentation qui l'accompagne. |
| *Aucun pérophérique supplémentaire ne peut être connecté. Déconnecter un des pérophériques connectés pour en ajouter un autre. | La connexion Wi-Fi Direct (PA unique) qui accueille l'ordinateur et les apparils connectés est saturaée. Pour ajouter un autre ordinateur ou apparil connecté, déconnectez d'abord l'un des apparils, ou connectez-le à un autre réseau. Vous pouvez vérifier le nombre d'appareils sans fil qui peuvent être connectés en même temps ainsi que le nombre d'appareils actuelsment connectés grâce à la feuille d'état du réseau ou sur le panneau de commande de l'imprimante. |
| Le même SSID que Wi-Fi Direct existe dans l'environnement. Modifiez le SSID Wi-Fi Direct si vous ne pouvez pas racorder un apparéil connecté à l'imprimante. | Sur le panneau de commande de l'imprimante, rendez-vous à l'écran de configuration de Wi-Fi Direct et Sélectionnéz le menu pour modifier ce paramètre. Vous pouvez modifier le nom du réseau après DIRECT-XX-. Vous pouvez saisir jusqu'à 22 caractères. |
Connexion directe d'un péripérisque intelligent et l'imprimante (Wi-Fi Direct)
Wi-Fi Direct (PA unique) you permit de connecter un pérophérique intelligent à l'imprimante sans passer par un routeur sans fil, et ainsi imprimer directement depuis le pérophérique intelligent.
À propos de Wi-Fi Direct
Cette méthode de connexion est recommendée lorsque vous n'utilise pas le Wi-Fi chez vous ou au bureau, ou lorsque vous VOULEZ connecter directement l'imprimante et l'ordinateur ou le péripérisque intelligent. En mode PA unique, l'imprimante fait office de routeur sans fil et vous pouvez connecter les péripériques à l'imprimante sans devoir utiliser un point d'accès standard. Les péripériques directement connectés à l'imprimante ne peuvent cependant communiquer les uns avec les autres via l'imprimante.

L'imprimante peut être connectée simultanément via Wi-Fi ou Ethernet et Wi-Fi Direct (PA unique). Cependant, si vous initiez une connexion réseau en mode Wi-Fi Direct (PA unique) lorsqu'el'imprimante est connectée en Wi-Fi, le Wi-Fi est temporairement déconnecté.
Connexion aux péripériques à l'aide de Wi-Fi Direct
Cette méthode vous permet de connecter directement l'imprimante aux périphériques sans routeur sans fil.
Remarque:
Pour les utilisateurs iOS ou Android, il est pratique d'effectuer la configuration depuis Epson Smart Panel.
Vous ne devez définir qu'une fois ces paramètres pour l'imprimante et le périphérique auxquels vous souhaitez vous connecter. Il est inutilde redéfinir ces paramètres, sauf si vous désactiez Wi-Fi Direct ou restaurez les paramètres réseau par défaut.
- Appuyez sur à l'écran d'accueil.
- Appuyez sur Wi-Fi Direct.
- Appuyez sur Commencer la configuration.
- Sélectionnéz Autres méthodes.
- Sélectionnez Autres SE d'appareil.
- Sur l'écran Wi-Fi du périphérique, Sélectionnez le SSID affché sur le panneau de commande de l'imprimante pour vous connecter, puis saisissez le mot de passer.

-
Sur l'écran de l'application d'impression sur l'appareil, sélectionnez l'imprimante à laquelle vous souhaitez vous connecter.
-
Sur le panneau de commande de l'imprimante, selectionnez Terminer.
Pour les péripériques qui ont déjà été connectés à l'imprimante, Sélectionnez le nom du réseau (SSID) sur l'écran Wi-Fi du péripérisque pour les connecter à nouveau.
Remarque:
Si vous utilisez un périhérique iOS, vous pouvez également vous connecter en numériasant le code QR avec laamera iOS standard. Reportez-vous au lien ci-dessous https://epson.sn.
Arrêt d'une connexion Wi-Fi Direct (PA unique)
Remarque:
Le fait de désactiver la connexion Wi-Fi Direct (PA unique) déconnecte tous les ordinateurs et appareils connectés à l'imprimante via une connexion Wi-Fi Direct. Si vous souhaitez déconnecter un péripérisque spécifique, procédez à la déconnexion à partir du péripérisque只不过 que de l'imprimante.
- Appuyez sur dans l'écran d'accueil de l'imprimante.
- Sélectionnez Wi-Fi Direct.
Les informations du Wi-Fi Direct sont affichées.
- Appuyez sur Commencer la configuration.
- Appuyez sur Menu
- Sélectionnéz Désactiver Wi-Fi Direct.
- Appuyez sur Désactiver les paramètres.
- Suivez les instructions affichées à l'écran.
Modifier les paramètres de Wi-Fi Direct (PA unique) tels que le SSID
Lorsque la connexion Wi-Fi Direct (PA unique) est activée, vous pouvez modifier les paramètres dans
Wi-Fi Direct > Commencer la configuration > Menu, puis les éléments de menu suivants s'affichent.
Changer le nom du réseau
Modifiez le réseau (SSID) Wi-Fi Direct (PA unique) utilisé pour connecter l'imprimante et donnez-lui le nom de votrechioix. Vous pouvez définir le nom du réseau (SSID) en caractères ASCII affichés sur le clavier virtuel du panneau de commande. Vous pouvez saisir jusqu'à 22 caractères.
Lorsque vous changez le nom du réseau (SSID), tous les péripériques connectés sont déconnectés. Utilisez le nouveau nom de réseau (SSID) si vous souhaitez reconnectcer le péripérisque.
Changer le mot de passer
Modifiez le mot de passer Wi-Fi Direct (PA unique) utilise pour connecter l'imprimante et donnez-lui la valeur de votrechioix. Vous pouvez définir le mot de passer en caractères ASCII affichés sur le clavier virtuel du panneau de commande. Vous pouvez saisir de 8 à 22 caractères.
Lorsque vous changez le mot de passer, tous les périphériques connectés sont déconnectés. Utilisez le nouveau mot de passer si vous souhaitez reconnectcer le périhérique.
Désactivez le paramètre Wi-Fi Direct (PA unique) de l'imprimante. Lorsque vous le désactivez, tous les péripériques connectés à l'imprimante en connexion Wi-Fi Direct (PA unique) sont déconnectés.
Rest param défaut
Restaurez les valeurs par défaut de tous les paramètres Wi-Fi Direct (PA unique).
Les informations de connexion Wi-Fi Direct (PA unique) de l'appareil connecté à l'imprimante seront supprimées.
Ajouter ou modifier la connexion de l'imprimante
Bien que plusieurs ordinateurs puissant est connectés au même routeur sans fil, chaque ordinateur sera attribué un SSID différent.
Si les SSID attribués par le routeur sans fil ne sont pas traités sur le même réseau, alors chaque ordinateur est effectivement connecté à un réseau différent. Lorsque vous configUREZ une imprimante sur l'ordinateur A, l'imprimante est ajoutée au même réseau que l'ordinateur A, ce qui permet à l'ordinateur A d'imprimer avec cette imprimante.

Si ensuite vous configurez l'imprimante sur l'ordinateur B dans la configuration indiquée ci-dessus, l'imprimante sera configurée pour utiliser le réseau de l'ordinateur B, permettant à l'ordinateur B d'imprimer avec cette l'imprimante mais pas l'ordinateur A.

Pour éviter que ce problème ne se produit, lorsque vous souhaitez configurer une imprimante en réseau sur un deuxième ordinateur, lancez toujours le programme d'installation sur l'ordinateur connecté au même réseau que l'imprimante. Si l'imprimante est sur le même réseau, elle ne sera pas reconfigurée pour le réseau et le programme d'installation la rendra prete à être utilisée.
→ « Réglages pour connexion à l'ordinateur » à la page 125
Passer d'une connexion Wi-Fi à USB
Suivez les étapes ci-dessous si le Wi-Fi que vous utilisez est instable ou si vous souhaitez passer à une connexion USB plus stable.
- Connectez l'imprimante à un ordinateur avec un cable USB.
- Sélectionné une imprimante qui n'est pas étiquétée (XXXXX) lors de l'impression avec une connexion USB.
Le nom de votre imprimante ou « Réseau » est affché avec XXXX en fonction de la version du système d'exploitation.
Example sous Windows 11

Example sous Windows 10

« Arrière » à la page 20
Changement de la connexion de Wi-Fi à réseau LAN cable
Si le Wi-Fi que vous utilisez est instable, ou si vous souhaitez passer à une connexion LAN cablee plus stable, suivez ces instructions.
- Sélectionnéz Param. à l'écran d'accueil.
- Sélectionnéz Réglages généraux > Paramètres réseau > Config LAN filaire.
- Suivez le guide pour connecter le cable LAN.
Définition d'une adresse IP statique pour l'imprimante
Cette section déscrit comment faire pour définiir les paramètres à partir du panneau de commande de l'imprimante.
- Sélectionnéz Param. dans l'écran d'accueil de l'imprimante.
- Sélectionnéz Réglages généraux > Paramètres réseau > Avancé > TCP/IP.
- Sélectionnéz Obtenir l'adresse IP, puis sélectionnéz Manuel.
- Saisissez l'adresse IP.
Le curseur passe au segment suivant ou au segment précédent, sépare par un point lorsque vous Sélectionnez et.
Confirmez la valeur affichée à l'écran précédent.
- Configurez les paramètres Masque de s-réseau et Passerelle par défaut.
Confirmez la valeur affichée à l'écran précédent.

Important:
Si la combinaison des paramètres Adresse IP, Masque de s-réseau et Passerelle par défaut est incorrecte, vous ne pouvez pas continuer la configuration. Confirmez que la saisie est exemple d'erreur.
- Saisissez l'adresse IP du serveur DNS principal.
Confirmez la valeur affichée à l'écran précédent.
Remarque:
Si vous pouvez selectionner Auto comme parametre d'attribution de l'adresse IP, vous pouvez selectionner les parametes du serveur DNS via Manuel ou Auto. Si vous ne pouvez pas Obtir automatiquement l'adresse du serveur DNS, selectionnez Manuel, puis saisissez l'adresse du serveur DNS. Saisissez ensuite directement l'adresse du serveur DNS secondaire. Si vous selectionnéz Auto, allez à l'étape 8.
- Saisissez l'adresse IP du serveur DNS secondaire.
Confirmez la valeur affichée à l'écran précédent.
- Appuyez sur Démarrer configuration.
Transport et stockage de l'imprimante
Si vous devez stocker ou transporter l'imprimante en cas de déménagement ou si des réparations sont nécessaires, suivez la procédure ci-dessous pour emballer l'imprimante.
- Mettez l'imprimante hors tension en appuyant sur la touche .
- Vérifiez que levoyant d'alimentation s'éteint, puis débranchez le cordon d'alimentation.

Important:
Débranchez le cordon d'alimentation lorsque levoyant d'alimentation est eteint. Sinon, la tete d'impression ne revient pas en position initiale. L'encre risque alors de secher et il peut etre impossible d'imprimer.
- Debranchez tous les câbles, par exemple le cordon d'alimentation et le cable USB.
- Retirez tout le papier de l'imprimante.
- Vérifiez qu'il ne reste pas d'originaux dans l'imprimante.
-
Refermez le capot de documents s'il est ouvert.
-
Soulevez le module scanner avec vos deux mains jusqu'à ce qu'il se bloque.


Attention:
Veillez à ne pas coincer vos mains ou vos doigs lors de l'ouverture ou de la fermeture du scanner. Vous risqueriez de vous blesser.
- Fixez le support de la cartouche d'encre au boitier avec de l'adhésif.

- Fermez le scanner.

Remarque:
Le scanner est concu pour se refermer lentement et opposer une légere résistance afin d'eviter de blesser vos doigs.
Continuez à le referrer malgré la légere résistance.
- Préparez l'emballage de l'imprimante comme illustré ci-dessous.

- Emballez l'imprimante dans sa boîte en utilisant les matéiaux de protection.

Important:
Lors du stockage ou du transport de l'imprimante, évitez de l'incliner, de la placer verticalement ou de la renverser, faute de quoi de l'encre risque de fouir.


Laissez les cartouches d'encre installées. Le retrait des cartouches peut assecher la tête d'impression et empêcher le bon fonctionnement de l'imprimante.
Lorsque vous utilisez à nouveau l'imprimante, veilles à retarder l'adhésif qui sécurise le support de la cartouche d'encre. Si la qualité d'impression a diminué lors de la prochaine impression, procédez à un nettoyage et un alignement de la tête d'impression.
« Vérification et nettoyage de la tête d'impression » à la page 108
« Alignment de la tête d'impression » à la page 111
Résolution de problèmes
Impossible d'imprimer, de scanner ou de télécopier. 146
La qualité d'impression, de copie, de numérisation et de télécopie est mauvaise. 164
Impossible de selectionner le type de papier ou la source de papier dans le pilote d'impression. 185
Un message s'affiche sur l'écran LCD. 185
Bourrage papier. 187
Le moment est venu de replacer les cartouches d'encre. 193
Le moment est venu de replacer le boitier de maintenance. 199
L'imprimante ne fonctionne pas comme prévu. 201
Impossible de résoudre le problème. 206
Impossible d'imprimer, de scanner ou de télécopier
Résolution des problèmes
Lisez cette section si vous n'arrivez pas à imprimer, à numériser ou à faxer comme prévu ou si vous rencontres des problèmes lors de l'impression. Vous trouvez ci-dessous des solutions aux problèmes les plus courants.
L'imprimante est-elle allumée?
Solutions
Assurez-vous que l'imprimante est allumée.
Assurez-vous que le cordon d'alimentation est correctement branché.
« L'imprimante n'est pas mise sous tension » à la page 201
« Impossible de résoudre le problème » à la page 206
Du papier est-il coincé dans l'imprimante?
Solutions
Si du papier est coince dans l'imprimante, celle-ci ne pourra pas commencer a imprimer. Retirez le papier coince a l'intérieur de l'imprimante.
→ « Bourrage papier » à la page 187
L'imprimante fonctionne-t-elle correctement?
Solutions
Si un message d'erreur s'affiche sur l'écran LCD, vérifie l'erreur.
- Imprimez une feuille d'etat et utilisez-la pour vérifier si l'imprimante elle-même peut imprimer correctement.
→ « Un message s'affiche sur l'écran LCD » à la page 185
Avez-vous des problèmes de connexion?
Solutions
Assurez-vous que tous les cables sont correctement branchés pour toutes les connexions.
Assurez-vous que le périphérique réseau et le hub USB fonctionnent normalement.
Si vous utilisez une connexion Wi-Fi, assurez-vous que les paramètres de connexion Wi-Fi sont correctement configurés.
Vérifiez le réseau auquel vous ordinateur et votre imprimante sont connectés, et assurez-vous que les noms des réseaux correspondent.
« L'imprimante ne peut pas se connecter au réseau » à la page 151
« L'imprimante ne peut pas se connecter via USB » à la page 150
« Vérification du statut de connexion du réseau de l'imprimante (rapport de connexion réseau) » à la page 129
Les données d'impression ont-elles ete envoyees correctement?
Solutions
Vérifiez qu'il n'y a pas de données d'impression en cours d'attente d'une tâche précédente.
Vérifiez le pilote d'impression pour vous assurer que l'imprimante n'est pas hors ligne.
« Une tâche est toujours en attente d'impression. » à la page 148
→ « L'imprimante est en attente ou hors connexion. » à la page 148
L'application ou le pilote d'impression ne fonctionnent pas correctement
Impression impossible, alors qu'une connexion a bien eté établie (Windows)
Envisagez les possibilités suivantes.
Le logiciel ou les données posent problème.
Solutions
Vérifie qu'un pilote d'imprimante Epson authenticate (EPSON XXXXX) est installé. Si un pilote d'imprimante Epson authenticate n'est pas installé, les fonctions disponibles sont limitées. Nous vous recommendons d'utiliser un pilote d'imprimante Epson authenticate.
Il est possible que l'imprimante ne dispose pas de suffisamment de mémoire si vous imprimez une image comportant beaucoup de données. Sélectionnez une plus faible résolution ou une taille plus petite pour imprimer l'image.
Si vous avez essaye toutes les solutions mais que le probleme n'est pas résolu, essayez de désinstaller, puis réinstaller le pilote d'impression.
□ Vous doivent pouvoir régler le problème en mettant à jour le logiciel vers la première version. Pour vérifier le statut du logiciel, utilisez l'outil de mise à jour du logiciel.
→ « Vérifier qu'un pilote d'imprimante Epson authenticate est installé — Windows » à la page 123
→ « Vérifier qu'un pilote d'imprimante Epson authenticate est installé — Mac OS » à la page 124
« Installation séparée des applications » à la page 122
L'etat de l'imprimante pose problème.
Solutions
Cliquez sur EPSON Status Monitor 3 au niveau de l'onglet Utilitaire du pilote de l'imprimante, et vérifie l'état de l'imprimante. Si EPSON Status Monitor 3 est désactivié, cliquez sur Paramètres étendus dans l'onglet Utilitaire, puis selectionnez Activer EPSON Status Monitor 3.
Une tâche est toujours en attente d'impression.
Solutions
Cliquez sur File d'atte au niveau de longlet Utilitaire du pilote d'impression. Si des données inutiles restent, selectionnez Annuler tous les documents du menu Imprimante.

L'imprimante est en attente ou hors connexion.
Solutions
Cliquez sur File d'attente au niveau de l'onglet Utilitaire du pilote d'impression.
Si c'est le cas, désactiver les paramètres correspondants dans le menu Imprimante.

L'imprimante n'est pas définie comme imprimante par défaut.
Solutions
Faites un clic droit sur l'icone de l'imprimante dans Panneau de configuration > Afficher les péripériques et imprimantes (ou Imprimantes, Imprimantes et télécopieurs) et cliquez sur Définir comme imprimante par défaut.
Remarque:
Si plusieurs icones d'imprimante sont presentes, reportez-vous a ce qui suit pour selectionner laonne imprimante.
Example)
Connexion USB : EPSON série XXXX
Connexion réseau : EPSON série XXXX (réseau)
Si vous installez plusieurs fois le pilote de l'imprimante, des copies du pilote d'imprimante peuvent etre creées. Si des copies telles que « EPSON série XXXX (copie 1) » sont créées, faites un clic droit sur Iicone du pilote copé, puis cliquez sur Supprimer le périphérique.
Le port de l'imprimante n'est pas défini correctement.
Solutions
Cliquez sur File d'attente au niveau de l'onglet Utilitaire du pilote d'impression.
Vérifiez que le port de l'imprimante est défini comme illustré ci-dessous dans Propriétés > Port dans le menu Imprimante.
Connexion USB : USBXXX, Connexion réseau : EpsonNet Print Port

Impression impossible, alors qu'une connexion a bien eté établie (Mac OS)
Envisagez les possibilités suivantes.
Le logiciel ou les données posent problème.
Solutions
Vérifiez qu'un pilote d'imprimante Epson authenticate (EPSON XXXXX) est installé. Si un pilote d'imprimante Epson authenticate n'est pas installé, les fonctions disponibles sont limitées. Nous vous recommendons d'utiliser un pilote d'imprimante Epson authenticate.
Il est possible que l'imprimante ne dispose pas de suffisamment de mémoire si vous imprimez une image importante beaucoup de données. Sélectionnez une plus faible résolution ou une taille plus petite pour imprimer l'image.
Si vous avez essaye toutes les solutions mais que le probleme n'est pas résolu, essayez de désinstaller, puis réinstaller le pilote d'impression.
□ Vous doivent pouvoir régler le problème en mettant à jour le logiciel vers la première version. Pour vérifier le statut du logiciel, utilisez l'outil de mise à jour du logiciel.
« Vérifier qu'un pilote d'imprimante Epson authenticate est installé — Windows » à la page 123
→ « Vérifier qu'un pilote d'imprimante Epson authenticate est installé — Mac OS » à la page 124
« Installation séparée des applications » à la page 122
L'etat de l'imprimante pose problème.
Solutions
Assurez-vous que l'etat de l'imprimante n'est pas Pause.
Sélectionnez Préférences système dans le menu Apple > Imprimantes et scanners (ou Impression et numérisation, Impression et télécopie), et double-cliquez sur l'imprimante. Si l'imprimante est en pause, cliquez sur Reprendre.
Impression impossible, alors qu'une connexion a bien eté établie (iOS)
Envisagez les possibilités suivantes.
L'option Affichage auto Config. papier est désactivée.
Solutions
Activez l'option Affichage auto Config. papier dans le menu suivant.
Param. > Réglages généraux > Param imprint > Réglages source papier > Affichage auto Config.
papier
L'option AirPrint est désactivée.
Solutions
Activez le paramètre AirPrint dans l'application Web Config.
« Application de configuration des opérations de l'imprimante (Web Config) » à la page 217
Numérisation impossible, alors qu'une connexion a correctement eté établie
Numérisation haute résolution en réseau.
Solutions
Essayez de numériser à une résolution plus faible.
L'imprimante ne peut pas se connecter via USB
Envisagez les possibilités suivantes.
Le cable USB n'est pas correctement branché dans sa prise.
Solutions
Connectez fermement le cordon USB à l'imprimante et à l'ordinateur.
Le concentrateur USB pose problème.
Solutions
Si vous utilisez un concentrateur USB, essayez de connecter directement l'imprimante à l'ordinateur.
Le cable USB ou la prise USB posent problème.
Solutions
Si le cable USB n'est pas reconnu, changez le port ou le cable USB.
L'imprimante ne peut pas se connecter au réseau
Causes principales et solutions aux problèmes de connexion réseau
Vérifiez les points suivants pour voir s'il y a un problème de fonctionnement ou de configuration de l'appareil connecté.
Vérifiez la cause de l'éché de connexion au réseau de l'imprimante.
Solutions
Imprimez le rapport de vérification de la connexion réseau pour vérifier le problème et la solution recommendée.
Pour plus de détails, reportez-vous aux informations connexes suivantes sur comment dire le rapport de verification de la connexion réseau.
Remarque:
Si vous foulez vérifier plus d'informations de configuration du réseau, imprimez une feuille d'etat réseau.
« Vérification du statut de connexion du réseau de l'imprimante (rapport de connexion réseau) » à la page 129
→ « Messages et solutions sur le rapport de connexion réseau » à la page 129
Utiliser Epson Printer Connection Checker pour améliorer la connexion à l'ordinateur. (Windows)
Solutions
Selon le résultat de la vérification, vous pourrez être en mesure de résoudre le problème ou non.
- Sur le bureau, double-cliquez sur I'icone Epson Printer Connection Checker.
Epson Printer Connection Checker démarre.
Si vous ne trouvez pas l'icone sur le bureau, précédez comme suit pour démarrer Epson Printer Connection Checker.
Windows 11
Cliquez sur le bouton Demarrer, puis selectionnez Toutes les applications > Epson Software > Epson Printer Connection Checker.
Windows 10
Cliquez sur le bouton Demarrer, puis selectionnez Epson Software > Epson Printer Connection Checker.
Windows 8.1/Windows 8
Entrez le nom de l'application dans l'icone Rechercheur, puis selectionnez l'icone affichee.
Windows 7
Cliquez sur le bouton Demarrer, puis selectionnez Tous les programmes > Epson Software > Epson Printer Connection Checker.
- Suivez les instructions à l'écran pour procéder à la vérification.
Remarque:
Si le nom de l'imprimante ne s'affiche pas, installez un pilote d'imprimante Epson authentique.
« Vérifier qu'un pilote d'imprimante Epson authenticate est installé — Windows » à la page 123
Une fois que vous ave identifié le problème, suivez les instructions affichées à l'écran.
Si vous ne parvenez pas à résoudre le problème, vérifie les éléments suivants selon la situation.
L'imprimante n'est pas reconnaue sur un réseau
« Vérification du statut de connexion du réseau de l'imprimante (rapport de connexion réseau) » à la page 129
L'imprimante n'est pas reconnaue en USB
« L'imprimante ne peut pas se connecter via USB » à la page 150
L'imprimante est reconnaue, mais l'impression est impossible.
« Impression impossible, alors qu'une connexion a bien etétablie (Windows) » à la page 147
Un problème est survenu au niveau de la connexion Wi-Fi des péripériques réseau.
Solutions
Éteignez les péripériques que vous poulez connecter au réseau. Attendez 10 secondes puis allumez les apparêls dans l'ordre suivant : routeur sans fil, ordinateur ou péripérisque intelligent, puis imprimante. Rapprochez l'imprimante et l'ordinateur ou le péripérisque intelligent du routeur sans fil, pour facilititer les communications radio, puis essayez de redéfinir les paramètres réseau.

Les apparêils ne recoiventaucun signal du routeur sans fil,carilsont trop éloignés.
Solutions
Après avoir rapproché l'ordinateur ou le périphérique intelligent du routeur sans fil, éteignez celui-ci et rallumez-le.
Lorsque vous changez de routeurs sans fil, les parametes ne correspondent plus au nouveau routeur.
Solutions
Modifiez les paramètres de connexion afin qu'ils correspondent au nouveau routeur sans fil.
« Reconfiguration de la connexion réseau » à la page 125
Les SSID utilisés par l'ordinateur et le périphérique intelligent ne sont pas les mêmes.
Solutions
Si vous utilisez plusieurs routeurs sans fil en même temps ou si vous routeur sans fil diffuse plusieurs SSID et que les péripériques sont connectés à des SSID différents, vous ne pouvez pas vous connecter au routeur sans fil.
Exemple de connexion à plusieurs SSID

Exemple de connexion à des SSID de différentes plages de fréquences

Connectez l'ordinateur ou le périphérique connecté au même SSID que l'imprimante.
Vérifiez le SSID auquel l'imprimante est connectée en imprimant le rapport de vérification de la connexion réseau.
Sur tous les ordinateurs et les périphériques intelligents que vous pouze connecter à l'imprimante, vérifie le nom du Wi-Fi ou du réseau auquel vous âtes connecté.
Si l'imprimante et voire ordinateur ou periphérique intelligent sont connectés à des reseaux différents, veuillez connecter ces periphériques au SSID auquel l'imprimante est connectee.
Votre routeursans filproposeunefonctiond'isolation.
Solutions
La plupart des routeurs sans fil ont une fonction d'isoation qui bloque la communication entre les appeareils avec le même SSID. Si vous ne parvenez pas à étabir de communication entre l'imprimante et l'ordinateur ou le périphérique connecté, poupart sur le même réseau, désactive cette fonction d'isolation au niveau du routeur sans fil. Reportez-vous au manuel fourni avec le routeur sans fil pour plus de détails.
L'adresse IP est n'est pas correctement attribuée.
Solutions
Si l'adresse IP attribuée à l'imprimante est 169.254.XXX.XXX et le masque de sous-réseau 255.255.0.0, l'adresse IP peut ne pas être correctement attribuée.
Selectionnez Param. > Réglages généraux > Paramètres réseau > Avancé sur le panneau de commande de l'imprimante et vérifie l'adresse IP et le masque de sous-résseau attribués à l'imprimante.
Redémarrez le routeur sans fil ou réinitialisez les paramètres réseau de l'imprimante.
« Définition d'une adresse IP statique pour l'imprimante » à la page 140
Le péripérique branché sur le port USB 3.0 provoque des interférences radio.
Solutions
Lorsque vous branchez un périphérique sur un port USB 3.0 d'un Mac, des interférences radio peuvent se produit. Procedez comme suit si vous ne parvenez pas à vous connecter à un réseau local sans fil (Wi-Fi), ou si vous constatiez une instabilité.
Éloignez de l'ordinateur le périphérique branché sur le port USB 3.0.
Il y a un problème avec les paramètres réseau de l'ordinateur ou du péripérisque intelligent.
Solutions
Essayez d'acceder à un site Web depuis votre ordinateur ou périphérique intelligent et vérifie que ses paramètres réseau sont corrects. Si vous n'arrivez pas à acceder aux sites Web, le problème vient de l'ordinateur ou du périphérique intelligent.
Vérifiez de la connexion réseau de l'ordinateur ou du périphérique intelligent. Reportez-vous à la documentation fournie avec votre ordinateur ou périphérique intelligent pour plus de détails.
L'imprimante est connectée en Ethernet par le biais de périphériques compatibles avec la norme IEEE 802.3az (Green Ethernet).
Solutions
Selon votre concentrateur ou routeur, vous pourrez rencontres les problèmes suivants lorsque vous connectez l'imprimante par Ethernet à l'aide d'appareils compatibles avec la norme IEEE 802.3az (Green Ethernet).
La connexion est instable, l'imprimante est sans cesse déconnectée et reconnectee.
La connexion à l'imprimante est impossible.
La vitesse de communication est bajo.
Procedez comme suit pour désactiver IEEE 802.3az au niveau l'imprimante et établit une connexion.
- Debranchez le cable Ethernet reliant l'ordinateur à l'imprimante.
- Si l'option IEEE 802.3az est activée sur l'ordinateur, désactivez-la.
Reportez-vous à la documentation fournie avec l'ordinateur pour plus de détails.
-
Connectez directement l'ordinateur à l'imprimante à l'aide d'un cable Ethernet.
-
Imprimez un rapport de connexion réseau avec l'imprimante.
« Vérification du statut de connexion du réseau de l'imprimante (rapport de connexion réseau) » à la page 129
- Vérifiez l'adresse IP de l'imprimante sur le rapport de connexion réseau.
- Sur l'ordinateur, lancez Web Config.
- Sélectionnéz Log in et entrez le mot de passer de l'administrateur.
Ouvrez un navigateur Web et saisissez l'adresse IP de l'imprimante.
« Application de configuration des opérations de l'imprimante (Web Config) » à la page 217
- Sélectionnéz Network Settings > Wired LAN.
- Sélectionnéz OFF pour IEEE 802.3az.
- Cliqueur Next.
- Cliquez sur OK.
- Debranche le cable Ethernet reliant l'ordinateur à l'imprimante.
- Si vous avez désacté l'option IEEE 802.3az sur l'ordinateur à l' étape 2, réactivez-la.
- Rebranche le cable Ethernet que vous avez débranché à l' étape 1 entre l'ordinateur et l'imprimante.
Si le problème persististe, c'est qu'il vient d'un autre apparéil que l'imprimante.
Impossible d'envoyer ou de receivevoir des fax
Impossible d'envoyer ou de receivevoir des fax
Envisagez les possibilités suivantes.
La prise téléphonique murale presente des problèmes.
Solutions
Vérifiez que la prise téléphonique murale fonctionne en branchant un téléphone et en l'essayant. Si vous ne pouvez ni receivevoir, ni passer d'appels, contactez votre opérateur téléphonique.
La connexion à la ligne téléphonique présente des problèmes.
Solutions
Selectionnez Param. > Réglages généraux > Param. fax > Vérif. connex fax sur le panneau de commande, pour exécuter la vérification automatique de la connexion fax. Essayez les solutions imprimées sur le rapport.
Une erreur de communication se produit.
Solutions
Selectionnez Faible(9 600bps) dans Param. > Réglages généraux > Param. fax > Param de base > Vitesse fax sur le panneau de commande.
Connexion à une ligne téléphonique DSL sans contrôle DSL.
Solutions
Pour la connexion à une ligne téléphonique DSL, vous devez utiliser un modem DSL équipé d'un filtre DSL intégré, ou installer un filtre DSL sépare sur la ligne. Contactez votre fournisseur DSL.
« Connexion à la ligne DSL ou RNIS » à la page 71
Le filtré DSL présente des problèmes lors de la connexion à une ligne téléphonique DSL.
Solutions
Si vous ne pouvez pas envoyer ou receivevoir de fax, connectez l'imprimante directement à une prise téléphonique murale pour vérifier si l'imprimante peut envoyer des fax. Si cela fonctionne, le problème peut être provoqué par le filtré DSL. Contactez votre fournisseur DSL.
Impossible d'envoyer des fax
Envisagez les possibilités suivantes.
La ligne de connexion est réglée sur RTPC dans une installation où un autocommutateur privé (PBX) est utilisé.
Solutions
Sélectionnez PBX dans Param. > Réglages généraux > Param. fax > Param de base > Type de ligne sur le panneau de commande.
Envoi de télécopies sans saisir de code d'accès dans un environnement doté d'un autocommutateur privé (PBX).
Solutions
Si vous système téléphonique nécessite un code d'accès externe pour acceder à une ligne externe, enregistrez le code d'accès sur l'imprimante et tapez # (dièse) au début du numéro de fax lors de l'envoi.
Le numero de fax du destinataire est incorrect.
Solutions
Vérifiez que le numéro du destinataire enregistré dans votre liste de contacts ou que vous l'avez saisi directement à l'aide du clavier est correct. Ou, vérifiez avec le destinataire que le numéro de fax est correct.
Le télécopier du destinataire n'est pas prêt à receivevoir des fax.
Solutions
Demandez au destinataires si son télécopieur est prét à receivevoir un fax.
Les données en cours d'envoi sont trop volumineuses.
Solutions
Vou puez envoyer des fax à une taille de données plus petite en utilisant l'une des méthodes suivantes.
Lorsque vous envoyez le fax en noir et blanc, activez Envoi direct dans Fax > Param. fax > Rég. envoi fax.
« Envoi de plusieurs pages d'un document monochrome (Envoi direct) » à la page 87
Utilisation du téléphone connecté
« Envoi de fax via la numérotation sur un périphérique téléphonique externe » à la page 86
Séparation des documents originaux
Solutions
Selectionnez Param. > Réglages généraux > Param. fax > Param de base > En-tête et configurez les informations d'en-tête. Certains télécopieurs rejettent automatiquement les télécopies qui en sont dépourvues.
Votre ID de l'aggellant est bloqué.
Solutions
Contactez vous opérateur téléphonique pour débloquer votre ID d'aggellant. Certains téléphones ou télécopieurs rejettent automatiquement les appeals anonymes.
Réception de télécopies impossible
Envisagez les possibilités suivantes.
L'option Mode réception est réglée sur Manuel alors qu'un apparéil téléphonique externe est branché à l'imprimante.
Solutions
Si un apparéil téléphonique externe est branché à l'imprimante et partage une ligne téléphonique avec elle, Sélectionnez Param. > Réglages généraux > Param. fax > Param de base, puis règlez Mode réception sur Auto.
La mémoire disponible dans la boîte de réception n'est pas suffisante.
Solutions
100 documents reçus ont été enregistrés dans la boîte de réception au total. Supprimez les documents inutiles.
L'ordinateur qui enregistrera les fax reçus n'est pas allumé.
Solutions
Une fois les réglages permettant d'enregistrer les fax sur un ordinateur effectués, allumez cet ordinateur. Le fax reçu est supprimé une fois qu'il est enregistré sur l'ordinateur.
Solutions
Demandez à l'expéditeur si les informations d'en-tête sont définies sur leur télécopieur. Ou désactivez Blanc en-tête télécopie bloqué dans Param. > Réglages généraux > Param. fax > Param de base > Fax rejeté > Fax rejeté. Les fax qui ne comprendnent pas d'informations d'en-tête sont bloqués lorsque ce paramètre est activé.
Solutions
Enregistrez le numero de fax de l'expéditeur dans la liste de contacts. Ou désactivez Contacts désenregistrés dans Param. > Réglages généraux > Param. fax > Param de base > Fax rejeté > Fax rejeté. Les fax envoyés depuis des numéroes ne se trouvant pas dans cette liste sont bloqués.
Le numero de fax de l'expéditeur a été enregistré dans la Liste des numérios refusés.
Solutions
Assurez-vous que le numéro de l'expéditeur peut être supprimé de la Liste des numérios refusés avant de le supprimer. Suprimez-le de Param. > Réglages généraux > Param. fax > Param de base > Fax rejeté > Modifier liste numérios refusés. Ou désactivez la Liste des numérios refusés dans Param. > Réglages généraux > Param. fax > Param de base > Fax rejeté > Fax rejeté. Les fax envoyés depuis des numérios se trouvant dans cette liste sont bloqués lorsque ce paramètre est activé.
Abonnement à un service de redirection d'appoint.
Solutions
Si vous étés abonné à un service de redirection d'appoint, l'imprimante risque de ne pas receivevoir les fax. Contactez le prestataire de service.
Impossible d'envoyer des fax à un destinataire spécifique
Envisagez les possibilités suivantes.
L'appareil du destinataire met longtemps à répondre.
Solutions
Si la machine du destinataire ne répond pas à votre appel dans les 50 secondes qui suivent la fin de l'appeil émis par votre imprimante, une erreur survient. Composez le numéro à l'aide d'un téléphone connecté pour voir quel est le décai avant d'entendre une tonalité de fax. Si cela prend plus de 50 secondes, ajoutez
des pauses après le numéro de fax pour envoyer le fax. Le est utilisé pour entrer des pauses. Un tiret est saisi comme marque de la pause. Une pause dure environ trois secondes. Ajoutez plusieurs pauses comme nécessaire.
Solutions
Sélectionnez le destinataire dans la liste de contacts > , puis sélectionnez Modifier > Vitesse fax > Faible(9 600bps).
Impossible d'envoyer des fax à un moment spécifique
La date et l'heure de l'imprimante sont incorporetés.
Solutions
Selectionnez Param. > Réglages généraux > Param de base > Régl. Date/Heure, puis définissee la date et l'heure corrects.
Les fax sont envoyés à la mauvaise taille
Envisagez les possibilités suivantes.
Les originaux ne sont pas positionnés correctement.
Solutions
Assurez-vous que l'original est placé correctement par rapport aux marques d'alignement.
Si le bord de l'imag numérisé manque, eloignez légerement le document original du bord de la vitre du scanner.
« Positionnement des originaux » à la page 31
La vitre du scanner ou les originaux presentent de la poussière ou de la saleté.
Solutions
Retirez la poussière ou la saleté des originaux et nettoyez la vitre du scanner.
« Nettoyage de la Vitre du scanner » à la page 112
Les fax reçus ne sont pas imprimés
Envisagez les possibilités suivantes.
Une erreur telle qu'un bourrage papier s'est produit dans l'imprimante.
Solutions
Effacez l'erreur de l'imprimante, puis demandez à l'expéditeur de renvoyer le fax.
L'impression des fax reçus est désactivée dans les paramètres actuels.
Solutions
Si Enreg. sur ordi est regle sur Oui, modifie le réglage sur Oui et Imprimer. Ou, désactivez Enreg. dans boîte de réception et Enreg. sur ordi pour permettre l'impression.
Vous pouvez couver Enreg. dans boite de réception et Enreg. sur ordi dans Param. > Réglages généraux > Param. fax > Param. de réception > Sortie fax.
Envoi et réception de fax impossibles, alors qu'une connexion a bien été établie (Windows)
Envisagez les possibilités suivantes.
Le logiciel n'est pas installé.
Solutions
Vérifiez que le pilote PC-FAX a été installé sur l'ordinateur. Le pilote PC-FAX est installé en même temps que le programme FAX Utility. Procedez comme suit pour vérifier s'il est installé.
Assurez-vous que l'imprimante (fax) apparait sous Periphériques et imprimantes, Imprimante, ou Imprimantes et autres péripériques. Limprimante (fax) apparait comme « EPSON XXXXX (FAX) ». Si l'imprimante (fax) n'est pas affichée, désinstallé puis réinstallé FAX Utility. Reportez-vous à la procédure suivant pour acceder à Periphériques et imprimantes, Imprimante, ou Imprimantes et autres péripériques.
Windows 11
Cliquez sur le bouton Demarrer, puis selectionnez Toutes les applications > Outils de Windows > Panneau de commande > Afficher les péripériques et imprimantes sous Matériel et audio.
Windows 10
Cliquez sur le bouton Demarrer, puis selectionnez Systeme Windows > Panneau de commande > Afficher les péripériques et imprimantes sous Matériel et audio.
Windows 8.1/Windows 8
Selectionnez Bureau > Paramètres > Panneau de commande > Afficher les périphériques et imprimantes dans Matériel et audio ou Matériel.
Windows 7
Cliquez sur le bouton Demarrer, puis selectionnez Panneau de commande > Afficher les péripériques et imprimantes sous Matériel et audio ou Matériel.
Windows Vista
Cliquez sur le bouton Demarrer, puis selectionnez Panneau de configuration > Imprimantes (sous Matériel et audio).
Windows XP
Cliquez sur le bouton Demarrer, puis selectionnez Paramètres > Panneau de commande > Imprimantes et autres matériel > Imprimantes et télécopieurs.
Éché c de l'authentication de l'utilisateur lors de l'envoi d'un fax depuis un ordinateur.
Solutions
Définissez le nom d'utilisateur et le mot de passer dans le pilote de l'imprimante. Lors de l'envoi d'un fax depuis un ordinateur, alors que la fonction de sécurité qui empêche les utilisateurs d'utiliser la fonction de télécopie de l'imprimante est activée, l'authentication de l'utiliseur s'effectue avec le nom et le mot de passer définis dans le pilote de l'imprimante.
La connexion fax et les paramètres de fax posit des problèmes.
Solutions
Essayez les résolutions pour le connexion fax et les paramètres de fax.
Envoi et réception impossibles, alors qu'une connexion a bien été établie (Mac OS)
Envisagez les possibilités suivantes.
Le logiciel n'est pas installé.
Solutions
Vérifiez que le pilote PC-FAX a été installé sur l'ordinateur. Le pilote PC-FAX est installé en même temps que le programme FAX Utility. Procedez comme suit pour vérifier s'il est installé.
Sélectionnez Préférences système à partir du menu Appel > Imprimantes et scanners (ou Impression et numération, Impression et fax), puis assurez-vous que l'imprimante (fax) s'affiche. L'imprimante (fax) apparaît comme « FAX XXXX (USB) » ou « FAX XXXX (IP) ». Si l'imprimante (fax) ne s'affiche pas, cliquez sur [+] puis enregistrez l'imprimante (fax).
Le fonctionnement du pilote PC-FAX est interrompu.
Solutions
Sélectionnez Préférences système à partir du menu Apple > Imprimantes et scanners (ou Impression et numérisation, Impression et fax), puis double-cliquez sur l'imprimante (fax). Si le fonctionnement de l'imprimante est interrompu, cliquez sur Reprendre (ou Relancer l'imprimante).
Échec de l'authentication de l'utilisateur lors de l'envoi d'un fax depuis un ordinateur.
Solutions
Définissez le nom d'utilisateur et le mot de passer dans le pilote de l'imprimante. Lors de l'envoi d'un fax depuis un ordinateur, alors que la fonction de sécurité qui empêche les utilisateurs d'utiliser la fonction de télécopie de l'imprimante est activée, l'autenticationation de l'utiliseur s'effectue avec le nom et le mot de passer définis dans le pilote de l'imprimante.
La connexion fax et les paramètres de fax posit des problèmes.
Solutions
Essayez les résolutions pour le connexion fax et les paramètres de fax.
Le papier n'est pas entrainé correctement
Points à vérifier
Vérifiez les points suivants, puis essayez les solutions correspondantes en fonction des problèmes.
L'emplacement de l'installation ne convient pas.
Solutions
Placez l'imprimante sur une surface plane et utilisez-la dans les conditions ambantes recommandees.
« Caracteristiques environnementales » à la page 243
Un papier non pris en charge a ete utilise.
Solutions
Utilisez du papier pris en charge par cette imprimante.
«Papiers disponibles et capacités » à la page 209
→ « Types de papier non disponibles » à la page 212
Mauvaise manipulation du papier.
Solutions
Veuillez observer les précautions de manipulation du papier.
→ « Précautions de manipulation du papier » à la page 26
Trop de feuilles sont chargées dans l'imprimante.
Solutions
Ne chargez pas plus de feuilles que le nombre maximum indiqué pour le papier.
Papiers disponibles et capacités à la page 209
Les paramètres papier de l'imprimante sont incorrÊts.
Solutions
Assurez-vous que les paramètres de format et de type de papier correspondent au format et au type réels du papier chargé dans l'imprimante.
« Paramètres de format et de type de papier » à la page 26
Le papier glisse lorsquedes résidus sont presents sur le rouleau.
Solutions
Nettoyez le rouleau.
« Résolution des problèmes d'entrainment du papier » à la page 106
Le papier est entrainé de travers
Envisagez les possibilités suivantes.
Le papier n'est pas charge correctement.
Solutions
Chargez le papier dans le bon sens et faites glisser le guide lateral contre le bord du papier.
«Chargement du papier » à la page 28
Plusieurs feuilles de papier sont entrainées en même temps
Envisagez les possibilités suivantes.
Le papier est humide ou mouillé.
Solutions
Chargez du papier neuf.
L'électricité statique colle les feuilles de papier ensemble.
Solutions
Éventez le papier avant de le charger. Si le papier n'est toujours pas entrainé, chargez les feuilles une par une.
Plusieurs feuilles de papier sont entrainées en même temps pendant une impression recto verso manuelle.
Solutions
Retirez tout le papier liént dans la source avant de recharger le papier.
Le papier est ejecté pendant l'impression
En tete n'est pas seLECTIONné comme type de papier.
Solutions
Lorsque vous chargez du papier à en-tête (papier sur lequel des informations telles que le nom de l'expéditeur ou le nom de l'entreprise sont préimprimées dans l'en-tête), Sélectionnez En tête comme paramètre de type de papier.
Le document originau n'est pas entrainé dans l'ADF
Envisagez les possibilités suivantes.
Des documents originaux non pris en charge par l'ADF sont utilisés.
Solutions
Utilisez des originaux pris en charge par l'ADF.
→ « Spécifications de l'ADF » à la page 238
Les documents originaux sont incorpètement charges.
Solutions
Chargez les documents originaux dans le bon sens et faites glisser le guide l'real de I'ADF contre le bord des documents originaux.
Trop de feuilles sont chargées dans l'ADF.
Solutions
Ne chargez pas les documents originaux au-delà de la ligne indiquée par le symbole triangulaire sur l'ADF.

Le document original glisse lorsque des résidus sont présents sur le rouleau.
Solutions
Nettoyez l'intérieur de IADF.
« Nettoyage du chargeur automatique de documents » à la page 113
Les documents originaux ne sont pas détectés.
Solutions
Sur l'écran de copie, de numérisation ou de télécopie, vérifie que l'icone de l'ADF est allumée. Si tel n'est pas le cas, placez à nouveau les originaux.
La qualité d'impression, de copie, de numérisation et de télécopie est mauvaise
La qualité d'impression est mauvaise
Couleur absente, apparition de bandes ou de couleurs inattendues sur les tirages


Il est possible que les buses de la tete d'impression soient obstruées.
Solutions
Procedez à une vérification des buses pour savoir si les buses de la tete d'impression sont obstruées. Lancez une Procedure de vérification des buses, puis nettoyez la tete d'impression si l'une des buses de la
tête d'impression est obstruée. Si vous n'avez pas utilisé l'imprimante pendant une longue période, les buses des têtes d'impression peuvent être obstruées et les gouttes d'encre peuvent ne pas'être libérées.
« Vérification et nettoyage de la tête d'impression » à la page 108
Des bandes colorées apparaisent à intervalles de 3.3 cm environ

Envisagez les possibilités suivantes.
Le type de papier ne correspond pas au papier charge.
Solutions
Sélectionnez le paramètre de type de papier adapté en fonction du type de papier chargé dans l'imprimante.
→ « List des types de papier » à la page 27
La qualité d'impression est régée sur une valeur trop BASSE.
Solutions
Lors de l'impression sur du papier ordinaire, selectionnez un parametre de qualite plus elevé.
Windows
Selectionnez Supérieure au niveau de Qualité dans l'onglet Principal du pilote d'impression.
Mac OS
Réglez Qualité sur Fine dans le menu Configuration Imprimante de la boîte de dialogue d'impression.
La tête d'impression n'est pas alignée.
Solutions
Sélectionnez le menu Entretien > Alignment de la tête > Alignment horizontal sur le panneau de commande pour aligner la tête d'impression.
Impressions flues, bandes verticales ou problème d'alignement

Envisagez les possibités suivantes. Vérifiez les causes et suivez les solutions dans l'ordre de haut en bas.
La tête d'impression n'est pas alignée.
Solutions
Sélectionnez le menu Entretien > Alignment de la tête > Alignment vertical sur le panneau de commande pour aligner la tête d'impression.
Le paramètre d'impression bidirectionnelle est désactivé.
Solutions
Si la qualité d'impression ne s'améliore pas, même après avoir aligné la tête d'impression, désactivez le paramètre bidirectionnel.
Lors de l'impression bidirectionnelle (ou à haute vitesse), la tete d'impression imprime tout en se déplaçant dans les deux sens et il est possible que les lignes verticales ne soient pas alignées. La désaction de ce paramètre peut réduire la vitesse d'impression, mais améliorer la qualité d'impression.
Windows
Désélectionnez Impression bidirectionnelle au niveau de l'onglet Plus d'options du pilote d'impression.
Mac OS
Sélectionnez Préférences Système dans le menu Apple > Imprimantes et scanners (ou Impression et numérisation, Impression et télécopie), puis Sélectionnez l'imprimante. Cliquez sur Options et fournitures > Options (ou Pilote). Sélectionnez Non pour le paramètre Impression bidirectionnelle.
Les tirages sont vierges

Il est possible que les buses de la tete d'impression soient obstruées.
Solutions
Procedez à une vérification des buses, puis essayez Nettoyage auto si les buses de la tete d'impression sont obstruées.
« Vérification et nettoyage de la tête d'impression » à la page 108
« Exécution de Nettoyage auto » à la page 110
Solutions
Modifiez les paramètres d'impression pour correspondre à la taille du papier chargé dans le bac. Chargez dans l'imprimante du papier qui correspond aux paramètres d'impression.
Plusieurs feuilles de papier sont entrainées dans l'imprimante à la fois.
Solutions
Reportez-vous à ce qui suit pour empêcher que plusieurs feuilles de papier ne soient entrainées dans l'imprimante à la fois.
→ « Plusieurs feuilles de papier sont entrainées en même temps » à la page 162
Le papier est taché ou éraflé

Envisagez les possibilités suivantes.
Le papier n'est pas chargé correctement.
Solutions
Si des bandes horizontales (perpendicularaires au sens d'impression) apparaissent ou si la partie supérieure ou inférieure du papier est tachée, chargez le papier dans le bon sens et faites glisser les guides latéraux contre les bords du papier.
«Chargement du papier » à la page 28
Le trajet du papier est sale.
Solutions
Si des bandes verticales (paralleles au sens d'impression) apparaissent ou si le papier est taché, nettoyez le trajet du papier.
« Nettoyage du trajet du papier en cas de traces d'encre » à la page 111
Le papier est gondole.
Solutions
Placez le papier sur une surface plane pour voir s'il est gondole. Si c'est le cas, aplatisseze-le.
Le verso du papier a ete imprimé avant que I'autre cote ne soit sec.
Solutions
Lorsque vous effectuez une impression recto verso manuelle, vérifie que l'encre est complètement sèche avant de charger de nouveau du papier.
Dans le cadre d'une impression recto verso automatique, la densité d'impression est trop élevé et le temps de séchage trop court.
Solutions
Lors de l'utilisation de la fonctionnalité d'impression recto verso automatique et de l'impression de données haute densité telles que des images et des graphiques, réduisez la densité d'impression et augmentez la durée de séchage.
Les photos imprimées sont collantes

L'impression a été effectué du mauvais côté du papier photo.
Solutions
Vérifiez que vous imprimez sur la face imprimable. En cas d'impression sur la mauvaise face du papier photo, vous devez nettoyer le trajet du papier.
« Nettoyage du trajet du papier en cas de traces d'encre » à la page 111
Des images ou des photos sont imprimées dans des couleurs imprésvues

Envisagez les possibilités suivantes.
Il est possible que les buses de la tete d'impression soient obstruées.
Solutions
Procedez à une vérification des buses pour savoir si les buses de la tête d'impression sont obstruées. Lancez une procédure de vérification des buses, puis nettoyez la tête d'impression si l'une des buses de la tête d'impression est obstruée. Si vous n'avez pas utilisé l'imprimante pendant une longue période, les buses des têtes d'impression peuvent être obstruées et les gouttes d'encre peuvent ne pas'être libérées.
« Vérification et nettoyage de la tête d'impression » à la page 108
Une correction des couleurs a ete applicuee.
Solutions
En cas d'impression depuis le pilote d'impression Windows, le paramètre d'ajustement automatique de photo Epson est appliqué par défaut en fonction du type de papier. Essayez de modifier le paramètre.
Dans l'onglet Plus d'options, Sélectionnez Perso. dans Correction des couleurs, puis cliquez sur Plus d'options. Remplacez le paramètre Correction de la scène de Automatique par n'importe qu'elle autre option. Si la modification du paramètre ne fonctionne pas, utilisez un mode de correction des couleurs autre que PhotoEnhance dans Couleur.
→ « Réglage des couleurs d'impression » à la page 48
Les couleurs des tirages different de celles à l'écran

Les couleurs du périphérique d'affichage n'ont pas été ajustées correctement.
Solutions
Les périphériques d'affichage tels que les écrans d'ordinateur possèdent leurs propres propriétés d'affichage. Si l'affichage est déséquilré, les images ne s'affient pas avec la luminosité et les couleurs déquates. Reglez les propriétés du périphérique. Si vous utilisez Mac OS, effectuez aussi l'opération suivante.
Accédez à la zone de dialogue d'impression. Sélectionnez Correspondance des couleurs dans le menu contextual, puis Sélectionnez ColorSync.
Le périphérique d'affichage reflète la lumière.
Solutions
Évitez un éclairage direct par le soleil et vérifie l'image dans des conditions déclairage adaptées.
La résolution du péripérique d'affichage est élevé.
Solutions
Les couleurs peuvent différer de celles qui apparaissent sur des péripériques connectés tels que smartphones ou tablettes dotés d'un écran haute résolution.
Le périphérique d'affichage et l'imprimante ne produit pas les couleurs de la même manière.
Solutions
Les couleurs qui apparaissent à l'écran ne sont pas parfaitement identiques à celles qui sont imprimées sur papier, car le périphérique d'affichage et l'imprimante n'utilisant pas le même processus de rendu des couleurs. Ajustez les propriétés des couleurs jusqu'à ce quelles soientidentiques.
Impression sans marges impossible

L'option sans marges n'est pas définie dans les paramètres d'impression.
Solutions
Sélectionnez le paramètre sans marges dans les paramètres d'impression. Si vous Sélectionné un type de papier qui ne prend pas en charge l'impression sans marges, vous ne pouvez pas sélectionner l'option Sans marges. Sélectionné un type de papier qui prend en charge l'impression sans marges.
Windows
Selectionnez Sans marges au niveau de l'onglet Principal du pilote d'impression.
Mac OS
Sélectionnez un format de papier sans marges dans Taille papier.
« Papier pour impression sans marge » à la page 211
Les bords de l'image sont rognés lors de l'impression sans marges

L'imagéétant légèrement agrandie,les parties qui dépassent sont rognées.
Solutions
Selectionnez un paramètre d'agrandissement moins élevé.
Windows
Cliquez sur Configuration à côté de la case à cocher Sans marges au niveau de l'onglet Principal, puis modifie les paramètres.
Mac OS
Modifiez le paramètre Extension dans le menu Configuration Imprimante de la zone de dialogue d'impression.
Le rapport hauteur/largeur des données de l'image et de la taille du papier est différent.
Solutions
Si le rapport hauteur/largeur des données de l'image et de la taille du papier est différent, le côté long de l'image est rogné s'il dépasse le côté long du papier.
La position, la taille ou les marges de l'impression sont incorrectes

Envisagez les possibités suivantes.
Le papier n'est pas charge correctement.
Solutions
Chargez le papier dans le bon sens et faites glisser le guide lateral contre le bord du papier.
«Chargement du papier » à la page 28
Solutions
Sélectionnez le paramètre de taille de papier adapté.
Les marges dans l'application logicielle ne sont pas comprises dans la zone d'impression. Solutions
Réglez les marges dans l'application de manière à ce quelles soient inclues dans la zone imprimable.
«Zone imprimable » à la page 236
<BxLx·x斥彗二ZA才鍙·i2蕴·-8Q/7r b8 x NBxBkBcT,B·;EEPxJ2;1Mu
?;?▲??
06A'HcG-oo;Oo;COY!"A;eO'ro 00ICrμaLo=+u)"ma-N-hfuhAsAoWoo ryooy2II,Uio-CEas-AEOoeWuzXIE}0'^-C ONAE N=OPE''?q{C"auz,zaa'(UE-Oofo
Envisagez les possibilités suivantes.
Le cable USB n'est pas correctement branché.
Solutions
Connectez fermement le cordon USB à l'imprimante et à l'ordinateur.
Une tâche est en attente d'impression.
Solutions
Annulez toutes les tâches d'impression en attente.
L'ordinateur a eté placé manuellement en mode Hibernation ou Veille lors de l'impression.
Solutions
Ne mettez pas l'ordinateur en mode Hibernation ou Veille manuellement lors de l'impression. Des pages de texte éraflé peuvent être imprimées la prochaine fois que vous démarrez l'ordinateur.
Vous utilisez le pilote d'imprimante pour une imprimante différente.
Solutions
Assurez-vous que le pilote d'imprimante que vous utilisez est bien pour cette imprimante. Vérifiez le nom de l'imprimante en haut de la fenêtre du pilote d'imprimante.
L'imag imprimée est inversee

Les paramètres d'impression sont régés pour inverser l'image horizontally.
Solutions
Désactivez les paramètres d'images miroirs dans le pilote de l'imprimante ou l'application.
Windows
Désélectionnez Image miroir au niveau de l'onglet Plus d'options du pilote d'impression.
Mac OS
Désélectionnez Image miroir dans le menu Configuration Imprimante de la boîte de dialogue d'impression.
Motifs de mosaïque dans les impressions

Des images ou photos ont ete imprimees a basre resolution.
Solutions
Si vous imprimez des images ou des photos, utilisez des données haute résolution. Si elles s'affichent bien sur un écran, les images provenant de sites Web ont souvent une faible résolution, ce qui peut diminuer la qualité d'impression.
La qualité de copie est médiocre
Couleur absente, apparition de bandes ou de couleurs inattendues sur les copies


Il est possible que les buses de la tete d'impression soient obstruées.
Solutions
Procedez à une vérification des buses pour savoir si les buses de la tête d'impression sont obstruées. Lancez une procédure de vérification des buses, puis nettoyez la tête d'impression si l'une des buses de la tête d'impression est obstruée. Si vous n'avez pas utilisé l'imprimante pendant une longue période, les buses des têtes d'impression peuvent être obstruées et les gouttes d'encre peuvent ne pas'être libérées.
« Vérification et nettoyage de la tête d'impression » à la page 108
Des bandes colorées apparaisent à intervalles de 3.3 cm environ

Envisagez les possibités suivantes.
Le type de papier ne correspond pas au papier charge.
Solutions
Sélectionnez le paramètre de type de papier adapté en fonction du type de papier chargé dans l'imprimante.
→ « List des types de papier » à la page 27
La qualité d'impression est régée sur une valeur trop BASSE.
Solutions
Lors de l'impression sur du papier ordinaire, selectionnez un parametre de qualite plus elevé.
Sélectionnez Supérieure dans Qualité.
« Qualité : » à la page 61
La tete d'impression n'est pas alignée.
Solutions
Sélectionnez le menu Entretien > Alignment de la tête > Alignment horizontal sur le panneau de commande pour aligner la tête d'impression.
Copies flues, bandes verticales ou problème d'alignement

emnahen ane Aufdruck. W 5008 "Regel
Envisagez les possibilités suivantes.
La tete d'impression n'est pas alignée.
Solutions
Sélectionnez le menu Entretien > Alignment de la tête > Alignment vertical sur le panneau de commande pour aligner la tête d'impression.
Les tirages sont vierges

Il est possible que les buses de la tete d'impression soient obstruées.
Solutions
Procedez à une vérification des buses, puis essayez Nettoyage auto si les buses de la tete d'impression sont obstruées.
« Vérification et nettoyage de la tête d'impression » à la page 108
→ « Execution de Nettoyage auto » à la page 110
Solutions
Modifiez les paramètres d'impression pour correspondre au format du papier chargé dans le bac. Chargez dans le bac du papier qui correspond aux paramètres d'impression.
Plusieurs feuilles de papier sont entrainées dans l'imprimante à la fois.
Solutions
Reportez-vous à ce qui suit pour empêcher que plusieurs feuilles de papier ne soient entrainées dans l'imprimante à la fois.
→ « Plusieurs feuilles de papier sont entrainées en même temps » à la page 162
Le papier est taché ou éraflé

Envisagez les possibilités suivantes.
Le papier n'est pas chargé correctement.
Solutions
Si des bandes horizontales (perpendicularaires au sens d'impression) apparaissent ou si la partie supérieure ou inférieure du papier est tachée, chargez le papier dans le bon sens et faites glisser les guides latéraux contre les bords du papier.
«Chargement du papier » à la page 28
Le trajet du papier est sale.
Solutions
Si des bandes verticales (paralleles au sens d'impression) apparaissent ou si le papier est taché, nettoyez le trajet du papier.
« Nettoyage du trajet du papier en cas de traces d'encre » à la page 111
Le papier est gondole.
Solutions
Placez le papier sur une surface plane pour voir s'il est gondole. Si c'est le cas, aplatisseze-le.
Les photos copiees sont collantes

La copie a ete effectuée du mauvais cote du papier photo.
Solutions
Assurez-vous de copier sur le côte imprimable. Si par mégarde vous avez imprimé sur le mauvais côte du papier photo, vous devrez nettoyer le trajet du papier.
«Nettoyage du trajet du papier en cas de traces d'encre » à la page 111
Copie sans marges impossible

L'option sans marges n'est pas définie dans les paramètres d'impression.
Solutions
Selectionnez Copie > Paramètres avances > Sans bordure Copie, puis activéz le paramètre. Si vous selectionnez un type de papier qui ne prend pas en charge l'impression sans marges, vous ne pourrez pas activer ce paramètre. Selectionnez un type de papier qui prend en charge l'impression sans marges.
« Papier pour impression sans marge » à la page 211
Les bords de l'image sont rognés lors de la copie sans marges

L'image étant légèrement agrandie, les parties qui dépassent sont rognées.
Solutions
Selectionnez un paramètre d'agrandissement moins élevé.
Sur le panneau de commande, selectionnéz Copie > Paramètres avancés > Sans bordure Copie > Extension, puis modifiez le paramètre.

Envisagez les possibilités suivantes.
Le papier n'est pas charge correctement.
Solutions
Chargez le papier dans le bon sens et faites glisser le guide latorial contre le bord du papier.
«Chargement du papier » à la page 28
Les originaux ne sont pas positionnés correctement.
Solutions
Assurez-vous que l'original est placé correctement par rapport aux marques d'alignement.
Si le bord de l'imag numérisé manque, eloignez légerement le document original du bord de la vitre du scanner.
« Positionnement des originaux » à la page 31
La vitre du scanner présente de la poussière ou de la saleté.
Solutions
Lorsque vous placez les originaux sur la vitre d'exposition, enlevez la poussière ou la saleté collée sur les originaux, puis nettoyez la vitre du scanner. En cas de poussière ou de taches sur la vitre, il est possible que la poussière ou les taches soient inclues dans la zone de copie, ce qui entraîne une position de copie incorrecte ou une réduction des images.
«Nettoyage de la Vitre du scanner » à la page 112
Solutions
Sélectionnez le paramètre de taille de papier adapté.
Apparition de couleurs irrégulières, de taches, points ou lignes droites sur l'image copiée

Envisagez les possibilités suivantes.
Le trajet du papier est sale.
Solutions
Pour nettoyer le trajet du papier, chargez et ejectez le papier sans imprimer.
« Nettoyage du trajet du papier en cas de traces d'encre » à la page 111
La vitre du scanner ou les originaux presentent de la poussière ou de la saleté.
Solutions
Retirez la poussière ou la saleté des originaux et nettoyez la vitre du scanner.
« Nettoyage de la Vitre du scanner » à la page 112
L'ADF ou les documents originauxprésentent de la poussière ou de la saleté.
Solutions
Nettoyez l'ADF, et éliminez toute poussière et ou saleté des documents originaux.
« Nettoyage du chargeur automatique de documents » à la page 113
L'original a eté plaqué avec trop de force.
Solutions
Si vous appuyez trop fort, les images poursaient etre flues, tachees ou parsemées de points.
N'appuyez pas trop fort sur les originaux ni sur le capot de documents.
« Positionnement des originaux » à la page 32
La densité de copie est trop élevé.
Solutions
Diminuez la densité de copie.
« Options de menu de base pour la copie » à la page 59
Des motifs moirés (hachures croisées) apparaisent sur l'image copié

Si l'original est un document imprimé comme un magazine ou un catalogue, des points apparaissent avec un effet de moiré.
Solutions
Modifiez le paramètre d'agrandissement ou de réduction. Si un moiré apparait toujours, positionné l'original avec un angle sensiblement différent.
« Options de menu avances pour la copie » à la page 60
Une image du verso du document original apparait sur l'image copiee

Envisagez les possibilités suivantes.
Lorsque vous numérisez des originaux, les images prsentes sur le verso peuvent être numériées en même temps.
Solutions
Placez l'original contre la vitre du scanner, puis recouvre-ile d'une feuille de papier noir.
« Positionnement des originaux » à la page 32
La densité de copie est trop élevé.
Solutions
Diminuez la densité de copie.
« Options de menu de base pour la copie » à la page 59
Le texte ou l'image copiés depuis l'ADF est resserré ou étiré
enthalten alle
Aufdrueh W
↓5008 “Regal
enthalten alle
Aufdruck W
↓5008 “Regal
Il se peut que certains originaux n'aient pas ete numeraises correctement depuis l'ADF.
Solutions
Placez les originaux contre la vitre du scanner.
Selectionnez ② , puis selectionnez Comment faire pour > Placez les originaux > Vitre du scanner. Selectionnez Terminer pour fermer l'écran d'animation.
Problèmes relatifs aux images numériées
Les couleurs de l'image numérique depuis la vitre du scanner ne sont pas homogènes, ou celle-ci présente de la saleté ou des taches

La vitre du scanner ou les originaux present de la poussière ou de la saleté. Solutions
Retirez la poussière ou la saleté des originaux et nettoyez la vitre du scanner.
« Nettoyage de la Vitre du scanner » à la page 112
L'original a eté plaqué avec trop de force. Solutions
Si vous appuyez trop fort, les images poursaient etre flues, tachées ou parsemées de points. N'appuyez pas trop fort sur les originaux ni sur le capot de documents.
« Positionnement des originaux » à la page 32
Des lignes droites apparaisent lors de la numérisation depuis l'ADF

L'ADF ou les documents originauxprésentant de la poussière ou de la saleté. Solutions
Nettoyez l'ADF, et éliminez toute poussière et ou saleté des documents originaux.
« Nettoyage du chargeur automatique de documents » à la page 113
Apparition d'un décalage dans l'arrière-plan des images numériées

Lorsque vous numérisez des originaux, les images prsentes sur le verso peuvent être numériées en même temps.
Solutions
Lorsque you numérisez depuis la vitre du scanner, placez un sous-main ou papier noir sur l'original.
impossible de numériser la zone correcte sur la vitre du scanner

Les originaux ne sont pas positionnés correctement.
Solutions
Assurez-vous que l'original est placé correctement par rapport aux marques d'alignement.
Si le bord de l'imag numérisé manque, eloignez légerement le document original du bord de la vitre du scanner.
« Positionnement des originaux » à la page 31
La vitre du scanner présente de la poussière ou de la saleté.
Solutions
Retirez les débris ou la poussière de la vitre du scanner et du couvercle du document. Si de la salissure ou de la poussière se trouvent autour de l'original, la plage de numérisation s'estend pour l'inclure.
« Nettoyage de la Vitre du scanner » à la page 112
Impossible de résoudre les problèmes liés à l'image numérique
Vérifiez les éléments suivants si vous avez essayé toutes les solutions, mais que vous n'vez pas résolu votre problème.
Les paramètres du logiciel de numérisation posent problème.
Solutions
Utilisez Epson Scan 2 Utility pour réinitialiser les paramètres du logiciel du scanner.
Remarque:
Epson Scan 2 Utility est une application fournie avec le logiciel du scanner.
Cliquez sur le bouton Démarrer, puis Sélectionnéz All apps > EPSON > Epson Scan 2 Utility.
Windows 10
Cliquez sur le bouton Demarrer, puis selectionné EPSON > Epson Scan 2 Utility.
Windows 8.1/Windows 8
Entrez le nom de l'application dans l'icone Rechercheur, puis selectionnee l'icone affichee.
Windows 7/Windows Vista/Windows XP
Cliquez sur le bouton Demarrer et selectionnez Tous les programmes ou Programmes > EPSON > Epson Scan 2 > Epson Scan 2 Utility.
Mac OS
Sélectionnez Aller > Applications > Epson Software > Epson Scan 2 Utility.
- Sélectionnez l'onglet Autre.
- Cliquez sur Réinitialiser.
Si l'initialisation ne résout pas le problème, désinstallé puis réinstallé le logiciel du scanner.
« Installation séparée des applications » à la page 122
Le texte ou l'image numérisés depuis l'ADF est resserré ou étiré
enthalten alle
Aufdrueck W
↓5008 “Regal
enthalten alle
Aufdruck W
↓5008 “Regal
Il se peut que certains originaux n'ayent pas ete numeraises correctement depuis IADF. Solutions
Placez les originaux contre la vitre du scanner.
Selectionnez ⑦ , puis selectionnez Comment faire pour > Placez les originaux > Vitre du scanner. Selectionnez Terminer pour fermer l'écran d'animation.
La qualité du fax envoyé est médiocre
La qualité du fax envoyé est médiocre

Envisagez les possibilités suivantes.
La vitre du scanner ou les originaux present de la poussière ou de la saleté.
Solutions
Retirez la poussière ou la saleté des originaux et nettoyez la vitre du scanner.
«Nettoyage de la Vitre du scanner » à la page 112
L'original a eté plaqué avec trop de force.
Solutions
Si vous appuyez trop fort, les images poursaient etre flues, tachees ou parsemées de points.
N'appuyez pas trop fort sur les originaux ni sur le capot de documents.
« Positionnement des originaux » à la page 32
Des lignes droites apparaisent lors de l'envoi de fax depuis l'ADF

L'ADF ou les documents originaux presentent de la poussière ou de la saleté.
Solutions
Nettoyez l'ADF, et éliminez toute poussière et ou saleté des documents originaux.
« Nettoyage du chargeur automatique de documents » à la page 113
La qualité d'image du fax envoyé est médiocre

Envisagez les possibilités suivantes.
La résolution est régée sur faible.
Solutions
Si vous ne connaissiez pas les performances du télécopieur de l'expéditeur, réglez les paramètres suivants avant d'envoyer un fax.
□ Sélectionnez Fax > Param. fax puis effectuez le réglage du paramètre Résolution pour obtenir la meilleure qualité d'image possible.
Sélectionnez Fax > Param. fax, puis activez Envoi direct.
À noter que si vous reglez Résolution sur Photo mais que vous envoyez le fax sans activer Envoi direct, le fax peut être envoyé à une résolution faible.
Le paramètre ECM est désactivé.
Solutions
Selectionnez Param. > Réglages généraux > Param. fax > Param de base et activez le paramètre ECM depuis le panneau de commande. Cela doit effacer les erreurs dues aux problèmes de connexion. À noter que la vitesse d'envoi et de réception de fax peut être plus lente que lorsque le paramètre ECM est désactivé.
Une image du verso du document original apparait sur le fax envoyé

Envisagez les possibilités suivantes.
Lorsque vous numérique des originaux, les images prsentes sur le verso peuvent être numériées en même temps.
Solutions
Placez l'original contre la vitre du scanner, puis recouvre-le d'une feuille de papier noir.
« Positionnement des originaux » à la page 32
Le paramètre de densité est élevé lors de l'envoi de télécopies.
Solutions
Sélectionnez Fax > Param. fax > Param. de numéro. > Densité, puis diminuez la valeur du paramètre.
La qualité des fax reçus est mauvaise
La qualité d'image des fax reçus est médiocre

Envisagez les possibilités suivantes.
Le paramètre ECM est désactivé.
Solutions
Selectionnez Param. > Réglages généraux > Param. fax > Param de base et activez le paramètre ECM depuis le panneau de commande. Cela doit effacer les erreurs dues aux problèmes de connexion. À noter que la vitesse d'envoi et de réception de fax peut être plus lente que lorsque le paramètre ECM est désactivé.
Le réglage de qualité d'image est faible sur le télécopieur de l'expéditeur.
Solutions
Demandez à l'expéditeur d'envoyer des fax de meilleure qualité.
impossible de selectionner le type de papier ou la source de papier dans le pilote d'impression
Un pilote d'imprimante authenticate Epson n'a pas ete instalé.
Solutions
Si un pilote d'imprimante Epson authenticate (EPSON XXXXX) n'a pas ete Installe, les fonctions disponibles sont limitees. Nous vous recommandons d'utiliser un pilote d'imprimante Epson authenticate.
Un message s'affiche sur l'écran LCD
Si un message d'erreur est affiché sur l'écran LCD, suivez les instructions à l'écran ou les solutions ci-dessous pour résoudre le problème.
| Messages d'erreur | Solutions |
| Err impr
Allumez l'imprimante. Consultez votre documentation pour plus de détails. | Retirez tout le papier et tout le matériel de protection dans l'imprimante. Si le message d'erreur s'affiche toujours, contactez le support Epic. |
| Manque de papier dans XX. | Chargez le papier, puis insérez à fond le bac papier. |
| Vouces doivent remplaner Cartouches d'encre. | Afin d'obtenir une qualité d'impression optimale et de protégger la tête d'impression, il reste une réserve d'encre variable dans la cartouché lorsque l'imprimante indique qu'il est temps de la replacer. Remplacez la cartouché lorsque vous y étés invite.
« Codes des cartouches d'encre » à la page 212 |
| Le tampon encreur d'impression sans cordure de l'imprimement est presque en fin de vie. Il n'est pas complaçable par l'utilisateur. Contactez le support Epic. | Contactez Epic ou un fournisseur de services Epic agéré pour replacer le tampon encreur pour impression sans marges*. L'utilisateur ne peut pas procéder lui-même à l'entretien de cette pièce. Le message s'affiche jusqu'à ce que le tampon encreur soit replacé.
Appuyez sur OK pour reprendre l'impression. |
| Le tampon encreur d'impression sans cordure de l'imprimement a atteint sa fin de vie. Il n'est pas complaçable par l'utilisateur. Contactez le support Epic. | Contactez Epic ou un fournisseur de services Epic agéré pour replacer le tampon encreur pour impression sans marges*. L'utilisateur ne peut pas procéder lui-même à l'entretien de cette pièce.
Touteaux, les fonctionnalités hors impression comme la numérisation sont toujours disponibles. |
| Affichage auto Config. papier est réalisé sur Désactivé. Certaines fonctions peuvent ne pas être disponibles. Pour plus de détails, consultez votre documentation. | Si l'options Affichage auto Config. papier est désactivée, vous ne pouvez pas utiliser l'application AirPrint. |
| Erreur système
Une erreur système est survenue. Rallumez le pérophérique. Si cela se produit à nouveau, contactez le Support Epic. | Essayez les solutions suivantes:
1. Éteignez l'imprimante puis rallumez-la.
2. Si vous utilise une connexion Wi-Fi, éteignez le routeurs sans fil et rallumez-le.
Si le message d'erreur s'affiche always, notez le code d'erreur et contactez l'assistance Epic. |
| Aucune tonalité détectée. | Le problème peut être résolu en sélectionnant Param. > Réglages généraux > Param. fax > Param de base > Type de ligne, puis en sélectionnant PBX. Si vous système téléphonique nécessite un code d'accès externe pour acceder à une ligne externe, définisse le code d'accès après avoir sélectionné PBX. Saisissez # (dièse) au lieu du code d'accès réel pour saisir un numéro de fax externe. La connexion est ainsi plus sure.
Si le message d'erreur s'affiche always, désactiver les paramètres Détction de tonalité. La désactivation de cette fonctionnalité peut toutes supprimier le premier chiffre du numéro de télécopier et envoyer le fax à un mauvais numéro. |
| La combinaison de l'adresse IP et du masque de sous-résseau est invalide. Consultez la documentation pour plus de détails. | Saisissez l'adresse IP ajustée ou la passerelle par défaut. Pour obtenir de l'aide, contactez la personne qui a mis en place le réseau. |
| Mettez à jour le certificat racine pour utiliser les services cloud. | Exécutez Web Config et mettez le certificat racine à jour. |
| Vérifiez si les paramètres de port de l'Imprimante ( comme l'Adresse IP ) ou le pilote d'imprimante sont corrects par ordinateur. | Cliquez sur File d'atte nau niveau de l'onglet Utilitaire du pilote d'impression. Assurez-vous que le port de l'imprimante est bien sélectionné sous Propriété > Port dans le menu Imprimante comme suit.Sélectionnez USBXXX pour une connexion USB ou EpsonNet Print Port pour une connexion réseau. |
| Vérifiez si les réglages de ports ou si le pilote d'impression sont corrects avec l'ordinateur.Consultez votre documentation pour les détails. |
| Recovery ModeUpdate Firmware | L'imprimante a démarré en mode de récepération, car la mise à jour du micrologiciel a échoué. Procédez comme suit pour tenter à nouveau de mettre le micrologiciel à jour.1. Connectez l'ordinateur à l'imprimante à l'aide d'un cable USB. (En mode de récepération, vous ne pouvez pasmettre le micrologiciel à jour via une connexion réseau.)2. Pour en savoir plus, consultez votre site Web Epson dans votre langue. |
- Au cours de certains cycles d'impression, une quantité minime d'encre excédante peut être absorbée par le tampon encreur d'impression sans marge. Pour empêcher toute fuite depuis le tampon, le produit est concu pour interrompre l'impression sans marge des que le tampon atteint sa limite. La nécessité et la fréquence de cette procédure dépendant du nombre de pages que vous imprimez à l'aide de l'option d'impression sans marge. La nécessité de replacer le tampon ne signifie pas que votre imprimante ne fonctionne plus conformément aux spécifications. L'imprimante vous informe lorsque le remplacement du tampon est nécessaire, mais celui un fournisseur de services Epson agréé peut réaliser cette opération. La garantie Epson ne couvre pas le coût de ce remplacement.
Bourrage papier
Consultez l'erreur affichée sur le panneau de commande et suivez les instructions pour dégager le papier coince, y compris les morceaux déchirés. Ensuite, supprimez l'erreur. L'écran LCD affiche une animation vous montrant comment-retirer le papier coince.

Attention:
Ne touchez jamais les touches du panneau de commande lorsque vous main se trouve à l'intérieur de l'imprimante. Si l'imprimante se met à fonctionner, vous pourriez être blessé. Veillez à ne pas toucher les parties saillantes pour éviter les blessures.

Important:
Retirez le papier coincide avec précaution. Si vous le retirez vigoureusement, vous risquez d'endommager l'imprimante.
Retrait du papier coince

Attention:
Veillez à ne pas coincer vos mains ou vos doigs lors de l'ouverture ou de la fermeture du scanner. Vous risqueriez de vous bleisser.
Ne touchez jamais les touches du panneau de commande lorsque vous main se trouve à l'intérieur de l'imprimante. Si l'imprimante se met à fonctionner, vous pourriez être blessé. Veillez à ne pas toucher les parties saillantes pour éviter toute blessure.
- Retirez le couvercle arrêté.

- Retirez le papier coince du couvercle arriere.

- Insérez le couvercle arrêté dans l'imprimante.
- Refermez le capot de documents s'il est ouvert.
- Soulevez le module scanner avec vos deux mains jusqu'à ce qu'il se bloque.

Ne touche pas le cable plat blanc ni le film translucide situé à l'intérieur de l'imprimante. Faute de quoi vous risquè de provoquer un dysfonctionnement.

8. Fermez le scanner.

Remarque:
Le scanner est concu pour se refermer lentement et opposer une légere resistance afin d'eviter de bleisser vos doigts.
Continuez à le referrer malgré la légère résistance.
Retrait de papier coincide dans le ADF
- Ouvrez le capot du ADF.

- Soulevez le bac d'alimentation du ADF.

Important:
Vérifiez que vous avez bien ouvert le capot du ADF avant de soulever le bac d'alimentation du ADF. Dans le cas contraire, le ADF pourrait être endommagé.

- Abaissez le bac d'alimentation de l'ADF.

- Rabattez le capot du ADF jusqu'à ce qu'il s'énclenche.

Prévention des bourges papier
Si des bourrages papier se produit refsequement, vérifie les points suivants.
Placez l'imprimante sur une surface plane et utilisez-la dans les conditions ambiantes recommandees.
« Caracteristiques environnementales » à la page 243
Utilisez du papier pris en charge par cette imprimante.
« Papiers disponibles et capacités » à la page 209
Veuillez observer les précautions de manipulation du papier.
« Précautions de manipulation du papier » à la page 26
Chargez le papier dans le bon sens et faites glisser le guide latorial contre le bord du papier.
«Chargement du papier » à la page 28
Ne chargez pas plus de feuilles que le nombre indiqué pour le papier.
Chargez une feuille de papier à la fois si vous avez charge plusieurs feuilles de papier.
Assurez-vous que les paramètres de format et de type de papier correspondent au format et au type réels du papier chargé dans l'imprimante.
« Lieste des types de papier » à la page 27
Nettoyez le rouleau dans l'imprimante.
« Résolution des problèmes d'entrainment du papier » à la page 106
Le moment est venu de replacer les cartouches d'encre
Précautions de manipulation des cartouches d'encre
Lisez les instructions suivantes avant de proceder au remplacement des cartouches d'encre.
Précautions de stockage pour l'encre
- Maintenez les cartouches d'encre à l'abri de la lumière directe du soleil.
N'entreposez pas les cartouches d'encre dans un endroit trop chaud ou trop froid.
Pour de favorisés résultats, Epson vous recommend d'utiliser les cartouches d'encre avant la date de péremption imprimée sur leur emballage, ou dans les six mois qui suivent l'ouverture de celui-ci, selon ce qui survient en premier.
Pour obtenir des résultats optimaux, stockez les emballages de cartouches d'encre avec la base en bas.
Lorsque you aportez a l'intérieur d'un local une cartouche d'encre precedemment stocke dans un endroit froid, laissez-la se conditionner à la température de la piece pendant trois heures au moins avant de l'utiliser.
Nouvre pas l'emballage de la cartouche d'encre tant que vous nêtes pas pris à l'inposer dans l'imprimante. La cartouche est conditionné sous vide afin de conserver ses performances. Si vous laissez la cartouche hors de son emballage pendant une longue durée avant de l'utiliser, il se peut que l'impression normale ne soit pas possible.
Précautions de manipulation pour le replissage des cartouches d'encre
Veillez a ne pas casser les crochets sur le cote de la cartouche d'encre lorsque vous la retirez de l'emballage.
Ne secouez pas les cartouches d'encre après avoir ouvert l'emballage. Elles pourraient fuir.
□ Vous doivent restorer l'adhésif jaune de la cartouche avant de l'instructor. La qualité d'impression risque sinon de diminuier, ou vous risquez de ne plus pouvoir imprimer. Ne retirez pas et ne déchirez pas l'étiquette apposée sur la cartouche. Cela pourrait provoquer une fuite d'encre.

Ne retirez pas le sceau transparent de la base de la cartouche. Cette derniere pourrait devenir inutilisable.

- Ne touche pas aux parties indiquées sur l'illustration. Cela pourrait perturber le fonctionnement normal et l'impression.

- Installez toutes les cartouches d'encre, sinon vous ne pourrez pas imprimer.
Ne remplacez pas les cartouches d'encre alors que l'appareil est hors tension. Ne retirez pas la tete d'impression manuellement. Vous pourriez endommager l'imprimante.
Ne mettez pas l'imprimante hors tension pendant le chargement de l'encre. Si le chargement de l'encre est incomplet, vous risquez de ne pas pouvoir imprimer.
Ne laisserez pas l'imprimante sans cartouches d'encre installées ou n'eteignez pas l'imprimante pendant le remplacement d'une cartouche. L'encre restante dans les buses de la tete d'impression sechera et vous ne pourrez plus imprimer.
Si vous avez besoin de retirer temporairement une cartouche d'encre, veillez a protegger la zone d'alimentation de l'encre contre les saletés et les poussieres. Stockez la cartouche d'encre dans le même environnement que l'imprimante, en orientant le port d'alimentation de l'encre vers le bas ou sur le cote. Ne stockez pas les cartouches d'encre avec le port d'alimentation de l'encre orienté vers le haut. Le port d'alimentation en encre est equipope d'une valve conque pour recueillir les résidus d'encre. Vous n'vez donc pas besoin de fournir vos propres capuchons ou bouchons.
Les cartouches d'encre retirees peuvent etre maculées d'encre autour de l'orifice d'alimentation en encre. Veillez donc a ne pas mettre d'encre sur la zone qui l'entoure pendant le remplacement des cartouches.
- Cette imprimante utilise des cartouches d'encre équipées d'une puce verte qui surveille les informations telles que le niveau d'encre restant pour chaque cartouche. Cela signifie que même si la cartouche est retiree de l'imprimante avant detre epuisee, vous pouze continuer d'utiliser la cartouche apres l'avoir reinsere dans l'imprimante. Toutefois, la reinsertion de la cartouche peut entrainer une certaine consommation d'encre afin de garantir les performances de l'imprimante.
Pour oblir un rendement maximal de l'encre, ne retirez une cartouche d'encre que lorsque vous etes prt a la remplacer. Il se peut que les cartouches d'encre affichant un faible niveau d'encre ne puissant pas utilisées après reinsertion.
Afin d'obtenir une qualite d'impression optimale et de proteger la tete d'impression, il reste encore une quantite variable d'encre dans la cartouche lorsque l'imprimante indique qu'il est temps de la remplacer. Les rendements estimés excluent cette réserve.
Ne demontez pas ou ne modifiez pas la cartouche d'encre, faute de quoi l'impression risque de ne pas fonctionner normalement.
Vous ne pouvez pas utiliser la cartouche d'encre fournie avec l'imprimante comme cartouche de remplacement.
Consommation d'encre
Pour garantir les performances optimes des têtes d'impression, une certaine quantité d'encre provenant de toutes les cartouches est consommée pendant les opérations de maintenance. De l'encre peut également être utilisée lorsque vous remplacez la cartouché d'encre ou allumez l'imprimante.
Lorsque vous imprimez en monochrome ou en niveaux de gris, les encre couleur au lieu de l'encre noire peuvent etre utilisées en fonction du parametre de type de papier ou de qualite d'impression. Ceci est du au fait que plusieurs encre couleur sont utilisées pour creer du noir.
L'encre des cartouches fournies avec l'imprimante est partiellement utilisée lors de la configuration initiale. Afin de produit des impressions de haute qualité, la tête d'impression est chargée d'encre. Ce processus unique consomme une certaine quantité d'encre. Par conséquent, il se peut que ces cartouches impriment moins de pages par rapport aux cartouches d'encre suivantes.
Les rendements indiqués peuvent varier en fonction des images imprimées, du type de papier utilisé, de la fréquence des impressions et des conditions environnementales, telles que la température.
Remplacement des cartouches d'encre
Lorsqu'un message vous demande de replacer les cartouches d'encre, selectionnez Comment faire pour et regardez les animations affichées sur le panneau de contrôle afin d'apprendre comment replacer les cartouches d'encre.
Si vous doivent remplaner les cartouches d'encre avant quelles ne soient épuisées, appuyez sur Entretien > Remplact des cartouches sur l'écran d'accueil, puis suivez les instructions à l'écran. Sélectionnez Comment faire pour pouvoir obtenir plus de détails.

Attention:
Veillez à ne pas coincer vos mains ou vos doigs lors de l'ouverture ou de la fermeture du scanner. Vous risqueriez de vous blesser.
Consultez les informations connexes suivantes avant de replacer les cartouches d'encre.
→ « Précautions de manipulation des cartouches d'encre » à la page 193
«Codes des cartouches d'encre » à la page 212
Poursuivre temporairement l'impression sans remplacer les cartouches d'encre
Impression temporaire avec de l'encre noire
Lorsque la cartouche d'encre couleur est vide et qu'il reste de l'encre dans la cartouche d'encre noire, vous pouvez appliquer les paramétres suivants pour continuer à imprimer sur une courte période en utilisant uniquement de l'encre noire.
Type de papier: Papier ordinaire, En tete, Enveloppe
Couleur : Niveau de gris
Sans marges : non sélectionné
□ EPSON Status Monitor 3 : activé (lors de l'impression à partir du pilote d'imprimante sous Windows.)
Cette fonction est uniquement disponible pendant environ cinq jours, remplacez donc la cartouche d'encre epuisée le plus tout possible.
Remarque:
Si EPSON Status Monitor 3 est désacté, pour acceder au pilote de l'imprimante, cliquez sur Paramêtres étendus dans l'onglet Utilitaire, puis selectionnez Activer EPSON Status Monitor 3.
La période de disponibilité dépend des conditions d'utilisation.
Poursuivre temporairement l'impression sans replacer les cartouches d'encre » à la page 196
Continuer temporairement à imprimer avec de l'encre noire uniquement (Windows)
Procedez de l'une des manières suivantes.
Si la fenetre suivante s'affiche, selectionnez Imprimer en noir.

Si la fenêtre suivante s'affiche, annulez l'impression. Ensuite, imprimez à nouveau.

Remarque:
Si vous ne parvenez pas à annuler l'impression depuis l'ordinateur, procédez à l'annulation à laide du panneau de commande de l'imprimante.
Procedez comme suit pour imprimer à nouveau.
- Accedez à la fenêtre du pilote d'impression.
- Désactivez l'option Sans marges au niveau de l'onglet Principal.
- Sélectionnez un Type de papier qui prend en charge Imprimer en noir.
- Sélectionnéz Niveau de gris.
-
Reglez les autres éléments des anglets Principal et Plus d'options selon vos besoin, puis cliquez sur OK.
-
Cliquez sur Imprimer.
- Cliquez sur Imprimer en noir au niveau de la fenetre affichée.
« Impression-temporaire avec de l'encre noire » à la page 196
Continuer temporairement à imprimer avec de l'encre noire uniquement (Mac OS)
Remarque:
Pour utiliser cette fonctionnalité via un réseau, connectez-vous à l'aide du protocole Bonjour.
- Cliques sur l'icone de l'imprimante dans le Ancrer.
- Annulez la tâche.
Remarque: Si vous ne parvenez pas à annuler l'impression depuis l'ordinateur, procédez à l'annulation à laide du panneau de commande de l'imprimante.
- Sélectionnez Préférences Système dans le menu Apple > Imprimantes et scanners (ou Impression et numérisation, Impression et télécopie), puis sélectionnez l'imprimante. Cliquez sur Options et fournitures > Options (ou Pilote).
- Sélectionnéz Oui pour le paramètre Autoriser l'impression en noir-temporaire.
- Accedez à la zone de dialogue d'impression.
- Sélectionnez Configuration Imprimante dans le menu contextuel.
- Sélectionnéz n'importe qu'elle taille de papier, sauf une taille sans marges, pour le paramètre Taille papier.
- Sélectionnez un type de papier qui prend en charge Autoriser l'impression en noir-temporaire en tant que paramètre Support.
- Sélectionnéz Niveau de gris.
- Définissez les autres éléments si nécessaire.
- Cliquez sur Imprimer.
« Impression temporaire avec de l'encre noire » à la page 196
Poursuivre l'impression pour préserver l'encre noire (Windows uniquement)
Lorsque la cartouche d'encre noire est presque vide et qu'il reste suffisamment d'encre dans la cartouche couleur, vous pouvez utiliser un mélange de couleurs pour creer du noir. Vous pouvez poursuivre l'impression tout en préparant une cartouche d'encre noire de remplacement.
Cette fonctionnalité est uniquement disponible lorsque vous sélectionnez les paramètres ci-après dans le pilote de l'imprimante.
Type de papier: Papier ordinaire, En tete
Qualité: Standard
EPSON Status Monitor 3:active
Remarque:
Si EPSON Status Monitor 3 est désacté, pour acceder au pilote de l'imprimante, cliquez sur Paramètres étendus dans l'onglet Utilitaire, puis seLECTIONnez Activer EPSON Status Monitor 3.
Le noir compositaddifferelegerement du noir integral.Enoutre,la vitesse d'impression est reduite.
De l'encro noire est également utilisée afin de garantir la qualite de la tete d'impression.

| Options | Description |
| Oui | Choisissez d'utiliser un mélange de couleurs pour creator du noir. Cette fenêtre s'affichera la prochaine fois que vous imprimerez une tâche similaire. |
| Non | Choisissez de continuer à utiliser l'encre noire restante. Cette fenêtre s'affichera la prochaine fois que vous imprimerez une tâche similaire. |
| Déactivé cette fonction | Choisissez de continuer à utiliser l'encre noire restante. Cette fenêtre ne s'affiche que lorsque vous remplacez la cartouche d'encre noire et que le niveau d'encre est de nouveau faible. |
Le moment est venu de remplacer le boîtier de maintenance
Précautions de manipulation du boîtier de maintenance
Lisez les instructions suivantes avant de proceur au remplacement du boitier de manipulation.
Ne touche pas la puce verte située sur le cote du boitier de maintenance. Cela pourrait perturber le fonctionnement normal et l'impression.
Ne laisses pas tomber le boitier de maintenance et ne l'exposez pas à des chocs violents.
Ne remplacez pas le boitier de maintenance au cours de l'impression, car cela pourrait provoquer une fuite.
Ne retirez pas le boitier de maintenance ni son couvercle (sauf lors de son remplacement) afin d'eviter tout risque de fuite.
Lorsque le couvercle ne peut pas etre rattaché, la boite de maintenance peut ne pas etre installee correctement. Retirez la boite de maintenance et reinstalle-la.
N'incez pas le boitier de maintenance usage avant de l'avoir placé dans le sac en plastique fermé hermetiquement, car cela pourrait provoquer une fuite.
Ne touchez pas les ouvertures de la boite de maintenance au risque de vous tacher avec de l'encre.
Ne réutilisez pas un boîtier de maintenance qui a été retire et laissé de côte pendant une longue période. L'encre contenue dans le boîtier se sera solidifiée, empêchant l'absorption d'encre supplémentaire.
- Maintenez le boîtier de maintenance à l'abri de la lumière directe du soleil.
N'entreposez pas l'imprimante dans un endroit trop chaud ou trop froid.
Remplacement du boîtier de maintenance
Au cours de certains cycles d'impression, une infime quantité d'encre en surplus peut être récapurée dans le boîtier de maintenance. Pour éviter la fuite d'encre depuis le boîtier de maintenance, l'imprimante est conscience pour stopper l'impression lorsque la capacité d'absorption du boîtier de maintenance a atteint ses limites. La nécessité et la fréquence de cette procédure dépendant du nombre de pages imprimées, du type de support et du nombre de cycles de nettoyage effectuels par l'imprimante.
Lorsqu'un message vous demande de replacer le boitier de maintenance, reportez-vous aux animations affichées sur le panneau de commande. La nécessite de replacer le boitier ne signifie pas que votre imprimante ne fonctionne plus conformément aux specifications. La garantie Epson ne couvre pas le coût de ce remplacement. L'utilisateur peut proceeder lui-même à l'entretien de cette piece.



Remarque:
Lorsque le boitier de maintenance est plein, vous ne pouvez pas imprimer ni nettoyer la tete d'impression avant qu'il ne soit remplaced, et ce afin d'aviter toute fuite d'encre. Cependant, vous pouvez effectuer les opérations qui ne n'utilisent pas d'encre, comme la numérisation.
Lorsque l'ecran suivant s'affiche, la piece ne peut pas etre remplacede par les utilisateurs. Contactez l'assistance Epson. L'pression sans marges n'est pas disponible, mais il est possible d'imprimer avec une marge.
Maintenance Error
→ « Précautions de manipulation du boîtier de maintenance » à la page 199
« Code du boîtier de maintenance » à la page 213
L'imprimante ne fonctionne pas comme prévu
L'imprimante ne s'allume pas ou ne s'éteint pas
L'imprimante n'est pas mise sous tension
Envisagez les possibilités suivantes.
Le cordon d'alimentation n'est pas bien branché dans la prise électrique.
Solutions
Assurez-vous que le cable d'alimentation est fermement branché.
La touche n'a pas ete enfoncée assez longtemps.
Solutions
Maintenez la touche enfoncée un peu plus longtemps.
L'imprimante n'est pas mise hors tension
La touche n'a pas ete enfoncée assez longtemps.
Solutions
Maintenez la touche enforcée un peu plus longtemps. Si vous ne pouvez toujours pasmettre l'imprimante hors tension, débranchez le cordon d'alimentation. Pour éviter que la tete d'impression ne s'este, mettez de nouveau l'imprimante sous tension, puis hors tension en appuyant sur la touche .
Mise hors tension automatique
La fonctionnalité Réglages d'arrêt ou Temporisation arrêt est activée.
Solutions
□ Sélectionnez Param. > Réglages généraux > Param de base > Réglages d'arrêt, puis désactive les paramètres Arrêt si inactif et Arrêt si déconnecté.
□ Sélectionnez Param. > Réglages généraux > Param de base, puis désactiver le paramètre Temporisation arrêt.
Remarque:
Votre produit peut dispose de la fonction Reglages d'arrêt ou Temporisation arrêt selon le lieu d'achat.
Le fonctionnement est lent
L'impression est trop lente
Envisagez les possibilités suivantes.
Des applications inutiles sont en cours d'exécution.
Solutions
Fermez toutes les applications inutiles sur votre ordinateur ou périphérique intelligent.
La qualité d'impression est réglée sur une valeur tropélevée.
Solutions
Réduisez le paramètre de qualité.
L'impression bidirectionnelle est désactivée.
Solutions
Activez le paramètre bidirectionnel (ou haute vitesse). Lorsque ce paramètre est activé, la tete d'impression imprime tout en se déplaçant dans les deux sens et la vitesse d'impression augmente.
Windows
Selectionnez Impression bidirectionnelle au niveau de l'onglet Plus d'options du pilote d'impression.
Mac OS
Sélectionnez Préférences Système dans le menu Apple > Imprimantes et scanners (ou Impression et numérisation, Impression et télécopie), puis Sélectionnez l'imprimante. Cliquez sur Options et fournitures > Options (ou Pilote). Sélectionnez Impression bidirectionnelle pour le paramètre Oui.
Mode silencieux est activé.
Solutions
Désactivez Mode silencieux. L'impression peut être ralentie lorsque l'imprimante fonctionne en Mode silencieux.
Panneau de commande
Sélectionnez à l'écran d'accueil, puis sélectionnez Arrêt.
Windows
Sélectionnez Non comme paramètre Mode silencieux dans l'onglet Principal du pilote de l'imprimante.
Mac OS
Sélectionnez Préférences Système dans le menu Apple > Imprimantes et scanners (ou Impression et numérisation, Impression et télécopie), puis Sélectionnez l'imprimante. Cliquez sur Options et fournitures > Options (ou Pilote). Sélectionnez Mode silencieux pour le paramètre Non.
Le routeur sans fil rencontres peut-être des problèmes de connexion au réseau.
Solutions
Redémarrez le routeur sans fil, mais pensez à prévenir les autres utilisateurs connectés au réseau. Si cela ne résout pas le problème, rapprochez l'imprimante du routeur sans fil ou reportez-vous à la documentation fournie avec votre point d'accès.
L'imprimante imprime des données haute densité comme des photos sur du papier ordinaire.
Solutions
Si vous imprimez des données haute densité comme des photos sur du papier ordinaire, l'impression peut prendre du temps pourmaintenir la qualité d'impression. Cela ne constitue pas un dysfonctionnement.
La vitesse d'impression est réduite de manière importante lors de l'impression en continu
La fonction qui empêche la surchauffe et la déterminération du mécanisme de l'imprimante est activée.
Solutions
Vouss pouvez continuer à imprimer. Pour revenir à une vitesse d'impression normale, laissez l'imprimante inactive pendant au moins 30 minutes. La vitesse d'impression ne revient pas à la normale si l'imprimante est hors tension.
La vitesse de numérisation est trop lente
Numérisation à une résolution élevée.
Solutions
Essayez de numériser à une résolution plus faible.
L'écran LCD devient noir
L'imprimante est en mode de veille.
Solutions
Appuyez n'importe où sur l'écran LCD pour rétabrir le statut antérieur de l'imprimante.
Le fonctionnement est bruyant
Mode silencieux est désacté au niveau de l'imprimante.
Solutions
Activez Mode silencieux si l'imprimante est trop bruyante. L'activation de cette fonctionnalité peut réduire la vitesse d'impression.
Panneau de commande
Sélectionnez à l'écran d'accueil, puis sélectionnez On.
Windows
Réglez Mode silencieux sur Oui dans l'onglet Principal du pilote de l'imprimante.
Mac OS
Sélectionnez Préférences Système dans le menu Apple > Imprimantes et scanners (ou Impression et numérisation, Impression et télécopie), puis Sélectionnez l'imprimante. Cliquez sur Options et fournitures > Options (ou Pilote). Sélectionnez Mode silencieux pour le paramètre Oui.
La date et l'heure sont incorrectes
Erreur d'alimentation.
Solutions
Après une coupure de courant causée par un orage ou si l'imprimante reste hors tension pendant une période prolongée, l'horloge peut afficher une heures incorrecte. Réglez correctement la date et l'heure dans Param. > Réglages généraux > Param de base > RÉgl. Date/Heure sur le panneau de commande.
Le certificat racine doit être mis à jour
Executez Web Config et mettez le certificat racine à jour.
« Application de configuration des opérations de l'imprimante (Web Config) » à la page 217
Impossible d'effectuer une impression recto- verso manuelle (Windows)
L'option EPSON Status Monitor 3 est désactivée.
Solutions
Dans l'onglet Utilitaire, cliquez sur Parametes etendus, puis selectionnez Activer EPSON Status Monitor 3.
Cependant, ceci peut ne pas etre disponible si vous accedez à l'imprimante depuis un réseau ou si elle est utilisée en tant qu'imprimante partagée.
Le pilote d'impression Epson n'a pas ete installe correctement.
Solutions
Si le menu Configuration Imprimante ne s'affiche pas sur macOS Catalina (10.15) ou version ultérieure, macOS High Sierra (10.13), macOS Sierra (10.12), OS X El Capitan (10.11), OS X Yosemite (10.10), OS X Mavericks (10.9) le pilote d'impression Epson n'a pas ete Installe correctement. Activez-le dans le menu suivant.
Selectionnez Préférences système dans le menu Apple > Imprimantes et scanners (ou Impression et numération, Impression et télécopie), supprimez l'imprimante, puis ajoutez-la à nouveau.
macOS Mojave (10.14) ne peut pas acceder aux Configuration Imprimante dans les applications développées par Apple, par exemple TextEdit.
Impossible de passer des appeals sur le téléphone connecté
Le cable téléphonique n'est pas correctement branché.
Solutions
Connectez le téléphone sur le port EXT. sur l'imprimante, et decroche le récepteur. Si vous ne pouvez pas entendre de tonalité via le récepteur, connectez directement le cable téléphonique.
Le numéro de fax de l'expéditeur n'est pas affché
Le numero de fax de l'expéditeur n'est pas défini sur la machine de l'expéditeur.
Solutions
Il se peut que l'expéditeur n'ait pas définir le numéro de fax. Contactez l'expéditeur.
Le numero de fax de l'expéditeur affiché sur les fax reçus est erroné
Le numero de fax de l'expéditeur défini sur la machine de l'expéditeur est errone.
Solutions
Il se peut que l'expéditeur ait mal régle le numéro de fax. Contactez l'expéditeur.
Le répondeur ne peut répondre aux appeals vocaux
Le paramètre Sonneries avant réponse de l'imprimante est régle sur une valeur inférieure au nombre de sonneries de votre répondeur.
Solutions
Sélectionnez Param. dans Réglages généraux > Param. fax > Param de base > Sonneries avant réponse, puis réglez la valeur sur un nombre de sonneries supérieur pour votre répondeur.
De nombreux fax indésirables ont été reçus
La fonction de blocage des fax indésirables de l'imprimante n'est pas activée.
Solutions
Réglez les paramètres de Fax rejeté dans Param. > Réglages généraux > Param. fax > Param de base.
« Configuration des paramètres pour bloquer les fax non désirés » à la page 78
Impossible de résoudre le problème
Si vous ne parvenez pas à résoudre un problème après avoir essayé toutes les solutions, contactez l'assistance Epson.
Si vous ne parvenez pas à résoudre un problème d'impression ou de copie, reportez-vous aux informations suivantes.
« Impossible de résoudre les problèmes d'impression ou de copie » à la page 206
Impossible de résoudre les problèmes d'impression ou de copie
Essayez d'appliquer les solutions suivantes dans l'ordre jusqu'à ce que votre problème soit résolu.
Vérifiez que le type de papier charge dans l'imprimante et celui défini au niveau de celle-ci correspondant aux paramètres de type de papier choisi dans le pilote de l'imprimante.
« Paramètres de format et de type de papier » à la page 26
Choisissez une qualite supérieure au niveau du panneau de commande ou du pilote de l'imprimante.
Réinstallé les cartouches d'encre déjà présentes dans l'imprimante.
Réinstaller les cartouches d'encre peut déboucher les buses de la tete d'impression et ainsi permettre à l'encre de sécouler.
Cependant, étant donné que de l'encre est consommée lors de la réinstallation d'une cartouche, un message vous invitant à replacer cette-ci peut s'afficher, selon le niveau d'encre restant.
« Le moment est venu de replacer les cartouches d'encre » à la page 193
Alignez la tete d'impression.
« Alignment de la tentative d'impression » à la page 111
Procedez a une verification des buses pour savoir si les buses de la tete d'impression sont obstruées.
Si le motif de vérification des buses presente des segments manquants, celles-ci sont peut-etre obstruées. Repetez le nettoyage de la tete et la vérification des buses 3 tour à tour et vérifie si l'obstruction a disparu.
Veuillez noter que le nettoyage de la tete d'impression consomme de l'encre.
« Vérification et nettoyage de la tête d'impression » à la page 108
Éteignez l'imprimante, patientez au moins 12 heures, puis vérifie si l'obstruction a disparu.
Laisser l'imprimante reposer plusieurs heures peut résoudre un problème d'obstruction.
Yououpouvezverifierlesellementssuivantslorsque l'imprimanteesteteinte.
Vérifiez que vous utilisez des cartouches d'encre Epson authentiques.
Utilisez des cartouches d'origine Epson. Ce produit est conçu pour ajuster les couleurs en fonction de l'utilisation de cartouches d'encre Epson d'origine. L'utilisation de cartouches d'encre non d'origine peut entrainer une diminution de la qualité d'impression.
«Codes des cartouches d'encre» à la page 212
Vérifiez si le film translucide est taché.
Si le film translucide est taché, nettoyez-le delicatement.
« Nettoyage du film translucide » à la page 116
Vérifiez qu'aucun fragment de papier ne se trouve dans l'imprimante.
Lorsque you retirez le papier, ne touche pas au film translucide avec vos doigts ni avec le papier.
Examinez le papier.
Vérifiez que le papier n'est pas gondolé et qu'il est charge face à imprimer vers le haut.
« Précautions de manipulation du papier » à la page 26
« Papiers disponibles et capacité » à la page 209
« Types de papier non disponibles » à la page 212
Vérifiez que vous n'utilise pas une vieille cartouche d'encre.
Pour de plusieurs résultats, Epson vous recommend d'utiliser les cartouches d'encre avant la date de péremption imprimée sur leur emballage, ou dans les six mois qui suivent l'ouverture de celui-ci, selon ce qui survient en premier.
Si vous eteignez l'imprimante, patientez au moins 12 heures, et si la qualite d'impression ne s'est pas amelioree, effectuez un Nettoyage auto.
« Execution de Nettoyage auto » à la page 110
Si vous ne parvenez pas à résoudre le problème en appliquant les solutions ci-dessus, vous devrez peut-être faire réparer votre apparéil. Contactez l'assistance Epson.
« Avant de contacter Epson » à la page 248
« Contacter l'assistance Epson » à la page 248
Informations sur le papier. 209
Informations produit sur les consommables. 212
Informations relatives au logiciel. 214
Listedu menu Parametres. 219
Caracteristiques de I'appareil. 236
Informations reglementaires. 244
Papiers disponibles et capacité
Papier Epson authenticate
Epson vous recommende d'utiliser du papier d'origine Epson pour obtenir des impressions de haute qualite.
Remarque:
La disponibilité du papier varie selon les régions. Pour les informations les plus récentes sur le papier disponible dans votre région, contactez l'assistance Epson.
Reportez-vous aux informations suivantes pour savoir quels sont les types de papier disponible pour une impression sans marges et recto verso.
« Papier pour impression sans marge » à la page 211
« Papier pour impression recto verso » à la page 211
Lorsque you imprimez sur du papier Epson authentique dans une taille personalisée, seuils les parametes de qualite d'impression Standard ou Normal sont disponibles. Bien que certains pilotes d'imprimante vous permettent de selectionner une qualite d'impression supérieure, les documents sont imprimés en mode Standard ou Normal.
Papier adapté à l'impression de documents
| Nom du support | Format | Capacité de chargement (feuilles) |
| Epson Bright White Ink Jet Paper | A4 | 120 |
Papier adapté à l'impression de documents et de photos
| Nom du support | Format | Capacité de chargement (feuilles) |
| Epson Photo Quality Ink Jet Paper | A4 | 100 |
| Epson Double-sided Photo Quality Ink Jet Paper | A4 | 80 |
| Epson Matte Paper-Heavyweight | A4 | 20 |
| Epson Double-Sided Matte Paper | A4 | 1 |
Papier adapté à l'impression de photos
| Nom du support | Format | Capacité de chargement (feuilles) |
| Epson Ultra Glossy Photo Paper | A4, 13×18 cm (5×7 po.), 10×15 cm (4×6 po.) | 20 |
| Epson Premium Glossy Photo Paper | A4, 13×18 cm (5×7 po), format large 16:9 (102×181 mm), 10×15 cm (4×6 po) | 20 |
| Epson Premium Semigloss Photo Paper | A4, 13×18 cm (5×7 po.), 10×15 cm (4×6 po.) | 20 |
| Epson Photo Paper Glossy | A4, 13×18 cm (5×7 po.), 10×15 cm (4×6 po.) | 20 |
Autres types de papier
| Nom du support | Format | Capacité de chargement (feuilles) |
| Epson Photo Quality Self Adhesive Sheets | A4 | 1 |
Papier disponible dans le commerce
Remarque:
Reportez-vous aux informations suivantes pour savoir quels sont les types de papier disponible pour une impression sans marges et recto verso.
« Papier pour impression sans marge » à la page 211
« Papier pour impression recto verso » à la page 211
Papiers ordinaires
Le papier ordinaire inclut le papier de copie et le papier à en- tête*1.
| Format | Capacité de chargement (feuilles) |
| Lettre, A4, B5, 16K (195×270 mm) | 150 |
| Légal, 8,5 x 13 pouces, A5, A6, B6, Légal indien | 50 |
| Défini par l'utilisateur*2 (mm) | 1 |
| 89×127 à 215,9×1200 | |
1 Papier sur lequel des informations telles que le nom de l'expéditeur ou le nom de l'entreprise sont préimprimées dans l'entête. Il doit y avoir une marge d'au moins 5 mm en haut du papier. L'impression recto verso et l'impression sans cordure ne sont pas disponibles pour le papier à en-tête.
2 Seule l'impression à partir de l'ordinateur est disponible.
Enveloppe
| Format | Capacité de chargement (enveloppes) |
| Enveloppe #10, enveloppe DL, enveloppe C6 | 10 |
Papier pour impression sans marge
Papier Epson authenticate
Papiers disponibles et capacités à la page 209
Papier disponible dans le commerce
Papier ordinaire, papier de copie (Lettre, A4)
Papiers disponibles et capacités à la page 209
Papier pour impression recto verso
Papier Epson authentique
Papiers disponibles et capacités à la page 209
Papier disponible dans le commerce
Papier ordinaire, papier de copie*
- Letter, A4, B5, 16K et papier au format défini par l'utilisateur (182×257 à 215,9×297 mm) est pris en charge pour l'impression recto verso automatique.
Papiers disponibles et capacités à la page 209
Types de papier non disponibles
N'utilisez pas les papiers suivants. L'utilisation de ces types de papier peut provoquer des bourrages papier et maculer le tirage.
Papier gondole
Papier déchiré ou découpé
Papier plie
Papier humide
Papier trop écais ou trop fin
Papier portant des autocollants
Ne pas utiliser les enveloppes suivantes. L'utilisation de ces types d'enveloppes peut provoquer des bourrages papier et maculer le tirage.
Enveloppess gondolées ou pliees
Enveloppes comantant des surfaces collantes sur les rabats, ou enveloppes avec fenetre
Enveloppes trop fines
Elles poursaient se recourber pendant l'impression.
Codes des cartouches d'encre
Les codes suivants correspondant aux cartouches d'encre d'origine Epson.
Remarque:
- Les codes de cartouche d'encre varient selon la région. Pour connaître les codes utilisés dans votre région, contactez l'assistance Epson.
Toutes les cartouches ne sont pas disponibles dans toutes les régions.
- Les cartouches d'encre peuvent contérer des matériaux recyclés. Cela n'afecte cependant pas le fonctionnement ou les performances de l'imprimante.
- Les specifications et l'apparance de la cartouche d'encre peuvent être modifiées sans notification préalable à des fins d'amélioration.
Pour l'Europe
| Icône | BK : Black (Noir) | C : Cyan | M : Magenta | Y : Yellow (Jaune) |
| Chillies | 503 | 503 | 503 | 503 |
| 503XL* | 503XL* | 503XL* | 503XL* |
- La mention « XL » fait ↔ réference à des cartouches grand format.
Remarque:
Les utilisateurs européens peuvent consulter le site Web suivant pour plus d'informations concernant le rendement des cartouches d'encre Epson.
http://www.epson.eu/pageyield
| BK : Black (Noir) | C : Cyan | M : Magenta | Y : Yellow (Jaune) |
| 503 | 503 | 503 | 503 |
| 503XL* | 503XL* | 503XL* | 503XL* |
- La mention « XL » fait ↔ réference à des cartouches grand format.
Pour l'Asie
| BK : Black (Noir) | C : Cyan | M : Magenta | Y : Yellow (Jaune) |
| 09S | 09S | 09S | 09S |
| 09U* | | | |
- La mention « U » fait réference à des cartouches grand format.
Epson you recommend d'utiliser des cartouches d'encre d'origine Epson. Epson ne saurait garantir la qualite ou la fiabilité de cartouches d'encre non authentiques. Leur utilisation peut cause des dommages non couverts par les garanties Epson et l'imprimante peut fonctionner de maniere imprevisible, selon les circonstances. Les informations relatives aux niveaux d'encre des cartouches non authentiques peuvent ne pas s'afficher.
Code du boîtier de maintenance
Nous vous recommendons d'utiliser un boîtier de maintenance d'origine Epson.
Code du boîtier de maintenance : T04D1

Important:
Lorsqu'un boitier de maintenance a ete installe dans une imprimante, il ne peut plus etre utilise dans une autre.
Cette section présente certaines des applications disponibles pour votre imprimante. Pour obtenir la liste des logiciels pris en charge, consultez le site Web Epson suivant ou lancez Epson Software Updater pour confirmation. Vous pouvez télécharger les dernières applications.
http://www.epson.com
« Application pourmettre à jour leslogiciels et micrologiciels (Epson Software Updater) » à la page 218
Application d'impression depuis un ordinateur (pilote d'imprimante Windows)
Le pilote de l'imprimante contrôle l'imprimante en fonction des commandes d'une application. La définition des paramètres du pilote de l'imprimante permet d'obtenir des résultats d'impression optimaux. Vous pouvez également vérifier le statut de l'imprimante ou préserver son fonctionnement à l'aide de l'utilitaire du pilote de l'imprimante.
Remarque:
Vous pouvez modifier la langue du pilote de l'imprimante. Sélectionnez la langue que vous souhaitez utiliser sous le paramètre Langue au niveau de l'onglet Utilitaire.
Accès au pilote de l'imprimante à partir des applications
Pour définiir des paramètres qui s'appliquent uniquement à l'application que vous utilisez, vous doivent acceder au pilote de l'imprimante depuis l'application en question.
Sélectionnez Imprimer ou Configuration de l'impression dans le menu Fichier. Sélectionnez votre imprimante, puis cliquez sur Préférences ou Propriétés.
Remarque:
Le fonctionnement varie selon l'application. Pour plus de détails, reportez-vous à la aide de l'application.
Accès au pilote d'impression à partir du panneau de commande
Pour configurer les paramètres qui s'appliquent à toutes les applications, accédez-y à partir du panneau de commande.
Windows 11
Cliquez sur le bouton Demarrer, puis selectionnez Toutes les applications > Outils Windows > Panneau de commande > Afficher les péripériques et imprimantes sous Matériel et audio. Cliquez avec le bouton droit de la souris sur l'imprimante, ou maintenez-le enforcé et selectionnez Options d'impression.
Windows 10/Windows Server 2022/Windows Server 2019/Windows Server 2016
Cliquez sur le bouton Demarrer, puis selectionnez Systeme Windows > Panneau de commande > Afficher les péripériques et imprimantes sous Matériel et audio. Cliquez avec le bouton droit de la souris sur l'imprimante, ou maintenez-le,enforcé et selectionnez Options d'impression.
Windows 8.1/Windows 8/Windows Server 2012 R2/Windows Server 2012
Selectionnez Bureau > Paramètres > Panneau de commande > Afficher les périphériques et imprimantes sous Matériel et audio. Cliquez avec le bouton droit de la souris sur l'imprimante, ou maintenez-le enforcé et selectionnez Options d'impression.
Windows 7/Windows Server 2008 R2
Cliquez sur le bouton Demarrer, puis selectionnez Panneau de commande > Afficher les péripériques et imprimantes sous Matériel et audio. Faites un clic droit sur votre imprimante, puis selectionnez Options d'impression.
Windows Vista/Windows Server 2008
Cliquez sur le bouton Demarrer, puis selectionnez Panneau de commande > Imprimantes (sous Matériel et audio). Faites un clic droit sur votre imprimante, puis selectionnez Options d'impression.
Windows XP/Windows Server 2003 R2/Windows Server 2003
Cliquez sur le bouton Demarrer, puis selectionnez Panneau de commande > Imprimantes et autre matériel > Imprimantes et télécopieurs. Faites un clic droit sur votre imprimante, puis selectionnez Options d'impression.
Accès au pilote d'impression à partir de l'icone de l'imprimante dans la barre des tâches
L'icone de l'imprimante dans la barre des tâches du bureau est une icône de raccourci vous permettant d'accederrapidement au pilote de l'imprimante.
Si vous cliquez sur l'icone de l'imprimante et seLECTIONnez Paramétres imprimante, vous pouvez acceder à la même fenêtre de paramétres de l'imprimante que celle affichée sur le panneau de commande. Vous pouvez vérifier le statut de l'imprimante si vous double-cliquez sur cette icône.
Remarque:
Si l'icone de l'imprimante n'est pas affichee dans la barre des taches, accedez à la fenetre du pilote de l'imprimante, cliquez sur Preférences du contrôle au niveau de longlet Utilitaire et selectionnez Enregistrez l'icone du raccourci dans la barre des taches.
Démarrage de l'utilitaire
Accédez à la fenêtre du pilote d'impression. Cliquez sur l'onglet Utilitaire.
Application d'impression depuis un ordinateur (pilote d'imprimante Mac OS)
Le pilote de l'imprimante contrôle l'imprimante en fonction des commandes d'une application. La définition des paramètres du pilote de l'imprimante permet d'obtenir des résultats d'impression optimaux. Vous pouvez également vérifier le statut de l'imprimante ou préserver son fonctionnement à l'aide de l'utilitaire du pilote de l'imprimante.
Accès au pilote de l'imprimante à partir des applications
Cliquez sur Configuration de la page ou Imprimer dans le menu Fichier de votre application. Si nécessaire, cliquez sur Afficher les détails (ou ) pour agrandir la fenêtre d'impression.
Remarque:
En fonction de l'application utilisée, l'option Mise en page peut ne pas s'afficher dans le menu Fichier, et les opérations pour afficher le'écran d'impression peuvent varier. Reportez-vous à l'aide de l'application pour en savoir plus.
Démarrage de l'utilitaire
Sélectionnez Préférences Système dans le menu Apple > Imprimantes et scanners (ou Impression et numérisation, Impression et télécopie), puis sélectionnez l'imprimante. Cliquez sur Options et fournitures > Utilitaire > Ouvrir l'utilitaire de l'imprimante.
Application de contrôle du scanner (Epson Scan 2)
Epson Scan 2 est un pilote qui vous permet de contrôler votre scanner. Vous pouvez définir la taille, la résolution, la luminosité, le contraste et la qualité de l'image numérique. Vous pouvez également démarrer cette application depuis une application de numérisation compatible TWAIN. Pour plus de détails sur l'utilisation des fonctionnalités, reportez-vous à l'aide du logiciel.
Démarrage sous Windows
Remarque:
Sous Windows Server, vérifie que la fonction Experience utiliser est installée.
Windows 11
Cliquez sur le bouton Demarrer, puis selectionné Toutes les applications > EPSON > Epson Scan 2.
Windows 10/Windows Server 2022/Windows Server 2019/Windows Server 2016
Cliquez sur le bouton Demarrer, puis selectionnéz EPSON > Epson Scan 2.
Windows 8.1/Windows 8/Windows Server 2012 R2/Windows Server 2012
Entrez le nom de l'application dans l'icone Rechercheur, puis selectionnez l'icone affichee.
Windows 7/Windows Vista/Windows XP/Windows Server 2008 R2/Windows Server 2008/Windows Server 2003 R2/Windows Server 2003
Cliquez sur le bouton Démarrer, puis sélectionné Tous les programmes ou Programmes > EPSON > Epson Scan 2.
Démarrage sous Mac OS
Selectionnez Aller > Applications > Epson Software > Epson Scan 2.
Application de configuration et d'envoi de télécopies (FAX Utility)
FAX Utility is a unique application qui vous permet de configurer divers paramétres pour l'envoi de fax à partir d'un ordinateur. Vous pouvez creer ou modifier la liste des contacts à utiliser lors de l'envoi d'un fax, configurer l'enregistrement des fax reçus au format PDF sur l'ordinateur, et plus encore. Pour plus de détails, reportez-vous à l'aide de l'application.
Remarque:
- Les systèmes d'exploitation Windows Server ne sont pas pris en charge.
Assurez-vous d'avoir installé le pilote d'impression avant d'instructor FAX Utility.
Assurez-vous que FAX Utility a ete instalé. Voir « Demarrage sous Windows » ou « Demarrage sous Mac OS » cidesous, pour vérifier que l'application a ete instalée.
Démarrage sous Windows
Windows 11
Cliquez sur le bouton Demarrer, puis selectionnéz All Apps > Epson Software > FAX Utility.
Windows 10
Cliquez sur le bouton Demarrer, puis selectionnez Epson Software > FAX Utility.
Windows 8.1/Windows 8
Entrez le nom de l'application dans l'icone Rechercheur, puis selectionnez l'icone affichee.
Windows 7/Windows Vista/Windows XP
Cliquez sur le bouton Demarrer, puis selectionnez Tous les programmes (ou Programmes) > Epson Software > FAX Utility.
Démarrage sous Mac OS
Sélectionnez Préférences système à partir du menu Apple > Imprimantes et scanners (ou Impression et numérisation, Impression et fax), puis sélectionnez l'imprimante (FAX). Cliquez sur Options et fournitures > Utilitaire > Ouvrir l'utilitaire de l'imprimante.
→ « Envoi d'un fax à partir d'un ordinateur » à la page 97
« Réception de fax sur un ordinateur » à la page 101
Application d'envoi de télécopies (pilote PC-FAX)
Le pilote PC-FAX est une application qui permet d'envoyer un document, créé sur une application séparée, directement en tant que fax à partir de l'ordinateur. Le pilote PC-FAX est installé lorsque vous installez FAX Utility. Pour plus de détails, reportez-vous à l'aide de l'application.
Remarque:
- Les systèmes d'exploitation Windows Server ne sont pas pris en charge.
Vérifiez si le pilote PC-FAX a été installé. Voir « Accès sous Windows » ou « Accès sous Mac OS » ci-dessous.
Le fonctionnement est différent en fonction de l'application utilisée pour creer le document. Pour plus de détails, reportez-vous à l'aide de l'application.
Accès sous Windows
Dans l'application, Sélectionnez Imprimer ou Configuration de l'impression dans le menu Fichier. Sélectionnez votre imprimante (FAX), puis cliquez sur Préférences ou Propriétés.
Accès sous Mac OS
Dans l'application, Sélectionnez Imprimer dans le menu Fichier. Sélectionnez votre imprimante (FAX) comme paramètre Imprimante, puis Sélectionnez Paramètres fax ou Paramètres du destinataire dans le menu contextualuel.
→ « Envoi d'un fax à partir d'un ordinateur » à la page 97
Application de configuration des opérations de l'imprimante (Web Config)
Web Config est une application qui fonctionne dans un navigateur Web, tel qu'Internet Explorer ou Safari, sur un ordinateur ou un périphérique intelligent. Vous pouvez vérifier l'état de l'imprimante ou modifier les paramétres du service réseau et de l'imprimante. Pour utiliser l'application Web Config, connectez l'imprimante et l'ordinateur ou le périphérique au même réseau.
Les navigateurs suivants sont pris en charge.
Microsoft Edge, Internet Explorer 8 ou version ultérieure, Firefox, Chrome, Safari*
- Utilisez la version la plus récente.
Remarque:
Le mot de passé administrateur d'origine pour Web Config est le numero de série de l'imprimante. Vérifiez l'étiquette jointe à l'imprimante.
La position ou est jointe l'etiquette dépend du produit : elle peut se trouver à l'arrière, sur le côte ouvert du capot, ou en bas.
Exécution de Web Config sur un navigateur Web
- Vérifiez l'adresse IP de l'imprimante.
Selectionnez l'icone réseau affichée sur l'écran d'accueil de l'imprimante, puis selectionnéz la méthode de connexion active pour confirmer l'adresse IP de l'imprimante.
Remarque:
Voupeuz également vérifier l'adresse IP en imprintant le rapport de connexion réseau.
- Lancez un navigateur Web depuis un ordinateur ou un périhérique connecté, puis saississez l'adresse IP de l'imprimante.
Format :
IPv4: http://adresse IP de l'imprimante/
IPv6: http://[adresse IP de l'imprimante]/
Examples :
IPv4 : http://192.168.100.201/
IPv6 : http://[2001:db8::1000:1]/
Remarque:
Grac au periphérique connecté, vous pouvez également executer Web Config depuis l'écran d'informations du produit du Epson Smart Panel.
Étant donné que l'imprimante utilise un certificat autosigné lors d'un accès HTTPS, un averissement s'affiche lorsque vous lancez Web Config ; mais il n'indique pas un problème et vous pouvez l'ignorer.
Application pourmettreà jour leslogiciels et micrologiciels (Epson SoftwareUpdater)
Epson Software Updater est une application qui installe de nouveaux logiciels, et met à jour les firmwares sur Internet. Si vous souhaitez vérifier les informations de mise à jour régulièrement, vous pouvez définir l'intervalle de vérification des mises à jour dans les paramètres de mise à jour automatique de Epson Software Updater.
Remarque:
Les systèmes d'exploitation Windows Server ne sont pas pris en charge.
Démarrage sous Windows
Windows 11
Cliquez sur le bouton Demarrer, puis selectionnez Toutes les applications > EPSON Software > Epson Software Updater.
Windows 10
Cliquez sur le bouton Demarrer, puis selectionnéz EPSON Software > Epson Software Updater.
Windows 8.1/Windows 8
Entrez le nom de l'application dans l'icone Rechercheur, puis selectionnez l'icone affichee.
Windows 7/Windows Vista/Windows XP
Cliquez sur le bouton Demarrer, puis selectionnez Tous les programmes (ou Programmes) > EPSON Software
Vouss pourz egalent lancer Epson Software Updater en cliuant sur l'icone de l'imprimante dans la barre des taches du bureau et en selectionnant Mise a jour du logiciel.
Démarrage sous Mac OS
Selectionnez Aller > Applications > Epson Software > Epson Software Updater.
« Installation séparée des applications » à la page 122
Selectionnez Param. sur l'écran d'accueil de l'imprimante afin d'effectuer divers paramétrages.
Réglages généraux
Sélectionnez les menus sur le panneau de commande comme indiqué ci-dessous.
Param. >Réglages généraux
Param de base
Sélectionnez les menus sur le panneau de commande comme indiqué ci-dessous.
Param. > Reglages généraux > Param de base
Luminosite LCD:
Règle la luminosité de l'écran LCD.
Son :
Muet:
Sélectionnez On pour couper lessons tels que ceux de Pression bouton.
Mode normal :
Sélection du volume, comme Pression bouton.
Mode Silencieux :
Sélection du volume, comme Pression bouton en Mode silencieux.
Minut. veille :
Définissez le décai avant d'entrée en mode veille (mode d'économie d'énergie) lorsque l'imprimante n'a effectué aucune opération. L'écran LCD devient noir lorsque le temps défini est écoulé.
Temporisation arrêt :
Votre produit peut disposer de cette fonction ou de la fonction Reglages d'arrêt selon le lieu d'achat.
Selectionnez ce paramètre pour que l'imprimante s'éteigne automatiquement lorsqu'elle n'est pas utilisée pendant une durée spécifique. Vous pouvez régler la durée avant application de la fonction de gestion de l'énergie. Toute augmentation affecte l'efficacité énergétique du produit. Prenez en compte l'environnement avant d'apporter une modification.
Réglages d'arrêt :
Votre produit peut disposer de cette fonction ou de la fonction Temporisation arrêt selon le lieu d'achat.
Arrêt si inactif :
Selectionnez ce paramètre pour que l'imprimante s'esteigne automatiquement lorsqu'elle n'est pas utilisée pendant une durée specifiée. Toute augmentation affectera le rendement energétique du produit. Prenez en compte l'environnement avant d'apporter une modification.
Arrêt si déconnecté :
Selectionnez ce paramètre pour éteindre l'imprimante après 30 minutes si tous les porty compris le port LINE sont déconnectés. Selon cette région, cette fonction peut ne pas être disponible.
Régl. Date/Heure :
Date/Heure :
Saisissez la date et l'heure actuelles.
Heure d'été :
Sélectionnez le paramètre d'heure d'éte qui s'applique à votre région.
Décalage horaire :
Saisissez le décalage hora entre votre heures locale et l'heure UTC (Temps Universal Coordinated).
Pays/Région :
Sélectionnez le pays ou la région où vous utilisez l'imprimante. Si vous modifiez le pays ou la région, vos paramétres de télécopie sont remis à leur valeur par défaut et vous devez à nouveau les définir.
Langue/Language :
Selectionnez la langue utilisée sur l'écran LCD.
Expiration opération :
Sélectionnez On pour revenir à l'écran initial lorsqu'aucune opération n'a été réalisée dans le début spécifique.
Clavier :
Modifiez la disposition du clavier sur l'écran LCD.
→ « Économies dénergie » à la page 121
Param imprim
Sélectionnez les menus sur le panneau de commande comme indiqué ci-dessous.
Param. > Régles généraux > Param imprim
Réglages source papier :
Réglage papier:
Sélectionnez la taille et le type du papier charge dans la source de papier. Vous définir la taille et le type du papier dans Réglages papier fav.
Modif auto A4/Lettre :
Selectionnez On pour alimenter à partir de la source définie comme papier au format A4 lorsqu'aucune source de papier n'est définie au format Lettre, ou alimente à partir de la source de papier définie comme papier au format Lettre lorsqu'aucune source n'est définie au format A4.
Avis d'erreur :
Sélectionnez On pour afficher un message d'erreur lorsque la taille ou le type de papier seLECTIONné ne correspond pas au papier charge.
Affichage auto Config. papier :
Selectionnez On pour afficher l'écran Réglage papier lors du chargement de papier dans la source de papier. Si vous désactiver cette fonction, vous ne pourrez pas imprimer depuis un iPhone, iPad ou iPod touch à l'aide d'AirPrint.
Param. d'impr univ:
Ces paramètres d'impression sont appliqués lorsque vous imprimez à l'aide d'un dispositif externe sans utiliser le pilote de l'imprimante. Les paramètres de marge sont appliqués lorsque vous utilisez le pilote de l'imprimante.
Décalage supérieur :
Définissez la marge supérieure du papier.
Décal. gauche :
Définisse la marge gauche du papier.
Décalage supérieur en arrêté :
Définissez la marge supérieure pour l'arrête de la page en cas d'impression recto versa.
Décal. gauche en arrêté :
Définisse la marge de gauche pour l'arrière de la page en cas d'impression recto versa.
Vérifiez largeur papier :
Selectionnez On pour vérifier la largeur du papier avant l'impression. Ceci empêche l'impression au-delà des bords du papier lorsque le paramètre de taille du papier est erroné, mais l'impression peut alors être ralentie.
Sauter pages blanches :
Saute automatiquement les pages blanches dans les données d'impression pour economiser du papier.
Solveur d'erreur auto :
Sélectionnez une action à effectuer en cas d'erreur d'impression recto verso ou d'erreur de mémoire pleine.
On:
Affiche un message d'advertisement et imprime en mode recto lorsqu'une erreur se produit pendant une impression recto verso, ou n'imprime que ce que l'imprimante peut Traitser lorsque se produit une erreur de memoire pleine.
Arrêt :
L'imprimante affiche un message d'erreur et annule l'impression.
Mode silencieux :
Sélectionnez On pour réduire le bruit pendant l'impression. Cela risque cependant de réduire la vitesse d'impression. Selon les paramètres sélectionnés pour le type de papier et la qualité d'impression, il est possible qu'il n'y ait pas de différence au niveau du bruit de l'imprimante.
Temps de séchage de l'encre:
Sélectionnez le temps de séchage de l'encre que vous désirez employer pour les impressions recto verso. L'imprimante imprime l'autre côté après avoir imprimé un côté. Si votre impression est tachée, augmentez le temps de séchage.
PC Connexion via USB :
Selectionnez Activer pour permettre à un ordinateur d'acceder à l'imprimante lorsqu'on la connecte par USB. Lorsque Désactiver est selectionné, l'impression et la numérisation qui ne sont pas envoyés via une connexion réseau sont limités.
Paramètres réseau
Sélectionnez les menus sur le panneau de commande comme indiqué ci-dessous.
Param. > Réglages généraux > Paramètres réseau
Configuration Wi-Fi:
Paramétrz ou modifie les paramètres du réseau sans fil. Sélectionnez la méthode de connexion parmi les suivantes et suivez les instructions affichées sur le panneau de commande.
Wi-Fi (Recommendé) :
Paramétrz ou modifiez les paramètres du réseau sans fil. Sélectionnez la méthode de connexion parmi les suivantes et suivez les instructions affichées sur le panneau de commande.
Assistant de configuration Wi-Fi :
Définit les paramètres Wi-Fi en saisissant le SSID et le mot de passer.
Config. boutons poussoirs (WPS) :
Effectue le réglage des paramètres Wi-Fi Config. boutons poussoirs (WPS).
Autres :
Config. code PIN (WPS):
Effectue le réglage des paramètres Wi-Fi Config. code PIN (WPS).
Connexion Wi-Fi auto :
Effectue les paramétrages Wi-Fi en utilisant les informations Wi-Fi sur l'ordinateur ou le périphérique intelligent.
Déactivé le Wi-Fi :
Désactive le Wi-Fi. Les connexions d'infrastructure seront déconnectées.
Wi-Fi Direct :
Autres méthodes :
iOS :
Lit le code QR depuis votre iPhone, iPad, or iPod touch pour vous connecter à l'aide de Wi-Fi Direct.
Autres SE d'appareil :
Définit les paramètres Wi-Fi Direct en saississant le SSID et le mot de passer.
Changer le nom du réseau :
Modifie le SSID Wi-Fi Direct (nom du réseau).
Changer le mot de passer :
Modifie le mot de passer pour la connexion Wi-Fi Direct.
Désactiver Wi-Fi Direct :
Désactive la fonction Wi-Fi Direct.
Rest param défaut :
Restaure les réglages de Wi-Fi Direct.
Config LAN filaire :
Paramétrz ou modifiez une connexion réseau utilisant un cable LAN et un routeur. Lorsque cette option est utilisé, les connexions Wi-Fi sont désactivées.
État réseau :
État LAN cable/Wi-Fi:
Affiche les informations sur le réseau de l'imprimante.
État Wi-Fi Direct :
Affiche les informations de paramétrage Wi-Fi Direct.
feuil.état:
Permet d'imprimer une feuille d'etat réseau.
Les informations sur l'Ethernet, le Wi-Fi, Wi-Fi Direct, etc. sont imprimées sur deux pages ou plus.
Vérification de la connexion au réseau :
Contrôle la connexion réseau actuelle et imprime un rapport. Si la connexion rencontres des problèmes, consultez le rapport pour les résoudre.
Avancé :
Nomdispositif:
Modifie le nom du périhérique sur n'importe quel nom compteant entre 2 et 15 caractères.
TCP/IP:
Configure les paramètres IP, si l'adresse IP est statique.
Pour une configuration automatique, utilisez l'adresse IP assignée par DHCP.
Pour la définit manuellement, passez sur « Manuel», puis saisissez l'adresse IP que vous souhaitez assigner.
Serveur Proxy :
Définissez cette option si vous utilisez un serveur proxy dans votre environnement réseau et souhaitez également le configurer pour l'imprimante.
Adresse IPv6 :
Définit s'il faut activer ou non l'adressage IPv6.
Liaison Speed & Duplex :
Selectionnez une valeur appropriée pour la vitesse Ethernet et le mode duplex. Si vous selectionnez un paramètre autre que Auto, assurez-vous que le paramètre correspond aux paramêtres du concentrateur que vous utilisez.
Paramètres du service Web
Selectionnez les menus sur le panneau de commande comme indiqué ci-dessous.
Param. >Réglages généraux > Paramètres du service Web
Indique si l'imprimante est enregistrée et connectée à Epson Connect.
Voussoupiezyouinscrieau service enselectionnantS'inscrite,puisen suivantles instructions.
Pour acceder aux guides d'utilisation, consultez le portail Web suivant.
Lorsque you've procedé à l'enregistrement, you pouvez modifier les paramètres suivants.
Suspendre/Rependre :
Indiquez si vous souhaitez suspendre ou reprendre les services Epson Connect.
Désenregister :
Désinscrit l'imprimante depuis les services Epson Connect.
Param.fax
Sélectionnez les menus sur le panneau de commande comme indiqué ci-dessous.
Param. > Réglages généraux > Param.fax
« Vérif. connex fax » à la page 225
« Assistant param fax » à la page 226
«Paramdebase»àla page226
«Param.d'envoi » à la page 228
«Param.de réception » à la page 229
«Paramètres de rapportes » à la page 232
«Param.de sécurité » à la page 232
Verif. connex fax
Yououpouze trover le menu sur le panneau de commande de l'imprimante, ci-dessous.
Param. > Réglages généraux > Param. fax > Vérif. connex fax
Selectionnez Vérif. connex fax pour vérifier que l'imprimante est connectée à la ligne téléphonique et préte à envoyer et receivevoir des fax. Vous pouvez imprimer le résultat sur du papier ordinaire au format A4.
Assistant param fax
You pouvez trouver le menu sur le panneau de commande de l'imprimante :
Param. > Réglages généraux > Param. fax > Assistant param fax
Selectionnez Assistant param fax pour appliquer les paramètres de fax de base. Suivez les instructions affichées à l'écran.
«Paramdebase»àla page226
« Rendre l'imprimante prete à envoyer et receivevoir des télécopies » à la page 73
Param de base
Yououpouze trover le menu sur le panneau de commande de l'imprimante, ci-dessous.
Param. >Réglages généraux > Param. fax > Param de base
Vitesse fax :
Selectionnez la vitesse de transmission des télécopies. Nous vous recommendons de sélectionner l'option Faible(9 600bps) en cas d'reurs de communication fréquentes, lors de l'envoi/la réception d'une télécopie de l'étranger ou lorsque vous utilisez un service téléphonique IP (VoIP).
ECM:
Permet de corriger automatiquement les erreurs dans la transmission de télécopies (mode de correction des erreurs), généralement causees par du bruit sur la ligne téléphonique. Si cette fonctionnalité est désactivée, vous ne pouze pas receivevoir ou envoyer de documents en couleur.
Detection de tonalité :
Permet de détecter une tonalité avant de commencer la numérotation. Si l'imprimante est connectée à un PBX (commutateur téléphonique privé) ou une ligne téléphonique numérique, il est possible que l'imprimante ne parvienne pas à procéder à la numérotation. Vous devez alors régler le paramètre Type de ligne sur PBX. Si cela ne fonctionne pas, désactiver cette fonctionnalité. La désactivation de cette fonctionnalité peut toutes supprimer le premier chiffre du numéro de télécopieur et envoyer le fax à un mauvais numéro.
Mode numérotation :
Sélectionnez le type de système téléphonique auquel vous avez connecté l'imprimante. Lorsque l'option Impulsion est sélectionnée, vous pouvez faire temporairement basculer le mode de numération d'impulsion à tonalité en appuyant sur (la lecture T est saisie) tout en saississant les numérores sur l'écran supérieur du télécopieur. Il est possible que ce paramètre ne s'affiche pas selon votre pays ou votre région.
Type de ligne :
Selectionne z type de ligne a laquelle l'imprimante est connectee.
PSTN:
Selectionnez PSTN lorsque l'imprimante est connectée à un réseau téléphonique public allumé.
PBX:
Lors de l'utilisation de l'imprimante dans un environment qui utilise des extensions et nécessite un code d'accès externe, tel que 0 et 9, pour obtenir une ligne extérieure, Sélectionnez PBX. Pour les environnements utilisant un modem DSL ou un adaptateur de terminal, un réglage sur PBX est également recommandé.
Code d'accès :
Selectionnez Utiliser, puis enregistrez un code d'accès externe tel que 0 ou 9. Ensuite, lors de l'envoi d'un fax à un numéro de fax externe, saisissez # (dièse) au lieu du code d'accès réel. # (dièse) doit également être utilisé dans Contacts comme code d'accès externe. Si un code d'accès externe tel que 0 ou 9 est défini dans un contact, vous ne pouvez pas lui envoyer de fax. Dans ce cas, règlez Code d'accès sur Ne pas utiliser, sinon, vous devez changer le code dans Contacts pour#.
En-tête :
Saisissez vous nom d'expéditeur et vous numéro de télécopieur. Ceux-ci apparaissent dans l'en-tête des télécopies sortantes.
Votr num de phone :
Vou pouve saisir jusqu'à 20 caractères en utilisant 0 - 9 + ou espace.
En-tête télécopie :
Vous pouvez enregistrer jusqu'à 21 destinataires. Vous pouvez enregistrer jusqu'à 40 caractères pour chaque destinataire.
Mode réception :
Selectionnez le mode de réception. Consultez les informations connexes ci-dessous pour plus de détails.
DRD:
Si vous étés inscrit à un service de sonnerie distincte auprès de votre fournisseur téléphonique, Sélectionnez le modele de sonnerie à utiliser pour les télécopies entrantes. Les services de sonnerie distincte, proposés par plusieurs fournisseurs téléphoniques (le nom du service diffère selon les fournisseurs), vous permettent de concentrer plusieurs numéroes de téléphone sur une seule ligne téléphonique. Un modele de sonnerie différent est attribué à chaque numéro. Vous pouvez utiliser un numéro pour les appeals vocaux et un autre pour les appeals de télécopie. Selon la région, cette option est réglée sur On ou Arrêt.
Sonneries avant réponse :
Sélectionnez le nombre de sonneries effectives avant la réception automatique d'une télécopie par l'imprimante.
Réception à distance :
Réception à distance :
Lorsque vous répondez à un appel de télécopie entrant sur un téléphone connecté à l'imprimante, vous pouze lancer la réception de la télécopie en saississant le code à l'aide du téléphone.
Code de démarr:
Définissez le code de démarrage de Réception à distance. Saisissez deux caractères en utilisant 0-9, *, #.
Fax rejeté :
Fax rejeté :
Selectionner les options pour rejeter la réception de fax indésirables.
Si le numero de téléphone de l'autre partie est dans la liste des nombres de refus, indiquez si vous souhaitez rejeter les fax entrants.
Blanc en-tête télécopie bloqué :
Si le numero de téléphone de l'autre partie est bloqué, indique si vous souhaitez refuser la réception des fax.
Contacts désenregistrés :
Si le numero de téléphone de l'autre partie ne figure pas dans les contacts, indiquez si vous souhaitez refuser la réception des fax.
Modifier liste numérios refusés :
Vous pouvez enregistrer jusqu'à 30 numérios de fax pour rejeter les fax et les appel. Saisissez jusqu'à 20 caractères en utilisant 0-9, *, # et l'espace.
« Rendre l'imprimante prete à envoyer et receivevoir des télécopies » à la page 73
« Définition des paramètres pour un système téléphonique PBX » à la page 75
→ « Réception de fax entrants » à la page 88
« Configuration des paramètres pour bloquer les fax non désirés » à la page 78
Param. d'envoi
Yououpouze trover le menu sur le panneau de commande de l'imprimante, ci-dessous.
Param. >Réglages généraux >Param.fax >Param.d'envoi
Temps d'attente pr prochain origin :
Temps d'attente pr prochain origin :
Activez ici pour commencer à envoyer la télécopie après avoir numérique un document en appuyant sur , puis attendez l'original suivant jusqu'à ce que la durée spécifique se soit écoulée.
Heure
Définissez le temps d'attente du prochain original.
Heure d'affichage de l'aperçu fax :
Heure d'affichage de l'aperçu fax :
Activez ici pour commencer l'envoi de la télécopie après le début spécifique sans effectuer d'opération après l'affichage de l'écran d'aperçu.
Heure :
Spcificez la durée de previsualisation du document numérique avant de l'envoyer.
Param. de réception
«Sortie fax» à la page 229
« Paramètres d'impression » à la page 230
Sortie fax
Yououpouze trover le menu sur le panneau de commande de l'imprimante, ci-dessous.
Param. >Réglages généraux > Param. fax > Param. de réception > Sortie fax
Enreg. dans boîte de réception :
Enreg. dans boîte de réception :
Enregistre les fax reçus dans l'Boîte de réception de l'imprimante. Vous pouvez enregistrer jusqu'à 100 documents. Notez qu'il peut ne pas être possible d'enregistrer 100 documents en fonction des conditions d'utilisation, par exemple la taille de fichier des documents enregistrés et l'utilisation de plusieurs fonctionnalités d'enregistrement de fax à la fois.
Bien que les télécopies reçues ne soient pas imprimées automatique, vous pouvez les afficher sur l'écran de l'imprimante et imprimer uniquement celles dont vous ave besoin.
Options si mémoire pleine :
Vouss pouvez selectionner d'imprimer le fax reçu ou refuser de le receivevoir lorsque la mémoire de l'Boîte de réception est pleine.
Rég MdPasse de Bte récep :
Le mot de passer empêche les utilisateurs de voir les télécopies reçues dans l'Boîte de réception. Sélectionnez Changer pour modifier le mot de passer, et Sélectionnez Réinitialiser pour annuler la protection par mot de passer. Lors de la modification ou de la réinitialisation du mot de passer, le mot de passer actuel est requis.
Vous ne pouvez pas définir de mot de passer quand Options si mémoire pleine a été définisur Recevoir et imprimer les fax.
Enreg. sur ordi :
Enregistrez les fax reçus au format PDF sur un ordinateur connecté à l'imprimante. Vous ne pouvez régler ce paramètre que sur Oui à l'aide du FAX Utility (application). Vous ne pouvez pas activer ce paramètre depuis le panneau de commande de l'imprimante. Installes préalablement FAX Utility sur l'ordinateur. ÀpRES avoir régle ce paramètre sur Oui, vous pourrez le régler sur Oui et Imprimer depuis le panneau de commande de l'imprimante.
« Définir les paramètres de sorte d'enregistrer les fax reçus » à la page 77
Paramètres d'impression
You pouvez trouver le menu sur le panneau de commande de l'imprimante, ci-dessous.
Param. > Réglages généraux > Param. fax > Param. de réception > Paramètres d'impression
Réduction automatique :
Imprime les fax reçus avec des documents de grande taille réduits pour tener sur le papier dans la source de papier. Selon les données reçues, il est possible que la réduction ne puisse pas toujours être effectuee. Si cette fonctionnalité est désactivée, les documents de grande taille sont imprimés selon leur taille originale sur plusieurs feuilles ou une deuxieme page blanche est éjectee.
Param. Partage pages :
Imprime les fax reçus avec une séparation de page lorsquè les document reçus sont plus grands que la taillè du papier chargé dans l'imprimante. Si la quantité dépassant la longueur du papier est inférieure à la valeur définie dans Supprimer données exprir partage- Seuil, l'excedent est ignoré. Si la quantité dépassant la longueur du papier est supérieure à la valeur définie, l'excedent est imprimé sur un autre papier.
Supprimer données impr apr partage :
Supprimer données'impr apr partage :
Sélectionnez la zone du document à supprimer lorsque la quantité qui dépasse la longueur du papier est inférieure à la valeur définie dans Seuil.
Seuil :
Si la quantité qui dépasse la longueur du papier est inférieure ou égale à cette valeur, l'excedent est ignoré et n'est pas imprimé.
Recouvr si partagé :
Recouvr si partagé :
Lorsque ceci est régle sur On et que les données sont divisées et imprimées parce que la quantité dépasse Supprimer données exprir après partage > Seuil, les données divisées sont imprimées en utilisant la longueur de chevauchement spécifique dans Largeur de recouvrement.
Largeur de recouvrement :
Les données qui dépassent cette valeur seront imprimées par-dessus.
Rotation auto :
Fait pivoter les télécopies reçues avec une mise en page en paysage au format A5 afin de les imprimer au bon format de papier A5. Ce paramètre est appliqué lorsque le paramètre de taille de papier est défini sur A5.
En seLECTIONnant Arrêt, les fax reçus au format A5 orientés paysage, qui ont la même largeur que les documents A4 en format portrait, sont considérés comme des fax au format A4 et imprimés comme tels.
Vérifiez le paramètre de format papier dans Param. > Réglages généraux > Param imprim > Réglages source papier.
Ajouter informationséception :
Imprime des informations de réception du fax reçu, même si l'expéditeur n'a pas défini d'informations d'en-tête. Les informations de réception comprendnent la date et l'heure de la réception, l'ID de l'expéditeur et un numéro de page ( comme « P1 »). Lorsque Param. Partage pages est activé, le numéro de la page de séparation est également compris.
Rec/Ver :
Rec/Ver:
Imprime plusieurs pages des fax reçus sur les deux côtés du papier.
Marge de reliure :
Sélectionnez la position de reliure.
Minuterie début d'impression :
Sélectionnez les options pour démarrer l'impression des fax à receivevoir.
Toutes les pages reçues : L'impression commence après la réception de toutes les pages. L'impression à partir de la première page ou de la dernière page dépend du réglage de la fonctionnalité Pile de collecte. Consultez l'explication pour Pile de collecte.
Première page reçue: Démarre l'impression lorsque la première page est reçue, puis imprime dans l'ordre de réception des pages. Si l'imprimante ne peut pas démarrer l'impression, par exemple lorsqu'elle imprime d'autres documents, l'imprimante démarre en lot l'impression des pages reçues, dés qu'elle est disponible.
Pile de collecte :
Puisque la première page est imprimée en dernier (sortie vers le haut), les documents imprimés sont empilés dans l'ordre correct des pages. Si l'imprimante manque de mémoire, il est possible que cette fonctionnalité ne soit pas disponible.
Temps suspension impr :
Temps suspension impr :
Pendant la période spécifiée, l'imprimante enregistre les documents reçus dans la mémoire de l'imprimante sans les imprimer. Cette fonctionnalité peut être utilisée pour réduire le bruit la nuit ou pour empêcher la divulgation de documents confidentiels en votre absence. Avant d'utiliser cette fonctionnalité, assurez-vous de-disposer de suffisamment de mémoire.
Temps d'arrêt :
Arrête l'impression de documents.
Entr. heures de redém.:
Redémarre automatiquement l'impression des documents.
Mode silencieux :
Réduit le bruit produit pendant l'impression des fax. Cela risque cependant de réduire la vitesse d'impression.
Paramètres de rapport
You pouze trouver le menu sur le panneau de commande de l'imprimante, ci-dessous.
Param. > Réglages généraux > Param. fax > Paramètres de rapports
Impr auto journal fax :
Permet d'imprimer automatiquement le journal de télécopie. Sélectionnez Le (Chaque 30) pour imprimer un journal toutes les 30 tâches de télécopie effectuees. Sélectionnez A (Heure) pour imprimer le journal à une heures définie. Toutefois, si le nombre de tâches de télécopie est supérieur à 30, le journal sera imprimé avant l'heure indiquée.
Joindre l'image au rapport :
Imprime un Rapp. Transmiss. avec une image de la première page du document envoyé.
Selectionnez Marche (grande image) pour imprimer la partie supérieure de la page sans réduction.
Selectionnez Marche (petite image) pour imprimer l'intégrality de la page en la réduisant en fonction du rapport.
Format rapport :
Sélectionnez le format des rapportés de fax dans Fax > (Plus) > Rapport de fax autre que Trace protocole. Sélectionnez Détail pour imprimer avec les codes d'erreur.
Param. de sécurité
Yououpouze trover le menu sur le panneau de commande de l'imprimante, ci-dessous.
Param. >Réglages généraux > Param. fax > Param. de sécurité
Restrictions de numérotation directe :
Sélectionnez On pour désactiver la saisie manuelle du numéro de fax des destinataires, ce qui permet à l'utilisateur de ne sélectionner que les destinataires présents dans la liste des contacts ou dans l'histoire des envois.
Selectionnez Entrez deux fois pour demander à l'utilisateur de saisir à nouveau le numéro de fax lorsque le numéro a été saisi manuellement.
Sélectionnez Arrêt pour activer la saisie manuelle du numéro de fax des destinataires.
Restrictions de diffusion :
Selectionner On permet de saisir un seul numéro de fax comme Destinataire.
Selectionnez On pour afficher un écran de confirmation du destinataire avant de commencer la transmission.
VoussouspecictionnerlesdestinatairesdepuisToutouUniquementpourla diffusion.
Effac auto donn. sauve:
Les copies de sauvegarde de documents envoyés et reçus sont généralement stockées temporairement dans la mémoire de l'imprimante afin de se préparer à une panne de courant causée par une panne électrique ou des opérations incorrectes.
Selectionnez On pour effacer automatiquement les sauvegardes lorsque la transmission (envoi ou réception) s'est déroulée avec succès et que ces sauvegardes deviennent inutiles.
Effac.données sauvegarde:
Permet d'effacer toutes les copies de sauvegarde temporairement stockées dans la mémoire de l'imprimante. Executeur cette fonctionnalité avant de donner l'imprimante ou de la dette au rebut.
État de l'alimentation
Selectionnez le menu sur le panneau de commande comme indiqué ci-dessous.
Param. > État de l'alimentation
Affiche le niveau approximatif des cartouches d'encre et de la durée de vie du boitantier de maintenance.
Lorsque s'affiche, l'encre est presque épuisé ou le boîtier de maintenance est presque plein. Lorsque s'affiche, vous doivent remplaner l'élement, car l'encre est épuisée ou le boîtier de maintenance est plein.
« Remplacement des cartouches d'encre » à la page 195
« Remplacement du boîtier de maintenance » à la page 200
Entretien
Selectionnez les menus sur le panneau de commande comme indiqué ci-dessous.
Param. > Entretien
Tete d'impr Vérification des buses :
Sélectionnez cette fonctionnalité pour vérifier que les buses de la tête d'impression ne sont pas obstruées. L'imprimante un motif de vérification des buses.
Nettoyage tete d'impr.:
Sélectionnez cette fonctionnalité pour nettoyer les buses obstruées dans la tête d'impression.
Nettoyage auto:
Sélectionnez cette fonction pour effectuer un nettoyage puissant si la tête d'impression est complètement obstruée ou si elle l'est toujours après avoir repété le nettoyage standard. Davantage d'encre est consommée par rapport à un nettoyage habitual.
Alignement de la tete :
Sélectionnez cette fonctionnalité si vos impressions sont floues ou si le texte et les lignes ne sont pas correctement alignés.
Alignment horizontal :
Sélectionnez cette fonctionnalité si des bandesizontales s'affichent à intervalles réguliers dans vos impressions.
Remplact des cartouches :
Utilisez cette fonctionnalité pour remplaner les cartouches d'encre avant qu'elles ne soient vides.
Cap. restante Boitier de maintenance :
Affichage de la durée de vie approximative du boîtier de maintenance. Si s'affiche, le boîtier de maintenance est presque plein. Si s'affiche, le boîtier de maintenance est plein.
Nettoyage guide papier :
Sélectionnez cette fonctionnalité s'il y a des taches d'encre sur les rouleaux interieurs. L'imprimante alimente en papier afin de nettoyer les rouleaux interieurs.
« Vérification et nettoyage de la tête d'impression » à la page 108
→ « Exécution de Nettoyage auto » à la page 110
« Alignment de la tête d'impression » à la page 111
« Remplacement des cartouches d'encre » à la page 195
« Remplacement du boîtier de maintenance » à la page 200
« Nettoyage du trajet du papier en cas de traces d'encre » à la page 111
Impr.feui.d'état
Sélectionnez les menus sur le panneau de commande comme indiqué ci-dessous.
Param. > Impr.feui.d'état
Fiche d'etat de config.:
Permet d'imprimer des feuilles d'information indiquant l'etat et les paramètres actuels de l'imprimante.
Fiche d'etat des consommables :
Imprime une feuille d'information indiquant l'état des consommables.
Fiche d'historique d'utilisation :
Permet d'imprimer des feuilles d'information indiquant l'historique de l'utilisation de l'imprimante.
Compteur d'impressions
Sélectionnez les menus sur le panneau de commande comme indiqué ci-dessous.
Param. > Compteur d'impressions
Affiche le nombre total d'impressions, d'impressions en noir et blanc et d'impressions en couleur, telles que la feuille d'etat depuis le moment où vous avez acheté l'imprimante.
Selectionnez Imprimer une feuille lorsque vous voulez imprimer le résultat. La feuille imprimée inclut également le nombre de pages numériées. Les informations inclues dans la feuille sont les mêmes lorsque vous imprimez depuis d'autres fonctions sur la Fiche d'histoire d'utilisation.
Paramètres utiliser
Selectionnez les menus sur le panneau de commande comme indiqué ci-dessous.
Param. > Paramètres utiliser
Copie :
You pouvez modifier les paramètres par défaut dans le menu Copier.
Numér. vers ordi
You pouez modifier les parametes par defaut dans le menu Numér. vers ordi.
Numér. vers Cloud :
Vou puez modifier les paramètres par défaut dans le menu Numér. vers Cloud.
Fax:
You pouez modifier les parametes par defaut dans le menu Tellocopieur.
Recherche client
Selectionnez les menus sur le panneau de commande comme indiqué ci-dessous.
Param. > Recherche client
Transmet des informations relatives à l'utilisation du produit, comme le nombre d'impressions, à Seiko Epson Corporation. Sélectionnez Param. — Autoriser, puis suivez les instructions à l'écran.
Rest param défaut
Selectionnez les menus sur le panneau de commande comme indiqué ci-dessous.
Param. > Rest param défaut
Paramètres réseau :
Réinitialise les paramètres réseau aux valeurs par défaut.
Param de copie :
Réinitialise les paramètres de copie aux valeurs par défaut.
Param. de nombre.:
Réinitialise les paramètres de scan aux valeurs par défaut.
Param.fax:
Réinitialise les paramètres du télécopieur aux valeurs par défaut.
Eff ttes données et param :
Efface toutes les informations personnelles enregistrées dans la mémoire de l'imprimante et réinitialise tous les paramètres aux valeurs par défaut.
Mise à jour firmware
Selectionnez les menus sur le panneau de commande comme indiqué ci-dessous.
Param. > Mise à jour firmware
Mise à jour :
Déterminez si la première version du micrologiciel a été téléchargeée au niveau du serveur réseau. Si une mise à jour est disponible, vous pouvez decide de lancer ou non la mise à jour.
Notification :
Selectionnez On pour receivevoir une notification si une mise à jour du micrologiciel est disponible.
Caracteristiques de l'appareil
Specifications de l'imprimante
| Placement des buses de la tête d'impression | Buses d'encre noire : 400
Buses d'encre couleur : 128 pour chaque couleur |
| Grammage du papier* | Papier ordinaire | 64 à 90 g/m2 |
| Enveloppes | 75 à 100 g/m2 |
- Meme lorsque l'épaissur du papier fait partie de cette plage, le papier peut ne pas s'alimenter dans l'imprimante ou la qualité d'impression peut s'amoindrir en fonction des propriétés ou de la qualité du papier.
Zone imprimable
Zone imprimable des feuilles simples
Il est possible que la qualité d'impression décline dans les zones fonçées en raison du mécanisme de l'imprimante.
Impression avec cordures
| A
B
C
D | A | 3.0 mm (0.12 pouces) |
| B | 3.0 mm (0.12 pouces) |
| C | 41.0 mm (1.61 pouces) |
| D | 37.0 mm (1.46 pouces) |
Impression sans marges
| A | 44.0 mm (1.73 pouces) |
| B | 40.0 mm (1.57 pouces) |
Zone imprimable pour enveloppes
Il est possible que la qualité d'impression décline dans les zones fonçées en raison du mécanisme de l'imprimante.
| A
B
C
D | A | 3.0 mm (0.12 pouces) |
| B | 3.0 mm (0.12 pouces) |
| C | 18.0 mm (0.71 pouces) |
| D | 41.0 mm (1.61 pouces) |
Specifications du scanner
| Type de scanner | Plateau |
| Dispositif photoélectrique | CIS |
| Pixels effectifs | 10200×14040 pixels (1200 ppp) |
| Taille de document maximale | 216×297 mm (8.5×11.7 po)
A4, Letter |
| Résolution de numérisation | 1200 ppp (numérisation principale)
2400 ppp (numérisation secondaire) |
| Résolution de sortie | 50 à 9600 ppp par pas de 1 ppp |
| Profondeur des couleurs | Couleur
□ 48 bits par pixel par couleur interne (16 bits par pixel par couleur interne)
□ 24 bits par pixel par couleur externe (8 bits par pixel par couleur externe)
Échelle de gris
□ 16 bits par pixel par couleur interne
□ 8 bits par pixel par couleur externe
Noir et blanc
□ 16 bits par pixel par couleur interne
□ 1 bits par pixel par couleur externe |
| Source lumineuse | DEL |
Specifications de l'ADF
| Tailles de papier disponibles | A4, Letter, 8.5×13 in., Legal, Indian-Legal |
| Type de papier | Papier ordinaire |
| Grammage du papier | 64 à 95 g/m2 |
| Capacité de chargement | A4, Letter : 30 feuilles ou 3.3 mm
8.5×13 in., Legal, Indian-Legal : 10 feuilles |
| Numérisation auto recto-verse | Non prise en charge |
Meme si le document original est conforme aux caractéristiques des supports utilisables avec l'ADF, il peut ne pas etre alimenté par l'ADF, ou la qualite de numérisation peut s'amoindrir en fonction des caractéristiques ou de la qualite du papier.
Spcifications du fax
| Type de fax | Fax en couleur et en noir et blanc (super groupe ITU-T 3) |
| Lignes prises en charge | Lignes téléphoniques analogiques standard, systèmes téléphoniques PBX (commutateur téléphonique隱私é) |
| Résolution | Monochrome | Standard: 8 pixels/mm×3,85 lignes/mm (203 pixels/pox×98 lignes/po)
Fin: 8 pixels/mm×7,7 lignes/mm (203 pixels/pox×196 lignes/po)
Photo: 8 pixels/mm×7,7 lignes/mm (203 pixels/pox×196 lignes/po) |
| Couleur | 200×200 ppp |
| Vitesse | Jusqu'à 33.6 kbps |
| Méthode de compression | Monochrome | MH/MR/MMR |
| Couleur | JPEG |
| Standards de communication | G3, SuperG3 |
| Format du papier envoyé | Vitre du scanner | Letter, A4 |
| Chargeur automatique | A4, Letter, 8.5×13 in., Legal, Indian-Legal |
| Format du papier d'enregistrement | Letter, A4, Legal |
| Vitesse de transmission*1 | Environ 3 sec. (A4 Graphique ITU-T No.1 Standard MMR 33.6 kbps) |
| Mémoire pages*2 | Jusqu'à 100 pages (lors de la réception du graphique ITU-T No.1 en mode standard monochrome) |
| Contacts | Nombre de contacts | Jusqu'à 100 |
| Nombre de contacts groupés | Jusqu'à 99 |
| Renumérotation*3 | 2 fois (par intervalle de 1 minute) |
| Interface | Ligne téléphonique RJ-11, connexion du poste téléphonique RJ-11 |
1 La vitesse réelle dépend du document, de l'appareil du destinataire et de l'état de la ligne téléphonique.
2 Retenue même pendant une panne de courant.
*3 Les specifications peuvent varier selon les pays ou les régions.
Spécifications de l'interface
| Pour l'ordinateur | USB haut débit* |
- Les câbles USB 3.0 ne sont pas compatibles.
Caracteristiques réseau
Spécifications du Wi-Fi
| Normes | IEEE 802.11b/g/n*1 |
| Plage de fréquences | 2,4 GHz |
| Modes de coordination | Infrastructure, Wi-Fi Direct (PA unique)*2*3 |
| Sécurités sans fil Wireless Securities*4 | WEP (64/128bit), WPA2-PSK (AES)*5, WPA3-SAE (AES) |
1 IEEE 802.11n n'est disponible que pour le HT20.
2 Non géré pour l'IEEE 802.11b.
3 Le mode PA unique est compatible avec une connexion Wi-Fi (Infrastructure) ou une connexion Ethernet.
4 Le Wi-Fi Direct ne prend en charge que le WPA2-PSK (AES).
*5 Conforme WPA2 avec gestion de WPA/WPA2 Personal.
1 Utilisez un cable STP (paire torsadée blindée) de catégorie 5e or ou supérieure pour éviter le risque d'interférence radio.
2 Le dispositif connecté doit être conforme aux normes IEEE802.3az.
Fonctions réseau et IPv4/IPv6
| Fonctions | Prise en charge | Remarques |
| Impression réseau | EpsonNet Print (Windows) | IPv4 | ✓ | - |
| Standard TCP/IP (Windows) | IPv4, IPv6 | ✓ | - |
| Impression WSD (Windows) | IPv4, IPv6 | ✓ | Windows Vista ou version ultérieure |
| Impression Bonjour (Mac OS) | IPv4, IPv6 | ✓ | - |
| Impression IPP (Windows, Mac OS) | IPv4, IPv6 | ✓ | - |
| Impression PictBridge (Wi-Fi) | IPv4 | - | Appareil photo numérique |
| Epson Connect (Impression dans un e-mail, Impression distante) | IPv4 | ✓ | - |
| AirPrint (iOS, Mac OS) | IPv4, IPv6 | ✓ | iOS 5 ou version ultérieure, OS X Mavericks (10.9.5) ou version ultérieure* |
| Numérique via le réseau | Epson Scan 2 | IPv4, IPv6 | ✓ | - |
| Epson ScanSmart | IPv4 | ✓ | Windows 7 ou supérieur, ou OS X El Capitan (10.11) ou supérieur |
| Event Manager | IPv4 | ✓ | Windows Vista/ Windows XP, ou OS X Yosemite (10.10)/OS X Mavericks (10.9.5) |
| Epson Connect (Numérique vers le Cloud) | IPv4 | ✓ | - |
| AirPrint (Numérique) | IPv4, IPv6 | ✓ | OS X Mavericks (10.9.5) ou version ultérieure* |
| Télécopie | Envoi d'un fax | IPv4 | ✓ | - |
| Réception d'un fax | IPv4 | ✓ | - |
| AirPrint (émission de fax) | IPv4, IPv6 | ✓ | OS X Mavericks (10.9.5) ou version ultérieure* |
- Nous vous recommendons d'utiliser la dernière version d'iOS ou de Mac OS.
Protocole de sécurité
| SSL/TLS | Serveur/Client HTTPS, IPPS |
| SNMPv3 |
Services tiers pris en charge
| Services | Prise en charge | Remarques |
| AirPrint | Impression | ✓ | iOS 5 ou version ultérieure/OS X Mavericks (10.9.5) ou version ultérieure* |
| Numérisation | ✓ | OS X Mavericks (10.9.5) ou version ultérieure* |
| Télécopie | ✓ | OS X Mavericks (10.9.5) ou version ultérieure* |
* Nous vous recommendons d'utiliser la derniere version d'iOS ou de Mac OS.
Dimensions
| Dimensions | Stockage
□ Largeur: 375 mm (14.8 po)
□ Profondeur: 347 mm (13.7 po)
□ Hauteur: 231 mm (9.1 po)
Impression
□ Largeur: 417 mm (16.4 po)
□ Profondeur: 503 mm (19.8 po)
□ Hauteur: 255 mm (10.0 po) |
| Poids* | Environ 6.4 kg (14.1 lb) |
- Sans les cartouches d'encre et le cordon d'alimentation.
Caracteristiques electriques
| Puisance nominale de l'alimentation | AC 100–240 V | AC 220–240 V |
| Plage de fréquences nominales | 50–60 Hz | 50–60 Hz |
| Courant nominal | 0.4–0.2 A | 0.2 A |
| Consommation électrique (avec la connexion USB) | Copie autonome : environ 12.0 W (ISO/IEC24712) | Copie autonome : environ 12.0 W (ISO/IEC24712) |
| Mode prét : environ 5.4 W | Mode prét : environ 5.4 W |
| Mode veille : environ 1.0 W | Mode veille : environ 1.0 W |
| Hors tension : environ 0.2 W | Hors tension : environ 0.2 W |
Remarque:
□ Reportez-vous à l'étiquette présente sur l'imprimante pour connaître la tension du produit.
Pour les utilisateurs européens, consultez le site Web suivant pour plus de détails concernant la consommation électrique. http://www.epson.eu/energy-consumption
Caracteristiques environnementales
| Fonctionnement | Utilisez l'imprimante dans la plage de températures indiquée dans le graphique ci-après. |
| Température : 10 à 35 °C (50 à 95 °F)Humidité : 20 à 80 % d'humidité relative (sans condensation) |
| Stockage | Température après le chargement d'encre initial : -15 à 40 °C (5 à 104 °F)*Température avant le chargement d'encre initial : -20 à 40 °C (-4 à 104 °F)*Humidité : 5 à 85 % d'humidité relative (sans condensation) |
- Stockage possible pendant un mois à 40 °C (104 °F).
Caracteristiques environnementales pour les cartouches d'encre
| Température de stockage | -30 à 40 °C (-22 à 104 °F)* |
| Température de congélation | -16 °C (3.2 °F)
 25 °C (77 °F), l'encre dégèle en 3 heures environ et est ensuite usable. |
- Stockage possible pendant un mois à 40 °C (104 °F).
Configuration requise
Windows
Windows Vista, Windows 7, Windows 8/8.1, Windows 10, Windows 11 ou version ultérieure
Windows XP SP3 (32 bits)
Windows XP Professional x64 Edition SP2
Windows Server 2003 (SP2) ou version ultérieure
Mac OS
Mac OS X 10.9.5 ou version ultérieure, macOS 11 ou version ultérieure
Remarque:
Il se peut que Mac OS ne prenne pas en charge certaines applications et fonctionnalités.
Le système de fichiers UNIX (UFS) pour Mac OS n'est pas pris en charge.
Normes et conformité pour le modele États-Unis
| Sécurité | UL62368-1
CAN/CSA-C22.2 No.62368-1 |
| EMC | FCC Part 15 Subpart B Class B
CAN ICES-3 (B)/NMB-3 (B) |
Cet équipement contient le module sans fil suivant.
Ce produit est conforme à la section 15 de la réglementation FCC et à la section RSS-210 de la réglementation IC. Epson ne peut être tenue responsable en cas de non-respect des exigences de protection suite à une modification non recommandée du produit. Le fonctionnement est soumis aux deux conditions suivantes : (1) le pérophérique ne peut occasionalnier d'interférences nuisibles et (2) le pérophérique doit accepter toutes les interférences reçues, y compris les interférences pouvant entraîner un fonctionnement indésirable du pérophérique.
Afin déviter les interférences radio au niveau du service propose sous licence, le périphérique est conçu pour fonctionner à l'intérieur et à l'écart des fenêtres, de manière à offrir un blindage maximal. Les équipements (ou leur antennae de transmission) installés à l'extérieur sont soumis à une licence.
Cet équipement est conforme aux limites d'exposition aux rayonnements de la FCC/IC pour un environnement non controlé, ainsi qu'aux Directives d'exposition aux fréquences radio de la FCC du Supplément C de OET65 et RSS-102 de la Réglementation de l'exposition aux fréquences radio de l'IC. Cet équipement doit être installé et utilisé de façon à ce que le radiateur soit distant d'au moins 7,9 po (20 cm) du corps d'une personne (à l'exception de ses extrémités : mains, poignets, pieds et chevilles).
Pour les utilisateurs européens
Seiko Epson Corporation déclare par la présente que le modèle d'équipement radio suivant est conforme à la Directive 2014/53/EU. Le texte complét de la déclaration de conformité de l'UE est disponible sur le site Web suivant.
http://www.epson.eu/conformity
C623B
Pour l'utilisation dans les pays suivants uniquement : Irlande, Royaume-Uni, Autriche, Allemagne, Liechtenstein, Suisse, France, Belgique, Luxembourg, Pays-Bas, Italie, Portugal, Espagne, Danemark, Finlande, Norvège, Suède, Islande, Croatie, Chypre, Grèce, Slovensie, Malte, Bulgarie, République tchéque, Estonia, Hongrie, Lettonie, Lituanie, Pologne, Roumanie et Slovaquie.
Epson ne peut être tenue responsable en cas de non-respect des exigences de protection suite à une modification non recommandée du produit.
CE
Normes et approbations pour le modele australien
EMC
AS/NZS CISPR32 Class B
Epson déclare par la présente que l'équipement suivant est conforme aux exigences essentielles et autres dispositions pertinentes de la directive AS/NZS4268 :
C623B
Epson ne peut être tenue responsable en cas de non-respect des exigences de protection suite à une modification non recommandée du produit.
Normes et approbations pour le modele neo-zelandais
General Warning
Restrictions relatives à la copie
Respectez les restrictions suivantes de manière à garantir une utilisation responsable et légale de l'imprimante.
La copie des éléments suivants est interdite par la loi :
Billets de banque, pieces, titres négociables émis par le gouvernement, titres de gage du gouvernement et titres municipaux
□ Timbres-poste inutilisés, cartes postales prétimbrées et autres envois postaux timbrés au tarif en vigueur
Timbres fiscaux émis par le gouvernement et titres émis selon des procédures légales
Faites preuve de circonspection lors de la copie des éléments suivants :
Titres négociables privés (certificats d'action, billets au porteur, chèques, etc.), abonnements mensuels, billets de réduction, etc.
Passports, permis de conduire, certificats medicaux, titres de transport, bons d'alimentation, billets, etc.
Remarque:
Il est également possible que la copie de tels documents soit interdite par la loi.
Utilisation responsable de documents soumis à droits d'auteur :
Les imprimantes peuvent être utilisées incorrectly en cas de copie de documents soumis à droits d'auteur. À moins d'agir sur les conseils d'un avocat bien informé, prenez vos responsabilités et faites préuve de respect en sollicitant l'autorisation du détenteur des droits d'auteur avant de copier des documents publiés.
Où trouver de l'aide
Site Web du support technique. 248
Contacter l'assistance Epson. 248
Site Web du support technique
Si vous avez besoin d'aide supplémentaire, visitez le site Web du support technique Epson indiqué ci-dessous. Sélectionnez votre pays ou votre région et accédez à la section d'assistance de votre site Web Epson local. Les pilotes les plus récents, foires aux questions, manuels et autres ressources pouvant être téléchargeées sont également disponibles sur le site.
http://support.epson.net/
http://www.epson.eu/support (Europe)
Si vous produit Epson ne fonctionne pas correctement et que vous ne pouvez pas résoudre le problème, contactez le service d'assistance Epson.
Si vous produit Epson ne fonctionne pas correctement et que vous ne parvenez pas à résoudre le problème à l'aide des informations de dépannage proposées dans les manuels du produit, contactez les services d'assistance Epson pour obtenir de l'aide.
La liste d'assistance Epson suivante est basée sur le pays de vente. Il se peut que certains produits ne soient pas vendus dans votre emplacement actuel : assurez-vous de contacter l'assistance Epson pour la région dans laquelle vous avez acheté votre produit.
Si l'assistance Epson de votre région n'est pas repertoriée ci-dessous, contactez le revendeur auprès duquel vous avez acheté le produit.
L'assistance Epson sera en mesure de vous aider beaucoup plus rapidement si vous communiquez les informations suivantes :
Numéro de série du produit
(létiquette sur laquelle figure le numéro de série se trouve généralement à l'arrêté du produit)
Modèle d'imprimante
- Version du logiciel du produit
(Cliquez sur About, Version Info, ou un bouton similaire dans le logiciel du produit.)
Marque et modèle de votre ordinaireur
Nom et version du système d'exploitation de votre ordinateur
- Nom et version des applications logicielles que vous utilisez normalement avec votre produit
Remarque:
Selon le produit, les données de liste de numérotation et/ou les paramètres reseau peuvent être stockés dans la mémoire du produit. Les données et/ou paramètres peuvent être perdus suite à une panne ou une réparation d'un produit. Epson ne sera pas tenue responsable de la perte de données, de la sauvegarde ou de la restauration de données et/ou paramètres et ce, même pendant une période de garantie. Nous vous recommendons d'effectuer votre propre sauvégarde de données ou de prendre des notes.
Aide pour les utilisateurs d'Europe
Consultez votre document de garantie paneuropeanne pour obtenir des informations relatives à la procédure à suivre pour contacter l'assistance Epson.
Aide pour les utilisateurs de Taiwan
Utilisez les sources suivantes pour obtenir des informations, de l'aide et des services :
Internet
http://www.epson.com.tw
Des informations relatives aux caractéristiques des produits, des pilotes à télécharger et des demandes de produits sont disponibles.
Bureau d'assistance Epson
Telephone: +886-2-2165-3138
L'équipe de notre bureau d'assistance téléphonique peut vous aider dans les domaines suivants :
- Demandes de ventes et informations relatives au produit
Questions ou problèmes relatifs à l'utilisation des produits
Demandes de réparations et garantie
Centre de réparation :
http://www.tekcare.com.tw/branchMap.page
TekCare corporation est un centre de service agréé pour Epson Taiwan Technology & Trading Ltd.
Aide pour les utilisateurs d'Australie
Epson Australie souhaite vous proposer un service clientèle de niveau élevé. Parallèlement aux manuels de votre produit, nous mettons à votre disposition les sources d'information suivantes :
Adresse URL Internet
Consultez le site Internet de Epson Australie. Un site qui vaut le coup d'eel! Le site contient une zone de téléchargement de pilotes, une liste de points de contact Epson, des informations relatives aux nouveaux produits et une assistance technique (par courrier électronique).
Bureau d'assistance Epson
Telephone: 1300-361-054
Le bureau d'assistance Epson sert de point de contact final, il permet de garantir que les clients ont accès à des conseils. Les opérateurs du bureau d'assistance vous aident à installer, configurer et utiliser votre produit Epson. Le personnel de notre bureau d'assistance préventes vous propose de la documentation relative aux nouveaux produits Epson et vous indique où se trouve le revendeur ou agent d'entretien le plus proche. Le bureau d'assistance répond à de nombreux types de requêtes.
Nous vous invitons à recueillir toutes les informations nécessaires avant d'appeler. Plus les informations recueillies sont nombreuses et plus le problème peut être résolurapidement. Les informations concernées incluent les manuels de votre produit Epson, le type d'ordinateur, le système d'exploitation, les programmes utilisés et toutes les informations jugées utiles.
Transport du produit
Epson conseille de conserver l'emballage du produit pour tout transport ultérieur.
Aide pour les utilisateurs de Nouvelle-Zélande
Epson Nouvelle-Zélande souhaite vous proposer un service clientèle de niveau élevé. Parallèlement à la documentation de votre produit, nous mettons à votre disposition les sources d'information suivantes :
Adresse URL Internet
Consultez le site Internet de Epson Nouvelle-Zélande. Un site qui vaut le coup d'œil! Le site contient une zone de téléchargement de pilotes, une liste de points de contact Epson, des informations relatives aux nouveaux produits et une assistance technique (par courrier électronique).
Bureau d'assistance Epson
Telephone: 0800 237 766
Le bureau d'assistance Epson sert de point de contact final, il permet de garantir que les clients ont accès à des conseils. Les opérateurs du bureau d'assistance vous aident à installer, configurer et utiliser votre produit Epson. Le personnel de notre bureau d'assistance préventes vous propose de la documentation relative aux nouveaux produits Epson et vous indique où se trouve le revendeur ou agent d'entretien le plus proche. Le bureau d'assistance répond à de nombreux types de requêtes.
Nous vous invitons à recueillir toutes les informations nécessaires avant d'appeler. Plus les informations recueillies sont nombreuses et plus le problème peut être résolu rapidement. Les informations concernées incluent la documentation de votre produit Epson, le type d'ordinateur, le système d'exploitation, les programmes utilisés et toutes les informations jugées utiles.
Transport du produit
Epson conseille de conserver l'emballage du produit pour tout transport ultérieur.
Aide pour les utilisateurs à Singapour
Les sources d'informations, d'assistance et de services disponibles auprès de Epson Singapour :
Internet
http://www.epson.com.sg
Des informations relatives aux caractéristiques des produits, des pilotes à télécharger, des foires aux questions, des demandes de ventes et une assistance technique par courrier électronique sont disponibles.
Bureau d'assistance Epson
Numero Gratis: 800-120-5564
L'équipe de notre bureau d'assistance téléphonique peut vous aider dans les domaines suivants :
- Demandes de ventes et informations relatives au produit
□ Questions relatives à l'utilisation des produits ou problèmes de dépannage
Demandes de réparations et garantie
Aide pour les utilisateurs de Thailande
Utilisez les sources suivantes pour obtaining des informations, de l'aide et des services :
Internet
http://www.epson.co.th
Des informations relatives aux caractéristiques des produits, des pilotes à télécharger, des foires aux questions et des couriers électroniques sont disponibles.
Centre d'applé Epson
Telephone: 66-2460-9699
Adresse électronique : support@eth.epson.co.th
L'équipe de notre centre d'appels peut vous aider par téléphone dans les domaines suivants :
- Demandes de ventes et informations relatives au produit
Questions ou problèmes relatifs à l'utilisation des produits
Demandes de réparations et garantie
Aide pour les utilisateurs du Vietnam
Utilisez les sources suivantes pour obtaining des informations, de l'aide et des services :
Centre d'entretien Epson
Aide pour les utilisateurs d'Indonésie
Utilisez les sources suivantes pour obtaining des informations, de l'aide et des services :
Internet
http://www.epson.co.id
□ Informations relatives aux caractéristiques des produits, pilotes à télécharger
□ Foires aux questions, demandes de ventes, questions par courrier électronique
Ligne d'assistance Epson
Telephone: +62-1500-766
Télécopie: +62-21-808-66-799
L'équipe de notre ligne d'assistance peut vous aider, par téléphone ou par télécopie, dans les domaines suivants :
Demandes de ventes et informations relatives au produit
Support technique
Centre d'entretien Epson
| Province | Nom de la société | Adresse | Téléphone Courrier électronique |
| JAKARTA | Epson Sales and Service Jakarta (SUDIRMAN) | Wisma Keaii Lt. 1 JI. Jenderal Sudirman Kav. 3 Jakarta Pusat - DKI JAKARTA 10220 | 021-5724335 ess@epson-indonesia.co.id ess/support@epson-indonesia.co.id |
| SERPONG | Epson Sales and Service Serpong | Ruko Melati Mas Square Blok A2 No.17 Serpong-Banten | 082120090084 / 082120090085 esstag@epson-indonesia.co.id esstag/support@epson-indonesia.co.id |
| SEMARANG | Epson Sales and Service Semarang | Komplek Ruko Metro Plaza Block C20 JI. MT Haryono No. 970 Semarang-JAWA TENGAH | 024 8313807 / 024 8417935 esssmg@epson-indonesia.co.id esssmg/support@epson-indonesia.co.id |
| JAKARTA | Epson Sales and Service Jakarta (MANGGA DUA) | Ruko Mall Mangga Dua No. 48 JI. Arteri Mangga Dua, Jakarta Utara - DKI JAKARTA | 021 623 01104 jkt-technical1@epson-indonesia.co.id jkt-admin@epson-indonesia.co.id |
| BANDUNG | Epson Sales and Service Bandung | JI. Cihampelas No. 48 A Bandung Jawa Barat 40116 | 022 420 7033 bdg-technical@epson-indonesia.co.id bdg-admin@epson-indonesia.co.id |
| MAKASSAR | Epson Sales and Service Makassar | JI. Cendrawasih NO. 3A, kunjung mae, mariso, MAKASSAR - SULSEL 90125 | 0411- 8911071 mksr-technical@epson-indonesia.co.id mksr-admin@epson-indonesia.co.id |
| MEDAN | Epson Service Center Medan | JI. Bambu 2 Komplek Graha Niaga Nomor A-4, Medan - SUMUT | 061- 42066090 / 42066091 mdn-technical@epson-indonesia.co.id mdn-adm@epson-indonesia.co.id |
| PALEMBANG | Epson Service Center Palembang | JI. H.M Rasyid Nawawi No. 249 Kelurahan 9 Ilir Palembang Sumatera Selatan | 0711 311 330 escplg@epson-indonesia.co.id escplg/support@epson-indonesia.co.id |
| PEKANBARU | Epson Service Center PekanBaru | JI. Tuanku Tambusai No. 459 A Kel. Tangkerang barat Kec Marpoyan damai Pekanbaru - Riau 28282 | 0761- 8524695 pkb-technical@epson-indonesia.co.id pkb-admin@epson-indonesia.co.id |
| PONTIANAK | Epson Service Center Pontianak | Komp. A yani Sentra Bisnis G33, JI. Ahmad Yani - Pontianak Kalimantan Barat | 0561- 735507 / 767049 pontianak-technical@epson-indonesia.co.id pontianak-admin@epson-indonesia.co.id |
| SAMARINDA | Epson Service Center Samarinda | JI. KH. Wahid Hasyim (M. Yamin) Kelurahan Sempaja Selatan Kecamatan Samarinda UTARA - SAMARINDA - KALTIM | 0541 7272 904 escsmd@epson-indonesia.co.id escsmd/support@epson-indonesia.co.id |
| SURABAYA | Epson Sales & Service Surabaya (barat) | JI. Haji Abdul Wahab Saimin, Ruko Villa Bukit Mas RM-11, Kec. Dukuh Pakis, Surabaya - 60225 | 031- 5120994 sby-technical@epson-indonesia.co.id sby-admin@epson-indonesia.co.id |
| YOGYAKARTA | Epson Service Center Yogyakarta | YAP Square, Block A No. 6 JI. C Simanjutak Yogyakarta - DIY | 0274 581 065 ygy-technical@epson-indonesia.co.id ygy-admin@epson-indonesia.co.id |
| JEMBER | Epson Service Center Jember | JL. Panglima Besar Sudirman Ruko no.1D Jember-Jawa Timur (Depan Balai Penelitian & Pengolahan Kakao) | 0331- 488373 / 486468 jmr-admin@epson-indonesia.co.id jmr-technical@epson-indonesia.co.id |
| MANADO | EPSON SALES AND SERVICE Manado | JI. Piere Tendean Blok D No 4 Kawasan Mega Mas Boulevard - Manado 95111 | 0431- 8805896 MND-ADMIN@EPSON-INDONESIA.CO.ID MND-TECHNICAL@EPSON-INDONESIA.CO.ID |
| CIREBON | EPSON SERVICE CENTER Cirebon | JI. Tuparev No. 04 (Depan Hotel Apita) Cirebon, JAWA BARAT | 0231- 8800846 cbn-technical@epson-indonesia.co.id |
| CIKARANG | EPSON SALES AND SERVICE CIKARANG | Ruko Metro Boulevard B1 Jababeka cikarang - Jawa Barat, | 021- 89844301 / 29082424 ckg-admin@epson-indonesia.co.id ckg-technical@epson-indonesia.co.id |
| MADIUN | EPSON SERVICE CENTER MADIUN | JI. Diponegoro No.56, MADIUN - JAWA TIMUR | 0351- 4770248 mun-admin@epson-indonesia.co.id mun-technical@epson-indonesia.co.id |
| PURWOKERTO | EPSON SALES AND SERVICE Purwokerto | JI. Jendral Sudirman No. 4 Kranji Purwokerto - JAWA TENGAH | 0281- 6512213 pwt-admin@epson-indonesia.co.id pwt-technical@epson-indonesia.co.id |
| BOGOR | EPSON SALES AND SERVICE Bogor | JI.Pajajaran No 15B Kel Bantarjati Kec Bogor Utara - JAWA BARAT 16153 | 0251- 8310026 bgr-admin@epson-indonesia.co.id bgr-technical@epson-indonesia.co.id |
| SERANG | EPSON SERVICE
CENTER Serang | Jl. Ahmad Yani No.45C, SERANG - BANTEN | 0254- 7912503
srg-admin@epson-indonesia.co.id
srg-technical@epson-indonesia.co.id |
| PALU | EPSON SALES AND
SERVICE Palu | Jl. Juanda No. 58, Palu - Sulteng | 0451- 4012 881
plw-admin@epson-indonesia.co.id
plw-technical@epson-indonesia.co.id |
| BANJARMASIN | EPSON SERVICE
CENTER
BANJARMASIN | Jl. Gatot SoebROTO NO. 153
BANJARMASIN - KALSEL 70235 | 0511- 6744135 (TEKNISI) /
3266321(ADMIN)
bdj-admin@epson-indonesia.co.id
bdj-technical@epson-indonesia.co.id |
| DENPASAR | EPSON SALES AND
SERVICE Denpasar | JL. MAHENDRADATA NO. 18,
DENPASAR - BALI | 0361- 3446699 / 9348428
dps-admin@epson-indonesia.co.id
dps-technical@epson-indonesia.co.id |
| JAKARTA | EPSON SALES AND
SERVICE CILANDAK | CIBIS Business Park Tower 9 LT.
MEZZANINE, Jalan TB Simatupang
No.2, Jakarta Selatan - DKI
JAKARTA 12560 | 021- 80866777
escbris/support1@epson-indonesia.co.id
escbris/support2@epson-indonesia.co.id
escbris_admin@epson-indonesia.co.id
escbris.sales@epson-indonesia.co.id |
| SURABAYA | EPSON SALES AND
SERVICE SURABAYA
(GUBENG) | JL. RAYA GUBENG NO. 62,
SURABAYA - JAWA TIMUR | 031- 99444940 / 99446299 / 99446377
esssby@epson-indonesia.co.id
esssby/support@epson-indonesia.co.id |
| AMBON | EPSON SERVICE
CENTER AMBON | Jl. Diponegoro No.37 (Samping Bank Mandiri Syariah) Kel.Ahusen, Kec.Sirimau - Ambon 97127 | - |
Pour les autres villes non repertoriées ici, contactez la ligne d'assistance : 08071137766.
Aide pour les utilisateurs de Hong Kong
Pour obtenir une assistance technique et d'autres services après-vente, les utilisateurs sont invités à contacter Epson Hong Kong Limited.
Page d'accueil Internet
http://www.epson.com.hk
Epson Hong Kong a cree une page d'accueil Internet en chinois et en angeis, permottant aux utilisateurs d'acceder aux informations suivantes :
□ Informations relatives au produit
□ Foires aux questions
Dernières versions des pilotes Epson
Ligne d'assistance technique
Voupez également contacter notre personnel technique aux numéros de téléphone et de fax suivants :
Telephone:852-2827-8911
Télécopie:852-2827-4383
Aide pour les utilisateurs de Malaisie
Utilisez les sources suivantes pour obtaining des informations, de l'aide et des services :
Internet
http://www.epson.com.my
□ Informations relatives aux caractéristiques des produits, pilotes à télécharger
□ Foires aux questions, demandes de ventes, questions par courrier électronique
Centre d'applé Epson
Telephone: 1800-81-7349 (appel gratuite)
Adresse électronique : websupport@emsb.epson.com.my
Demandes de ventes et informations relatives au produit
Questions ou problèmes relatifs à l'utilisation des produits
- Demandes de réparations et garantie
Siège social
Telephone: 603-56288288
Télécopie:603-5628 8388/603-5621 2088
Aide pour les utilisateurs en Inde
Utilisez les sources suivantes pour obtaining des informations, de l'aide et des services :
Internet
http://www.epson.co.in
Des informations relatives aux caractéristiques des produits, des pilotes à télécharger et des demandes de produits sont disponibles.
Ligned d'assistance
Service, informations relatives au produit et commande de consommables (lignes BSNL)
Numero Gratis: 18004250011
De 9 heures à 18 heures, du lundi au samedi (sauf les jours fériés)
Service (CDMA et utilisateurs mobiles)
Numero Gratis: 186030001600
De 9 heures à 18 heures, du lundi au samedi (sauf les jours fériés)
Aide pour les utilisateurs des Philippines
Pour obtenir une assistance technique et d'autres services après-vente, les utilisateurs sont invités à contacter Epson Philippines Corporation aux numérios de téléphone/télécopie et à l'adresselectronique suivants :
Internet
Des informations relatives aux caractéristiques des produits, des pilotes à télécharger, des foires aux questions et des demandes par courrier électronique sont disponibles.
Adresse électronique: customercare@epc.epson.com.ph
De 9 heures à 18 heures, du lundi au samedi (sauf les jours fériés)
L'équipe de notre assistance clientèle peut vous aider par téléphone dans les domaines suivants :
- Demandes de ventes et informations relatives au produit
Questions ou problèmes relatifs à l'utilisation des produits
Demandes de réparations et garantie