TI321B - Cuisinière BRANDT - Notice d'utilisation et mode d'emploi gratuit
Retrouvez gratuitement la notice de l'appareil TI321B BRANDT au format PDF.
| Type de plaque | Induction |
| Nombre de foyers | 4 |
| Commande | Touch control |
| Puissance totale | Non précisé |
| Dimensions (L x P) | Non précisé |
| Couleur | Noir |
| Matériau de surface | Verre céramique |
| Sécurité enfants | Oui |
| Minuterie | Oui |
| Fonction booster | Oui |
| Détection de casserole | Oui |
| Arrêt automatique | Oui |
| Affichage | LED |
| Installation | Encastrable |
| Type d'alimentation | Électrique |
FOIRE AUX QUESTIONS - TI321B BRANDT
Questions des utilisateurs sur TI321B BRANDT
Pour effectuer le raccordement électrique monophasé de votre cuisinière à induction BRANDT TI321B, il est important de suivre des étapes précises afin d'assurer la sécurité et le bon fonctionnement de l'appareil.
Étapes pour le raccordement électrique monophasé :
- Vérification de l'installation électrique : Assurez-vous que votre installation est conforme aux normes en vigueur et qu'elle peut supporter la puissance de la cuisinière (généralement autour de 3,7 kW).
- Coupez l'alimentation électrique : Avant toute intervention, coupez le courant au niveau du disjoncteur pour éviter tout risque d'électrocution.
- Préparation du câble d'alimentation : Utilisez un câble adapté, typiquement un câble H05VV-F avec une section minimum de 3 x 2,5 mm² (phase, neutre, terre).
- Accès aux bornes de raccordement : Retirez le panneau arrière de la cuisinière pour accéder aux bornes électriques.
- Raccordement des fils :
- Phase (L) : connectez le fil de phase (souvent marron ou noir) à la borne correspondante.
- Neutre (N) : connectez le fil neutre (bleu) à la borne neutre.
- Terre (PE) : connectez le fil de terre (vert/jaune) à la borne de terre.
- Fixation du câble : Assurez-vous que le câble est bien fixé pour éviter tout tirage ou débranchement accidentel, en utilisant des serre-câbles si nécessaire.
- Remise en place du panneau : Replacez le panneau arrière une fois le raccordement terminé.
- Rétablissement de l'alimentation : Rallumez le disjoncteur pour rétablir le courant.
- Test de fonctionnement : Allumez la cuisinière pour vérifier que l'alimentation est correcte et que l'appareil fonctionne normalement.
Conseils de sécurité :
- Si vous n'êtes pas expérimenté en électricité, il est fortement recommandé de faire appel à un professionnel qualifié pour réaliser ce raccordement.
- Respectez toujours les normes électriques locales et les recommandations de sécurité.
Téléchargez la notice de votre Cuisinière au format PDF gratuitement ! Retrouvez votre notice TI321B - BRANDT et reprennez votre appareil électronique en main. Sur cette page sont publiés tous les documents nécessaires à l'utilisation de votre appareil TI321B de la marque BRANDT.
MODE D'EMPLOI TI321B BRANDT
Nous vous remercions d'avoir acheté un produit BRANDT et de la confiance que vous accordez à notre entreprise.
Ce produit a été concu et fabriqué pour vous en tenant compte de votre mode de vie et de vos exigences, afin de répondre au mieux à vos attentes. Nous y avons investi notre expertise, notre esprit d'innovation et tout l'enthousiasme qui nous anim depuis plus de 60 ans.
Afin de plusieurs jours pouvoir satisfaire au mieux vos exigences, notre service client est à votre disposition, prét à vous écouter et à répondre à toutes vos questions ou suggestions.
Vou puez également visiter notre site web à l'adresse : www.brandt.com où vous trouverez nos dernières innovations ainsi que d'autres informations utiles.
BRANDT est heures de vous soutenir au quotidien et espère que vous profiterez pleinement de votre achat.

Important : Avant de mettre votre machine en service, veuillez dire attentivement ce guide d'installation afin de vous familiariser rapidement avec son fonctionnement.
Table des matières
1. Avant-propos 5
1.1 Avertissements de sécurité 5
1.2 Installation 5
1.2.1 Risque d'electrocution 5
1.2.2 Risque de coupure 5
1.2.3 Consignes de sécurité importantes 6
1.3 Fonctionnement et entretien 8
1.3.1 Risque d'electrocution 8
1.3.2 Risque pour la santé 8
1.3.3 Risque lie à une surface chaude. 9
1.3.4 Risque de coupure 9
1.3.5 Consignes de sécurité importantes 9
2. Introduction du produit 12
2.1Vue de dessus 12
2.2 Bandeau de commande 12
2.3 Principe de fonctionnement 13
2.4 Avant d'utiliser votre nouvelle table de cuisson à induction 13
2.5 Caracteristiques techniques 13
3. Fonctionnement du produit 14
3.1 Commandes tactiles 14
3.2 Choisir le bon ustensile de cuisine 14
3.3 Mode d'emploi 16
3.3.1 Demarrer la cuisson 16
3.3.2Terminer la cuisson 17
3.3.3 Utilisation de la fonction Boost
3.3.4 Verrouillages des commandes 19
3.3.5 Utilisation du minuteur 19
3.3.6 Mode pause 22
3.3.7 Temps de fonctionnement par défaut 23
3.4Diametre de casserole 23
4. Conseils de cuisson 23
4.1 Astuces de cuisson 24
4.1.1 Faire moyen, cuire le riz 24
4.1.2 Griller un steak 24
4.1.3 Faire sauter 25
4.2 Detection de petits objets 25
5. Réglages de température 25
6. Entretien et nettoyage 26
7. Conseils et astuces 27
8. Affichage et contrôle des erreurs 29
9.Relations consommateurs et interventions. 29
9.1 Relations consommateurs France 29
9.2 Interventions France 30
10. Installation 30
10.2 Avant d'installer la table de cuisson, vérifie que 33
10.3Après avoir installé la table de cuisson,verifiez que 33
10.4 Avant de placer les supports de fixation 33
10.5Réglage de la position d'un support 34
10.6 Mises en garde 35
10.7 Connexion de la table de cuisson à l'alimentation électrique principale .... 35
1. Avant-propos
1.1 Avertissements de sécurité
- Nous tenons à votre sécurité. Veuillez dire ces informations avant d'utiliser votre table de cuisson.
1.2 Installation
1.2.1 Risque d'électrocution
- Débranche l'appareil de l'alimentation électrique principale avant d'effectuer tout travail ou entretien.
- Il est essentiel et obligatoire de connecter correctement l'appareil à un dispositif de mise à la terre.
- Toute modification du réseau électrique menager doit être réalisée uniquement par un technicien qualifié.
- Le non-respect de ces instructions pourra entraîner une électrocution voire la mort.
1.2.2 Risque de coupure
- Faites attention aux bords, car ils sont tranchants.
- Des blessures ou des coupures sont possibles.
1.2.3 Consignes de sécurité importantes
- Lisez attentivement ces instructions avant d'installer ou d'utiliser cet apparéil.
- Aucun matériel ou produit combustible ne devrait être place sur cet apparéil à aucun moment.
- Veuillez communiquer cette information à la personne chargée de l'installation de cet apparéil, car cela réduira vos coûts d'installation.
- Afin d'eviter tout danger, cet apparéil doit être installé conformément à ces instructions d'installation.
- Cet apparéil doit être correctement installé et relié à la terre uniquement par une personne qualifiée.
- Cet apparueil doit être relié à un circuit qui prévoit un dispositif d'isolation fournissant une déconnexion complète de l'alimentation électrique.
- Toute mauvaise installation pourrait annuler la garantie ou action en responsabilité civile.
-
Cet apparéil peut être utilisé par des enfants âgés d'au moins 8 ans et par des personnes dont les capacities physiques, sensorielles ou mentales sont réduites ou qui manquent d'expérience et de connaissances, si elles sont surveillées ou ont reçu des instructions concernant l'utilisation de l' apparéil en toute sécurité et si elles en comprendnent les risques.
-
Les enfants ne doivent pas journé avec l'appareil. Le nettoyage et la maintenance de l'utilisateur ne doit pas être effectuels par des enfants sans supervision.
- Si le cordon d'alimentation est endommagé, il devra être remplace par le fabricant, un technicien SAV ou une personne de qualification identique afin d'éviter tout risque.
- Attention: Si la surface est fissurée, éteignez l'appareil pour éviter tout risque d'électrocution à partir des surfaces de la table de cuisson en vitrocéramique ou dans un matériel siamaire qui protège les pieces sous tension.
- Les objets métalliques tels que couteaux, fourchettes, cuillères et couvercles ne doivent pas'être placés au-dessus de la surface de la plaque, car ils risquent de.devenir très chauds.
- N'utilisez pas un nettoyeur à vapeur pour nettoyer la table de cuisson.
- L'appoint ne doit pas être utilisé avec un minuteur externe ou un dispositif de télécommande séparé.
- ATTENTION : Risque d'incendie : ne laissezaucun objet sur les surfaces de cuisson.
- La cuisson doit être surveillée. Une cuisson courte doit être surveillée en permanence.
- ATTENTION : Une cuisson avec de l'huile ou de la matière grasse sans surveillance sur une table de cuisson peut etre dangereuse et entrainer un incendie. N'essayez jamais d'eteindre un incendie avec de I'eau : eteignez d'abord l'appareil, puis
covrez les flammes, par exemple avec un couvercle ou une couverture anti-incendie.
1.3 Fonctionnement et entretien
1.3.1 Risque d'électrocution
- Ne cuisine pas sur une table de cuisson brisée ou fissurée. Si la surface de la table de cuisson est brisée ou fissurée, éteignez immédiatement l'appareil au niveau de l'alimentation électrique (interrupteur mural) et contactez un technicien qualifié.
- Éteignez la table de cuisson au niveau de l'interrupteur mural avant un nettoyage ou un entretien.
- Le non-respect de ces instructions pourrait entraîner une électrocution voire la mort.
1.3.2 Risque pour la santé
- Cet apparéil est conforme aux normes de sécurité électromagnetique.
- Cependant, les personnes portant un pacemaker ou un autre implant électrique (par exemple, pompe à insuline) doivent consulter leur médecin ou le fabricant de l'implant avant d'utiliser cet apparéil pour vérifier le bon fonctionnement de ces dispositifs en présence d'un champ électromagnétique.
- Le non-respect de ces instructions pourrait entraîner la mort.
1.3.3 Risque lie à une surface chaude
- Durant l'utilisation, les pieces accessibles de cet apparéil deviendront suffisamment chaudes pour entraîner des brûlures.
- Ne laissez pas votre corps, vos vêtements ou tout article autre que des ustensiles de cuisson ajustats entre en contact avec la table de cuisson à induction tant que sa surface n'est pas froide.
- Éloignez les enfants.
- Les poignées des casseroles peuvent être chaudes au toucher. Vérifiez que les poignées des casseroles ne sont pas positionnées au-dessus d'autres zones de cuisson allumées. Gardez les poignées hors de portée des enfants.
- Le non-respect de ces instructions pourra entraîner des brûlures et des échaudures.
1.3.4 Risque de coupure
- La lame tranchante d'un gratoir de table de cuisson est exposée lorsque son capot de protection est rétracté. Utilisez-le avec une extrème précaution et rangez-le toujours pour plus de sécurité et hors de portée des enfants.
- Des blessures ou des coupures sont possibles.
1.3.5 Consignes de sécurité importantes
-
Ne laissez jamais l'appareil sans surveillance lorsqu'il est en fonctionnement. Un débordement peut produit un excès de fumée et des éclaboussures de graisse, qui peuvent s'enflammer.
-
N'utilisez jamais votre apparéil comme surface de travail ou de rangement.
- Ne laïsezaucun object niustensile sur l'appareil.
- Ne posez ni ne laissezaucun object pouvant semagnétiser (par ex. cartes de crédit, cartes mémoire) ou dispositifs électroniques (par ex. ordinateurs, lecteurs MP3) pres de l'appareil, car ils peuvent être affectés par son champ magnétique.
- N'utilisez jamais votre apparéil pour réchauffer ouCHAuffer la pièce.
- Àprousutilisation, éteignez:toujours les zones de cuisson et la table de cuisson, comme il est décrit dans ce manuel (c.-à-d. en utilisant les commandes tactiles). Ne vous fiez pas à la fonction de détction de casserole pour éteindre les zones de cuisson quand vous retirez les casseroles.
- Ne laisses pas les enfants jouer avec l'appareil, ni s'asseoir, se mettre debout ou grimper dessus.
- Ne rangezaucun object pouvant susciter la curiosité des enfants dans les placards au-dessus de l'appareil. Les enfants qui monteraient sur la table de cuisson pourraient'être gravement blessés.
- Ne laissez pas les enfants seuls ou sans surveillance dans la piece ou l'appareil est utilisé.
- Les enfants ou les personnes porteuses d'un handicap qui limite leur capacité à utiliser l'appareil doivent recevoir les instructions
d'utilisation d'une personne responsable et compétente. L'instructeur doit veiller à ce qu'ils puisent utiliser l'appareil sans danger pour eux ou les personnes qui les entourent.
- Ne répAREz ni ne remplacez aucune piece de l'appareil sauf si le manuel le recommande spécifique. Toute autre réparation doit être effectué par un technicien qualifié.
- Ne placez ni ne faites tomber aucun objet lourd sur votre table de cuisson.
- Ne montez pas sur votre table de cuisson.
- N'utilisez pas des casseroles avec des bords irréguliers et ne faites pas glisser les casseroles sur la surface de la table de cuisson, car vous risquez de rayer la surface vitrée.
- N'utilisez pas de tampons à récycler ou tout autre agent de nettoyage abrasif pour nettoyer votre table de cuisson, car vous risquez de la rayer.
- Cét apparéil est destiné à être utilisé uniquement pour des applications domestiques.
- ATTENTION : L'appareil et ses parties accessibles deviennent chauds pendant l'utilisation.
- Il convient d'éviter de toucher les éléments chauffants.
- Les enfants de moins de 8 ans doivent être tenus à l'écart, sauf s'ils sont surveillés de façon continue.
Félicitations pour l'achat de votre nouvelle table de cuisson à induction.
Nous vous recommendons de prendre du temps pour生存 ce Manuel d'instruction /Manuel d'instruction afin de bien comprendre comment installer et utiliser correctement l'appareil.
Pour l'installation, veuillez tire le paragraphe concernant l'installation.
Lisez attentivement toutes les consignes de sécurités avant d'utiliser l'appareil et conserveze ce Manuel d'instruction/Manuel d'instruction pour pouvoir vous y référer ultérieurement.
2. Introduction du produit
2.1 Vue de dessus

- Zone de 1800/2300 W max.
- Zone de 1400/1600 W max.
- Zone de 2300/2600 W max.
- Plaque en verre
- Bandeau de commande
2.2 Bandeau de commande

- Touche MARCHE/ARRÉT
- Touche de verrouillage du clavier
- Touche pour la mise en pause
- Touche de réglage de la minuterie/de la puissance
- Touche de réglage de la minuterie/de la puissance
- Touche Boost
- Touche de selection de la minuterie
- Touche de sélection des zones de cuisson
- Affichage de la puissance
- Affichage de la minuterie
2.3 Principe de fonctionnement
La cuisson par induction est une méthode de cuisson sûre, avancée, efficace et économique. Elle repose sur le principe des vibrations électromagnétiques qui produit directement de la chaleur dans la casserole, au lieu de chauffer indirectement à travers la surface en verre. La surface en verre devient chaude uniquement parce que la casserole est en contact avec cette dernière.

2.4 Avant d'utiliser votre nouvelle table de cuisson à induction
- Lisez ce manuel, en prénant note en particulier du paragraphe « Consignes de sécurité ».
- Otez tout film de protection qui serait encore collé sur votre table de cuisson à induction.
2.5 Caracteristiques techniques
| Table de cuisson | TI321B |
| Nombre de zones de cuisson | 3 zones |
| Tension d'alimentation | 220-240V~, 50Hz ou 60Hz |
| Puisance électrique installée | 6300 W |
| Dimensions du produit L x P x H (mm) | 590 x 520 x 60 |
| Dimensions d'encastrement A x B (mm) | 560 X 480 |
Le poids et les dimensions sont approximatifs. Comme nous cherchons constamment à améliorer nos produits, les caractéristiques et les designs peuvent changer sans préavis.
3. Fonctionnement du produit
3.1 Commandes tactiles
- Les commandes répondent au toucher. Par conséquent, vous ne devez exercer aucune pression.
Utilisez la pulpe de votre doigt, pas son extrémité. - Vous entendrez un signal sonore chaque fois que vous toucherez correctement les commandes.
Veillez à ce que les commandes soient toujours propres et séches, et qu'aucun objet (par ex. un ustensile ou un chiffon) ne les recouvre. Meme une fine pellicule d'eau peut compromettre le bon fonctionnement des commandes.




3.2 Choisir le bon ustensile de cuisine

Utilissez uniquement un ustensile de cuisson avec un fond adapté à la cuisson à induction. Recherche le symbole de l'induction sur l'emballage ou sur le fond de la casserole.
- Vous pouvez vérifier que votre ustensile est adapté en exécutant un test avec un aimant. Approchez l'aimant du fond de la casserole. S'il est attiré, la casserole est adaptée à la cuisson à induction.
-
Si vous n'avez pas d'aimant :
-
Versez de I'eau dans la casserole que vous souhaitez tester.
- Suivez les étapes décrites dans la section « Pour démarrer la cuisson »
- Si le symbole ne clignote pas dans l'afficheur et que l'eau se chauffe, la casserole est compatible.
- Les cassetoles fabriquées dans les matériaux suivants ne convennent pas : acier inoxydable pur, aluminium ou cuivre sans fond magnétique, verre, porcelain, céramique et terre cuite.

- Si la partie ferromagnétique ne recouvre que partiellement la base de la casserole, seule la zone ferromagnétique chauffera, le reste de la base risquant de ne pas atteindre une température suffisante pour la cuisson.
- Si la zone ferromagnétique n'est pas homogène, mais présente d'autres matériaux tels que l'aluminium, cela peut affecter la chauffe et la détction de la casserole.
- Si la base de la casserole est similaire aux images ci-dessous, la casserole peut ne pas etre détectee.

N'utilisez pas un ustensile avec des bords irréguliers ou un fond incurcé.

Vérifiez que le fond de votre casserole est lisse, qu'il repose à plat contre la surface en verre et qu'il est du même diamètre que la zone de cuisson. Utilisez des casseroles dont le diamètre est aussi large que le dessin de la zone sélectionnée. En utilisant un récipient légèrement plus grand, l'efficacité énergétique sera optimale. Si vous utilisez un récipient plus petit, l'efficacité sera moindre que cette prévue. Placez toujours votre casserole au centre de la zone de cuisson.




Retirez toujours les cassetoles de la table de cuisson sans les faire glisser, mais en les soulevant pour éviter de rayer la surface vitrée.


3.3 Mode d'emploi
3.3.1Démarrer la cuisson
| Touchez la commande MARCHE/ARRÊT pendant plusieurs secondes. Une fois sous tension, l'avertisseur émet un bref signal sonore. Tous les afficheurs indiquent « - » ou « - - », ce qui signifie que la table de cuisson à induction est entrée en mode veille. | 1 |
| Placez une casserole adaptée sur la zone de cuisson que vous souhaitez utiliser. • Veiliez à ce que le fond de la casserole et la surface de cuisson soient propres et secs. | 2 |
| Lorsque vous touchez une commande de sélection de zone de cuisson, un indicateur à côté de la commande se met à clignoter. | 3 |
| Sélectionnez un réglage de puissance en touchant les commandes « - » ou « + ». • Lorsque vous touchez une fois la commande "+" ou "-" , la puissance se règle automatiquement sur 5. • Si vous ne désissez pas un réglage de puissance après 1 minute, la table de cuisson à induction s'éteindra automatiquement. Vous devrez recommencer avec l'étape 1. • Vous pouvez modifier le réglage de puissance à tout moment durant la cuisson. | 4 |
Si le symbole et la consigne de puissance clignotent alternatively dans l'afficheur
Cela signifie que :
- une casserole n'a pas eté placée sur la zone de cuisson correcte ou,
- la casserole que vous étés en train d'utiliser ne convient pas à la cuisson à induction ou,
- la casserole est trop petite ou n'est pas correctement centree sur la zone de cuisson.
La cuisson ne peut pas démarrer tant qu'une casserole adaptée n'est pas placée sur la zone de cuisson. Si aucune casserole adaptée n'est placée sur la zone de cuisson, l'afficheur s'éteint automatiquement après 2 minutes.
3.3.2 Terminer la cuisson
| Touchez la commande de sélection de la zone de cuisson à éteindre | 6 |
| Éteignez la zone de cuisson en faisant défilier le réglage de puissance jusqu'à « 0 » ou en touchant simultanément les commandes « - » et « + ». Veillez à ce que l'afficheur indique « 0 ». | -OU+ |
| Vous pouvez également éteindre une zone de cuisson en faisant un appui long sur la commande de sélection de la zone concernée. | 6 |
| Éteignez entièrement la table de cuisson en touchant la commande ①MARCHE/ARRÊT. | 1 |
| Faites attention aux surfaces chaudes Le symbole "H" clignant s'affiche pour la zone de cuisson qui est encore chaude au toucher. Il disparaître quand la surface sera suffisamment refroidie à une température adéquate. Vous pourriez également utiliser cette fonction pour économiser de l'énergie si vous souhaitez réchauffer d'autres casseroles en utilisant la plaque de cuisson encore chaude. | H |
3.3.3 Utilisation de la fonction Boost
| Activer la fonction Boost | |
| Touchez une commande de selection de zone de cuisson. | 6 |
| En touchant la commande Boost, l'afficheur affiche « P. » et la puissance atteint le Max. | B → P |
| Annuler la fonction Boost | |
| Touchez la commande de selection de la zone de cuisson dont vous souhaitez annuler la fonction Boost. | P → |
| Touchez la commande Boost ou la commande « - » pour annuler la fonction Boost: la zone de cuisson revienda au réglage de température d'origine. | B OU → |
En touchant simultanément les commandes « - » et « +», la zone de cuisson s'éteint et la fonction Boost s'annule automatiquement.

- La fonction peut être utilisé avec toutes les zones de cuisson.
- La zone de cuisson reviendra au réglage de puissance 9 après 5 minutes.
- Si le réglage de puissance d'origine est égal à 0, il passera à 9 après 5 minutes.
3.3.4 Verrouillage des commandes
- Vous pouvez verrouiller les commandes pour éviter un usage involontaire (par exemple, l'allumage accidentel des zones de cuisson par des enfants).
- Lorsqu'elles sont verrouillées, toutes les commandes sauf la commande MARCHE/ARRÉT sont désactivées.
| Pour verrouiller les commandes | |
| Touchez la commande de verrouillage pendant un certain temps | L'afficheur de la minuteurie affichera « Lo » |
| Pour déverrouiller les commandes | |
| Touchez la commande de verrouillage et maintenez votre doigt pendant un moment. | |

Lorsque la table de cuisson est en mode verrouillé, toutes les commandes sont désactivées sauf la commande MARCHE/ARRÉT ①. Vous pouvez toujours éteindre la table de cuisson à induction avec la commande MARCHE/ARRÉT ① en cas d'urgence, mais vous devrez toujours déverrouiller la table de cuisson à la prochaine opération.
3.3.5 Utilisation du minuteur
Yououpouvezutiliserle minuteurdeuxfaçonsdifferentes:
- Vous pouvez l'utiliser simplement comme une alarme. Dans ce cas, le minuteur n'eteindra aucune zone de cuisson, une fois le temps regle ecoulé.
- Vous pouvez le régler pour qu'il éteigne, une fois le temps écoulé, une ou plusieurs zones de cuisson.
- Le minuteur peut être régle jusqu'à 99 minutes.
a) Utilisation de la minuterie comme alarmé
Si vous n'vez sélectionné aucune zone de cuisson
| Veillez à ce que la table de cisson soit allumée. Remarque: une zone de cisson au moins doit être en marche. | L 10 R 10 L 10 R 10 |
| Touchez la commande du minuteur. L'indicateur de l'alarme se mettra à clignoter et l'afficheur du minuteur affichera la valeur « 10 ». | |
| Réglez le temps en touchant les commandes « - » ou « + ». Astuce: Touchez brièvement la commande « - » ou « + » pour diminuer ou augmenter le temps de 1 minute. Touchez longuement la commande « - » ou « + » pour diminuer ou augmenter le temps de 10 minutes. | - + |
| En touchant simultanément les commandes « - » et « + », le minuteur sera annulé et l'afficheur de la minuterie affichera la valeur « 00 ». | - + ⇒ L 00 |
| Une fois le temps régle, le compte à rebours commence immédiatement. L'afficheur indiquera le temps restant et clignotera pendant 5 secondes. | L 36 |
| Une fois le temps régle éçoulé, l'alarme émettra de brefs signaux sonores pendant 30 secondes et l'afficheur affichera « - - ». Si vous souhaitez arrêtier le signal sonore avant la fin des 30 secondes, touchez la commande "+" . | L - - |
b) Réglage du minuteur pour éteindre une ou plusieurs zones de cuisson
| Pour régler une zone | |
| Touchez la commande de sélection de la zone de cisson dont vous souhaitez régler le minuteur. | 6 |
| Appuyez sur la commande de la minuterie, un "10" clignotant s'affiche dans l'afficheur de la minuterie. | L 10 |
| Réglez le temps en touchant les commandes « - » ou « + ». Astuce : touchez brièvement la commande « - » ou « + » pour diminuer ou augmenter le temps d e 1 minute. Touchez longuement la commande « - » ou « + » pour diminuer ou augmenter le temps de 10 minutes. | - + |
| En touchant simultanément les commandes « - » et « + », le minuteur sera annulé et l'afficheur affichera la valeur « 00 ». | - + ⇒ L 00 |
| Une fois le temps régle, le compte à rebours commence immédiatement. L'écran affichera le temps restant et l'indicateur de la minuterie clignotera pendant 5 secondes. REMARQUE : Le point rouge à côté de l'indicateur de niveau de puissance s'allumera pour indiquer que la zone a un minuteur en marche. | L 36 |
| Une fois le compte à rebours terminé, un bip retentit et la zone de cisson correspondante s'éteint automatiquement. | L - - |

1) Les autres zones de cuisson continueront de fonctionner si elles sont déjà allumées.
2) Le point rouge à côté de l'indicateur de niveau de puissance clignotera pour indiquer que le minuteur de la zone est sélectionné.

| Pour régler plusieurs zones : | |
| Les étapes de réglage de plusieurs zones sont similaires aux étapes de réglage d'une zone. Lorsque vous réglez le temps pour plusieurs zones de cisson simultanément, les points décimaux des zones de cisson concernées sont allumés. L'écran affiche le plus faible temps restantprogrammé. Le point de la zone correspondante clignote. Cela se présente comme suit : 15 3 (réglé sur 15 minutes) 6 (réglé sur 45 minutes) | |
| Une fois le compte à rebours terminé, la zone correspondante s'eteindra. L'écran affichera ensuite le nouveau temps le plus faible programme, et le point de la zone correspondante clignotera. Cela apparait tel que représenté sur la droite : | 30 6 5 0 |
3.3.6 Mode pause
- Vous pouzemettre la chauffe en pause au lieu d'eteindre la plaque à induction.
- Lorsque vous passez en mode Pause, toutes les commandes sont désactivées, à l'exception des commandes MARCHE/ARRÉT et Pause.
| Pour passer en mode pause | |
| Appuyez sur la commande Pause | Tous les indicateurs afficheront |
| Pour quitter le mode pause | |
| Appuyez sur la commande Pause | |

Lorsque la table de cuisson est en mode pause, toutes les commandes sont désactivées, à l'exception de la commande MARCHÉ/ARRÊT ① ou de la commande de pause; vous pouvez toujours éteindre la table de cuisson à induction à l'aide de la commande MARCHÉ/ARRÊT ① en cas d'urgence. La table de cuisson s'éteindra au bout de 10 minutes si vous ne quittez pas le mode pause.
3.3.7 Temps de fonctionnement par défaut
L'arrêt automatique est une fonction de protection de sécurité pour votre table de cuisson à induction. Elle s'est int automatiquement si vous oubliez d'éteindre votre cuisson. Les temps de fonctionnement par défaut pour les différents niveaux de puissance sont disponibles dans le tableau ci-dessous
| Niveau de puissance | 1 | 2 | 3 | 4 | 5 | 6 | 7 | 8 | 9 |
| Temps de fonctionnement par défaut (en heures) | 8 | 8 | 8 | 4 | 4 | 4 | 2 | 2 | 2 |
Lorsque la casserole est retiree, la table de cuisson a induction cesse de chauffer immediatement et la table de cuisson s'eteint automatiquement après 2 minutes.

Les personnes portant un stimulateur cardiaque doivent consulter leur médecin avant d'utiliser cet apparéil.
3.4 Diamètre de casserole
Les zones de cuisson s'adaptent automatiquement, jusqu'à une certaine limite, au diamètre de la casserole. Cependant, le fond de cette casserole doit avoir un diamètre minimal correspondant à la zone de cuisson. Pour obtenir la meilleure efficacité de votre table de cuisson, veuilles placer la casserole au centre de la zone de cuisson.
| Zone de cuisson | Diamètre du fond de l'ustensile à induction | |
| Minimum (mm) | Maximum (mm) | |
| 1(180 mm) | 140 | 180 |
| 2(160 mm) | 120 | 160 |
| 3(210 mm) | 160 | 210 |
4. Conseils de cuisson

Faites attention lorsque vous faites frire des alimentes, car l'huile et laGRAisse chauffent très rapidement, en particulier si vous utilisez le Boost.
A des températures extrémement élevées, l'huile et la graisse s'enflammment spontanément, ce qui présente un risque grave d'accidie.
4.1 Astuces de cuisson
- Quand une préparation arrive à ébullition, réduisez le réglage de la puissance.
- En utilisant un couvercle, vous réduirez les temps de cuisson et économiserez de l'énergie en réserveant la chaleur.
- Réduisez la quantité de liquide ou d'huile pour réduire les temps de cuisson.
- Commencez la cuisson avec une température élevée, puis réduisez-la lorsque l'aliment est bien chaud.
4.1.1 Faire mischief, cuire le riz
- Faire moyen ter un aliment (cuisson en-dessous du point d'ébullition) requiert une température autour de 85^ , lorsque les bulles commencent à remonter occasionnellement à la surface du liquide de cuisson. C'est la clé pour préparer des soupes délicieuses et des ragôuts tendres, car les saveurs sont libérées sans trop cuire les aliments. Vous devriez également cuire les saucas à base d'œufs et les sauces épaisses à base de farine en dessous du point d'ébullition.
- Pour certaines préparations, y compris la cuisson du riz par la méthode de l'absorption, il peut être nécessaire d'avoir une puissance plus élevé que la puissance minimale pour garantir que les alimentés soient correctement cuits dans le salarié.
4.1.2 Griller un steak
Pour cuire des steaks juteux et savoureux :
- Laissez la viande à température ambiente pendant environ 20 minutes avant de la cuire.
- Préchauffez une poèle à frire à fond robuste.
- Enduisez d'huile les deux côtés du steak, au pinceau. Versez une petite quantité d'huile dans la poèle chaude, puis posez la viande sur la poèle chaude.
- Tournez une seule fois le steak durant la cuisson. Le temps de cuisson exact dépendra de l'épaisseur du steak et du degré de cuisson souhaité. Le temps peut varier d'environ 2 à 8 minutes par côté. Exercez une pression sur le steak pour évaluer sa cuisson; plus il sera ferme, plus il sera « bien cuit »,
- Laissez reposer le steak sur une assiette chaude pendant quelques minutes pour lui permettre de revenir tendre avant de le servir.
4.1.3 Faire sauter
- Choisissez un wok à fond plat ou une grande poèle à frire, compatible avec la cuisson à induction.
- Préparez tous les ingrédents et les ustensiles. Faire sauter des ingrédents est une méthode de cuisson rapide. Si vous préparez de grandes quantités de nourriture, divisez la cuisson en plusieurs petites quantités.
- Préchauffez brièvement la poèle et versez-y deux cuillères à soupe d'huile.
- Faites cuire d'abord les morceaux de viande, puis mettez de côté et maintenez au chaud.
- Faites sauter les légumes. Dès qu'ils sont chauds, mais encore croquants, abaissez la température de la zone de cuisson, remettez la viande dans la poèle et versez votre sauce.
- Faites sauter doucement les ingrédents pour vous assurer qu'ils sont bien cuits.
- Servez immédiatement.
4.2 Détction de petits objets
Lorsqu'une casserole de diamètre inadéquat ou non magnétique (par ex. en aluminium), ou d'autres petits objets (par ex. couteau, fourchette, clé) ont été laissés sur la table de cuisson, cette dernière se mettra automatiquement en voir après 1 minute. Le ventilateur continuera à refroidir la table de cuisson à induction pendant 1 minute supplémentaire.
5. Réglages de température
Les réglages ci-dessous sont disponibles uniquement à titre de référence. Le réglage exact dépendra de plusieurs facteurs, y compris de votre ustensile et de la quantité de nourriture que vous cuisez. Faites des essais avec la table de cuisson à induction pour trouver le réglage qui convient le mistroux.
| Réglage de température | Recommendé pour |
| 1 - 2 | • cuiredélicatement de petites quantités de nourriture • faire fondre le chocolat, le beurre et des alimentés qui brûlentrapidement • faire moyen doudement •CHAuffer lentelement |
| 3 - 4 | réchauffer faire mjoter rapidement cuire le riz |
| 5 - 6 crêpes | crêpes |
| 7 - 8 | faire sauter cuire les pâtes |
| 9/P | faire sauter griller porter une soupé à ébullition porter à ébullition de l'eau |
6. Entretien et nettoyage
| Quoi? | Comment? | Important! |
| Salissure quotidienne sur la surface vitrée (traces de doigs, marques, taches laissées par les alimentents ou éclaboussures non sucrés sur la surface vitrée) | 1. Mettez hors tension la table de cuisson.2. Appliquez un nettoyant pour table de cuisson sur la surface vitrée alors qu'elle est encore chaude (mais pas trop chaude!)3. Rincez et essuyez avec un chiffon sec ou une serviette en papier.4. Remettez sous tension la table de cuisson. | Lorsque la table de cuisson est hors tension, l'indicateur de « chaleur résiduelle » ne s'allume pas, mais la zone de cuisson peut être encore chaude ! Faites extrémement attention.Des tampons à récurer résistants, certains tampons à récapérier en nylon et des agents de nettoyage durs/abrasifs peuvent rayer la surface vitrée. Lisez toutes l'étiquette pour vérifier si vous nettoyant ou tampon à récurer est ajusté.Ne laissez jamais des résidus de nettoyage sur la table de cuisson : la surface vitrée peut se tacher. |
| Débordements, matières fondues et éclaboussures de sucre chaud sur la surface vitrée | Éliminez-les immédiatement avec une spatule ou un gratoir à lame adéquat pour les tables de cuisson à induction, mais faites attention aux surfaces des zones de cuisson chaudes :1. Mettez hors tension la table de cuisson au niveau de l'interrupteur mural.2. Inclinez la lame ou l'ustensile avec un angle de 30° et grattez la salissure vers une zone froide de la table à cuisson.3. Nettoyez la salissure avec un torchon ou une serviette en papier.4. Suivez les étapes 2 à 4 de la section « Salissure quotidienne sur la surface vitrée » cidessus. | Éliminez les taches laissées par la matière fondue ou l'aliment suré dès que possible.Si vous les laissez refroidir sur la surface vitrée, il sera plus difficile de les éliminer ou vous pourriez endommager de façon permanente la surface vitrée.Risque de coupure: lorsque le capot de protection est retire, la lame du gratoir est tranchante comme un rasoir. Utilisez-le avec une extrête précaution et rangezle toujours pour plus de sécurité et hors de portée des enfants. |
| Déversements sur les commandes tactiles | 1. Mettez hors tension la table de cuisson.2. Épongez le déversement3. Essuyez la zone des commandes tactiles avec une éponge ou un chiffon propre et mouillé.4. Essuyez complètement la zone avec une serviette en papier.5. Remettez sous tension la table de cuisson. | La table de cuisson peut émettre un bref signal sonore et s'éteindre automatiquement et les commandes tactiles peuvent ne pas fonctionner alors qu'elles sont recouvertes d'un liquide. Veillez à essuyer la zone des commandes tactiles avant de remetre sous tension la table de cuisson. |
7. Conseils et astuces
| Problème | Causes possibles | Que faire |
| La table de cuisson à induction ne s'allume pas. | Aucune alimentation. | Vérifiez que la table de cuisson à induction est branchée à l'alimentation électrique et qu'elle est allumée. Vérifiez si une panne de courant ne s'est pas produit dans votre habitation ou quartier. Si vous avez effectué toutes les vérifications et si le problème persiste, faites appel à un technicien qualifié. |
| Les commandes tactiles ne répondent pas. | Les commandes sont verrouillées. | Déverrouillez les commandes. Reportez-vous au paragraph « Utilisation de votre table de cuisson à induction » pour des instructions. |
| Vous rencontres des difficultés à utiliser les commandes tactiles. | Il se peut qu'une fine pellicule d'eau recouvre les commandes ou que vousutilisiez la pointe de votre doit pour toucher les commandes. | Vérifiez que la zone des commandes tactiles est sèche et utilisez l'extrémité arrondie pour toucher les commandes. |
| La surface vitrée est rayée. | Ustensile de cuisine à bords rugueux.Vous utilisez un tampon à récurer ou des produits de nettoyage inappropriés et abrasifs. | Utilisez un ustensile de cuisine pat et à fond lisse. Voir « Choiser les bons ustensiles de cuisine ».Reportez-vous au paragraphe « Entretien et nettoyage » . |
| Des grésillements ou des craquements proviennent de certaines casseroles. | Cela est dû à la construction de votre ustensile de cuisine (des couches de différents matériaux peuvent vibrer de manière différente). | C'est normal pour l'ustensile de cuisine et ne constitue pas un défaut . |
| La table de cuisson à induction émet un faisible bruit de bourdonnement lorsque vous l'utilise à un réglage de puissance élevé. | Cela est dû à la technologie de la cuisson à induction. | C'est normal. Cependant, le bruit peut faibrir ou disparaitre complètement lorsque vous diminuez le réglage de puissance. |
| Bruit de ventilateur en provenance de la table de cuisson à induction. | Un ventilateur de refroidissement intégré dans votre table de cuisson à induction s'est activé afin d'éviter que les composants électroniques surchauffent. Il peut continuer de fonctionner même après que vous avez étient la table de cuisson à induction. | C'est normal. Aucune action n'est nécessaire. Ne mettez pas la table de cuisson à induction hors tension au niveau de l'interrupteur mural alors que le ventilateur est en fonctionnement. |
| Les casseroles ne deviennent pas chaudes et n'apparaissent pas sur l'écran. | La table de cuisson à induction n'arrive pas à détecter la casserole, car elle ne convient pas à la cuisson à induction.La table de cuisson à induction n'arrive pas à détecter la casserole, car elle est trop petite pour la zone de cuisson ou n'est pas correctement centrée. | Utilisez un ustensile de cuisson pour la cuisson à induction. Reportez-vous au paragraphe « Choiser le bon ustensile de cuisine » .Centrez la casserole et vérifie que son fond correspond au diamètre de la zone de cuisson. |
| La table de cuisson à induction ou une zone de cuisson s'est automatiquement éteinte de façon inattendue, un son a été émis et un code d'erreur s'affiche (normalement par alternance avec un ou deux chiffres dans l'afficheur du minuteur de cuisson). | Défaut technique. | Veuillez notes les lettres et le nombre de l'erreur, mettez la table de cuisson à induction hors tension au niveau de l'interrupteur mural et contactez un technicien qualifié. |
8. Affichage et contrôles des erreurs
En cas d'anomalie, la table de cuisson à induction entrera automatiquement en état de protection et affiche les codes de protection correspondants :
| Problème | Causes possibles | Que faire |
| F3-F8 | Défaillance du capteur de température | Veuillez contacter le fournisseur. |
| F9-FD | Défaillance du capteur de température de l'IGBT. | Veuillez contacter le fournisseur. |
| E1/E2 | Tension d'alimentation anormale | Veuillez contrôle si l'alimentation électrique fonctionne normalement. Mettre sous tension une fois que l'alimentation électrique returne à la normale. |
| E3/E4 | Le capteur de température de la plaque vitrocérôme est élevé. | Veuillez redémarrer après que la table à induction a refroidi. |
| E5/E6 | Le capteur de température de l'IGBT est élevé | Veuillez redémarrer après que la table à induction a refroidi. |
Les informations données ci-dessus permettent le diagnostic et le contrôle des erreurs communes.
Veuillez ne pas désassembler l'appareil vous-même pour éviter tout danger et pour éviter d'endommager la table de cuisson à induction.
9. Relations consommateurs et interventions
9.1 Relations consommateurs France
Pour en savoir plus sur nos produits ou nous contacter, vous pouvez:
consulter notre site: www.brandt.fr
nous écrire à l'adresse postale suivante :
Service Consommateurs BRANDT
5 avenue des Béthunes
CS69526 SAINT OUEN L'AUMONE
95060 CERGY PONTOISE CEDEX
nous appeler du lundi au vendredi de 8h30 à 18h00 au :
0892 02 88 01 Service 0,50 € / min + prix appel
Les évventuelles interventions sur votre apparéil doivent être effectuées par un professionnel qualifié dépositaire de la marque. Lors de votre appel, afin de faciliter la prise en charge de votre demande, munissez-vous des références complètes de votre apparéil (référence commerciale, référence service, numéro de série). Ces renseignements figurent sur la plaque signalétique.
Voussouscontacterdu lundi au samedi de 8h00à20h00au:
09 69 39 25 25 Service gratuite + prix appel
Pièces d'origine :
Lors d'une intervention, demandez l'utilisation exclusive de pieces détachées certifiées d'origine.

10. Installation
10.1 Sélection de l'équipement d'installation
Découpez le plan de travail selon les dimensions indiquées sur le plan.
Aux fins de l'installation et de l'utilisation, un espace minimum de 5 cm doit être réservé autour du trou.
Assurez-vous que l'épaissur du plan de travail est d'au moins 30 mm.
Veuillez selectionner un matériel de plan de travail résistant à la chaleur et isolé (vous ne devez pas utiliser de bois et de matériel aux fibreux ou hygroscopiques similaires comme matériel de plan de travail à moins qu'ils n'aient été impregnés) pour éviter les décharges electriques et les déformations plus importantes causées par le rayonnement thermique de la plaque chauffante. Tel queprésenté ci-dessous :

Remarque : La distance de sécurité entre les côtés de la table de cuisson et les surfaces intérieures du plan de travail doit être d'au moins 3 mm.


| L (mm) | W (mm) | H (mm) | D (mm) | A (mm) | B (mm) | X (mm) | F (mm) |
| 590 | 520 | 60 | 56 | 560+4 +1 | 480+4 +1 | 50 min | 3 min |
En toutes circonstances, assurez-vous que la table de cuisson à induction est bien ventilée et que l'entrée et la sortie d'air ne sont pas bloquées. Assurez-vous que la table de cuisson à induction est en bon état de fonctionnement. Tel queprésenté ci-dessous.

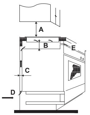
Remarque : La distance de sécurité entre la plaque chauffante et le placard au-dessus de la plaque chauffante doit être d'au moins 760 mm.



| A (mm) | B (mm) | C (mm) | D | E |
| 760 | 50 min | 20 min | Admission d'air | Sortie d'air 5 mm |
ATTENTION : Assurer une aération suffisante
Assurez-vous que la table de cuisson à induction est bien ventilée et que l'entrée et la sortie d'air ne sont pas bloquées. Afin d'éviter un contact accidentel avec le fond surchauffé de la table de cuisson, ou une décharge électrique inattendue pendant le fonctionnement, il est nécessaire de placer un insert en bois, fixé par des vis, à une distance minimale de 50 mm du dessous de la table de cuisson. Suivez les instructions ci-dessous.


Des trous de ventilation sont prévus sur le pourtour de la table de cuisson. VOUS DEVEZ veiller à ce que ces trous ne soient pas bloqués par le plan de travail lorsque vous positionnez la table de cuisson.

- Sachez que la colle qui relié le matérielau plastique ou en bois au meuble, doit résister à une température d'au moins 150^ , pour éviter le décollement du panneau.
- Le mur à l'arrière, les surfaces adjacentes et tout autour doivent, par conséquent, résister à une température de 90^ .
10.2 Avant d'installer la table de cuisson, vérifie que
- Le plan de travail est à l'équre et à niveau, et qu'aucun élément structurel ne vient entraver l'encombrement.
- Le plan de travail est fabriqué dans un matériel thermoresistant et d'isolement.
- Si la table de cuisson est installée au-dessus d'un four, le four devra être équipé d'un ventilateur de refroidissement intégré.
- L'installation est conforme aux exigences relatives à l'autorisation et aux normes et règlements en vigueur.
- Un sectionneur approprié qui fournit une déconnexion complète de l'alimentation électrique principale est intégré dans le câblage permanent, installé et positionné conformément aux règles et à la réglementation en matière de câblage local.
- Le sectionneur doit être de type homologué et fournir une séparation de contact d'entrefer de 3 mm dans tous les pôles (ou tous les conducteurs [phases] actifs si les règles de câblage locales autorisent cette variation des dispositions).
- L'utilisateur aura un accès direct au sectionneur, une fois la table de cuisson installée.
- Consultez les autorités locales en batiments et les textes réglementaires en cas de doute sur l'installation.
- Vous avez utilise un matériel de finition thermoresistant et facile à nettoyer (par ex. des carreaux en céramique) pour les surfaces murales entourant la table de cuisson.
10.3 ÀpRES avoir installé la table de cuisson, vérifiez que
- Le cable d'alimentation n'est pas accessible à travers des portes de placards ou des tiroirs.
- Une circulation d'air frais suffisante est garantie de l'extérieur du meuble vers la base de la table de cuisson.
- Si la table de cuisson est installée au-dessus d'un tiroir ou d'un placard, une barrière de protection thermique doit être prévue sous la base de la table de cuisson.
L'utilisateur a un accès direct au sectionneur.
10.4 Avant de placer les supports de fixation
L'appareil doit être place sur une surface plane et stable (utilisez l'emballage).
Ne forcez pas sur les commandes de la table de cuisson.
10.5 Réglage de la position d'un support
Fixez la table de cuisson sur le plan de travail à l'aide des supports à vis situés à la base de la plaque (voir image) après l'installation.
Ajustez la position du support en fonction de l'épaisseur de la surface de travail.


Eneldom cas, les supports ne peuvent toucher les surfaces interieures du plan de travail après l'installation (voir I'image).
10.6 Mises en garde
- La plaque de cuisson à induction doit être installée par un technician ou une personne qualifiée. Nous mettons des professionnels à votre disposition. Veuillez ne jamais réaliser cette opération vous-même.
- La table de cuisson ne devra pas etre installee directement au-dessus d'un lave-vaisselle, d'un concelateur, d'un refrigerateur, d'une machine a laver ou d'un sèche-linge, car l'humidité peut endommager les composants électroniques de la table de cuisson.
- La plaque de cuisson à induction doit être installée de manière à optimiser le dégagement de chaleur afin de garantir sa fiabilité.
- La paroi et la zone de chauffe induite au-dessus de la surface de la table doivent résister à la chaleur.
- Pour éviter tout dommage, l'adhésif doit être résistant à la chaleur.
- N'utilisez pas un nettoyeur à vapeur.
10.7 Connexion de la table de cuisson à l'alimentation électrique principale

Cette table de cuisson doit être connectée à l'alimentation électrique principale uniquement par une personne qualifiée.
Avant de connecter la table de cuisson à l'alimentation électrique principale, vérifie que :
- Le réseau électrique menager convient pour la puissance absorbée par la table de cuisson.
- La tension correspond à la valeur donnée dans la plaque signalétique.
- Les sections des cables d'alimentation électrique peuvent résister à la charge spécifique par la plaque signalétique.
Pour connecter la table de cuisson à l'alimentation électrique principale, n'utilise pas d'adaptateurs, de réducteurs ou des boîtes de raccordement, car ils pourrait proveroquer une surchauffe et un incendie. Le cable d'alimentation électrique ne doit toucher aucune piece chaude et doit être positionné de sorte que sa température ne dépassera pas 75^ à aucun moment.

Vérifiez avec un électricien que le réseau électrique menager est adapté sans modification. Toute modification doit être réalisée par un électricien qualifié.



- Si le cable est endommagé ou doit être remplace, l'opération devra être effectuee par un agent du service après-vente avec des outils dédiés pour éviter tout accident.
- Si l'appareil est connecté directement au secteur, un disjoncteur bipolaire devra être installé avec une ouverture minimale de 3 mm entre les contacts.
- L'installateur doit veiller à ce que la connexion électrique soit réalisée correctement et qu'elle soit conforme avec la réglementation en matière de sécurité.
- Le cable ne doit pas etre plie ou comprime.
- Le cable doit être vérifié régulièrement et remplace uniquement par un technicien autorisé.

La surface inférieure et le cordon d'alimentation de la table de cuisson ne doit pas etre accessibles après installation.


MISE AU REBUT: Ne jetez pas ce produit avec les déchets menagers non triés. La collecte de ces déchets séparément est nécessaire pour les traiter correctement.
Cet apparéil porte une étiquette de conformité avec la directive française 2012/19/EU relative aux déchets d'équipements électriques etlectroniques (DEEE).En veillant à ce que cet apparéil soit mis au rebut correctement, vous contribuées au respect de l'environnement et à la santé humaine et lutterez contre les préjudices qui pourrait autrement être causés s'il est éliminé de manière inappropriée.
Le symbole sur le produit indique qu'il ne doit pas être traité comme les déchets menagers ordinaires. Il doit être remis à un point de collecte pour le recyclage des produits électriques et électroniques.
Cet apparéil nécessite un traitement des déchets par un spécialiste. Pour plus d'informations sur le traitement, la récapération et le recyclage de ce produit, veuilles contacter votre municipalité, votre centre de traitement des ordures menagères ou le magasin où vous l'avez achetié.
Pour plus d'informations sur le traitement, la récapération et le recyclage de ce produit, veuillez contacter votre mairie, votre centre de traitement des ordures menagères ou le magasin où vous l'avez acheté.


Points de collecte sur www.qufairemedesmeschets.fr Privilegiez la réparation ou le don de cette apparéel.

Brandt

Notice Facile