TI321B - Cooker BRANDT - Free user manual and instructions
Find the device manual for free TI321B BRANDT in PDF.
Download the instructions for your Cooker in PDF format for free! Find your manual TI321B - BRANDT and take your electronic device back in hand. On this page are published all the documents necessary for the use of your device. TI321B by BRANDT.
USER MANUAL TI321B BRANDT
Table induction Induction hob
TI321B

Cher(e) client(e),
9.2 Interventions France
MANUEL D'INSTRUCTION FR
INSTRUCTION MANUAL EN
Table induction.
Induction hob
TI321B

Dear Customer,
Thank you for buying a BRANDT product and for your confidence in our company.
This product has been designed and manufactured for you considering your lifestyle and your requirements, so that it meets your expectations in the best way possible. We have invested it with our expertise, spirit of innovation and all the enthusiasm which has driven us for more than 60 years.
So that we are always able to satisfy your requirements as well as possible, our customer service is available, ready to listen and answer all your questions or suggestions.
You can also visit our website www.brandt.com where you will find our latest innovations as well as additional useful information.
BRANDT is happy to support you daily and hopes you will enjoy your purchase to the full.

Important: Before starting your machine, please read this guide for installation and use carefully in order to familiarise yourself with how it operates quickly.
Content
1. Foreword 4
1.1 SafetyWarnings 4
1.2 Installation 4
1.2.1 Electrical Shock Hazard 4
1.2.2 Cut Hazard 4
1.2.3 Important safety instructions 5
1.3 Operation and maintenance 7
1.3.1 Electrical Shock Hazard 7
1.3.2 Health Hazard 7
1.3.3 Hot Surface Hazard 8
1.3.4 Cut Hazard 8
1.3.5 Important safety instructions 8
2. Product Introduction 11
2.1 Top View. 11
2.2 Control Panel 11
2.3 Working Theory 12
2.4 Before using your New Induction Hob 12
2.5 Technical Specification 12
3. Operation of Product 13
3.1 Touch Controls 13
3.2 Choosing the right Cookware 13
3.3 How to use 15
3.3.1 Start cooking 15
3.3.2 Finish cooking 16
3.3.3 Using the Boost function 17
3.3.4 Locking the Controls 18
3.3.5 Timer control 18
3.3.6 Pause mode 21
3.3.7 Default working times 22
3.4 Pan Dimension 22
4. Cooking Guidelines 22
4.1 Cooking Tips 23
4.1.1 Simmering, cooking rice 23
4.1.2 Searing steak 23
4.1.3 For stir-frying 24
4.2 Detection of Small Articles 24
5. Heat Settings 24
6. Care and Cleaning 25
7.Hints and Tips 26
8. Failure Display and Inspection 27
9. Installation 28
9.1 Selection of installation equipment 28
9.2 Before installing the hob, make sure that 31
9.3 After installing the hob, make sure that 31
9.4 Before locating the fixing brackets 31
9.5 Adjusting the bracket position 32
9.6 Cautions 33
9.7 Connecting the hob to the mains power supply 33
1. Foreword
1.1 SafetyWarnings
- Your safety is important to us. Please read this information before using your cooktop.
1.2 Installation
1.2.1 Electrical Shock Hazard
- Disconnect the appliance from the mains electricity supply before carrying out any work or maintenance on it.
- Connection to a good earth wiring system is essential and mandatory.
- Alterations to the domestic wiring system must only be made by a qualified electrician.
- Failure to follow this advice may result in electrical shock or death.
1.2.2 Cut Hazard
Take care - panel edges are sharp.
- Failure to use caution could result in injury or cuts.
1.2.3 Important safety instructions
- Read these instructions carefully before installing or using this appliance.
- No combustible material or products should be placed on this appliance at any time.
- Please make this information available to the person responsible for installing the appliance as it could reduce your installation costs.
- In order to avoid a hazard, this appliance must be installed according to these instructions for installation.
- This appliance is to be properly installed and earthed only by a suitably qualified person.
- This appliance should be connected to a circuit which incorporates an isolating switch providing full disconnection from the power supply.
- Failure to install the appliance correctly could invalidate any warranty or liability claims.
-
This appliance can be used by children aged from 8 years and above and persons with reduced physical, sensory or mental capabilities or lack of experience and knowledge if they have been given supervision or instruction concerning use of the appliance in a safe way and understand the hazards involved.
-
Children shall not play with the appliance. Cleaning and user maintenance shall not be made by children without supervision.
- If the supply cord is damaged, it must be replaced by the manufacturer, its service agent or similarly qualified persons in order to avoid a hazard.
- Warning: If the surface is cracked, switch off the appliance to avoid the possibility of electric shock, for hob surfaces of glass-ceramic or similar material which protect live parts.
- Metallic objects such as knives, forks, spoons and lids should not be placed on the hob surface since they can get hot.
- Do not use a steam cleaner to clean your cooktop.
- The appliance is not intended to be operated by means of an external timer or separate remote-control system.
WARNING: Danger of fire: do not store items on the cooking surfaces. - The cooking process has to be supervised. A short term cooking process has to be supervised continuously.
- WARNING: Unattended cooking on a hob with fat or oil can be dangerous and may result in fire. NEVER try to extinguish a fire
with water, but switch off the appliance and then cover flame e.g. with a lid or a fire blanket.
1.3 Operation and maintenance
1.3.1 Electrical Shock Hazard
- Do not cook on a broken or cracked cooktop. If the cooktop surface should break or crack, switch the appliance off immediately at the mains power supply (wall switch) and contact a qualified technician.
- Switch the cooktop off at the wall before cleaning or maintenance.
- Failure to follow this advice may result in electrical shock or death.
1.3.2 Health Hazard
- This appliance complies with electromagnetic safety standards.
- However, persons with cardiac pacemakers or other electrical implants (such as insulin pumps) must consult with their doctor or implant manufacturer before using this appliance to make sure that their implants will not be affected by the electromagnetic field.
- Failure to follow this advice may result in
death.
1.3.3 Hot Surface Hazard
- During use, accessible parts of this appliance will become hot enough to cause burns.
- Do not let your body, clothing or any item other than suitable cookware contact the induction glass until the surface is cool.
- Keep children away.
- Handles of saucepans may be hot to touch. Check saucepan handles do not overhang other cooking zones that are on. Keep handles out of reach of children.
- Failure to follow this advice could result in burns and scalds.
1.3.4 Cut Hazard
- The razor-sharp blade of a cooktop scraper is exposed when the safety cover is retracted. Use with extreme care and always store safely and out of reach of children.
- Failure to use caution could result in injury or cuts.
1.3.5 Important safety instructions
- Never leave the appliance unattended when in use. Boilover causes smoking and greasy spillovers that may ignite.
- Never use your appliance as a work or storage surface.
- Never leave any objects or utensils on the
apppliance.
- Do not place or leave any magnetisable objects (e.g. credit cards, memory cards) or electronic devices (e.g. computers, MP3 players) near the appliance, as they may be affected by its electromagnetic field.
- Never use your appliance for warming or heating the room.
- After use, always turn off the cooking zones and the cooktop as described in this manual (i.e. by using the touch controls). Do not rely on the pan detection feature to turn off the cooking zones when you remove the pans.
- Do not allow children to play with the appliance or sit, stand, or climb on it.
- Do not store items of interest to children in cabinets above the appliance. Children climbing on the cooktop could be seriously injured.
- Do not leave children alone or unattended in the area where the appliance is in use.
Children or persons with a disability which limits their ability to use the appliance should have a responsible and competent person to instruct them in its use. The instructor should be satisfied that they can use the appliance without danger to themselves or their surroundings. - Do not repair or replace any part of the
appliance unless specifically recommended in the manual. All other servicing should be done by a qualified technician.
- Do not place or drop heavy objects on your cooktop.
- Do not stand on your cooktop.
- Do not use pans with jagged edges or drag pans across the induction glass surface as this can scratch the glass.
- Do not use scourers or any other harsh abrasive cleaning agents to clean your cooktop, as these can scratch the induction glass.
- This appliance is intended to be used in household.
WARNING: The appliance and its accessible parts become hot during use. - Care should be taken to avoid touching heating elements.
- Children less than 8 years of age shall be kept away unless continuously supervised.
Congratulations on the purchase of your new Induction Hob.
We recommend that you spend some time to read this Instruction / Installation Manual in order to fully understand how to install correctly and operate it.
For installation, please read the installation section.
Read all the safety instructions carefully before use and keep this Instruction / Installation Manual for future reference.
2. Product Introduction
2.1 Top View

- max. 1800/2300 W zone
- max. 1400/1600 W zone
- max. 2300/2600 W zone
- Glass plate
- Control panel
2.2 Control Panel

- ON/OFF control
- Keylock control
- Pause control
- Timer/Power control
- Timer/Power control
- Boost control
- Timer selection control
- Heating zone selection controls
- Power display
- Timer display
2.3 Working Theory
Induction cooking is a safe, advanced, efficient, and economical cooking technology. It works by electromagnetic vibrations generating heat directly in the pan, rather than indirectly through heating the glass surface. The glass becomes hot only because the pan eventually warms it up.

2.4 Before using your New Induction Hob
- Read this guide, taking special note of the 'SafetyWarnings' section.
- Remove any protective film that may still be on your Induction hob.
2.5 Technical Specification
| Cooking Hob | TI321B |
| Cooking Zones | 3 Zones |
| Supply Voltage | 220-240V~ 50Hz or 60Hz |
| Installed Electric Power | 6300W |
| Product Size L×W×H(mm) | 590X520X60 |
| Building-in Dimensions A×B (mm) | 560X480 |
Weight and Dimensions are approximate. Because we continually strive to improve our products we may change specifications and designs without prior notice.
3. Operation of Product
3.1 Touch Controls
- The controls respond to touch, so you don't need to apply any pressure.
- Use the ball of your finger, not its tip.
- You will hear a beep each time a touch is registered.
- Make sure the controls are always clean, dry, and that there is no object (e.g. a utensil or a cloth) covering them. Even a thin film of water may make the controls difficult to operate.

3.2 Choosing the right Cookware

-
Only use cookware with a base suitable for induction cooking. Look for the induction symbol on the packaging or on the bottom of the pan.
-
You can check whether your cookware is suitable by carrying out a magnet test. Move a magnet towards the base of the pan. If it is attracted, the pan is suitable for induction.
-
If you do not have a magnet:
-
Put some water in the pan you want to check.
- Follow the steps under 'To start cooking'.
- If does not flash in the display and the water is heating, the pan is suitable.
- Cookware made from the following materials is not suitable: pure stainless steel, aluminium

or copper without a magnetic base, glass, wood, porcelain, ceramic, and earthenware.
- If the ferromagnetic part covers only partially the base of the pan, only the ferromagnetic area will heat up, the rest of the base may not heat up a sufficient temperature for cooking.
- If the ferromagnetic area is not homogeneous, but presents others material such as aluminum this may affect the heating up and the pan detection.
- If the base of the pan is similar to the pictures below the pan may not be detected.

Do not use cookware with jagged edges or a curved base.

Make sure that the base of your pan is smooth, sits flat against the glass, and is the same size as the cooking zone. Use pans whose diameter is as large as the graphic of the zone selected. Using a pot a slightly wider energy will be used at its maximum efficiency. If you use smaller pot efficiency could be less than expected. Always centre your pan on the cooking zone.




Always lift pans off the Induction hob – do not slide, or they may scratch the glass.


3.3 How to use
3.3.1 Start cooking
| Touch the ON/OFF control for a while. After power on, the buzzer beeps once, all displays show “-” or “- - ”, indicating that the induction hob has entered the state of standby mode. | 1 |
| Place a suitable pan on the cooking zone that you wish to use. • Make sure the bottom of the pan and the surface of the cooking zone are clean and dry. | 2 |
| Touching the heating zone selection control, and an indicator next to the key will flash | 3 |
| Select a heat setting by touching the “-” or “+” control. • If you don’t choose a heat setting within 1 minute, the Induction hob will automatically switch off. You will need to start again at step 1. • You can modify the heat setting at any time during cooking. | 4 |
If the display flashes _i=1^n u_i_i=1^n v_i alternately with the heat setting
This means that:
- you have not placed a pan on the correct cooking zone or,
- the pan you're using is not suitable for induction cooking or,
- the pan is too small or not properly centered on the cooking zone.
No heating takes place unless there is a suitable pan on the cooking zone. The display will automatically turn off after 2 minutes if no suitable pan is placed on it.
3.3.2 Finish cooking
| Touching the heating zone selection control that you wish to switch off | 6 |
| Turn the cooking zone off by touching “-” to “0” or touching “-” and “+” control together. Make sure the display shows “0”. | - OR + |
| You can also turn a cooking zone off by touching its cooking zone control for a while. | 5 |
| Turn the whole cooktop off by touching the ON/OFF ① control. | 1 |
| Beware of hot surfaces H will show which cooking zone is hot to touch. It will disappear when the surface has cooled down to a safe temperature. It can also be used as an energy saving function if you want to heat further pans, use the hotplate that is still hot. | H |
3.3.3 Using the Boost function
| Activate the boost function | |
| Touching the heating zone selection control. | 6 |
| Touching the boost control, the zone indicator shows “P.” and the power reaches Max. | B → P |
| Cancel the Boost function | |
| Touching the heating zone selection control that you wish to cancel the boost function. | P |
| Touching the "Boost" control or the "--" button to cancel the Boost function, then the cooking zone will revert to its original setting. | OR |
| Touching “-” and “+”control. the cooking zone switches off and the boost function cancels automatically. | - + |
The function can work in any cooking zone.
The cooking zone returns to 9 after 5 minutes.
If the original heat setting equals 0, it will return to 9 after 5 minutes.
3.3.4 Locking the Controls
- You can lock the controls to prevent unintended use (for example children accidentally turning the cooking zones on).
- When the controls are locked, all the controls except the ON/OFF control are disabled.
| To lock the controls | |
| Touch the lock control for a while | The timer indicator will show “ Lo ” |
| To unlock the controls | |
| Touch and hold the lock control | for a while. |

When the hob is in the lock mode, all the controls are disable except the ON/OFF ① , you can always turn the induction hob off with the ON/OFF ① control in an emergency, but you shall unlock the hob first in the next operation.
3.3.5 Timer control
You can use the timer in two different ways:
- You can use it as a minute minder. In this case, the timer will not turn any cooking zone off when the set time is up.
- You can set it to turn one or more cooking zones off after the set time is up.
You can set the timer up to 99 minutes.
a) Using the Timer as a Minute Minder
If you are not selecting any cooking zone
| Make sure the cooktop is turned on. Note: you can use the minute minder but at least one zone shall be active. | L 10 M |
| Touch the controls of the timer. The minder indicator will start flashing and "10" will show in the timer display. | |
| Set the time by touching the "- " or "+" control of the timer. Hint: Touch the "- " or "+" control of the timer once to decrease or increase by 1 minute. Touch and hold the "- " or "+" control of the timer to decrease or increase by 10 minutes. | - + M |
| Touching the "- " and "+" together, the timer is cancelled, and the "00" will show in the minute display. | - + M ⇒ L 00 |
| When the time is set, it will begin to count down immediately. The display will show the remaining time and the timer indicator will flash for 5 seconds. | L 36 |
| Buzzer will beep for 30 seconds and the timer indicator shows "- - " when the setting time finished. | L - - |
b) Setting the timer to turn one or more cooking
zones off
| Set one zone | |
| Touching the heating zone selection control that you want to set the timer for. | 60 |
| Touch timer control, the minder indicator will start flashing and “10” will show in the timer display. | L 10 |
| Set the time by touching the “-” or “+” control of the timer. Hint: Touch the “-” or “+” control of the timer once will decrease or increase by 1 minute. Touch and hold the “-” or “+” control of the timer will decrease or increase by 10 minutes. | - + |
| Touching the “-” and “+” together, the timer is cancelled, and the “00” will show in the minute display. | - + ⇒ L 00 |
| When the time is set, it will begin to count down immediately. The display will show the remaining time and the timer indicator will flash for 5 seconds. NOTE: The red dot next to power level indicator will illuminate indicating that the zone is selected. | L 36 |
| When cooking timer expires, the corresponding cooking zone will be switched off automatically. | L - - |

1) Other cooking zone will keep operating if they are turned on previously.
2) The red dot next to power level indicator will illuminate indicating
that the zone is selected.

| set more zones: | |
| The steps for setting more zones are similar to the steps of setting one zone;When you set the time for several cooking zones simultaneously, decimal dots of the relevant cooking zones are on. The minute display shows the min timer. The dot of the corresponding zone flashes.It shows as below: | 3 5 (set to 15 minutes)6 8 (set to 45 minutes) |
| Once the countdown timer expires, the corresponding zone will switch off. Then it will show the new min. timer and the dot of corresponding zone will flash.It shows as eg. on the right: | L 30 6 6 7 |
3.3.6 Pause mode
You can pause the heating instead of shutting the hob off.
- When entering the Pause mode, all the controls except the ON/OFF and Pause are disabled.
| To enter pause mode | |
| Touch the pause control | All the indicator will show |
| To exit pause mode | |
| Touch the pause control | |

When the hob is in the pause mode, there is instantaneous power every certain period of time for the activated burner and all the controls are disable except the ON/OFF ① or pause control, you can always turn the induction hob off with the ON/OFF ① control in an emergency. The hob will shut down after 10 minutes if you don't exit the pause mode.
3.3.7 Default working times
Auto shut down is a safety protection function for your induction hob. It shuts down automatically if ever you forget to turn off your cooking. The default working times for various power levels are shown in the below table:
| Power level | 1 | 2 | 3 | 4 | 5 | 6 | 7 | 8 | 9 |
| Default working timer (hour) | 8 | 8 | 8 | 4 | 4 | 4 | 2 | 2 | 2 |
When the pot is removed, the induction hob can stop heating immediately and the hob automatically switches off after 2 minutes.

People with a heart pace maker should consult with their doctor before using this unit.
3.4 Pan Dimension
The cooking zones are, up to a limit, automatically adapted to the diameter of the pan. However the bottom of this pan must have a minimum of diameter according to the corresponding cooking zone. To obtain the best efficiency of your hob, please place the pan in the centre of the cooking zone.
| Cooking zone | The base diameter of induction cookware | |
| Minimum (mm) | Maximum (mm) | |
| 1 (180mm) | 140 | 180 |
| 2 (160mm) | 120 | 160 |
| 3 (210mm) | 160 | 210 |
4. Cooking Guidelines

Take care when frying as the oil and fat heat up very quickly, particularly if you're using Boost. At extremely high temperatures oil and fat will ignite spontaneously and this presents a serious fire risk.
y
4.1 Cooking Tips
- When food comes to the boil, reduce the temperature setting.
- Using a lid will reduce cooking times and save energy by retaining the heat.
- Minimise the amount of liquid or fat to reduce cooking times.
- Start cooking on a high setting and reduce the setting when the food has heated through.
4.1.1 Simmering, cooking rice
- Simmering occurs below boiling point, at around 85^ C , when bubbles are just rising occasionally to the surface of the cooking liquid. It is the key to delicious soups and tender stews because the flavours develop without overcooking the food. You should also cook egg-based and flourthickened sauces below boiling point.
- Some tasks, including cooking rice by the absorption method, may require a setting higher than the lowest setting to ensure the food is cooked properly in the time recommended.
4.1.2 Searing steak
To cook juicy flavoursome steaks:
- Stand the meat at room temperature for about 20 minutes before cooking.
- Heat up a heavy-based frying pan.
- Brush both sides of the steak with oil. Drizzle a small amount of oil into the hot pan and then lower the meat onto the hot pan.
- Turn the steak only once during cooking. The exact cooking time will depend on the thickness of the steak and how cooked you want it. Times may vary from about 2 - 8 minutes per side. Press the steak to gauge how cooked it is - the firmer it feels the more 'well done' it will be.
- Leave the steak to rest on a warm plate for a few minutes to allow it to relax and become tender before serving.
4.1.3 For stir-frying
- Choose an induction compatible flat-based wok or a large frying pan.
- Have all the ingredients and equipment ready. Stir-frying should be quick. If cooking large quantities, cook the food in several smaller batches.
- Preheat the pan briefly and add two tablespoons of oil.
- Cook any meat first, put it aside and keep warm.
- Stir-fry the vegetables. When they are hot but still crisp, turn the cooking zone to a lower setting, return the meat to the pan and add your sauce.
- Stir the ingredients gently to make sure they are heated through.
- Serve immediately.
4.2 Detection of Small Articles
When an unsuitable size or non-magnetic pan (e.g. aluminium), or some other small item (e.g. knife, fork, key) has been left on the hob, the hob automatically goes on to standby in 1 minute. The fan will keep cooling down the induction hob for a further 1 minute.
5. Heat Settings
The settings below are guidelines only. The exact setting will depend on several factors, including your cookware and the amount you are cooking. Experiment with the induction hob to find the settings that best suit you.
| Heat setting | Suitability |
| 1 - 2 | ·delicate warming for small amounts of food ·melting chocolate, butter, and foods that burn quickly ·gentle simmering ·slow warming |
| 3 - 4 | ·reheating ·rapid simmering ·cooking rice |
| 5 - 6 | · pancakes |
| 7 - 8 | · sautéing · cooking pasta |
| 9/P | · stir-frying · searing · bringing soup to the boil · boiling water |
6. Care and Cleaning
| What? | How? | Important! |
| Everyday soiling on glass (fingerprints, marks, stains left by food or non-sugary spillovers on the glass) | 1. Switch the power to the cooktop off. 2. Apply a cooktop cleaner while the glass is still warm (but not hot)! 3. Rinse and wipe dry with a clean cloth or paper towel. 4. Switch the power to the cooktop back on. | ·When the power to the cooktop is switched off, there will be no ‘hot surface’ indication but the cooking zone may still be hot! Take extreme care. ·Heavy-duty scourers, some nylon scourers and harsh/abrasive cleaning agents may scratch the glass. Always read the label to check if your cleaner or scourer is suitable. ·Never leave cleaning residue on the cooktop: the glass may become stained. |
| Boilovers, melts, and hot sugary spills on the glass | Remove these immediately with a fish slice, palette knife or razor blade scraper suitable for Induction glass cooktops, but beware of hot cooking zone surfaces: 1. Switch the power to the cooktop off at the wall. 2. Hold the blade or utensil at a 30° angle and scrape the soiling or spill to a cool area of the cooktop. 3. Clean the soiling or spill up with a dish cloth or paper towel. 4. Follow steps 2 to 4 for ‘Everyday soiling on glass’ above. | ·Remove stains left by melts and sugary food or spillovers as soon as possible. If left to cool on the glass, they may be difficult to remove or even permanently damage the glass surface. ·Cut hazard: when the safety cover is retracted, the blade in a scraper is razor-sharp. Use with extreme care and always store safely and out of reach of children. |
| Spillovers on the touch controls | 1. Switch the power to the cooktop off. 2. Soak up the spill 3. Wipe the touch control area with a clean damp sponge or cloth. 4. Wipe the area completely dry with a paper towel. 5. Switch the power to the cooktop back on. | ·The cooktop may beep and turn itself off, and the touch controls may not function while there is liquid on them. Make sure you wipe the touch control area dry before turning the cooktop back on. |
7. Hints and Tips
| Problem | Possible causes | What to do |
| The induction hob cannot be turned on. | No power. | Make sure the induction hob is connected to the power supply and that it is switched on. Check whether there is a power outage in your home or area. If you've checked everything and the problem persists, call a qualified technician. |
| The touch controls are unresponsive. | The controls are locked. | Unlock the controls. See section ‘Using your induction cooktop’ for instructions. |
| The touch controls are difficult to operate. | There may be a slight film of water over the controls or you may be using the tip of your finger when touching the controls. | Make sure the touch control area is dry and use the ball of your finger when touching the controls. |
| The glass is being scratched. | Rough-edged cookware. Unsuitable, abrasive scouser or cleaning products being used. | Use cookware with flat and smooth bases. See 'Choosing the right cookware'. See 'Care and cleaning'. |
| Some pans make crackling or clicking noises. | This may be caused by the construction of your cookware (layers of different metals vibrating differently). | This is normal for cookware and does not indicate a fault. |
| The induction hob makes a low humming noise when used on a high heat setting. | This is caused by the technology of induction cooking. | This is normal, but the noise should quieten down or disappear completely when you decrease the heat setting. |
| Fan noise coming from the induction hob. | A cooling fan built into your induction hob has come on to prevent the electronics from overheating. It may continue to run even after you've turned the induction hob off. | This is normal and needs no action. Do not switch the power to the induction hob off at the wall while the fan is running. |
| Pans do not become hot and do not appear in the display. | The induction hob cannot detect the pan because it is not suitable for induction cooking. The induction hob cannot detect the pan because it is too small for the cooking zone or not properly centred on it. | Use cookware suitable for induction cooking. See section 'Choosing the right cookware'. Centre the pan and make sure that its base matches the size of the cooking zone. |
| The induction hob or a cooking zone has turned itself off unexpectedly, a tone sounds and an error code is displayed (typically alternating with one or two digits in the cooking timer display). | Technical fault. | Please note down the error letters and numbers, switch the power to the induction hob off at the wall, and contact a qualified technician. |
8. Failure Display and Inspection
If an abnormality comes up, the induction hob will enter the protective state automatically and display corresponding protective codes:
| Problem | Possible causes | What to do |
| F3-F8 | Temperature sensor failure | Please contact the supplier. |
| F9-FD | Temperature sensor of the IGBT failure. | Please contact the supplier. |
| E1/E2 | Abnormal supply voltage | Please inspect whether power supply is normal. Power on after the power supply is normal. |
| E3/E4 | Temperature sensor of the ceramic glass plate is high | Please restart after the induction hob cools down. |
| E5/E6 | Temperature sensor of the IGBT is high | Please restart after the induction hob cools down. |
The above are the judgment and inspection of common failures.
Please do not disassemble the unit by yourself to avoid any dangers and damages to the induction hob.
9. Installation
9.1 Selection of installation equipment
Cut out the work surface according to the sizes shown in the drawing.
For the purpose of installation and use, a minimum of 5cm space shall be preserved around the hole.
Be sure the thickness of the work surface is at least 30mm . Please select heat-resistant and insulated work surface material (wood and similar fibrous or hygroscopic material shall not be used as work surface material unless impregnated) to avoid the electrical shock and larger deformation caused by the heat radiation from the hotplate. As shown below:

Note: The safety distance between the sides of the hob and the inner
surfaces of the worktop should be at least 3mm


| L(mm) | W(mm) | H(mm) | D(mm) | A(mm) | B(mm) | X(mm) | F(mm) |
| 590' | 520 | 60 | 56 | 560+4 +1 | 480+4 +1 | 50 min | 3 min |
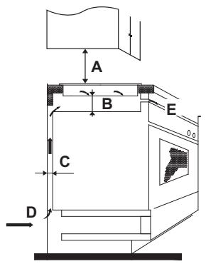
Under any circumstances, make sure the Induction cooker hob is well ventilated and the air inlet and outlet are not blocked. Ensure the induction cooker hob is in good work state. As shown below

Note: The safety distance between the hotplate and the cupboard above the hotplate should be at least 760 mm.



| A(mm) | B(mm) | C(mm) | D | E |
| 760 | 50 min | 20 min | Air intake | Air exit 5mm |
WARNING: Ensuring Adequate Ventilation
Make sure the induction cooker hob is well ventilated and that air inlet and outlet are not blocked. In order to avoid accidental touch with the overheating bottom of the hob, or getting unexpected electric shock during working, it is necessary to put a wooden insert, fixed by screws, at a minimum distance of 50mm from the bottom of the hob. Follow the requirements below.


There are ventilation holes around outside of the hob. YOU MUST ensure these holes are not blocked by the worktop when you put the hob into position.

- Be aware that the glue that join the plastic or wooden material to the furniture, has to resist to temperature not below 150^ , to avoid the unstuck of the paneling.
- The rear wall, adjacent and surrounding surfaces must therefore be able to withstand an temperature of 90C .
9.2 Before installing the hob, make sure that
- The work surface is square and level, and no structural members interfere with space requirements.
- The work surface is made of a heat-resistant and insulated material.
If the hob is installed above an oven, the oven has a built-in cooling fan. - The installation will comply with all clearance requirements and applicable standards and regulations.
- A suitable isolating switch providing full disconnection from the mains power supply is incorporated in the permanent wiring, mounted and positioned to comply with the local wiring rules and regulations.
- The isolating switch must be of an approved type and provide a 3mm air gap contact separation in all poles (or in all active [phase] conductors if the local wiring rules allow for this variation of the requirements).
- The isolating switch will be easily accessible to the customer with the hob installed.
- You consult local building authorities and by-laws if in doubt regarding installation.
- You use heat-resistant and easy-to-clean finishes (such as ceramic tiles) for the wall surfaces surrounding the hob.
9.3 After installing the hob, make sure that
- The power supply cable is not accessible through cupboard doors or drawers.
- There is adequate flow of fresh air from outside the cabinetry to the base of the hob.
- If the hob is installed above a drawer or cupboard space, a thermal protection barrier is installed below the base of the hob.
The isolating switch is easily accessible by the customer.
9.4 Before locating the fixing brackets
The unit should be placed on a stable, smooth surface (use the packaging). Do not apply force onto the controls protruding from the hob.
9.5 Adjusting the bracket position
Fix the hob on the work surface by screw brackets on the bottom of hob(see picture) after installation.
Adjust the bracket position to suit for different table top thickness.


Under any circumstances, the brackets cannot touch with the inner surfaces of the worktop after installation (see picture).
9.6 Cautions
- The induction hotplate must be installed by qualified personnel or technicians. We have professionals at your service. Please never conduct the operation by yourself.
- The hob will not be installed directly above a dishwasher, fridge, freezer, washing machine or clothes dryer, as the humidity may damage the hob electronics.
- The induction hotplate shall be installed such that better heat radiation can be ensured to enhance its reliability.
- The wall and induced heating zone above the table surface shall withstand heat.
- To avoid any damage, the adhesive must be resistant to heat.
- A steam cleaner is not to be used.
9.7 Connecting the hob to the mains power supply

This hob must be connected to the mains power supply only by a suitably qualified person.
Before connecting the hob to the mains power supply, check that:
- The domestic wiring system is suitable for the power drawn by the hob.
- The voltage corresponds to the value given in the rating plate.
- The power supply cable sections can withstand the load specified on the rating plate.
To connect the hob to the mains power supply, do not use adapters, reducers, or branching devices, as they can cause overheating and fire. The power supply cable must not touch any hot parts and must be positioned so that its temperature will not exceed 75^ at any point.

Check with an electrician whether the domestic wiring system is suitable without alterations. Any alterations must only be made by a qualified electrician.



- If the cable is damaged or to be replaced, the operation must be carried out the by after-sale agent with dedicated tools to avoid any accidents.
- If the appliance is being connected directly to the mains an omnipolar circuit-breaker must be installed with a minimum opening of 3mm between contacts.
- The installer must ensure that the correct electrical connection has been made and that it is compliant with safety regulations.
The cable must not be bent or compressed. - The cable must be checked regularly and replaced by authorised technicians only.

The bottom surface and the power cord of the hob are not accessible after installation.


DISPOSAL: Do not dispose this product as unsorted municipal waste. Collection of such waste separately for special treatment is necessary.
This appliance is labeled in compliance with European directive 2012/19/EU for Waste Electrical and Electronic Equipment (WEEE). By ensuring that this appliance is disposed of correctly, you will help prevent any possible damage to the environment and to human health, which might otherwise be caused if it were disposed of in the wrong way.
The symbol on the product indicates that it may not be treated as normal household waste. It should be taken to a collection point for the recycling of electrical and electronic goods.
This appliance requires specialist waste disposal. For further information regarding the treatment, recover and recycling of this product please contact your local council, your household waste disposal service, or the shop where you purchased it.
For more detailed information about treatment, recovery and recycling of this product, please contact your local city office, your household waste disposal service or the shop where you purchased the product.
EasyManual