TG 667 RR - Table de cuisson ARTHUR MARTIN - Notice d'utilisation et mode d'emploi gratuit
Retrouvez gratuitement la notice de l'appareil TG 667 RR ARTHUR MARTIN au format PDF.
| Type d'appareil | Table de cuisson |
| Nombre de foyers | Non précisé |
| Type de cuisson | Non précisé |
| Dimensions (L x P x H) | Non précisé |
| Matériau de la surface | Non précisé |
| Commandes | Non précisées |
| Alimentation | Électrique ou gaz (selon modèle) |
| Puissance totale | Non précisée |
| Sécurité | Non précisée |
| Couleur | Non précisée |
| Installation | Encastrable |
| Accessoires inclus | Non précisés |
| Garantie | Non précisée |
| Normes | Conforme aux normes en vigueur |
| Poids | Non précisé |
FOIRE AUX QUESTIONS - TG 667 RR ARTHUR MARTIN
Téléchargez la notice de votre Table de cuisson au format PDF gratuitement ! Retrouvez votre notice TG 667 RR - ARTHUR MARTIN et reprennez votre appareil électronique en main. Sur cette page sont publiés tous les documents nécessaires à l'utilisation de votre appareil TG 667 RR de la marque ARTHUR MARTIN.
MODE D'EMPLOI TG 667 RR ARTHUR MARTIN
Lors de sa fabrication, cet apparéil a été construit selon des normes, directives et/ou décrets pour une utilisation sur le territoire français.
Pour la sécurité des biens et des personnes ainsi que pour le respect de l'environnement, vous devez d'abord dire impératifement les préconisations suivantes avant toute utilisation de votre apparéil.
Pour éviter tout risque de détérioration de l'appareil, transportez-le dans sa position d'utilisation muni de ses cales de transport (selon modèle).
Au déballage de celui-ci, et pour empêcher des risques d'asphyxie et corporel, tenez les matériaux d'emballage hors de la portée des enfants.
Pour éviter tout risque (mobilier, immobilier, corporel,...), l'installation, les raccordements (eau, gaz, électricité, évacuation selon modèle), la mise en service et la maintenance de votre apparéil doivent être effectuels par un professionnel qualifié.
Votre appareil a ete concu pour etre utilise par des adultes. Il est destiné a un usage domestique normal. Ne lutilisez pas a des fins commerciales ou industrielles ou pour d'autres buts que ceux pour lesquels il a ete concu. Voues eviterez ainsi des risques matieriel et corporel.
Débranchez vous appareil avant toute opération de nettoyage manuel. N'utilisez que des produits du commerce non corrosifs ou non inflammables. Toute projection d'eau ou de vapeur est proscrite pour écarter le risque d'électrocution.
Si voire appareil est equiped d'un eclairage, debranchez l'appareil avant de proceder au changement de I'ampoule (ou du neon, etc.) pour eviter de s'electrocuter.
Afin d'empêcher des risques d'explosion et d'incendie, ne place pas de produits inflammables ou d'éléments imbibés de produits inflammables à l'intérieur, à proximé ou sur l'appareil.
Lors de la mise au rebut de votre apparéil, et pour éçarter tout risque corporel, mettez hors d'usage ce qui pourrait présenter un danger : coupez le cable d'alimentation au ras de l' apparéil. Informez-vous auprès des services de votre commune des endroits autorisés pour la mise au rebut de l' apparéil.
Pendant et après le fonctionnement, les recipients et leur contenu peuvent basculer et les composants de la table s'échauffent. Tenez les enfants éloignés pour éviter tout risque de brûture.
Veuillez maintainant tire attentivement cette notice pour une utilisation optimale de vous appeareil.
Cet apparéil doit être installé par une personne qualifiée et selon les normes en vigueur
Avertissements importants
Conservez cette notice d'utilisation avec votre apparéil. Si l' apparéil avait été vendu ou cédé à une autre personne, assurez-vous que la notice d'utilisation l'accompagne. Le nouvel utilisateur pourra alors être informé du fonctionnement de celui-ci et des averissements s'y rapportant.
Ces averissements ont ete redigés pour voite securite et celle d'autrui.
Utilisation
- Cet apparéil a été concu pour être utilisé par des adultes. Veillez à ce que les enfants n'y touchent pas et ne l'utilisent pas comme un jouet.
- A la réception de l'appareil, déballez-le ou faites-le déballer immidiatement. Vérifiez son aspect général. Faites les éventuelles réserves par écrit sur le bon de livreaison ou sur le bon d'enlevement dont vous garderez un exemplaire.
- Voiture appliceel est destiné à un usage domestique normal. Ne l'utilise pas à des fins commerciales ou industrielles ou pour d'autres buts que celui pour lequel il a été consu.
- Ne modifies pas ou n'essayez pas de modifier les caractéristiques de cet apparéil. Cela représentait un danger pour vous.
- Avant d'utiliser votre apparéil, assurez-vous qu'il a été correctement raccordé pour le type de gaz distribué.
- Tenez les enfants à distancependant le fonctionnement : la table de cuisson et les recipients s'échauffent et peuvent rester chauds longtemps après l'arrêt de l'appareil.
- Baissez ou éteignez toujours la flamme d'un brûleur avant dePTRirer un récipient.
- N'utilise jamais votre table à vide (sans récipient dessus).
Assurez-vous que les manettes sont toujours en position arrêt I lorsque l'appareil n'est pas utilisé. - N'utilise pas de recipients instables ou déformés : ils peuvent se renverser et provoquer un accident.
- Les réparations ne doivent être effectuees que par un service après vente qualifié. Une réparation non conforme peut être la cause de graves dommages.
- Ne conservez pas à proximé de l'appareil des produits inflammables sensibles aux températures (exemples : produits de nettoyage, bombe aerosols...)
Assurez-vous que les enfants ne manipulent pas commandes. - Ne laissez rien sur la table de cuisson. Une mise en fonctionnement accidentelle pourrait provoquer un incendie.
- Si vous utilisez un apparéil électrique à proximité de votre table de cuisson, veillez a ce que le cable d'alimentation de cet apparéil électrique ne soit pas en contact avec la surface chaude de la table.
- Surveillez attentivement la cuisson lors de friture dans l'huile ou laGRAisse.
- Evitez tout courant d'air. Si un brûleur ne présente pas une flamme régulière, nettoyez-le soigneusement. Si l'inconvénient subsiste, faites appel au service après-venture.
- Si la table est équipée d'un couvercle, nettoyez-le soigneusement et ne le fermez qu'après que les brûleurs ont refroidi.
-
Nettoyez l'appareil après chaque utilisation : vous prolongerez ainsi sa durée de vie et vous évitez un mauvais fonctionnement des brûleurs et des bougies d'allumage.
-
Avant tout nettoyage ou intervention technique, assurez-vous que l'appareil est débranché electromquement et complètement refroidi.
- L'utilisation d'un apparéil de cuisson au gaz conduit à la production de chaleur et d'humidité dans la pierce où il est installé. Veillez à assurer une bonne aération de la cuisine : maintenez ouverts les orifices d'aération naturelle ou installez un dispositif d'aération mécanique.
- Une utilisation intensive et prolongée de l'appareil peut nécessiter une aération supplémentaire en ouvrant la fenêtre, ou une aération plus efficace, par exemple en augmentant la puissance de la ventilation mécanique si elle existe.
- Cet apparéil n'est pas raccordé à un dispositif d'évacuation des produits de combustion. Il doit être installé et raccordé conformément aux règles d'installation en vigueur. Une attention particulière sera accordée aux dispositions applicables en matière de ventilation.
- Veillez à ne rien laisser sur la table pendant et après l'utilisation des zones de cuisson (torchons, feuilles d'aluminium, plastique, etc.).
- Changez le tuyau d'arrivée du gaz un peu avant l'expiration de la date de vieillissement indiquée sur celui-ci.
- N'utilisez jamais de bouteille de propane dans votre cuisine ou autre local fermé.
- N'utilise que les accessoires livrés avec votre apparéil (un diffuseur de chaleur, par exemple, endommagerait la table de cuisson).
Installation
- Les opérations d'installation et de branchement doivent être effectuées par un personnel qualifié et suivant les normes en vigueur.
- Si l'installation électrique de votre habitation nécessite une modification pour le branchement de votre apparéil, faites appel à un électricien qualifié.
Assurez-vous que l'appareil est installé dans une piece correctement aérée : une mauvaise ventilation peut entraîner un manque d'oxygène. Consultez un installerateur qualifié ou adressez-vous à la Compagnie de distribution du gaz de votre région. - Cette table est consque pour fonctionner en 230V monophasé. Un éventuel branchement polyphasé sans neutre (400V) peut provoquer la destruction des foyers.

Protection de l'environnement
Tous les matériaux marqués par le symbole sont recyclables. Déposez-les dans une déchetterie prévue à cet effet (renseignez-vous auprès des services de votre commune) pour qu'ils puissant être récapurées et recyclées.
En cas d'anomalie de fonctionnement, le vendeur de votre apparéil est le premier habilité à intervenir. A défaut (déménagement de votre part, fermeture du magasin où vous avez effectué l'achat ...), veuillez consulter le centre Contact Consommateurs qui vous communiquera alors l'adresse d'un Service Àpès Vente.
En cas d'intervention sur l'appareil, exigez du service après vente les pieces de rechange certifiées Constructeur.

Sommaire
A l'attention de l'utilisateur
3
Comment dire notre notice d'utilisation? 4
Description de l'appareil 5
Utilisation de votre table de cuisson 6
Conseils d'utilisation 7
Entretien et nettoyage 8
Garantie 9
Service après Vente 9
Plaque signalétique 9
A l'attention de l'instantiateur
9
Installation 10
Branchement Electrique 12
Adaptation des brûleurs au gaz utilisé 13
Encastrement 14
Possibilities d'encastrement 15
Comment dire votre notice d'utilisation?
Les symboles suivants vous guideront tout au long de la lecture de votre notice:

Instructions de sécurité

Descriptions d'opérations

Conseils et recommendations

Informations sur l'environnement
Veuillez dire attentivement ces remarques avant d'insteller et d'utiliser votre apparéil. Nous déclinons toute responsabilité en cas de dommages ou d'accident provoqués par l' apparéil du fait du non-respect de ces averissements.
Le symbole sur le produit ou son emballage indique que ce produit ne peut etre traité comme déchet menager. Il doit etre remis au point de collecte dédié à cet effet (collecte et recyclage du matériel électrique et électronique).En procedant à la mise à la casse réglementaire de l'appareil, nous preservons l'environnement et notre sécurité, s'assurant ainsi que le déchets seronttraités dans des conditions appropriées. Pour obtaining plus de détails sur le recyclage de ce produit, veuillez prendre contact avec les services de votre commune ou le magasin ou vous avez effectué l'achat.

Cet apparéil est conforme aux Directives Communitaires CEE suivantes:
-
73/23 - 90/683 (Basse Tension);
-
90/396 (Appareil Gaz)
-
89/336 (Compatibilité Electromagnétique);
-93/68 (Directives Générales);
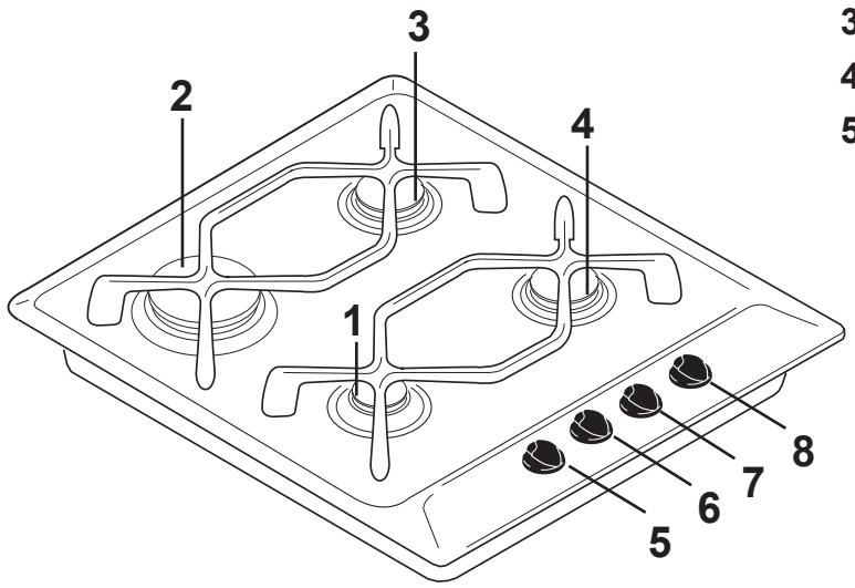
Description de l'appareil
TG 4016 - TG 4023 - TG 667

1 Brûleur auxiliaire
2 Brûleur rapide
3 Brûleur semi-rapide
4 Brûleur semi-rapide
5-8 Manettes de commande des brûleurs
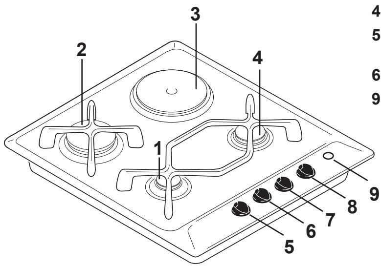
TM 657 - TM 3016 - TM 3023

1 Brûleur auxiliaire
2 Brûleur rapide
3 Plaque électrique
4 Brûleur semi-rapide
5 Manette de commande de la plaque électrique
6-8 Manettes de commande des brûleurs
9 Voyant de fonctionnement de la plaque
Utilisation de votre table de cuisson
Les commandes
Les manettes qui commandent les brûleurs sont dotées de 3 positions principales d'utilisation :
= Position arrêt

= Débit maximum et allumage automatique

= Débit minimum
L'allumage des brûleurs
Chaque brûleurs est contrôle par un robinet à verrouillage de sécurité, il est impossible de tourner la manette sans la pousser.
Seulement dans le modeles TG 4023 - TM 3023 - TG 667 - TM 657 : Chaque brûleur est équipé d'une sécurité thermocouple, qui coupe l'arrivée de gaz si la flamme s'éteint accidentellement (débordement, courant d'air, etc.).

Pour allumer un brûleur
- Appuyez sur la commande du brûleurChoisi, et tournez-la vers la gauche jusqu'au repère de débit maximum (A).
En cas de coupure d'électricité, vous pouvez utiliser votre table de cuisson sans avoir recours au système automatique. Pour cela, présente une flamme au brûleur.
-
Mod. TG 4023 - TM 3023 - TG 667 - TM 657: Maintenez la commande enforcée, pendant 5 secondes environ après l' apparition de la flamme pour activer la sécurité thermocouple.
-
Placez le recipient sur le brûleur.
- Reglez le début selon les nécessités de votre préparation, en vous assurant que la flamme ne déborde pas du fond.

Pour eteindre le bruleur
Tournez la commande dans le sens des aiguilles d'une montre jusqu'à la butée, sur la position arrêt (●).

Lorsque vous faites des fritures, surveillez attentivement la cuisson car l'huile ou la graisse pourrait facilement s'enflammer par suite d'une surchauffe.

Les modèles sont équipés de robinets progressifs, qui permettent un meilleur réglage de la flamme.
La plaque électrique (Mod. TM 657 / TM 3016 / TM 3023)
Cette table de cuisson est équipée d'une plaque électrique à 7 positions.
Pourmettre enfonnementmentla plaque,tournez lamanette correspondante sur la positiondésirée.
Levoyant lumineux (témoin de fonctionnement) s'allume pour signaler que la plaque est en fonctionnement.
La manette peut être positionnée sur l'une des 7 positions et tournée indifféremment vers la croite ou vers la gauche.
Position 0 : plaque à l'arrêt
Position 1: allure de chauffe minimale
Position 6: allure de chauffe maximale

Lorsque vous faites des fritures, surveillez attentivement la cuisson car l'huile ou la graisse pourrait facilement s'enflammer par suite d'une surchauffe.
En tenant compte de la quantité d'aliments à cuire et du mode de cuisson, le tableau ci-dessous guidera vos premiers essais.
| Positions | Cuisson |
| 1 | Pour réchauffer les mets ou pour fondre le beurre et le chocolat |
| 2 | Pour préparer des sauces, des daubes, des soufflés, des oeufs... |
| 3 | Soupes de légumes secs, décongélation d'aliments surgelés, cuisson d'eau ou de lait |
| 4 | Pommes de terre à la vapeur, légumes frais, soupes, pâtes, bouillon, savarins, poisson |
| 5 | Omelettes, crépes, biftecks |
| 6 | Biftecks, tranches de vande, biscuits, saisie de vande |
i Conseils d'utilisation
Les brûleurs
Afin d'obtenir un rendement maximum de chaque brûleur, utilisez des recipients adaptés au diamètre des brûleurs.
Brûleurrapipe
diametre 16 - 26 cm
Brûleur semi - rapide
diametre 18-20-22 cm
Brûleuráuxiliaire
diametre 10-14-16 cm
- Ne placez un réseau sur un brûleur qu'après avoir allumé celui-ci.
N'utilisez que des recipients creux.
Assurez-vous que la flamme ne déborde pas du fond du écipient. - Si vous nevez utiliser des reçipients dont le diamètre est important, nous vous recommendons d'effectuer vos cuissons sur le brûleur avant gauche, afin d'éviter la dépréciation des manéttes de commande.
- Surveillez attentivement la cuisson lorsque vous faites des fritures : l'huile ou la graisse peuvent facilement s'enflammer par suite d'une surchauffe.
- Si la flamme d'un brûleur s'eteint accidentellement, ramenez la manette correspondante sur la position arrêt et attendez une minute avant de rallumer le brûleur.
- L'utilisation continue et intensive de votre table de cuisson demande une aération supplémentaire : ouvrez une fenêtre ou augmentez la puissance d'aspiration mécanique (si existante).
La plaque électrique (Mod. TM 657 / TM 3016 / TM 3023)
- Choisissez des recipients à fond écais et bien plat (fond dressé) et utilisez toujours un recipient dont le diamètre est proportionné à la plaque.
- Ne faites pas chauffer la plaque à vide et n'interposezaucun produit ou matériel au entre la plaque et le récipient.
- Chaque fois que la recette le permet, couvrez votre récipient, vous réaliserez des économies d'énergie.
- Pensez à ramener la manette sur la position arrêtant la fin de cuisson, celle-ci se terminera grâce à la chaleur accumulée.
- Tournez la manette jusqu'au repère 6 et, après quelques minutes, ramenez-la sur le repère correspondant au mets à cuire.









Entretien et nettoyage

Avant de procéder au nettoyage : débranchez électriquement l'appareil, assurez-vous que toutes les manéttes sont sur la position arrêt ● et attendez que l'appareil soit refroidi.
Les brûleurs
- Les chapeaux et les couronnées des brûleurs sont fixés à l'aide de deux vis. Pour les démonter, enlevezles, returnez-les et dévissez les deux vis comme sur indiqué sur la figure.
- Lavez les chapeaux de brûleurs avec de l'eau chaude et un détergent doux, ennant soin d'enlever toute incrustation. Si nécessaire, vous pouvez utiliser une petite brosse en acier.
- Gardez les couronnées des brûleurs en parfait état de propre: leur encrassement peut cause des difficultés d'allumage.
- Si vous avez demonté les brûleurs pour les nettoyer, veillez à remettre correctement en place les couronnées et chapeaux de brûleurs parfaitement secs.
Les grilles émailées
- Lavez-les à l'eau chaude additionné d'un détergent doux. Utilisez si besoin un produit légèrement abrasif.
Les manettes
Utilisez une éponge très légèrement imbibée d'eau savonneuse. Rincez et séchez soigneusement.
Pour un meilleur nettoyage du plan de cuisson, les manettes sont amovibles.
Assurez-vous que la manette soit sur la position "Arret".
Retirez la manette.
- Àprous le nettoyage, remettez en place la manette dans sa position initiale.

Lors du nettoyage, enaucun cas du liquide ou du produit d'entretien ne doit pénétrer a l'intérieur du caisson ou se situant les éléments electriques.
Le dessus de la table de cuisson
- Passez une éponge légèrement imbibée d'eau tiède (et, si nécessaire, de détergent doux) après chaque utilisation.
- Evitez tout écoullement dans les orifices de la table.
Utilisez, si nécessaire, un racloir spécial et des produits spécifiques vendus dans le commerce. - N'utilise pas d'objet tranchant (couteau, gratoir, tournevis, etc.) ou déponge à face abrasive.
- N'utilise pas de détergents abrasifs ou corrosifs tels que : bombes aérosols pour four, produits détachants, produits anti-rouille, poudres à récurer.



La plaque électrique (Mod. TM 657 / TM 3016 / TM 3023)
- ÀpRES chaque utilisation, essuyez la plaque avec un papier absorbant. Elle doit être maintainue bien sèche. Si nécessaire, faites-la chauffer au préalable pour carboniser les salissures trop adhérentes.
- De temps en temps, et avant toute période prolongée de non'utilisation, graissez légèrement la plaque (huile de table, huile pour machine à coudre ou vaseline). Vous trouvezEZ également des produits spécifique de protection et d'entretien dans le commerce.
- Evitez de passer un chiffon humide sur la plaque encore chaude. Bien qu'elle puisse résister à ce traitement, il pourrait subsister des "peluches" sur son revêtement. Attendez son complet refroidissement.
Garantie
Conformément à la Législation en vigueur, votre Vendeur est tenu, lors de l'acte d'achat de votre apparéil, de vous communiquer par écrit les conditions de garantie et sa mise en œuvre appliquées sur celui-ci.
Sous son entière initiative et responsabilité, vous Vendeur répondra à toutes vos questions concernant l'achat de votre appeareil et les garanties qui y sont attachées. N'hésitez pas à le contacter.
Plaque signalétique
En appelant un Service ÀpRES VENTE, indiquez-lui le modele, le numero de produit et le numero de série de l'appareil. Ces indications figurent sur la plaque signalétique située sur votre apparéil.
Service après Vente
En cas d'anomalie de fonctionnement, le vendeur de votre apparéil est le premier habilité à intervenir. A défaut (déménagement de votre part, fermeture du magasin où vous avez effectué l'achat...,), veillez consulter le Centre Contact Consommateurs qui vous communiquera alors l'adresse d'un Service Àpès Vente.
En cas d'intervention sur votre apparéil, exigez du Service ÀpRES VENTE les Pièces de Rechange certifiées Constructeur.

Caractéristiques techniques
Dimensions de l'ouverture pour l'encastrement dans le plan de travail
(voir chapitre "Encastrement")
Largeur: 550 mm
Profondeur: 470 mm
Puisance des brûleurs
Brûleur Rapide
3,2 kW
Brûleurs Semi-rapide
2,0 kW
Brûleur Auxiliaire
1,0 kW
Puisance de la plaque electrique (Mod. TM 657 / TM 3016 / TM 3023)
Plaque electrolyque (Ø 145)
1,5 kW
Alimentation:
230V-50Hz
Air nécessaire à la combustion
16 ~m^3 / h
Catégorie: II2E+3+
Appareil régle en Usine pour fonctionner avec gaz type G20/G25 - 20/25 mbar
Installation
Emplacement
Les meubles juxtaposés aux côts de la table de cuisson ne doivent pas dépasser la hauteur de cette-ci. Les bords latéraux de la découverte pratiquée doivent se trouver à au moins 100 mm. des murs ou des meubles latéraux.
Les meubles suspendus ou les hottes doivent'être installés à une hauteur minimale de 650~mm . au dessus de la table de cuisson.
N'installez pas l'appareil pres de matérielux inflammables (par ex.: rideaux, torchons, etc.).

Débranche l'appareil avant toute intervention.
Important
- L'installation et le branchement de l'appareil doivent être effectuels par un personnel qualifié conformément aux textes réglementaires et règes de l'art en vigueur, notamment:
- Arrêté du 2 août 1977, Règes Techniques et de Sécurité applicables aux installation de gaz combustibles et d'hydrocarbures liquées à l'intérieur des batiments d'habitation et leurs dépendances;
- Norme DTU P 45 • 204, Installations de gaz (anciennement DTU n.° 61 - installation de gaz - Avril 1982 + additif n.° 1 Juillet 1984);
- Règlement Sanitaire Départemental.
Pour les apparèils raccordés au réseau électrique:
- Norme NF C 15 100 - Installations électriques à basse tension - Règles.
Recommendations
- Vérifiez que le début du compteur et le diamètre des canalisations sont suffisants pour alimenter tous les appareils de l'installation et vérifiez que tous les raccords sont bien étanches;
- N'omettez pas d'instructor un robinet de barrageque visible et accessible.
Raccordement gaz

Raccordez la table à la bouteille ou à l'installation selon les prescriptions légales en la matière.
Assurez-vous que l'appareil est régle pour le type de gaz auquel il sera alimenté. Pour le passage d'un gaz à un autre, reportez-vous au paragraphe "Adaptation des brûleurs au gaz utilisé".
Important
Pour un fonctionnement correct, une consommation réduite et une plus grande durée de vie de l'appareil, assurez-vous que la pression d'alimentation correspond aux valeurs indiquées dans le tableau.
Si l'appareil est alimenté en gaz Butane ou Propane (bouteille), contrôle que le régulateur de pression débite le gaz à une pression de 28 mbar pour le Butane et 37 mbar pour le Propane.

1) Vissez le raccord orientable C dans l'écrou A situé à l'extrémité de la rampe d'alimentation, sans omettre d'intercaler le joint d'étanchéité B (Fig. 1).
2) Orientez le raccord C dans la direction voulue, puis effectuez un serrage correct.
3) Effectuez ensuite le raccordement du tube d'arrivée de gaz (Fig. 2 - Exemple d'alimentation avec tube rigide).
4) Contrôlez la parfaite étanchéité du raccord et de l'embout en utilisant une solution savonneuse.
5) Fixez l'appareil au meuble.

A) Ecrou situé à l'extrémite de la rampe
B) Joint
C) Raccord orientable
Fig. 1

Fig. 2
A) Ecrou
B) Raccord orientable
C) Tube rigide
Raccordement "rigide"
Effectuez le raccordement en utilisant des tuyaux rigides métalliques (cuivre avec embout mécanique).
Raccordement "flexible" avec embout mécanique
Gaz naturel
Le raccordement s'effectue avec un tuyau flexible à embout mécanique qui se visse directement sur le coude terminant la rampe de l'appareil (la tuyauterie doit être visible sur toute sa longueur). Elle doit être conforme à la norme "NFD 36-100" (durée de vie 5 ans) ou "NFD 36-103" (durée de vie 10 ans). Le raccordement peut se faire aussi avec un flexible métallique "NFD 36-121"
- Butane/Propane
Un tubeouple,équipé de sescolliers (conformé à XPD 36-110) peut être utilisé s'il est vistable sur toute la longueur et si l'appareil ne fonctionne qu'au butane. Si l'appareil fonctionne au propane, il faut utiliser un flexible conformé à la norme XPD 36-112 ou un flexible métallique conformé à "NFD 36-125".

Pour assembler les différentes pieces il est conseilé de suivre l'ordre suivant:
- fixez le raccord orientable à l'embout en interpolant le joint;
- fixez le raccord orientable à la rampe d'alimentation de l'appareil;
- orientez le raccord dans la direction voulue;
- contrôle la parfaite étanchéité du raccord et de l'embout en utilisant une solution savonneuse;
fixez l'appareil au meuble.
Entretien

Contrôlez périodiquement le tuyau d'arrivee du gaz et I'eventuel regulateur de pression. En cas d'anomalie remplacez la piece defectueuse.
Pour garantir un bon fonctionnement et uneonnebeneurite, il est necessaire de proceder periodiquement au graissage des robinets deréglage du gaz. Confiez cette operation a un technicien qualifie.
Branchement Electrique

Reliez l'appareil à la terre, conformément aux prescriptions de la norme NF.C 15100 et aux règlements en vigueur.
Avant d'effectuer le branchement s'assurer que:
- le disjoncteur et l'installation électrique peuvent supporter la charge de l'appareil (voir la plaque signalétique);
- l'installation d'alimentation soit équipée d'une prise de terre efficace selon les normes en vigueur;
- la prise ou l'interrupteur principal soient facilement accessibles.
L'appareil ne doit pas etre raccordé à l'aide d'un prolongateur, d'une prise multiple ou d'un raccordement multiple (risque d'incendie).
Vérifiez que la prise de terre est conforme aux règlements en viqueur.
Les tables de cuisson sont équipées d'un cable d'alimentation et sont aptes au fonctionnement en 230V - 50 Hz.
Appliquez au cable une fiche normalisée, pour la charge indiquée sur la plaque signalétique. Branchez la fiche à une prise ajustate.
Si I'on désire un branchement direct au réseau (branchement fixe) il faut intercaler entre l'appareil et le réseau un dispositif possédant des contacts à coupure omnipolaire ayant une distance d'ouverture des contacts d'au moins 3 mm.
Le cable de terre jaune-vert ne doit pas etre interrompu par l'interrupteur et doit etre relié à la borne du conducteur de protection.
Le cable de phase de couleur marron (provenant de la borne "L" de la planchette à bornes) doit toujours être relié à la phase du réseau d'alimentation.
Le cable d'alimentation doit être placé de telle manière qu'il ne touche aucune partie chaude.
Après le branchement essayez les éléments chauffants en les faisant fonctionner pendant 3 minutes environ.
Notre responsabilité ne saurait etre engagée en cas d'accidents ou d'incidents provoqués par une mise à la terre inexistante ou defectueuse.
Remplacement du cable d'alimentation
Le cable d'alimentation ne doit être remplaced que par un professionnel qualifié; utilisez un cable de type H05 RR-F ou H05V2V2-F (T90) d'une section adaptée à la charge.
En outre, il faut que le cable de terre jaune-vert soit plus long d'environ 2 cm que les câbles de phase et neutre.

Le cable d'alimentation sera positionné de façon à ce qu'enaucun point sa température n'excède 50^ à la température ambiente.
Adaptation des brûleurs au gaz utilisé
Pour la conversion de l'appareil d'un type de gaz à l'autre, opérez comme suit:
A. Remplacement des injecteurs
1) Otez les grilles.
2) Enlevez les brûleurs.
3) Avec une clé de 7 dévissez les injecteurs (Fig. 3) et remplacez-les par ceux convenant au type de gaz utilisé (voir tableau).
4) Remplacez l'étiquette d'étaglonage (collée à côté du tuyau d'alimentation en gaz) par cette correspondant au nouveau type de gaz. Elle se trouve dans l'emballage des injecteurs fournis avec la table).
B. Réglage du ralenti
1) Allumez chacun des brûleurs.
2) Tournez les manettes jusqu'à l'obtention du début réduit.
3) Retirez les manettes.
Alimentation en gaz naturel
Agissez sur la vis de réglage (Fig. 4) jusqu'à l'obtention d'une petite flamme régulière.
Alimentation en gaz Butane ou Propane
Vissez à fond la vis (Fig. 4), celle-ci étant déjà prévue pour assurer le début minimum. Contrôlez en tournant la manette de la position de début minimum et vice versa, que la flamme ne s'est int pas.
Remarque: La vis de réglage est de petite dimension, utilisez un tournevis plat très fin.
4) Remontez les manettes en effectuant les opérations dans l'ordre inverse.
Les opérations ci-dessus peuvent être effectuées ainsiment après encastrement de la table de cuisson dans le meuble de cuisine.

Fig. 3

Fig. 4
| TYPE DE BRULEUR | DéBIT CALORIFIQUE NOMINAL kW | DéBIT CALORIFIQUE MINIMUM kW | DéBIT CALORIFIQUE NOMINAL | |||||
| GAZNATUREL | GAZBUT.-PROP. 28-30/37 mbar | |||||||
| Repère injecteur 100/mm | m³/h | Repère injecteur 100/mm | g/h | |||||
| G20 20 mbar | G25 25 mbar | G30 | G31 | |||||
| Auxiliaire (Petit) | 1 | 0,33 | 70 | 0,095 | 0,111 | 50 | 73 | 71 |
| Semi-rapide (Moyen) | 2 | 0,45 | 96 | 0,190 | 0,221 | 71 | 145 | 143 |
| Rapide (Grand) | 3,2 | 0,65 | 121 | 0,305 | 0,354 | 88 | 233 | 229 |
Encastrement
Mod. TG 4016 - TG 4023 - TG 667
Mod. TM 657 - TM 3016 - TM 3023

Fig. 5
Les dimensions sont indiquées en millimétres.
Ces tables de cuisson sont prévues pour être encastrées dans des meubles de cuisine ayant une profondeur de 550 à 600 mm.
A=Bruleur auxiliaire
SR = Bruleur semi-rapide
R = Brûleur rapide
PE = Plaque électrique
Côtés d'encastrement (Fig. 5-6)
Les tables de cuisson peuvent être encastrées dans un meuble ayant une ouverture aux dimensions indiquées dans la Fig. 7.
Les bords latéraux doivent se couver à au moins 100 mm des murs ou des meubles latéraux.

La fixation de la table au meuble doit etre effectuee de la facon suivante:
- placez les joints fournis sur les bords de la découpe: positionnez-les exactement sur les bords en veillant à ce que les extrémités des joints soient parfaitement jointives, sans recouvrement;
- placez la table dans la niche d'encastrement en la centrant correctement;
- fixez la table au meuble à l'aide des pattes de serrage prévues à cet effet (Fig. 8). La traction exercée par les vis est suffisante pour tracer un sillon dans le joint d'étanchéité, que l'on pourrait aisément enlever.
Les bord de la table de cuisson forme un double labyrinthe, assurant une parfaite étanchéité contre l'infiltration de liquides.

L'encastrement de la table de cuisson au dessus d'un lave-vaisse, d'un réfrigérateur, d'un congélateur, d'un four, ou d'un lave linge est déconseille lorsque le constructeur de ces apparèils electroménagers ne l'a pas formellement prévu.

Fig. 7

a) Joint d'étanchéité
Possibilities d'encastrement
Dans un meuble de cuisine avec porte
Le meuble destiné à receivevoir la table de cuisson devra être fabriqué de façon que le contact avec les parties métalliques chaudes soit évité.
La distance minimum entre le fond de la table de cuisson et le plancher de l'encastrement doit être de 20 mm.
Reportez you à la Fig. 9.
La tablette sous la table de cuisson doit être aisément démontable pour avoir facilement accès à l'appareil en cas de réparation.
Au-dessus d'un four
Pour les côtes d'encastrement reportez vous aux Fig. 10 et 13. Prévoir deux supports pour l'aération. Les figures 11 et 12 illustrent deux solutions possibles.
Les raccordements électriques du four et de la table doivent rester accessibles et être effectuels séparément.
Les meubles suspendus ou les hottes doivent etre installésaune hauteur minimale de 650~mm au-dessus de la table de cuisson (Figure 14).

Fig. 9
Fig. 10

a) Tablette amovable
b) Espace évientuel pour les raccordements

Fig. 11

Fig. 12

Fig. 13

Fig. 14
Notice Facile