DE0272T - Table de cuisson ARTHUR MARTIN - Notice d'utilisation et mode d'emploi gratuit
Retrouvez gratuitement la notice de l'appareil DE0272T ARTHUR MARTIN au format PDF.
| Type de table | Non précisé |
| Nombre de foyers | 4 |
| Type de foyer | Non précisé |
| Puissance totale | Non précisé |
| Commande | Manuelle |
| Matériau de la surface | Non précisé |
| Dimensions (L x P) | Non précisé |
| Couleur | Non précisé |
| Sécurité | Non précisé |
| Type d'installation | Encastrable |
| Type d'alimentation | Électrique ou gaz |
| Fonctions spéciales | Non précisé |
| Accessoires fournis | Non précisé |
| Poids | Non précisé |
| Normes | Non précisé |
FOIRE AUX QUESTIONS - DE0272T ARTHUR MARTIN
Téléchargez la notice de votre Table de cuisson au format PDF gratuitement ! Retrouvez votre notice DE0272T - ARTHUR MARTIN et reprennez votre appareil électronique en main. Sur cette page sont publiés tous les documents nécessaires à l'utilisation de votre appareil DE0272T de la marque ARTHUR MARTIN.
MODE D'EMPLOI DE0272T ARTHUR MARTIN
Avertissements importants
Cet apparéil doit être installé par une personne qualifiée et selon les normes en vigueur.
Conservez cette notice d'utilisation avec votre apparéil. Si l' apparéil avait été vendu ou cédé à une autre personne, assurez-vous que la notice d'utilisation l'accompagne. Le nouvel utilisateur pourra alors être informé du fonctionnement de celui-ci et des averissements s'y rapportant. Ces averissements ont été rédigés pour votre sécurité et celle d'autrui.
Utilisation
- Cet apparéil a été concu pour être utilisé par des femmes. Veillez à ce que les enfants n'y touchent pas et ne l'utilisent pas comme un jouet.
- A la réception de l'appareil, déballez-le ou faites-le déballer immédiatement. Vérifiez son aspect général. Faites les éventuelles réserves par écrit sur le bon de livraison ou sur le bon d'enlèvement dont vous garderez un exemplaire.
- Notre apparéil est destiné à un usage domestique normal. Ne l'utilise pas à des fins commerciales ou industrielles ou pour d'autres buts que celui pour lequel il a été créé.
- Ne modifies pas ou n'essayez pas de modifier les caractéristiques de cet apparéil. Cela représentait un danger pour vous.
- Tenez les enfants à distancependant le fonctionnement : la table de cuisson et les recipients s'échauffent et peuvent rester chauds longtemps après l'arrêt de l'appareil.
- N'utilisez jamais votre table à vide (sans récipient dessus).
Assurez-vous que les manettes sont toujours en position arrêt • lorsque l'appareil n'est pas utilisé. - N'utilise pas de recipients instables ou déformés : ils peuvent se renoverser et provoquer un accident.
- Les réparations ne doivent être effectuées que par un service après vente qualifié. Une réparation non conforme peut être la cause de graves dommages.
- Ne conservez pas à proximé de l'appareil des produits inflammables sensibles aux températures (exemples : produits de nettoyage, bombe aerosols, ...)
Assurez-vous que les enfants ne manipulent pas commandes. - Ne laissez rien sur la table de cuisson. Une mise en fonctionnement accidentelle pourrait provoquer un incendie.
- Si vous utilisez un apparéil électrique à proximité de votre table de cuisson, veillez a ce que le cable d'alimentation de cet apparéil électrique ne soit pas en contact avec la surface chaude de la table.
-
Surveillance attentivement la cuisson lors de friture dans l'huile ou la graisse.
-
Si la table est équipée d'un couvercle, nettoyez-le soigneusement et ne le fermez qu'après que les brûleurs ont refroidi.
- Nettoyez l'appareil après chaque utilisation : vous prolongerez ainsi sa durée de vie.
- Avant tout nettoyage ou intervention technique, assurez-vous que l'appareil est débranché电量quèment et complètement refroidi.
- La table de cuisson ne doit pas etre utiliser pour entreposer quoi que ce soit.
- Des feuilles d'aluminium et des recipients en matière plastique ne doivent pas'être placés sur des surfaces chaudes.
Installation
- Les opérations d'installation et de branchement doivent être effectuees par un personnel qualifie et suivant les normes en vigueur.
- Si l'installation électrique de votre habitation nécessite une modification pour le branchement de votre apparéil, faites appel à un électricien qualifié.
- Cette table est consque pour fonctionner en 230 V monophasé. Un évientuel branchement polyphasé sans neutre (400 V) peut provoquer la destruction des foyers.

Protection de l'environnement
Tous les matériaux marqués par le symbole sont recyclables. Déposez-les dans une déchetterie prévue à cet effet (renseignez-vous auprès des services de votre commune) pour qu'ils puissant être récapucérés et recyclés.
En cas d'anomalie de fonctionnement, le vendeur de votre apparéil est le premier habilité à intervenir. A défaut (déménagement de votre part, fermeture du magasin où vous avez effectué l'achat ...), veuillez consulter l'Assistance Consommateurs qui vous communiquera alors l'adresse d'un Service Àpès Vente.
En cas d'intervention sur l'appareil, exigez du service après vente les pièces de rechange certifiées Constructeur.

Veuillez litre attentivement ces remarques avant d'instructor et d'utiliser votre apparéil. Nous déclinonn toute responsabilité en cas de dommages ou d'accident provoqués par l' apparéil du fait du non-respect de ces averissements.
Sommaire
A l'attention de l'utilisateur
Avertissements importants 2
Comment dire your notice d'utilisation? 3
Description de l'appareil 3
Utilisation de votre table de cuisson 4
Entretien et nettoyage 5
Conseils d'utilisation 5
Conditions de garantie 6
Garantie Européenne 6
Service après Vente 6
Plaque signalétique 6
A l'attention de l'instantiateur
7
Branchementélectrique 8
Encastrement 9
Comment dire votre notice d'utilisation?
Les symboles suivants vous guideront tout au long de la lecture de votre notice:
! Instructions de sécurité
Descriptions d'opérations
i Conseils et recommendations
Informations sur l'environnement
Description de l'appareil

1 Plaque standard Ø 180 - 1500 W
2 Plaque rapide Ø 145 - 1500 W
3 Voyant de fonctionnement
4 Manettes de commande des plaques électriques
5 Minuteur
Utilisation de votre table de cuisson
Les commandes des plaques électriques
i Avant la première utilisation, faites chauffer les plaques à vide 3 à 5 minutes, pour durcir le vernis protecteur.

Comment utiliser les plaques
Les manettes qui commandent les plaques sont dotées de 7 positions d'utilisation.
Les plaques rapides convennent particulièrement aux cuissons demandant un démarrage rapide à feu vif.
Pourmettre enfonnementmentla plaque,tournezla manette correspondante sur la positiondésirée et a l'aide du minuteur indiquez la durée de cuisson可以选择.
Levoyant lumineux (témoin de fonctionnement) s'allume pour signaler que la plaque est en fonctionnement.
La manette peut être positionnée sur l'une des 7 positions et tournere indifféremment vers la droite ou vers la gauche.
Position 0 : plaque à l'arrêt
Position 1: allure de chauffe minimale
Position 6: allure de chauffe maximale
Le minuteur

Attention: pour une sécurité totale, les 2 plaques électriques sont reliées au minuteur.

Comment utiliser le minuteur
- Réglez la ou les manettes correspondant aux plaques sur la position de cuisson désirée;
- tournez le minuteur sur le temps de cuisson choisi.
- Àprouès écoulement de la durée affichée, le minuteur arrêté la cuisson: les plaques électriques ne sont plus alimentées à la fin du temps sélectionné avec le minuteur.
- Ramenez la ou les manettes sur la position "arret" (0).

Si vous utilisez les deux plaques en même temps, nous vous conseillons d'afficher sur le minuteur le temps de cuisson le plus court puis, une fois la première cuisson terminée, d'afficher sur le minuteur le temps nécessaire pour terminer la deuxieme cuisson.

Le minuteur peut également être utilisé comme "sablier" lorsque les plaques de cuisson ne fonctionnent pas.
Pour cela :
- Vérifiez que les manettes correspondant aux plaques de cuisson sont sur la position " arrêt".
- Tournez le minuteur sur la durée可以选择.
En tenant compte de la quantité d'aliments à cuire et du mode de cuisson, le tableau suivant guidera vos premiers essais.
| Positions | Cuisson |
| 1 | Pour réchauffer les mets ou pour fondre le beurre et le chocolat |
| 2 | Pour préparer des sauces, des daubes, des soufflés, des oeufs... |
| 3 | Soupes de légumes secs, décongélation d'aliments surgelés, cuisson d'eau ou de lait |
| 4 | Pommes de terre à la vapeur, légumes frais, soupes, pâtes, bouillon, savarins, poisson |
| 5 | Omelettes, crêpes, biftecks |
| 6 | Biftecks, tranches de viande, biscuits, saisie de viande |

Lorsque you faites des fritures, surveillez attentivement la cuisson car l'huile ou la graisse pourrait facilement s'enflammer par suite d'une surchauffe.

i Conseils d'utilisation
Les plaques électriques
- Choisissez des récipients à fond écais et bien plat (fond dressé) et utilisez toujours un récipient dont le diamètre est proportionné à la plaque.
- Ne faites pas chauffer la plaque à vide et n'interposezaucun produit ou matériel au entre la plaque et le récipient.
- Chaque fois que la recette le permet, couvrez votre récipient, vous réaliserez des économies d'énergie.
- Pensez à ramener la manette sur la position arrêt avant la fin de cuisson, celle-ci se terminera grâce à la chaleur accumulée.
- Tournez la manette jusqu'au repère 6 et, après quelques minutes, ramenez-la sur le repère correspondant au Mets à cuire.



Entretien et nettoyage

Avant de procéder au nettoyage : débranchez électriquement l'appareil, assurez-vous que toutes les manéttes sont sur la position arrêt (●) et attendez que l'appareil soit refroidi.
Les manettes
Utilisez une éponge très légèrement imbibée d'eau savonneuse. Rincez et séchez soigneusement.
Pour un excellent nettoyage du plan de cuisson, les manettes sont amovibles.
Assurez-vous que la manette soit sur la position "Arrêt".
Retirez la manette.
- Àprous le nettoyage, remettez en place la manette dans sa position initiale.

Lors du nettoyage, enaucun cas du liquide ou du produit d'entretien ne doit pénétrer à l'intérieur du caisson ou se situant les éléments électriques.
Le dessus de la table de cuisson
- Passez une éponge légèrement imbibée d'eau tiède (et, si nécessaire, de détergent doux) après chaque utilisation.
- Evitez tout écoullement dans les orifices de la table.
- N'utilise pas d'objet tranchant (couteau, gratoir, tournevis, etc.) ou déponce à face abrasive.
- N'utilise pas de détergents abrasifs ou corrosifs tels que : bombes aérosols pour four, produits détachants, produits anti-rouille, poudres à récurer.



Les plaques électriques
- ÀpRES chaque utilisation, essuyez la plaque avec un papier absorbant. Elle doit être maintainue bien sèche. Si nécessaire, faites-la chauffer au préalable pour carboniser les salissures trop adhérentes.
- De temps en temps, et avant toute période prolongée de non'utilisation,GRAISSEZ LEGEREMENT la plaque (huile de table, huié pour machine à coudre ou vaseline).Vous trouverez également des produits spécifiques de protection et d'entretien dans le commerce.
- Evitez de passer un chiffon humide sur la plaque encore chaude. Bien qu'elle puisse résister à ce traitement, il pourrait subsister des "peluches" sur son revêtement. Attendez son complet refroidissement.
Conditions de garantie
Garantie contractuelle
Pendant 1 an à compter de la mise en service, le constructeur remplacera les pièces défectueuses, sauf dans les cas prévus au chapitre «Réserves».
Conditions d'application :
Pour l'application de cette garantie, vous devez vous adresser au distributeur qui vous a vendu l'appareil et luiprésenter le Certificat de Garantie. En complément, le Distributeur Vendeur pourrait ou non prendre à sa charge les frais de main d'oeuvre, ainsi que les frais de déplacement et de transport, selon les conditions de vente qu'il pratique.
Reserves:
Nous attirons votre attention sur le fait que cette garantie ne pourra'être appliquée:
- si les déteriorations proviennent d'une cause étrangère à l'appareil (chocs, variations anormales de la tension électrique, etc.) ou du non-respect des conditions d'installation ou d'utilisation indiquées dans cette Notice d'Utilisation, fausse manoeuvre, néligence, installation
défectueuse ou non conforme aux règles et prescriptions imposées par les organismes de distribution de l'Electricité, de l'Eau, du Gaz, etc.
- si l'utilisateur a apporté une modification sur le matériel ou enlevé les marques ou numérodesérie.
- si une réparation a été effectuee par une personne non/agréee par le constructeur ou le vendeur.
- si l'appareil a eté utilisé à des fins commerciales ou industriielles ou pour d'autres buts que des buts menagers pour lesquels il a eté concu.
- si l'appareil a eté achété ou réparé hors du territoire français.
Garantie légale
Les dispositions de la garantie contractuelle ne sont pas exclusives du bénéfice, au profit de l'acheteur, de la garantie légale pour défauts et vices cachés, la dite garantie s'appliquant en tout état de cause dans les conditions des articles 1641 et suivants du Code Civil.
Garantie Européenne (Arthur Martin/Electrolux)
Si vous deviez déménager vers un autre pays d'Europe, la garantie accompagne votre apparéil jusqu'à votre nouvelle résidence, aux conditions suivantes:
La date de départ de la garantie est la date d'achat du produit.
La durée de la garantie ainsi que son estendue (pièces et/ ou main d'oeuvre) sont celles en vigueur dans le nouveau pays où l'appareil est utilisé.
Le bénéficiaire de la garantie est le propriété de l'appareil. La garantie ne peut etre cedee ou transferee a une autre personne.
- Voiture nouvelle résidence est dans l'Union Européenne ou dans un pays de l'Association Européenne de Libre Echange.
L'appareil est installé et utilisé conformément aux instructions de la notice d'utilisation et indications figurent sur la plaque signaletique, avec une attention particulière à les types de gaz et la pression d'alimentation.
L'appareil et utilisé à des fins domestiques normales (ceci excluant notamment tout usage intensif, professionnel ou semi-professionnel).
Plaque signalétique
En appelant un Service ÀpRES Vente, indiquez-lui le modele, le numero de produit et le numero de série de l'appareil. Ces indications figurent sur la plaque signalétique située sur votre apparéil.
Service après Vente
En cas d'anomalie de fonctionnement, le vendeur de votre apparéil est le premier habilité à intervenir. A défaut (déménagement de votre part, fermeture du magasin où vous avez effectué l'achat ...), veuillez consulter l'Assistance Consommateurs qui vous communiquera alors l'adresse d'un Service Àpès Vente.
L'appareil est installé conformément aux normes de sécurité et à la législation en vigueur dans votre nouveau pays de residence.
Pour toute question concernant la garantie europeenne, vous pouze prendre contact avec l'un de nos Services Consommateurs:
France
① 0344622222
BP 50142 - 60307 Senlis cédex
Allemagne
1 + 49(0)9113232600
Italie
① 0434 1678 47 053 (uniquement à partir de l'Italie)
Royaume-Uni
08705 950 950 (uniquement à partir du Royaume Uni)
Suède
① +46 (0)20787750
En cas d'intervention sur votre apparéil, exigez du Service ÀpRES VENTE les Pièces de Rechange certifiées Constructeur.

Caractéristiques techniques
Puissance des plaques électriques
| Plaque arrière (standard) | Ø 180 | 1500 W |
| Plaque avant (rapide) | Ø 145 | 1500 W |
| Puisance totale | 3000 W | |
| Alimentation | 230 V – |
Dimensions de l'ouverture pour l'encastrement dans le plan de travail (voir chapitre "Encastrement")
Largeur: 270 mm
Profondeur: 490 mm
Dimensions de l'appareil
Largeur: 290 mm
Profondeur: 510 mm
Cet apparéil est conforme aux Directives Communitaires CEE suivantes:
- 73/23 - 90/683 (Basse Tension);
- 90/396 (Appareil Gaz)
- 89/336 (Compatibilité Electromagnétique);
-93/68 (Directives Générales);
Branchementélectrique

Reliez l'appareil à la terre, conformément aux prescriptions de la norme NF.C 15100 et aux règlements en vigueur.
Avant d'effectuer le branchement s'assurer que:
- le disjoncteur et l'installation électrique peuvent supporter la charge de l'appareil (voir la plaque signalétique);
- l'installation d'alimentation soit équipée d'une prise de terre efficace selon les normes en vigueur;
- la prise ou l'interrupteur principal soit facilement accessibles.
Les tables de cuisson sont équipées d'un cable d'alimentation et sont aptes au fonctionnement en 230 V - 50 Hz.
Appliquez au cable une fiche normalisée, pour la charge indiquée sur la plaque signalétique. Branchez la fiche à une prise ajuste.
Si l'on désire un branchement direct au réseau (branchement fixe) il faut intercaler entre l'appareil et le réseau un dispositif possédant des contacts à coupure omnipolaire ayant une distance d'ouverture des contacts d'au moins 3 mm.
Le cable de terre jaune-vert ne doit pas etre interrompu par l'interrupteur et doit etre relié à la borne du conducteur de protection.
Le cable de phase de couleur marron (provenant de la borne “L” de la planchette à bornes) doit toujours être relié à la phase du réseau d'alimentation.
Le cable d'alimentation doit être placé de telle manière qu'il ne touche aucune partie chaude.
Après le branchement essayez les éléments chauffants en les faisant fonctionner pendant 3 minutes environ.
Notre responsabilité ne saurait etre engagée en cas d'accidents ou d'incidents provoqués par une mise à la terre inexistante ou defectueuse.
Remplacement du cable d'alimentation
Le cable d'alimentation ne doit être remplaced que par un professionnel qualifié; utilisez un cable de type H05 V2V2 d'une section adaptée à la charge.
En outre, il faut que le cable de terre jaune-vert soit plus long d'environ 2 cm que les cables de phase et neutre.

Le cable d'alimentation sera positionné de façon à ce qu'enaucun point sa température n'excède 90^
Pour ouvrir la trappe d'accès à la barrette secteur et avoir accès aux bornes de raccordement, procéder comme décrit ci-dessous:
- insérez l'extrémité d'un tournevis dans les saillies situées sur la côte de l'appareil (fig.2);
- exercez une faible pression et faites levier vers le haut.
Raccordement électrique à la plaque à bornes
La table est équipée d'une plaque à bornes à 3 pôles dont les conducteurs sont prévus pour fonctionner en 230V monophasé (Fig. 1)
Le conducteur de terre sera raccordé à la borne repérée par le signe 1等 .
Après le raccordement du cable à la plaques à bornes, fixez-le au moyen de serre-cable.


Fig. 2
Encastrement

Cette table de cuisson a ete conque pour encastrement dans les meubles de cuisine ayant une profondeur allant de 550 à 600 mm et les caractéristiques nécessaires.
Les tables de cuisson peuvent être montées dans un meuble ayant une ouverture pour l'encastrement des dimensions indiqués à les Fig. 3.

La fixation de la table au meuble doit être effectuee de la façon suivante:
appliquez le joint d'etanchéité sous la table de cuisson. Les deux extrémités du joint doivent se toucher (et non se chevaucher);
- placez de préférence les extrémités du joint à l'arrête de la table;
- placez la table dans la niche d'encastrement en la centrant correctement;
- fixez la table au meuble à l'aide des pattes de serrage prévues à cet effet (fig. 4).

L'encastrement de la table de cuisson au dessus d'un lave-vaisse, d'un réfrigérateur, d'un congélateur, d'un four, ou d'un lave linge est déconseille lorsque le constructeur de ces apparèils electroménagers ne l'a pas formellement prévu.

Fig. 3

a) Joint d'étanchéité
Possibilities d'encastrement
Dans un meuble de cuisine avec porte
Le meuble destiné à receivevoir la table de cuisson devra être fabriqué de façon à ce que le contact avec les parties métalliques chaudes soit évité.
Reportez you à la Fig. 5.
La tablette sous la table de cuisson doit être aisément démontable pour avoir facilement accès à l'appareil en cas de réparation.
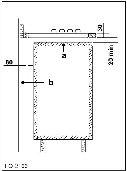
Au-dessus d'un four
Pour les cotes d'encastrement reportez vous aux Fig. 6 et 9. Prévoir deux supports pour l'aération. Les figures 7 et 8 illustrent deux solutions possibles.
Les raccordements électriques du four et de la table doivent rester accessibles et être effectuels séparément.
Les meubles suspendus ou les hottes doivent etre installés a une hauteur minimale de 650~mm au-dessus de la table de cuisson (Figure 10).

Fig. 5
Fig. 6

a) Tablette amovable
b) Espace évientuel pour les raccordements

Fig. 7

Fig. 8

Fig. 9

Fig. 10
Notice Facile