DGD4635 - Four à vapeur MIELE - Notice d'utilisation et mode d'emploi gratuit
Retrouvez gratuitement la notice de l'appareil DGD4635 MIELE au format PDF.
| Type de produit | Four vapeur |
| Marque | Miele |
| Modèle | DGD4635 |
| Avantages culinaires | Cuisson douce et homogène grâce à la vapeur |
| Économie d'énergie | Consommation réduite grâce à une technologie innovante |
| Entretien facile | Fonctionnalités d'auto-nettoyage et entretien simplifié |
| Instructions de sécurité | Utilisation sécurisée avec verrous et protections thermiques |
| Dimensions et design | Design moderne et compact adapté à toutes les cuisines |
| Garantie et service après-vente | Assistance client et garanties constructeur disponibles |
FOIRE AUX QUESTIONS - DGD4635 MIELE
Questions des utilisateurs sur DGD4635 MIELE
0 question sur cet appareil. Repondez a celles que vous connaissez ou posez la votre.
Poser une nouvelle question sur cet appareil
Téléchargez la notice de votre Four à vapeur au format PDF gratuitement ! Retrouvez votre notice DGD4635 - MIELE et reprennez votre appareil électronique en main. Sur cette page sont publiés tous les documents nécessaires à l'utilisation de votre appareil DGD4635 de la marque MIELE.
MODE D'EMPLOI DGD4635 MIELE
Mode d'emploi et instructions de montage
Four vapeur haute pression

Lisez impérativement ce mode d'emploi et ses instructions de montage avant d'installer et de mettre en service votre appareil. Vous assurerez ainsi votre protection et éviterez d'endommager votre appareil.
Table des matières
Consignes de sécurité et mises en garde 5
Votre contribution à la protection de l'environnement 14
Vue d'ensemble 15
Four vapeur 15
Accessoires fournis 16
Eléments de commande 17
Description du fonctionnement 18
Température 18
Temps de cuisson 18
Bruits 18
Phase de préchauffage 18
Phase de cuisson 18
Phase de refroidissement 18
Tablette 18
Première mise en service 19
Réglage de la durée de l'eau 19
Adapter la température d'ébullition 19
Ouverture de porte 19
Fermer la porte 20
Premier nettoyage du four vapeur 21
Modes de fonctionnement 22
Utilisation 23
Principe de fonctionnement 23
Changer de mode de cuisson 25
Modifier la température / le temps de cuisson 25
Arrêt de la cuisson 26
Poursuivre la cuisson 26
Dispositifs de sécurité 27
Sécurité anti-surpression / Vanne de sécurité 27
Verrouillage / Sécurité enfants 30
Avantages de la cuisson vapeur 31
Vaisselle adaptée 31
Plats de cuisson 31
Votre vaisselle 31
Niveau de cuisson 31 Surgelés 31 Température 32 Temps de cuisson 32 Cuisson avec liquides 32 Recettes maison 32
Cuisson vapeur 33
Légumes 33 Viandes 36 Sausisses 38 Poissons 38 Crustacés 41 Coquillages 42 Riz 43 Pates 44 Dumplings 45 Céréales 46 Légumes secs 47 Œufs 49 Fruits 50 Cuisson d'un menu 51
Fonctions utiles 53
Réchauffage 53 Décongélation 55 Stérilisation des conserves 58 Extraction de jus 61 Préparer des yaourts maison 63 Faire lever la pâte 64 Faire fondre de la gélatine 65 Faire fondre du chocolat 65 Émoncer 66 Conserver des pommes 66 Blanchir 67 Faire suer des oignons 67 Faire suer le lard 68 Stériliser de la vaisselle 68 Préparer des serviettes chaudes 69 Fluidifier le miel 69 Préparer une royale 69
Nettoyage et entretien 72
Conseils de nettoyage et d'entretien 72
Façade du four vapeur 73
Enceinte et tablette extractible 74
Accessoires 74
Supports de gradins 75
Joint de porte / Soupape de suture 76
Buse 77
Détartrage 78
Accessoires en option 86
Plats de cuisson 86
Détérgeants et produits d'entretien 88
Autres 88
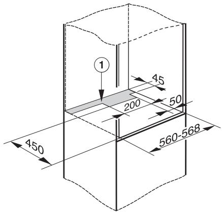
Cotes d'encastrement 92
DGD 4635 (niche d'encastrement de 380 mm) 92
DGD 4635 (niche d'encastrement de 450 mm) 93
DGD 6635 (niche d'encastrement de 380 mm) 94
DGD 6605 / DGD 6635 (niche d'encastrement de 450 mm) 95
Raccordements à l'eau 97
Remarques sur l'arrivée d'eau 97
Raccordement à l'arrivée d'eau 98
Conseils de vidange 99
Raccordement à la vidange 99
Raccordement électrique 100
Cable d'alimentation électrique 101
Schéma électrique 102
Service après-vente, plaque signalétique, garantie 103
Ce four vapeur haute pression répond aux réglementations de sécurité en vigueur. Toutefois, une utilisation non conforme est susceptible d'entraîner des dommages corporels et matériels.
Lisez attentivement ce document avant de mettre votre four vapeur haute pression en service. Il contient des consignes importantes relatives au montage, à la sécurité, à l'utilisation et à l'entretien de votre appareil.
Miele ne peut être tenu pour responsable des dommages liés au non-respect des présentes consignes de sécurité.
Veuillez conserver ce document à disposition et le remettre au futur propriétaire en cas de cession de votre appareil !
Utilisation conforme
Ce four vapeur est destiné à un usage domestique et à des conditions d'utilisation semblables au cadre domestique. Ce four vapeur ne doit pas être utilisé en extérieur. Utilisez ce four vapeur dans un cadre domestique exclusivement, conformément aux modes d'utilisation mentionnés dans ce document.
Tout autre contexte d'utilisation est à proscrire.
Les personnes qui, en raison de déficiences physiques, sensorielles ou mentales, de leur manque d'expérience ou de leur ignorance, ne sont pas aptes à utiliser cet appareil en toute sécurité doivent impérativement être surveillées pendant qu'elles l'utilisent.
Un usage sans surveillance n'est autorisé que s'il leur a été préalablement expliqué comment utiliser cet appareil sans danger. Vérifiez que ces personnes ont compris les risques encourus en cas de mauvaise manipulation.
Précautions à prendre avec les enfants
Utilisez la sécurité enfants pour prévenir toute mise en service involontaire du four vapeur. Quand vous utilisez cet appareil en présence d'enfants, activez le dispositif de verrouillage pour les empêcher de modifier les réglages effectués. Tenez les enfants de moins de huit ans éloignés du four vapeur, à moins qu'ils ne soient sous étroite surveillance. Les enfants de huit ans et plus ne sont autorisés à utiliser le four vapeur sans la présence d'un adulte que s'il leur a été expliqué comment l'utiliser sans danger. Vérifiez qu'ils ont compris les risques encourus en cas de mauvaise manipulation. Les enfants ne sont pas autorisés à nettoyer le four vapeur sans surveillance. Ne laissez pas les enfants sans surveillance à proximité d'un four vapeur. Ne les laissez pas jouer avec le four vapeur. Risque d'asphyxie ! Les enfants se mettent en danger en s'enveloppant dans les matériaux d'emballage (film plastique, par exemple) ou en glissant leur tête à l'intérieur. Tenez les matériaux d'emballage hors de portée des enfants. Risque de brûlures ! La peau des enfants est plus sensible aux températures élevées que celle des adultes. Installez ce four vapeur assez haut pour que les jeunes enfants ne se brûlent pas en touchant la porte. La zone des charnières de la porte constitue un risque de blessure, notamment pour les enfants. Tenez-les à distance de l'appareil.
Sécurité technique
Des travaux d'installation, d'entretien ou de réparation non conformes peuvent entraîner de graves dangers pour l'utilisateur. Ces interventions doivent être exécutées exclusivement par des professionnels/agréés par Miele. N'utilisez jamais votre four vapeur si ce dernier est endommagé : il représente un danger potentiel. Vérifiez que votre four vapeur ne présente aucun dommage apparent avant de l'utiliser. La fiabilité et la sécurité de fonctionnement du four vapeur ne sont garanties qu'en cas de raccordement au réseau public d'électricité. Seul un raccordement à une prise de terre conforme garantit un fonctionnement du four vapeur en toute sécurité. Attention : cette règle de sécurité élémentaire doit absolument être respectée ! En cas de doute, faites vérifier votre installation électrique par un électricien. Les données concernant la tension et la fréquence électriques de l'appareil qui figurent sur la plaque signalétique de ce dernier doivent être identiques à celles du réseau électrique. Pour éviter d'endommager votre four vapeur, comparez ces informations avant sa première mise en service et contactez un électricien en cas de doute. N'utilisez ni rallonges ni multiprises pour brancher votre four vapeur : ces accessoires représentent un danger potentiel (risque d'incendie). Pour un fonctionnement en toute sécurité, n'utilisez votre four vapeur qu'une fois encastré. Ce four vapeur ne doit pas être utilisé sur des engins en mouvement.
N'ouvre jamais la carrosserie du four vapeur !
N'essayez jamais de toucher aux raccordements sous tension ou de modifier les composants électriques et mécaniques de votre appareil. Cela vous mettrait en danger et le fonctionnement de votre four vapeur pourrait s'en trouver perturbé.
Seul un service après-vente homologué par Miele est habilité à réparer ce four vapeur. Un non-respect de cette condition entraîne une exclusion de la garantie. Les pièces de rechange d'origine sont les seules dont Miele garantit qu'elles remplissent les conditions de sécurité. Ne remplacez les pièces défectueuses que par des pièces détachées d'origine. Si le câble d'alimentation est endommagé, remplacez-le par un cordon spécifique de type H 05 VV-F (isolation PVC), disponible sur demande auprès de votre revendeur ou du SAV Miele. Voir chapitre "Raccordement électrique". Débranchez votre four vapeur avant toute intervention sur ce dernier (installation, maintenance ou réparation). Pour vous assurer que l'appareil est bien débranché, vous pouvez au besoin :
- déclencher les fusibles
- dévisser complètement les fusibles à filetage de l'installation électrique (sauf France) ou
- Le cas échéant, débranchez la prise de la fiche. Ne tirez pas sur le cordon d'alimentation ! Maintenez bien la fiche puis tirez !
Seul un professionnel est autorisé à raccorder cet appareil au réseau public de distribution de l'eau. Le fabricant ne saurait être tenu pour responsable des dommages survenus suite à un encastrement/raccordement non conforme. Le four vapeur doit être raccordé à l'eau froide uniquement. Le robinet d'arrivée d'eau doit rester accessible une fois le four vapeur encastré.
Consignes de sécurité et mises en garde
Avant de raccorder l'appareil, vérifiez que les tuyaux d'arrivée et de vidange ne présentent aucun dommage. Le système Aquasécurité intégré à votre appareil le protège contre un dégât des eaux, sous réserve toutefois que les conditions suivantes soient remplies :
- l'installation de l'arrivée d'eau et de la vidange sont conformes,
- la maintenance du four vapeur et le remplacement des pièces défectueuses sont bien effectués,
- le robinet d'arrivée d'eau a été fermé en cas d'absence prolongée (ex. : vacances).
Utilisation conforme
Risque de brûlures ! Le four vapeur devient très chaud lorsqu'il fonctionne. La vapeur, les aliments, l'enceinte ou les accessoires de l'appareil sont donc susceptibles de vous brûler.
Utilisez toujours des maniques thermo-protectrices pour enfourner, sortir ou manipuler les plats chauds dans l'enceinte et faites très attention à ne pas renverser le contenu des plats que vous enfournez ou retirez du four vapeur.
L'appareil en marche chauffe enormément et reste encore brûlant un certain temps une fois arrêté. Le cas échéant, ne touchez la porte qu'au niveau de la poignée ou du bouton d'ouverture de porte.
La suppression générée lors de la stérilisation ou le réchauffage de conserves hermétiquement fermées risque d’entraîner leur explosion.
N'utilisez jamais le four vapeur pour stériliser ou réchauffer des conserves.
La vaisse plastique qui ne résiste pas à la chaleur/vapeur risque de fondre une fois soumise à des températures élevées et peut endommager votre four vapeur.
N'utilisez qu'une vaisse plastique résistant à des températures allant jusqu'à 100°C et à la vapeur et respectez les instructions du fabricant de vaisse.
Ne laissez pas d'aliments ou de plats cuisinés dans l'enceinte du four vapeur : en se desséchant, ils risquent d'entraîner une corrosion de l'appareil. N'utilisez aucun ustensile susceptible de rouiller pour cuisiner avec votre four vapeur.
Consignes de sécurité et mises en garde
Risque de brûlures! N'ouvre jamais la porte de l'appareil en marche! Ouvrez uniquement la porte si: - la phase de refroidissement est terminée, - le signal sonore est éteint, - le symbole clignote dans la zone d'affichage de l'heure,
Si vous tentez d'ouvrir la porte prématurément, un signal sonore se fait entendre et "door" apparaît dans la zone d'affichage de l'heure.
Risque de blessure! Ne dépassez jamais les 95°C pendant la stérilisation, voire 90°C si le four vapeur est installé à plus de 1000 mètres d'altitude, faute de quoi les récipients risquent d'éclater. Procédez au détartrage (cf. chapitre "Nettoyage et entretien - Détartrage") sur four froid uniquement, faute de quoi des vapeurs toxiques risquent de se propager.
Des restes d'aliments risquent d'obstruer la pompe et la vidange. Vérifiez que le tamis est installé avant d'utiliser votre four vapeur. Le four vapeur est capable de détecter et de résoudre certaines anomalies, signalées par les messages d'erreur F06 et F95. Le cas échéant, la porte de l'appareil reste bloquée jusqu'à ce que le message d'erreur se mette à clignoter. S'il ne clignote pas, cela signifie que l'anomalie n'a pas encore été résolue. Pour plus d'informations, consultez le chapitre "En cas d'anomalie". Fours vapeur avec porte : laissez la porte ouverte tant que le four fonctionne.
Nettoyage et entretien
N'utilisez jamais de nettoyeur vapeur pour nettoyer votre appareil : la vapeur qui s'en dégage pourrait se déposer sur les éléments conducteurs d'électricité de l'appareil et provoquer un court-circuit. Les supports de gradins peuvent être enlevés pour le nettoyage (cf. chapitre "Nettoyage et entretien").
Remettez-les correctement en place et ne faites jamais fonctionner le four vapeur sans les supports de gradins.
Nos emballages
Nos emballages protègent votre appareil des dommages pouvant survenir pendant le transport. Nous les sélectionnons en fonction de critères écologiques permettant d'en faciliter le recyclage.
En participant au recyclage de vos emballages, vous contribuez à économiser les matières premières et à réduire le volume des déchets. Notre revendeur reprend vos emballages.
Votre ancien appareil
La plupart du temps, les anciens appareils électriques et électroniques contiennent encore des matériaux précieux. Cependant, ils contiennent aussi des substances toxiques nécessaires au bon fonctionnement et à la sécurité des appareils. En déposant ces appareils usagés avec vos ordures ménagères ou en les manipulant de manière inadéquate, vous risquez de nuire à votre santé et à l'environnement. N'éliminez donc en aucun cas leur ancien appareil avec les ordures ménagères.

Faites appel au service d'enlèvement mis en place par votre commune, déposez votre ancien appareil dans un point de collecte ou renseignez-vous auprès de votre revendeur.
Afin de prévenir tout risque d'accident, veuillez garder votre ancien appareil hors de portée des enfants jusqu'à son enlèvement.
Four vapeur
① Bandeau de commande ② Touche Marche/Arrêt ③ Cache de la protection anti-surchauffe ④ Poignée ⑤ Déverrouillage de porte ⑥ Tablette ⑦ Porte de l'appareil ⑧ Bouton de porte ⑨ Orifice de remplissage du produit détartrant 10 Porte relevable (selon modèle)

① Thermosonde Orifice d'entrée de la vapeur 13 Plaque de protection de la buse Supports de gradins 15 Interrupteur de contact de porte 16 Tamis de fond
Accessoires fournis
Pour commander les accessoires de série ou en option, veuillez vous reporter au chapitre "Accessoires en option".
DGGL 1
2 plats perforés
325 × 175 × 40 mm( I × P × H)
DGG 2
Plat non perforé
325 × 175 × 40 mm( I × P × H)
Plateau de support
Pour poser votre propre vaisselle
Disques en silicone
Dispositif de sécurité contre la suppression

Carte-réponse du détartrant spécial miele
Afin d'éviter tout dommage sur le four vapeur haute pression, utilisez exclusivement un détartrant spécial pour ce type d'appareils. Pour recevoir le premier bidon (1000 ml) gratuitement, retournez-nous la carte-résponse ci-jointe.
Livre de cuisine "cuisson vapeur
Pour une cuisine vapeur pleine de saveurs
Les métrès recettes conçues par notre équipe de cuisiniers Miele
Affichage de mode de cuisson/ température

| Symbole | Signification |
| ↓↓ | Cuisson vapeur haute pression |
| ↓↓↓ | Cuisson vapeur |
| ↓↓↓↓ | Réchauffage |
| *↓ | Décongélation |
| ↓↑ | Verrouillage automatique |
| ← | Détartrage |
| ↔ | Réglages |
| Touches(s) | Fonction |
| - | Régler la température |
| + | |
| ▲ | Sélectionner un mode de cuisson |
Affichage de la durée

| Symbole | Signification |
| © | Temps de cuisson |
| Start | Démarrer un cycle de cuisson |
| Stop | Arrêt de la cuisson |
| Touches(s) | Fonction |
| - + | Régler le temps de cis-son |
| Start | Démarrer un cycle de cisisson |
| Stop | Arrêt de la cisisson |
Température
À chaque mode de cuisson correspond une température programmée. Vous pouvez la modifier exceptionnellement ou durablement (cf. chapitre "Réglages").
Vous pouvez modifier la température préenregistrée par paliers de 5°C. Si vous désirez procéder par paliers de 1°C, vous devez modifier le réglage usine au préalable (cf. chapitre "Réglages").
Temps de cuisson
Vou pouvez régler un temps de cuisson allant d'1 minute (0:0) à 9 heures et 59 minutes (9:59).
Bruit
Il se peut que vous entendiez un bruit sourd au moment de la mise en marche ou de l'arrêt de votre appareil ou pendant qu'il fonctionne.
Ce n'est ni un dysfonctionnement ni une anomalie. Il s'agit en fait du bruit du pompage de l'eau.
Phase de préchauffage
Pendant la phase de chauffage, l'enceinte du four vapeur atteint progressivement la température de cuisson souhaitée. La montée en température de l'enceinte s'affiche en temps réel sur l'écran.
La durée de montée en température de l'enceinte dépend du poids et de la température des aliments. En général, la phase de chauffage dure 5 minutes environ mais elle sera plus longue si vous yentez des aliments sortant du réfrigérateur ou du congélateur.
Phase de cuisson
La phase de cuisson commence une fois que l'enceinte a atteint la température souhaitée. Le temps résiduel ou restant s'affiche tout au long du processus de cuisson.
Phase de refroidissement
Le temps de cuisson s'achève par une phase de refroidissement.
Une barre de défilement apparait pendant la phase de refroidissement dans la zone d'affichage du mode de cuisson/température. La phase de refroidissement dure environ 1 minute. Si la quantité d'aliments est importante, la phase de refroidissement peut être plus longue.
Tablette
Sortez la tablette amovible avant d'ouvrir la porte du four. Vous pourrez y déposer vos plats et le cas échéant y recueillir l'eau chaude qui s'écoule.
Réglage de la durée de l'eau
La durée de l'eau du four vapeur est réglée par défaut sur "eau dure". Pour un fonctionnement optimal de votre four vapeur et un détartrage dans les temps, vous devez renseigner les données locales de votre commune. Plus l'eau est dure, plus fréquent sera le détartrage de votre appareil.
Comparez le réglage de la durée de l'eau de votre appareil et modifiez-le si nécessaire (cf. chapitre "Réglages").
Adapter la température d'ébullition
Le point d'ébullition de l'eau varie selon l'altitude du lieu d'installation.
Le four vapeur est paramétré à l'usine pour une altitude inférieure à 1000 m. Si l'appareil est installé à une altitude supérieure à 1000 m au-dessus du niveau de la mer, vous devez modifier le réglage d'usine (cf. chapitre "Réglages").
Ouverture de porte

Avec le pouce de la main droite, faites coulisser le déverrouillage de porte vers l'avant et tournez la poignée vers le haut.
Quand la poignée est en position horizontale, la porte de l'appareil est déverrouillée et peut être ouverte.
Fermer la porte

Positionnez la poignée à l'horizontal pour que les encoches de la porte et de l'enceinte du four s'emboitent parfaitement (cf. flèches).

Appuyez fermement sur le bouton de porte d'une main. - De l'autre, tirez la poignée vers le bas jusqu'à ce que vous entendiez un clic tout en poussant le dispositif de déverrouillage de porte vers l'avant avec votre pouce. Ainsi vous chassez l'air de l'enceinte et fermez la porte plus facilement.
Le four vapeur n'est prêt à fonctionner que si sa porte est complètement fermée.
Veuillez coller la plaque signalétique jointe aux documents accompagnant votre appareil à l'emplacement prévu à cet effet sous "Service après-vente, Plaque signalétique, Garantie". Enlevez les évventuels autocollants et films de protection.
Enceinte, accessoires
Sortez tous les accessoires de l’enceinte. Nettoyez les accessoires à la main ou au lave-vaisselle.
Avant d’être livré, le four vapeur a été traité avec un produit d’entretien.
Pour enlever la fine pellicule de produit qui recouvre l'enceinte, nettoyez-la avec une éponge propre, un peu de liquide vaisselle et de l'eau chaude. Pour rincer les conduits d'eau, faites ensuite fonctionner l'appareil en programme Cuisson haute pression 120°C pendant 10 minutes en suivant les instructions du chapitre "Utilisation".
Risque de brûlures!
N'ouvre jamais la porte du four vapeur pendant qu'il fonctionne ! Vous pourriez vous bruler
Si vous essayez d'ouvrir la porte pendant que l'appareil fonctionne ou avant la fin de la phase de refroidissement, une alarme sonore retentit et le message door apparaît aussi dans la zone d'affichage de la durée.
Modes de fonctionnement
| Mode de cuisson | Température préprogrammée | Plage de températures | |
| à l'usine | modifiée | ||
| Cuisson vapeur haute-pressionCuisson d'aliments peu sensibles à la pression | 120 °C | 105–120 °C | 101–120 °C |
| Cuisson vapeurCuisson universelle, stérisation, extraction de jus, fonctions utiles | 100 °C | 40 – 100 °C | 40 – 100 °C |
| RéchauffageRéchauffer des plats cuisinés en douceur | 95 °C | 95 °C | - |
| DécongélationDécongeler lentement des produits surgelés | 60 °C | 50–60 °C | 50–60 °C |
- Vous pouvez modifier la température programmée par paliers de 5°C. Si vous préférez procéder par paliers de 1°C, vous devez modifier le réglage d'usine (cf. chapitre "Réglages").
Avant chaque cycle de cuisson, vérifie que le tamis de fond est bien installé : les résidus alimentaires peuvent boucher la vidange.

Risque de blessure!
N'ouvrez jamais la porte de l'appareil en cours de cuisson. Vous risquez de vous brûler! Soyez particulièrement attentifs aux enfants!
Pour ouvrir la porte de l'appareil, attendez:
- que la phase de refroidissement soit terminée
- la fin du signal sonore
- que le symbole se mette à clignoter dans la zone d'affichage de l'heure.
Si vous tentez malgré tout d'ouvrir la porte avant la fin d'un cycle de cuisson, une alarme retentit et dar apparait aussiitz dans la zone d'affichage de l'heure.
Sélectionner un mode de cuisson
Refermez la porte de l'appareil. ■ Enclenchez l'appareil avec la touche Marche/Arrêt.
L'affichage du mode de cuisson et de la température indique :

Au bout de quelques secondes, l'affichage passe automatiquement en mode cuisson vapeur haute pression

Si vous préférez un autre mode de cuisson, appuyez sur la touche ▶ jusqu'à ce que le mode de cuisson de votre choix s'affiche à l'écran (exemple : Cuisson vapeur
Régler la température

Sélectionnez la température souhaitée en utilisant les touches + ou -.
Régler le temps de cuisson
Dans la zone d'affichage du temps de cuisson, trois zéros et le symbole s'affichent.

Réglez le temps de cuisson à l'aide des touches + ou - dans la zone d'affichage de la durée (ex. : 20 minutes).
Démarrer un cycle de cuisson

Appuyez sur la touche Start/Stop.
"Start" s'affiche à l'écran, le symbole ne clignote plus et les deux points clignotent.
Si la porte de l'appareil n'a pas été correctement fermée, une alarme retentit après le démar rage et le message door apparait dans la zone d'affiche du temps de cuisson.
Une fois la cuisson terminée
Le temps de cuisson s'achève par une phase de refroidissement.

"Stop" apparait dans la zone d'affichage du temps de cuisson, le symbole et "Start" s'éteignent et les deux points arrêtent de clignoter.
Une barre de défilement apparaît pendant la phase de refroidissement dans la zone d'affichage du mode de cuisson et de la température.

Pour ouvrir la porte de l'appareil et sortir vos plats, attendez l'émission de plusieurs signaux sonores, l'apparition de 3 zéros dans la zone d'affichage du temps de cuisson et que le symbole se mette à clignoter. - Arrêtez le four vapeur.
Une fois l'appareil arrêté, la vidange démarre. Trois barres horizontales --- apparaissent dans la zone d'affichage du mode d'utilisation et de la température.
Le symbole ^ C s'affiche jusqu'à ce que la température de l'enceinte passe sous les 45°C. Le four n'est réellement éteint qu'après la disparition du symbole ^ C.
Risque de brûlures! Les parois de l'enceinte, les accessoires ou un plat de cuisson que l'on renverse sont susceptibles de vous brûler. Enfilez toujours des maniques avant de sortir un plat du four!
Aprèsutilisation
Dès que °C a disparu de la zone d'affichage du mode de cuisson / de la température, nettoyez l'enceinte avec de l'eau et un peu de liquide vaisselle ou avec du vinaigre blanc puis essuyez soignement l'enceinte et l'intérieur de la porte. ■ Pensez à fermer le robinet d'arrivée d'eau afin de prévenir un événementiel dégât des eaux. L'enceinte doit être complètement sèche quand vous refermez la porte du four vapeur.
Changer de mode de cuisson
Appuyez sur la touche Start/Stop. - Attendez que la phase de refroidissement soit terminée. ■ Sélectionnez le mode de cuisson souhaité et procédez comme décrit précédemment.
Modifier la température / le temps de cuisson
Pendant la cuisson, vous pouvez à tout moment modifier la température et le temps de cuisson.
Entrez la valeur souhaitée à l'aide de la touche + ou -.
Arrêt de la cuisson
Vous pouvez interrompre la cuisson à tout moment, par exemple pour ajouter d'autres aliments dans l'enceinte.
Risque de brûlures!
Risque de brûlures! Les parois de l'enceinte, les accessoires ou un plat de cuisson que l'on renverse sont susceptibles de vous brûler.
Enfilez toujours des maniques avant de sortir un plat du four

Appuyez sur la touche Start/Stop.
"Stop" s'affiche dans la zone d'affichage de la durée.
La phase de refroidissement démarre.

Sortez la tablette extractible. ■ Attendez jusqu'à ce que vous entendiez plusieurs signaux sonores et que le symbole se mette à clignoter dans la zone d'affichage de la durée. Vous pouvez ensuite ouvrir la porte.
Poursuivre la cuisson
Refermez la porte. Repoussez la tablette extractible. Appuyez sur la touche Start/Stop.
La montée en température redémarre : la température de l'enceinte en train d'augmenter s'affiche en temps réel.
En temps normal, la régulation de la pression et de la température à l'intérieur de l'enceinte se fait automatiquement. Ce four vapeur est équipé d'une sécurité anti-surpression, d'une soupape de sûreté et d'une protection antisurchauffe, qui s'enclenchent en cas de problème, notamment en cas de pression trop élevée.
La vanne de sécurité et le dispositif de sécurité contre la surpression doivent être remplacés tous les 1 à 2 ans, selon la fréquence d'utilisation du four vapeur.
Il est interdit d'apporter des modifications aux dispositifs de sécurité.
Sécurité anti-surpression / vanne de sécurité
La vanne de sécurité et le dispositif de sécurité contre la surpression peuvent se déclencher indépendamment les uns des autres, simultanément ou en décalé.

S'ils se déclenchent, la vapeur s'échappe par le dessus et le dessous de la porte.
Appuyez sur la touche Start/Stop.
- Attendez que la phase de refroidissement soit terminée (cf. chapitre "Utilisation, "Interrompue la cuisson").
Ouvrez la porte.

- Commencez par vérifier si le disque en silicone de la sécurité anti-surpression a été expulsé. Le cas échéant, insérez un nouveau disque en silicone à l'intérieur de la porte (cf. chapitres "Accessoires fournis"), dans l'orifice du dispositif de sécurité contre la surpression.
Vous pouvez de nouveau vous servir du four vapeur.
Si le dispositif de sécurité contre la surpression ne s'est pas déclenché, retirez la vanne de sécurité qui se trouve dans la contreporte.

Renoncez à la goupille métallique de la vanne de sécurité. - Remettez la vanne de sécurité en place. Vérifiez que le joint en caoutchouc est inséré correctement.
Vous pouvez de nouveau vous servir du four vapeur.
Si la soupape de sécurité ou le dispositif de sécurité contre la surpression se déclenchent de nouveau, appelez le service après-vente.
La protection anti-surchauffe se trouve juste sous la touche "Start/Stop". Elle se déclenche si la température dans le générateur de vapeur est trop élevée. Le cas échéant, le chauffage de l'appareil s'arrête automatiquement, le code erreur F27 apparaît dans la zone d'affichage du mode de cuisson et de la température et la phase de refroidissement s'amorce.
Si au bout d'1 minute cette dernière est terminée, plusieurs signaux sonores se font entendre. Le code erreur F27 clignote encore quelques instants à l'écran puis ce sont 3 tirets qui s'affichent : - - -. Au bout d'un moment, F20 apparaît dans la zone d'affichage.
- Arrêtez le four vapeur puis ouvrez la porte. Laissez refroidir le four vapeur pendant 30 minutes environ.
Une fois le four vapeur refroidi, F20 disparaît de l'écran.

- Otez le cache du dispositif de sécurité contre la surchauffe (voir flèche) puis appuyez sur le dispositif de protection avec un objet fin et solide, par exemple un tournevis. Remettez le cache en place.
Vous pouvez de nouveau vous servir du four vapeur.
Si la protection anti-surchauffe s'enclenche de nouveau alors que toutes les causes connues ont été vérifiées, contactez le service après-vente.
Verrouillage / sécurité enfants
Le four vapeur est équipé d'un dispositif de verrouillage qui prévient contre toute utilisation accidentelle ou modification involontaire des réglages en cours de cuisson.
Si vous désirez activer le dispositif de verrouillage / la sécurité enfants, vous nevez procéder au réglage (cf. chapitre "Réglages") une seule fois. Si vous désirez activer le dispositif de verrouillage / la sécurité enfants, vous nevez procéder au réglage (cf. chapitre "Réglages") une seule fois. Si vous désirez activer le dispositif de verrouillage / la sécurité enfants, vous devez procéder au réglage (cf. chapitre "Réglages") une seule fois.
La sécurité enfants est activée sur l'appareil prêt à fonctionner. Une fois cette fonction activée, le four vapeur peut être allumé ou éteint mais on ne peut plus le mettre en marche.
Si le verrouillage du four vapeur est activé pendant qu'il fonctionne, seules certaines fonctions sont accessibles :
- On peut baisser la température programmée mais pas l'augmenter.
- Le temps de cuisson programme peut uniquement être diminué.
- Le four vapeur peut être arrêté puis réenclenché mais il est impossible de choisir un mode de cuisson.
Activer

Appuyez sur la touche correspondant au mode de cuisson jusqu'à ce que 3 barres et le symbole apparaissent dans la zone d'affichage du mode de cuisson et de la température.

Appuyez sur la touche température+.
Le symbole se met à clignoter et - s'affiche dans la zone d'affichage du mode de cuisson et de la température.
Si vous voulez procéder à un réglage une fois le verrouillage/la sécurité enfants activé, - apparait au niveau de l'affichage du mode de cuisson et de la température.
Désactiver
Appuyez sur la touche du mode de cuisson plusieurs fois jusqu'à ce que 0 - 0 et l apparaisSENT à l'écran. Appuyez sur la touche de température -.
Le verrouillage et la sécurité enfants sont désactivés.
Au chapitre "A savoir", vous trouvez des conseils utiles pour la cuisson vapeur de la plupart de vos préparations. Les cas particuliers (aliments et/ou mode de cuisson) seront signalés dans les chapitres correspondants.
Avantages de la cuisson vapeur
Les aliments cuits à la vapeur n'étaient pas plongés dans l'eau, ils conservant la quasi-totalité de leurs vitamines et de leurs sels minéraux.
Le goût des aliments cuits à la vapeur est mieux réservé qu'avec une cuisson ordinaire. Aussi conseillons-nous de ne pas ou de peu saler les aliments après cuisson. Quant à la couleur des aliments vapeur après cuisson, elle garde toute sa fraîcheur.
Plats de cuisson
Le four vapeur est livré avec du matériel de cuisson en inox. Par la suite vous pourrez commander des plats de cuisson, proposés en différentes tailles, perforés ou non (cf. chapitre "Accessoires en option"). Puis désirez celui qui convient le mieux à la recette que vous souhaitez préparer.
Utilisez de préférence des plats perforés pour une cuisson homogène grâce à des aliments enrobés de vapeur.
Votre vaisselle
Vous pouvez utiliser votre propre vaisselle si :
- Elle résiste à la vapeur et à des températures allant jusqu'à 100°C. Si vous souhaitez utiliser de la vaisselle plastique, renseignez-vous au préalable auprès de votre fabricant pour savoir si celle-ci convient à la cuisson vapeur.
- La vaisselle rustique ou traditionnelle, notamment la faïence, la porcelaine ou la céramique, n'est pas seulement adaptée au four vapeur. Les matériaux écais véhiculant moins bien la chaleur, les temps de cuisson indiqués au tableau s'en trouvent nettement prolongés.
- Posez la vaisselle de cuisson sur la plaque de cuisson et pas sur le sol.
- Notre plat ne doit pas toucher l'enceinte pour que la vapeur enrobe les aliments de tous côtés.
Niveau de cuisson
Vous pouvez enfourner vos plats sur l'un ou l'autre niveau de cuisson et même faire cuire des aliments différents sur plusieurs niveaux en même temps. Cela ne modifie en rien le temps de cuisson.
Surgelés
Quand vous cuisinez des produits surgelés, vous devez prévoir un temps de préchauffage plus long que des aliments conservés au frais. Le temps de préchauffage s'allonge proportionnellement à la quantité des aliments surgelés.
Température
Le mode de cuisson vapeur à haute-pression permet d'atteindre 120°C au maximum et de cuire des alimentés peu fragiles. pour Pour la cuisson d'aliments fragiles, CHOISSEZ LA CUSSON VAPEUR a 100°C
Quelques aliments particulièrement fragiles, tels que les fruits rouges, ne doivent jamais être cuits à plus de 100°C, faute de quoi ils éclatent. Pour plus d'informations, consultez les chapitres correspondants.
Temps de cuisson
Au four vapeur, le temps de cuisson correspond en général au temps de cuisson à la casserole. Les cas particuliers avec interférence d'autres facteurs seront abordés aux chapitres suivants.
Le mode de cuisson vapeur haute pression ++ permet de réduire le temps de cuisson habituel de moitié environ.
Au four vapeur, le temps de cuisson ne dépend pas de la quantité d'aliments. Par exemple, le temps de cuisson d'un kilo de pommes de terre sera identique au temps de cuisson de 500 g de pommes de terre.
Les valeurs qui figurent aux tableaux sont données à titre indicatif uniquement. De manière générale, nous vous conseillons de commencer par un temps de cuisson plus court et de le prolonger si nécessaire.
Cuisson avec liquides
Ne remplissez votre plat de cuisson qu'aux 2/3 pour éviter de renverser le liquide qu'il contient en sortant le plat du four vapeur.
Pendant la cuisson vapeur haute pression 120°C, l'air se met à tourbillonner dans l'enceinte et des projections d'aliments sont alors susceptibles de salir l'enceinte, surtout en cas de cuisson d'aliments dans un liquide (soupe, potée, pot-au-feu, etc.) ou si ces derniers contiennent un liquide (ex.: computes).
Le cas échéant, couvrez le plat de cuisson avec le plateau de support ou le couvercle (cf. chapitre "Accessoires en option") puis insérez le plat entre les barres des niveaux de cuisson. Ne vous contentez pas de le poser sur les barres.
Recettes maison
Tous les plats que vous cuisinez habituellement à la casserole peuvent être préparés au four vapeur. Reprenez simplement les mêmes temps de cuisson. Pensez toutefois que le four vapeur ne peut gratiner ou colorer vos aliments.
Produits frais
Préparez les légumes frais comme d'habitude: lavez-les, pelez-les et coupez-les.
Congelés
Ne décongelez pas les produits surgelés avant de les faire cuire au four vapeur. Exception : légumes surgelés conditionnés en bloc.
Les légumes surgelés et les légumes fais nécessitant le même temps de cuisson peuvent être préparés ensemble au four vapeur.
Séparez les aliments surgelés agrégés ensemble. Le temps de décongélation est indiqué sur l'emballage.
Plats de cuisson
Les aliments de petit diamètre, tels que les petits pois et les asperges, laissent peu voir pas du tout d'espace vacant. La vapeur a donc beaucoup de mal à traverser ces aliments. Pour une cuisson plus homogène, choisissez de préférence des récipients plats et ne les remplissez que sur 3 à 5 cm. Si vous nevez préparer des quantités plus importantes, répartissez-les dans plusieurs récipients plats.
Vous pouvez faire cuire, dans un même plat, des légumes différents avec un même temps de cuisson.
Cuisinez dans un plat non perforé les légumes qui nécessitent un peu d'eau de cuisson (ex. : chou rouge).
Niveau de cuisson
Quand vous faites cuire dans un plat perforé des fruits ou les légumes susceptibles de déteindre sur les autres aliments présents dans le four vapeur (ex.: betteraves ou fruits rouges), ne placez aucun autre plat au-dessous afin d’éviter que l’eau qui s’écoule du niveau supérieur ne les tâche.
Temps de cuisson
Dans un four vapeur comme dans un four classique, le temps de cuisson dépend de la taille des aliments et du degré de cuisson souhaité. Voici quelques exemples disponibles à titre indicatif :
- pommes de terre à chair ferme, coupées en 4 = 18 minutes
- pommes de terre à chair ferme, coupées en 2 = 22 minutes
- choux de Bruxelles croquants, grosses fleurs = 12 minutes
- choux de Bruxelles fondants, fleurs moyennes = 12 minutes
Réglages
Cuisson vapeur haute-pression
Température: 120°C
Cuisson vapeur
Température: 100°C
Temps de cuisson: cf. tableaux
Les valeurs qui figurent au tableau des légumes frais sont données à titre indicatif uniquement. De manière générale, nous vous conseillons de commencer par un temps de cuisson plus court et de le prolonger si nécessaire.
| Légumes | [ min] | |
| [ ] | [ ] | |
| Artichauts | 12-14 | 32-38 |
| Chou-fleur entier | - | 27-28 |
| Chou-fleur, morceaux | 2 | 8 |
| Haricots verts | 2 | 10-12 |
| Fleurs de brocolis | - | 3-4 |
| Carottes, entières | 3 | 7-8 |
| Carottes, coupées en deux | 3 | 6-7 |
| Carottes, en rondelles | 1 | 4 |
| Endives, coupées en deux | - | 4-5 |
| Chou chinois, émincé | 1 | 3 |
| Petits.POIS | - | 3 |
| Fenouil, coupé en deux | 4-5 | 10-12 |
| Fenouil, en lamelles | 2 | 4-5 |
| Chou de Milan, en morceaux | 4-6 | 23-26 |
| Pommes de terre à chair ferme épluchées entières | - | 27-29 |
| coupées en deux | 9 | 21-22 |
| coupées en quatre | 6 | 16-18 |
| Pommes de terre à chair ferme principalement épluchées entières | - | 25-27 |
| coupées en deux | 7 | 19-21 |
| coupées en quatre | 5 | 17-18 |
| Pommes de terre farineuses épluchées entières | - | 26-28 |
| coupées en deux | 7 | 19-20 |
| coupées en quatre | 5 | 15-16 |
| Chou-rave, en bâtons | 2 | 6-7 |
| Citrouille, en dés | - | 2-4 |
| 34 | 35 | |
| Epi de maiis | 15 | 30-35 |
| Blettes, coupées | - | 2-3 |
| Poivrons, en dés ou en lanières | - | 2 |
| Pommes de terre en robe des champs à chair ferme | - | 30-32 |
| Champignons | - | 2 |
| Poireaux, coupés | 1 | 4-5 |
| Poireaux, coupés en deux dans le sens de la lon-gueur | - | 6 |
| Chou Romanesco, entier | - | 22-25 |
| Chou Romanesco, fleurs | 2 | 5-7 |
| Choux de Bruxelles | 3-4 | 10-12 |
| Betteraves, entières | 24-26 | 53-57 |
| Chou rouge, coupé | 4 | 23-26 |
| Salsifis entiers, diamètre 2 cm env. | 3-4 | 9-10 |
| Céleri-rave, en bâtonnets | 2 | 6-7 |
| Asperges vertes | - | 7 |
| Asperges blanches, diamètre 2 cm env. | - | 9-10 |
| Jeunes carottes, coupées en morceaux | 1 | 6 |
| Epinards | - | 1-2 |
| Chou pointu, en lanières | 2-3 | 10-11 |
| Céleri branche, coupé | 1-2 | 4-5 |
| Navets, coupés | 2-3 | 6-7 |
| Chou blanc, en lanières | 2 | 12 |
| Chou frisé, coupé | 2 | 10-11 |
| Courgettes, rondelles | - | 2-3 |
| Mange-tout | - | 5-7 |
Temps de cuisson
Produits frais
Préparez la viande comme d'habitude.
Congelés
Décongelez la viande avant de la cuire (cf. chapitre "Décongélation").
Préparation
Commencez par saisir toutes les viandes, qui doivent être colorées puis mijotées, dans une cocotte ou une casserole.
Temps de cuisson
C'est la structure et l'épaisseur des aliments et non leur poids qui déterminent leur temps de cuisson. Plus les morceaux sont épais, plus leur temps de cuisson est long. Exemple : un morceau de viande de 500 g et de 10 cm d'épaisseur cuira plus longtemps qu'un morceau de poisson de 500 g et de 5 cm d'épaisseur.
Conseils
- Pour préserver les arômes de vos viandes, cuisinez-les dans un plat perforé en plaçant le plat non perforé en-dessous afin d'en recueillir les jus de cuisson. Vous pouvez transformer ces sucs de viande en délicieuses sauces ou les mettre au congélateur afin de les cuisiner plus tard.
-La volaille et la viande de bœuf (ma- creuse, gîte, paleron, plat de côtes, os, etc.) se prêtent à la confection de savoureux bouillons. Mettez la viande, les légumes et l'eau froide dans le plat de cuisson. Plus la cuisson sera longue, meilleur sera le bouillon.
- Si la recette de votre viande indique qu'il faut ajouter un liquide, respectez les quantités qui figurent dans la recette, surtout en cas de cuisson vapeur haute-pressure. Si vous avez mis trop de liquide, ce dernier peut se mettre à mousser puis déborder. Si nécessaire, attendez que la cuisson soit terminée pour ajouter du liquide (ex.: bouillon).
Réglages
Cuisson vapeur haute-pression
Température: 120 °C
Cuisson vapeur
Température: 100°C
Temps de cuisson: cf. tableaux
Les valeurs qui figurent au tableau sont données à titre indicatif uniquement. De manière générale, nous vous conseillons de commencer par un temps de cuisson plus court et de le prolonger si nécessaire.
| Viandes | [° [min] | |
| Gîte, recouvert d'eau | 45–50 | 110–120 |
| Jambonneau | 75–80 | 135–140 |
| Blanc de poulet | - | 8–10 |
| Jarret | 58–63 | 105–115 |
| Côte à l'os, recouverte d'eau | 38–43 | 110–120 |
| Emincé de veau | - | 3–4 |
| Porc fumé, tranches | 3–4 | 6–8 |
| Sauté d'agneau | 6–8 | 12–16 |
| Poularde | 30 | 60–70 |
| Paupiettes de dinde | - | 12–15 |
| Escalope de dinde | - | 4–6 |
| Plat de côtes, recouvert d'eau | 50–55 | 130–140 |
| Ragoût de bœuf | 30–35 | 105–115 |
| Poule à bouillir, recouverte d'eau | 40 | 80–90 |
| Aiguillettes de bœuf | 45–50 | 110–120 |
Temps de cuisson
Réglages
Cuisson vapeur
Température: 90 °C
Temps de cuisson : cf. tableau
| Saucisses | ⊕ [min] |
| Saucisson à cuire | 6-8 |
| Cervelas | 6-8 |
| Boudin blanc | 6-8 |
Temps de cuisson
Produits frais
Préparez le poisson frais comme d’habitude, écaillez-le, videz-le puis nettoyez-le.
Surgelés
Ne décongelez pas complètement le poisson avant cuisson. La surface doit juste être assez tendre pour absorber les épices : prévoyez 2 à 5 minutes suivant l'épaisseur.
Préparation
Versez quelques gouttes de jus de citron jaune ou vert sur le poisson afin de l'acidifier légèrement avant cuisson.
Ne salez pas le poisson. En effet, la cuisson vapeur réserve la plupart des sels minéraux. Le poisson conserve ainsi tout son goût.
Plats de cuisson
Enduisez un plat perforé avec du beurre ou de l'huile.
Niveau de cuisson
Quand vous faites cuire du poisson dans un plat perforé en même temps que d'autres aliments, enfournez le plat perforé contenant le poisson juste au-dessus du plateau de support afin d’éviter que l’eau qui s’écoule altère le goût des autres aliments.
85°C à 90°c
Cuisson douce de poissons à chair délicate comme la sole
100°C
Cuisson des poissons à chair ferme, comme le cabillaud ou le saumon.
Convient aussi aux poissons en sauce ou au court-bouillon.
Temps de cuisson
C'est la structure et l'épaisseur des aliments et non leur poids qui déterminent leur temps de cuisson. Plus les morceaux sont épais, plus leur temps de cuisson est long. Exemple : un morceau de poisson de 500 g et de 3 cm d'épaisseur cuira plus longtemps qu'un morceau de poisson de 500 g et de 2 cm d'épaisseur.
La chair du poisson se raffermit de plus en plus en cours de cuisson. Respectez toujours le temps de cuisson indiqué. Si le poisson n'est pas assez cuit, prolongez la cuisson de quelques minutes seulement.
Toutefois, vous pouvez encore ajouter quelques minutes au temps indiqué si vous préparez du poisson en sauce ou au court-bouillon.
Conseils
- Pour relever le goût du poisson, ajoutez des aromates. L'aneth par exemple est particulièrement indiqué avec un saumon.
- La tenue à la cuisson des grands poissons sera excellente si vous ad
- Pour réussir un court-bouillon, mettez des légumes à pot-au-feu et de l'eau froide dans un plat puis jetez-y les déchets du poisson (arêtes, nageoires et tête). Faites cuire à 100°C pendant 60 à 90 minutes. Plus la cuisson est longue, meilleur est le court-bouillon.
- Pour la cuisson au bleu des poissons, plongez-les dans de l'eau vinaigrée chaude. Ce mode de cuisson convient particulièrement aux truites, aux carpes, aux tanches et aux anguilles. Veillez à ne pas entailler la peau de ces poissons lorsque vous les nettoyez.
Réglages
Cuisson vapeur
Température : cf. tableau
Temps de cuisson : cf. tableau
Cuisson vapeur
Les valeurs qui figurent au tableau des poissons frais sont données à titre indicatif uniquement. De manière générale, nous vous conseillons de commencer par un temps de cuisson plus court et de le prolonger si nécessaire.
| Poissons | [°C] | [°C] [min] |
| Anguille | 100 | 5-7 |
| Filet de perché | 100 | 8-10 |
| Filet de daurade | 85 | 3 |
| Truite, 250 g | 90 | 10-13 |
| Filet de flétan | 85 | 4-6 |
| Filet de cabillaud | 100 | 6 |
| Carpe, 1,5 kg | 100 | 18-25 |
| Filet de saumon | 100 | 6-8 |
| Pavé de saumon | 100 | 8-10 |
| Truite saumonée | 90 | 14-17 |
| Filet de pangasius | 85 | 3 |
| Filet de sébaste | 100 | 6-8 |
| Filet d'aiglefin | 100 | 4-6 |
| Filet de carrelet | 85 | 4-5 |
| Filet de lotte | 85 | 8-10 |
| Filet de sole | 85 | 3 |
| Filet de turbot | 85 | 5-8 |
| Filet de thon | 85 | 5-10 |
| Filet de sandre | 85 | 4 |
Température / Temps de cuisson
Préparation
Décongelez complètement les crustacés avant cuisson.
Décortiquez les crustacés, retirez l'interstice puis lavez-les.
Plats de cuisson
Enduisez un plat perforé avec du beurre ou de l'huile.
Temps de cuisson
En cours de cuisson, la chair des crustaces se raffermie de plus en plus. Respectez toujours le temps de cuisson indiqué.
Pour préparer les crustaces en sauce ou au court-bouillon, prolongez le temps de cuisson indiqué de quelques minutes.
Réglages
Cuisson vapeur
Température : cf. tableau
Temps de cuisson : cf. tableau
| [°C] | [°C] [min] | |
| Crevettes | 90 | 3 |
| Crevettes roses | 90 | 3 |
| Gambas | 90 | 4 |
| Crabe | 90 | 3 |
| Langouste | 95 | 10-15 |
| Petites crevettes | 90 | 3 |
Température / Temps de cuisson
Produits frais

Risque d'intoxication!
Ne cuisinez que les coquillages qui sont bien fermés. Ne consommez jamais les coquillages qui sont toujours fermés en fin de cuisson.
Plongez les coquillages pendant quelques heures dans de l'eau fraîche afin d'en éliminer le sable puis brossez-les vigoureusement pour éliminer leurs filaments.
Surgelés
Décongelez les coquillages surgelés avant cuisson.
Temps de cuisson
La chair des coquillages durcit de plus en plus en cours de cuisson. Respectez toujours le temps de cuisson indiqué.
Réglages
Cuisson vapeur
Température : cf. tableau
Temps de cuisson : cf. tableau
| [°C] | [°C] [min] | |
| Pouces-pieds | 100 | 2 |
| Coques | 100 | 2 |
| Moules | 90 | 12 |
| Coquilles Saint-Jacques | 90 | 5 |
| Couteaux | 100 | 2-4 |
| Palourdes | 90 | 4 |
Température / Temps de cuisson
Riz
Le riz gonfle à la cuisson. Aussi doit-on l'immerger dans un liquide. La quantité de liquide varie selon le type de riz.
Le riz absorbant tout le liquide de cuisson, ses qualités nutritives sont préservées.
Réglages
Cuisson vapeur haute-pression
Température: 120°C
Cuisson vapeur
Température: 100°C
Temps de cuisson : cf. tableau
| Proportions riz / liquide | [min] | ||
| Riz basmati | 1:1,5 | 7 | 15 |
| Riz étuvé | 1:1,5 | 11 | 23-25 |
| Riz à grain rond | 11 | ||
| Riz au lait | 1:2,5 | 30 | |
| Risotto | 1:2,5 | 18-19 | |
| Riz complet | 1:1,5 | 13 | 26-29 |
| Riz sauvage | 1:1,5 | 13 | 26-29 |
Temps de cuisson
Produits secs
Les pâtes alimentaires et autres produits dérivés à base de semoule de blé dur gonflent en cours de cuisson et doivent donc être cuits en immersion. Conseil : faites chauffer le liquide avant de les plonger dedans.
Augmentez d'environ 1/3 le temps de cuisson indiqué par le fabricant.
Produits frais
Les pâtes fraîches et autres produits frais à base de farine, qu'ils soient achetés au rayon frais ou faits maison, ne gonflent pas à la cuisson : faites-les cuire dans un plat perforé et enduit de beurre ou d'huile.
Détachez bien les pâtes les unes des autres puis répartissez-les uniformément dans le plat de cuisson.
Réglages
Cuisson vapeur haute-pressure
Température: 120°C
Cuisson vapeur
Température: 100 °C
Temps de cuisson : cf. tableau
| Produits frais | [ min] | |
| Gnocchi | - | 2 |
| Knöpfli | - | 1 |
| Raviolis | - | 2 |
| Spätzle | - | 1 |
| Tortellini | - | 2 |
| Produits secs, recouverts d'eau | ||
| Tagliatelles | 8 | 14 |
| Vermicelles | - | 8 |
Temps de cuisson
Les dumplings, délicieuses boules à base de farine, de pomme de terre ou de pain, sont conditionnées en sachet cuisson si vous les achetez toutes prêtes. Imm-ergez-les bien dans l'eau, et ce même si vous les avez humectées au préalable, faute de quoi elles ont tendance à se décomposer.
En revanche, placez les dumplings faits maison dans un plat perforé préalablement enduit avec du beurre.
Réglages
Cuisson vapeur
Température: 100 °C
Temps de cuisson : cf. tableau
| ① [min] | |
| Dumplings à l'étuvée | 30 |
| Dumplings au levain | 20 |
| Dumplings à base de pomme de terre, en sachets cuisson | 20 |
| Dumplings à base de pain, en sachets cuisson | 18-20 |
Temps de cuisson
Céréales
Les céréales crues gonflent à la cuisson. Aussi doivent-elles cuire immergées dans un liquide. La quantité de liquide nécessaire varie selon le type de céréales.
Les céréales peuvent être entières ou concassées.
Réglages
Cuisson vapeur haute-pression
Température: 120°C
Cuisson vapeur
Température: 100°C
Temps de cuisson : cf. tableau
| Proportions Céréales / Liquide | [ min] | ||
| [ ] | [ 335 ] | ||
| Amarante | 1 : 1,5 | 8 | 15–17 |
| Boulgour | 1 : 1,5 | 4 | 9 |
| Blé vert entier | 1 : 1 | 4 | 18–20 |
| Blé vert concassé | 1 : 1 | 9 | 7 |
| Avoine, entière | 1 : 1 | 9 | 18 |
| Avoine, concassée | 1 : 1 | 4 | 7 |
| Millet | 1 : 1,5 | - | 10 |
| Polenta | 1 : 3 | - | 10 |
| Quinoa | 1 : 1,5 | 7 | 15 |
| Seigle, entier | 1 : 1 | 18 | 35 |
| Seigle, concassé | 1 : 1 | 5 | 10 |
| Blé, entier | 1 : 1 | 15 | 30 |
| Blé, concassé | 1 : 1 | 4 | 8 |
Temps de cuisson
Légumes secs
Avant de les cuisiner, faites tremper les légumes secs 10 heures ou plus dans de l'eau froide : ils seront plus digestes et leur temps de cuisson en sera raccourci. Ne recouvrez pas les légumes secs de liquide pendant la cuisson.
Ne trempez pas les lentilles.
Avec les légumes secs non trempés, vous devez respecter les proportions spécifiques entre légumes secs et liquide.
Réglages
Cuisson vapeur haute-pression
Température: 120°C
Cuisson vapeur
Température: 100°C
Temps de cuisson : cf. tableau
| Après trempage | ||
| © [min] | ||
| Haricots | ||
| Haricots rouges | 7 | 55-65 |
| Haricots rouges (haricots Azuki) | 3 | 20-25 |
| Haricots noirs | 7 | 55-60 |
| Haricots pinto | 7 | 55-65 |
| Haricots blancs | 7 | 34-36 |
| Petits.POIS | ||
| Pois jaunes | 11 | 40-50 |
| Pois vert, écossés | 9 | 27 |
Temps de cuisson
| Sans trempage | |||
| Proportions : légumes secs / liquide | ® [min] | ||
| ® | ® | ||
| Haricots | |||
| Haricots rouges | 1 : 3 | - | 130–140 |
| Haricots rouges (haricots Azuki) | 1 : 3 | - | 95–105 |
| Haricots noirs | 1 : 3 | 15–16 | 100–120 |
| Haricots pinto | 1 : 3 | - | 115–135 |
| Haricots blancs | 1 : 3 | - | 80–90 |
| Lentilles | |||
| Lentilles brunes | 1 : 2 | - | 13–14 |
| Lentilles rouges | 1 : 2 | - | 7 |
| Petits.POIS | |||
| Pois jaunes | 1 : 3 | - | 110–130 |
| Pois vertis, écossés | 1 : 3 | - | 60–70 |
Temps de cuisson
Oeufs
Pour préparer des œufs durs, utilisez des plats perforés.
Ne percez pas les œufs avant cuisson. Ainsi ils se réchauffent peu à peu pendant la phase de préchauffage sans éclater.
Si vous préparez une recette à base d'œufs, enduisez un plat non perforé de beurre ou d'huile avant cuisson (ex. : royale).
Réglages
Cuisson vapeur
Température: 100°C
Temps de cuisson : cf. tableau
| © [min] | |
| petit calibre | |
| coque | 3 |
| mollet | 5 |
| dur | 9 |
| calibre moyen | |
| coque | 4 |
| mollet | 6 |
| dur | 10 |
| gros calibre | |
| coque | 5 |
| mollet | 6-7 |
| dur | 12 |
| très gros calibre | |
| coque | 6 |
| mollet | 8 |
| dur | 13 |
Temps de cuisson
Fruits
Posez les fruits dans un plat non perforé pour ne pas perdre de jus pendant la cuisson au four vapeur. Si vous préparez les fruits dans un plat perforé, pensez à glisser un plat non perforé en-dessous.
Conseil: Conservez le jus des fruits pour un glaçage de tarte.
Réglages
Cuisson vapeur haute-pressure
Température: 120°C
Cuisson vapeur
Température: 100°C
Temps de cuisson : cf. tableau
| ① [min] | ||
| ② | ③ | |
| Pommes, en morceaux | - | 1-3 |
| Poires, en morceaux | - | 1-3 |
| Cerises | - | 2-4 |
| Mirabelles | - | 1-2 |
| Nectarines / Pêches, en morceaux | - | 1-2 |
| Prunes | - | 1-3 |
| Coings, enrés | 3-4 | 6-8 |
| Rhubarbe, en bâtonnets | - | 1-2 |
| Groseilles à maquereaux | - | 2-3 |
Temps de cuisson
Cuisson d'un menu
Il s'agit ici de préparer un menu express composé d'aliments aux temps de cuisson différents (ex. : un filet de sébaste, du riz et du brocoli). C'est possible en enfournant les plats les uns après les autres, en fonction de leur temps de cuisson, de telle sorte qu'ils soient prêts au même moment.
Niveau de cuisson
Enfournez les aliments qui gouttent (poisson) ou qui déteignent (betterave) juste au-dessus de la plaque de cuisson. Vous évitez ainsi d'altérer le goût de vos préparations culinaires ou de les tacher.
Température
La plupart des aliments ayant besoin d'une température de 100°C pour être cuits, c'est à cette température que l'on doit cuire son menu.
Ne choisissez jamais la température la plus BASSE pour cuire votre menu, et ce même si aux aliments composant le menu correspondent différentes températures de cuisson. Exemple : 85°C pour un filet de daurade et 100°C pour des pommes de terre.
De même si la température de cuisson recommandée est de 85°C, testez d'abord le résultat obtenu à 100°C. En effet, les poissons délicats dont la chair se défait facilement, notamment la sole et le carrelet, se tiennent beaucoup mieux à 100°C.
Temps de cuisson
À toute augmentation de la température de cuisson recommandée doit correspondre une réduction du temps de cuisson d'environ 1/3.
| Riz | 20 minutes |
| Filet de sébaste | 6 minutes |
| Brocolis | 4 minutes |
20 minutes moins 6 minutes = 14 minutes (1. temps de cuisson du riz)
6 minutes moins 4 minutes = 2 minutes (2. temps de cuisson du poisson)
Restent 4 minutes (3. Temps de cuisson des brocolis)
| Temps de cus-son | 20 minutes pour le riz | ||
| 6 minutes pour le filet de sébaste | |||
| 4 minu-tes pour les bro-colis | |||
| Réglage | 14 mi-nutes | 2 minu-tes | 4 minu-tes |
Marché à suivre
■ Allumez le four vapeur et règlez le mode de cuisson sur 100°C. Commencez par enfournier le riz. Entrez le premier temps de cuisson numéro, soit 14 minutes. Une fois les 14 minutes écoulées, enfournez le filet de sébaste. Entrez le temps de cuisson numéro 2, soit 2 minutes. Une fois les 2 minutes écoulées, enfournez les brocolis. Entrez le temps de cuisson numéro 3, soit 4 minutes.
Réchauffage
Le four vapeur permet de réchauffer les aliments en douceur, sans les dessécher ni prolonger leur cuisson. Ils sont réchauffés de façon homogène : nul besoin de les mélanger ou de les retourner.
Vous pouvez soit réchauffer un plat complet (viande + légumes + pommes de terre) soit réchauffer les aliments séparément.
Vaissette adaptée
Réchauffez les petites quantités dans une assiette et les grandes dans un plat de cuisson.
Conseils
- Pour réchauffer de grosses pièces comme des rôts par exemple, coupez d'abord la viande en portions, servez dans les assiettes puis glissez-la au four vapeur.
- Coupez en deux les préparations denses (ex.: poivrons farcis, paupiettes). Au four vapeur, les pièces panées (ex.: escalopes) perdent leur croustillant.
- Réchauffez les sauces à part, exception faite des plats en sauce (ex.: ragout).
Marché à suivre
Couvrez les aliments avec un couvercle, une assiette creuse ou un film plastique résistant à la vapeur et à des températures allant jusqu'à 100°C. Posez l'assiette sur la plaque de cuisson et enfournez le tout.
Réglages
Réchauffage
Durée : voir tableau
Fonctions utiles
| ⊕ [min] | |
| Légumes | |
| Chou-fleur / Haricots | 2 |
| Chou-rave / Carottes | 2 |
| Garnitures | |
| Dumplings / Pommes de terre, coupées dans le sens de la longueur | 3-4 |
| Pâtes / Riz | 2-3 |
| Viandes et volailles | |
| Rôtis en tranches d'1,5 cm d'épaisseur | 3-5 |
| Vande de ragoût | 3-5 |
| Escalope de poulet | 3-5 |
| Boulettes de viande en sauce | 3-5 |
| Roulades en tranches | 3-5 |
| Poissons | |
| Filet de poisson | 2-3 |
| Paupiette de poisson, coupée en deux | 2-3 |
| Plats cuisinés | |
| Fricassée de volaille et riz | 3-5 |
| Rôti de porc aux pommes de terre et petits légumes | 3-4 |
| Spaghetti à la sauce tomate | 2-3 |
| Soupes / Potages | |
| Potée | 4-5 |
| Soupe / Velouté / Bouillon de légumes | 2-3 |
Décongélation
La décongélation au four vapeur est beaucoup plus rapide qu'à température ambiante.
Température
La température idéale pour décongeler vos aliments est de 60°C
Sauf : viande achetée et gibier : 50 °C
Avant/après décongélation
Sortez les aliments de leur emballage avant de les décongeler.
Sauf : le pain et les pâtisseries doivent rester dans leur emballage pendant la décongélation, faute de quoi ils ramollient en absorbant l'humidité de l'enceinte.
Une fois sortis du four vapeur, laissez les aliments décongelés reposer à température ambiante. Ce temps de repos est nécessaire à une diffusion homogène de la chaleur du pourtour vers le cœur des aliments.
Plats de cuisson

Risque de salmonelles !
Jetez toujours l'eau de décongélation : ne la réutilisez jamais !
Pour faire décongeler des alimentés qui gouttent, comme la volaille par exemple, utilisez un plat perforé que vous glisserez juste au-dessus du plat multi-uses, de telle sorte que les alimentés décongelés ne baignent pas dans l'eau de décongélation.
Pour décongeler les alimentés qui ne gouttent pas, utilisez un plat non perforé.
Conseils
- Ne décongelez pas complètement le poisson avant cuisson. La surface doit juste être assez tendre pour absorber les épices : prévoyez 2 à 5 minutes suivant l'épaisseur.
- À mi-décongélation, détachez les morceaux qui sont collés les uns aux autres, comme les fruits rouges ou les morceaux de viande par exemple puis répartissez-les dans le plat.
- Ne recongelez jamais des aliments qui ont été décongelés.
- Faites décongeler les plats cuisinés en respectant les indications données sur l'emballage.
Réglages
Décongélation 1/6
Température : cf. tableau
Temps de cuisson : cf. tableau
| Aliment à déconceler | Quantité | [°C] | [min] | [min] |
| Produits laitiers | ||||
| Fromage, en tranches | 125 g | 60 | 15 | 10 |
| Fromage blanc | 250 g | 60 | 20–25 | 10–15 |
| Crème liquide | 250 g | 60 | 20–25 | 10–15 |
| Fromages à pâté molle | 100 g | 60 | 15 | 10–15 |
| Fruits | ||||
| Compote de pommes | 250 g | 60 | 20–25 | 10–15 |
| Morceaux de pommes | 250 g | 60 | 20–25 | 10–15 |
| Abricots | 500 g | 60 | 25–28 | 15–20 |
| Fraisés | 300 g | 60 | 8–10 | 10–12 |
| Framboises /Groseilles / Cassis | 300 g | 60 | 8 | 10–12 |
| Cerises | 150 g | 60 | 15 | 10–15 |
| Pêches | 500 g | 60 | 25–28 | 15–20 |
| Prunes | 250 g | 60 | 20–25 | 10–15 |
| Groseilles à maquereaux | 250 g | 60 | 20–22 | 10–15 |
| Légumes | ||||
| Surgelés conditionnés en bloc | 300 g | 60 | 20–25 | 10–15 |
| Poissons | ||||
| Filets | 400 g | 60 | 15 | 10–15 |
| Trujites | 500 g | 60 | 15–18 | 10–15 |
| Homard | 300 g | 60 | 25–30 | 10–15 |
| Crabe | 300 g | 60 | 4–6 | 5 |
| Plats cuisés | ||||
| Viandes, légumes, fécu-lents / Consommés /Soupes et potages | 480 g | 60 | 20–25 | 10–15 |
| Viandes | ||||
| Rôtis en tranches | de 125 à 150 g chacune | 60 | 8–10 | 15–20 |
| Viande hachée | 250 g | 50 | 15–20 | 10–15 |
| Vande hachée | 500 g | 50 | 20–30 | 10–15 |
| Vande de ragoût | 500 g | 60 | 30–40 | 10–15 |
| Vande de ragoût | 1 kg | 60 | 50–60 | 10–15 |
| Foie | 250 g | 60 | 20–25 | 10–15 |
| Râble de lièvre | 500 g | 50 | 30–40 | 10–15 |
| Selle de chevreuil | 1 kg | 50 | 40–50 | 10–15 |
| Escalopes / Côtelettes / Sau-cisses | 800 g | 60 | 25–35 | 15–20 |
| Volailles | ||||
| Poulet | 1 kg | 60 | 40 | 15–20 |
| Cuisses de poulet | 150 g | 60 | 20–25 | 10–15 |
| Escalope de poulet | 500 g | 60 | 25–30 | 10–15 |
| Cuisse de dinde | 500 g | 60 | 40–45 | 10–15 |
| Petits gâteaux | ||||
| Pâtes feuilletées / Pâtes brio-chées | - | 60 | 10–12 | 10–15 |
| Pâtes brisées / Pâtes à gâ-teaux | 400 g | 60 | 15 | 10–15 |
| Pains / Petits pains | ||||
| Petits pains | - | 60 | 30 | 2 |
| Pain bis, tranché | 250 g | 60 | 40 | 15 |
| Pain complet, tranché | 250 g | 60 | 65 | 15 |
| Pain blanc, tranché | 150 g | 60 | 30 | 20 |
Température / Temps de décongélation / Temps de repos
Stérilisation des conserves
Risque de blessure!
Pour la confection de conserves, ne choisissez jamais une température de cuisson supérieure à 95°C et si le four vapeur est installé à une altitude supérieure à 1000 mètres, pas de température supérieure à 90°C car les bocaux exposeraient.
N'utilisez que des aliments frais et en parfait état sans trace de pourriture.
Bocaux
Les bocaux et accessoires de stérilisation doivent être impeccables. Vous pouvez utiliser des bocaux à couvercle à vis (Twist-off) ou à couvercle en verre et joint en caoutchouc.
Pour garantir une stérilisation homogène, CHOISSEZ des bocaux de même taille.
Une fois le bocal rempli, passez un chiffon propre imbibé d'eau chaude sur le pourtour de l'ouverture puis fermez-le.
Fruits
Triez soigneusement vos fruits, lavez-les bien puis faites-les égoutter. Les fruits rouges s'écrasent très facilement. Lavez-les délicatement.
Retirez la peau des agrumes ainsi que la queue, les noyaux et les pépins des fruits. Coupe les plus gros fruits en morceaux (ex. : pommes en lamelles).
Piquez les gros fruits à noyau (prunes, abricots, pêches) à plusieurs endroits avec une fourchette afin qu'ils n'éclatent pas.
Légumes
Lavez, brossez et coupez les légumes.
Pour préserver leur couleur, faites blanchir les légumes avant de les stériliser (cf. chapitre "Blanchir").
Contenance
Remplissez les bocaux sans tasser en vous arrêtant au plus tard à 3 cm du bord. Si vous tassez trop les fruits, vous détruirez leurs parois cellulaires. Posez un linge sur un plan de travail puis tapez-y doucement le bocal afin de bien en répartir le contenu. Recouvrez bien les fruits ou les légumes de liquide.
Versez de l'eau sucrée sur les fruits et de l'eau salée ou vinaigrée sur les légumes.
Viandes et charcuteries
Faites revenir ou bouillir les viandes avant stérilisation. Pour remplir les bocaux, utilisez les sucs des viandes dilués dans l'eau ou le bouillon de cuisson de la viande. Vérifiez que les bords des bocaux ne présentent aucune trace de gras.
Pour les charcuteries, ne remplissez les bocaux qu'à moitié, le volume augmentant en cours de stératisation.
Conseils
- Utilisez la chaleur résiduelle : en fin de cuisson, attendez 30 minutes avant de sortir les bocaux du four vapeur.
- Ensuite, recouvrez les bocaux d’un linge et laissez-les refroidir pendant 24 heures environ.
Marche à suivre
■ Enfournez le récipient perforé au niveau le plus bas. - Placez les bocaux de même taille dans les plats de cuisson perforés. Les bocaux ne doivent pas se toucher.
Réglages
Cuisson vapeur
Température: 100°C
Temps de stérilisation : cf. tableau
| Conserves | ½ [°C] | ⓸* [min] |
| Fruits rouges | ||
| Groseilles / Cassis | 80 | 50 |
| Groseilles à maquereaux | 80 | 55 |
| Airelles | 80 | 55 |
| Fruits à noyau | ||
| Cerises | 85 | 55 |
| Mirabelles | 85 | 55 |
| Prunes | 85 | 55 |
| Pêches | 85 | 55 |
| Reines-claudes | 85 | 55 |
| Fruits àpépins | ||
| Pommes | 90 | 50 |
| Compote de pommes | 90 | 65 |
| Coings | 90 | 65 |
| Légumes | ||
| Haricots | 100 | 120 |
Fonctions utiles
| Conserves | ® [°C] | ➀* [min] |
| Fèves | 100 | 120 |
| Concombres | 90 | 55 |
| Betterave | 100 | 60 |
| Viande | ||
| préciite | 90 | 90 |
| rôtie | 90 | 90 |
Température / Temps de stérilisation
- Les temps de cuisson indiqués sont calculés pour des bocaux de 1 litre. Pour une contenance de 0,5 litre, diminuez le temps de cuisson de 15 minutes et de 20 minutes pour une contenance de 0,25 litre.
Extraction de jus
Votre appareil vous permet d'extraire le jus de fruits moelleux, moyennement fermes et fermes.
Les fruits très mûrs conviennent tout particulièrement à l'extraction des jus car leur jus est abondant et parfumé.
Préparation
Triez et lavez fruits ou légumes dont vous pouvez extraire le jus. Retirez toutes les parties abimées.
Retirez les tiges des raisins et des cerises qui contiennent des substances amères mais ne retirez pas les tiges des baies.
Coupez les gros fruits tels que les pommes en dés de 2 cm environ. Plus le fruit ou le légume est dur, plus il doit être coupé finement.
Conseils
- Pour équilibrer le goût de vos jus, pensez à mélanger les fruits sucrés et les fruits acides.
- La plupart des fruits donneront plus de jus et leur arôme sera encore sublimé si vous ajoutez un peu de sucre puis les laissez ensuite reposer quelques heures. Nous vous conseillons les proportions suivantes : 1 kg de fruits sucrés pour 50 à 100 g de sucre et 1 kg de fruits acides pour 100 à 150 g de sucre.
- Si vous souhaitez conserver le jus des fruits, versez-le encore chaud dans des bouteilles propres puis fermez-les aussitôt.
Marche à suivre
Posez les fruits ainsi préparés dans un plat perforé. - Placez un récipient non perforé en dessous pour recueillir le jus.
Réglages
Cuisson vapeur haute-pression
Température: 120°C
Cuisson vapeur
Température: 100°C
Durée : voir tableau
Fonctions utiles
| ① [min] | ||
| ② | ③ | |
| Fruits moelleux | ||
| Exemple : fruits rouges | - | 40–70 |
| Fruits moyenement fermes | ||
| Exemple : pommes et poires | 30–45 | - |
| Fruits fermes | ||
| Exemple : coings et poires | 40–50 | - |
Durée:
Préparer des yaourts maison
Il vous faut du lait et, pour servir de culture de départ, un yaourt ou des ferments lactiques achetés dans le commerce (magasin de produits diététiques, pharmacie, etc.).
Utilisez exclusivement du yaourt avec cultures vivantes, sans additifs et n'ayant subi aucun traitement thermique.
Le yaourt doit être frais (courte durée de stockage).
Pour préparer vos yaourts, vous pouvez utiliser soit du lait UHT soit du lait frais. Le lait UHT est pasteurisé : il ne nécessite aucun traitement particulier. Quant au lait frais, il doit être chauffé à 90°C (ne le faites pas bouillir!) puis refroidi à 35°C.
Remarque : la consistance du yaourt au lait frais sera plus ferme que celle d'un yaourt au lait UHT.
Le yaourt et le lait doivent partager le même pourcentage de matière grasse.
Pendant le temps de repos, ne touchez pas aux pots de yaourt : ils ne doivent être ni déplacés ni secoués.
Lorsqu'ils sont prêts, les yaourts doivent être placés au réfrigérateur.
La consistance des yaourts maison dépend de la fermeté, de la teneur en matières grasses et des cultures présentes dans le yaourt de base. Tous les yaourts ne se valent pas comme yaourt de base.
Causes d'échec possibles
Manque de fermeté :
Mauvais stockage du yaourt, chaîne du froid rompue, emballage endommagé, température de chauffage du lait insuffisante.
Dépôts de liquide
Pots déplacés, refroidissement trop lent.
Présence de grumeaux
Les yaourts ont été trop chauffés, lait de mauvaise qualité, lait et yaourt mal mélangés.
Conseil: Si vous utilisez des ferments lactiques, vous pouvez utiliser un mélange lait / crème pour la fabrication de vos yaourts. Mélangez 3/4 de litre de lait et 1/4 de litre de crème.
Marché à suivre
Mélangez 100 g de yaourt et 1 litre de lait ou suivez les instructions figurant sur l'emballage des ferments lactiques. - Versez le mélange à base de lait dans des pots en verre puis fermez-les hermétiquement. - Placez les bocaux de même taille dans les plats de cuisson perforés. Les bocaux ne doivent pas se toucher. - Mettez les bocaux au réfrigérateur dès que le temps de préparation est écoulé en veillant à ne pas trop les secouer en vous déplaçant.
Réglages
Cuisson vapeur
Température: 100°C
Temps de cuisson : cf. tableau
Marché à suivre
■ Préparez la pâte en suivant les instructions de la recette. - Couvrez ensuite le récipient contenant la pâte et posez-le sur le plateau de support.
Réglages
Cuisson vapeur
Température: 40°C
Temps de cuisson : cf. tableau
Marche à suivre
Faites tremper les feuilles de gelatine pendant 5 minutes dans un bol d'eau fraîche. Elles doivent être bien immergées. Sortez-les, essorez-les, jetez l'eau puis remettez les feuilles de gelatine pressées dans le bol. Si vous avez opté pour de la gelatine en poudre, versez-la dans un bol puis ajoutez la quantité d'eau indiquée sur l'emballage. - Couvrez le récipient et posez-le sur le plateau de support.
Réglages
Cuisson vapeur
Température : 90 °C
Temps de cuisson : 1 minute
Faire fondre du chocolat
Dans votre four vapeur, vous pouvez faire fondre toutes sortes de chocolat.
Marché à suivre
Cassez le chocolat en morceaux puis posez le sachet de nappage fermé dans un plat de cuisson perforé avant d'enfourner. Utilisez un plat non perforé pour les grandes quantités et une tasse ou un bol pour les petites quantités. - Couvrez votre plat de cuisson avec un couvercle ou un film plastique résistant à la vapeur et à des températures allant jusqu'à 100°C. Si vous préparez de grandes quantités, pensez à mélanger une fois en cours de cuisson.
Réglages
Cuisson vapeur
Température: 65°C
Temps de cuisson : 20 minutes
Marche à suivre
- Incisez le pédoncule des tomates, nectarines ou autres fruits en y traçant une croix. Cette astuce vous permettra de désterpiller la peau plus facilement. Déposez les aliments dans un plat de cuisson perforé.
- Après avoir retiré des amandes du four, passez-les immédiatement sous l'eau froide, faute de quoi vous aurez beaucoup de mal à les éplucher.
Cuisson vapeur
Température: 100°C
Temps de cuisson : cf. tableau
| Aliments | ➀ [min] |
| Abricots | 1 |
| Amandes | 1 |
| Nectarines | 1 |
| Poivron | 4 |
| Pêches | 1 |
| Tomates | 1 |
Durée:
Conserver des pommes
Grâce à ce procédé, vous gardez vos pommes non traitées plus longtemps. Elles se conservent 5 à 6 mois si vous les entrepotez ensuite dans une pièce bien aérée, froide et sèche. Remarque : ne convient pas aux autres fruits à pépins.
Réglages
Cuisson vapeur
Température: 50°C
Temps de stérilisation : 5 minutes
Blanchir
Pour préserver les qualités nutritives de vos légumes, nous vous conseillons de les blanchir avant congélation.
Les légumes blanchis avant congélation gardent leur couleur.
Marche à suivre
- Placez les légumes préparés dans un récipient de cuisson perforé. Une fois blanchis, passez-les immédiatement sous l'eau glacée puis égouttez-les soigneusement.
Réglages
Cuisson vapeur
Température: 100°C
Temps de blanchiment : 1 minute
Faire suer des oignons
Les oignons sont cuits dans leur jus avec ou sans matière grasse.
Marche à suivre
Éminitez les oignons et mettez-les avec un peu de beurre dans un plat non perforé. - Couvrez votre plat de cuisson avec un couvercle ou un film plastique résistant à la vapeur et à des températures allant jusqu'à 100°C.
Réglages
Cuisson vapeur haute pression
Température: 120°C
Temps de cuisson : 2 minutes
Cuisson vapeur
Température: 100°C
Temps de cuisson : 4 minutes
Faire suer le lard
Évite au lard de noircir.
Marché à suivre
- Disposez le lard (en dés, allumettes ou tranches) dans un récipient non perforé.
- Couvrez votre plat de cuisson avec un couvercle ou un film plastique résistant à la vapeur et à des températures allant jusqu'à 100°C.
Réglages
Cuisson vapeur haute pression
Température: 120°C
Temps de cuisson : 2 minutes
Cuisson vapeur
Température: 100°C
Temps de cuisson : 4 minutes
Stériliser la vaisselle
Au terme de ce processus de stérilisation au four vapeur, vaisselle et biberons seront aussi stériles que si vous les aviez fait bouillir. Toutefois, vérifiez avant de commencer que toutes les pièces résistent bien à la vapeur et à des températures allant jusqu'à 100°C.
Démontez les différentes pièces du biberon et ne les remontez pas avant qu'elles soient complètement sèches. Vous évitez ainsi la prolifération de germes.
Marche à suivre
- Disposez toutes les pièces à stériliser dans un plat de cuisson perforé, de telle sorte qu'elles ne se touchent pas (couchées ou avec ouverture vers le bas). Chaque partie des pièces à stériliser bénéficiera ainsi des bienfaits de la vapeur. Glissez le plat de cuisson sur le niveau inférieur.
Réglages
Cuisson vapeur
Température: 100°C
Durée : 15 minutes
Marche à suivre
Humectez des serviettes éponge de petite taille et enroulez-les en serrant bien. - Disposez-les les unes à côté des autres dans un plat perforé.
Réglages
Cuisson vapeur
Température : 70 °C
Durée : 2 minutes
Marche à suivre
Dévissez un peu le couvercle et placez le pot de miel dans un plat perforé. Mélangez une fois en cours de processus.
Réglages
Cuisson vapeur
Température: 60°C
Temps de cuisson : 90 minutes (quelque soit la taille du pot de miel).
Marche à suivre
Mélangez 6 œufs et 375 ml de lait sans faire mousser. Assaisonnez ce mélange œufs et lait, base du flan salé, puis versez-le dans un plat non perforé préalablement beurré.
Réglages
Cuisson vapeur haute-pression
Température: 120°C
Durée : 2 minutes
Cuisson vapeur
Température: 100°C
Temps de cuisson : 4 minutes
Quand vous réceptionnez votre four vapeur, certains règles d'usine sont enregistrés. Consultez le tableau pour savoir quels règles sont modifiables.

Avec la touche, enclenchez la programmation

Sélectionnez le programme de votre choix à l'aide de la touche des températures ^+. Choisissez le statut que vous souhaitez à l'aide de la touche +. Appuyez sur la touche des modes de cuisson.
Le nouveau réglage est enregistré.
Le réglage d'usine s'affiche toujours en gras.
| Programme | Option | Réglages disponibles | |
| P1 | Volume du signal sonore | S0 | désactivé |
| S1 | très faible | ||
| S2 | faible | ||
| S3 | moyen | ||
| S4 | fort | ||
| P2 | Durée du signal sonore de fin de programme | S0 | un seul signal |
| S1 | Plusieurs signaux - intervalle court | ||
| S2 | Plusieurs signaux - intervalle long (5 mn) | ||
| P3 | Verrouillage automatique | S0 | impossible |
| S1 | possible | ||
| P4 | Programme affiché après mi-se en marche | S0 | Cuisson vapeur haute pression |
| S1 | Cuisson vapeur | ||
| S2 | Réchauffage | ||
| S3 | Décongélation | ||
| S4 | Dernier mode sélectionné | ||
| P5 | Dureté de l'eau | S1 | douce |
| S2 | moyenne | ||
| S3 | dure | ||
| S4 | très dure | ||
| P6 | Lieu d'installation | S0 | Altitude inférieure à 1000 m |
| S1 | Altitude supérieure à 1000 m | ||
| P7 | Modification de la températu-re | S0 | par paliers de 5° |
| S1 | par paliers de 1 °C Toutefois la températurependant la montée en température s'affi-che par paliers de 5 °C. | ||
| P8 | Mode démonstration et ré-glage d'usine | S0 | Mode démonstration activé |
| S1 | Mode démonstration désactivé | ||
| S9 | Restaurer les réglages d'usine | ||
Conseils de nettoyage et d'entretien
Risque de brûlures!
La vapeur du nettoyeur vapeur risquerait d'atteindre les éléments conducteurs de l'appareil et de provoquer un court-circuit.
N'utilisez surtout pas de nettoyeur vapeur pour nettoyer le four vapeur.
En cas d'utilisation de détergents non adaptés, l'aspect et la qualité des surfaces risquent de se décolorer ou de s'alterer. Utilisez exclusivement un produit vaisselle ménager.
Toutes les surfaces sont susceptibles de se rayer. Les surfaces en verre peuvent même se fissurer.
Enlevez immédiatement les restes de détergent sur les surfaces de l'appareil.
N'utilisez pas de détergents contenant des hydrocarbures aliphatiques. Ils pourraient faire gonfler les joints.
Laissez refroidir le four vapeur avant de le nettoyer.
Nettoyez et séchez le four vapeur et les accessoires après chaque utilisation. L'enceinte doit être complètement sèche quand vous refermez la porte du four vapeur.
Si vous prévoyez de ne pas utiliser le four vapeur pendant un certain temps, nettoyez-le bien pour éviter la formation de mauvaises odeurs, puis laissez la porte de l'appareil entrouverte.
Produits à ne pas utiliser
Pour éviter d'endommager les surfaces en les nettoyant, n'utilisez pas de:
- produit contenant de la soude, de l'ammoniaque, de l'acide ou du chlore,
- produit détartrant,
- produit abrasif tel que poudres et laits à récurer, pâtes de nettoyage,
- désinfectant contenant des solvants,
- produit spécial inox,
- nettoyant pour lave-vaisselle,
- produit vitres,
- détergent pour plans de cuisson en vitrocéramique,
- éponge avec tampon abrasif, brosses ou éponges contenant des restes de produit détergent,
- gomme de nettoyage,
- grattoir métallique,
- paille de fer,
- de spirale à récurer en inox.
- ustensile de nettoyage abrasif au même endroit et de manière répétée,
- décapant four en bombe.
Nettoyez la façade de l'appareil avec une éponge propre, un peu d'eau chaude et du produit vaisselle. Vous pouvez aussi utiliser un chiffon propre en microfibre, humide et sans aucun détergent. Séchez bien la façade après chaque nettoyage avec un chiffon doux.
Enceinte et tablette extractible
Retirez : - l'eau de condensation avec une éponge ou un chiffon doux, - les taches de graisse peu incrustées avec un chiffon doux et propre, du liquide vaisselle et de l'eau chaude. Rincez ensuite à l'eau claire.
Si vous utilisez de l'eau très calcaire et très minéralisée, des dépôts calcaires et des taches peuvent apparaître sur les parois de l'enceinte de cuisson et la tablette.
- Eliminez les dépôts calcaires et les décolorations avec le nettoyant spécial inox et vitrocéramique Miele (cf. chapitre "Accessoires en option"), avec du vinaigre blanc ou avec tout autre produit de détartrage à base d'acide citrique. Rincez toujours soigneusement après utilisation d'un détergent.
- Mettez le four vapeur en marche en utilisant le mode de cuisson 100° C pendant 5 minutes. Rincez ensuite la tablette à l'eau froide, puis séchez-la bien. Veillez bien à éliminer tous les résidus de produits.
Accessoires
Tous les accessoires vont au lave-vaisselle.
Plats de cuisson et tamis de fond
Nettoyez les plats de cuisson et le tamis de fond au lave-vaisselle ou avec une éponge, de l'eau chaude et du liquide vaisselle. - Éliminez les décolorations bleutées des plats de cuisson ainsi que les décolorations et les dépôts calcaires du tamis de fond avec le nettoyant spécial inox et vitrocéramique Miele (cf. chapitre "Accessoires en option"), avec du vinaigre blanc ou avec tout autre produit de détartrage à base d'acide citrique. - Après chaque nettoyage, rincez les plats de cuisson et le tamis de fond à l'eau claire pour éliminer tous les résidus de détergents.
Supports de gradins
Nettoyez les supports de gradins au lave-vaisselle ou avec une éponge, de l'eau chaude et du liquide vaisselle. - Eliminez les dépôts calcaires et les décolorations avec le nettoyant spécial inox et vitrocéramique Miele (cf. chapitre "Accessoires en option"), avec du vinaigre blanc ou avec tout autre produit de détartrage à base d'acide citrique. - Après chaque nettoyage, rincez les supports de gradins à l'eau claire pour éliminer tous les résidus de détergents.

Sortir les supports de gradins
- Desserrez suffisamment les vis de fixation ① pour pouvoir sortir les supports de gradins par l'avant. Il est impossible de dévisser entièrement les vis.
Remettre les supports de gradins en place
Posez les supports de gradins sur les vis de fixation desserrées en suivant le guidage ② qui se trouve au milieu de l'enceinte vers l'avant. Accrochez les anneaux des supports de gradins du milieu, tout au fond de l'enceinte du four, sur les chevilles ③ du fond. - Serrez de nouveau les vis de fixation ①.
Joint de porte / soupape de sûreté
- Remplacez le joint de porte et la soupape de sutureté sous les ans ou tous les 2 ans, selon la fréquence d'utilisation. Le joint et la soupape de sutureté sont disponibles en option (cf. chapitre "Accessoires en option").
Joint de porte
Nettoyez le joint de porte après chaque utilisation. Ne le lavez jamais au lave-vaisselle. Nettoyez-le à la main avec une éponge, un peu de liquide vaisselle et de l'eau chaude. Séchez le ensuite avec un chiffon doux. Après chaque nettoyage, séchez bien le joint de porte avec un chiffon doux.
Soupape de suture
Ouvrez la porte. Tirez sur la soupape de sûreté usagée à l'intérieur de la porte et retirez-la.

- Remettez la soupape de sûreté en place. Vérifiez que le joint en caoutchouc est inséré correctement.
Buse

Pendant la phase de refroidissement, de l'eau est pulvérisée dans l'enceinte du four par la buse située derrière la plaque de protection du support de gradin droit. Cette buse peut s'encrasser et s'entartrer en cas d'utilisation intensive.
Si le message d'erreur F13 s'affiche, c'est que la buse est entartrée.
- Attendez que plusieurs signaux sonores retentissent. Ouvrez la porte et sortez les aliments.
Risque de brûlures!
Attention en ouvrant la porte! La vapeur s'échappe en abondance et les aliments sont très chauds.
Ouvrez grand la porte pour laisser le four vapeur refroidir. Enlevez les supports de gradins (cf. chapitre "Nettoyage et entretien", "Supports de gradins"). Sortez la buse. Détartrez la buse avec le détartrant Miele ou avec un détartrant vendu dans le commerce.
- Après le détartrage, passez la buse sous l'eau.
Avant de remettre la buse, les conduits d'eau du four vapeur doivent être rinçés.
Fermez la porte de l'appareil, enclenchez le four vapeur puis enclenchez la cuisson vapeur à 100°C. Réglez une durée d'1 minute puis appuyez sur la touche Start/Stop. Une fois la phase de refroidissement terminée, ouvrez la porte puis remettez la buse et les supports de gradins en place.
Vous pouvez de nouveau vous servir du four vapeur.
Si le message d'anomalie F13 s'affiche de nouveau bien que vous ayez détartré la buse, appelez le service après.
Détartrage
Afin d’éviter d’abîmer votre four vapeur, utilisez exclusivement le détartrant Miele (cf. chapitre "Description de l’appareil - Accessoires fournis") pour détartrer l’appareil.
Si l'enceinte est chaude, des vapeurs toxiques se forment lorsque vous lancez le programme de détartrage.
Détartrez le four vapeur si l'enceinte est froide uniquement.
Le détartrant a un effet corrosif. Évitez tout contact avec la peau et n'en respirez pas les vapeurs. En cas de contact avec le produit, rincez immédiatement et abondamment à l'eau claire puis consultez aussitôt un médecin si des irritations apparaissent.
Rangez le détartrant hors de portée des enfants !
Refermez bien le bidon de détartrant avant de le ranger.
La solution de détartrage contient de l'acide.
La poignée de porte ou les panneaux métalliques peuvent être tachés s'ils sont éclaboussés avec la solution de détartrage.
Éliminez la solution de détartrage tout de suite.
Au bout d'un certain temps de fonctionnement, votre four vapeur signale qu'un détartrage va bientôt être nécessaire. Le nombre de cycles de cuisson qui reste avant le détartrage s'affiche à l'écran. Une fois le dernier cycle de cuisson terminé, le four vapeur se bloque.
Nous vous recommandons de détartrer le four vapeur avant son verrouillage.
Le seul moyen d'arrêter le processus de détartrage est d'arrêter le four vapeur. Dès que vous réenclenchez ce dernier après avoir interrompu le processus de détartrage, un processus de rinçage automatique démarre (cf. chapitre "En cas d'anomalie").
■ Attendez que le four vapeur ait refroidi.

Extrayez l'embout du piston de la seringue et posez-le sur le tube fin. ■ Allumez le four vapeur fermé à vide.
Le symbole , le mode Détartrage et un chiffre apparaisent dans la zone d'affichage des modes de cuisson / de la température.
Appuyez sur la touche Start/Stop.
Dans la zone d'affichage des modes d'utilisation et de la température, E00 apparaît et sur la gauche, le symbole ainsi que celui du détartrage .
Le four vapeur vidange. Une fois la vidange terminée, E01 s'affiche dans la zone d'affichage des modes d'utilisation et de la température.

- Remplissez la seringue fournie avec de l'eau, enfoncez la pointe de la seringue dans l'orifice qui se trouve en haut à gauche de la façade puis videez complètement la seringue en appuyant doucement et sans coups sur le piston. Vous devez tenir la seringue bien droite.
- Versez 300 ml de détartrant dans un récipient résistant à l'acide (exemple : verre ou porcelaine).
- Remplissez la seringue de détartrant puis videz-la à travers l'orifice de replissage.
- Remplissez la seringue d'eau puis videz deux seringues pleines à travers l'orifice de replissage.
Un signal retentit et E02 apparaît dans la zone d'affichage du mode d'utilisation et de la température. Le programme de détartrage est en cours de préparation.
En l'absence de signal sonore, ne rajoutez surtout pas d'eau! Attendez 5 minutes puis si le signal ne se fait toujours pas entendre, arrêtez le four vapeur puis réenclenchez-le (cf. chapitre "En cas d'anomalie").
Une fois la préparation achevée, un signal se fait entendre et E03 apparaît dans la zone d'affichage des modes d'utilisation / de la température.
- Remplissez la seringue de détartrant puis injectez deux seringues pleines à travers l'orifice de remplissage.
- Remplissez la seringue d'eau puis videz deux seringues pleines à travers l'orifice de remplissage.
Un signal se fait entendre puis E04 apparait dans la zone d'affichage des modes d'utilisation / de la température. La durée du détartrage, de 30 minutes, s'affiche aussi à l'écran. Cette durée n'est pas modifiable.
Le détartrage démarre. Les opérations de vidange et de rincage en fin de détartrage sont signalées par un signal sonore et par les codes E05 à E07.
Dès que le détartrage est terminé, un signal se fait entendre puis E08 s'affiche à l'écran. Dans la zone d'affichage de l'heure, 000 s'affiche et le symbole se met à clignoter.
Après le détartrage
Sortez la tablette extractible. Ouvrez la porte. - Arrêtez le four vapeur. Nettoyez l’enceinte avec du liquide vaisselle ou de l’eau vinaigrée. Séchez ensuite soigneusement l’intérieur de la porte et l’enceinte du four vapeur. - Séchez l’orifice de remplissage du détartrant afin d’éviter que des dépôts s’incrustent puis remettez le cache. L’enceinte doit être complètement sèche quand vous refermez la porte du four vapeur. - Pensez à fermer le robinet d’arrivée d’eau afin de prévenir un éventuel dégât des eaux. Repoussez la tablette extractible. Transvasez les éventuels résidus de détartrant dans le bidon. Le plus simple est d’aspirer le détartrant à travers la seringue puis de presser le contenu de cette dernière dans le bidon. Nettoyez soigneusement le récipient utilisé.
Vous pouvez résoudre par vous-même la plupart des problèmes susceptibles de survenir dans le cadre d'une utilisation domestique. Les tableaux ci-dessous vous y aideront.
Si vous ne parvenez pas à déterminer ou à résoudre la cause d'un problème, adressez-vous au service après-vente.
Risque de blessures ! Seul un professionnel agréé par Miele est habilité à effectuer des interventions techniques sur les appareils électroménagers. N'ouvre jamais la carrosserie de la table de cuisson ! Une installation ou une réparation non conforme peut faire courir un danger considérable à l'utilisateur. Miele décline toute responsabilité en cas d'installation ou de réparation non conforme.
| Problème | Cause et solution |
| Appareil impossible àmettre en marche | Le ou les fusible(s) ont sauté. ■ Activez le fusible (protection par fusibles minimum,voir plaque signalétique). |
| Il doit y avoir un problème technique. ■ Débranchez l'appareil du réseau électrique pen-dant 1 minute environ en: - basculant l'interrupteur du fusible correspondant sur "Arrêt" - arrêtant le disjoncteur de différentiel ■ Si après avoir remis en place le fusible ou le dis-joncteur de différentiel, vous ne parvenez toujourspas àMETRE le four vapeur en marche, adresse-vous à un électricien professionnel ou au serviceaprès-vente. | |
| Après la mise en mar-che du four vapeur, "deM" apparait brièvement dans l'affichage du mode d'utilisa-tion / de la températureet le four vapeur nechauffe pas. | Le mode démonstration est activé. ■ Désactivez le mode démonstration (cf. chapitre"Réglages"). |
| Il se peut que vous en-tendiez un bruit sourd au moment de la mise en marche ou de l'arrêt du four vapeur ou pen-dant qu'il fonctionne. | Ce n'est ni un dysfonctionnement ni une anomalie. Il s'agit en fait du bruit du pompage de l'eau. |
| Une fois l'appareil en marche, un signal sono-re en continu se fait en-tendre et le message door apparait dans la zone d'affichage de l'heure. | La porte de l'appareil n'est pas fermée. Refermez la porte de l'appareil. |
| De l'eau s'accumule sur le couvercle. | Il ne s'agit pas d'une anomalie. A partir d'une certaine température, la vapeur s'évacue pour réguler la pression, se condense à l'intérieur du couvercle à double paroi puis s'évacue vers la charnière de porte. |
| Dans la zone d'afficha-ge des modes d'utilisation et de la température, le symbole du détar-trage ≈ et 00 apparais-sent et sur la gauche, le symbole ≈ qui est accompagné d'un signal sonore. | Le four vapeur doit être détartré. Détartrez le four vapeur (cf. chapitre "Nettoyage et entretien", "Détartrage"). |
| Après la mise en mar-che du four vapeur, ≈ et E04 apparaisSENT dans la zone d'afficha-ge des modes d'utilisa-tion / de la température et 0:05 dans la zone d'affichage de l'heure. | Le programme de détartrage a été interrompu suite à une panne de courant ou à un arrêt de l'appareil. Lors de la réactivation du four vapeur, un cycle de rincage démarre automatiquement pour éliminer toute trace de détartrant. Ce processus ne peut pas être inter-rompu. Attendez jusqu'à ce que vous entendiez plusieurs signaux sonores et que le symbole ≈ se mette à clignoter dans la zone d'affichage de la durée. Vous pouvez soit redémarrer le détartrage soit sélectionner un mode d'utilisation. |
| Une coupure de courant se produit en cours de cuisson et vous souhai-tes sorting les alimentés du four vapeur. | Attention ! Le four vapeur risque d'être très chaud. Il est sous-pression !Sortez la tablette extractible.Sortez la tablette extractible. Pour réduire la pres-sion et la vapeur de l'enceinte, faites glisser le dis-positif de verrouillage de la porte vers l'avant avec le fouce, en procédant tout doucement et peu à peu attention ! La vapeur s'échappe par le dessus et le dessous de la porte.Soyez prudent lorsque vous ouvrez la porte. Vous risquez de vous ébouillanter au contact de l'eau chaude ! |
| Soudain, de la vapeur s'échappe par la porte de l'appareil. | La vanne de sécurité s'est déclenchée.Effectuez les opérations décrites au chapitre "Dis-positifs de sécurité, "Vanne de sécurité". |
| Le dispositif de sécurité contre la suppression s'est déclenché.Effectuez les opérations décrites au chapitre "Dis-positifs de sécurité contre la surpression", "Vanne de sécurité". | |
| Le joint de porte en caoutchouc est mal posé ou est abîné (ex. : fissures).Posez le joint correctement ou remplacez-le. | |
| F... | Valable pour tous les messages d'erreur :Pour ouvrir l'enceinte, il faut attendre que-le message d'anomalie clignote en alternance avec la température configurée,- le symbole clignote dans la zone d'affichage de la durée,- l'advertissement sonore s'accête.Si les messages d'erreur continuent de s'afficher sans clignoter, cela signifie que l'anomalie n'est pas encore résolue. |
| F05 | La sonde de température est défectueuse.Eteignez le four vapeur et demandez conseil au service après-vente. |
| F12 ① | L'eau ne s'écoule plus dans le four vapeur Le robinet d'arrivée d'eau est fermé. ■ Ouvrez le robinet d'arrivée d'eau puis remettez l'appareil en marche. |
| Le tuyau d'arrivée d'eau est défectueux. ■ Eteignez le four vapeur, fermez le robinet d'arrivée d'eau puis appelez le service après-vente. | |
| Le filtrtre dans le tuyau d'arrivée d'eau est bouché. ■ Nettoyez le filtrtre. ■ Si vous ne parvenez pas à résoudre l'anomalie, arrétez le four vapeur et appelez l'insealleur (eau) ou le service après-vente. | |
| F13 | La température de l'enceinte est trop élevé car le four vapeur n'a pas suffisamment refroidi pendant la phase de refroidissement. Il y a trop d'aliments dans l'enceinte. La préparation de très grandes quantités d'aliments influence le refroidissement de l'enceinte. Le robinet d'arrivée d'eau n'est pas ouvert à fond. ■ Ouvrez le robinet d'eau à fond puis remettez l'appareil en marche. |
| La buse au fond de l'enceinte est entartrée ■ Procédez au détartrage de la buse (cf. chapitre "Nettoyage et entretien," "Buse"). | |
| F14 ② | Une quantité d'eau insuffisante entre dans le générateur de vapeur. ■ Arrêtez le four vapeur puis rallumez-le. ■ Si le message d'erreur s'affiche de nouveau, éteignez le four vapeur et demandez conseil au service après-vente. |
| F20 | La protection anti-surchauffe s'est enclenchée. ■ Effectuez les opérations décrites au chapitre "Dispositifs de sécurité", "Protection contre la surchauffe". |
| F27 | L'alimentation électrique a été interrompue alors que l'appareil fonctionnait. ■ Vérifiez le degré de cuisson des alimentents, entrez un nouveau temps de cuisson puis appuyez sur la touche Start/Stop pour continuer le cycle de cuisson. |
| F40 | Contrôle automatique de l'électronique : il y a un problème. ■ Eteignez le four vapeur et demandez conseil au service après-vente. |
| F83 | Le réglage de la température ne fonctionne pas bien. La température de l'enceinte dépasse les 125 °C, d'où un arrêt du processus de cuisson et l'activation automatique de la phase de refroidissement. ■ Une fois la phase de refroidissement terminée, éteignez le four vapeur et demandez conseil au service après-vente. |
| F93 | Il est impossible d'éteindre le four vapeur. ■ Contactez le service après-vente. |
| F94 | La vanne d'arrivée d'eau n'est pas étanché. ■ Eteignez le four vapeur, fermez le robinet d'arrivée d'eau puis appelez le service après-vente. |
| F95 | Une anomalie s'est produit dans le circuit d'eau à l'intérieur du four vapeur. ■ Lorsque F95 et la température programmée cli-gnotent en alternance, appuyez sur la touche Start/Stop. ■ Si le message d'anomalie F95 s'affiche plusieurs fois de suite, éteignez le four vapeur, fermez le ro-binet d'arrivée d'eau puis appelez le service après-vente. |
| F et autres chiffres | Problème technique ■ Eteignez le four vapeur et demandez conseil au service après-vente. |
Miele propose une large gamme d'accessoires Miele parfaitement adaptés à l'entretien et au nettoyage de vos appareils.
Pour les commander, il vous suffit de vous rendre sur la boutique en ligne Miele :

Vous pouvez aussi vous procurer ces produits auprès du service après-vente Miele (voir à la fin de ce mode d'emploi) ou chez votre revendeur Miele.
Plats de cuisson
Veuillez choisir entre une multitude de plats perforés et non perforés de tailles différentes
DGGL 1
Plat perforé
Contenance 1,5 l / Capacité utile 0,9 l 325 × 175 × 40 ~mm (l × P × H)
DGG2
Plat non perforé
325 × 175 × 65 mm( I × P × H)
DGGL 5
Plat perforé
325 × 175 × 65 mm( I × P × H)

Plat perforé
Contenance 4,0 I /Capacité utile 2,8 I
325 × 175 × 100 mm( I × P × H)
DGG7

Plat non perforé
Contenance 4,0 I / Capacité utile 2,8 I
325 × 175 × 100 mm( I × P × H)
DGG 9

Plat non perforé
Contenance 5,7 I / Capacité utile 4,2 I
325 × 175 × 150 mm( I × P × H)

Plat perforé
Contenance 5,7 I /Capacité utile 4,2 I
325 × 175 × 100 mm( I × P × H)
DGD 1/3

Couvercle pour plateau de cuisson 325 × 175 mm
Plateau de support

Pour poser votre propre vaisselle
Détartrant

Produit spécifique conçu pour le détartrage du four vapeur haute pression

Produit nettoyant pour vitrocéramique et acier inoxydable, 250 ml

Pour détacher les plats de cuisson
Chiffon microfibre

Pour enlever les empreintes de doigts et les salissures légères
Disques en silicone

Dispositif de sécurité contre la suppression
Kit avec joint de porte et soupape de sûreté

Le joint ① et la soupape de sûreté ② doivent être remplacés tous les ans ou tous les 2 ans, selon la fréquence d'utilisation du four vapeur. Remplacez les deux pièces en même temps.
Une installation non conforme risque de provoquer des dommages corporels et matériels. Afin d'évacuer les dépôts eventuels présents dans le conduit d'eau comme au niveau du robinet d'arrêt, rincez soigneusement le conduit d'alimentation d'eau avant de raccorder votre appareil ou après toute intervention sur les conduits. Le four vapeur peut être encastré dans un meuble haut uniquement. Ce four vapeur doit être posé suffisamment haut afin que les enfants ne puissent pas toucher la porte qui peut être brûlante. Le milieu de l'appareil ne doit pas se couvrir plus haut que le niveau des yeux de l'utilisateur afin que ce dernier voie l'intérieur des récipients et puisse les sortir sans risquer de se brûler en renversant leur contenu. La distance entre le sol et le bord inférieur de l'appareil ne doit pas dépasser 1,40 mètre (cf. chapitre "Instructions de montage", "Hauteur d'encastrement"). Ce four vapeur ne doit pas être utilisé sur des engins en mouvement. Les travaux d'installation doivent être effectués exclusivement par un professionnel, qui respecte les prescriptions de sécurité en vigueur. Les branchements doivent être effectués par une entreprise spécialisée/agréée par la Compagnie distributrice d'énergie conformément aux directives spécifiques du lieu d'installation. Le robinet d'arrivée d'eau du four à vapeur doit rester accessible. Afin que les eaux usées s'écoulent entièrement, le siphon de vidange ne doit pas être situé plus haut que le raccord d'évacuation de l'eau. La température de l'eau qui s'évacue est de 80 à 90 °C environ.
Consignes de sécurité pour le montage
L'installation des tuyaux et câbles de raccordement doit permettre de sortir le four vapeur rapidement en cas d'intervention du service après-vente.
Toutes les dimensions sont indiquées en mm.
Effectuer une découverte pour les tuyaux d'arrivée et d'évacuation de l'eau
Prévoyez les découvertes nécessaires dans la tablette du milieu du meuble d’encastrement pour ne pas abimer les tuyaux d’arrivée d’eau et les tuyaux de vidange. Dans le cas contraire, les tuyaux pourraient être endommagés et un dégât des eaux pourrait survenir.

Découpe dans la tablette du milieu pour les tuyaux d'arrivée et d'évacuation de l'eau. Pour poser les tuyaux d'arrivée de l'eau et de vidange, vous devez prévoir une ouverture ① (voir les dimensions sur le croquis).
Hauteur d'encastrement

Respectez les dimensions indiquées au tableau.
DGD 4635 (niche d'encastrement de 380 mm)

① Découpe dans la tablette du milieu pour les tuyaux d'arrivée et d'évacuation de l'eau ② Emplacement prevu pour le boitier de raccordement au secteur 250× 80mm Raccordement au reseau L = 2000m ③ Robinet d'arrêt (raccordement à l'eau froide) ④ Tuyau d'arrivée d'eau
- Façade en verre / Façade en métal
⑤ Siphon distinct ⑥ Ne pas raccorder le tuyau de vidange à cet endroit! Voir chapitre "Raccordements à l'eau - Conseils de vidange" ⑦ Tuyau de vidange Il ne doit pas y avoir plus de 50 centimètres entre l'extrémité ascendante du tuyau de vidange et l'entrée de ce dernier dans le siphon!
DGD 4635 (niche d'encastrement de 450 mm)

① Découpe dans la tablette du milieu pour les tuyaux d'arrivée et d'évacuation de l'eau ② Emplacement prévu pour le boîtier de raccordement au secteur 250 × 80 ~mm Raccordement au réseau L = 2000 ~m ③ Robinet d'arrêt (raccordement eau froide) ④ Tuyau d'arrivée d'eau
⑤ Siphon distinct ⑥ Ne pas raccorder le tuyau de vidange à cet endroit! Voir chapitre "Raccordements à l'eau - Conseils de vidange" ⑦ Tuyau de vidange Il ne doit pas y avoir plus de 50 centimètres entre l'extrémité ascendante du tuyau de vidange et l'entrée de ce dernier dans le siphon! (9) Panneau d'équilibrage AB 45-7
DGD 6635 (niche d'encastrement de 380 mm)

① Découpe dans la tablette du milieu pour les tuyaux d'arrivée et d'évacuation de l'eau ② Emplacement prevu pour le boitier de raccordement au secteur 250× 80mm Raccordement au reseau L = 2000m ③ Robinet d'arrêt (raccordement à l'eau froide) ④ Tuyau d'arrivée d'eau
- Façade en verre / Façade en métal
⑤ Siphon distinct. 6 Ne pas raccorder le tuyau de vidange à cet endroit! Voir chapitre "Raccordements à l'eau - Conseils de vidange". ⑦ Tuyau de vidange. Il ne doit pas y avoir plus de 50 centimètres entre l'extrémité ascendante du tuyau de vidange et l'entrée de ce dernier dans le siphon!
DGD 6605 / DGD 6635 (niche d'encastrement de 450 mm)

① Découpe dans la tablette du milieu pour les tuyaux d'arrivée et d'évacuation de l'eau ② Emplacement prévu pour le boîtier de raccordement au secteur 250× 80mm Raccordement au réseau L = 2000m ③ Robinet d'arrêt (raccordement à l'eau froide) ④ Tuyau d'arrivée d'eau
⑤ Siphon distinct ⑥ Ne pas raccorder le tuyau de vidange à cet endroit ! Voir chapitre "Raccordements à l'eau - Conseils de vidange" ⑦ Tuyau de vidange Il ne doit pas y avoir plus de 50 centimètres entre l'extrémité ascendante du tuyau de vidange et l'entrée de ce dernier dans le siphon! ⑨ Panneau d'équilibrage AB 45-7
Avant d'encastrer et de brancher le four vapeur, lisez impérativement le chapitre "Raccordements à l'eau". Eteignez le four (cf. chapitre "Raccordement électrique").

Fixez le panneau d’équilibrage au four vapeur à l’aide des quatre vis CM 4x10 fournies (voir croquis). Faites passer le tuyau d’arrivée d’eau et le tuyau de vidange par la découpe effectuée dans la tablette du milieu. Placez le four vapeur dans la niche puis ajustez sa position. Attention à ne pas coincer le câble d’alimentation et les tuyaux d’eau! Vérifiez qu’ils ne sont pas abîmés.

Fixez le côté gauche et le côté droit du four vapeur aux parois latérales du meuble d'encastrement à l'aide des vis fournies (voir croquis). Raccordez le four vapeur à l'arrivée d'eau et à la vidange. - Branchez votre four vapeur au réseau électrique. Rallumez l'appareil (cf. chapitre "Raccordement électrique"). Avant la mise en service de l'appareil, contrôlez l'étanchéité des tuyaux au niveau des raccords de vissage. Vérifiez à l'aide du mode d'emploi que toutes les fonctions du four vapeur sont en état de marche.
L'installation des tuyaux et câbles de raccordement doit permettre de sortir le four vapeur rapidement en cas d'intervention du service après-vente.
Avant de raccorder votre appareil, vérifie que les tuyaux d'arrivée et de vidange ne présentent aucun dommage.
Caractéristiques techniques des tuyaux
- Tuyau d'arrivée d'eau en inox Longueur 1 500 mm (1,5 m) Ø 12,5 mm Raccordement au robinet d'arrêt / four à vapeur Ø 33,5 mm chacun Tuyau de vidange en plastique Longueur 2 500 mm (2,5 m) Ø 30 mm Raccordement au siphon Ø interieur 21 mm
Si vous installez les tuyaux d'arrivée et de vidange de l'eau dans des tubes vides, prévoyez des tubes d'au moins 50 mm de diamètre.
Remarques sur l'arrivée d'eau
Une installation non conforme risque de provoquer des dommages corporels et matériels.
Les raccordements à l'eau doivent être effectués par des spécialistes qualifiés uniquement.
En cas d'installation d'un adoucisseur en amont, vérifie que la conductivité électrique de l'eau reste la même.
Tous les appareils et dispositifs qui servent à alimenter le four vapeur en eau doivent être conformes aux prescriptions en vigueur dans le pays d'utilisation de l'appareil.
Le four vapeur doit être raccordé à l'eau froide uniquement.
La pression de raccordement de l'eau doit être comprise entre 100 kPa (1 bar) et 600 kPa (6 bar). Si la pression est supérieure à 600 kPa (6 bar), l'installation d'un réducteur de pression est indispensable.
Ne raccourcissez pas le tuyau métallique d'arrivée d'eau livré avec votre appareil.
Des vieux tuyaux ou des tuyaux déjà utilisés ne peuvent être raccordés au four à vapeur.
Avant de raccorder votre four à vapeur et après toute intervention sur le conduit d'arrivée d'eau, rincez soignement le dernier pour en évacuer tous les dépôts.
- Vous n'aurez pas besoin d'un clapet anti-retour ; le four vapeur répond aux exigences des normes IEC 61770 et EN 61770.
- La qualité de l'eau doit être conforme à la législation en vigueur dans le pays d'utilisation du four vapeur.
- Le tuyau d'arrivée d'eau doit être raccordé à la conduite d'arrivée d'eau potable avec un robinet d'arrêt avec un raccord filtré 3/4 pouces. Si vous ne disposez pas d'un tel robinet, faites-le monter impérativement par un installateur/agréé.
- Le robinet d'arrivée d'eau doit rester accessible une fois le four vapeur encastré.
- Nous conseillons d'utiliser uniquement des tuyaux d'origine Miele.
Raccordement à l'arrivée d'eau
Dommages corporels provoqués par un choc électrique !
Débranchez votre four vapeur avant de procéder au raccordement à l'arrivée d'eau!
Débranchez le four à vapeur du réseau électrique. Raccordez le tuyau en inox au robinet d'arrêt.
Vérifiez que les vissages sont serrés et étanches.
Les raccords filetés sont sous pression. Vous devez contrôler l'étanchéité du raccordement en ouvrant lentement le robinet. Modifiez éventuellement la position du joint et du raccord filtré.
Conseils de vidange
Une installation non conforme risque de provoquer des dommages corporels et matériels.
Afin d'éviter les brûlures causées par la vapeur chaude montante, le tuyau de vidange ne peut être raccordé au raccordement du lave-vaiselle (cf. chapitre "Cotes d'encastrement", "Croquis position 6").
Pour garantir une évacuation complète des eaux usées, le siphon d'écoulement ne peut être placé à une hauteur plus élevée que le raccordement des eaux usées du four vapeur.
Il ne doit pas y avoir plus de 50 centimètres entre l'extrémité ascendante du tuyau de vidange et l'entrée de ce dernier dans le siphon !
Ne raccourcir pas le tuyau de vidange. L'installer avec voire appareil.
La vidange peut être raccordée à un siphon encastré ou apparent avec raccordement au tuyau fixe.
La température de l'eau de vidange est comprise entre 80 et 90°C.
Nous conseillons d'utiliser uniquement des tuyaux d'origine Miele.
Raccordement à la vidange
Raccordez le tuyau de vidange sur le siphon séparé avec la douille porte-tuyau (Ø 21 mm) (cf. chapitre "Cotes d'encastrement" - "Croquis position ⑤"). Fixez le tuyau de vidange avec le collier de serrage.
Risque de blessure!
Miele décline toute responsabilité en cas d'installation ou de réparation non conforme pouvant entraîner de graves dangers pour l'utilisateur.
Miele ne saurait être tenue responsable suite à des dommages liés à des travaux d'installation, d'entretien ou de réparation incorrects ou une mise à la terre manquante ou défectueuse (ex. : décharge électrique).
Seul un Electricien professionnel respectant les normes en vigueur de la compagnie d'électricité du pays d'utilisation est habilité à installer ce four vapeur.
La protection contre les contacts accidentels des pièces isolées en fonctionnement doit être assurée après le montage.
Puissance totale
Voir plaque signalétique
Raccordement
AC 230 V, 50 Hz
Vous trouverez les données de raccordement sur la plaque signalétique. Ces valeurs doivent correspondre à celles du réseau.
Consultez le schéma électrique afin de connaître les possibilités de raccordement.
Disjoncteur différentiel
Pour plus de sécurité, nous recommandons de monter un disjoncteur différentiel avec courant de déclenchement à 30 mA en avant du four vapeur.
Disjoncteurs
Le four vapeur doit pouvoir être déconnecté du réseau par des disjoncteurs multipolaires (distance minimale entre les contacts de 3 mm). Les disjoncteurs sont des dispositifs de protection contre les surintensités.
Mise hors tension
Dommages corporels provoqués par un choc électrique!
Après déconnexion du disjoncteur, prenez les précautions nécessaires pour éviter une remise sous tension accidentelle.
Si le four vapeur doit être mis hors tension, procédez de la façon suivante (selon le type de réseau) :
Fusibles
Sortez entièrement les fusibles des porte-fusibles.
Fusibles à réarmement
Appuyez sur le bouton de test (rouge) jusqu'à ce que le bouton du milieu (noir) se déclenche.
Fusibles à réarmement automatique
(levier du disjoncteur de protection, min. de type B ou C!)
- Basculez le levier de 1 (marche) à 0 (arrêt).
Disjoncteur différentiel
(Disjoncteur de protection pour courant résiduel)
- Commutez l'interrupteur principal de 1 (Marche) à 0 (Arrêt) ou actionnez la touche de contrôle.
Câble d'alimentation électrique
Le four vapeur doit être raccordé conformément au schéma électrique, avec un cordon d'alimentation de type H 05 VV-F (isolation PVC) de la section appropriée.
Consultez le schéma électrique pour connaître les possibilités de raccordement.
La plaque signalétique vous indique la tension admissible pour votre four à vapeur et la puissance de raccordement correspondante.
Remplacement du câble d'alimentation
Dommages corporels provoqués par un choc électrique!
Le câble d'alimentation doit impérativement être installé par un électricien qui connaît et respecte les prescriptions nationales et recommandations de la Compagnie distributrice d'électricité.
La terre doit être visée à la borne indiquée par ½.
Si vous remplacez le câble d'alimentation, CHOISSEZ un câble special de type H 05 VV-F (isolation PVC) disponible chez le fabricant ou auprès du service après-vente.
Les caractéristiques de branchement obligatoires figurent sur la plaque signalétique.

Service après vente
En cas de pannes auxquelles vous ne pouvez remédier vous-même, contactez :
-votrerevendeurMiele
- le service après-vente Miele.
Vous trouverez le numéro de téléphone du service après-vente au dos de ce mode d'emploi et ses instructions de montage.
Veuillez indiquer le modèle et la référence de votre appareil.
Plaque signalétique
Colliez la fiche signalétique dans l'encadré ci-dessous après avoir vérifié que la référence de votre appareil coincide avec celle indiquée en couverture.
Conditions et durée de garantie
La garantie est accordée pour cet appareil selon les modalités de vente par le revendeur ou par Miele pour une période de 24 mois.
Pour plus d'informations, reportez-vous aux conditions de garantie fournies.
Siège social
9 avenue Albert Einstein - Z.I. du Coudray
93151 - Le blanc-mesnil CEDEX
R. C. S. Bobigny B 708 203 088
Miele center paris
55 Boulevard Malesherbes
75008 Paris
Miele center nice
Secteur Cap 3000
285 avenue de Verdun
06700 Saint-Laurent-du-Var

Internet
www. miele. fr

La ligne Consommateurs
Conseils, SAV, accessoires et pièces détachées
0974501000
Appel non surtaxé
Notice Facile