TM 3008 T TDF - Table de cuisson ARTHUR MARTIN - Notice d'utilisation et mode d'emploi gratuit
Retrouvez gratuitement la notice de l'appareil TM 3008 T TDF ARTHUR MARTIN au format PDF.
| Type de produit | Table de cuisson à induction |
| Nombre de foyers | 4 foyers à induction |
| Alimentation électrique | 230 V / 50 Hz |
| Dimensions approximatives | 60 cm x 52 cm x 5 cm |
| Poids | 10 kg |
| Puissance totale | 7400 W |
| Fonctions principales | Boost, minuterie, détection de casserole |
| Entretien et nettoyage | Surface en verre facile à nettoyer |
| Pièces détachées et réparabilité | Disponibilité des pièces détachées à vérifier auprès du fabricant |
| Sécurité | Arrêt automatique, sécurité enfants |
| Compatibilités | Compatible avec les ustensiles de cuisson induction |
| Garantie | 2 ans |
FOIRE AUX QUESTIONS - TM 3008 T TDF ARTHUR MARTIN
Questions des utilisateurs sur TM 3008 T TDF ARTHUR MARTIN
0 question sur cet appareil. Repondez a celles que vous connaissez ou posez la votre.
Poser une nouvelle question sur cet appareil
Téléchargez la notice de votre Table de cuisson au format PDF gratuitement ! Retrouvez votre notice TM 3008 T TDF - ARTHUR MARTIN et reprennez votre appareil électronique en main. Sur cette page sont publiés tous les documents nécessaires à l'utilisation de votre appareil TM 3008 T TDF de la marque ARTHUR MARTIN.
MODE D'EMPLOI TM 3008 T TDF ARTHUR MARTIN
Avertissements importants
Conservez cette notice d'utilisation avec votre apparéil. Si l' apparéil avait été vendu ou cédé à une autre personne, assurez-vous que la notice d'utilisation l'accompagne. Le nouvel utilisateur pourra alors être informé du fonctionnement de celui-ci et des avertissements s'y rapportant.
Ces avertissements ont ete redigés pour voiesecurite et celle d'autrui.
Utilisation
- Cet apparéil a été créé pour être utilisé par des femmes. Veillez à ce que les enfants n'y touchent pas et ne l'utilisent pas comme un jouet.
- A la réception de l'appareil, déballez-le ou faites-le déballer immédiatement. Vérifiéz son aspect général. Faites les éventuelles réserves par écrit sur le bon de livraison ou sur le bon d'enlèvement dont vous garderez un exemplaire.
- Voiture apparéil est destiné à un usage domestique normal. Ne l'utilise pas à des fins commerciales ou industrielles ou pour d'autres buts que celui pour lequel il a été créé.
- Ne modifiez pas ou n'essayez pas de modifier les caractéristiques de cet apparéil. Cela représentait un danger pour vous.
- Avant d'utiliser votre apparéil, assurez-vous qu'il a été correctement raccordé pour le type de gaz distribué.
- Tenez les enfants à distancependant le fonctionnement: la table de cuisson et les recipients s'échauffent et peuvent rester chauds longtemps après l'arrêt de l'appareil.
- Baissez ou éteignez toujours la flamme d'un brûleur avant dePTRirer un récipient.
- N'utilisez jamais votre table à vide (sans récipient dessus).
Assurez-vous que les manettes sont toujours en position arrêt | lorsque l'appareil n'est pas utilisé. - N'utilise pas de recipients instables ou déformés : ils peuvent se renverser et provoquer un accident.
- Les réparations ne doivent être effectuées que par un service après vente qualifiée. Une réparation non conforme peut-être la cause de graves dommages.
- Ne conservez pas à proximé de l'appareil des produits inflammables sensibles aux températures (exemples : produits de nettoyage, bombe aerosols, ...)
- Aussurez-vous que les enfants ne manipulent pas commandes.
- Ne laissez rien sur la table de cuisson. Une mise en fonctionnement accidentelle pourrait provoquer un incendie.
- Si vous utilisez un apparéil électrique à proximité de votre table de cuisson, veillez a ce que le cable d'alimentation de cet apparéil électrique ne soit pas en contact avec la surface chaude de la table.
-
Surveillez attentivement la cuisson lors de friture dans l'huile ou la graisse.
-
Evitez tout courant d'air. Si un brûleur ne présente pas une flamme régulière, nettoyez-le soigneusement. Si l'inconvénient subsiste, faites appel au service après-venture.
- Si la table est équipée d'un couvercle, nettoyez-le soigneusement et ne le fermez qu'après que les brûleurs ont refroidi.
- Nettoyez l'appareil après chaque utilisation : vous prolongerez ainsi sa durée de vie et vous évitezrez un mauvais fonctionnement des brûleurs et des bougies d'allumage.
- Avant tout nettoyage ou intervention technique, assurez-vous que l'appareil est débranché électriquement et complètement refroidi.
Installation
- Les opérations d'installation et de branchement doivent être effectuées par un personnel qualifié et suivant les normes en vigueur.
- Si l'installation électrique de votre habitation nécessite une modification pour le branchement de votre apparéil, faites appel à un électricien qualifié.
Assurez-vous que l'appareil est installé dans une piece correctement aérée : une mauvaise ventilation peut entraîner un manque d'oxygène. Consultez un installer qualifié ou adressez-vous à la compétie de distribution du gaz de votre région. - Cette table est consque pour fonctionner en 230V monophasé. Un évientuel branchement polyphasé sans neutre (400V) peut provoquer la destruction des foyers.

Protection de l'environnement
Tous les matériaux marqués par le symbole sont recyclables. Déposez-les dans une déchetterie prévue à cet effet (renseignez-vous auprès des services de votre commune) pour qu'ils puissant être récapurées et recyclées.
En cas d'anomalie de fonctionnement, le vendeur de votre apparéil est le premier habilité à intervenir. A défaut (déménagement de votre part, fermeture du magasin où vous avez effectué l'achat ...), veuillez consultez l'Assistance Technique Consommateurs qui vous communiquera alors l'adresse d'un ServiceAprès Vente.
En cas d'intervention sur l'appareil, exigez du service après vente les pieces de rechange certifiées Constructeur.

Veuillez dire attentivement ces remarques avant d'insteller et d'utiliser votre apparéil. Nous déclinons toute responsabilité en cas de dommages ou d'accident provoqués par l' apparéil du fait du non-respect de ces averissements.
Sommaire
A l'attention de l'utilisateur
Avertissements importants 2
Description de l'appareil 4
Utilisation de votre table de cuisson 5
Conseils d'utilisation 6
Entretien et nettoyage 7
Conditions de garantie 8
Plaque signalétique 8
Service après Vente 8
A l'attention de l'insealleur
Caracteristiques techniques 9
Installation 10
Emplacement 10
Raccordement Gaz 10
Branchement Electrique 11
Adaptation des brûleurs au gaz utilisé .... 12
Remplacement des Injecteurs 12
Réglagedu ralenti 12
Encastrement 13
Comment dire votre notice d'utilisation?
Les symboles suivants vous guideront tout au long de
la lecture de votre notice:

Instructions de sécurité

Descriptions d'opérations

Conseils et recommendations

Informations sur l'environnement
Description de l'appareil
Modèle TG 4008

1 Brûleur auxiliaire
2 Brûleur rapide
3 Brûleur semi-rapide
4 Brûleur semi-rapide
5 Manettes de commande des brûleurs
Modèle TM 3008

1 Brûleur auxiliaire
2 Brûleur rapide
3 Plaque electrolyque
4 Brûleur semi-rapide
5 Manette de commande de la plaque électrique
6 Manettes de commande des brûleurs
7 Voyant de fonctionnement de la plaque
Utilisation de votre table de cuisson
Les commandes
Les manettes qui commandent les brûleurs sont dotées de 3 positions principales d'utilisation :
Position arrêt
☆ = Débit maximum et allumage automatique
Debit minimum
L'allumage des brûleurs
Chaque brûleurs est contrôle par un robinet à verrouillage de sécurité, il est impossible de tourner la manette sans la pousser.

Pour allumer un brûleur
- Appuyez sur la commande du brûleurChoisi, et tournez-la vers la gauche jusqu'au repère de débit maximum.
En cas de coupure d'électricité, vous pouvez utiliser votre table de cuisson sans avoir recours au système automatique. Pour cela, présente une flamme au brûleur.
- Placez le écipient sur le brûleur.
- Réglez le début selon les nécessités de votre préparation, en vous assurant que la flamme ne déborde pas du fond.

Pour eteindre le bruleur
Tournez la commande dans le sens des aiguilles d'une montre jusqu'à la butée, sur la position arrêt (●).

Lorsque vous faites des fritures, surveillez attentivement la cuisson car l'huile ou laGRAisse pourrait facilement s'enflammer par suite d'une surchauffe.

Tous les modèles sont équipés de robinets progressifs, qui permettent un meilleur réglage de la flamme.
La plaque électrique (Mod. TM 3008)
Cette table de cuisson est équipée d'une plaque électrique à 7 positions.
Pourmettre enfonnementmentla plaque,tournez lamanette correspondante sur la positiondésirée.
Levoyant lumineux (témoin de fonctionnement) s'allume pour signaler que la plaque est en fonctionnement.
La manette peut être positionnée sur l'une des 7 positions et tournée indifféremment vers la droite ou vers la gauche.
Position 0 : plaque à l'arrêt
Position 1: allure de chauffe minimale
Position 6: allure de chauffe maximale

Lorsque vous faites des fritures, surveiliez attentivement la cuisson car l'huile ou la graisse pourrait facilement s'enflammer par suite d'une surchauffe.
En tenant compte de la quantité d'aliments à cuire et du mode de cuisson, le tableau ci-dessous guidera vos premiers essais.
| Positions | Cuisson |
| 1 | Pour réchauffer les mets ou pour fondre le beurre et le chocolat |
| 2 | Pour préparer des saucas, des daubes, des soufflés, des oeufs... |
| 3 | Soupes de légumes secs, décongélation d'aliments surgelés, cuisson d'eau ou de lait |
| 4 | Pommes de terre à la vapeur, légumes frais, soupes, pâtes, bouillon, savarins, poisson |
| 5 | Omelettes, crêpes, biftecks |
| 6 | Biftecks, tranches de viande, biscuits, saisie de viande |
i Conseils d'utilisation
Les brûleurs
Afin d'obtenir un rendement maximum de chaque brûleur, utilisez des recipients adaptés au diamètre des brûleurs.
Brûleur rapide
diametre 16 - 26 cm
Brûleur semi - rapide
diametre 18-20-22 cm
Brûleur auxiliaire
diametre 10-14-16 cm
- Ne placez un réseau sur un brûleur qu'après avoir allumé celui-ci.
- N'utilise que des recipients creux.
Assurez-vous que la flamme ne déborde pas du fond du écipient. - Si vous nevez utiliser des écipients dont le diamètre est important, nous vous recommendons d'effectuer vos cuissons sur le brûleur avant gauche, afin d'éviter la détérioration des manettes de commande.
- Surveillez attentivement la cuisson lorsque vous faites des fritures: l'huile ou laGRAisse peuvent facilement s'enflammer par suite d'une surchauffe.
- Si la flamme d'un brûleur s'eteint accidentellement, ramenez la manette correspondante sur la position arrêt et attendez une minute avant de rallumer le brûleur.
- L'utilisation continue et intensive de votre table de cuisson demande une aération supplémentaire : ouvre une fenêtre ou augmentez la puissance d'aspiration mécanique (si existante).
La plaque électrique
- Choisissez des recipients à fond écais et bien plat (fond dressé) et utilisez toujours un recipient dont le diamètre est proportionné à la plaque.
- Ne faites pas chauffer la plaque à vide et n'interposezaucun produit ou matériel entre la plaque et le 示例.
- Chaque fois que la recette le permet, couvrez votre récipient, vous réaliserez des économies d'énergie.
- Pensez à ramener la manette sur la position arrêt avant la fin de cuisson, celle-ci se terminera grâce à la chaleur accumulée.
- Tournez la manette jusqu'au repère 6 et, après quelques minutes, ramenez-la sur le repère correspondant au mets à cuire.


Entretien et nettoyage

Avant de procéder au nettoyage : débranchez électriquement l'appareil, assurez-vous que toutes les manéttes sont sur la position arrêt ● et attendez que l'appareil soit refroidi.
Les brûleurs
- Lavez les chapeaux de brûleurs avec de l'eau chaude et un détergent doux, ennant soit d'enlever toute incrustation. Si nécessaire, vous pouvez utiliser une petite brosse en acier.
- Gardez les couronnes des brûleurs en parfait état de propriété : leur encrassement peut cause des difficultés d'allumage.
- Si vous avez demonté les brûleurs pour les nettoyer, voirlez à remettre correctement en place les couronnées et chapeaux de brûleurs parfaitement secs.
Les grilles émailées
- Lavez-les à l'eau chaude additionné d'un détergent doux. Utilisez si besoin un produit légèrement abrasif.
Les manettes
Utilisez une éponge très légèrement imbibée d'eau savonneuse. Rincez et séchez soigneusement.
Pour un meilleur nettoyage du plan de cuisson, les manettes sont amovibles.
Assurez-vous que la manette soit sur la position "Arrêt".
- Retirez la manette.
- Àprous le nettoyage, remettez en place la manette dans sa position initiale.

Lors du nettoyage, enaucun cas du liquide ou du produit d'entretien ne doit pénétrer à l'intérieur du caisson ou se situant les élémentselectriques.
Le dessus de la table de cuisson
- Passez une éponge légèrement imbibée d'eau tiède (et, si nécessaire, de détergent doux) après chaque utilisation.
- Evitez tout écoullement dans les orifices de la table.
Utilisez, si nécessaire, un racloir spécial et des produits spécifiques vendus dans le commerce. - N'utilisez pas d'objet tranchant (couteau, gratoir, tournevis, etc.) ou d'éponge à face abrasive.
- N'utilise pas de détergents abrasifs ou corrosifs tels que : bombes aérosols pour four, produits détachants, produits anti-rouille, poudres à récurer.



La plaque électrique
- Àprous chaque utilisation, essuyez la plaque avec un papier absorbant. Elle doit être maintainue bien sèche. Si nécessaire, faites-la chauffer au préalable pour carboniser les salissures trop adhérentes.
- De temps en temps, et avant toute période prolongée de non'utilisation, gratisse légèrement la plaque (huile de table, huile pour machine à coudre ou vaseline). Vous trouvez égalément des produits spécifique de protection et d'entretien dans le commerce.
- Evitez de passer un chiffon humide sur la plaque encore chaude. Bien qu'elle puisse résister à ce traitement, il pourrait subsister des "peluches" sur son revêtement. Attendez son complet refroidissement.
Conditions de garantie
Garantie contractuelle
Pendant 1 an à compter de la mise en service, le constructeur remplacera les pieces défectueuses, sauf dans les cas prévus au chapitre «Réserves».
Conditions d'application :
Pour l'application de cette garantie, vous nevez vous adresser au distributeur qui vous a vendu l'appareil et luiprésenté le Certificat de Garantie. En complément, le Distributeur Vendeur pourrait ou non prendre à sa charge les frais de main d'oeuvre, ainsi que les frais de déplacement et de transport, selon les conditions de vente qu'il pratique.
Reserves:
Nous attirons votre attention sur le fait que cette garantie ne pourra'être appliquée:
- si les déteriorations proviennent d'une cause étrangère à l'appareil (chocs, variations anormales de la tension électrique, etc.) ou du non-respect des conditions d'installation ou d'utilisation indiquées dans cette Notice d'Utilisation, fausse manoeuvre, néligence, installation
défectueuse ou non conforme aux règles et prescriptions imposées par les organismes de distribution de l'Electricité, de l'Eau, du Gaz, etc.
- si l'utilisateur a apporté une modification sur le matériel ou enlevé les marques ou numérodesérie.
- si une réparation a été effectuee par une personne non/agréee par le constructeur ou le vendeur.
- si l'appareil a été utilisé à des fins commerciales ou industriielles ou pour d'autres buts que des buts menagers pour lesquels il a été créé.
- si l'appareil a été acheté ou réparé hors du territoire français.
Garantie légale
Les dispositions de la garantie contractuelle ne sont pas exclusives du bénéfice, au profit de l'acheteur, de la garantie légale pour défauts et vices cachés, la dite garantie s'appliquant en tout état de cause dans les conditions des articles 1641 et suivants du Code Civil.
Garantie Européenne (Arthur Martin/Electrolux)
Si vous deviez déménager vers un autre pays d'Europe, la garantie accompagne votre apparéil jusqu'à votre nouvelle résidence, aux conditions suivantes :
La date de départ de la garantie est la date d'achat du produit.
La durée de la garantie ainsi que son estendue (pièces et/ ou main d'oeuvre) sont celles en vigueur dans le nouveau pays où l'appareil est utilisé.
Le bénéficiaire de la garantie est le propriété de l'appareil. La garantie ne peut etre cedee ou transferee a une autre personne.
- Voiture nouvelle résidence est dans l'Union Européenne ou dans un pays de l'Association Européenne de Libre Echange.
L'appareil est installé et utilisé conformément aux instructions de la notice d'utilisation et indications figurent sur la plaque signaletique, avec une attention particulière à les types de gaz et la pression d'alimentation.
L'appareil et utilisé à des fins domestiques normales (ceci excluant notamment tout usage intensif, professionnel ou semi-professionnel).
Plaque signalétique
En appelant un Service ÀpRES Vente, indiquez-lui le modele, le numero de produit et le numero de série de l'appareil. Ces indications figurent sur la plaque signalétique située sur votre apparéil.
Service après Vente
En cas d'anomalie de fonctionnement, le vendeur de votre apparéil est le premier habilité à intervenir. A défaut (déménagement de votre part, fermeture du magasin où vous avez effectué l'achat ...), veuillez consultez l'Assistance Technique Consommateurs qui vous communiquera alors l'adresse d'un ServiceAprèsVente.
L'appareil est installé conformément aux normes de sécurité et à la législation en vigueur dans votre nouveau pays de residence.
Pour toute question concernant la garantie europeenne, vous pouvez prendre contact avec l'un de nos Services Consommateurs :
France
① 0344622773
BP 50142 - 60307 Senlis cédex
Allemagne
① + 49 (0)9113232600
Italie
Royaume-Uni
Suède
0434 1678 47 053 (uniquement à partir de l'Italie)
① 08705 950 950 (uniquement à partir du Royaume Uni)
① +46 (0)20787750
En cas d'intervention sur votre apparéil, exigez du Service ÀpRES VENTE les Pièces de Rechange certifiées Constructeur.

Caractéristiques techniques
Dimensions de l'ouverture pour l'encastrement dans le plan de travail
(voir chapitre "Encastrement")
Largeur: 550 mm
Profondeur: 470mm
Puisance des brûleurs
| Brûleur Rapide (Super Power) | 3,2 kW |
| Brûleurs Semi-rapide | 2,0 kW |
| Brûleur Auxiliaire | 1,0 kW |
Puisance de la plaque electrique
| Plaque électrique (Ø 145) | 1,5 kW |
| Alimentation: | 230 V – 50 Hz |
| Air nécessaire à la combustion | 16 m³/h |
Catégorie: II 2E+3+
Appareil régle en Usine pour fonctionner avec gaz type G20/G25 - 20/25 mbar

Cet apparéil est conforme aux Directives Communitaires CEE suivantes:
-
73/23 - 90/683 (Basse Tension);
-
90/396 (Appareil Gaz)
-
89/336 (Compatibilité Electromagnétique);
-93/68 (Directives Générales);
Cet apparéil apparient à la catégorie d'isolation thermique "X" et il a été concu pour être encastré ou placé à côté d'autres meubles selon la norme en viqueur (I.E.C. 335.2.6).
Les meubles juxtaposés aux côts de la table de cuisson ne doivent pas dépasser la hauteur de cette-ci. Les bords latéraux de la découverte pratiquée doivent se trouver à au moins 100 mm. des murs ou des meubles latéraux.
Les meubles suspendus ou les hottes doivent être installés à une hauteur minimale de 650~mm . au dessus de la table de cuisson.
N'installez pas l'appareil pres de matérielux inflammables (par ex.: rideaux, torchons, etc.).

Débranche l'appareil avant toute intervention.
Important
- L'installation et le branchement de l'appareil doivent être effectuels par un personnel qualifié conformément aux textes réglementaires et règes de l'art en vigueur, notamment:
- Arrêté du 2 août 1977, Régles Techniques et de Sécurité applicables aux installations de gaz combustibles et d'hydrocarbures liquifiés à l'intérieur desBATiments d'habitation et leurs dépendances;
- Norme DTU P 45 • 204, Installations de gaz (anciennement DTU n.° 61 - installation de gaz - Avril 1982 + additif n.° 1 Juillet 1984);
- Règlement Sanitaire Départemental.
Pour les apparèils raccordés au réseau électrique:
- Norme NF C 15 100 - Installations électriques à basse tension - Régles.
Recommendations
- Vérifiez que le début du compteur et le diamètre des canalisations sont suffisants pour alimenter tous les appareils de l'installation et vérifiez que tous les raccords sont bien étanches;
- N'omettez pas d'installer un robinet de barrageque visible et accessible.
Raccordement gaz

Raccordez la table à la bouteille ou à l'installation selon les prescriptions légales en la matière.
Assurez-vous que l'appareil est régle pour le type de gaz auquel il sera alimenté. Pour le passage d'un gaz à un autre, reportez-vous au paragraphe "Adaptation des brûleurs au gaz utilisé".
Important
Pour un fonctionnement correct, une consommation réduite et une plus grande durée de vie de l'appareil, assurez-vous que la pression d'alimentation correspond aux valeurs indiquées dans le tableau.
Si l'appareil est alimenté en gaz Butane ou Propane (bouteille), contrôle que le régulateur de pression débite le gaz à une pression de 28 mbar pour le Butane et 37 mbar pour le Propane.

1) Vissez le raccord orientable C dans l'écrou A situé à l'extrémité de la rampe d'alimentation, sans omettre d'intercaler le joint d'étanchéité B (Fig. 1).
2) Orientez le raccord C dans la direction voulue, puis effectuez un serrage correct.
3) Effectuez ensuite le raccordement du tube d'arrivée de gaz (Fig. 2 - Exemple d'alimentation avec tube rigide).
4) Contrôlez la parfaite étanchéité du raccord et de l'embout en utilisant une solution savonneuse.
5) Fixez l'appareil au meuble.

A) Ecrou situé à l'extrémite de la rampe
B) Joint
C) Raccord orientable
Fig. 1

Fig. 2
A) Ecrou
B) Raccord orientable
C) Tube rigide
Raccordement "rigide"
Effectuez le raccordement en utilisant des tuyaux rigides métalliques (cuivre avec embout mécanique).
Raccordement "flexible" avec embout mécanique
Gaz naturel
Le raccordement s'effectue avec un tuyau flexible à embout mécanique qui se visse directement sur le coude terminant la rampe de l'appareil (la tuyauterie doit être visible sur toute sa longueur). Elle doit être conforme à la norme "NFD 36-100" (durée de vie 5 ans) ou "NFD 36-103" (durée de vie 10 ans). Le raccordement peut se faire aussi avec un flexible métallique "NFD 36-121"
- Butane/Propane
Un tube souple, équipé de ses colliers (conformè à XPD 36-110) peut être utilisé s'il est visitable sur toute la longueur et si l'appareil ne fonctionne qu'au butane. Si l'appareil fonctionne au propane, il faut utiliser un flexible conforme à la norme XPD 36-112 ou un flexible métallique conforme à "NFD 36-125".

Pour assembler les différentes pieces il est conseilé de suivre l'ordre suivant:
- fixez le raccord orientable à l'embout en interpolant le joint;
- fixez le raccord orientable à la rampe d'alimentation de l'appareil;
- orientez le raccord dans la direction voulue;
- contrôle la parfaite étanchéité du raccord et de l'embout en utilisant une solution savonneuse;
- fixez l'appareil au meuble.
Entretien

Contrôlez périodiquement le tuyau d'arrivée du gaz et l'éventuel régulateur de pression. En cas d'anomalie remplacez la pièce défectueuse.
Pour garantir un bon fonctionnement et uneonnebene, il est necessaire de procederpériodiquement au graissage des robinets deréglage du gaz. Confiez cette operation à un technicien qualifié.
Branchement Electrique

Reliez l'appareil à la terre, conformément aux prescriptions de la norme NF.C 15100 et aux règlements en vigueur.
Avant d'effectuer le branchement s'assurer que:
- le disjoncteur et l'installation électrique peuvent supporter la charge de l'appareil (voir la plaque signalétique);
- l'installation d'alimentation soit équipée d'une prise de terre efficace selon les normes en vigueur;
- la prise ou l'interrupteur principal soient facilement accessibles.
Si l'on désire un branchement direct au réseau (branchement fixe) il faut intercaler entre l'appareil et le réseau un dispositif possédant des contacts à coupure omnipolaire ayant une distance d'ouverture des contacts d'au moins 3 mm.
Le cable de terre jaune-vert ne doit pas etre interrompu par l'interrupteur et doit etre relié à la borne du conducteur de protection.
Le cable de phase de couleur marron (provenant de la borne “L” de la planchette à bornes) doit toujours être relié à la phase du réseau d'alimentation.
Le cable d'alimentation doit être placé de telle manière qu'il ne touche aucune partie chaude.
Après le branchement essayez les éléments chauffants en les faisant fonctionner pendant 3 minutes environ.
Notre responsabilité ne saurait être engagée en cas d'accidents ou d'incidents provoqués par une mise à la terre inexistante ou défectueuse.
Remplacement du cable d'alimentation
Le cable d'alimentation ne doit être remplaced que par un professionnel qualifié; utilisez un cable de type H05 RR-F d'une section adaptée à la charge.
En outre, il faut que le cable de terre jaune-vert soit plus long d'environ 2 cm que les câbles de phase et neutre.

Le cable d'alimentation sera positionné de façon à ce qu'enaucun point sa température n'excède 50^ à la température ambiente.
Adaptation des brûleurs au gaz utilisé
Pour la conversion de l'appareil d'un type de gaz à l'autre, opérez comme suit:
A. Remplacement des injecteurs

1) Otez les grilles.
2) Enlevez les brûleurs.
3) Avec une clé de 7 dévissez les injecteurs (Fig. 3) et remplacez-les par ceux convenant au type de gaz utilisé (voir tableau).
4) Remplacez l'étiquette d'éallonage (collée à côté du tuyau d'alimentation en gaz) par celle correspondant au nouveau type de gaz. Elle se trouve dans l'emballage des injecteurs fournis avec la table).
B. Réglage du ralenti

1) Allumez chacun des brûleurs.
2) Tournez les manettes jusqu'à l'obtention du débit réduit.
3) Retirez les manettes.
Alimentation en gaz naturel
Agissez sur la vis de réglage (Fig. 4) jusqu'à l'obtention d'une petite flamme régulière.
Alimentation en gaz Butane ou Propane
Vissez à fond la vis (Fig. 4), celle-ci étant déjà prévue pour assurer le débit minimum. Contrôlez en tournant la manette de la position de débit minimum et vice versa, que la flamme ne s'éteint pas.
Remarque: La vis de réglage est de petite dimension, utilisez un tournevis plat très fin.
4) Remontez les manettes en effectuant les opérations dans l'ordre inverse.
Les opérations ci-dessus peuvent être effectuées ainsiment après encastrement de la table de cuisson dans le meuble de cuisine.

Fig. 3

| TYPEDE BRULEUR | DéBIT CALORIFIQUE NOMINAL kW | DéBIT CALORIFIQUE MINIMUM kW | DÉBITCALORIFIQUE NOMINAL | |||||
| GAZNATUREL | GAZBUT.-PROP. 28-30/37 mbar | |||||||
| Repère injecteur 100/mm | m³/h | Repère injecteur 100/mm | g/h | |||||
| G20 20 mbar | G25 25 mbar | G30 | G31 | |||||
| Auxiliaire (Petit) | 1 | 0,33 | 70 | 0,095 | 0,111 | 50 | 73 | 71 |
| Semi-rapide (Moyen) | 2 | 0,45 | 96 | 0,190 | 0,221 | 71 | 145 | 143 |
| Rapide (Super Power) | 3,2 | 0,65 | 121 | 0,305 | 0,354 | 88 | 233 | 229 |

FO0940
Fig. 5

FO0941
Fig. 6
Ces tables de cuisson sont prévues pour être encastrées dans des meubles de cuisine ayant une profondeur de 550 à 600 mm.
A = Brûleur auxiliaire
Côtés d'encastrement (Fig. 5-6)
Les tables de cuisson peuvent être encastrées dans un meuble ayant une ouverture aux dimensions indiquées dans la fig. 7.
Les bords latéraux doivent se trouver à au moins 100 mm des murs ou des meubles latéraux.

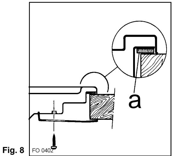
La fixation de la table au meuble doit etre effectuee de la facon suivante:
appliquer le joint d'etanchéité sous la table de cuisson. Les deux extrémités du joint doivent se toucher (et non se chevaucher);
- placez de préférence les extrémités du joint à l'arrête de la table
- placez la table dans la niche d'encastrement en la centrant correctement;
- fixez la table au meuble à l'aide des pattes de serrage prévues à cet effet (Fig. 8).

L'encastrement de la table de cuisson au dessus d'un lave-vaisse, d'un réfrigérateur, d'un congélateur, d'un four, ou d'un lave linge est déconseilé lorsque le constructeur de ces apparils électroménagers ne l'a pas formellement prévu.

Fig. 7

a) Joint d'étanchéité
Possibilities d'encastrement
Dans un meuble de cuisine avec porte
Le meuble destiné à receivevoir la table de cuisson devra être fabriqué de façon que le contact avec les parties métalliques chaudes soit évité.
Reportez you à la Fig. 9.
La tablette sous la table de cuisson doit être aisément démontable pour avoir facilement accès à l'appareil en cas de réparation.
Au-dessus d'un four
Pour les côtes d'encastrement reportez vous aux Fig. 10 et 13. Prévoir deux supports pour l'aération. Les figures 11 et 10 illustrent deux solutions possibles. Les raccordements électriques du four et de la table doivent rester accessibles et être effectuels séparément.
Les meubles suspendus ou les hottes doivent etre installés a une hauteur minimale de 650~mm audressus de la table de cuisson (FiGuRe 14).
Fig. 9

a) Tablette amovible
b) Espace évientuel pour les raccordements

Fig. 10

Fig. 11

Fig. 12

Fig. 13

Fig. 14
En cas d'anomalie de dysfonctionnement, le vendeur de votre apparéil est le premier habilité à intervenir.
A défaut (déménagement de votre part, fermeture du magasin où vous avez effectué l'achat...), veuillez consulter:
- L'Assistance Technique Consommateurs pour toutes questions techniques.
ou
- Le Service Conseil Consommateurs pour toutes questions ou informations concernant l'utilisation de votre apparéil ou pour toutes autres questions commerciales.
Voutrouverez ci-dessous les coordonnées de ces deux services.
En cas d'intervention sur votre apparéil, exigez du Service ÀpRES-Vente les Pièces de Rechange certifiées Constructeur.

En appelant un Service ÀpRES-Vente, indiquez-lui toutes les références et numéroros (PNC, N° de série,...) Ces indication figurent sur la plaque signalétique.
Questions Techniques Assistance Technique Consommateurs Arthur Martin
BP20139 - 60307 SENLIS Cedex
Tél.: 03 44 62 27 73
e-mail: arthur.frs@notes.electrolux.fr
permanence tél. du lundi au vendredi de 8 h 30 à 12 h 30 et de 13 h 30 à 18 h 00
Choisir un nouvel apparéil et/ou conseils d'utilisation
Service Conseil Consommateurs Arthur Martin Electrolux P50142 - 60307 SENLIS Cedex
Tel. 03 44 62 22 22 Fax: 03 44 62 21 54
e-mail: ame-ssc.fau@notes.electrolux.fr

permanence telephonique du lundi au vendredi de 8 h 30 à 18 h 00
Notice Facile