AFC 6001 N - Hotte aspirante ARTHUR MARTIN - Notice d'utilisation et mode d'emploi gratuit
Retrouvez gratuitement la notice de l'appareil AFC 6001 N ARTHUR MARTIN au format PDF.
| Type d'appareil | Hotte aspirante |
| Modèles compatibles | AFC 6001, AFC 9001 |
| Installation | Murale ou sous meuble |
| Type de filtration | Charbon actif et filtre à graisse |
| Nombre de vitesses | 3 vitesses |
| Puissance d'aspiration | Non précisé |
| Niveau sonore | Non précisé |
| Éclairage | Lampe halogène ou LED |
| Dimensions (L x P x H) | Non précisé |
| Consommation électrique | Non précisé |
| Matériau | Acier inoxydable ou métal peint |
| Commande | Manuelle ou électronique |
| Type d'évacuation | Évacuation extérieure ou recyclage |
| Accessoires inclus | Filtres, vis de fixation |
| Garantie | Non précisé |
FOIRE AUX QUESTIONS - AFC 6001 N ARTHUR MARTIN
Questions des utilisateurs sur AFC 6001 N ARTHUR MARTIN
0 question sur cet appareil. Repondez a celles que vous connaissez ou posez la votre.
Poser une nouvelle question sur cet appareil
Téléchargez la notice de votre Hotte aspirante au format PDF gratuitement ! Retrouvez votre notice AFC 6001 N - ARTHUR MARTIN et reprennez votre appareil électronique en main. Sur cette page sont publiés tous les documents nécessaires à l'utilisation de votre appareil AFC 6001 N de la marque ARTHUR MARTIN.
MODE D'EMPLOI AFC 6001 N ARTHUR MARTIN
Nous vous remercions de la confiance que vous nous avons témoignée en choisissant :
ARTHUR MARTIN
Electrolux
Nous savons que vous attendez de cet apparéil qu'il vous apporte pleinement satisfaction en termes d'efficacité, fiabilité, facilité d'utilisation.
C'est en fonction de ces exigences qu'il a eté concu avec le plus grand soin, la plus grande attention.
Son utilisation est très simple. Cependant, nous vous recommendons de dire attentivement cette notice. Bien connaître votre nouvel apparéil, c'est non seulement éviter au départ une erreur de manipulation susceptible de l'endommager, mais c'est aussi vous familiariser avec toutes les possibités qu'il vous offre.
Nous souhaitons que la satisfaction que vous aurez dans son utilisation vous amène à nous désir pour d'autres apparèils de notre marque.
A bientôt et encore merci.
SOMMAIRE
A l'attention de l'utilisateur
Avertissements importants 4
Description de l'appareil 6
Utilisation de votre hotte 7
Entretien et nettoyage 9
En cas d'anomalie de fonctionnement 11
Garantie 12
Service après-venture 12
A l'attention de l'instantiateur
Caracteristiques techniques 13
Branchement electrique 14
Installation 15
Comment dire votre notice d'utilisation?
Les symboles suivants vous guideront tout au long de la lecture de votre notice d'utilisation.

Instructions de sécurité

Description d'opérations étape par étape

Conseils et recommendations

Informations liées à la protection de l'environnement
AVERTISSEMENTS IMPORTANTS
Conservez cette notice d'utilisation avec votre apparéil. Si l' apparéil avait été vendu ou cédé à une autre personne, assurez-vous que la notice d'utilisation l'accompagne. Le nouvel utilisateur pourrait alors être informé du fonctionnement de celui-ci et des averissements s'y rapportant. Ces averissements ont été rédigés pour votre sécurité et celle d'autrui.
Utilisation
- Cet apparéil a été consçu pour être utilisé par des femmes. Veillez à ce que les enfants n'y touchent pas et ne l'utilisent pas comme un jouet.
- A la réception de l'appareil, déballez-le ou faites-le déballer immédiatement. Vérifiez son aspect général. Faites les éventuelles réserves par écrit sur le bon de livraison ou sur le bon d'enlevement dont vous garderez un exemplaire.
- Voiture apparéil est destiné à un usage domestique normal. Ne l'utilise pas à des fins commerciales ou industrielles ou pour d'autres buts que celui pour lequel il a été créé.
- Ne modifies pas ou n'essayez pas de modifier les caractéristiques de cet apparéil. Cela représentait un danger pour vous.
- Débranche toujours la hotte avant de procéder à son nettoyage et son entretien.
- Aérez convenablement la pierce en cas de fonctionnement simultané de la hotte et d'autres apparèils alimentés par une source d'énergie différente de l'énergie électrique. Ceci afin que la hotte n'aspire pas les gaz de combustion.
-
Ne faites jamais flamber des préparations sous la hotte. Les flames aspirées risqueraient de détériorer les filtres et provoquer un incendie.
-
Respectez la fréquence de nettoyage et de remplacement des filtres. L'accumulation de dépôts deGRAISSERISQUE d'occasionner un incendie
- Ne laissez jamais des fritures sous la hotte sans surveillance attentive. Les huiles et graisses portées à très haute température peuvent prendre feu.
- Ne laisses pas un brûleur à gaz allumé sans récipient, la flamme pourrait abîmer le filtr de l'appareil.
Installation
- L'installation de votre apparéil doit être réalisée par un technicien qualifié.
- L'appareil doit être débranché pendant l'installation ou dans l'eventualité de l'intervention.
- Vérifiez que la tension du réseau correspond à la tension mentionnée sur la plaque signalétique située à l'intérieur de la hotte (voir caractéristiques techniques).
- Si l'installation électrique de votre habitation nécessite une modification pour le branchement de votre(APpearei,faites appel à un electricien qualifié.
- Si la hotte est utilisé en version évacuation, ne raccordez pas l'appareil à un conduit d'évacuation de fumées de combustion (chaudière, cheminée, etc...) ou à une VMC (ventilation mécanique contrôle).
- Le conduit d'évacuation, quel qu'il soit, ne doit pas déboucher dans les combles.
-
Dans le cas où l'appareil est relié directement à l'installation électrique, interposez un interrupteur bipolaire ayant une distance d'ouverture des contacts d'au moins 3 mm.
-
Installez la hotte à une distance de sécurité d'au moins 65 cm d'un plan de cuisson électrique, gaz ou mixte.
Veuillez dire attentivement ces remarques avant d'instructor et d'utiliser votre apparéil. Nous déclinons toute responsabilité en cas de dommages ou d'incendies provoqués par l' apparéil du fait du non-respect de ces avertissements.

Protection de l'environnement
- Si vous procédez à la mise à la casse de votre ancien apparéil, veillez àmettre hors d'usage ce qui pourrait représenter un danger: coupez le cable d'alimentation au ras de l'appareil.
- Informez-vous, auprès des services de votre commune, des endroits autorisés pour la mise au rebut de l'appareil.
En cas d'anomalie de fonctionnement, reportez-vous à la rubrique « EN CAS D'ANOMALIE DE FONCTIONNEMENT ». Si malgré toutes les vérifications une intervention s'avère nécessaire, le vendeur de votre apparéil est le premier habilité à intervenir. A défaut (déménagement de votre part, fermeture du magasin où vous avez effectué l'achat...), veuillez consulter l'Assistance Consommateurs qui vous communiquera l'adresse d'un service après vente.
En cas d'intervention sur votre apparéil, exigez du service après vente les pièces de rechange certifiées Constructeur.
Bandeau de commande


V1

V2

V3

L
L. Touche éclairage
Pour éclairer le plan de cuisson, appuyez sur cette touche.
V1. Touche Marche / Arrêt / Vitesse minimum d'aspiration
Appuyez sur cette touche pourmettre en fonctionnement l'appareil: la hotte fonctionne alors en vitesse minimum.
Appuyez de nouveau sur cette touche pourmettreàl'arrêt l'appareil.
V2 et V3. Touche de vitesses d'aspiration
V2 : Vitesse intermédiaire
V3: Vitesse maximum
UTILISATION DE VOTRE HOTTE
Utilisation en version recyclage
Votre apparéil est livré en version à recyclage (filtres à charbon actifs montés).
L'air est filtré au moyen des filtres à charbon actifs, puis renvoyé dans la pierce.
Utilisation en version évacuation
L'air est evacuated hors de l'habitation par l'intérimédiaire d'un tuyau.
Votre hotte étant livree en version recyclage, vous neez préalablement retarder les filtres a charbon actifs.

Pour retarder les filtrres à charbon actifs
- Mettez à l'arrêt l'appareil en appuyant sur les touches Marche/Arrêt et d'éclairage.
- Retirez les filtres àGRAISSÉ métalliques en agissant sur les poignées (fig. 1).
- Tournez les filtres à charbon actifs jusqu'à ce qu'ils se débloquent (fig. 2).
- Retirez les filtres à charbon actifs.
- Remettez en place les filtres àGRAISSÉ métalliques.

Fig. 1

Fig. 2
i Conseils d'utilisation
Le meilleur rendement de l'appareil s'obtient en version évacuation, nous vous conseillons par conséquent d'utiliser l'appareil dans cette version lorsque cela est possible.
Pour un excellent rendement, utilisez la vitesse minimale pour de faibles concentrations de fumées et d'odeurs, une vitesse intermédiaire, dans les conditions normales et la vitesse maximale pour de fortes concentrations d'odeurs et de vapeurs.
- Nous vous recommendons demettre l'appareil en marche avant de proceder à la cuisson et de le laisser fonctionner quelques minutes encore après la cuisson, jusqu'à ce que toute odeur ait disparu.
Pour que l'appareil fonctionne correctement, les fenêtres de la cuisine doivent rester fermées. Vous pouvez, en revanche, ouvrir une fenêtre dans une pieceAdjacente (fig. 3).

Fig. 3
ENTRETIEN ET NETTOYAGE
Débranche l'appareil avant de procéder à l'entretien et au nettoyage de l'appareil.
Le non-respect des instructions de nettoyage de l'appareil et des filtres peut occasionner des incendies. Veuillez respecter strictement les consignes d'entretien.
Un entretien régulier de votre apparéil est une garantie de bon fonctionnement, de bon rendement et de durabilité.
Filtres àGRAISSÉ métalliques
Ils doivent être nettoyés tous les 2 mois minimum.
Utilisez une Brosse, de l'eau chaude et un détergent doux. Rincez-les et séchez-les soignement avant de les remetre en place.

Pour retarder les filtres àGRAISSE
- Mettez à l'arrêt l'appareil en appuyant sur les touches Marche/Arrêt et d'éclairage.
- Retirez les filtres àGRAISSÉ métalliques en agissant sur les poignées (fig.4).
- Nettoyez les filtres et remettez-les en place.

Fig. 4
Les filtres à charbon actifs
Remplacez-le régulierement dés que vous constatez une baisse d'efficacité d'absorption (tous les 4 mois environ dans des conditions normales d'utilisation).

Pour retirer le filtré à charbon actif
- Mettez à l'arrêt l'appareil en appuyant sur les touches Marche/Arrêt et d'éclairage.
- Retirez les filtrres àGRAISSÉ métalliques en agissant sur les poignées (fig. 5).
- Tournez les filtrres à charbon actifs jusqu'à ce qu'ils se débloquent (fig. 6).
- Retirez les filtres à charbon actifs et remplacez les filtres usagés par des filtres neufs.
- Remettez en place les filtres àGRAISSÉ métallique.

Fig. 5

Fig. 6
ENTRETIEN ET NETTOYAGE
La carrosserie
Lavez-la à l'eau tiède (éponge humide) avec un détergent doux (produit pour la vaisse par exemple).
N'employez jamais de produits abrasifs (ni éponges avec face abrasive) ou caustiques, ni diluants ou alcools.
Les ampôules d'éclairage

Pour remplacer une ampoule d'éclairage (fig. 7)
- Debranchez l'appareil.
- Retirez la vis qui fixe le plafonnier.
- Retirez l'ampoule et remplacez-la par un modele identique et de meme puissance (40 Watts).
- Revissez le plafonnier.

Fig. 7
EN CAS D'ANOMALIE DE FONCTIONNEMENT
| SYMPTOMES | SOLUTIONS |
| La hotte ne fonctionne pas ... | Vérifiez que : • il n'y a pas de coupure de courant • la touche Marche/Arrêt est effectivement actionnée. |
| La hotte a un rendement insuffisant ... | Vérifiez que : • la vitesse moteur sélectionnée est suffisante pour la quantité de fumée et de vapeur dégagée • La cuisine est suffisamment aérée pour permettre une prise d'air. • les filtres à charbon actifs ne sont pas usagés (hotte en version recyclage) • le tuyau et la sortie de la hotte ne sont pas obstrués (hotte en version aspi-rante) |
| La hotte aspirante s'est arrêtée au cours du fonctionnement... | Vérifiez que : • il n'y a pas de coupure de courant. • le dispositif à coupure omnipolaire ne s'est pas enclenché. Mettez à l'accrit la hotte en appuyant sur la touche Marche/Arrêt. Attendez Appuyez de nouveau sur la touche Marche/Arrêt. |
GARANTIE
Conformément à la Législation en vigueur,Vote Vendeur est tenu,lors de l'acte d'achat de votre apparéil,de vous communiquer par écrit les conditions de garantie et sa mise en oeuvre appliquées sur celui-ci.
Sous son entière initiative et responsabilité,Vote Vendeur repondra a toutes vos questions concernant l'achat de votre apparéil et les garanties qui y sont attachées. N'hésitez pas à le contacter.
SERVICE APRES-VENTE
En cas d'anomalie de fonctionnement, reportez-vous à la rubrique « EN CAS D'ANOMALIE DE FONCTIONNEMENT ». Si malgré toutes les vérifications une intervention s'avère nécessaire, le vendeur de votre(APpeuil est le premier habilité à intervenir.
A défaut (déménagement de votre part, fermeture du magasin où vous avez effectué l'achat ...), veuillez consulter l'Assistance Consommateurs qui vous communiquera alors l'adresse d'un ServiceAprèsVente.
i Plaque signaléique
En appelant un Service ÀpRES Vente, indiquez-lui le modele, le numero de produit et le numero de série de l'appareil. Ces indications figurent sur la plaque signalétique située sur votre apparéil.
En cas d'intervention sur votre apparéil, exigez du Service ÀpRES Vente les Pièces de Rechange certifiées Constructeur.

CHARACTERISTIQUES TECHNIQUES
| AFC 6001 | AFC 9001 | ||
| Dimensions | Haut.: | 800 - 1005 mm | 800 - 1005 mm |
| Larg.: | 598 mm | 898 mm | |
| Prof.: | 490 mm | 490 mm | |
| Tension secteur | 230V | 230V | |
| Classe de sécurité électriche | Classe 2 | Classe 2 | |
| Puisance moteur | 1 x 150 W | 1 x 205 W | |
| Eclairage | 2 x 40 W | 2 x 40 W | |

Cet apparéil est conforme aux Directives Communautaires suivantes:
73/23 CEE 19/02/73 (Basse Tension) et modifications successives
89/336 CEE 03/05/89 (Compatibilité Electromagnétique) et modifications successives
BRANCHEMENT ELECTRIQUE
Votre apparéil ne peut être branché qu'en 230 V monophasé.
Vérifiez que la puissance de l'installation est suffisante et que les lignes sont en bon état et peuvent supporter l'intensité absorbée par l'appareil, compte tenu des autres apparèils branchés.
Calibre des fusibles en ligne (un par phase) 10 A en 230 V.
Important
L'installation doit être réalisée conformément aux règles de l'art, aux prescriptions de la norme NF.C.15100 et aux prescriptions de l'E.D.F.
Dans le cas où l'appareil est relié aux canalisations électriques fixes, un dispositif de séparation bipolaire ayant une distance d'ouverture des contacts d'au moins 3 mm doit être prévu dans l'installation fixe.
Le cordon secteur est à 2 conducteurs (double isolation).
Si le cable d'alimentation est endommagé, il doit être replacé par un cable d'alimentation certifié. Cette opération ne peut être effectuee que par une personne habilitée, par votre vendeur ou par le fabricant.
NE PAS RACCORDER L'APPAREIL A LA TERRE.
Si vous disposez d'un socle de prise de courant相对较ient une mise à la terre, vous pouvez l'utiliser pour le branchement, mais enaucun cas le cable d'alimentation de I'appareil ne devra etre relié à la terre.
L'appareil ne doit pas etre raccordé à l'aide d'un prolongateur ou d'une prise multiple.
Notre responsabilité ne saurait être engagée pour tout incident ou accident provoqué par un raccordement électrique non conforme.
Assurez-vous que l'appareil, une fois installé, est facilement accessible à un technicien, dans l'eventualité d'une intervention. Une installation incorrecte remet en cause la sécurité de cette hotte.

Toute installation doit être conforme aux réglementations locales concernant l'évacuation d'air vicié.
Installez la hotte à une distance de sécurité (fig. 8) d'au moins 65 cm d'un plan de cuisson électrique, gaz ou mixte.

Déballage
Accessoires fournis avec la hotte
1 Corps de hotte " C
1 Cheminée téléscopique complément une cheminée supérieure "S" et une cheminée inférieure "I".
2 Grilles "G" (à poser sur les parois latérales de la cheminée)
1 Bride de raccord "A" (à utiliser en version évacuation)
1 Clapet "V"
1 Deflecteur “R”
1Obturateur“D”
1 Rallonge filtrante “P”
1 sachet contenant 2 étriers “2” prévus pour la fixation de la cheminée, vis, chevilles et documents et 2 étriers “1” prévues pour la fixation du corps de la hotte.







Installation
Fixation des étriers
Fixation du corps de la hotte
Branchement électrique
Raccordement de la hotte pour une utilisation en version à évacuation ou recyclage
Fixation des cheminées
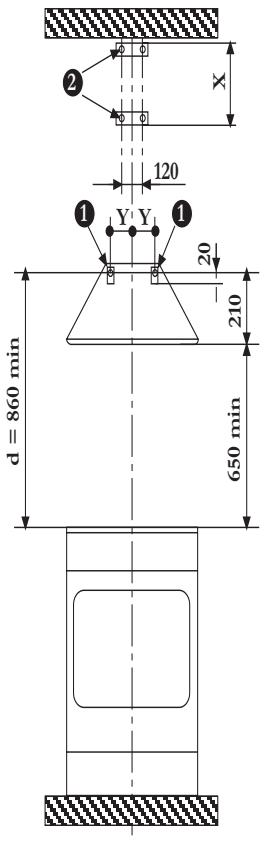
Fixation des étriers (fig. 9)
Tracez sur le mur une ligne verticale jusqu'au plafond, centré par rapport à l'emplacement prévu pour la fixation de la hotte. Cette ligne servira pour aligner verticalement les différentes parties de la hotte.
Positionnement et fixation des étriers
- Tracez une ligne horizontally à une distance du plan de cuisson de d = 860 mm minimum. Repérez sur la ligne horizontalité les trous à réaliser pour la fixation des étriers " 1 " à une distance Y = 95 mm de part et d'autre de la ligne verticale.
- Repérez sur le mur l'emplacement des trous à réaliser pour la fixation d'un étrier " 2 ". Cet étrier doit être fixé à 1-2 mm au dessous du plafond, centré par rapport à l'emplacement prévu de la hotte et à la ligne verticale.
- Repérez sur le mur l'emplacement des trough à réaliser pour la fixation du second étrier “2” en l'alignant verticalément au premier étrier et centré par rapport à l'emplacement prévu de la hotte et à la ligne verticale. La distance X prévue entre les 2 étriers doit être égale à la hauteur de la cheminée supérieure “S”.
- Percez les trous et fixez les étriers “ 1 ” et “ 2 ” à l'aide des vis et chevilles de diamètre 8 mm fournies avec l'appareil.

Fixation du corps de la hotte (fig.10)
- Accrochez le corps de la hotte " C" aux étriers " 1".
- Insérez les deux vis de réglage W 4Mx25 fournies avec l'appareil dans les trous des brides " 1".
- Reglez verticalément et horizontallyment la hotte en utilisant les vis W.
Branchement électrique
Procedez au raccordement électrique (voir chapitre « BRANCHEMENT ELECTRIQUE »
Raccordement de la hotte pour une utilisation en version à évacuation ou recyclage
Utilisation en version évacuation
Lesassage des tuyaux courts et directs. Le tuyau d'évacuation doit être d'un diamètre de 120 mm. Placez le clapet V sur la buse. Il est nécessaire d'installer la bride de raccord " A " (fig.11). Il doit être en matière auto-extinguible. Sa longueur totale ne doit pas excéder :
- 3 metres avec un coude,
- 2 metres avec deux coudes.
Sur les segments horizontally, le tuyau doit avoir une légère inclinaison vers le haut (10% environ), afin de faciliter l'évacuation de l'air.
Le raccordement peut se faire sur un conduit extérieur. Dans les appartements modernes, seules les gains de ventilation prévues à cet effet peuvent être employées.
Ne raccordez jamais la hotte à des conduits d'évacuation de fumées utilisé par des appar兼s fonctionnant avec une source d'énergie autre que l'électricité.
Si vous souhaitez installer la hotte en version évacuation avec sortie laterale sur la cheminée inférieure “ I ”, il est nécessaire d'insérer l'obturateur “ D ” dans le déflecteur
"R" (fig. 12).

Fig. 10


Fig. 11


Fig. 12
La hotte étant livrée en version recyclage, il est nécessaire de retarder les filtres à charbon actifs pour pouvoir l'utiliser en version recyclage (voir chapitre « UTILISATION DE VOTRE HOTTE »).
Utilisation en version recyclage (fig.13)
L'air est filtré au moyen des filtres à charbon actifs puis renvoyé dans la pierce à travers les grilles "G" situées sur les parois laterales de la cheminée inférieure "I".
- Fixez le déflecteur “R” sur la sortie d’air du corps de la hotte.
Fixation des cheminées « I » et « S »
- Ecartez légèrement les bords latéraux de la cheminée supérieure “ S “ et positionnez-la à l'extérieur des étriers 2.
- Fixez la cheminée supérieure "S" aux étriers "2" à l'aide des quatre vis fournies (fig. 14).
- Fixez de la même manière la cheminée inférieure "I" entre la cheminée supérieure "S" et le corps de la hotte "C" à l'aide des deux vis fournies.
- Appliquez les grilles dans les logements prevus en se rapportant aux symboles indiqués sur celles-ci ( : orientation vers le haut, : orientation vers la droite) (fig.15).
En version recyclage, vérifie également que les grilles sont correctement insérées à l'intérieur du déflecteur “R”.

Fig. 13

Fig. 14

Fig. 15
ELECTROLUX HOME PRODUCTS FRANCE SAS
43, avenue Félix Louat - BP 50142 - 60307 SENLIS CEDEX
Tél.: 03 44 62 22 22
S.A.S au capital de 67 500 000 € - 552 042 285 RCS SENLIS
Dans le souci d'une amélioration constante de nos produits, nous nous réservons le droit d'apporter à leurs caractéristiques toutes modifications liées à l'évolution technique (décret du 24.03.78)
Notice Facile