TMG 7040MI - Four électrique SCHOLTES - Notice d'utilisation et mode d'emploi gratuit
Retrouvez gratuitement la notice de l'appareil TMG 7040MI SCHOLTES au format PDF.
| Intitulé | Description |
|---|---|
| Type de produit | Table de cuisson à induction |
| Nombre de foyers | 4 foyers à induction |
| Alimentation électrique | 230 V |
| Dimensions approximatives | 60 cm x 51 cm |
| Poids | 10 kg |
| Compatibilités | Compatible avec les ustensiles de cuisson à induction |
| Puissance totale | 7400 W |
| Fonctions principales | Boost, minuterie, réglage de la température |
| Entretien et nettoyage | Surface en vitrocéramique, nettoyage facile avec un chiffon humide |
| Pièces détachées et réparabilité | Disponibilité des pièces détachées à vérifier auprès du fabricant |
| Sécurité | Arrêt automatique, sécurité enfants, indicateur de chaleur résiduelle |
| Informations générales | Produit conçu pour un usage domestique, installation par un professionnel recommandée |
FOIRE AUX QUESTIONS - TMG 7040MI SCHOLTES
Questions des utilisateurs sur TMG 7040MI SCHOLTES
0 question sur cet appareil. Repondez a celles que vous connaissez ou posez la votre.
Poser une nouvelle question sur cet appareil
Téléchargez la notice de votre Four électrique au format PDF gratuitement ! Retrouvez votre notice TMG 7040MI - SCHOLTES et reprennez votre appareil électronique en main. Sur cette page sont publiés tous les documents nécessaires à l'utilisation de votre appareil TMG 7040MI de la marque SCHOLTES.
MODE D'EMPLOI TMG 7040MI SCHOLTES
- Cet appareil a été conçu pour une utilisation non professionnelle, à l'intérieur d'une habitation.
- Avant d'utiliser cet appareil, lisez attentivement la notice car elle contient des instructions très importantes concernant la sécurité d'installation, d'utilisation et d'entretien. Conservez soigneusement ce livre pour toute consultation ultérieure.
- Après avoir déballé l'appareil, vérifiez s'il est intact. En cas de doute, avant d'utiliser l'appareil, consultez une personne qualifiée.
- Les éléments de l'emballage (sachets plastique, polystyrène expansé, clous, etc.) ne doivent pas être laissés à la portée des enfants car ils pourraient être dangereux.
- L'installation doit être effectuée conformément aux instructions du fabricant par un technicien qualifié.
- Le fabricant décline toute responsabilité en cas de dommages provoqués à des personnes, à des animaux ou à des biens du fait de l'installation incorrecte de l'appareil.
- La sécurité électrique de cet appareil n'est assurée que si ce dernier est correctement raccordé à l'installation de mise à la terre, conformément aux normes sur la sécurité électrique. Il est indispensable de vérifier que cette condition fondamentale de sécurité soit bien remplie. En cas de doute, il faut s'adresser à une personne qualifiée pour un contrôle minutieux de l'installation électrique.
- Le fabricant ne peut en aucun cas être considéré responsable des dommages pouvant survenir si l'installation de mise à la terre fait défaut.
- Avant de connecter l'appareil, vérifiez si les caractéristiques techniques figurant sur la plaquette correspondent bien aux caractéristiques de l'installation électrique.
- Vérifiez si la charge électrique de l'installation et des prises de courant est apte à supporter la puissance max. de l'appareil figurant sur la plaquette. En cas de doute, adressez-vous à une personne qualifiée.
- Cet appareil doit être destiné à l'usage pour lequel il a été conçu. Toute autre utilisation (comme par exemple le chauffage d'une pièce) est impropre et, en tant que telle, dangereuse.
- Le fabricant decline toute responsabilité en cas de dommages provoqués par un usage impropre ou erroné.
- L'usage de tout appareil électrique implique le respect de certaines règles fondamentales. À savoir:
- ne jamais toucher l'appareil avec les mains mouillées ou humides,
- ne jamais utiliser l'appareil pieds nus, ne jamais utiliser de rallonges,
- ne jamais tirer sur le cordon d'alimentation ou l'appareil pour débrancher la fiche de la prise de courant,
- ne pas exposer l'appareil aux agents atmosphériques (pluie, soleil, etc.),
- Ne pas laisser utiliser l'appareil, sans surveillance, par des enfants ou des personnes incapables de le faire.
- Avant toute opération de nettoyage ou d'entretien, déconnectez l'appareil en débranchant la fiche ou en éteignant l'interrupteur de l'installation électrique.
- En cas de déluge sur la surface du verre, coupez immédiatement l'alimentation électrique. Pour la réparation, adressez-vous exclusivement à un centre de Service Après-Vente agréé et demandez des pièces de rechange d'origine. Le non-respect de ce qui précède peut compromettre la sécurité de l'appareil.
- Si vous décidez de ne plus utiliser l'appareil, il est recommandé de le rendre inopérant en coupant le cordon d'alimentation, après l'avoir débranché de la prise de courant. Nous recommendons vivement de neutraliser les parties de l'appareil susceptibles de représenter un danger, rundout vis à vis des enfants qui pourrait s'en servir pour jouer.
- La table vitrocéramique résiste aux chocs thermiques et mécaniques. Cependant, elle peut se briser sous l'effet d'un choc provoqué par un objet pointu, tel qu'un outil par exemple. Dans ce cas, coupez immédiatement l'alimentation et contactez un centre de Service Après-Vente agréé pour la réparation.
- N'oubliez pas que la zone de chauffe reste chaude pendant au moins une demi-heure après l'avoir éteinte; veillez à ne pas poser par mégarde des récipients ou des objets sur la zone encore chaude.
- N'allumez pas les zones de chauffe si des feuilles d'aluminium ou des objets en matière plastique sont posés sur la table de cuisson.
- Ne vous approchez pas des zones de chauffe lorsqu'elles sont chaudes.
- Si vous utilisez de petits électroménagers près du plan de cuisson, veillez à ce que le cordon d'alimentation ne touche pas les parties chaudes.
- Faites attention à ce que les poignées des casseroles soient toujours tournées vers l'intérieur de la table de cuisson pour éviter de les heurer accidentellement.
- ATTENTION: Si des foyers halogènes équipent votre appareil, ne les fixez pas des yeux trop longtemps.
Première utilisation : la colle utilisée pour les joints laisse des traces grasses sur le verre. Nous vous conseillons de les éliminer avant d'utiliser l'appareil, à l'aide d'un produit d'entretien non abrasif. Pendant les premières heures d'utilisation, une odeur de caoutchouc se dégage de l'appareil mais elle disparaît rapidement.
Les instructions qui suivent sont destinées à l'installateur qualifié pour l'aider à effectuer les opérations d'installation, de réglage et d'entretien technique le plus correctement possible et dans le respect des normes en vigueur.
Important : avant toute opération, débranchez la table de cuisson.
Installation
- La table de cuisson s'encastre dans le plan de travail par simple découverte.
- Le matériel du plan de travail doit résister à une température d'environ 100°C.
- La table de cuisson doit être positionnée à au moins 40 mm de distance du mur adjacent et à au moins 600 mm de distance de toute autre surface verticale, pour permettre une bonne aération et pour éviter toute surchauffe des surfaces autour de l'appareil.
- Si vous souhaitez installer la table au-dessus d'un four, celui-ci doit être équipé d'une ventilation forcée de refroidissement.
- Evitez d'installer la table au-dessus d'un lave-vaisselle ou prévoyez une séparation étanche entre les deux appareils.


Fixation
Très important : Il est impératif d'assurer l'encastrement de la table vitrocérame sur une surface d'appui parfaitement plane. Les déformations provoquées par une mauvaise fixation risquent d'alterer les caractéristiques du plan de cuisson ainsi que ses performances.
Les ressorts de fixation sont vissés par des vis (voir dessin).
Il est impératif de laisser ces vis accessibles.
Insérez la table de cuisson dans le trou d’encastrement en appuyant bien tout autour du cadre pour que la table adhère parfaitement au plan de cuisson.
MONTAGE DES RESSORTS DE FOND

Positionnement
Cet appareil peut être installé et fonctionner seulement dans des locaux qui sont aérés en permanence, selon les prescriptions des Normes:
Pour la France selon les Normes Nationales en vigueur. Pour la Belgique NBN D51-003 et NBN D51-001 en vigueur. Pour la Hollande NEN-1078 en vigueur.
Il faut observer les conditions suivantes :
a) La pièce doit prévoir un système d'évacuation vers l'externe des fumées de combustion, réalisé au moyen d'une hotte ou par ventilateur électrique qui entre automatiquement en fonction dès que l'on allume l'appareil.

En cas de cheminée ou conduit de fumée ramifié Directement à l'externe (réservé aux appareils de cuisson)
b) La piece doit être équipée d'un système permettant l'apport d'air indispensable à une bonne combustion. La quantité d'air comburant ne doit pas être inférieure à 2 m³/h par kW de puissance installée. Le système peut être du type prélevant directement l'air de l'extérieur de l'immeuble au moyen d'un conduit devant avoir au moins 100 cm² de section utile et ne risquant pas d'être accidentellement bouché. Pour les tables de cuisson dépourvues de dispositif de sécurité en cas d'extinction de la flamme, il faut prévoir des ouvertures d'aération agrandies de 100%, le minimum prévu est de toute manière de 200cm² (Fig. A). Ou bien du type prélevant indirectement l'air de locaux adjacentés équipés d'un conduit d'aération vers l'extérieur comme sus indiqué et qui ne soient pas des parties communes de l'immeuble, des pieces à risque d'accendie ou des chambres à coucher (Fig. B).
Détail A Exemples d'ouverture de ventilation pour l'air comburant Fig. A
Agrandissement de la fente entre la porte et le sol Fig. B
c) En cas d'utilisation intensive et prolongée de l'appareil, une aération supplémentaire pourrait être nécessaire ; dans ce cas, ouvrez une fenêtre ou augmentez la puissance de l'aspiration mécanique si vous disposez
d'une hotte.
d) (Pour la France et la Belgique)
Les gaz de pétrole liquéfiés, plus lourds que l'air, se déposent et stagnent vers le bas. Les locaux qui contiennent donc des bidons de GPL doivent prévoir des ouvertures vers l'extérieur afin de permettre l'évacuation par le bas des fuites eventuelles de gaz. Les bidons de GPL, qu'ils soient vides ou partiellement pleins, ne devront donc pas être installés ou déposés dans des locaux qui se trouvent au-dessous du niveau du sol (caves etc.).
Il est opportun de tenir dans le local, uniquement le bidon que vous êtes en train d'utiliser, placé de façon à ne pas être sujet à l'action directe des sources de chaleur (four, cheminée, poêle etc.) pouvant lui faire atteindre des températures dépassant 50°C.
Installation des tables à encastrer
Possibilité d'installation côte à côte avec des meubles dont la hauteur ne dépasse pas celle du plan de travail. La paroi en contact avec la paroi postérieure de la cuisinière doit être réalisée en matériel non inflammable. Pendant le fonctionnement, la paroi postérieure de la cuisinière peut atteindre une température de 50°C supérieure à celle ambiant. Il faut observer les précautions suivantes pour une installation correcte des tables de cuisson:
a) Les meubles adjacents ayant une hauteur dépassant celle du plan de travail doivent être situés à au moins 600 mm du bord du plan. b) Les hottes doivent être installées conformément aux indications fournies par les notices d'instructions de ces dernières et en tous cas, à au moins 650 mm de distance. c) En cas de hottes ayant une largeur de 600 mm, outre à respecter ce qui est spécifié au point b), il faut positionner les meubles adjacents à la hotte au moins à 540 mm de hauteur du top, de manière à permettre l'éventuelle installation du couvercle et sa correcte manœuvrabilité ; mais de toutes façons il faut les installer à une distance du top qui permette l'usage des casseroles sur la cuisinière. d) Si la table est installée sous un élément suspendu, il faut que ce dernier soit placé à au moins 700 mm (millimètres) de distance du plan comme indiqué figure.

Raccorder l'appareil à la bouteille ou à la canalisation du gaz conformément aux normes en vigueur, uniquement après avoir vérifié que l'appareil est bien réglé pour le type de gaz d'alimentation utilisé. Dans le cas contraire,
effectuer les opérations décrites au paragraphe "Adaptation aux différents types de gaz". Pour l'alimentation en gaz liquide, utiliser des régulateurs de pression conformes aux Normes en vigueur.
Important: pour un fonctionnement en toute sécurité, pour l'emploi correct de l'énergie et une plus longue durée de vie de l'appareil, vérifier si la pression d'alimentation respecte bien les valeurs indiquées dans le tableau 1 "Caractéristiques des brûleurs et des injecteurs".
Raccordement gaz
(Pour la Belgique - la Hollande)
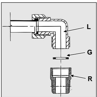
Raccorder l'appareil à la canalisation du gaz conformément aux normes en vigueur (pour la Belgique NBN D04-002) uniquement après avoir vérifié que l'appareil est bien régle pour le type de gaz d'alimentation utilisé. Dans le cas contraire, (pour la Belgique) effectuer les opérations décrites au paragraphe "Adaptation aux différents types de gaz". Pour l'alimentation en gaz liquide, utiliser des réguleurs de pression conformes aux Normes en vigueur. Pour relier l'apparil à la canalisation du gaz Naturel, II2E+3+ pour la Belgique et I2L pour la Hollandie, il faut avant tout installer le raccord "R" (fourni comme accessoire) avec son étanchéité "G" sur le raccord en forme de "L" situé sur le tuyau de raccordement gaz (voir figure). Le raccord est fourni de filetage conique mâle avec pas 1/2 gaz.
Le raccordement doit être réalisé au moyen:
- ou d'un tuyau rigide (pour la Belgique selon les normes NBN D51-003)
- ou d'un tuyau flexible en acier inox, sans interruption, et équipé de raccordements filetés.
En amont de l'appareil il faut installer un robinet d'arrêt du gaz (pour la Belgique marqué A. G. B) ; il devra être installé de manière à pouvoir facilement le manœuvrer. Pour la Hollande selon les Normes Nationales en vigueur.

Raccordement du tube rigide (cuivre ou acier)
Le raccordement à la canalisation du gaz doit être effectué de façon à ne provoquer aucune contrainte à l'appareil. La rampe d'alimentation de l'appareil est munie d'un raccord en "L" orientable avec joint d'étanchéité. S'il est nécessaire de faire tournier le raccord, il faut impérativement replacer le joint d'étanchéité (fourni avec l'appareil). Le raccord d'entrée du gaz à l'appareil est filtré G 1/2 taraud cylindrique.
Raccordement du tuyau flexible en acier
Le raccord d'entrée du gaz à l'appareil est filtré G 1/2 taré cylindrique. Utiliser exclusivement des tuyaux et des joints d'étanchéité conformes à la norme en vigueur. La mise en service de ces tuyaux doit être effectuée de façon à ce que leur longueur ne dépasse pas 2000 mm.
en extension maximum. Après avoir effectué le branchement, veillez à ce que le tuyau métallique flexible ne soit pas écrasé ni placé contre des parties mobiles.
Contrôle étanchéité
Une fois l'installation terminée, vérifier l'étanchéité de tous les raccords en utilisant une solution savonneuse et jamais une flamme.
Adaptation aux différents types de gaz
(Pour la France et la Belgique)
Pour adapter la table à un type de gaz différent de celui pour lequel elle a été conçue (indiqué sur la plaquette fixée sous la table ou sur l'emballage), replacer les injecteurs de tous les brûleurs et, pour ce faire, procéder comme suit:
- enlever les grilles de la table de cuisson et sortir les brûleurs de leur logement;
- Dévisser les injecteurs à l'aide d'une clé à tube de 7 mm. et les remplacer par les injecteurs appropriés au nouveau type de gaz (cf. tableau 1 "Caractéristiques des brûleurs et des injecteurs").
- remonter les différentes parties en effectuant les opérations dans le sens inverse.
- en fin d'opération, remplacez l'ancienne étiquette de calibrage par la nouvelle, correspondant au nouveau gaz utilisé, que vous trouverez dans nos centres de Service Après-vente.
Uniquement pour la Belgique:
- en fin d'opération, remplacez l'ancienne étiquette de réglage par celle correspondant au nouveau gaz utilisé qui se trouve dans le sachet des injecteurs fournis avec le produit.
Si la pression du gaz utilisé est différente (ou variable) par rapport à la pression prévue, il faut installer, sur la canalisation d'arrivée, un régulateur de pression approprié conforme aux normes sur les régulateurs de gaz canalisés en vigueur dans le pays.
France et la Belgique)
Les brûleurs ne nécessitent aucun réglage de l'air primaire.
Réglage des minima (pour la france et la belgique)
- Placer le robinet sur la position minimum;
- Enlever la manette du brûleur correspondant et agir sur la vis de réglage située à l'intérieur ou bien à côté de la tige du robinet jusqu'à obtenir une petite flamme régulière.
N. B. : en cas de gaz liquides, il faut visser à fond la vis de réglage.
- vérifier si, en tournant rapidement la manette du maximum au minimum, les brûleurs ne s'éteignent pas.
- Sur les appareils équipés de dispositif de sécurité (thermocouple), si le dispositif ne fonctionne pas lorsque les brûleurs sont au minimum, augmenter le débit des minima en agissant sur la vis de réglage.
Après avoir effectué le réglage, remettez en place les cachets situés sur le by-pass avec de la cire à cacheter ou tout matériel équivalent.

| Modification | Cachet de la station technique | Date |
| Coller ici une des étiquettes située dans le sachet des injecteurs | ||
Caracteristique des brûleurs et des injecteurs
| Tableau 1 | Gaz liquide | Gaz naturel | Air propagated (1) | |||||||||||
| Brûleur à gaz | Diamètre (mm) | Puisance thermique kW (p.c.s.)* Réduit. | By-Pass 1/100 (mm) | Puisance thermique kW (p.c.s.)* Nomin. | Injecteur 1/100 (mm) | Debit* g/h Butane | Propane | Puisance thermique kW (p.c.s.)* Nomin. | Injecteur 1/100 (mm) | Debit* l/h G20 | G25 | Puisance thermique kW (p.c.s.)* Nomin. | Injecteur 1/100 (mm) | Debit* l/h |
| Rapide (R) | 100 | 0,70 | 39 | 3,00 | 86 | 218 | 214 | 3,30 | 123 | 314 | 365 | 3,00 | 275 | 420 |
| Semi Rapide (S) | 75 | 0,40 | 28 | 1,80 | 67 | 131 | 136 | 1,80 | 102 | 171 | 199 | 1,80 | 183 | 252 |
| Auxiliaire (A) | 55 | 0,40 | 28 | 1,00 | 50 | 73 | 71 | 1,00 | 73 | 95 | 111 | 1,00 | 136 | 140 |
| Triple Couronne (TC) | 130 | 1,30 | 57 | 3,30 | 87 | 240 | 236 | 3,60 | 131 | 343 | 399 | 3,30 | 300 | 462 |
| Pressions d'alimentation (Pour la France) | Nominate (mbar) | 28-30 | 37 | 20 | 25 | 8 | ||||||||
| Minimale (mbar) | 20 | 25 | 17 | 20 | 6 | |||||||||
| Maximale (mbar) | 35 | 45 | 25 | 30 | 15 | |||||||||
| Pressions d'alimentation (Pour la Belgique) | Nominate (mbar) | 28-30 | 37 | 20 | 25 | - | ||||||||
| Minimale (mbar) | 20 | 25 | 15 | 15 | - | |||||||||
| Maximale (mbar) | 35 | 45 | 25 | 30 | - | |||||||||
Seulement pour la France, voir la plaquette d'immatriculation de l'appareil. Pour la transformation au gaz air propane, demander le kit injecteurs à un centre d'assistance technique Merloni Electroménager. * À 15°C et 1013 mbar-gaz sec Propane P. C. S. = 50,37 MJ/kg Butane P. C. S. = 49,47 MJ/kg Naturelle G20 P. C. S. = 37,78 MJ/m³ Naturelle G25 P. C. S. = 32,49 MJ/m³ Air Propané P. C. S. = 25,72 MJ/m³

Cet appareil est conforme aux directives communautaires suivantes:
- 73/23/CEE du 19/02/73 (Basse Tension) et modifications successives;
- 89/336/CEE du 03/05/89 (Compatibilité électromagnétique) et modifications successives;
- 90/396/CEE du 29/06/90 (Gaz) et modifications successives;
- 93/68/CEE du 22/07/93 et modifications successives.
- 2002/96/EC
La Directive Européenne 2002/96/EC sur les Déchets des Equipements Electriques et Electroniques (DEEE), exige que les appareils ménagers usagés ne soient pas jetés dans le flux normal des déchets municipaux. Les appareils usagés doivent être collectés séparément afin d'optimiser le taux de récupération et le recyclage des matériaux qui les composent et réduire l'impact sur la santé humaine et l'environnement. Le symbole de la "poubelle barrée" est apposé sur tous les produits pour rappeler les obligations de collecte séparée.
Les consommateurs devront contacter les autorités locales ou leur revendeur concernant la démarche à suivre pour l'enlèvement de leur vieux appareil.

TMG 7040 TMG 7320
Raccordement électrique
- La sécurité électrique de cet appareil n'est assurée que si ce dernier est correctement raccordé à l'installation de mise à la terre, conformément aux normes sur la sécurité électrique. Il est indispensable de vérifier que cette condition fondamentale de sécurité soit bien remplie. En cas de doute, il faut s'adresser à une personne qualifiée pour un contrôle minutieux de l'installation électrique.
- Le fabricant ne peut en aucun cas être considéré responsable des dommages pouvant survenir si l'installation de mise à la terre fait défaut.
- Avant de connecter l'appareil, vérifiez si les caractéristiques techniques figurant sur la plaquette correspondent bien aux caractéristiques de l'installation électrique.
- Vérifiez si la charge électrique de l'installation et des prises de courant est apte à supporter la puissance maximale de l'appareil figurant sur la plaquette. En cas de doute, adressez-vous à une personne qualifiée.
Avant toute intervention, déconnectez l'appareil.
Vous devez raccorder votre table à l'installation de deux façons:
- par l'intermédiaire d'un boîtier de connexion : si l'appareil est raccordé en fixe, il faut prévoir un interrupteur omnipolaire, accessible en cas de nécessité, avec une distance d'ouverture entre les contacts supérieure ou égale à 3 mm. au moyen d'une prise de courant homologuée dans le pays où est installé l'appareil. Elle doit être accessible en cas de nécessité, ne pas utiliser d'adaptateur ou de prise multiple, ni de rallonge.
Important
Après raccordement au câble souple, resserrer toutes les vis du bornier de raccordement. Veillez à installer les pontets en fonction du type de réseau comme indiqué dans le tableau.
Exemple : ligne 1 du tableau
| Branchements électriques | Tension Fréquence | Fusibles Sections |
| 1 2 3 4 5 N | FR-AT-BE-DE-GP-E-S-IE-IL-IS-IT-LU-RE-FI-GB-GR-PT-S-E-MA-NZ230V-1+N~50 Hz | 25 A*2,5 mm² |
| 1 2 3 4 5 L2 | FR-BE-NO230V-2~50/60 Hz | 25 A*2,5 mm² |
| 1 2 3 4 5 N | FR-BE-CH-DE-AT-E-S-IL-IT-NZ-PT-MA- LU-SE-IS-NL400V2-N~50 Hz | 16 A*1,5 mm² |
| 1 2 3 4 5 L3 | FR-BE-NO230V3~50 Hz | 16 A*1,5 mm² |
| 1 2 3 4 5 N1 N2 | NL230V2+2-N~50 Hz | 16 A*1,5 mm² |
| 1 2 3 4 5 N | CY-AU-NZ-KW-MT240V-1+N~50 Hz | 25 A*2,5 mm² |
| * Application du coefficient de simultanéité suivant norme CEI60335-2-6 | ||
En cas de mauvais raccordement:
- si votre appareil ne fonctionne pas,
- si les foyers droits sont inaccessibles et les afficheurs de puissance clignotent,
- vérifiez la position des fils dans le bornier,
- vérifiez le serrage des vis,
- vérifiez la mise en place des pointets.
Attention: Si l'on installe la table de cuisson au-dessus d'un four encastré, le branchement électrique de la table et celui du four doivent être faits séparément pour des raisons de sécurité et pour simplifier les opérations servant à extraire le four si besoin est.

| TABLES DE CUISSON | TMG 7320 | |
| Foyers | Puisance (en W) | Diametre (en mm) |
| Arrière Centre | R 1200 | 145 |
| Avant Centre | H 1050/2500 | 230 |
| Puisance totale | 3700 | |
| H = halogène, R = radiant simple | ||
Description de la table de cuisson


A Zones de chauffe B Brûleurs gaz C Manettes de commande des brûleurs gaz ou des zones de chauffe D Voyant chaleur résiduelle E Voyant de fonctionnement
Réglage des brûleurs
Le réglage est progressif, il permet une adaptation facile aux différents diamètres de casseroles et aux intensités de chauffe.
Pour le réglage, appuyez sur la manette et tournez-la dans le sens inverse des aiguilles d'une montre pour amener le repère de la manette en face des symboles suivants :
un point noir : fermé

une grande flamme : ouvert

une petite flamme : débit réduit
Allumage des brûleurs équipés d'un dispositif de sécurité
Les brûleurs de votre table sont à allumage "une main". Il suffit en effet d'appuyer sur la manette tout en la tournant dans le sens inverse des aiguilles d'une montre pour faire jaillir des étincelles qui entraînent l'allumage du brûleur. APRÈS l'allumage, continuez à appuyer sur la manette pour permettre au dispositif de sécurité gaz de s'activer.
En cas d'extinction accidentelle de la flamme, le dispositif de sécurité gaz intervient : l'arrivée du gaz est coupée automatiquement. Pour rallumer le brûleur, procédez comme indiqué plus haut.
Rappel : en cas de panne d'électricité, vous pouvez allumer le brûleur avec une allumette, appuyez sur la manette tout en la tournant comme indiqué plus haut.
Description des éléments chauffants
Les éléments radiants sont formés par des résistances circulaires. Après allumage, ils deviennent rouges après quelques dizaines de secondes.
Les éléments halogènes mixtes. La table utilise des éléments composés par deux lampes halogènes et une résistance circulaire. Grâce à cette combinaison, on obtient une distribution optimale de la température sur toute la surface de la zone de chauffe, sans renoncer aux nombreux avantages des lampes halogènes. Les lampes halogènes ont comme caractéristique principale l'émission instantanée d'une grande quantité de lumière et de chaleur, ce qui entraîne:
- une montée rapide de température tout à fait semblable à celle d'un brûleur à gaz
- une extinction tout aussi rapide.
Leur emploi est extrêmement simple, absolument analogue à celui des autres éléments chauffants. Rapportez-vous au tableau 1.
Tableau 1
| Pos | Réglage des zones de cuisson |
| 0 | étéint |
| 1 | pour faire fondre le beurre, le chocolat |
| 2 | pour réchauffer les liquides |
| 3 | |
| 4 | pour crèmes et sauces |
| 5 | |
| 6 | pot au feu - blanquette - entremets |
| 7 | |
| 8 | pâtes - riz |
| 9 | |
| 10 | steack - poisson - omelette |
| 11 | |
| 12 | friture |
Les manettes de commande (c)
Chaque zone de chauffe est dotée d'une manette pour le réglage constant de la température (1 = position mini, 12 = position maxi). Le tableau 1 ci-après illustre la correspondance entre les positions indiquées sur la manette et l'usage conseillé pour chaque zone de cuisson.
Réglage des foyers extensibles
Les foyers extensibles (concentrique ou ovale) sont matérialisés sur le verre par une zone de chauffe double. Pour n'utiliser que la petite zone, tournez la manette de commande de 1 à 12 selon la puissance de chauffe que vous désirez.
Pour utiliser la grande zone, amenez la manette sur la position et régalez ensuite la puissance souhaitée.
Levoyant défonctionnement (e)
Le voyant s'allume lorsque l'une des zones de chauffe est en marche.
Levoyant chaleur résiduelle (d)
Il signale qu'une ou plusieurs zones de chauffe ont une température supérieure à 60°C et ce même après extinction de ces dernières. Certains modèles sont équipés de 4 voyants chaleur résiduelle, un pour chaque zone de chauffe.
Conseils pour l'utilisation de votre(appel
Pour obtenir les importantes performances de votre table de cuisson, il est important de suivre certaines règles fondamentales pendant la cuisson et pendant la préparation des aliments.
Utilisez des casseroles à fond plat pour qu’elles adhèrent parfaitement à la zone de chauffe



Utilisez toujours des casseroles dont le diamètre couvre complètement la zone de chauffe de façon à ce que toute la chaleur disponible puisse être utilisée.



Veillez à ce que la base des casseroles soit toujours bien sèche et propre, pour garantir un bon contact et une longue durée de vie des foyers mais aussi des casseroles. - Evitez d'utiliser les casseroles que vous utilisez sur les brûleurs à gaz. La concentration de la chaleur sur les brûleurs à gaz peut déformer le fond de la casserole, par conséquent vous n'obtiendrez jamais le résultat voulu en l'utilisant sur la table de cuisson en vitrocéramique. - Ne laissez jamais une zone de cuisson allumée sans casserole dessus parce que dans ce cas, le niveau maximum de chaleur est atteint très rapidement et l'on risque d'endommager les éléments chauffants. - La table vitrocéramique résiste aux chocs mécaniques et thermiques. Cependant, elle peut se briser sous l'effet d'un choc provoqué par un objet pointu. Dans ce cas, coupez immédiatement l'alimentation et contactez un centre de Service Après-Vente agréé pour la réparation.
Gardez toujours propre votre table de cuisson. Avant de procéder à son entretien, vérifiez si les zones de chauffe sont bien éteintes et absolument froides.
| Brûleurs | Ø Récipiens (cm) |
| Rapide (R) | 24 - 26 |
| Semi-rapide (S) | 16 - 20 |
| Auxiliaire (A) | 10 - 14 |
| Triple Couronne (TC) | 24 - 26 |
Cadre en acier inox (sur certains modèles seulement)
L'acier inox peut se tâcher sous l'effet d'une eau très calcaire qui resterait longtemps au contact de ce dernier ou bien sous l'effet de détergents très agressifs (contenant du phosphore). Nous conseillons de rincer abondamment et de bien essuyer après entretien. Il est préféable d'éliminer rapidement tout débordement d'eau s'il y a lieu.
- Cadre en aluminium avec un aspect inox. Ne jamais utiliser de produits de nettoyage et dégraissant non applicables sur l'aluminium.
Entretien de la table de cuisson
Le verre vitrocéramique utilisé pour la partie chauffante est lisse et sans pores et résistant aux chocs thermiques ainsi qu'aux chocs mécaniques dans des conditions normales d'utilisation. Pour lui conserver toutes ses propriétés, nous vous conseillons de l'entretindre de la façon suivante:
- Pour un entretien courant, il suffit de passer une éponge humide, de sécher avec un essuie-tout en papier.
- Si la table est sale, frottez avec un produit d'entretien adapté au verre vitrocéramique, rincez et essuyez.
- Les salissures en relief s'enlèvent à l'aide d'un grattoir. Opérez dès que possible, ne pas attendre que l'appareil soit refroidi afin d'éviter une incrustation des salissures. L'utilisation d'une éponge en fil d'aciers inoxydable - spécifique pour verre vitrocéramique - imbibée d'eau savonneuse donne d'excellents résultats.
- Quand la table est propre, vous pouvez utiliser un produit d'entretien et de protection : celui-ci laisse un film invisible qui protège la surface lors d'éventuels débordements. Opérez de préférence quand l'appareil est tiède ou froid.
- Prenez soi de bien rincer à l'eau claire et de sécher la table: les résidus des produits peuvent s'incruster lors d'une prochaine cuisson.
- Ne jamais utiliser des détergents abrasifs ou corrosifs, tels que les bombes aérosols pour grilloir et fours, les détacheurs et dérouilleurs, les poudres à recycler et éponges à surface abrasive : même doux, ils provoquent des rayures ineffaçables.
- Il est recommandé de tenir à l'écart du plan de cuisson tout ce qui est susceptible de fondre, tels que les objets en matières plastiques, sucre ou produits à forte teneur en sucre. En cas de débordement sur le plan de cuisson, il est nécessaire de l'enlever immédiatement (pendant que la surface est encore chaude) avec un grattoir à lame de rasoir, afin d'éviter les dégradations de la surface.
- La table ne doit servir que pour la cuisson. Ne rien poser dessus en dehors de son utilisation. Ne pas utiliser la table comme plan de dépose (couvert, casserole, chiffon...), ni comme planche à découper.
- Les emballages en aluminium, le papier d'aluminium, les récipients en matière plastique ne doivent pas être placés sur les surfaces tièdes ou chaudes.
- N'utilise jamais de nettoyeur vapeur ou à haute pression pour le nettoyage de votre appareil.
- Ne pas déposer d'objets métalliques (couteau, cuillère, couvercle,...) sur la table.
- Ne jamais chauffer de boîte de conserve fermée : elle risque d'éclater.
Les dégradations du plan de travail dues à une mauvaise utilisation ne sont pas couvertes par la garantie.
Graissage des robinets
Il peut arriver qu'au bout d'un certain temps, un robinet se bloque ou tourne difficilement. Il faut alors le remplacer.
N. B. : Cette opération doit être effectuée par un technicien agréé par le fabricant.
Notice Facile