MWI241AN - Micro-ondes SCHOLTES - Notice d'utilisation et mode d'emploi gratuit
Retrouvez gratuitement la notice de l'appareil MWI241AN SCHOLTES au format PDF.
| Intitulé | Valeur / Description |
|---|---|
| Type de produit | Micro-ondes combiné |
| Capacité | 24 litres |
| Puissance micro-ondes | 800 W |
| Puissance grill | 1000 W |
| Dimensions intérieures | 33,5 x 33,5 x 21,5 cm |
| Dimensions extérieures | 48,5 x 39,5 x 28 cm |
| Poids | 15 kg |
| Alimentation électrique | 230 V, 50 Hz |
| Fonctions principales | Réchauffage, cuisson, grill, décongélation |
| Type de commande | Electronique avec affichage digital |
| Entretien et nettoyage | Intérieur en acier inoxydable, nettoyage facile |
| Pièces détachées et réparabilité | Disponibilité de pièces détachées selon le modèle |
| Sécurité | Système de verrouillage de porte, protection contre la surchauffe |
| Compatibilités | Compatible avec les plats en verre, céramique et plastique adaptés au micro-ondes |
| Accessoires inclus | Grille pour le mode grill, plateau tournant |
FOIRE AUX QUESTIONS - MWI241AN SCHOLTES
Questions des utilisateurs sur MWI241AN SCHOLTES
0 question sur cet appareil. Repondez a celles que vous connaissez ou posez la votre.
Poser une nouvelle question sur cet appareil
Téléchargez la notice de votre Micro-ondes au format PDF gratuitement ! Retrouvez votre notice MWI241AN - SCHOLTES et reprennez votre appareil électronique en main. Sur cette page sont publiés tous les documents nécessaires à l'utilisation de votre appareil MWI241AN de la marque SCHOLTES.
MODE D'EMPLOI MWI241AN SCHOLTES
A Tableau de commande
B Côté intérieur de la porte
C Couvercle sortie micro-ondes
D Axe du plateau tournant
E Plateau tournant
F Support du plateau tournant
GGrille
1. Afficheur:
L'afficheur visualise une horloge de 24 heures, les temps de cuisson programmés, les fonctions choisis et le niveau de puissance micro-ondes sélectionné.
2. Touche Fonction
sLECTION des fonctions
3. Touche :
niveau de puissance des micro-ondes
Appuyer sur cette touche pour selectionner la puissance micro-ondes souhaitee.
4-5-10-11-12
Touches "Fonctions
prémémorisées":
Appuyer sur une de ces touches pour préparer Pop-corn, Pommes de terre en chemise, Boissons chaudes, Plats prets-à-manger, Pizzas surgelées, Plats précuits surgel
6. Touche STOP :
effacement
Appuyer sur cette touche pour interrompre la cuisson ou effacer les temps de cuisson programmés
7. Bouton :
temps de cuisson
Utiliser ce bouton pour fixer le temps de cuisson ou l'heure.



8. Touche
réglage de l'horloge
Appuyer sur cette touche pour introduire l'heure actuelle et pour visualiser l'horloge pendant le fonctionnement du four.
9. Touche arrêt plateau tournant
13. Touche START: mise en route
Appuyer sur cette touche pourmettrele four en route, après avoir selec tionne la fonction et les temps souhaités.
14. Bouton ouverture de la porte.
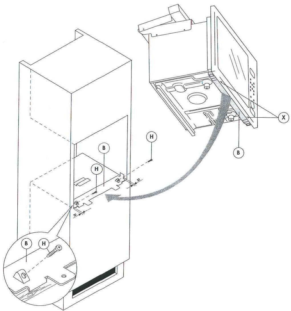
1.3 INSTALLATION DANS UN MEUBLE
A l'intérieur du four vous trouvrez une enveloppe contenant le matériel nécessaire au montage. Sortir l'enveloppe du four. DANS LE CAS OU LES PROTECTIONS EN PLASTIQUE DE LA PORTE DU FOUR SOIENT PRESENTES, ON DOIT LES ENLEVER AVANT D'INSTALLER LE FOUR.
1. Fixer l'ailette (A) au moyen des 2 vis de 13mm (le tout est cot nu dans le sachet des accessoires).


Laisser une ouverture minimum de 280~cm^2 pour permettre l'entrée de l'air de refroidissement.
- Retirer les deux vis marquées d'un (X) sur la barre de montage sous le four à micro-ondes.
- Bien placer la barre de montage (B) dans la niche. S'assurer qu'il y a le même espace des deux côtés de la barre de montage. Fixer la barre avec les vis (H) de 16 mm (le tout est cot nu dans le sachet des accessoires).

La barre de montage doit être placée de façon à ce que les deux ailettes dépassent du bord du plan d'appui et s'y adossent.
- Ouvrir complètement le couvercle d'évacuation des fumées (C) (si prévu).
- Equire cliges l'immunisuré, si l'immunisuré est sur les personnes.
- Faire glisser l'appareil à l'intérieur de la niche jusqu'à ce que la partie frontale (G) touche le meuble et les trous (D) places sous le four soient alignés avec les trous (E) de la barre de montage (B).
- Fixer l'appareil à la barre de montage (B) à l'aide des vis (X).
RACCORDEMENT ELECTRIQUE - RECOMMANDATIONS

Or l'appareil est muni d'un cable d'alimentation ET d'une fiche, la fiche doit toujoursetre accessible au papier d'un interrupteur avec une distance entre les contacts ouverts de 3 mm au moins, muni d'une mise a la terre ne. manente.
1.4 RECOMMANDATIONS IMPORTANTES DE SECURITE
Iure attentionement ces instructions et les conserver pour pouvoir les consulter au besoin.
N.B. Co four est concu pour decongeler, rechauffer et cuire les alimentes en milieu domestique. Il ne doit jumais etre utilise a d'autres fins, ni adapte, ni modifie.
1) ATTENTION: si la porte ou les joints sont déteriorés, n'utilise pas le four et faites-le réparer par un technicien.
spezialisé (forme par le fabricant ou par le Service Clients du vendeur).
2) ATTENTION: Les réparations ou opérations d'entretien qui exigent d'enlever les protections contre l'exposition aux micro-ondes sont dangereuses pour qui n'a pas de préparation spécifique.
1) ATTENTION: Éviter de réchauffer des liquides et autres alimentés dans des recipients hermétiques car ils pourraient éclater.
No pas cuire ou rechauffer des oeuls en coquille dans le micro-ondes car ils pouraient eclater, meme apres la cuisson.
4) ATTENTION: Les parties accessibles peuvent atteindre des températures très élevées durant l'utilisation. Ne peut laisser les enfants s'approcher du four. Il est préférible de ne pas laisser les enfants, ni les personnes incapables, utiliser cet apparéil sans surveillance. Ne laissez pas les enfants jouer avec l'appareil.
les enfants peuvent se servir du four sans surveillance à condition qu'ils aient reçu les instructions nécessaires, leur permettant de l'utiliser en toute sécurité et qu'ils soient conscients des dangers décaulant d'un employe inapproprié.
No pas essayer de faire fonctionner le four la porte ouverte, en retirant les dispositifs de sécurité.
6) No pasmettre le four en marche si des objets quels quils soient sont coinces entre la faconde du four et la porto.
Notroyer regulierement le cote interieur de la porte (B) à l'aide d'un chiffon humide et de produits non abrasifs. Ne pas laisser la salete ou les résidus de nourriture s'accumuler entre la façade du four et la porte.
7) No pasmettre le four en marche si le cable d'alimentation ou la fiche sont endommagéscar cela pourrait provoquer des décharges électriques.
Le cable d'alimentation est détiéré, il devra, pour éviter tout risque, être remplace par le constructeur, par son service après-vente, ou par une personne ayant une qualification similaire.
(II) Si de la fumée sort du four, eteindre l'appareil ou le debrancher et gardar la porte tormoo pour etouffer les flammes eventuelles.
2) Utiliser uniquement des recipients spéciaux four à micro-ondes. Pour éviter tout risque d'incendie du à une surchauffe, il est conseilé de ne pas laisser le four sans surveillance quand on utilise des recipients jétables en plastique, carton ou autre moitière inflammable ou quand on rechauffe des petites quantités d'aliments.
10) No pasmettre le plateau tournant dans I'eau lorsqu'il est tres chaud. Il pourrait se
(1) Quand on utilise les fonctions "Seulement MICRO-ONDES" il ne faut pas préchauffer le four (sans alimentes) ou l'allumer à vide car il pourrait se produit des étcincelles.
12) Avont d'utiliser le four, vérifier que les ustensiles et les recipients sont "spécial micro ondes" (voir la section "Vaiselle appropriée")
1) Quand on rechauffe des liquides (eau, café, lait etc) il est possible que, par effet de l'ébullition retardée, le contenu se mette à bouillir subitement et déborde violément, provoquant des brûlures. Pour éviter ce phénomène,mettre toujours une collège en plastique ou un batonnet de verre dans le recipient. Dans tous les ons manipulier le recipient avec précautions.



14) Ne pas rechauffer des liqueurs très alcoolisées, ni de grandes quantités d'huile. Elles pourrait s'enflammer!
15) Remuer ou secouer les biberons et petits pots pour bébé avant de servir et vérifie la température, afin d'éviter les brûlures.
Il est conseilé de remuer ou de mélanger l'aliment pour que la température soit homogène.
Si on utilise des sterilisateurs pour biberons vendus dans le commerce, avant d'allumer le four vérifier TOUJOURS que le recipient contient la quantité d'eau indiquée par le fabricant.
16) Ne pas utiliser de produits de nettoyage abrasifs ni de raclettes en métal pour nettoyer la porte en verre du four, risque d'endommagement de la surface et de rupture.

Enlèvement des appareils menagers usages
La Directive Européenne 2002/96/EC sur les Déchets des Equipements Electriques et Electroniques (DEEE), exige que les apparciels menagers usages ne soient pas jets dans le flux normal des déchets Municipaux. Les apparciels usages doivent être collectés séparément afin d'optimiser le taux de récapération et le recyclage des matériaux qui les composent et réduire l'impact sur la santé humaine et l'environnement. Le symbole de la "poubelle barrière" est appossee sur tous les produits
pour rappeler les obligations de collecte séparée. Les consommateurs devont contacter les autorités locales ou leur revendeur concernant la démarche à suivre pour l'enlèvement de leur vieil apparéil.

1.5 DONNÉES TECHNIQUES
| Dimensions externes: | (voir "instruction pour installation dans un meuble") |
| Dimensions internes (LxHxP) | 322x202x330 |
| Volume net du four | 24 Lt |
| Poids approximatif | 20 Kg |
| Diamètre du plateau tournant | 27,5 cm |
| Lampe du four | 25 w |
PUISSANCE RENDUE MICRO-ONDES 900 W (IEC705)
Pour tout renseignement supplémentaire, consulter la plaquette signalétique apposoed sur la partie arriere de l'appareil. Cet apparéil est conforme aux Directives 89/336 et 92/31 sur la comptabilité electromagnétique, et au Reglement (CE) N° 1935/2004 du 27/10/2004 sur les materiaux en contact avec les alimentés.
1.6 MISE EN PLACE ET BRANCHEMENT ELECTRIQUE
Le four doit être mis en place à une hauteur minimum de 8^5n mm.
1) Enlever et laver tous les accessoires.
2) Nettoyer l'intérieur du four avec un chiffon humide et doux.
3) Vérifier que le four n'ait pas subi de dommages au cours du transport et notamment que la porte s'ouvre et se ferme parfaitement.
4) Placer au centre du logement circulaire le support (F) et y déposer le plateau tournant (E). L'axe (D) doit coïncider avec le logement correspondant au centre du plateau tournant.
5) Lorsque la mise en place est terminée, le cable d'alimentation et la prise de courant doivent être d'accès aisé.
6) Faire installer ou remplaner la prise de courant par un électricien qualifié.
7) L'appareil ne doit être relié qu'à des prises de courant supportant une intensité de 16 ampères. Afin d'éviter
les coupures de courant durant le fonctionnement du four, vérifier également que l'interrupteur général de la vie habitation supporte une intense de 16 ampères.
8) Avant d'utiliser le four, vérifier que la tension du secteur corresponde bien à celle indiquée sur la plaquette signalétique de l'appareil et contrôler la qualité de l'installation de mise à la terre: le Fabricant decline toute responsabilité en cas de dommages dus au non respect de cette norme.
1.7 VAISSELLE APPROPRIEE
Il est possible d'utiliser des reçipients en verre (de préférence Pyrex), en céramique, en porcelainne, en terre cuite, à condition qu'ils soient depourvus de décorations ou de parties métalliques (filets dorés, anses, petits pieds). Il est possible d'utiliser également des reçipients en plastique résistant à la chaleur mais seulement pour la cisson "seulument micro-ondes". Si vous avez des doutes sur l'utilisation d'un reçipient particulier, vous pouvez effectuer ce simple test: placez le reçipient vide dans le four pendant 30 secondes à la puissance maximale (fonction "seulument micro-ondes")
Si le recipient reste froid ou s'il se rechauffe seulement légarement c'est qu'il peut être utilisé au micro-ondes.
Par contre s'il devient très chaud (ou s'il se crede des étincelles) le recipiert n'est pas approprié.
Pour des temps de cuisson courts, des serviettes en papier, des plateaux en carton ou des assiettes en plastique jétables.
En ce qui concerne la forme et la dimension, il est indispensable que ces dernières permettent la parfaite rotation du plateau tournant.
Tous les recipients en métal, en bois, enjong et en cristal ne sont pas appropriés à la cuisson aux micro-ondes.
Etant donné que les micro-ondes ne rechauffent que les alimentés et pas la vaisselle, il est possible de cuire les alimentés directement sur un plat de service et éviter ainsi d'utiliser (et donc de nettoyer) des casseroles.
Il convient de préciser qu'il est possible que la chaleur des alimentés échauffe les recipients, rendant nécessaire l'utilisation de maniques.
En tout cas, il est recommandé de consulter le tableau ci-dessous:
| Verre | Céragonique | Porcelaine | Vaisselle en terre cuite | Récipients en plastique pour micro-ondes | Verres en car-ton* | Assiettes en car-ton* | Carton parche-miné* | Carton* | Réceptifs métalliques | Vaiselle avec disco-ration en melol | Papier spécial pour rolii | |
| Décongélation | OUI | OUI | OUI | OUI | OUI | OUI | OUI | OUI | OUI | NON | NON | OUI |
| Réchauffement | OUI | OUI | OUI | OUI | OUI | OUI | OUI | OUI | OUI | NON | NON | OUI |
| Cuisson | OUI | OUI | OUI | OUI | OUI | NON | NON | NON | NON | NON | NON | OUI |
Si le temps de cuisson est trop long, il est possible que ces reçipients prènnant feu.
1.8 COMMENT UTILISER AU MIEUX VOTRE FOUR
| Que désirez-vous faire? | Quelle fonction/puissanceCHOISIR? | Instructions pour l'emploi page | Tab. quantité/ temps page |
| • Maintenir la chaleur des aliments | pot. 1 (150W) | 1920 | |
| Décongeler | 17 | 18 | |
| Fondre chocolat /glace | 1920 | 21 | |
| Fondre du beurre ou ramollir du fromage | pot. 2 (300W) | 20 | 21 |
| Cuire les gâteaux | pot. 3 (450W) | 24 | 24 |
| Cuire ragoût, blanc de poulet | pot. 4 (700W) | 1922 | 22 |
| Cuire fruits, légumes, riz, potage,oisson | pot. 5 (900W) | 1923 | 23 |
| Réchauffer tous les aliments déjà cuits ou congelés | 20 | 21 | |
| Décongeler, réchauffer, cuire sur deux niveaux simultanément | avec grille | 15 | 16 |
| Préparer des popcorn | 27 | 26 | |
| Réchauffer des pizzas précuites congélées, réchauffer des aliments congélés | Fonctions prémémorisées | 27 | 26 |
| Réchauffer des boissons/liquides | 27 | 26 | |
| Réchauffer des alimentés précuits sortis du réfrigérateur | 27 | 26 | |
| Cuire des pommes de terre | 27 | 26 |
1.9 REGLES FONDAMENTALES POUR LA CUISSON AUX MICRO-ONDES
Les micro-ondes sont des radiations electromagnétiques représentes même dans la nature sous forme d'ondes lumineuses (la lumière solaire, par exemple) qui, à l'intérieur du four et de toutes les directions, penètrent dans les aliments et rechauffent les molécules d'eau, de graisse et de sucre. La chaleur est produit très rapidement seulement à l'intérieur des aliments, tandis que le recipient ne se rechauffe que de manière indirecte, par la chaleur dégagée par les mets. Ainsi, les aliments ne collent pas au recipient et il est donc possible d'utiliser très peu de graisse durant la cuisson (ou dans certains cas de ne pas en utiliser du tout). La cuisson aux micro-ondes, avec peu ou sans matière grasse, constitue donc une cuisine très saine et diététique. En outre, par rapport aux systèmes traditionnels, la cuisson s'effectue à une température moins élevée et, par conséquent, les aliments se desschent moins, ne perdent pas leurs propriétés nutritives et conservent toute leur saveur.
Règles fondamentales pour une bonne cuisson aux micro-ondes
1) Pour programmermer correctement les temps de cuisson en suivant les données fournies dans les tableaux aux pages suivantes, il faut tener compte du fait que si l'on augmente la quantité des alimentes il faut augmenter également le temps de cuisson proportionnellement et vice versa. Il est important de respecter le temps de " Repos": c'est-à-dire le temps pendant lequel il faut laisser reposer les alimentes après la cuisson de façon à permettre une ultérieure diffusion de la température à l'intérieur des alimentes. La temperature des viandes, par exemple, augmentera d'environ 5 - 8^ pendant le temps de repos. Les temps de repos peuvent avoir lieu également à l'extérieur du four.
2) Une des principales opérations à effectuer consiste à mélanger à plusieurs reprises pendant la cuisson: cela permet de prendre les températures plus uniformes et de réduire, par conséquent, les temps de cuisson.
3) Il est également conseilé de returner les alimentés durant la cuisson.
4) Les alimentés avec coquille ou peu ( comme pômes, pommes de terre, tomates, saucisses de Strasbourg, poisson) doivent être piqués en plusieurs endroits avec une fourchette de façon à ce que la vapeur puisse s'échapper et éviter ainsi que la peu ou la coquille n'éclate.
5) Si on cuit plusieurs portions du même aliment, par exemple des pommes de terre bouillies, les placer en cercle dans un plat afin d'obtenir une cuisson uniforme.
6) Plus la température initiale de l'aliment à cuire est BASSE, plus le temps de cuisson sera long. Les aliments qui sont à la température ambiente cuiront plus rapidement que les aliments sortant du réfrigerateur.
7) RÉalisér les cuissons en posant toujours le récipient au centre du plateau tournant.
8) La formation de condensation à l'intérieur du four et dans la zone de sortie de l'air est parfaitement normale. Pour réduire la formation de la condensation, nous vous conseillons de couvrir les aliments avec un film transparent, du papier huilé, un couvercle en verre ou tout simplement avec une assiette renversée. En outre, les aliments contenant beaucoup d'eau (par exemple les légumes) causent moins s'ils sont couverts. Enfin, le fait de recouvrir les aliments permet de maintainir l'intérieur du four propre. Il convient d'utiliser du film transparent approprié aux jours à micro-ondes.
9) Ne pas cuire les oeufs avec la coquille: la pression qui se forme à l'intérieur fait éclater l'oeuf, même après la cuisson. Ne pas rechauffer les oeuts déjà cuits sauf s'il s'agit d'oeuts brouillés.
10) Avant de rechauffer ou de cuire dans le four des alimentes contenus dans des réci-pients fermés hermétiquement, ne pas oublier de les ouvrir. La pression à l'intérieur du récipient augmenterait en le faisant éclater même après la cuisson.



CHAPITRE 2 - UTILISATION DES COMMANDES
2.1 COMMENT REGLER L'HORLOGE
Lorsque l'appareil est branché pour la première fois au réseau électrique, ou après une panne de courant, les chiffres 12:00 clignotent sur l'afficheur.
Pour la mise à l'heure de l'horloge, procéder de la manière suivante:


1 Appuyer sur la touche (8). (Les heures clignotent sur l'afficheur).


2 Regler l'heure souhaitee en tournant le bouton (7). (Les heures clignotent sur I'afficheur).



3 Appuyer a nouveau sur la touche (8). (Les minutes commenc- cent a clignoter sur l'afficheur).


4 Regler les minutes souhaitees en tournant le bouton (7). (Les minutes clignotent sur l'afficheur).



5 Appuyer à nouveau sur la touche (8). (L'afficheur visualise l'heure réglée

Pour modifier l'heure affichee lorsqu'elle a déjà ete reglee, appuyer sur la touche (8) et proceder ensuite a une nouvelle mise a l'heure comme decrit ci-dessus.
Pour visualiser l'heure actuelle après la mise en route de la fonction selectionnee, il suffit d'appuyer sur la touche (8) (l'afficheur visualise l'heure pendant 3 secondes).
2.2 - CUISSON SIMULTANÉE SUR DEUX NIVEAUX
En utilisant la grille intercalaire (G) dans la fonction seulement micro-ondes, il est possible de décongeler, réchauffer et cuire simultanément des mets, même différents, places sur deux niveaux. Le système spécial de double émission des micro-ondes permet en effet d'optimiser la distribution de l'énergie.
Si vous souhaitez cuire deux plats simultanément, vous devez tout simplement tener compte des simples régles générées suivantes:
1) Les temps de cuisson pour les plats cuits simultanément sont différents de ceux pour les cuissons individuelles. Veuillez, par conséquent, toujours contrôler le tableau de référence proposé à la page 16.
| Temps de cuisson pour plats cuits simultanément | |
| Pommes de terre (au-dessus) Goulasch (en dessous) | 16 min 40 min |
| Temps de cuisson pour plats cuits individuellement | |
| Pommes de terre Goulasch | 7 - 8 min 30 - 35 min |
2) Veillez placer TOUJOURS au-dessus de la GRILLE INTERCALAIRE le plat qui exige le temps de cuisson le plus bref: il sera en effet plus facile d'extraire le recipient supérieur. Enlevez la grille et achevez la cuisson de l'autre plat.

3) Respectez les indications et les conseils presentés dans les tableaux; et notamment, vérifiez toujours que les alimentés à rechauffer soient très chauds avant de les retirer.
TEMPS DE DECONGELATION
| Type | Position Récipient | Quantité g. | Niveau de puissance | Minutes | Notes |
| Viande hachée | au-dessus | 500 | ### | 20 | Retourner la viande après 10'. A la fin du temps fais-ser reposer 15 minutes |
| Viande hachée | en dessous | 500 | ### | 20 | |
| Poulet en morceaux | au-dessus | 500 | ### | 24 | Détacher les morceaux de viande pendant la décongé-lation. A la fin, laisser reposer 15 minutes. |
| Ragout | en dessous | 500 | ### | 24 | |
| Chou-fleur | au-dessus | 450 | ### | 22 | A la fin, laisser reposer 5-10 minutes. |
| Poisson entier | en dessous | 500 | ### | 22 | A la fin, laisser reposer 5-10 minutes. |
TEMPS DE RECHAUFFEMENT
| Type | Position Récipient | Quantité g. | Niveau de puissance | Minutes | Notes |
| • Portion de vionde | au-dessus | 150 | 900 | 6 | Couvir les aliments avec un film plastique |
| • Portion de légumes | en dessous | 250 | 900 | 6 | Couvir les aliments avec un film plastique |
| • Plat de lasagnes | au-dessus | 500 | 900 | 9 | Couvir les aliments avec un film plastique |
| • Plat de lasagnes | en dessous | 500 | 900 | 9 | Couvir les aliments avec un film plastique |
| • Portion de vionde | au-dessus | 150 | 900 | 6 | Couvir les aliments avec un film plastique |
| • Plat de lasagnes | en dessous | 500 | 900 | 8 | Couvir les aliments avec un film plastique |
TEMPS DE CUISSON
| Type | Position Récipient | Quantité g. | Niveau de puissance | Minutes | Notes |
| Pommes de terre | au-dessus | 500 | 900 | 16 | Couper en morceaux égaux et couvr avec film. |
| Pommes de terre | en dessous | 500 | 900 | 16 | Couper en morceaux égaux et couvr avec film. |
| Carottes | au-dessus | 500 | 900 | 18 | Couper en morceaux égaux et couvr avec film. |
| Carottes | en dessous | 500 | 900 | 18 | Couper en morceaux égaux et couvr avec film. |
| Courgettes | au-dessus | 475 | 900 | 14 | Les laisser entières et couvr avec du film. ÀpRES 14' enlever la grille. |
| Poisson en tranches | en dessous | 400 | 900 | 16 | Couvir avec film. |
| Courgettes | au-dessus | 475 | 900 | 13 | Les laisser entières et couvr avec du film. ÀpRES 13' enlever la grille. |
| Poisson entier | en dessous | 200 | 900 | 14 | Couvir avec film. |
| Poisson entier | au-dessus | 200 | 900 | 14 | Couvir avec du film plastique |
| Poisson entier | en dessous | 200 | 900 | 14 | Couvir avec du film plastique |
| Pommes de terre | au-dessus | 500 | 900 | 16 | Couper en morceaux égaux et couvr avec film. |
| Goulasch | en dessous | 1500 | 900 | 40 | Après 16 enlever la grille. Mélanger 2-3 fois. |
| Riz | au-dessus | 500 | 900 | 14 | Le laisser en entier et couvr avec du film. ÀpRES 14' enlever la grille. |
| Chou blanc | en dessous | 300 | 900 | 20 | Couvir avec du film plastique et mélanger 2 fois |
| Petits pois | au-dessus | 500 | 900 | 14 | Couvir avec du film plastique. ÀpRES 14' enlever la grille. |
| Choux de Bruxelles | en dessous | 500 | 900 | 18 | Couvir avec du film plastique |
2.3 COMMENT PROGRAMMER LA DECONGELATION AUTOMATIQUE
Quand on utilise cette fonction il est suffisant de fixer le temps de déconnélation tadis que. La puissance des micro-ondes est prememorisé.
| Fonction ••• | 1 Appuyer sur la touche Fonction (2) jusqu'à-ce-que le symbol clignote. | 0:00 150 300 450 700 900 W |
| ••• | 2 Fixer le temps souhaité en tour- nant le bouton (7). (L'afficheur clignote). | 6:00 150 300 450 700 900 W |
| STOP ••• | 3 Appuyer sur la touche START (13). (L'afficheur visualise le temps programmé). | 6:00 150 300 450 700 900 W |
| 4 Lorsque le temps programmé s'est écoulé, trois longs bips retenissent et l'inscription END est affichée. | Beep End 150 300 450 700 900 W |
- Si vous ouvrez la porte pour contrôler l'état de décongélation, les micro-ondes s'arrêtent et l'afficheur visualise le temps restant. Pour continuer la décongélation, refermez la porte et appuyez sur la touche START (13). Le programme recommence en tenant compte du temps atteint au moment de l'interruption.
Tandis que si vous souhaitez mettre a zéro le temps programme, procedez de la maniere suivante:
- si la porte du four est ouverte, appuyez 1 fois sur la touche STOP (6);
- si le four marche, appuyez 2 fois sur la touche STOP (6);
- si le four est eteint et la portee est fermée, appuyez 1 fois sur la touche STOP (6).
UTILISER LA FONCTION SEULEMENT MICRO-ONDES POUR DECONGELER
- Les alimentés congélés dans des sachets ou des films en plastique, ou bien dans leur emballage, peuvent être placés directement dans le four à condition de refirer préalablement toutes les parties métalliques (ex: liens ou agrafes de fermeture).
- Certeins alimentes, tels que les legumes et le poisson, n'ont pas besoin d'être complètement décongelés avant de commencer la cuisson.
- La décongération des alimentés en sauce, ragoûts et daubes s'effectue更好地 plus rapidement si on les mélange de temps en temps, les returne et/ou les sépare.
Durant la décongulation, la viande et le poisson perdent des liquides. Il est donc conseilé de les décongeler dans un recipient. - Il est également recommendé de diviser chaque morceau de viande dans son propre sachet avant de le congeiler. Ceci vous permettra de gagner du temps au moment de la préparation.
Suiere avc prudence les temps indiques sur les emballages des produits surgelés, parce quils ne sont pas tous oux exacts. Il est opportun d'applieur des temps de deconglation tegerement inferieurs aux temps conseillés. Le temps de deconglation variera en fonction du degrde de congelation.
TEMPS DE DÉCONGELATION
| Type | Quantité | Minuterie(minutes) | Notes | Temps de Repos(minutes) |
| VIANDE | ||||
| • Rôtis (porc, boeuf, veau, etc.) | 1 kg | 19 - 21 | Retourner à la moitié du temps de décongélation. | 20 |
| • Bifteck, côtelettes, fines tranches de vande | 200 gr | 4 - 6 | 5 | |
| • Ragoût, goulasch | 500 gr | 10 - 12 | 10 | |
| • Vande hachée | 500 gr | 10 - 12 | Voir note (*) | 15 |
| " | 250 gr | 5 - 7 | 10 | |
| • Hamburger | 200 gr | 5 - 7 | 10 | |
| • Saucisse | 300 gr | 6 - 8 | 10 | |
| VOLAILLE | ||||
| • Canard, dinde | 1,5 kg | 25 - 27 | Retourner la volaille à la moitié du temps de décongélation. A la fin du temps de repos, laver sous l'eau chaude pour enlever la glace eventuelle. | 20 |
| • Poulet entier | 1,5 kg | 25 - 27 | 20 | |
| • Poulet en morceaux | 700 gr | 13 - 15 | 10 | |
| • Blanc de poulet | 300 gr | 8 - 10 | 10 | |
| LEGUMES | Les légumes congenés ne doivent pas être décongélés avant la cuisson. | |||
| POISSON | ||||
| • Filets | 300 gr | 7 - 9 | Retourner le poisson à la moitié du temps de décongélation. | 7 |
| • Tranches | 400 gr | 8 - 10 | 7 | |
| • Entier | 500 gr | 10 - 12 | 7 | |
| • Écrevisses | 400 gr | 8 - 10 | 7 | |
| PRODUITS LAITIERS/FROMAGES | ||||
| • Beurre | 250 gr | 4 - 6 | Enlever le papier aluminium ou les parties métalliques. Le fromage ne doit pas être décongelé complètement. | 10 |
| • Fromage | 250 gr | 5 - 7 | 15 | |
| • Crème | 200 ml | 7 - 9 | Enlever la crème de son récipient et laMETTE sur une assiette. | 5 |
| PAIN | ||||
| • 2 petits pains moyens | 150 gr | 1 - 2 | METTE le pain directement sur leplateau tournant. | 3 |
| • 4 petits pains moyens | 300 gr | 2 - 4 | 3 | |
| • Pain en tranches | 250 gr | 2 - 4 | 3 | |
| • Pain complet en tranches | 250 gr | 2 - 4 | 3 | |
| FRAITS | ||||
| • Fraises, prunes, cerises,groseilles, abricots | 500 gr | 8 - 10 | Mélanger 2-3 fois | 10 |
| • Framboises | 300 gr | 5 - 7 | Mélanger 2-3 fois | 10 |
| • Mûres | 250 gr | 3 - 5 | Mélanger 2-3 fois | 6 |
(*) Ces indications sont appropriées pour exécuter l'essay de décongération de viande hachée selon la norme 60705, par. 13.3 (voir page 2). Retourner les alimentés à la moitié du temps programme. Les alimentés doivent être posés directement sur le plateau tournant. Des informations supplémentaires, concernant également d'autres essais selon la norme 60705, sont fournies au tableau page 2.
02.4 COMMENT PROGRAMMER LE FOURS POUR TENIR LES ALIMENTS AU CHAUD, RECHAUFFER
| Fonction ••• | ••• | 1 Appuyer sur la touche Fonction (2) jusqu'à-ce-que le symbol ≈ clignote. | 0:00 150 300 450 700 900 W |
| ••• | ••• | 2 Fixer le temps souhaité en tournant le bouton (7). (L'afficheur clignote). | 15:00 150 360 450 700 900 W |
| Fonction ••• | ••• | 3 Appuyer sur la touche (3) de façon à selectionner la puissance souhaitée. Si l'on n'appuie pas sur cette touche, le four fonctionnera à la puissance maximale. | 15:00 150 300 450 700 900 W |
| STOP | START | 4 Appuyer sur la touche START (13) (L'afficheur visualise le temps et la puissance fixés). | 15:00 150 300 450 700 900 W |
| 5 Lorsque le temps programmé s'est écoulé, trois longs bips retentissent et l'inscription END est visualisée sur l'afficheur. | Beep Beep End 150 300 450 700 900 W |
- Vous pouvez visualiser l'heure du jour même pendant le fonctionnement du four en appuyant tout simplement sur la touche (8). L'afficheur montrera l'heure pendant 3 secondes environ.
- Sur la touche (8). L'emploi montré la fonction programmée en ouvrant la porte et en contrôlant les alimentes. Par ouverture de la porte, l'énergie des micro-ondes s'arrête. En refériment la porte et en appuyant sur la touche START (13), l'énergie des micro-ondes se remet en route.
et en appuyant sur la touche d'att. (16), faing qu'une couche est faissée, le porte, appuyez tout simplement sur la touche STOP (6).
Tandis que si vous souhaite terminer la cuisson, procedez de la maniere suivante: - la parte du four est ouverte, appuyez 1 fois sur la touche STOP (6);
si le four marche, appuyez 2 fois sur la touche STOP (6); - si le four est eteint et la porte est fermée, appuyez 1 tois sur la touche STOP (o).
- si le tour est etent et la porte est terminee, appuyez 10s sur la locnee en tive.
Le temps de cuisson et la puissance des micro-ondes peuvent etre modifiees meme apree avoir appuyed sur la touche START (13) pour metre en route la fonction souhaitee.
2.5 UTILISER LA FONCTION SEULEMENT MICRO-ONDES POUR TENIR LES ALIMENTS AU CHAUD
Cette fonction est recommendée pour tous les plats en général.
Elle vous permettra de tener les alimentes au chaud, à peine cuits ou rechauffés, sans qu'ils ne se desschent ou s'attachent au recipient de cuisson.
En reglant le selector sur la position 150 W et en couvrant les aliments avec un plat ou un film transparent, ceux ci resteront chauds jusqu'au moment de la consommation.
Si I'on prefe, il est possible de laisser les alimentes au chaud directement sur le plat de service (toujours couvert).
2.6 UTILISER LA FONCTION SEULEMENT MICRO-ONDES POUR RECHAUFFE
Le four à micro-ondes est pratique et efficace pour réchauffer les plats. En effet, par rapport aux autres procédés traditionnels, l'utilisation des micro-ondes représenté un considérable gain de temps et donc d'énergie électrique.
- Il est recommandé de réchauffer les aliments (surtout s'ils sont surgelés) à une température d'au moins 70^ (cela doit être fort chaud!). Il sera impossible de manger les aliments tout de suite, parce qu'ils seront trop chauds, mais ainsi leur stérisisation compte sera assurée.
-
Afin de réchauffer les alimentés précuits ou surgelés, il convient d'observer les régles suivantes:
-
retirer les alimentés de leurs recipients métalliques;
- couvir avec un film transparent (approprié aux jours à micro-ondes) ou du papier huile; de cette façon la saveur naturelle ne sera pas modifiée et le four restera plus propre; il est également possible d'utiliser un plat renversé;
- si possible, mélanger ou returner féquèment les alimentés afin d'accélérer le processus de réchauffement;
-
suivre avec prudence les temps indiqués sur l'emballage; il convient de se rappeler que, dans certains cas, les temps indiqués devront être augmentés.
-
Avant de commencer à les réchauffer, les aliments surgelés doivent être décongelés. Plus la température initiale des aliments est basse, plus le temps de réchauffement est élevé.
-
Les alimentes et les boissons peuvent être rechauffés pour un temps bref dans des recipients en carton ou en plastique. Toutefois, si le temps de cuisson est long, ces recipients peuvent se déformer.
N.B: Certaines opérations de réchauffement peuvent être facilement effectuées en utilisant également les fonctions préprogrammés (page 26).
TEMPS DE RECHAUFFEMENT
| Type | Quantité | Niveau de puissance | Minuterie (minutes) | Notes |
| AMOLLISSEMENT DES ALIMENTS | ||||
| chocolat / glace | 100 gr | 450 | 4 - 5 | Métre dans une assiette. Remuer la glace 1 fois. Pour faire fondre le beurre, ajouter 1 minute. |
| beurre | 50 -70 gr | 900 | 0'.10" - 0'.15" | |
| ALIMENTS DE TEMP. REFRIGERATEUR (5/8 °C) JUSQU'A 20/30°C | ||||
| Yaourt | 125 gr | 900 | 0'.15" - 0'.20" | Enlever le papier aluminium. Réchauffer le biberon sans tétine et remuer pour uniformiser la tempéurature. Vérifier la tempéuratur du contenu avant la consommation. Si le lait est à tempéurature ambiente, diminuer légersement le temps indiqué. Si on utilise du lait en poudre, il faut veiller à très bien mélanger car la poudre résiduel-le pourrait prendre feu. Utiliser du lait déjà stérisé. |
| Biberon | 240 gr | 900 | 0'.30" - 0'.35" | |
| ALIMENTS PRECUITS DE TEMP. DE REFRIGERATEUR (TEMP. INITIALE 5 / 8°C) A 70 °C ENVIRON | ||||
| plat prêt de lasagne ou de pâtes farcies | 400 gr | 900 | 3 - 5 | On se refère à tous plats prêts d'aliments préciuts disponibles dans le commerce à réchauffer à 70 °C. Enlever les aliments contenus dans des réciPIents métalliques et les déposer directement sur l'assiette qui sera servie à table. Pour un excellent résultat, les aliments doivent toujours être couverts. |
| plat prêt de viande avec riz et / ou légumes | 400 gr | 900 | 3 - 5 | |
| plat prêt de poisson et / ou légumes | 300 gr | 900 | 2 - 4 | |
| plat de viande et / ou légumes | 400 gr | 900 | 4 - 6 | On se refère à tous plats d'aliments déjà cuits à réchauffer à 70 °C. Les aliments doivent être déposésdirectement sur l'assiette qui sera servie à table. L'assiette doit toujours être recouverte de film étiabler transparent ou avec une autre assiette renversée. |
| plat de pâtes, cannelloni ou lasagne | 400 gr | 900 | 4 - 6 | |
| plat de poisson et / ou riz | 300 gr | 900 | 3 - 5 | |
| ALIMENTS CONGELES A RECHAUFFER/CUIRE (TEMP. INITIALE -18°/-20°C) JUSQU'A 70 °C ENVIRON | ||||
| plat prêt de lasagne ou de pâtes farcies | 400 gr | 900 | 5 - 7 | On se refère à tous plats prêts d'aliments préciuts congeLés à réchauffer à une tempéurature de 70 °C directement dans leur emballage: si le récipient est métallique, déposer les aliments directement sur l'assiette qui sera servie à table et augmenter de quelques minutes le temps de cuisson. |
| plat prêt de viande avec riz et / ou légumes | 400 gr | 900 | 4 - 6 | |
| plat prêt de poisson et / ou légumes préciuts | 300 gr | 900 | 2 - 4 | |
| plat prêt de poisson et / ou légumes crus | 300 gr | 900 | 6 - 8 | Enlever les aliments crus de leur emballage et les disposez dans un récipient approprié à la cuisson aux micro-ondes et couvir. |
| portions de viande et / ou légumes | 400 gr | 900 | 5 - 7 | On se refère à toutes portions d'aliments déjà cuits congeLés à réchauffer à une tempéurature de 70 °C. Les aliments congeLés doivent être disposés directement sur l'assiette qui sera servie à table et couverts avec une autre assiette retour-nee ou un Pyrex. Vérifier que les aliments seront bien chaud au centre: si possible remuer les aliments. |
| portions de pâtes, cannelloni ou lasagne | 400 gr | 900 | 6 - 8 | |
| portions de poisson et / ou riz | 300 gr | 900 | 3 - 5 | |
| BOISSONS DU REFRIGERATEUR (5 / 8 °C) A 70 °C ENVIRON | ||||
| 1 tasse d'eau | 180 cc | 900 | 1'.30" - 2 | Toutes les boissons doivent être mélangées à la fin du réchauffement pour uniformiser la tempéurature. Il est conseilé de couvir le bouillon avec une assiette returnée. |
| 1 tasse de lait | 150 cc | 900 | 1'.15" - 1'.45" | |
| 1 tasse de café | 100 cc | 900 | 1'.15" - 1'.45" | |
| 1 assiette de bouillon | 300 cc | 900 | 3 - 4 | |
| BOISSONS DE TEMPERATURE AMBIANTE (20 / 30 °C) JUSQU'A 70 °C ENVIRON | ||||
| 1 tasse d'eau | 180 cc | 900 | 1'.15" - 1'.45" | toutes les boissons doivent être mélangées à la fin du réchauffement pour uniformiser la tempéurature. Il est conseilé de couvir le bouillon avec une assiette returnée. |
| 1 tasse de lait | 150 cc | 900 | 1 - 1'.30" | |
| 1 tasse de café | 100 cc | 900 | 0'.45" - 1'.15" | |
| 1 assiette de bouillon | 300 cc | 900 | 2 - 3 | |
2.7 UTILISER LA FONCTION SEULEMENT MICRO-ONDES POUR CUISINER
LES VIANDES
LES VIANDES
Ave le four a micro-ondes, il est possible de préparer des roits, des viandes braises ou cuites à létouffée. Retourner les grosses pieces de viande qui ne peuvent être mélangees. Attention: l'aspect de la viande, durant et en fin de cuisson, est trompeur; en effet, les viandes préparées au four a micro-ondes ne dorent pas de la même façon que les viandes cuites dans les fours traditionnels; par contre, elles conservent intactes toutes leurs propriétés nutritives et leurs saveurs naturelles.
LA VOLAILLE
Le four a micro-ondes permet de decongeler et ensuite de cuire tous les types de vande de volaille. Par rapport aux fours traditionnels, la vande de volaille ne roit pas aux micro-ondes. Pour dorer, il est conseilled d'enduire le poulet de beurre fondu ou de margarine.
LE POISSON
Le POISSON Le four a micro-ondes permet de cuire le poisson de facon tres rapide et avec d'excellents resultats. Il permel egalement d'utiliser tres peu de beurre ou d'huile (ou meme de ne pas en utiliseur du tout). Couvrir le plat avec un film transparent. Si le poisson a un peu de peau, celle-ci doit etre piquee; les fillets doivent etre disposés de facon uniforme. Il est deconseille de cuire du poisson pané avec un oeuf.
TEMPS DE CUISSON POUR LES VIANDES, LA VOLAILLE ET LE POISSON
| Type | Quantité | Puisance | Minuterie(minutes) | Notes | Temps de Repos(minutes) |
| BOEUF | |||||
| Rouleau de viande hachée | 900 gr | 700 | 19 - 21 | (*) | 5 |
| Rouleau de viande hachée | 800 gr | " | 15 - 20 | Amalgamer 500 g de viande de boeufhachée avec des oeuls, du jambon, de lachepure, etc. | 5 |
| Longe | 600 gr | " | 17 - 22 | Retourer à moinsie cuisson | 5 |
| Rôti, jarret | 1 kg | " | 25 - 30 | 10 | |
| VEAU | |||||
| Ragoût | 700 gr | " | 17 - 22 | Mélanger 2-3 fois | 8 |
| Rôti (roulé) | 1 kg | " | 25 - 30 | Retourer à moinsie cuisson | 10 |
| Noix de veau (en tranches) | 200 gr | " | 10 - 15 | Non occorre girare | 2 |
| PORC | |||||
| Cuisse | 500 gr | " | 15 - 20 | Retourer à moinsie cuisson | 5 |
| Rôti | 1 kg | " | 25 - 30 | Retourer à moinsie cuisson | 10 |
| Carre de porc | 700 gr | " | 17 - 22 | Retourer à moinsie cuisson | 8 |
| AGNEAU | |||||
| Cuisseau d'épaule | 1 kg | " | 25 - 30 | Retourer à moinsie cuisson | 10 |
| Hamburgers frais | 100 gr | " | 7 - 10 | 3 | |
| Goulasch | 1,5 kg | 900 | 30 - 35 | Mélanger 2-3 fois | 3 |
| Saucisse | 300 gr | 700 | 10 - 14 | 3 | |
| VOLAILLE: POULET | |||||
| Entier | 1,5 kg | " | 40 - 45 | Retourer à moinsie cuisson | 10 |
| La moitié | 500 gr | " | 15 - 20 | Il n'est pas nécessaire de returner | 5 |
| En morceaux | 500 gr | " | 15 - 20 | Il n'est pas nécessaire de returner | 5 |
| Le blanc | 500 gr | " | 10 - 15 | Il n'est pas nécessaire de returner | 3 |
| DINDON | |||||
| En morceaux | 1,5 kg | " | 40 - 45 | Retourer à moinsie cuisson | 8 |
| Le blanc | 500 gr | " | 15 - 20 | Il n'est pas nécessaire de returner | 8 |
| CANARD | |||||
| Entier | 1,5 kg | " | 40 - 45 | Retourer à moinsie cuisson | 10 |
| POISSON | |||||
| Filets | 300 gr | 700 | 5 - 7 | Cuire couvert | 2 |
| Tranches | 300 gr | " | 7 - 9 | Cuire couvert | 2 |
| Entier | 500 gr | " | 8 - 10 | Cuire couvert | 2 |
| Entier | 250 gr | " | 5 - 7 | Cuire couvert | 2 |
| Ecrevisses | 500 gr | " | 7 - 9 | Cuire couvert | 2 |
| Tranches | 400 gr | " | 7 - 9 | Cuire couvert | 2 |
(*) Ces indications sont appropriées pour exécuter l'essay de cuisson de viande hachée selon la norme 60705, par. 12.3.3. Couvrir le écipient avec du film transparent adapté aux jours à micro-ondes et percéça et la. Des informations supplémentaires, concernant également d'autres essais selon la norme 60705, sont fournies au tableau page 2.
LES LEGUMES
Par rapport à la cuisson traditionnelle, les légumes cuits au four à micro-ondes conservent moins leurs couleurs et leurs propriétés nutritives.
Ajouter 5 cuillères d'eau environ tous les 500g de legumes.
Les légumes doivent être toujours couverts avec un film transparent.
Les légumes plus grands doivent être coupés en morceaux de même grosseur (ex: les carottes).
Mélanger au moins une fois à moitié cuisson et ajouter peu de sel (seulement en fin de cuisson).
TEMPS DE CUISSON POUR LES LÉGUMES
| Type | Quantité | Puisance | Minuterie (minutes) | Notes | Temps de repos (minutes) |
| AspergesArtichautsHaricots vertBrocoliChoux de BruxellesChou blancChou rougeCarottesChou-fleurCelériAuberginePoireauChampignonsOgnonsEpinardsPetits poisFenouilPoivronsPommes de terreCourgettes | 500 gr300 gr500 gr500 gr500 gr500 gr500 gr500 gr500 gr500 gr500 gr500 gr500 gr500 gr500 gr500 gr500 gr500 gr500 gr500 gr500 gr500 gr500 gr500 gr500 gr500 gr500 gr | 900" | 8 - 910 - 1110 - 116 - 76 - 76 - 76 - 78 - 910 - 116 - 75 - 65 - 65 - 64 - 55 - 69 - 1011 - 128 - 97 - 86 - 7 | Couper en morceaux de 2 cmIl est préféable d'utiliser des fondsd'artichaut.Couper en morceauxDiviser chaque bouquetLaisser en entierCouper en lanièresCouper en lanièresCouper en morceaux de mêmegrosseurLe partager en bouquetsLe couper en morceauxLa couper en déssLe couper en lanièresLes laisser entiers . Ne pas rajouter d'eau.Enières, de même grosseur. Nepas rajouter d'eau.Couvrir après les avoir lavés etégoutés.Les couper en quartiersLes couper en morceauxLes couper en morceaux de mêmegrosseurLes couper en tranches | 4444444444444444444444444444444444444444444444444444444444444444444444444444444444444444444444444444 |
N.B: Les temps de cuisson de ce tableau ne sont fournis qu'a titre indicatif et dépendent du poids, de la température avant la cuisson, de la constance et de la structure des légumes.
SOUPES ET RIZ
-
En général, la cuisson des potages ou des soupes nécessite une plus petite quantité de liquide parc que dans le four à micro-ondes l'évaporation est只想 faible. N'ajouter le sel qu'en fin de cuisson ou durant le temps de repos car il déhydrate les alimentés.
-
Il est opportun de signaler que le temps nécessaire pour cuire le riz dans le four à micro-ondes ( comme du reste les pôtes) est à peu pris équivalent au temps de cuisson traditionnel, sur le gaz. L'avantage de préparer le riz dans le four à micro-ondes réside dans le fait qu'il n'est pas nécessaire de le melanger continuel. Levent l'effacing de le faIRE 2 ou 3 fois).
les ingredents doivent etre placés dans un recipient approprié au four a micro-ondes et doitetre couverts avec du film transparent (pour 300g de riz, il faut 750g de bouillon et le four doitetre programme sur la puissance maximaedependant 12a 15 minutes environ).
Sur la puissance maximaire pentaill.
En outre, le riz ne colle pas au fond du recipient et, comme il est possible de le cuire dans une soupiere ou dans un autre plat pouvant etre portedirectement sur la table, il ne sera donc pas nécessaire de le transva ser.
COMMENT FAIRE DORER LES ALIMENTS
COMMEN TAIRE DORER LES CHAUX
Les cotelettes, les escalopes et les blancs de poulet sont les alimentes qui dorent le moins facilement durant la cuisson aux micro-ondes. Pour les dorer, il est conseilé d'enduire la viande avec du beurre en l'amalgamant, de préférence, avec du paprika. Sur le marché, il est également possible de couver des saus prêtes, spécialément concues pour couvir les alimentes cuits au four à micro-ondes. De toute façon, il est nécessaire de faire absorber de laGRAISSE et des substances colorantes aux viandes et poissons à dorer.
GATEAUX ET FRUITS
GATEAUX ET PROS Les gâteaux levent beaucoup plus au four à micro-ondes (à puissance réduite) que dans un four traditionnel. Etant donné qu'ils ne forment pas de croûte, il est conseilé de garnir le dessus des gâteaux avec des crèmes ou bien de les glacer (ex: avec du chocolat); en outre, il faut toujours les couvir après la cuisson parce qu'ils tendent à se desscher plus vite que les gâteaux cuits dans un four traditionnel.
dont a se desseccher plus vie que les gins ne sont pas fauits. Les fruits doivent etre piques sils sont cuits avec la peau et doit etre couverts. Il est tres important de respecter le temps de repos (de 3 à 5 minutes).
TEMPS DE CUISSON POUR GATEAUXS ET FRUITS
| Type/Quantité | Puisance | Minuterie(minutes) | Temps de Repos(minutes) | Notes |
| Gâteau aux noix (700 g) | 450 | 15 - 17 | 5 | Il peut être servi avec n'importequelle crème. |
| Gâteau viennois (850 g) | " | 19 - 21 | 5 | Farcir avec de la confiture. |
| Gâteau à l'ananas (800 g) | " | 17 - 19 | 5 | Les tranches d'ananas peuvent être mises sur le fond du moule ou coupées en morceaux et incorporeées dans la pâte. |
| Tarte aux pommes (1000 g) | " | 19 - 21 | 5 | Les pommes doivent être mises au-dessus comme décoration. |
| Gâteau au café (750 g) | " | 15 - 17 | 5 | Il est excellent lorsqu'il est fourré avec une crème. |
| Sabayon | 700 | 2 - 4 | 3 | Mélanger avec un fouet toutes les 30" |
| Poires cuites (300 g) | 900 | 4 - 6 | 3 | Les poires sont coupées en quartiers. |
| Pommes cuites (300 g) | " | 5 - 7 | 3 | Les pommes sont coupées en tranches. |
| Egg custard (750 gr) | " | 15 - 17 | 5 | Ces indications sont appropriées pour exécuter les essais de cuisson selon la norme 60705, par. 12.3.1. |
| Sponge cake (475 gr) | " | 5 - 7 | 5 | Ces indications sont appropriées pour exécuter les essais de cuisson selon la norme 60705, par. 12.3.2. Des informations supplémentaires, concernant également d'autres essais selon la norme 60705, sont fournies au tableau page 2. |
2.8 UTILISATION DES TOUCHES "PREPROGRAMMÉS"
Les touches correspondant à 5 programmes différents avec durée de cuisson et niveau de puissance "préprogrammés"; ces programmes permettent d'obtenir d'excellents résultats pour la préparation des plats décrits dans le tableau ci-dessous.
| Touché | Exemples d'emploi | Conseils pratiques |
| (5)Appuyer 1 foisAppuyer 2 foisAppuyer 3 foisAppuyer 4 fois | Réchauffer 1 petite tasse à café (60 cc) partant de température ambiente.Réchauffer 2 petites tasses à café ou une tasse (120 cc) partant de température ambiente.Réchauffer 1 grande tasse (200 cc) partant de température de réfrigérateur.Réchauffer 1 assiette à soupe (300 cc) partant de température de réfrigérateur | Après avoir réchauffé le liquide, bien mélanger pour égaliser la température. |
| (12) aliments précuits sortis du réfrigérateurAppuyer 1 foisAppuyer 2 fois | Réchauffer 100 g d'aliments (viande ou garniture) partant de température de réfrigérateur.Réchauffer 250 g de viande ou viande + légumes partant de température de réfrigérateur. | Programme idéal pour réchauffer des portions cuites la veille et conservées au réfrigérateur. |
| (11) réchauffer des aliments congelésAppuyer 1 foisAppuyer 2 foisAppuyer 3 fois | Réchauffer 1 pizza de 300 g congelee.Pour réchauffer un paquet (300 g max.) d'aliments déjà prêts et congelés ou bien 300 g d'aliments précuits congelés (viande ou légumes, par exemple).Pour réchauffer deux paquets (550 g max.) d'aliments déjà prêts et congelés ou bien 550 g d'aliments précuits congelés (viande ou légumes, par exemple). | Mettre la pizza directement sur le plateau tournant.Si le paquet est prévu pour la cuisson au four à micro-ondes, il suffit de le poser directement sur le plateau tournant.Sinon, il faut verser le contenu dans un plat et couvrir de pellicule transparente ou d'une assiette en guise de couvercle. |
| (7)Appuyer 1 fois | Cuire 1 paquet de 100 g de popcorn pour micro-ondes. | Lire attentivement les instructions reportées sur l'emballage et les placer sur le plateau tournant. |
| (14)Appuyer 1 foisAppuyer 2 foisAppuyer 3 fois | Cuire 200 g de pommes de terreCuire 400 g de pommes de terreCuire 600 g de pommes de terre | Bien laver les pommes de terre avec leur peu, les piquer avec une fourchette et les déposer sur le plateau tournant. Elles doivent être servies bien chaudes, farcies avec du beurre ou duFROMAGE. |
POUR UTILISER LES CUISONS PREPROGRAMMES, PROCEDER COMME SUIT
| STOP ○ | START | 2 Appuyer sur la touche START (13) pourmettre en route les micro-ondes. | 2:30 150 300 450 700 900 W |
| A la fin du temps préprogrammé 3 longs bips retentiront et l'inscription END apparaître sur l'afficheur. |
2.9 RECHAUFFEMENT RAPIDE
Cette fonction est très utile pour rechauffer de petites quantités d'aliments ou de boisson.
- Appuyer sur la touche START (13): le four démarre à la puissance maximale pendant 30 secondes. En appuyant à nouveau sur cette touche, le temps peut être augmente par pas de 30 secondes jusqu'à 3 minutes.
- Cette fonction n'est activée que si elle est effectuee dans un delai de 1 minute après l'introduction des alimentes dans le four.
Le rechauffement rapide est utile également pour achiever des cuissons.
Lorsque la cuisson a commencé, le temps seLECTIONné peut être modifié au moyen de la manette (7) jusqu'à 60 minutes maximum.
2.10 SECURITE ENFANTS
Le four est muni d'un dispositif de sécurité qui empêche toute intervention sur les temps de cuisson programmés pendant le déroulement de la cuisson, afin d'eviter des prolongements accidentels et dangereux du temps de cuisson (les alimentents peuvent brûler!).
Pour insérer ce dispositif de sécurité:
- Maintainir pressée la touche STOP (6) pendant 5 secondes.
- Un court bip est émis: il ne sera plus possible de modifier les temps pendant toutes les cuissons.
Pour enlever le dispositif de sécurité inséré precedemment, maintainir enfoncée la touche STOP (6) jusqu'à ce qu'un bip sonore soit émis.
2.11 FONCTION "MEMOTIME" (COMPTEUR DE MINUTES)
Cette fonction permet d'utiliser le minuteur, avec le four qui NE FONCTIONNE PAS, pour une période allant jusqu'à 60 minutes.
- Appuyer sur la touche Fonction (2) 5 fois, selectionner ensuite le temps souhaite en tournant la manette (7) et faire demarrer à l'aide de la touche START (13).
- A la fin, 3 bips retentiront et l'afficheur visualisera l'inscription "END".
CHAPITRE 3 - ENTRETIEN ET NETTOYAGE
3.1 NETTOYAGE
Avant d'effectuer toute opération d'entretien ou de nettoyage, débrancher toujours la fiche de la prise de courant et attendre que l'appareil soit froid.
Grçá au revêtement en émail spécial de l'enceinte de votre four, les projections et les particules de nourriture ne peuvent ni attacher ni coller aux parois et le nettoyage est plus facile. Veiller à maintainir toujours propre, en enlevant les éventuelles taches deGRAISSSE, le couvercle de sortie des micro-ondes (C).
Ne jamais utiliser de produits abrasifs, éponges metalliques ou objets metalliques tranchants pour nettoyer la surface extérieure du four. En outre, veiller à ce que de l'eau ou du détergent liquide ne pénétre pas à l'intérieur des fentes de sortie de l'air et des vapeurs situées au-dessus de l'appareil. Il est recommendé, en outre, de ne pas utiliser d'alcool, détergents abrasifs et produits nettoyants à base d'ammoniac pour nettoyer le côte interieur et extérieur de la porte du four. Evitez les nettoyeurs à vapeur pour nettoyer l'intérieur du four
Afin de garantir une fermeture parfaite, veiller à maintainir en parfait état de propre le côte interieur de la porte, en évitant que de la saleté ou des particules de nourriture ne restent coincées entre la porte et la façade du four.
Contrôle de temps en temps que les ouvertures d'airation situées derrière et en dessous du meuble contenant l'appareil soit dépourvues de toutes obstructions et de poussière. Faites appel à votre centre de service après-vente pour faire exécuter un contrôle éventuel des ouvertures de ventilation situées à l'arrière de l'appareil.
Enlever de temps en temps le plateau tournant (E) ainsi que son support (F) pour les nettoyer. Nettoyer également le fond du four.
Laver le plateau tournant et son support dans de l'eau avec du savon neutre; ils peuvent même être lavés en lave-vaisselle.
Ne pas plonger le plateau tournant dans l'eau froide après une longue période de rechauffement; le chic thermique élevé pourrait en provoquer la rupture.
Le moteur du plateau tournant est hermetique. Veiller cependant, en nettoyant le fond, à ce que l'eau ne pénétre pas sous l'axe du plateau tournant (D) et qu'il n'en sorte pas non plus par les fentes sur le fond du four



3.2 ENTRETIEN
3.2 ENTRETIEN En cas de mauvais fonctionnement ou d'un problème quelconque, s'adresser au Service Apre's-Vente agree par le Fabricant. Toutefois, avant de faire appel à nos techniciens, il convient d'effectuer les simples contrôles sui- vants:
| PROBLEM | CAUSE/REMDE |
| L'appareil ne fonctionne pas. | La port n'est pas bien fermée. La fiche n'est pas bien branchée dans la prise. La prise ne foumit pas de courant (contrer le fusible de l'habitation). La minuterie n'a pas ete programmee correctement. |
| Condensation sur le plan d'appui, à l'intérieur du four ou autour de la parte. | Quand on cuit des alimentes contenant de I'eau, il est tout a fait normal que de la vapeur se forme, sorte et se condense à l'intérieur du four, sur le plan de cuisson ou autour de l'encadrement de la parte. |
| Ebincelles à l'intérieur du four. | Ne pas allumer le four sans alimentes dans les cuissons seu- lement micro-ondes. Ne pas utiliser de recipients métalliques, des sachets ou des emballages avec agrafes métalliques dans les cuissons susmentionnées. |
| Les alimentes ne sont pas suffisamment réchauffées ou cuits. | Sélectionner le mode de cuisson correct ou bien augmenter le temps de cuisson. Les alimentes n'ont pas ete complètement décongelés avant la cuisson. |
| Les alimentes se brûlent. | Sélectionner un niveau de puissance inférieur ou bien diminuer le temps de cuisson. |
| Les alimentes neuisient pas de façon uniforme. | Mélanger les alimentes durant la cuisson. Se rappeler que les alimentes cuisent moins s'il sont coupés en morceaux de même grandeur. Le plateau tournant est bloqué. |
NOTE: En cas de panne de la lampe d'éclairage du four, il est possible de continuer à utiliser l'appareil sans aucun problème. Pour le remplacement de la lampe, s'adresser à un centre de Service Àpres-Vente agréé.
Notice Facile