INSTAX SQ1 TERRACOTTA ORANGE - Appareil photo instantané FUJIFILM - Notice d'utilisation et mode d'emploi gratuit
Retrouvez gratuitement la notice de l'appareil INSTAX SQ1 TERRACOTTA ORANGE FUJIFILM au format PDF.
| Type de produit | Appareil photo instantané |
| Format de photo | Format carré (86 x 72 mm) |
| Résolution d'image | 800 x 800 pixels |
| Alimentation électrique | Fonctionne avec 2 piles CR2 |
| Dimensions approximatives | 118 x 118 x 61 mm |
| Poids | 393 g (sans piles ni film) |
| Compatibilités | Utilise le film Instax Square |
| Type de batterie | Piles lithium CR2 |
| Fonctions principales | Mode automatique, mode selfie, retardateur |
| Entretien et nettoyage | Essuyer avec un chiffon doux, éviter l'humidité |
| Pièces détachées et réparabilité | Réparabilité limitée, pièces disponibles auprès du fabricant |
| Sécurité | Éviter l'exposition à la chaleur et à l'humidité, ne pas démonter |
| Informations générales | Disponible en plusieurs couleurs, design compact et léger |
FOIRE AUX QUESTIONS - INSTAX SQ1 TERRACOTTA ORANGE FUJIFILM
Questions des utilisateurs sur INSTAX SQ1 TERRACOTTA ORANGE FUJIFILM
0 question sur cet appareil. Repondez a celles que vous connaissez ou posez la votre.
Poser une nouvelle question sur cet appareil
Téléchargez la notice de votre Appareil photo instantané au format PDF gratuitement ! Retrouvez votre notice INSTAX SQ1 TERRACOTTA ORANGE - FUJIFILM et reprennez votre appareil électronique en main. Sur cette page sont publiés tous les documents nécessaires à l'utilisation de votre appareil INSTAX SQ1 TERRACOTTA ORANGE de la marque FUJIFILM.
MODE D'EMPLOI INSTAX SQ1 TERRACOTTA ORANGE FUJIFILM
Guide d'utilisation/Précautions de sécurité
Pour savoir comment insérer les piles et comment insérer et retirer une cassette de film instax SQUARE, voir les pages 3 à 6.
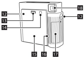
Noms des pièces
Avant Arrière

1 Fenêtre du flash 2 Fente d'éjection du film 3 Témoin de chargement du flash 4 Viseur 5 Déclencheur 6 Bague de l'objectif/Alimentation 7 Capteur de lumière AE 8 Capteur de lumière du flash 9 Barillet de l'objectif 10 Miroir selfie 11 Couvercle d'objectif/Objectif 12 Écouteur de courroie 13 Verrou du couvercle arrière 14 Fenêtre de vérification du film 15 Couvercle arrière 16 Compteur de film 17 Trappe de la batterie 18 Oculaire du viseur
Prise de photos
N'ouvre pas le couvercle arrière avant d'avoir utilisé entièrement le film. Sinon, le reste du film sera exposé et deviendra blanc, et il ne pourra plus être utilisé.
1 Mettez l'appareil photo sous tension en tournant la bague de l'objet sur on.
Le barillet de l'objet s'allonge et le témoin de chargement du flash clignote, puis allume. (Le clignotement indique que le flash se charge.)

- Vous ne pouvez pas appuyer sur le déclencheur pendant le chargement du flash.


Le compteur de film diminue par ordre numérique, à partir de «10» avec chaque photo prise. «0» sera affichée à la fin du film et après la première prise de vue.
4 Lorsque vous avez terminé de prendre des photos, mettez l'appareil photo hors tension en tournant la bague de l'objet sur OFF.

Si l'appareil photo ne fonctionne pas correctement, retirez les piles lorsque l'appareil est sous tension, puis réinsérez les pour réinitialiser l'appareil photo.
Prendre un auto-portrait
Si vous souhaitez réaliser une photo en mode selfie, vous pouvez vous servir du miroir SELFSEE à l'avant de l'appelé image photo pour vous cadre plus facilement.
1 Tournez la bague de l'objectif sur SELFIE et tirez l'objectif jusqu'en mode selfie.

2 Tenez fermement l'appareil photo à deux mains de manière à ce que votre visée se trouve à une distance de 30 à 50 cm de l'extrémité de l'objectif.

3 Confirmez la composition en utilisant le miroir itself, puis appuyez sur le déclencheur pour prendre la photo.

Faire un gros plan
Si vous prenez des photos en mode selfie, vous pouvez rapprocher l'appareil photo du sujet et prendre un gros plan.
1 Tournez la bague de l'objectif sur SELFIE et tirez l'objectif jusqu'en mode selfie. 2 Tenez l'appareil photo de sorte que la marque dans le viseur se trouve légèrement en haut à droite du centre du sujet, puis appuyez sur le déclencheur pour prendre une photo.

Précautions pour la prise en main de l'appareil photo
Manière correcte de tenir l'appareil photo
Ne couvrez pas la fenêtre du flash avec un doigt
Ne couvrez pas le capteur de lumière du flash et le capteur de lumière AE avec un doigt
- Veillez à ce que votre doigt ou la couronne ne couvrent pas le capteur de lumière du flash, le capteur de lumière AE, la fenêtre du flash, l'objet ou la fente d'éjection du film. Tenez l'appareil photo de manière à ce que la fenêtre du flash se trouve en haut lorsque vous prenez une photo horizontale.
- Ne prenez pas de photos dans des endroits où la photographie au flash est interdite.
- Ne saissiez pas le barillet de l'objet lorsqu'il tenez l'appareil photo. Les photos finies peuvent être négativement affectées.
- Regardez dans le viseur de façon à ce que la marque O dans le viseur apparaisse au centre.
- Faites attention à ne pas toucher l'objet quand vous appuyez sur le déclencheur.
Distances pour le mode normal et le mode selfie
- En mode normal, prenez une photo à une distance d'au moins 0,5 m du sujet. La portée efficace du flash est dévoilée 2,7 m.
- Lorsque vous tenez l'appareil photo à moins de 0,5 m du sujet, utilisez le mode selfie. Utilisez le mode selfie pour capturer un gros plan dans une plage de 30 à 50 cm.
États du témoin de chargement du flash et correction des erreurs
| État du témoin de chargement du flash | Description |
| Allumé | Prêt à prendre une photo. |
| Off | L'appareil photo est étient. |
| Clignote lentement | Chargement du flash. Veuillez patienter jusqu'à ce que le témoin de chargement du flash s'allume. Le chargement prend normalément entre 3 et 10 secondes. |
| Clignote rapidement | Une erreur s'est produit. |
| Principales erreurs | Cause et solution |
| Échec de la vérification de la batterie | Le flash ne peut pas être chargé car la tension de la batterie est insuffisante. Remplacez les piles par des neuves. |
| Film coincide | Ne tirez pas le film avec trop de force pour le sortir. Retirer et réinsérer les piles alors que l'appareil est sous tension peut permettre l'éjection du film. |
Précautions de sécurité
N'utilisez pas ce produit et ses accessoires à des fins autres que la prise de photos. - Ce produit a été conçu dans un souci de sécurité, mais veillez lire attentivement les précautions de sécurité suivantes et utiliser le produit correctement. - AprouvaisluceGuide de l'utilisateur, conservelez-dans un endroit facile à trouver afin de pouvoir vous y référer si nécessaire.
Ceci indique un problème pouvant entraîner la mort ou des blessures graves s'il est ignoré ou en cas de manipulation incorrecte.
Ne démontez pas ce produit. Une électrocution peut survenir. Ne touchez pas ce produit si l'intérieur de celui-ci est exposé suite à une chute, etc. Ce produit compte des circuits à haute tension qui peuvent provoquer une électrocution. Si vous remarquez quoi que soit d'anormal, par exemple si l'appareil photo (piles) devient chaud, ou en cas d'émission de fumée ou d'odeur de brûlé, retirez immédiatement les piles. Un incendie ou des brûlures peuvent se produire (veillez à ne pas vous brûler lorsqu vous retirez les piles). Ne prenez jamais de photos avec flash de personnes faisant du vélo, du cheval, de la planche à roulettes, conduisant une voiture ou autre. Le flash peut surprendre, distraire, effrayer les animaux et provoquer un accident. Si vous laissez tomber l'appareil photo dans l'eau ou si de l'eau, des morceaux de métal ou d'autres corps étrangers pénètrent dans l'appareil, retirez immédiatement les piles. Un dégagement de chaleur ou un incendie peut se produire. N'utilisez pas cet appareil photo dans un endroit où il y a du gaz inflammable ou à proximité d'essence, de benzène, de diluant ou d'autres substances instables qui peuvent dégager des vapeurs dangereuses. Ne pas respecter cette consigne peut provoquer une explosion ou un incendie. Tenez le produit hors de portée des nourrissons et des jeunes enfants. Ils peuvent se blesser.
Ne démontez pas, ne chauffez pas les piles, ne les jetez pas dans un feu et ne les court-circuitez pas. Les piles peuvent éclater. Utilisez uniquement des piles CR2. Un dégagement de chaleur ou un incendie peut se produire si d'autres piles sont utilisées. Gardez les piles hors de la portée des nourrissons. Un nourisson peut accidentellement avaler la pile. En cas d'ingestion d'une pile, consultez immédiatement un médecin.
Attention
Ceci indique un problème pouvant entraîner des blessures ou des dommages matériels s'il est ignoré ou en cas de manipulation incorrecte.
Ne mouillez pas ou ne manipulez pas ce produit avec les mains mouillées. Une électrocution peut survenir. L'utilisation d'un flash trop près des yeux peut à court terme affecter la vue. Faites attention lorsque vous prenez des photos de nourrissons et de jeunes enfants. Veillez ne pas vous tromper avec les polarités ① et lors de l'insertion des piles CR2. L'environnement peut être altéré si l'appareil photo est endommagé ou si le liquide des piles fuit. Ne touchez pas les pièces mobiles à l'intérieur de l'appareil. Vous pourriez vous blesser.
Manipulation de l'appareil photo
- L'appareil photo est un instrument de précision : ne le mouillez pas, ne le laissez pas tomber et ne le soumettez pas à des chocs. Ne placez pas non plus l'appareil photo dans un endroit où il puisse se trouver exposé au sable.
- Avant d'utiliser une courroie disponible dans le commerce, vérifie sa solidité. Soyez particulièrement prudent lorsque vous utilisez une courroie pour téléphones portables et smartphones, car ces courroies sont conçues pour les appareils légers.
- Si vous prévoyez de ne pas utiliser l'appareil photo pendant un intervalle de temps prolongé, retirez les piles et rangez-les dans un endroit à l'abri de la chaleur, de la poussière et de l'humidité.
- Enlevez la terre et la poussière de la fenêtre du viseur, etc. avec un souffleur d'air et en essayant doucement avec un chiffon doux.
- N'utilisez pas de solvant comme du diluant ou de l'alcool pour essayer la saleté.
- Ne laissez pas l'appareil photo dans une voiture fermée, un autre endroit chaud ou humide, sur la plage, etc. pendant une période prolongée.
- Les gaz des produits antimites tels que le naphtalène peuvent affecter l'appareil photo et le film. Évitez de garder l'appareil photo et le film dans une commode, etc., avec des boules de naphtaline.
- La plage de température de fonctionnement de cet appareil photo est comprise entre +5°C et +40°C
- Cet article photo peut parfaitement présenter des dysfonctionnements car il est commandé par un micro-ordinateur. En cas de dysfonctionnement, retirez puis réinsérez les piles pour réinitialiser l'appareil photo.
Traitement du film et des photos instax SQUARE
Pour plus de détails sur le traitement des films et des photos, voir les instructions du film instantané FUJIFILM instax SQUARE.
- Gardez le film dans un endroit frais. Ne laissez surtout pas le film dans un endroit extrêmement chaud, comme dans une voiture fermée, pendant une longue période.
- Utilisez le film dès que possible après l'avoir inséré dans l'appareil photo.
- Si le film a été conservé dans un endroit où la température est très basse ou très élevée, amenez-le à température ambiante avant de prendre des photos.
- Utilisez le film avant la date d'expiration indiquée sur l'emballage.
- Évitez de soumettre les films aux rayons des inspections de bagages à l'aéroport, ou à toute autre exposition puissante de rayons X. Un film inutilisé est sensible aux effets de buée, etc. Nous vous recommandons de transporter le film dans notre bagage à main en avion (vérifiez auprès de l'aéroport concerné pour plus d'informations). Évitez d'exposer les photos à une lumière intense et stockez-les dans un endroit frais et sec.
- Ne percevez pas le film, ne le déchirez pas ou ne le coupez pas. N'utilisez pas un film endommagé.
- Ne coupez pas et ne déchirez pas le film de cet appareil photo, car il contient de la colle alcaline caustique noire. Faites particulièrement attention à ce que les nourrissons ou les animaux domestiques ne mettent pas le film dans leur bouche. Veillez à ce que la colle n'entre pas en contact avec la peau ou les vêtements.
- Si vous touchez accidentellement la colle d'un film non utilisé, nettoyez-la immédiatement à grande eau. Si la colle entre en contact avec les yeux ou la bouche, lavez la zone et consultez un. L'alcalinité de ce film faiblit environ 10 minutes après l'éjection de la photo de l'appareil photo.
Précautions relatives à la manipulation du film et des photos finies
Pour plus de détails, voir les instructions du film instantané FUJIFILM instant SQUARE.

| CE | La marque « CE » certifiè que ce produit satisfait aux conditions de l'Union Européenne (UE) quant à la sécurité d'utilisation, la santé publique, la protection de l'environnement et du consommateur. (« CE » est l'abréviation de Conformité Européenne.) |
Les écans de conformité à la réglementation légalement requis sont situés à l'intérieur du couvercle arrière de l'appareil photo.

Mise au rebut des appareils électriques et électroniques chez les particuliers Mise au rebut des appareils électriques et électroniques usagés (applicable dans les pays de l'Union Européenne et aux autres pays européens disposant de systèmes de collecte sélective)
Ce symbole sur le produit, dans le manuel ou sur la garantie, et/ou sur son emballage indique que ce produit ne doit pas être traité comme un déchet ménager. Il doit être acheminé vers une déchetterie qui recycle les appareils électriques et électroniques.
En s'assurant que ce produit est éliminé correctement, vous favorisez la prévention des conséquences négatives pour l'environnement et la santé humaine qui seraient sinon entraînées par une mauvaise mise au rebut de ce produit. Le recyclage des matières aidera à conserver les ressources naturelles. Pour des informations plus détaillées sur le recyclage de ce produit, vous pouvez contacter votre mairie, votre service de traitement des déchets ménagers ou le magasin où vous avez acheté le produit.
Dans les pays hors UE : Si vous souhaitez jeter ce produit, merci de contacter les autorités locales pour vous informer sur les méthodes de recyclage existantes.

Ce symbole sur les batteries ou accumulateurs indique que ces piles ne doivent pas être traitées comme des déchets.
Pour les utilisateurs en Turquie :
L'EEE est conforme à la directive.
\section*{Caractéristiques}
| Film | Film instantané FUJIFILM instax SQUARE |
| Image photo Taille | 62 mm × 62 mm |
| Objectif | 2 composants, 2 éléments, f = 65,75 mm, 1:12,6 |
| Viseur | Viseur Galliéein inversé, 0,4x, avec spot de cible |
| Plage de prise de vue | 0,3 m et plus (0,3m à 0,5m en mode selfie) |
| Obturator | Obturator électroniqueprogrammé 1,6 à 1/400 sec. Synchro lente pour faible luminosité |
| Commande de la correction d'exposition | Automatique, Niveaux 5,0 à 15.5 (ISO 800) |
| Éjection de film | Automatique |
| Film Tempes de développement | Environ 90 secondes (varie en fonction de la température ambiente) |
| Flash | Flash constant (réglage automatique de l'éclairage), temps de recyclage : 7,5 secondes ou moins (avec des piles neues), portée efficace du flash : 0,3 à 2,2 m |
| Alimentation électrique | Deux piles au lithium (CR2), capacité : environ 30 bobines de film instax SQUARE (dans des conditions de test FUJIFILM) |
| Temps de mise hors tension automatique | Après 5 minutes |
| Autre | Compend un compteur de film et une fenêtre de vérification de la cassette de film |
| Dimensions | 130,7 mm × 118,6 mm × 57,5 mm |
| Poids | 390 g (sans piles, courroie et film) |
Informations de traçabilité en europe
Fabricant: FUJIFILM Corporation Adresse, Ville: 7-3, Akasaka 9-Chome, Minato-ku, Tokyo Pays: JAPON Représentant autorisé en Europe: FUJIFILM EUROPE GMBH Adresse, Ville: Düsseldorf, Heesenstrasse 31, 40549 Pays: Allemagne
[en] If you have any inquiries about this product, please contact a FUJIFILM authorized distributor or dealer, or access the website below. [de]Wenn Sie Fragen zu dieser Produkt haben, wenden Sie sich bitte an einen von FUJIFILM autorisierten Handel oder Vertriebspartner oder besuchen Sie die unterstehende Website. [fr] Si vous avez des questions concernant ce produit, veuillez contacter un distributeur ou un revendeur FUJIFIL agree ou visitez le site Internet suivant. [es] Si tiene alguna pregunta sobre este producto, pongase en contacto con un vendedor o un distribuidor de FUJIFILM autorizados o acceda al sitio web? sigue. [zhēn]FUJIFLM [10]i FUJIFILM · [Pl] Caso tenha uma coisa queira acerca de algo produco, por favor, contacte um distribuidor ou revendador autorizado FUJIFILM, ou aceda ao website abaixo. [Tu] Ecny y Bac ectb NIO6ble Bonpocbl OTHCOTENBHO 3T0G M3dEINN, OBpatntecb K AbotPOB3OBAHOMy Icnpb6bIotopy INn DInepy FUJIFILM, Ni6o nocetine cnekyuon Be6-cait.
[It] In caso di domande relative al prodotto, contattare un rivenditore o un distributore autorizzato FUJIFILM o accedere al sito web riportato di seguito. [nl] Als u vragen heeft over dit product, neem dan contact op met een geauthoriseerde FUJIFILM-distributeur of -dealer, of ga naar de onderstaande website. [pl] Jesli masz jakies pytania dotyczace tego produktu, skontaktuj sie z autoryzowanym dystrybutorem lub sprzedawca FUJIFILM, lub odwiedz witryne internetowa podana ponizej. [CS] Mate-li jakékoli dotazy týkajíc se tohoto výrobku, obraťte se prosím na oprávněného distributora nebo prodejce společnosti FUJIFILM nebo navštivte níže uvedené webové stránky. [SK] Ak máte akékoľvek otázky týkajúce sa tohto výrobku, kontaktujte autorizovaného distributora alebo predajcu výrobkov od spoločnosti FUJIFILM, alebo si pozriete nižšie uvedenú webovú stránku. [hu] A termékkel kapcsolatos bármilyen kérdéseivel kérjük, keressen fel a FUJIFIL egyik hivatalos forgalmazóját vagy kereskedőjét, vagy látogasson el az alábbi weboldalra. [uk]Якщо у вас є якісь питання щодо цього продукту, зв'яжіться з авторизованим дистриб'ютором або продавцем продуктів FUJIFILM, або відвідайте наведену нижче веб-сторінку.
Notice Facile