LAVE-LINGE-WCI860-WCS - Lave-linge MIELE - Notice d'utilisation et mode d'emploi gratuit

Retrouvez gratuitement la notice de l'appareil LAVE-LINGE-WCI860-WCS MIELE au format PDF.

📄 116 pages Français FR 💬 Question IA 10 questions ⚙️ Specs
Notice MIELE LAVE-LINGE-WCI860-WCS - page 6
Type de produit Lave-linge frontal
Capacité de lavage 8 kg
Vitesse d'essorage 1600 tr/min
Classe énergétique A+++
Consommation d'eau 49 L par cycle
Alimentation électrique 230 V
Dimensions approximatives 85 x 59.5 x 63.6 cm
Poids 85 kg
Fonctions principales Programmes de lavage variés, fonction de départ différé, technologie de dosage automatique
Entretien et nettoyage Nettoyage du filtre, entretien du tambour, nettoyage des joints
Pièces détachées et réparabilité Disponibilité de pièces détachées, facilité d'accès aux composants internes
Sécurité Protection contre les débordements, verrouillage de sécurité pour enfants
Informations générales Fabrication allemande, garantie de 2 ans, service après-vente Miele

FOIRE AUX QUESTIONS - LAVE-LINGE-WCI860-WCS MIELE

Pourquoi mon MIELE LAVE-LINGE-WCI860-WCS ne démarre-t-il pas ?
Vérifiez si l'appareil est correctement branché et si la prise fonctionne. Assurez-vous que la porte est bien fermée et que le programme est sélectionné.
Mon lave-linge fait un bruit anormal pendant le cycle de lavage. Que faire ?
Vérifiez si des objets étrangers se trouvent dans le tambour ou si le lave-linge est de niveau. Si le bruit persiste, contactez un technicien.
Comment résoudre un problème d'eau qui ne s'écoule pas ?
Assurez-vous que le robinet d'eau est ouvert et que le tuyau d'évacuation n'est pas plié ou obstrué. Vérifiez également le filtre à eau.
Pourquoi mon lave-linge affiche-t-il un code d'erreur ?
Les codes d'erreur indiquent un problème spécifique. Consultez le manuel d'utilisation pour comprendre la signification du code affiché.
Comment nettoyer le filtre de mon MIELE LAVE-LINGE-WCI860-WCS ?
Le filtre est généralement accessible à l'avant de l'appareil. Ouvrez le couvercle, retirez le filtre, nettoyez-le sous l'eau courante et réinstallez-le.
Mon lave-linge ne vidange pas l'eau. Que puis-je faire ?
Vérifiez que le tuyau de vidange n'est pas obstrué et que le filtre de vidange est propre. Assurez-vous également que la pompe fonctionne correctement.
Comment utiliser les différents programmes de lavage ?
Référez-vous au manuel d'utilisation pour choisir le programme adapté à votre type de linge. Chaque programme a des réglages spécifiques pour différentes textiles.
Que faire si mon lave-linge ne chauffe pas l'eau ?
Cela peut être dû à un problème avec l'élément chauffant. Vérifiez le réglage de température et, si le problème persiste, contactez un technicien.
Comment réduire les vibrations de mon lave-linge ?
Assurez-vous que le lave-linge est de niveau et que tous les pieds sont bien ajustés. Évitez de surcharger le tambour.
Y a-t-il un moyen de résoudre les odeurs désagréables dans le lave-linge ?
Effectuez un cycle de lavage à vide à haute température avec du vinaigre blanc ou un produit spécifique pour l'entretien des lave-linges.

Téléchargez la notice de votre Lave-linge au format PDF gratuitement ! Retrouvez votre notice LAVE-LINGE-WCI860-WCS - MIELE et reprennez votre appareil électronique en main. Sur cette page sont publiés tous les documents nécessaires à l'utilisation de votre appareil LAVE-LINGE-WCI860-WCS de la marque MIELE.

MODE D'EMPLOI LAVE-LINGE-WCI860-WCS MIELE

Mode d'emploi Lave-linge

MIELE LAVE-LINGE-WCI860-WCS - Mode d'emploi Lave-linge - 1

Lisez impératifement ce mode d'emploi avant d'instructor et de mesure en service votre apparéil afin d'éviter tout risque de dommage corporel ou matériel.

Table des matieres

Votrecombributiona la protection de I'environnement 6

Consignes de sécurité et mises en garde 7

Utilisation 14

Bandeau de commande 14

Ecran 16

Examples d'utilisation 16

Première mise en service 17

Miele@home 18

  1. Regler la langue d'affichage 19

  2. Activer Miele@home 19

3.Demonter les securités de transport 20

  1. Mise en service de TwinDos 20

  2. Demarrer le programme pour le calibrage 23

Lavage ecologique 24

Hygiène dans le lave-linge 24

Feedback 25

1.Preparer le linge 26

  1. Sélectionner le programme 27

  2. Charger le lave-linge 29

  3. Sélectionner les réglages du programme 30

Sélectionner la température et la vitesse d'essorage 30

Sélectionner une option 30

Degré de salissure 30

Départ différent/SmartStart 31

5.Ajouter la lessive 33

Bac à produits 35

Dosage en capsule (Caps) 37

  1. Demarrer un programme 39

Ajouter du linge en cours de programme 39

  1. Fin du programme 40

Essorage 41

Tableau des programmes 43

Symboles d'entretien 50

Options 51

SingleWash 51
Hydro ^+ 51
Options dispensibles via la touche Options 52
Quick 52
Taches 52
Prélavage 52
Trempage 52
Intensif 52
Extra silencieux 53
Trés délicat 53
AllergoWash 53

Tableau des programmes de lavage - Options 54

Déroulement de programme 56

Modifier le déroulement du programme 59

Modifier un programme (sécurité enfants) 59

Interrompre un programme 59

Annuler un programme 59

Lessives 60

Quelle lessive besoin ? 60

Produit anti-tartre 60

Aides au dosage 60

Produits complémentaires de soin du linge 60

Recommendation : lessives Miele 62

Recommendations de lessives conformément à la directive

Nettoyage et entretien 64

Nettoyer la carrosserie et le bandeau 64
Nettoyer le bac à produits 64
Entretien TwinDos. 66
Info hygène (Nettoyer le tambour) 67
Nettoyer le filtré d'arrivée d'eau 67

Table des matieres

En cas d'anomalie 68

Impossible de démarrer un programme de lavage 68

Message d'anomalie après une annulation de programme 69

Message d'anomalie en fin de programme 70

Messages ou anomalies du système TwinDos. 72

Problèmes d'ordre général 74

Résultat de lavage non satisfaisant 76

La portene s'ouvre pas. 77

Déverrouillage manuel de porte en cas de vidange obstruée et/ou de panne de courant 78

Service après-vente 80

Contact en cas d'anomalies 80

Accessoires en option 80

Base de données EPREL 80

Garantie 80

Installation 81

Vue de face 81

Vue de derriere 82

Lieu d'installation 83

Transport du lave-linge sur le lieu d'installation 83

Démontage des sécurités de transport 84

Montage des securités de transport 86

Ajustement 87

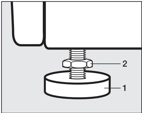
Dévissage et blocage des pieds 87

Encastrement sous un plan de travail 88

Colonne lave-linge/sèche-linge 88

Système anti-fuites 89

Arrivée d'eau 90

Vidange de I'eau 91

Raccordement electrique 92

94

Déclaration de conformité 95

Données de consommation 96

Remarque concernant les essais comparatifs 97

Données de consommation 98

Réglages 99

Ouvrir le menu Réglages 99

Sélectionner les réglages 99

Modifier un réglage 99

Quitter le menu Réglages 99

Langue 100

TwinDos 100

Degré de salissure 101

Mélodie d'accueil 101

Consommation 101

Code verrouillage 102

Unitétempérature 102

Luminosite 102

Règle veille affichage 103

Info programme 103

Memoire 103

Prélavage sup. coton 103

Durée de trempage 104

Fonction délicat 104

Réduc températe 104

Hydro plus 104

Niveau Hydro plus 104

Niveau rincage max. 105

Refroidissement bain 105

Pressure fairble 105

Infroissable 105

Miele@home 106

Commande distance 107

SmartGrid 107

RemoteUpdate 108

Lessive et produits d'entretien 109

Lessives 109

Lessives speciales 110

Produits complémentaires de soin du linge 88 111

Additives 111

Entretien de l'appareil 111

Nos emballages

Nos emballages protègent votre apparéil des dommages pouvant survenir pendant le transport. Nous les sélectionnons en fonction de critères écologiques permettant d'en faciliter le recyclage.

En participant au recyclage de vos emballages, vous contribuez à economiser les matières premières et à réduire le volume des déchets. Notre revendeur reprend vos emballages.

Votre ancien apparéil

Les apparêils électriques et Electroniques contiennent souvent des matériaux précieux. Cependant, ils contiennent aussi des substances toxiques nécessaires au bon fonctionnement et à la sécurité des apparêils. Si vous déposez ces apparêils usages avec vos ordures menagères ou les manipulation de manière inadéquate, vous risquez de nuire à votre santé et à l'environnement. Ne jetez jamais vos ancadiens apparêils avec vos ordures menagères!

MIELE LAVE-LINGE-WCI860-WCS - Votre ancien apparéil - 1

Faites appel au service d'enlèvement mis en place par votre commune, votre revendeur ou Miele, ou rapportez votre apparéil dans un point de collecte spécialement dédié à l'élimination de ce type d' apparéil. Vous étés légalement responsable de la suppression des évientuelles données à caractère personnel figurant sur l'ancien apparéil à éliminer. Jusqu'à son enlèvement, voirlez à ce que votre ancien apparéil ne présente aucun danger pour les enfants.

Ce lave-linge répond aux réglementations de sécurité en vigueur. Toute utilisation non conforme peut toutefois cause des dom-mages corporels et matériels.

Lisez attentivement le mode d'emploi avant demettre le lave-linge en service. Vous y trouvrez des informations importantes sur le montage, la sécurité, l'utilisation et I'entretien de cet appariel. Vous vous protégerez ainsi et éviterez de déterminer vosse appariel.

Conformément à la norme IEC 60335-1, Miele indique expressesment de litre impérativement le chapitre pour l'installation du lavelinge et de suivre les consignes de sécurité et de mise en garde.

Miele ne peut être tenu pour responsable des dommages dus au non-respect des consignes.

Conserve ce mode d'emploi et veuilles le remetre en cas de cession de cet apparéil.

Utilisation conforme

Ce lave-linge est destiné à être utilisé dans le cadre domestique ou dans des conditions d'installationsemblables au cadre domestique.
Ce lave-linge ne convient pas à une utilisation en extérieur.
Le lave-linge est réservé à un usage domestique. Il doit uniquement servir au lavage de textiles déclarés lavables en machine par leur fabricant sur l'étiquette d'entretien. Tout autre type d'utilisation est interdit. Miele n'est pas responsable des dommages causés par une utilisation incorrecte, non conforme aux consignes.

Consignes de sécurité et mises en garde

Les personnes qui ne sont pas en mesure d'utiliser ce lave-linge en toute sécurité en raison de déficiencies physiques, sensorielles ou mentales ou de leur manque d'expérience ou de connaissances ne doivent pas l'utiliser sans la surveillance ou les instructions d'une personne responsable.

Précautions à prendre avec les enfants

Les enfants de moins de huit ans doivent être tenus à l'écart du lave-linge à moins d'être constamment surveillés.
Les enfants de huit ans et plus ne sont autorisés à utiliser le lavelinge que s'il leur a été expliqué comment l'utiliser sans danger. Il est nécessaire de s'assurer qu'ils ont compris les risques encourus en cas de mauvaise manipulation.
Les enfants ne doivent pas nettoyer ou entrenir le lave-linge sans etre sous la surveillance d'un adulte.
Ne laissez pas les enfants sans surveillance à proximé du lavelinge. Ne les laissez jamais jouer avec le lave-linge.

Sécurité technique

Veuillez suivre les instructions des chapitres « Installation » et « Caracteristiques techniques »
Vérifiez que votre lave-linge ne présente pas de dommages avant de l'installer. Si le lave-linge est endommagé, il ne doit enaucun cas être installé et mis en service.
Comparez impératifement les données de branchement du lavelinge (fusible, tension et fréquence) indiquées sur la plaque signalétique avec celles du réseau électrique. Dans le doute, interrogez un électricien.

Le fonctionnement fiable et en toute sécurité du lave-linge est uniquement garanti lorsque ce dernier est raccordé au réseau électrique publique.
La sécurité électric de ce lave-linge n'est garantie que s'il est raccordé à un système de mise à la terre homologué.

Il est primordial que cette condition de sécurité élémentaire et en cas de doute toute l'installation domestique, soient contrôlées par un professionnel.

Miele ne peut être tenu pour responsable de dommages causés par une mise à la terre manquante ou défectueuse à l'installation.

Pour des raisons de sécurité, n'utilise pas de rallonge ou de multiprises (risque d'incendie par suite de surchauffe).
Les pieces de rechange d'origine sont les seules dont Miele garantit qu'elles replissent les conditions de sécurité. Ne remplacez les pieces défectueuses que par des pieces détachées d'origine.
La prise électrique doit toujours être accessible pour pouvoir débrancher le lave-linge de l'alimentation électrique.
Faites effectuer les réparations exclusivement par des techniciens agreés Miele, sinon vous perdrez le bénéfice de la garantie en cas de pannes ultérieures. Le fabricant decline toute responsabilité en cas de réparation non conforme. Les réparations non conformes exposent l'utilisateur à des dangers potentiels.
Les bénéfices liés à la garantie sont perdus en cas de réparation du lave-linge par un service après-vente non agréé par Miele.

Consignes de sécurité et mises en garde

Si le cable d'alimentation electrique est endommagé, celui-ci doit impératifement être remplaced par un technician SAV/agree par Miele afin d'éviter tout risque pour l'utilisateur.
Pour réparer, nettoyer ou entrenir le lave-linge, mettez-le hors tension en :
- débranchant la fiche du lave-linge de l'alimentation électrique ou
- déclenchant le fusible
Il faut impératifement utiliser un jeu de tuyaux neufs pour le raccordement à l'eau. Les tuyaux usages sont proscrits. Contrôlez régulierement les tuyaux d'arrivée d'eau afin de les remplacer à temps et d'éviter un dégât des eaux.
La pression d'écoulement doit être d'au moins 100kPa et ne doit pas dépasser 1000kPa .
Ce lave-linge ne doit pas etre utiliser sur des engins en mouvement.
N'effectuez pas de modifications sur le lave-linge qui ne soient pas expressement autorisées par Miele.

Précautions d'emploi

N'installez pas votre lave-linge dans une piece exposée au gel. Les tuyaux gelés peuvent se fendre ou éclater. Des températures en dessous de 0^ peuvent diminuer la fiabilité de la platine électronique.
Enlevez les sécurités de transport à l'arrête du lave-linge avant la mise en service (voir chapitre « Installation », « Démonter les sécurités de transport »). Si elles ne sont pas enlevées, elles peuvent endommager le lave-linge ainsi que les meubles/appareils contigus au moment de la phase d'essorage.
Fermez le robinet d'eau en cas d'absence prolongée (ex.: vacances) surtout s'il n'existe pas de vidange au sol (regard) à proximité du lave-linge.
Risque d'inondation!

Vérifiez que l'eau s'écoule suffisamment vite avant d'accrocher le tuyau de vidange dans un évier ou un lavabo. Bloquez le tuyau de vidange pour éviter qu'il ne glisse. Autrement la force de refoulement de l'eau vidangée pourrait pousser le tuyau hors de l'évier.

Assurez-vous qu'il n'y a pas de corps étrangers dans votre linge avant de le laver (ex.: clous, épingles, pieces ou trombones) afin de ne pas le détériorer. Les corps étrangers peuvent également endommager certaines pieces de l'appareil (cuve, tambour) qui peuvent à leur tour détériorer le linge.

Consignes de sécurité et mises en garde

Avec un cas d'ouvrant la porte. La vapeur qui s'échappe et les températures élevées au niveau du tambour et du hublot peuvent provoquer des brûlures. Récules d'un pas et attendez que la vapeur se dissipe.

La capacité maximale de charge est de 9,0 kg (linge sec). Vous pouvez consulter les capacités de charge maximales des différents programmes au chapitre « Tableau des programmes ».

Il n'est pas nécessaire de détartrer l'appareil si vous dosez la dessive correctement. Si votre apparéil était malgré tout entartré, utilisez un détartrant à base d'acide citrique. Miele recommende d'utiliser le détartrant Miele, disponible en ligne sur shop.miele.fr, chez votre revendeur Miele ou auprès du service après-vente Miele. Suívez scrupuleusement les instructions d'utilisation.

Si vous avez utilisé des produits nettoyants contenant des solvants sur votre linge, rincez-les à l'eau claire avant de les charger dans le lave-linge.

N'utilisez jamais de détergents contenant des solvants pour nettoyer le tambour de votre lave-linge, ces produits étant susceptibles d'endommager les pieces de l'appareil et de dégager des vapeurstoxiques. Attention ! Risque d'incendie et d'explosion !

N'utilisez jamais de détergents contenant des solvants pour nettoyer la façade ou le dessus du lave-linge. Vous risqueriez d'endommager les surfaces en plastique.

Les teintures que vous utilisez doivent convenir à une utilisation en lave-linge. La fréquence des teintures doit correspondre à une utilisation domestique moyenne. Respectez impératifement les instructions du fabricant de la teinture.

Les décolorants contiennent duSoufre, qui peut provoquer une corrosion de la machine. Ces produits ne doivent pas etre utilisés dans le lave-linge.
Si de la lessive liquide est projetée dans les yeux, la rincer immédiatement abondamment avec de l'eau tiède. En cas d'ingestion, prévenir immédiatement un médecin. Les personnes qui ont une peu sensible ou des lésions cutanées doivent éviter le contact avec la lessive liquide.

Accessoires et pieces détachées

Utilissez exclusivement des accessoires d'origine Miele. Le montage d'autres pieces exclut le bénéfice de la garantie.
Il est possible de réaliser une colonne lave-linge/sèche-linge en superposant un sèche-linge Miele à un lave-linge Miele. Pour ce faire, il est nécessaire d'utiliser un cadre de superposition, disponible comme accessoire en option. Il faut vérifier que le cadre de superposition convient aux modèles de sèche-linge et lave-linge Miele.
Si vous souhaitez utiliser un socle Miele, accessoire disponible en option, vérifie qu'il convient à ce lave-linge.
Miele offre une garantie d'approvisionnement de 15 ans pour le maintain en etat de fonctionnement des pieces détachées après l'arrêt de la production en série de votre lave-linge.

Miele ne peut être tenu pour responsable des dommages dus au non-respect des consignes de sécurité et mises en garde.

MIELE LAVE-LINGE-WCI860-WCS - Accessoires et pieces détachées - 1
Bandeau de commande

MIELE LAVE-LINGE-WCI860-WCS - Accessoires et pieces détachées - 2

① Bandeau de commande

Le bandeau de commande est composé d'un écran et de plusieurs touches sensitives. Vous trouvez davantage d'informations sur les touches sensitives ci-après.

② Écran

L'écran permet d'afficher et/ou de sélectionner les valeurs suivantes :

  1. la température, la vitesse d'essorage et le temps restant pour le programme sélectionné,
  2. les valeurs des listedes de seLECTION pour les options et les réglages.

(3) Touches sensitives

Les touches sensitives permettent de modifier les valeurs a I'ecran. La touche sensitive permet d'augmenter une valeur ou de remonter dans la liste de selection. La touche sensitive permet de diminuier une valeur ou de descendre dans la liste de selection.

La touche sensitive OK permet de valider les valeurs sélectionnées.

⑤ Touche sensitive TwinDos avec les touches Blanc et Couleurs

Effleurez la touche sensitive TwinDos pour activer ou désactiver le dosage automatique de lessive. Utilisez la touche sensitive Blanc ou Couleurs pour déterminer la quantité optimale et le bon rapport de lessive en fonction des couleurs du linge.

Pour de plus amples informations, consultez le chapitre « TwinDos »

⑥ Interface optique

Sert de point de transfert au service après-vente.

⑦ Touches sensitives pour les Options

Vou pouve ajouter des options aux programmes standard.

Si un programme de lavage est sélectionné, les touches sensitives des options possibles s'allument avec un éclairage attenué.

⑧ Touche sensitivei

La touche sensitive i 念 you permit d'obtenir des informations sur la consommation d'énergie et d'eau du lave-linge.

Pour plus d'informations, consultez le chapitre « Lavage ecologique», paragraphe « Feedback »

Les informations suivantes s'afficheet à l'écran :

  • Des prévisions de la consommation en eau et en énergie avant le démarrage du programme.
  • La consommation réelle en eau et en énergie en cours ou en fin de programme et les coûts associés.

⑨ Touche sensitive

La touche sensitive permet de lancer un départ différé. Le départ différé vous permit de reporter le départ du programme. Il est possible de différer le départ du programme de 15 minutes à 24 heures au maximum. Vous pouvez ainsi profiter des tarifs de nuit plus avantageux, par exemple.

Pour de plus amples informations, consultez le chapitre « Départ différé »

10 Touche sensitive

Vous pouvez définir le degré de salissure du linge sur une échelle de trois niveaux. La touche sensitive TwinDos doit être activée pour pouvoir utiliser cette fonction.

① Touche sensitive Départ/Ajouter du linge

A Dès qu'un programme peut être démarré, la touche sensitive clignote. En effleurant la touche sensitive Départ/Ajouter du linge le programme selectionné démarre. La touche sensitive reste allumée.
B Lorsque le programme a etedemarré, la touche sensitive Départ/Ajouter du lingepermét d'ajouter du linge.

12 Touche sensitive CAP

Les touches sensitives permettent d'activer le dosage de la lessive via une capsule.

13 Sélecteur de programme

Pour la sélection de programme et la désactivation. Le lave-linge est enclenché via la sélection de programme et étant par la position du sélecteur de programme.

Écran

L'affichage de base indique les valeurs suivantes, de la gauche vers la droite :

MIELE LAVE-LINGE-WCI860-WCS - Écran - 1

  • la température de lavage sélectionné
  • la vitesse d'essorage sélectionnée
  • la durée de programme

Experiments d'utilisation

Faire défilier une liste de sélection

La barre de défilament à l'écran indique qu'une liste de seLECTION est disponible.

MIELE LAVE-LINGE-WCI860-WCS - Faire défilier une liste de sélection - 1

La touche sensitive permet de faire défilier la liste de sélection vers le bas. La touche sensitive permet de faire défilier la liste de sélection vers le haut. La touche sensitive OK permet d'activer l'option actuellément affichée.

Sélection cochée

MIELE LAVE-LINGE-WCI860-WCS - Sélection cochée - 1

Si une option est activée dans la liste de seLECTION, elle est suivie d'une coche .

Réglage des données chiffrées

MIELE LAVE-LINGE-WCI860-WCS - Réglage des données chiffrées - 1

La valeur qui peut être régée est surli-gnée en blanc. La touche permet de réduire le chiffre, la touche de l'aug-menter. Pour valider les chiffres saisis, effleurez la touche sensitive OK.

Quitter un sous-menu

Pour quitter un menu, selectionnez re-tour

Dommages dus à une installation et un raccordement incorrectly.

Une installation et un raccordement incorrects du lave-linge entrainent de graves dommages matériels.

Pour plus d'informations, reportez-vous au chapitre « Installation »

Enlever le film de protection et l'autocollant

Enlevez :

  • le film de protection (si présente) de la porte.
  • tous les autocollants publicitaires (s'il y en a) de la façade et du couvercle.

Ne pas enlever les autocollants qui ne sont visibles que porte ouverte (par exemple la plaque signalétique).

Ce lave-linge a eté soumis à un test de fonctionnement complet en usine. Aussi reste-t-il un peu d'eau dans le tambour.

Retirer les cartouches de les-sive et les crosses du tambour

Dans le tambour se trouvent deux cartouches de lessive pour le dosage de lessive automatique et une crosse pour le tuyau de vidange.

MIELE LAVE-LINGE-WCI860-WCS - Retirer les cartouches de les-sive et les crosses du tambour - 1

Pour ouvrir la porte, attrapez le creux de la poignée puis tirez.
Retirez les deux cartouches et la crosse.

MIELE LAVE-LINGE-WCI860-WCS - Retirer les cartouches de les-sive et les crosses du tambour - 2

Fermez la ported'un coup sec.

Miele@home

Votre lave-linge est équipé d'un module Wi-Fi intégré.

Pour utiliser cette fonctionnalité, il vous faut :

  • un réseau Wi-Fi
  • l'App Miele@mobile
  • un compte utiliser Miele. Vous pouvez creer votre compte utilisé via l'App Miele@mobile.

L'App Miele@mobile vous guide lors de la connexion entre le lave-linge et le réseau Wi-Fi local.

Une fois le lava-linge connecté au réseau Wi-Fi, vous pouvez par exemple procéder aux actions suivantes avec l'App :

  • Commander à distance votre lavelinge
    -Obtenir des informations sur I'etat de fonctionnement de votre lave-linge
    -Obtenir des indications sur le déroulement de programme de votre lavelinge

En connectant le lave-linge à votre réseau Wi-Fi, la consommation d'énergie augmente, même si le lave-linge est désactivé.

Assurez-vous que le signal de votre réseau Wi-Fi est suffisamment fort sur le lieu d'installation de votre lavelinge.

Disponibilité de la connexion Wi-Fi

La connexion Wi-Fi partage une plage de fréquence avec d'autres apparèils (par ex. micro-ondes, jouets télécommandés). Cela peut entraîner des problèmes de connexion temporaires ou completes. Une disponibilité constante des fonctions proposées ne peut donc pas être garantie.

Disponibilité Miele@home

L'utilisation de l'App Miele@mobile dépend de la disponibilité du service Miele@home de votre pays.

Le service de Miele@home n'est pas disponible dans tous les pays.

Vous trouvrez plus d'informations sur la disponibilité de ce service sur notre page Internet www.miele.fr.

Application Miele@mobile

Vous pouvez télécharger Gratisement les Apps Miele@mobile depuis l'Apple App Store® ou depuis Google Play Store™.

MIELE LAVE-LINGE-WCI860-WCS - Application Miele@mobile - 1

MIELE LAVE-LINGE-WCI860-WCS - Application Miele@mobile - 2

Mettre le lave-linge en marche

MIELE LAVE-LINGE-WCI860-WCS - Mettre le lave-linge en marche - 1

Tournez le sélecteur sur le programme Coton.

La mélodie d'accueil retentit et l'écran d'accueil s'affiche.

L'écran vous guide en 5 étapes lors de la première mise en service.

1. Régler la langue d'affichage

Le système vous invite à régler la langue qui apparaître à l'écran. Vous pouvez modifier la langue de l'interface à tout moment en tournant le sélecteur sur la position Autres programmes en accédant au menu Reglages.

MIELE LAVE-LINGE-WCI860-WCS - Régler la langue d'affichage - 1

Effleurez les touches sensitives jusqu'à ce que la langue souhaitation soit affichée.
Appuyez sur OK pour confirmer votrechoix de langue.

2. Activer Miele@home

L'écran affiche le message suivant : i Miele@home

  • Valider en effleurant OK.

L'écran affiche le message suivant : Installer

Si vous souhaitez activer Miele@home immédiatement, effleurez la touche sensitive OK.
Si vous souhaitez remetre la configuration à plus tard, effleurez la touche sensitive V. L'écran affiche le message suivant : Installation ultérieure. Confirmez avec la touche OK.

Le message suivant s'affiche :

  1. connecter par WPS
  2. connecter via l'App
    ■ Sélectionnéz la méthode de connexion.

L'écran et l'App Miele@mobile vous guident vers les autres étapes.

3. Démonter les sécurités de transport

Dommages provoqués par des sécurités de transport non enlevées. Une sécurité de transport non retiree peut entraîner des dommages sur le lave-linge et les meubles/appareils voisins.

Retirez la sécurité de transport comme indiqué au chapitre « Installation et raccordement »

Le message suivant apparait à l'écran :

Enlever sécurités de transport
- Validez en effleurant la touche sensitive OK.

4. Mise en service de TwinDos

Les données pour UltraPhase 1 et UltraPhase 2 sont preréglées en usine. Vous pouvez simplement les confirmer.

L'écran affiche le message suivant :

i TwinDos
- Validez en effleurant la touche sensitive OK.

L'écran affiche le message suivant :

Paramétr

Si vous souhaitez configurer TwinDos immédiatement, effleurez la touche sensitive OK.
Si vous souhaitez remettre la configuration à plus tard, effleurez la touche sensitive V. L'écran affiche le message suivant: Réglage ultérieur. Confirmez avec la touche OK.

Les données pour UltraPhase 1 sont prérgliées en usine.

MIELE LAVE-LINGE-WCI860-WCS - Mise en service de TwinDos - 1

  • Validez en effleurant la touche sensitive OK.

MIELE LAVE-LINGE-WCI860-WCS - Mise en service de TwinDos - 2

  • Validez en effleurant la touche sensitive OK.

L'écran affiche :

i Regler le dosage. Respecter la durete de I'eau
- Validez en effleurant la touche sensitive OK.

La quantité de dosage d'UltraPhase 1 est préréglée pour (plage de durée té II).

MIELE LAVE-LINGE-WCI860-WCS - Mise en service de TwinDos - 3

  • Confirmez la valeur pré régée à l'aide de la touche sensitive OK. Si vous souhaitez corriger la valeur, utilisez les touches sensitives ∨ ∧ et confirmez à l'aide de la touche OK.
UltraPhase 1
Plage de durété I46 ml
Plage de durété II58 ml
Plage de durété III70 ml

L'écran affiche :

i Insérer ①

MIELE LAVE-LINGE-WCI860-WCS - Mise en service de TwinDos - 4

Retirez le film de la cartouche de les-sive.

MIELE LAVE-LINGE-WCI860-WCS - Mise en service de TwinDos - 5

  • Abaissez la trappe d'accès au réservoir TwinDos.

MIELE LAVE-LINGE-WCI860-WCS - Mise en service de TwinDos - 6

■ Insérez la cartouche de lessive pour UltraPhase 1 dans le组成部分 1 jusqu'à ce que le verrouillage s'enclenché.

Réglages du compartment ②

Les données pour UltraPhase 2 sont prérgées en usine.

Après avoir inséré la première cartouche, l'écran affiche le message suivant :

MIELE LAVE-LINGE-WCI860-WCS - Réglages du compartment ② - 1

  • Validez en effleurant la touche sensitive OK.

MIELE LAVE-LINGE-WCI860-WCS - Réglages du compartment ② - 2

  • Validez en effleurant la touche sensitive OK.

La quantité de dosage d'UltraPhase 2 est pré régée pour (plage de durée- té II).

MIELE LAVE-LINGE-WCI860-WCS - Réglages du compartment ② - 3

  • Confirmez la valeur pré régée à l'aide de la touche sensitive OK. Si vous souhaitez corriger la valeur, utilisez les touches sensitives ∨ ∧ et confirmez à l'aide de la touche OK.
UltraPhase 2
Plage de durété I36 ml
Plage de durété II45 ml
Plage de durété III54 ml

L'écran affiche :

i Insérer ②

MIELE LAVE-LINGE-WCI860-WCS - Réglages du compartment ② - 4

Retirez le film de la cartouche de les-sive.

MIELE LAVE-LINGE-WCI860-WCS - Réglages du compartment ② - 5

■ Insérez la cartouche de lessive pour UltraPhase 2 dans le组成部分 2 jusqu'à ce que le verrouillage s'enclenché.

Après avoir inséré la cartouche, l'écran affiche le message suivant :

i «TwinDos» est régèle. Modifiable dans «Réglages»
- Validez en effleurant la touche sensitive OK.
Fermez la trappe d'accès au réservoir TwinDos.

5. Demarrer le programme pour le calibrage

Pour une consommation en eau et en électricité optimale et un résultat de lavage parfait, il est important que le lave-linge soit calibré.

Pour ce faire, il faut lancer le programme Coton sans linge et sans lesse.

Le lancement d'un autre programme n'est possible qu'une fois le calibrage effectué.

Le message suivant apparait a I'ecran :

Ouvr et demarrer Coton 90^ a vide

Effleurez la touche sensitive V jusqu'à ce que la touche OK s'allume, puis validez en effleurant OK.

MIELE LAVE-LINGE-WCI860-WCS - Demarrer le programme pour le calibrage - 1

Ouvrez le robinet.
Effleurez la touche sensitive Départ/ Ajouter du linge.

Le programme de calibrage du lavelinge est lancé. Il dure environ 2 h.

Un message à l'écran signale la fin du programme :

i Mise en service terminée

MIELE LAVE-LINGE-WCI860-WCS - Demarrer le programme pour le calibrage - 2

Pour ouvrir la porte, attrapez le creux de la poignée puis tirez.
Conseil : laissez la porte entrouverte pour que le tambour puisse sécher.
- Tournez le sélecteur de programme sur la position © .

Consommation d'énergie et d'eau

  • Utilisez la charge maximale de chaque programme de lavage. La consommation d'énergie et d'eau est plus avantageuse en charge pleine.
  • Les programmes visant à réduire la demande d'énergie et d'eau ont généralement une durée plus longue. En prolongeant la durée du programme, la température de lavage effectivement atteinte peut être abaissee tout en maintainant le même résultat de lavage.

Par exemple, le programme ECO 40-60 a une durée plus longue que le programme Coton 40^ ou 60^ . Le programme ECO 40-60 est plus efficace en termes de consommation d'énergie et d'eau, mais sa durée est plus longue.

  • Laver les petites pieces de linge peu sale en programme Express 20.
  • Les lessives modernes permettent de laver à basse température (par ex. : 20 °C). Ces réglages de température vous permettent de réaliser des économies d'énergie.

Hygiène dans le lave-linge

Les lavages à bassé température et/ou avec de la lessive liquide risquent de provoquer la formation de moisissures et de mauvaises odeurs à l'intérieur du lave-linge. Par conséquent, il est recommandé de nettoyer le tambour au moins une fois par mois.

Lorsque le message Info Hygiène : Utiliser au moins le programme 75^ ou «Nettoyage machine» apparait a I'ecran, il faut proceder au nettoyage du lave-linge.

Consignes pour le séchage ultéieur au sèche-linge

La vitesse d'essorage selectionnée influence l'humidité résiduelle du linge et l'émission sonore du lave-linge.

Plus la vitesse d'essorage est élevée, plus l'humidité résiduelle du linge est faible. Cependant le niveau sonore du lave-linge augmente.

Pour economiser de l'énergie lors du séchage, sélectionnez la vitesse d'essorage la plus élevé proposée par le programme de lavage.

Consommation de lessive

  • Pour un dosage exact, utilisez la fonction de dosage automatique de la lessive.
  • Lors du dosage, tenez compte du degré de salissure du linge.
  • Utilisez au maximum la quantité de lessive indiquée sur l'emballage.

Feedback

La touche sensitive i you permit d'obtenir des informations sur la consommation d'énergie et d'eau du lave-linge.

Les informations suivantes s'affichent à l'écran :

  • Des prévisions de la consommation en eau et en énergie avant le démarriage du programme.
  • La consommation réelle en eau et en énergie en cours ou en fin de programme et les coûts associés.

1. Prévisions

  • Avec avoir sélectionné un programme de lavage, effleurez la touche sensitive i#.

Le diagramme indique la prévision de consommation d'énergie et d'eau.

MIELE LAVE-LINGE-WCI860-WCS - Prévisions - 1

Plus les barres sont nombreuses (), plus la consommation en eau et en électricité est élevé.

La prévision change en fonction du programme de lavage sélectionné, de la température et des options.

Effleurez la touche sensitive OK ou attendez que l'écran revienne automatiquement à l'affichage de base.

2. Consommation réelle

Voussouspoucezconsulterla consommation réelle en eau et en électricité encours et en fin de programme.

Effleurez la touche sensitive i#.

MIELE LAVE-LINGE-WCI860-WCS - Consommation réelle - 1

Effleurez les touches sensitives pour afficher la consommation d'eau.

L'affichage de la consommation évolue au fur et à mesure de l'avancée du programme.

Lorsque vous ouvrez la porte ou que le lave-linge se désactive automatiquement en fin de programme, l'affchage rebascule vers les données prévisionnelles de consommation.

Conseil : you pouvez consulter les données de consommation du dernier programme de lavage dans le menu Reglages 念 >Consommation.

1. Préparer le linge

MIELE LAVE-LINGE-WCI860-WCS - Préparer le linge - 1

Videz les poches.

Dommages provoqués par des corps étrangers.

Des clous, pièces de monnaie, trombones, etc. peuvent endommager le linge et certains composants de l'appareil.

Vérifiez la présence de corps étrangers sur le linge avant le lavage et retirez les.

Trier le linge

  • Triez le linge par couleur, tout en prénant en compte le symbole figurant sur l'étiquette d'entretien (au col ou sur la couture latérale).

Conseil : les textiles fonçés ont tendance à déteindre lors des premiers lavages. Lavez le linge clair et foncé séparément pour éviter tout risque.

Traiter les taches

Enlevez les taches avant de laver le linge, de préférence tant qu'elles sont encore fraîches. Tamponnez les taches avec un chiffon qui ne risque pas de déteindre. Ne pas frotter!

Conseil : quelques astuces, que vous trouverez dans le lexique Miele, suffisent parfois pour eliminer certaines taches (sang, oeuf, café, the, etc.).Vous pouvez consulter le lexique sur le site www.miele.fr.

Dommages provoqués par des déterments contenant des solvants, Du white spirit, du détachant etc. peut endommager les pièces plastiques.

Lorsque vous nettoyez des textiles, vérifie que vous ne repandez pas de nettoyant contenant des solvants sur les pièces en plastique.

Risque d'explosion provoqué par des déterments contenant des solvants.

Lors de l'utilisation de détergents contenant des solvants, un mélange explosif peut survenir.

N'utilise pas de détergents contenant des solvants dans le lave-linge.

Conseils

  • Voilages : enlevez les crochets et autres parties métalliques ou placeilles dans un sac.
  • Recousez ou enlevez les baleines de soutien-gorge qui se sont détachées.
  • Fermez les fermétures éclair, les fermétures velcro, les crochets et les boutons pression avant le lavage.
  • Fermez les housses de couettes et d'oreillers afin que les petites pièces de linge ne se prennt pas dedans.

Ne lavez aucun textile marqué non la-vable (symbole d'entretien).

Metre le lave-linge en marche

Tournez le sélecteur sur un programme.

Sélectionner un programme

Vouss dispossez de 3 possibilités pour sélectionner un programme.

1. Sélection d'un programme standard avec le sélecteur

MIELE LAVE-LINGE-WCI860-WCS - Sélection d'un programme standard avec le sélecteur - 1

Tournez le sélecteur de programme sur le programme souhaïte.

L'écran affiche le programme sélectionné. L'affichage de base apparait ensuite à l'écran.

  1. Sélection d'un autre programme avec la position « Autres programmes/» et l'affichage :

MIELE LAVE-LINGE-WCI860-WCS - Sélection d'un programme standard avec le sélecteur - 2

  • Tournez le sélection de programme sur la position Autres programmes/

L'affichage indique :

MIELE LAVE-LINGE-WCI860-WCS - Sélection d'un programme standard avec le sélecteur - 3

Effleurez les touches sensitives jusqu'à ce que le programme souhai-té s'affiche.
- Validate le programme avec la touche sensitive OK.

En fonction du programme sélectionné, les paramètres de programme préréglés sont également affichés.

2. Sélectionner le programme

3. Sélection d'un programme avec la position MobileStart et l'application Miele@mobile

Conseil: Pour pouvoir utiliser MobileS-tart , le lave-linge doit etre connecte au reseau Wi-Fi et I'option Commandede distance doit etre activee.

MIELE LAVE-LINGE-WCI860-WCS - Sélection d'un programme avec la position MobileStart  et l'application Miele@mobile - 1

Tournez le sélecteur de programme sur la position MobileStart [ ]

L'affichage indique :

Charger le linge, fermer la porte et presser «Départ». L'appareil peut être commandé à distance

Suivez les instructions affichées à l'écran puis démarrez le programme.

L'affichage indique :

MobileStart

Vous pouvez à présent commander toute lave-linge via l'application Miele@mobile.

Ouvrir la porte

MIELE LAVE-LINGE-WCI860-WCS - Ouvrir la porte - 1

Placez vos doigs dans le creux de la poignée et tirez pour ouvrir la porte.

Vérifiez la présence d'animaux ou de corps étrangers dans le tambour avant de charger le linge.

La consommation d'énergie et d'eau rapportée à la quantité de linge est la plus faible lorsque la charge maximale est atteinte. Une surcharge alteré le résultat de lavage et entraîne la formation de pris.

Chargez le linge déplié dans le tambour sans le tasser.

Mélanger les pieces de différentes tailles permet de renforcer l'efficacité du lavage et de nouveaux répartir le linge à l'essorage.

Conseil : Tenez compte de la capacité de charge maximale de chaque programme de lavage. Elle est toujours affichée lorsque vous selectionnez un programme.

Fermer la porte

MIELE LAVE-LINGE-WCI860-WCS - Fermer la porte - 1

Vérifiez qu'aucune piece de lingen n'est coincée entre la porte et le joint tambour-façade.

MIELE LAVE-LINGE-WCI860-WCS - Fermer la porte - 2

Fermez la porte en la poussant un peu.

4. Sélectionner les réglages du programme

Sélectionner la température et la vitesse d'essorage

Vous pouvez modifier la température et la vitesse d'essorage préréglées d'un programme de lavage si ce dernier vous y autorise.

Les températures atteintes dans le lavelinge peuvent être différentes des températures sélectionnées. La combinaison de l'apport d'énergie et du temps de lavage permet d'obtenir un résultat de lavage optimal.

MIELE LAVE-LINGE-WCI860-WCS - Sélectionner la température et la vitesse d'essorage - 1

A l'écran, effleurez les touches sensitives situées respectivement endessous ou au-dessus des valeurs de température et d'essorage, jusqu'à ce que la valeur souhaïée s'affiche.

Sélectionner une option

MIELE LAVE-LINGE-WCI860-WCS - Sélectionner une option - 1

Effleurez la touche sensitive de l'option souhaitée, qui s'allume ensuite en clair.

Conseil : vous pouvez selectionner plusieurs options pour un programme de lavage.

La disponibilité des options dépend du programme de lavage sélectionné. Si l'option ne s'allume pas sur le ban-deau de commande, c'est qu'elle n'est pas disponible pour le programme choisi (voir chapitre « Options »).

La touche sensitive Options permet de sélectionner des options supplémentaires.

L'affichage indique :

MIELE LAVE-LINGE-WCI860-WCS - Sélectionner une option - 2

Effleurez les touches sensitives jusqu'à ce que l'option souhaitationes affiche.
- Validez l'option en effleurant la touche sensitive OK.

MIELE LAVE-LINGE-WCI860-WCS - Sélectionner une option - 3

Degré de salissure

La touche sensitive TwinDos doit etre activée pour pouvoir utiliser la fonction . Pour plus d'informations, consultez le chapitre « 5. Ajouter la lessive », paragraphe « TwinDos »

4. Sélectionner les réglages du programme

Départ différé/SmartStart

Départ différé

Le départ différé vous permet de reporter le départ du programme.

Cette fonction est disponible lorsque le réglage SmartGrid est désactivé.

Vous pouvez régler les heures dans un intervalle compris entre 00 et 24. Vous pouvez régler les minutes par paliers de 15 minutes, dans un intervalle compris entre 00 et 45.

Configurer un départ différé

Le message suivant s'affiche :

MIELE LAVE-LINGE-WCI860-WCS - Configurer un départ différé - 1

  • Réglez les heures via les touches sensitives . Validate en effleurant la touche sensitive OK.

L'affichage change :

MIELE LAVE-LINGE-WCI860-WCS - Configurer un départ différé - 2

Réglez les minutes via les touches sensitives . Validez en effleurant la touche sensitive OK.

Conseil: si vous maintainez les touches sensitives enforcées, les valeurs numériques augmentent ou diminuent automatiquement.

Supprimer le départ différé

Il est possible de supprimer un départ différé avant le démarrage du programme.

Effleurez la touche sensitive

Le délambda de départ différé s'affiche à l'écran.

A l'aide des touches ,configurez une durée de 00:00 h.. Validez en effleurant la touche sensitive OK.

Le délambda de départ différé a eté efface.

Si le programme a déjà commencé, annulez-le pour pouvoir modifier ou supprimer le délié de départ différé.

Modifier le département différé

Il est possible de modifier un départ différé avant le démarrage du programme.

Effleurez la touche sensitive
Modifiez le délambda qui s'affiche puis confirmez en effleurant la touche OK.

4. Sélectionner les réglages du programme

SmartStart

La fonction SmartStart vous permet de définir une plage hora durant laquelle votre lave-linge démarre automatiquement. L'enclenchement s'effectue via un signal, envoyé par exemple par votre fournisseur d'énergie lorsque le tarif d'électricité est le plus attractif.

Cette fonction est disponible lorsqu'le réglage SmartGrid est activé.

Vous pouvez définir une plage hora entre 15 minutes et 24 heures. Pendant cette période, le lave-linge attend le signal du fournisseur d'énergie. En l'absence de signal pendant la plage définitie, le lave-linge démarre automatiquement le programme de lavage.

Définir une plage hora

Si vous avez activé la fonction SmartGrid dans les paramètres, SmartStart ds remplace Départ dans à l'écran après avoir effleuré la touche sensitive (voir chapitre « Réglages », section « SmartGrid »).

Le déroulement correspond au réglage du temps du départ différé.

Réglez les heures avec les touches sensitives et validez en effleurant la touche sensitive OK.
Les heures sont enregistrées et le bloc minutes est en surbrillance.
Réglez les minutes avec les touches sensitives et validez en effleurant la touche sensitive OK.
Appuyez sur la touche Départ/Ajouter du linge pour lancer le programme de lavage avec SmartStart.

Le message suivant s'affiche :

MIELE LAVE-LINGE-WCI860-WCS - Définir une plage hora - 1

Vou puez doser la lessive de différentes manieres.

Ce lave-linge est équipé du système TwinDos.

TwinDos doit être activé conformément aux instructions du chapitre « Première mise en service »

Principe de fonctionnement d'UltraPhase 1 et UltraPhase 2

UltraPhase 1 est une lessive liquide qui nettoie les salissures et enlève les taches les plus courantes. UltraPhase 2 est un produit de blanchiment qui permet d'éliminer les taches les plus tenaces. Ces deux produits sont dosés à différents moments du processus de lavage pour un résultat de lavage optimal. UltraPhase 1 et UltraPhase 2 lavent les textiles blancs et de couleur en profondeur. UltraPhase 1 et UltraPhase 2 sont disponibles en cartouches non réutilisables sur la boutique en ligne Miele ou auprès d'un revendeur Miele.

Activation du dosage TwinDos

Le dosage TwinDos est automatiquement activé pour tous les programmes qui nécessitent un dosage de lessive.

Conseil : les quantités de dosage de lessive sont préprogrammées. En cas de formation excessive de mousse, vous pouvez modifier la quantité de dosage via Réglages ® TwinDos.

Modifier le dosage TwinDos

Vou pouvez modifier certains paramètres en fonction de la couleur de votre linge.

Effleurez la touche sensitive Blanc ou Couleurs.

Désactiver le dosage TwinDos

Effleurez la touche sensitive TwinDos.

L'éclairage de la touche sensitive est attenué et le dosage TwinDos est désactivé.

Utiliser d'autres produits détachants

Si vous utilisez d'autres produits pour éliminer les taches, vous disposez des possibilités suivantes :

  • Utilisez une capsule Booster en activant le dosage par capsule.
  • Versez le détachant dans le组成部分 du bac à produits.

5. Ajouter la lessive

Sélectionner le degré de salissure

Vou pouvez définir 3 degrés de salissure du linge :

  • légèrement

Pas de salissures ni de taches visibles.

  • normal

Des salissures et/ou quelques taches légères sont visibles.

  • fort

Traces de salissures et/ou taches très nettes.

La quantité de dosage de lessive par TwinDos et la quantité d'eau de rincege sont configurées pour le degré de salissure normal.

Effleurez la touche sensitive pour modifier le degré de salissure.

La quantité de dessive et la quantité d'eau de rincege sont adaptées en fonction du degré sélectionné.

Remplacer les cartouches de lessive

Ne remplacez la cartouche de dessive que lorsque le lave-linge est allumé. Le compteur est alors remis à 0 et l'indicateur de niveau est correct.

Mettez le lave-linge en marche.

MIELE LAVE-LINGE-WCI860-WCS - Remplacer les cartouches de lessive - 1

① Appuyez sur le bouton jaune au dessus de la cartouche.

Le verrouillage se débloque.

② Retirez la cartouche vide.

Insérez une nouvelle cartouche dans le compartment.

Bac à produits

Voussupportezutilisertoutles leslessives adapteesauxlave-lingeménagers. Respectezlesinstructionsd'utilisation etde dosagefigurantsurI'emballagede la lessive.

Veillez à bien désactiver le dosage TwinDos au préalable.

MIELE LAVE-LINGE-WCI860-WCS - Bac à produits - 1
Remplissage de dessive

Sortez le bac à produits puis verse la lessive dans les compartments dédiés.

Lessive pour le prélavage
Lessive pour le lavage et le trempage
Assouplissant, produit detenue,
amidon ou Cap (capsule de produit de lavage)

MIELE LAVE-LINGE-WCI860-WCS - Bac à produits - 2
Ajouter de l'adoucissant

  • Versez l'assouplissant, le produit d'après ou l'amidon liquide dans le compartment. Respectez la hauteur de replissage maximale.

Le produit est ajouté au dernier rincege. Il reste un peu d'eau dans le组成部分 en fin de programme.

Après plusieurs cycles d'amidonnage automatique, nettoyez le bac à produits, en particulier le tube d'aspiration.

5. Ajouter la lessive

Conseils pour le dosage

Lors du dosage de la lessive, tenez compte du degré de salissure et de la quantité de linge. Pour de petites charges, réduisez la quantité de lessive (par ex. environ 1/3 de lessive en moins pour une demi-charge).

Si le dosage est insuffisant :

  • le linge n'est pas propre et devient gris et reche avec le temps ;
  • des moisissures sont susceptibles d'apparaitre dans le lave-linge ;
  • laGRAISSEN'estpasentiementeliminée du linge;
  • du calcaire risque de se déposer sur les résistances.

Si vous utilisez trop de lessive :

  • les résultats de lavage, de rincage et d'essorage ne sont pas satisfaisants ;
  • la consommation d'eau augmente en raison du rincage supplémentaire qui s'ajoute automatique;
  • l'impact sur l'environnement est plus important.

Utilisation de lessive liquide pour le prélavage

L'utilisation de lessives liquides pour le lavage n'est pas possible lorsque le prélavage est activé.

Si vous souhaitez effectuer un lavage avec prélavage, utilisez le dosage TwinDos.

Utilisation de lessive sous forme de tablette ou de dosette

Ajoutez toujours les tablettes ou dosettes de lessive directement dans le tambour avec le linge. Vous ne pouvez pas les insérer dans le bac à produits.

Consultez le chapitre « Lessive » pour plus d'informations sur les lessives et leur dosage.

Dosage en capsule (Caps)

Il existe trois types de capsules :

品 = produits d'entretien des textiles (par ex.: adoucissant et imperméabilisant)
= additifs (par ex.: booster ou renforçateur de lavage)
lessives (uniquement pour le cycle de lavage)

Une capsule contient toujours la quantité nécessaire à un cycle de lavage.

Vous pouvez commander vos capsules via la boutique en ligne Miele, auprès du service après-vente ou en vous adressant à votre revendeur Miele.

Risque sanitaire provoqué par les Caps.

Les composants contenus dans les Caps peuvent entraîner un risque pour la santé en cas d'ingestion ou de contact cutané.

Tenir toujours les Caps hors de portée des enfants.

Activer le dosage en capsule

Effleurez la touche sensitive CAP.

L'affichage indique :

MIELE LAVE-LINGE-WCI860-WCS - Activer le dosage en capsule - 1

Effleurez les touches sensitives jusqu'à ce que la Cap souhaitation soit affichée.
- Validez la capsule en effleurant la touche sensitive OK.

Insérer la capsule (Cap)

Ouvrez le bac a produits.

MIELE LAVE-LINGE-WCI860-WCS - Insérer la capsule (Cap) - 1

Ouvrez le couvercle du compartment 8/□.

MIELE LAVE-LINGE-WCI860-WCS - Insérer la capsule (Cap) - 2

Appuyez fermement sur la capsule.

5. Ajouter la lessive

MIELE LAVE-LINGE-WCI860-WCS - Ajouter la lessive - 1

Appuyez bien sur le couvercle pour le fermer.
- Repoussez le bac à produits dans le lave-linge.

Une fois insérée dans le bac à produits, la capsule s'ouvre. Si vous ne l'avez pas complètement utilisé et que vous la sortez de son logement, son contenu risque de couler lorsqu'vous la retirez du bac à produits. Jetez la capsule ouverte.

Le contenu de la capsule se mélange au linge au bon moment du cycle de la vage.

Lors du dosage par capsule, l'arrivée d'eau dans le compartment s'effectue uniquement par la capsule. Ne replissez pas d'assouplissant supplémentaire dans le compartment.

Enlevez la capsule vide une fois le programme de lavage terminé.

Pour des raisons techniques, il reste un peu d'eau dans la capsule.

Désactiver / Modifier le dosage en capsule

Vous ne pouvez désactiver ou modifier cette option qu'avant le départ du programme.

Effleurez la touche sensitive CAP.
■ Sélectionnez le paramètre aucune Cap (désactiver) ou un autre type de Cap (modifier).

Effleurez la touche sensitive Départ/ Ajouter du linge clignotante.

La porte se verrouille et le programme de lavage démarre.

L'etat du programme s'affiche à l'écran.

Le lave-linge vous indique I'etape de programme en cours ainsi que la durée de programme restante.

Si un départ différé a eté sélectionné, celui-ci s'affiche à l'écran.

Économie d'énergie

Les éléments d'affichage s'assombriissant au bout de 10 minutes. La touche sensitive Départ/Ajouter du linge clignote.

Vous pouvez réactiver les éléments d'affichage :

Effleurez la touche sensitive Départ/ Ajouter du linge (cela n'a aucune incidence sur le programme en cours).

Ajouter du linge en cours de programme

Il est possible à tout moment d'ajouter ou dePTRer du linge, tant que le symbole ne s'affiche pas à I'écran.

Effleurez la touche sensitive Départ/ Ajouter du linge.

L'affichage indique :

Patientez

  • Patientez jusqu'à ce que l'écran suivant apparait :
  • Ouvert.porte possib
    Ouvrez la porte et ajoutez ou retirez les pièces de linge.
    Fermez la porte.
    Effleurez la touche sensitive Départ/ Ajouter du linge.

Le programme de lavage se poursuit.

En général, il n'est pas possible d'ajouter ou de retarder du linge si:

  • la température du bain lessiviel est supérieure à 55^ ,
  • le niveau d'eau dans le tambour dépasse une certaine valeur,

7. Fin du programme

Ouvrir la porte et-retirer le linge

Pendant la phase Infroissable, la porte est encore verrouillée. L'affichage à l'écran passé de Arret/Infroissable

i Appuyer sur Depart
Déverrouillez la porte en effleurant la touche sensitive Départ/Ajouter du linge ou en tournant le sélecteur sur la position 口

La porte se déverrouille.

Conseil:Aprés la phase rotation infroissable,la portesedeverrouille automatiquement.

MIELE LAVE-LINGE-WCI860-WCS - Ouvrir la porte et-retirer le linge - 1

Pour ouvrir la porte, attrapez le creux de la poignée puis tirez.
Sortez le linge.

Le linge oublié dans le tambour pourrait rétrécir ou déteindre lors de la prochaine dessive.

Retirez le linge du tambour.

MIELE LAVE-LINGE-WCI860-WCS - Ouvrir la porte et-retirer le linge - 2

Vérifiez qu'aucun corps étranger n'est resté coincide dans le joint d'étanchéité de la porte.
Conseil:Laissez la porte entrouverepour que le tambour puisse sécher.
Enlevez la capsule du bac à produits après utilisation.
Conseil:Laissez le bac a produits entrouvert pour qu'il puisse secher.

Vitesse d'essorage final du programme de lavage

La vitesse d'essorage optimale pour le programme de lavage s'affiche toujours à l'écran lors de la sélection du programme.

Il est possible de seLECTIONner une vitesse d'essorage supérieure pour certains programmes de lavage.

Le tableau ci-après indique la vitesse d'essorage maximalé disponible pour chaque programme.

Programmetr/min
Coton1600
Synthétique1200
Fin900
Laine1200
Soie600
Chemises900
QuickPowerWash1600
Foncé/Jeans1200
ECO 40-601600
Imperméabilisation1000
Coton hygiène1600
Textiles modernes800
Express 201200
Textiles sport1200
Automatic +1400
Oreillers1200
Voilages600
Textiles matelassés1200
Vêtements neufs1200
Couettes plume1200
Rinçage / Amidonnage1600
Vidange/Essorage1600
Nettoyage machine900

Essorage intermédiaire

Le linge est essoré après le lavage principal et entre les différents rincages. Si la vitesse d'essorage final est réduite, la vitesse d'essorage intermédiaire l'est également.

Désactiver l'essorage final (arret cuve pleine)

Réglez la vitesse d'essorage (arret cuve pleine).

Le linge reste à tremper dans l'eau après le dernier rincege. Ceci permet de réduire la formation de faux pris au cas où vous ne retirez pas immédiatement le linge du tambour en fin de programme.

Terminer le programme avec essorage

L'écran affiche Arret cuve pl. en alternance avec la vitesse d'essorage optime.

Démarrez l'essorage final en effleurant la touche sensitive Départ/Ajouter du linge.

Terminer le programme sans essorage

Réduisez la vitesse d'essorage à 0.
Effleurez la touche sensitive Départ/ Ajouter du linge clignotante.

Désactiver l'essorage intermédiaire et l'essorage final

Avant le démarrage du programme, réduisez la vitesse d'essorage jusqu'à atteindre 0.

Après le dernier rincage, l'eau est vidangée et la phase Infoissable est activée.

Avec ce réglage, un rincege supplémentaire est ajusté dans certains programmes.

Programmes du sélecteur de programme

Coton90 °C - froid9,0 kg maximum
TextilesT-shirts, sous-vêtements, linge de table, textiles en cotton, en lin ou fibres mélangées, etc.
ConseilEn cas d'exigences particulières en matière d'hygiène, sélectionnez une température de 60 °C ou plus.
Coton60 °C/40 °C9,0 kg maximum
TextilesLinge en cotton normalement sale
Conseil- Ces réglages sont les plus efficaces quant à la consommation d'énergie et d'eau pour le lavage du linge en cotton. - Pour <60°C, la température de lavage atteinte est inférieure à 60 °C. Le résultat de lavage correspond au programme Coton 60 °C.
Remarque pour les instituts de contrôle :
Programmes de contrôle selon la norme EN 60456 et étiquette énergie conforme au règlement 1061/2010
Lors des tests comparats, le dosage TwinDos doit être désactivé.
Synthétique60 °C - froid4,0 kg maximum
TextilesTextiles en fibres synthétiques, mélangées ou cotton facile d'entre-tien
ConseilRéduire la vitesse du dernier essorage des textiles qui se floissent facilement.
Fin40 °C - froid3,0 kg maximum
TextilesPour textiles délicats en fibres synthétiques, fibres mélangées, vis-cose
ConseilSi le linge se froisse facilement, supprimer l'essorage.

Tableau des programmes

Laine 40 °C - froid 2,0 kg maximum
TextilesTextiles en pure laine / laine mélangée
ConseilRespecter la vitesse du dernier essorage des textiles qui se floissent facilement.
Soie 30 °C - froid 1,0 kg maximum
TextilesSoie et tous les textiles lavables à la main ne contenant pas de laine
ConseilLaver les collants et les soutiens-gorge dans un sac de lavage.
Chemises 60 °C - froid 1,0 kg/2,0 kg maximum
TextilesLes chemises ou les chemisiers en cotton ou en fibres mélangées
Conseil- Traiter au préalable les cols et les manchettes en fonction de leur degré de salissure. - Utiliser le programme Soie pour les chemises et les chemisiers en soie. - Si l'option préréglée Défroissage est désactivée, la capacité de charge maximale passée à 2,0 kg.
MobileStart ☎
La sélection de programme et la commande du sèche-linge s'effectuent via l'application Miele@mobile.
QuickPowerWash 60 °C - 40 °C 4,0 kg maximum
TextilesPour textiles légèrement ou normalement sales lavés avec le programme Coton
ConseilNettoyage particulièrement rapide et en profondeur du linge grâce à une imprégération et à un rythme de lavage spéciaux.
Foncé/Jeans
Textiles60 °C - froid 3,0 kg maximum
Conseil- Retourner le linge pour le laver. - Au cours des premiers lavages, les vêtements en jean déteignent un peu. Laver le linge clair et le linge foncé séparément.
ECO 40-60
TextilesPour le linge en cotton normalement sale
ConseilEn un seul cycle de lavage, des pièces de linge en cotton mélangé peuvent être lavé à 40° et 60 °C. Le programme est le plus efficace quant à la consommation d'énergie et d'eau pour le lavage du linge coton.
Remarque pour les instituts de contrôle:
Programme de contrôle de la conformité avec la législation de l'UE sur l'écoconception N° 2019/2023 et l'étiquetage énergétique conformément au règlement N° 2019/2014.
Lors des tests comparats, le dosage TwinDos doit être désactivé.
Imperméabilisation 40 °C 2,5 kg maximum
TextilesPour le traitement des textiles en microfibres, des vêtements de ski ou de linge de table composés principalement de fibres synthétiques, afin d'obtenir un effet hydrofuge et anti-salissure
Conseil- Les articles doivent être fraîchement lavés et essorés ou séchés. - Pour obtenir un effet optimal, l'opération devrait être suivie d'un traitement thermique tel que le séchage dans un sèche-linge ou le repassage.

Programmes disponibles dans Autres programmes/

Coton hygiène 90 °C à 60 °C 9,0 kg max.
TextilesDes textiles en coton ou en lin qui sont en contact direct avec la peau ou qui ont des exigences particulières en matière d'hygiène, par exemple sous-vêtements, draps, alèzes.
Conseil- Élimination sère des virus et des bactéries en combinaison avec l'options AllergoWash et le dosage de lessive via TwinDos avec UltraPhase1 et 2. Testé et confirmé par l'Université des sciences appliquées d'Albstadt-Sigmaringen.- Temps de maintain en température plus longs que dans le programme Coton.- Respecter les instructions figurant sur l'étiquette.
Textiles modernes 40 °C - froid 2,5 kg maximum
TextilesVêtements fonctionnels comme les vestes et pantalons d'extérieur à membranes telles que Gore-Text®, SYMPATEX®, WINDSTOPPER®, etc.
Conseil- Fermer les fermetures velcro et les fermetures éclair.- Ne pas utiliser d'adoucissant.- Si nécessaire, il est possible de réimperméabiliser les vêtements d'extérieur avec le programme Imperméabolisation. Il n'est pas conseillé d'imperméabiliser les vêtements après chaque lavage.
Express 20 40 °C - froid 3,5 kg maximum
TextilesTextiles en coton n'avant pratiquement pas été portés ou représentant très peu de salissures
ConseilL'option Quick s'active automatique.
Textiles sport 60 °C - froid 3,0 kg maximum
TextilesVêtements de sport et de fitness tels que tricots, maillots et panta-lons, vêtements de sport en microfibres et laine polaire
Conseil- Ne pas utiliser d'adoucissant.- Respecter les instructions d'entretien du fabricant.
Automatic + 40 °C - froid 6,0 kg maximum
TextilesCharge composée de linge trié par couleur pour les programmes Coton et Synthétique
ConseilLes paramètres de lavage (par ex. niveau d'eau, rythme de lavage et profil d'essorage) sont automatiquement adaptés à chaque charge pour un soin optimal du linge et un résultat parfait.
Oreillers 60 °C - froid 2 oreillers (40 x 80 cm) ou 1 oreiller (80 x 80 cm)
TextilesOreillers lavables avec garniture en synthétique
Conseil- Avant le lavage, évacuer l'air contenu dans le linge afin de prévenir la formation excessive de mousse. Pour cela, placer le linge dans un sac de lavage étroit ou le compresser avec une lanière lavable. - Respecter les instructions figurant sur l'étiquette.
Voilages 40 °C - froid 2,0 kg maximum
TextilesVoilages déclarés lavables en machine par le fabricant.
Conseil- L'option Prélavage est automatiquement sélectionnée pour éliminer la poussière. - Pour les voilages qui se friissant facilement, réduisez la vitesse d'essorage ou désactivez l'essorage. - Enlever les crochets de fixation des voilages.
Textiles matelassés 60 °C - froid 2,0 kg maximum
TextilesVestes, sacs de couchage, oreillers et autres textiles garnis de duvet
Conseil- Avant le lavage, évacuer l'air contenu dans le linge afin de prévenir la formation excessive de mousse. Pour cela, placer le linge dans un sac de lavage étroit ou le compresser avec une lanière lavable. - Respecter les instructions figurant sur l'étiquette.

Tableau des programmes

Vêtements neufs 40 °C - froid 2,0 kg maximum
TextilesVêtements neufs en cotton, fibres synthétiques et serviettes éponge neuves
ConseilLes restes de produit chimique sont éliminés des fibres.
Couettes plume 60 °C - froid 2,5 kg maximum1 couette plumes 2,20 m x 2,00 m
TextilesCouettes etédredons avec garnissage en plumes ou en duvet
Conseil- Avant le lavage, évacuer l'air contenu dans le linge afin de prévenir la formation excessive de mousse. Pour cela, placer le linge dans un sac de lavage étroit ou le compresser avec une lanière lavable.- Respecter les instructions figurant sur l'étiquette.
Rinçage / Amidonnage 8,0 kg maximum
Textiles- Pour rincer les textiles lavés à la main- Nappes, serviettes, vêtements de travail devant être amidonnés
Conseil- Respecter la vitesse du dernier essorage des textiles qui se froissant facilement.- Le linge à amidonnier est fraîchement lavé, sans adoucissant.- Vous obtiendauren résultat de rinçage particulièrement performant avec 2 rincages en activant l'option Hydro+.
Vidange/Essorage-
Conseil- Vidange : régler la vitesse d'essorage sur 0 tr/min.- Contrôler la vitesse d'essorage réglée.

Réglages /Entretien

Réglages

Le menu Réglages vous permet d'adapter l'électronique du lave-linge selon les besoin du moment. Pour plus d'informations, veuillez consulter le chapitre « Réglages ».

Entretien

Le lave-linge dispose de deux programmes d'entretien.

  1. Nettoyage machine pour nettoyer le lave-linge.
  2. Entretien TwinDos pour rincer les compartments TwinDos ① / ② Pour de plus amples informations, consultez le chapitre « Nettoyage et entretien», section « Entretien TwinDos »
Nettoyage machine85 °Csans charge
Les lavages fréquents à basse température risquent de provoquer la formation de moisissures dans le lave-linge. Le nettoyage du lave-linge permet de réduire le film bacterien ainsi que la pré-sence de germes et de moisissures. Il évite également la formation de mauvaises odeurs.
Conseil- L'utilisation du nettoyant pour machine Miele IntenseClean permet d'obtenir un résultat optimal. Il est aussi possible d'utiliser une les-sive universelle en poudre. - Doser le nettoyant machine ou la lessive universelle directement dans le tambour. - Ne pasmettre de linge dans le tambour : pour le nettoyage, le tambour doit être vide.

Symboles d'entretien

Lavage
Les degrés indiqués dans la cuve in-diquent la température maximale à la-quelle vous pouze laver les articles.
95rythme de lavage normal
60rythme de lavage plus doux
30rythme de lavage très doux
Lavage à la main
Non lavable

Exemple de sélection de programme

ProgrammeSymboles d'entre-tien
Coton95 70 60 50 40 30
Synthétique95 60 50 40 30
Fin40 30
Laine L
Soie Soi
Express 2040 30
Automatic+40 30 40 30
Séchage
Les points indiquent la température.
Température normale
Température réduite
ne doit pas être séché au sèche-linge.
Fer à repasser & repasseuse
Les points indiquent les gamas de température.
env. 200 °C
env. 150 °C
♀♀env. 110 °C Le repassage à la vapeur peut cause des dommages irréver-sibles
♀♀ne pas repasser (fer/repas-seuse)
Nettoyage professionnel
FNettoyage avec des solvants chimiques. Les lettres correspondant aux produits de nettoyage.
P
WNettoyage à l'eau
Nettoyage à sec interdit
Blanchiment
produit de blanchiment par oxy-dation autorisé
Δblanchiment à l'oxygène un-quement
ne pas blanchir

Vous pouvez ajouter des options aux programmes standard.

Sélection des options

Vou pousse activer ou désactiver les options par le biais de la touche sensitive correspondante sur le bandeau de commande. La touche sensitive Options permet de selectionner des options supplémentaires via l'écran.

SingleWash

Défroissage

Hydro +

Options

Effleurez la touche sensitive de l'option souhaitée.

La touche correspondante s'allume en clair.

La disponibilité des options dépend du programme de lavage sélectionné.

Une option non autorisée pour le programme de lavage ne présente pas d'éclairage attenué et ne peut pas être activée par effleurement.

SingleWash

Cette fonction permet de laver efficacement une faible quantité de linge (< 1 kg) dans le cadre d'un programme de lavage classique. La durée de lavage est réduite.

Observe les recommendations suivantes :

  • Utilisez de la lessive liquide.
  • Réduisez la quantité de lessive de 50 % maximum par rapport à la valeur indiquée pour une demi charge

Défroissage

Pour réduire la formation de faux plis, le linge est défroissé à la fin du programme. Pour obtenir un résultat optimal, il convient de réduire la charge maximale de 50% . Respectez les indications à l'écran. De plus petites quantités améliorent le résultat.

Les vêtements doivent pouvoir passer au sèche-linge et être repassés.

Hydro +

Le niveau d'eau augmente lors du lavage et du rincege. Un rincege supplémentaire est ajouté dans le programme Rinçage / Amidonnage.

Vous pouvez programmer d'autres fonctions pour l'option Hydro +, comme décrit au chapitre « Réglages »

Options disponibles via la touche Options

Selectionner une option à l'écran

Effleurez la touche sensitive Options.
L'écran affiche : aucune option
Effleurez les touches sensitives jusqu'à ce que l'options souhaitées s'affiche.
- Validez l'options en effleurant la touche sensitive OK.

L'option est ensuite cochée

Désélectionner une option

Effleurez la touche sensitive Options.
La première option selectionnable s'affiche à l'écran.
Effleurez les touches sensitives jusqu'à ce que aucune option s'affiche.
- Validez aucune option en effleurant la touche sensitive OK.

L'option est désormais désactivée.

Quick

La durée du programme est réduite. L'action mécanique du tambour et la consommation d'énergie augmentent.

Taches

Pour laver le linge taché. Cette option modifie le déroulement du programme.

Prélavage

Pour éliminer les salissures importantes comme l'accumulation de poussière, de sable.

Trempage

Pour les textiles particulièrement sales avec taches contenant de l'albumine.

Voussouspeceionnerun temps de trempage compris entre 30 minutes et 6 heures par paliers de 30 minutes, comme decrit dans le chapitre «Réglages »

Le réglage d'usine est de 30 minutes.

Intensif

Pour le linge très sale et résistant. Le lave-linge offre un cycle de lavage plus efficace grâce à un brassage plus intensif et à une utilisation accrue d'énergie thermique.

Extra silencieux

L'émission sonore du lave-linge pendant le programme de lavage est réduite. Utilisez cette fonction si vous poulez laverpendant les heures de repos, la nuit par exemple. L'option (Arrêt cuve pleine) est automatiquement activée pour la vitesse d'essorage final. La durée du programme est prolongée.

Très délicat

L'action mécanique du tambour et le temps de lavage sont réduits. Les textiles peu sales sont lavés avec plus de douceur.

AllergoWash

En cas d'exigences particulières en matière d'hygiene. Les temps de maintainen en température sont prolongés grâce à une consommation d'énergie plus élevée et l'efficacité de rinçage est augmentée grâce à une consommation d'eau plus élevé. La charge doit convenir au seche-linge et être repassable.

Tableau des programmes de lavage - Options

SingleWashDéfrois-sageHydro +Quick
Coton
Coton <60°C/40°C
Synthétique
Fin
Laine luy---
Soie luy---
Chemises
QuickPowerWash-
Foncé/Jeans
ECO 40-60----
Imperméabilisation----
Coton hygiène-
Textiles modernes--
Express 20--
Textiles sport-
Automatic +
Oreillers--
Voilages
Textiles matelassés--
Vêtements neufs-
Couettes plume--
Rinçage / Amidonnage---
Nettoyage machine---

Tableau des programmes de lavage - Options

TachesPrélavageTrempageIntensifExtra silencieuxTrès délicatAllergo-Wash
-
------
------
-
-------
-
-------
-------
-
--
-------
-
-
--
--
--
--
-----
--
------
-------
  • = sélectionnable

  • = non disponible

= activé automatiquement

Déroulement de programme

LavageRinçageEssorage
Niveau d'eauRythme de lavageNiveau d'eauRinçages
CotonA2-52,3
SynthétiqueB2-42,3
FinC2-42,3
LaineE2
SoieE2
ChemisesC3-43
QuickPowerWashA2
Foncé/JeansB3-52,3
ECO 40-60A2-32
Imperméabilisation-B1
Coton hygièneA3-52,3
Textiles modernesC3-43
Express 20A1
Textiles sportC2-33
Automatic +A B2-42,3
Oreillers4C3-43
VoilagesC3-43
Textiles matelassés4C3-43
Vêtements neufsB2-33
Couettes plumeC3-43
Rinçage / AmidonnageB0-15
Vidange/Essorage----
Nettoyage machineA3

La légende se trouve à la page suivante.

= niveau d'eau bas
= nivea d'eau intermédiaire
= niveau d'eau élevé
A = rythme intensif
B = rhythm normal
C = rhythmédicat
E = rythme lavage à la main
= effectué
- = non effectué

Le lave-linge possède une commande entièrement automatique avec détéction automatique de la charge. Le lave-linge déterminé automatiquement la consommation d'eau nécessaire, en fonction de la quantité et du pouvoir d'absorption du linge.

Les déroulements de programme mentionnés ici font toujours référence au programme de base, avec une charge maximale.

L'affichage du déroulement des programmes de votre lave-linge vous indiquè à tout moment la phase de programme en cours.

Spécificités selon les programmes

Infroissable :

une fois le programme terminé, le tambour tourne encore pendant 30 minutes max. pour éviter les faux pris.

Exception: Les programmes Laine et Soie ne comportent pas de phase Infoissable.

Vou pouve ouvrir le lave-linge à tout moment.

1 A partir d'une température de 60^ et pour les températures 40^ et 60^ , 2 cycles de rinceage sont effectués. A une température inférieure à 60^ , 3 cycles de rinceage sont réalisés.
2 Un rinceage supplémentaire a lieu en cas de :
- formation excessive de mousse dans le tambour ;
- vitesse d'essorage final inférieure à 700 tr/min.
3 Un rinceage supplémentaire a lieu en cas de :
- sélection de l'option Hydro +, lorsque l'option Niveau d'eau ou Niveau+rinç sup a été activée dans les Réglages.
4 Essorage progressif : avant le lavage, un essorage progressif est effectué pour chasser l'air des textiles garnis de duvet. L'eau entre ensuite par le compartment pour le lavage.
5 Un rinceage supplémentaire a lieu en cas de : selection de l'option Hydro+.

PowerWash

Le procédé de lavage PowerWash développè par Miele est utilisé pour les programmes suivants :

  • Coton (en cas de faible ou moyenne charge)
  • Synthétique
    Chemises
  • Automatic +
  • Fin
  • ECO 40-60 (en cas de faible ou moyenne charge)

Principe de fonctionnement

Les procédés de lavage habituels utilisent plus d'eau que le linge ne peut en absorber. Cette quantité d'eau doit être chauffée.

Avec le procédé de lavage PowerWash, l'eau de lavage utilisée n'est que faiblement supérieure à la quantité pouvant être absorbée par le linge. L'eau qui n'est pas absorbée par le linge chauffe le tambour et le linge, puis est régulièrement pulverisée sur le linge. Cela permet de diminuer la consommation d'énergie.

Activation

Le procédé de lavage PowerWash développè par Miele est activé automatiquement dans les programmes susmentionnés.

Le procédé de lavage PowerWash n'est pas lancé, si les conditions suivantes seprésentent :

  • la vitesse d'essorage finale sélectionnée est inférieure à 600 tr/min
  • le dosage par capsule (♂, ♂) est sélectionné pour le lavage principal.
  • la température de lavage dépasse 60 °C
  • les options comme Préavage ou Hydro + sont sélectionnées
  • Une plus grande quantité de charge de linge se trouve dans le programme Coton

Spécificités

- Phase d'humidification

Au début du programme de lavage, le lave-linge essore à plusieurs reprises. L'eau essorée est pulverisée sur le linge pour assurer une humidification optimale.

À la fin de la phase d'humidification, le niveau d'eau optimal est régèle. Si nécessaire, le lave-linge vidange une partie de l'eau et ajoute une certaine quantité d'eau fraîche.

- Bruits lors de la phase de chauffage

Lors du chauffage du linge et du tambour, des bruits inhabituels (gagouillements) peuvent se faire entendre.

Modifier un programme (sécu-rite enfants)

Il n'est pas possible de modifier le programme, la température, la vitesse d'essorage ou les options sélectionnées après le démarrage. Cela permet d'éviter toute manipulation involontaire, par exemple par des enfants.

Si le lave-linge est eteint pendant que le programme est en cours, la fonction de voir n'eteindra pas complètement le lave-linge après 15 minutes. Il se peut qu'il y ait encore de I'eau dans le tambour, les fonctions de sécurité sont donc toujours actives.

Interrompre un programme

  • Tournez le sélecteur de programme sur la position .
    Le lave-linge est arrêté.
    Pour continuer : tournez le sélecteur de programme sur la position du programme de lavage interrompu.

MIELE LAVE-LINGE-WCI860-WCS - Interrompre un programme - 1

Effleurez la touche sensitive

L'écran affiche :

MIELE LAVE-LINGE-WCI860-WCS - Interrompre un programme - 2

  • Validez en effleurant la touche sensitive OK.

Conseil: si i Non modifiable apparait a l'ecran, le selecteur de programme est dans une mauvaise position.

Annuler un programme

Vous pouvez annuler un programme de lavage à tout moment après son démarriage.

  • Tournez le sélecteur de programme sur la position .
    Tournez le sélecteur sur le programme Coton.

L'écran affiche :

MIELE LAVE-LINGE-WCI860-WCS - Annuler un programme - 1

Le lave-linge vidange le bain lessiviel. L'écran affiche :

MIELE LAVE-LINGE-WCI860-WCS - Annuler un programme - 2

  • Attendez jusqu'à ce que le symbole s'éteigne à l'écran et que la porte se déverrouille.
    Ouvrez la porte.
    Sortez le linge.

Quelle lessive besoin ?

Yououpouvezutilisertoutleslessives adaptéesauxlave-lingemenagers.Les indicationsd'utilisation et de dosage figurent sur l'emballage du produit.

Le dosage dépend :

  • du degré de salissure du linge,
  • de la quantité de linge,
  • de la durée de l'eau.
    Si vous ne connaissiez pas le degré de durée de votre eau, renseignez-vous auprès des services industriels.

Produit anti-tartre

Si la durete de votre eau se situe dans les plages Il et Ill, vous pouvez ajouter un produit anti-tartre pour economiser de la lessive. Le dosage est indiqué sur l'emballage. Versez d'abord la lessive, puis le produit anti-tartre.

Voussouspoucezalorsdoserlalessive comme pour la plage I.

Duretés d'eau

Plage de duretéDureté totale en mmolDégrés allemands °d
douce (I)0 – 1,50 – 8,4
moyenne (II)1,5 – 2,58,4 – 14
dure (III)plus de 2,5plus de 14

Aides au dosage

Pour doser la lessive, utilisez les aides de dosage (boule doseuse) fournies par le fabricant de lessive, en particulier en cas d'utilisation de lessive liquide.

Eco-recharges

Il est conseilé d'utiliser des éco-re-charges pour réduire la quantité de déchets.

Produits complémentaires de soin du linge

Les adoucissants

rendent aux textiles toute leur souplesse et réduisent l'électricité statique en cas de séchage en machine.

Les produits d'après

dont des amidons synthétiques qui conferent une meilleure tenue au linge.

L'amidon

donne aux textiles une certaine tenue et un fini parfait.

Ajout séparé d'adoucissant, de produit d'apprét ou d'amidon

L'amidon doit être préparé comme indiqué sur l'emballage.

Conseil : Pour l'adoucissant, activez l'option Hydro+.

Doser les produits via TwinDos

L'un des réservoirs de dosage automatique doit être rempli d'adoucissant.

■ Sélectionnez le programme Rinçage / Amidonnage.
Effleurez la touche sensitive TwinDos.
Activez le réservoir correspondant.
Effleurez la touche sensitive Départ/ Ajouter du linge.

Doser les produits via le bac à produits

  • Versez l'adoucissant dans le组成部分 ou insérez la capsule.
  • Versez l'amidon/le produit d'après li-quide dans le compartment et les produits en poudre ou semi-liquides dans le compartment.
    ■ Sélectionnez le programme Rinçage / Amidonnage.
  • Modifiez la vitesse d'essorage si nécessaire.
    Si vous utilisez une capsule, activez la touche sensitive CAP.
    Effleurez la touche sensitive Départ/ Ajouter du linge.

Décoloration/coloration

Dommages provoqués par des produits décolorants.

Les produits décolorants provoquent de la corrosion dans le lave-linge.

N'utilisez aucun produit décolorant dans le lave-linge!

La teinture de textiles dans le lave-linge n'est autorisée que dans la mesure ou la fréquence des colorations effectuees correspond à une utilisation domestique courante. Le sel contenu dans les agents colorants peut endommager l'inox si ces produits sont utilisés très fréquemment. Respectez scrupuleusement les instructions du fabricant de la teinture.

Sélectionnez impératifement l'option Hydro + lorsque vous effectuez une coloration.

Recommendation : lessives Miele

Les lessives Miele sont spécialement conçues pour l'utilisation quotidienne dans le lave-linge Miele. Vous pouvez obtenir de plus amples informations sur ces lessives au chapitre « Lessive et produits d'entretien »

Miele UltraPhase 1 et 2Miele Caps
Coton-
Synthétique-
Fin-
Laine---
Soie---
Chemises-
QuickPowerWash---
Foncé/Jeans-
ECO 40-60-
Imperméabilisation---
Coton hygiène-
Textiles modernes---
Express 20--
Textiles sport---
Automatic +-
Oreillers---
Voilages--
Textiles matelassés---
Vêtements neufs--
Couettes plume---
Rinçage / Amidonnage-/--/-✓/--/-

Recommendation

  • Pas de recompan-dation

Lessives spéciales (par ex. WoolCare)

Produits d'entretien des textiles (par ex.: adoucissant et imperméabilisant)

Additif (par ex. Booster)

Recommendations de lessives conformément à la directive (UE) N° 1015/2010

Les recommendations s'appliquent aux mêmes plages de température que celles indiquées au chapitre « Tableau des programmes ».

lessive
universellecouleursdélicat/lainespéciale
Coton--
Synthétique---
Fin---
Laine--
Soie--
Chemises--
QuickPowerWash--
Foncé/Jeans-✓1-
ECO 40-60--
Coton hygiène--
Textiles modernes--
Express 20-✓1--
Textiles sport--
Automatic +---
Oreillers--✓1
Voilages✓2--
Textiles matelassés--✓1
Vêtements neufs---
Couettes plume--✓1
Nettoyage machine✓2--

Recommendation

1 Lessive liquide

  • Pas de recompan-dation

2 Lessive en poudre

Nettoyer la carrosserie et le bandeau

Risque d'electrocution en raison de la tension reseau.

Lorsque le lave-linge est eteint, une tension reseau est presente

Débranche le lave-linge avant tout nettoyage ou maintenance de l'appareil.

Dommages provoqués par jets d'eau.

En raison de la pression d'un jet d'eau, de I'eau peut pénétrer dans le lave-linge et endommager les composants.

N'aspergez jamais le lave-linge avec un jet d'eau.

Nettoyez la carrosserie et le bandeau avec un détergent doux ou de l'eau savonneuse. Séchez ensuite avec un chiffon doux.
Nettoyez le tambour avec un produit spécial inox.

Dommages provoqués par des détergents contenant des solvants.

N'utilisez ni détergent contenant des solvants, ni produit abrasif, ni produit à vitres ou multi-uses. Ces produits risquent d'endommager les surfaces plastiques et autres pièces de l'appareil.

N'utiliseaucundecesproduitsnettoyants.

Nettoyer le bac à produits

L'utilisation de lessives liquides associée à des lavages à basse température favorise la formation de moissures dans le bac à produits.

Pour des raisons d'hygiène, nettoyez régulierement le bac à produits même en cas d'utilisation exclusive de TwinDos.

Extraire le bac à produits

MIELE LAVE-LINGE-WCI860-WCS - Extraire le bac à produits - 1

Ouvrez le bac à produits jusqu'à la butée, pressez le bouton de déverrouillage et sortez entièrement le bac à produits.
Nettoyez le bac à produits à l'eau chaude.

Nettoyer le tube et le canal d'aspiration du compartment 念 /

L'amidon a tendance à coller. Le tube d'aspiration du comparti-ment 念 ne fonctionne plus et ce dernier risque de déborder.

Après plusieurs utilisations d'amidon, nettoyez soigneusement le tube d'aspiration.

MIELE LAVE-LINGE-WCI860-WCS - Nettoyer le tube et le canal d'aspiration du compartment 念 / - 1

  1. Retirez le tube d'aspiration de son logement et nettoyez-le à l'eau chaude. Nettoyez également le tuyau sur lequel le tube d'aspiration est fixé.
  2. Remettez le tube d'aspiration en place.

MIELE LAVE-LINGE-WCI860-WCS - Nettoyer le tube et le canal d'aspiration du compartment 念 / - 2

Nettoyez le canal de l'adoucissant avec de I'eau chaude et une brosse.

Nettoyer le logement du bac à produits

MIELE LAVE-LINGE-WCI860-WCS - Nettoyer le logement du bac à produits - 1

Avec un goupillon, enlevez les restes de lessive et les dépôts calcaires sur les buses d'arrivée d'eau du bac à produits.
Replace le bac a produits.

Conseil:Laissez le bac a produits entrouvert pour qu'il puisse secher.

Entretien TwinDos

Dommages causés par des résidus secs de lessive.

Après un long arrêt d'utilisation (plus de deux mois), la lessive se trouvant dans les tuyaux peut devenir visqueuse ou sécher. Les tuyaux peuvent se boucher et doivent être ensuite nettoyés par le service après-vente.

Nettoyez le système TwinDos.

Pour le nettoyage, vous avez besoin d'une cartouche de nettoyage « Twin-DosCare » ou d'un réserve TwinDos vide. Ces deux articles sont disponibles dans la boutique en ligne Miele.

Le lave-linge dispose d'un programme de nettoyage pour le système TwinDos. Ce programme de nettoyage permet de nettoyer les tuyaux à l'intérieur du lavelinge.

Démarrer le programme d'entretien

Tournez le selectiveur de programme sur la position Autres programmes/

MIELE LAVE-LINGE-WCI860-WCS - Démarrer le programme d'entretien - 1

Effleurez les touches sensitives jusqu'à ce que l'écran indique :

MIELE LAVE-LINGE-WCI860-WCS - Démarrer le programme d'entretien - 2

  • Validez le réglage en effleurant la touche sensitive OK.

Effleurez les touches sensitives jusqu'à ce que l'écran indique :

MIELE LAVE-LINGE-WCI860-WCS - Démarrer le programme d'entretien - 3

  • Validez le réglage en effleurant la touche sensitive OK.

MIELE LAVE-LINGE-WCI860-WCS - Démarrer le programme d'entretien - 4

Effleurez les touches sensitives jusqu'à ce que le compartment souhaité s'affiche. Validez en effleurant la touche sensitive OK.

MIELE LAVE-LINGE-WCI860-WCS - Démarrer le programme d'entretien - 5

Effleurez la touche sensitive jusqu'à ce que l'écran indique :

MIELE LAVE-LINGE-WCI860-WCS - Démarrer le programme d'entretien - 6

  • Validez le réglage en effleurant la touche sensitive OK.
    Suivez les instructions affichées à l'écran.

Les tuyaux ont ete nettoyes.Le systeTme TwinDos peut etre réutilise quand you le souhaitez.

Nettoyer le logement de TwinDos

Les restes de détérgent présents peuvent s'agglomérer sur les parois du logement.

Nettoyez l'intérieur du logement de TwinDos à l'aide d'un chiffon humide lors du changement de cartouches ou de réservoirs.

Info hygiène (Nettoyer le tambour)

Les lavages à basse température et/ou avec de la lessive liquide risquent de provoquer la formation de moisissures et de mauvaises odeurs à l'intérieur du lave-linge. Nettoyez le lave-linge en utilisant le programme Nettoyage machine. Prenez en compte le message qui s'affiche à l'écran :

Info Hygiène : Utiliser au moins le programme 75^ ou «Nettoyage machine»

Nettoyer le filtré d'arrivée d'eau

Le lave-linge est équipé de 2 filtres destinés à protégier l'électrovanne d'arrivée d'eau. Vérifiez les filtres tous les 6 mois environ, plus souvent en cas d'interruptions féquentes sur le réseau d'alimentation en eau.

Nettoyage du filtré du tuyau d'arrivée d'eau

Fermez le robinet d'eau.
Devissez le tuyau d'arrivée d'eau du robinet.

MIELE LAVE-LINGE-WCI860-WCS - Nettoyage du filtré du tuyau d'arrivée d'eau - 1

Retirez le joint de caoutchouc 1 de son logement.

Saisissez l'arête du filtré en plastique 2 avec une pince à bec fin ou univers-selle et retirez la.
Nettoyez le filtré.
Le remontage s'effectue dans l'ordre inverse.

Nettoyage du filtré dans le raccord de la vanne d'arrivée d'eau

Dévissez soignement l'écrou cannelé en matière synthétique du rac-cord à l'aide d'une pince.

MIELE LAVE-LINGE-WCI860-WCS - Nettoyage du filtré dans le raccord de la vanne d'arrivée d'eau - 1

Retirez le filtrer en le saississant par son arête à l'aide d'une pince pointue à bec fin.
Nettoyez le filtrte.
Le remontage s'effectue dans l'ordre inverse.

Les filtres à impuretés doivent être remis en place après le nettoyage.

■ Revissez fermement le raccord filété sur le robinet.
Ouvrez le robinet.

Veillez à ce que l'eau ne sorte pas du raccord filtré.

Resserrez le raccord.

En cas d'anomalie

Vous pouvez régler la plupart des défauts ou anomalies courants par vous-même. Dans bon nombre de cas, vous économiserez ainsi du temps et de l'argent car vous n'aurez pas besoin de faire appel au service après-vente.

Les tableaux suivants vous aideront à déceler la cause d'un début ou d'une anomalie et à y remédier.

Certaines des instructions affichées à l'écran s'inscrivent sur plusieurs lignes.

Pour les dire intégralement, effleurez les touches sensitives ou .

Impossible de démarrer un programme de lavage

ProblèmeCause et solution
Le bandeau de com-mande restéASFÈRE.Le lave-linge n'est pas sous tension. ■ Vérifiez si la fiche est branchée. ■ Vérifiez si le fusible est en bon état.
Le lave-linge s'est déclenché automatiquement pour des raisons d'économie d'énergie. ■ Activez à nouveau le lave-linge en tournant le sé-lecteur de programmes.
L'écran vous demandéd'entre un code.Le code est activé. ■ Entrez le code et validez-le. Désactivez le code si ce message ne doit pas apparaitre la prochaine fois que vous enclencherez l'appareil.
L'écran affiche :SAV DEVERROUIL,porteanomalie F35La porten'est pas fermée correctement. Le ver-rouillage de la porten'a pas pu s'enclancher. ■ Refermez la porte. ■ Relancez le programme.Si le message d'anomalie persististe,contactez leservice après-vente.

Message d'anomalie après une annulation de programme

ProblèmeCause et solution
Vidange voirL'évacuation d'eau est bloquée ou génée. Le flexible d'évacuation est placé trop haut. ■ Nettoyez les filtres et la pompe à bain lessiviel. ■ La hauteur maximale de refoulement est de 1 m.
Arrivée d'eau voirL'arrivée d'eau chaude est bloquée ou génée. ■ Vérifiez si le robinet d'eau est suffisamment ouvert. ■ Vérifiez si le flexible d'arrivée d'eau est pié. ■ Vérifiez si la pression d'eau n'est pas trop faible.
Le filtré dans l'arrivée d'eau est bouché. ■ Nettoyez le filtré.
La pompe de vidange est activée pendant 2 minutes. Au bout de ce laps de temps, la porte du lave-linge est déverrouillée. Attendez la fin du pompage avant d'éteindre le lave-linge.
Aquasécurité. Fer-mer SAVLe système de protection de l'eau a réagi. ■ Fermez le robinet d'eau. ■ Contactez le service après-vente Miele.
SAV défaut FUne anomalie est détectée. ■ Débranchez le lave-linge du réseau électrique. Dé-branchez la fiche secteur de la prise de courant ou déconnectez le fusible de l'installation électrique. ■ Attendez au moins 2 minutes avant de rebrancher votre lave-linge. ■ Branchez à nouveau le lave-linge. ■ Relancez le programme. Si le message d'anomalie persististe, contactez le service après-vente.

Pour effacer le message d'anomalie, positionnez le selecteur sur et eteignez le lave-linge.

Message d'anomalie en fin de programme

ProblèmeCause et solution
iVérifier dosagePour le lavage, il s'est formé trop de mousse pendant le lavage. ■ Contrôlez la quantité régée pour le dosage TwinDos. ■ Réduisez la quantité régée par paliers de 10%. ■ Lors de la prochaine lessive, utilisez moins de produit et respectez les indications de dosage figurant sur l'emballage.
iInfo Hygiène : Utiliser au moins le programme 75°C ou «Nettoyage machine»Lors du lavage, aucun programme de lavage à plus de 60 °C n'a été effectué depuis longtemps. ■ Tournez le sélecteur de programme sur Autres programmes/◇. ■ Effleurez les touches sensitives ∧V jusqu'à ce que l'écran indique Entretien. ■ Effleurez la touche sensitive OK. L'affichage indique : Nettoyage machine ■ Effleurez la touche sensitive OK. ■ Démarrez le programme Nettoyage machine avec le produit nettoyant pour machine Miele ou une les-sive universelle en poudre. Le lave-linge est nettoyé, prévenant ainsi la formation de germes et d'odeurs.

Les messages s'affichent en fin de programme ou lors de l'enclenchement du lave-linge et doivent être validés avec la touche sensitive OK.

Message d'anomalie en fin de programme

ProblèmeCause et solution
i Ajuster le lave-lingeL'options Défroidage en fin de programme n'a pas pu se dérouler normalement.Vérifiez si le lave-linge est installé d'aplomb (voir chapitre « Installation», section « Alignment »).Vérifiez que la hauteur maximale de refoulement ne dépasse pas 1 m.
Si le message d'anomalie persististe, contactez le service après-vente. Vous pouvez continuer à utiliser le lave-linge sans l'options Défroidage.
i Vérifier filtré + buseLes pompes sont encrassées.Nettoyez les pompes, voir chapitre « En cas d'anovaïle», section « Déverrouillage manuel de portepen cas de vidange obstruée et/ou de panne de courant }.Après le nettoyage, lancer à nouveau un pro-gramme de lavage.
La buse située en haut dans l'ouverture de charge-ment de la porte est obstruée par des peluches.Enlevez les peluches avec les doigts. N'utilisepas d'objects coupants.Après le nettoyage, lancer à nouveau un pro-gramme de lavage.
Si le message d'anomalie persististe, contactez le service après-vente. Vous pouvez continuer à utiliser le lave-linge mais ses fonctions sont limitées.

Les messages s'affichent en fin de programme ou lors de l'enclenchement du lave-linge et doivent être validés avec la touche sensitive OK.

Messages ou anomalies du système TwinDos

ProblèmeCause et solution
i1 presque vide. Encore peu de lavage possibleLa cartouche ne contient presque plus de lessive. Vous pouvez encore effectuer environ 4 à 8 cycles de lavage. ■ Insérez une nouvelle cartouche.
iTwinDos 1 vide. Vérifier le résultat de lavageLa cartouche est vide. ■ Remplacez la cartouche. ■ Vérifiez la propriété du linge si la quantité de lessive était encore suffisante. Si la quantité de lessive n'était pas suffisante, la-vez de nouveau le linge.
iUtiliser « TwinDos » ou démarrer l'entre-tien. VoirLe dosage TwinDos n'a pas été utilisé via le compar-timent 1 et/ou 2 depuis un certain temps. ■ Utilisez TwinDos pour l'une des prochains les-sives. ■ Effectuez l'entretien TwinDos (voir chapitre « Nettoyage et entretien », section « Entretien TwinDos »).
L'entretien TwinDos des tiroirs 1 et 2 doit être lancé. VoirLe dosage TwinDos n'a pas été utilisé via le compar-timent 1 et/ou 2 depuis trop longtemps. Il est pos-sible que de la lessive sèche dans les tuyaux. ■ Effectuez immédiatement l'entretien TwinDos (voir chapitre « Nettoyage et entretien », section « Entretien TwinDos »).
Les messages listés sur cette page sont disponibles à titre d'exemple. Il existe des différences selon le compartment 1/2 concerné.

Messages ou anomalies du système TwinDos

ProblèmeCause et solution
Le dosage de la lessive n'a pas eu lieu.TwinDos est désactivé. ■ Avant de lancer le prochain lavage, vérifie que la touche sensitive TwinDos est allumnée.
La touche sensitive TwinDos est allumnée, mais le dosage de la lessive n'a pas lieu. ■ Essayez de nouveau. ■ Si le dosage n'est toujours pas effectué, contactez le service après-vente.
Après'utilisation d'une nouvelle cartouche de lessive, la cartouche est signalée comme étant vide lorsque l'appareil est mis en marche.Lors du remplacement de la cartouche, le lave-linge était éteint. ■ Mettez le lave-linge en marche. ■ Retirez la cartouche puis insérez la de nouveau dans le compartment. Le compteur est remis à 0.

Problèmes d'ordre général

ProblèmeCause et solution
Le lave-linge dégage une odeur.L'info hygiène n'a pas été prise en compte. Lors du lavage,aucun programme de lavage à plus de 60 °CN'a été effectué depuis longtemps.Démarrez le programme Nettoyage machine avec le produit nettoyant pour machine Miele ou une lessive universelle en poudre.Le lave-linge est nettoyé, prévenant ainsi la formation de germes et d'odeurs.
La porte et le bac à produits ont été fermés après le lavage.Laissez la porte et le bac à produits entrouverts pour qu'ils puissant secher.
Le lave-linge rougependant l'essorage.Les pieds de machine sont mal réglos et ne sont pas bloqués.Ajustez l'appareil de telle sorte qu'il soit bien d'aplomb et bloquez les pieds.
Le lave-linge n'a pas es-soré le linge comme d'habitude, celui-ci est encore trempé.Une masse compacte de linge (balourd) a été détec-tée lors de l'essorage final et la vitesse d'essorage a été automatiquement réduite.Pour que le linge se répartisse比较好 dans le tam-bour, chargez toujours des pieces de linge de dif-férentes tailles.
La pompe fait des bruits inhabituels.Il ne s'agit pas d'une anomalie.Les bruits d'aspiration en début et en fin de vidange sont normaux.
Une langue inconnue s'affiche.Une autre langue a été sélectionnée sous « Réglages, Langue ».Réglez la langue d'utilisation de votre choix. Le drapeau vous permet de vous repérer.

Problèmes d'ordre général

ProblèmeCause et solution
Il reste pas mal de les-sive dans le bac à pro-duits.La pression d'eau est insuffisante.■ Nettoyez le filtré dans l'arrivée d'eau.■ Si nécessaire, sélectionnez l'options Hydro+.
Si vous versez de la lessive en poudre en même temps qu'un produit anti-tartre, le mélange aura ten-dance à coller.■ Nettoyez le bac à produits et à l'avirin, commen-ces par verser la lessive puis le produit anti-tartre.
L'adoucissant n'est pas complètement entrainé ou il reste trop d'eau dans le comparti-ment ♂.Le tube d'aspiration n'est pas correctement en place ou est obstrué.■ Nettoyez le tube d'aspiration, voir au chapitre « Nettoyage et entretien », paragraphe « Nettoyer le bac à produits » .
Il y a encore du liquide dans la capsule en fin de programme.Le tube d'évacuation du bac à produits, sur lequel est inséré la capsule, est obstrué.■ Nettoyez le tube.
Il ne s'agit pas d'une anomalie. Pour des raisons techniques, il reste un peu d'eau dans la capsule.
De l'eau resté dans le bac à adoucissant, à côté de la capsule.La touche sensitive CAP n'a pas été activée.■ Activez la touche sensitive CAP la prochaine fois que vous utilisez une capsule.
La capsule vide n'a pas été retiree après la dernière dessive.■ Sortez et éliminez la capsule après chaque dessive.
Le tube d'évacuation du bac à produits, dans lequel est insérée la capsule, est obstrué.■ Nettoyez le tube.

Résultat de lavage non satisfaisant

ProblèmeCause et solution
Le linge a été lavé avec une lessive liquide mais n'est pas propre.La lessive liquide ne contient pas d'agent de blanchi-ment. Les taches de fruit, de café ou de thé ne sont donc pas toujours éliminées. ■ Utilisez le système à 2 phases de Miele. L'ajout ci-blé de UltraPhase 2 pendant le processus de la-vage permet d'éliminer efficacement les taches. ■ Utilisez de la lessive en poudre contenant un agent de blanchiment.
Des résidus gris élas-tiques adhérent au linge lavé.Vouces avez utilisé trop peu de lessive. Le linge présen-tait de nombreuses taches de graisse (huiles, pom-mades). ■ Pour du linge présentant ce type de taches, utilise-sez davantage de lessive ou une lessive liquide. ■ Avant le prochain lavage, lancez le programme Nettoyage machine en utilisant le nettoyant pour machine Miele ou une lessive universelle en poudre.
Des résidus blanchâtres ressemblant à de la les-sive apparaisent sur le linge foncé.La lessive contient des composants non solubles (zéolithes) qui adoucièssent l'eau mais adhérent au linge. ■ Une fois le linge sec, essayez d'enlever les résidus avec une Brosse. ■ A l'avirr, lavez les textiles fonçés avec une lessive ne contenant pas de zéolithes, ce qui est en géné-ral le cas des produits liquides. ■ Lavez le linge avec le programme Foncé/Jeans.

La porte ne s'ouvre pas.

ProblèmeCause et solution
Il est impossible d'ou-virr la portependant le lavage.Le tambour est verrouillé pendant le cycle de lavage. ■ Suívez les instructions au chapitre « 6. Démarrer le programme », section « Ajouter/retirer du linge ».
Après une annulation de programme, Refroid. final s'affiche.La portec est bloquée lors que le bain dépasse 55 °C, afin d'éviter tout risque de brûlures. ■ Attendre jusqu'à ce que la température dans le tambour ait baisse et que l'indication à l'écran ait disparu.
L'écran affiche : SAV déverrouil. porteporanalemie F35La serrure de portec est bloquée. ■ Contactez le service après-vente Miele.

Déverrouillage manuel deporte en cas de vidange obstruée et/ou de panne de courant

  • Arrétez le lave-linge.

MIELE LAVE-LINGE-WCI860-WCS - Déverrouillage manuel deporte en cas de vidange obstruée et/ou de panne de courant - 1

Ouvrez la trappe d'accès à la pompe de vidange.

Vidange obstruée

Si la vidange est obstruée, le lave-linge peut contenir une grande quantité d'eau.

MIELE LAVE-LINGE-WCI860-WCS - Vidange obstruée - 1

Risque d'ébouillantement du au lessiviel brûlant.

Si vous venez de laver du linge à haute température, l'écoulement du bain lessiviel est brûlant.

Evacuez le bain lessiviel avec précaution.

Evacuation de l'eau

Ne dévissez pas entièrement les filtrés.

  • Placez un écipient à rebords peu élevés mais avec une grande contention sous la trappe, comme une plaque de cuisson creuse.

MIELE LAVE-LINGE-WCI860-WCS - Evacuation de l'eau - 1

Dévissez lentement les filtres jusqu'à ce que l'eau s'écoule.
Pour arrêté l'écoulement d'eau, revissez les filtrés.

Dés que l'eau ne coule plus :

MIELE LAVE-LINGE-WCI860-WCS - Evacuation de l'eau - 2

dévissez entièrement les filtres et réti-rez-les.

MIELE LAVE-LINGE-WCI860-WCS - Evacuation de l'eau - 3

Nettoyez soigneusement les filtres.
Vérifiez si la turbine de la pompe de vidange tourne facilement, enlevez les corps étrangers (boutons, pieces de monnaie, etc.) si nécessaire, et nettoyez l'intérieur.

MIELE LAVE-LINGE-WCI860-WCS - Evacuation de l'eau - 4

  • Remettez les filtres correctement en place (à droite et à gauche) et revissez les bien.
    Fermez la trappe d'accès à la pompe de vidange.

Risque de dommages dus à l'écoulement d'eau.

Si les filtres ne sont pas remis correctement en place et serrés à fond, de l'eau s'écoule du lave-linge.

Remettez les filtres correctement en place et revissez les bien.

Ouvrir la porte

Risque de blessure due au tambour qui tourne.

Ne mettez jamais les mains dans un tambour qui tourne encore, vous risqueriez d'être grièvement blessé.

Assurez-vous que le tambour est à l'arrêt avant de décharger votre linge.

MIELE LAVE-LINGE-WCI860-WCS - Ouvrir la porte - 1

Utilisez un tournevis pour déverrouiller la porte.
Ouvrez la porte.

Contact en cas d'anomalies

Vous n'arrivez pas à résoudre l'anomalie par vous-même? Contactez le service après-vente Miele ou votre reven-deur Miele.

Vous pouvez prendre rendez-vous en ligne avec le service après-venture Miele sous www.miele.com/service.

Les coordonnées du service après-venture Miele figurent en fin de notice.

Veuillez indiquer le modele et la reférence de votre apparéil (N° de série, de fabrication). Ces deux indications figurent sur la plaque signalétique.

La plaque signaléique est placée au-dessus du hublot à l'intérieur de la porte.

MIELE LAVE-LINGE-WCI860-WCS - Contact en cas d'anomalies - 1

Accessoires en option

Voutrouvezdesaccessoiresenoption pource lave-lingechez les revendeursMieleouaupresduserviceapres-ventemiele.

Base de données EPREL

À partir du 1er mars 2021, des informations sur l'étiquetage énergétique et les exigences en matière d'écoconception seront disponibles dans la base de données européenne sur les produits (EPREL). Le lien suivant https://eprel.ec.europa.eu/ permet d'acceder à la base de données sur les produits. Il vous est demandé de saisir ici la désignation du modele.

Vous trouvrez la désignation du mode sur la plaque signalétique.

Miele

Made in xxx

Mod..XXXxxx

La garantie est accordée pour cet appar-.
pareil selon les modalités de vente par le revendeur ou par Miele pour une pere
riode de 24 mois.

Pour plus d'informations reportez-vous aux conditions de garantie fournies.

Vue de face

MIELE LAVE-LINGE-WCI860-WCS - Vue de face - 1

① Tuyau d'arrivée d'eau (résistant à la pression jusqu'à 7 000 kPa (70 bars))
② Raccordement électrique
③ Tuyau de vidange avec crosse (accessoire) et les différentes evacuations possibles de I'eau
④ Bandeau de commande
⑤ Bac a produits

⑥ Porto
⑦ Clapet d'accès au filtré de vidange, aux pompes de vidange et au déverrouillage d'urgence
⑧ Clapet d'accès aux cartouches TwinDos
9 Quatre pieds réglables en hauteur

Vue de derrière

MIELE LAVE-LINGE-WCI860-WCS - Vue de derrière - 1

① Tuyau de vidange
Fixations de transport pour tuyaux d'arrivée d'eau et de vidange et cable electrique
(3) Raccordement électrique
④ Couvercle en saillie avec prises de main pour le transport

(5) Tuyau d'arrivée d'eau (résistant à la pression jusqu'à 7 000 kPa (70 bars))
⑥ Securités avec tiges de transport
Fixations de transport pour tuyaux d'arrivée d'eau et de vidange et support pour tiges de transport démonTEXE

Lieu d'installation

La surface de montage la vente adaptée est un sol en béton. Contrairement à un plancher en bois ou à un sol « sousque», il ne transmet pratiquement pas de vibrations lors de l'essorage.

Attention :

installez le lave-linge bien d'aplomb et voirlez a ce qu'il soit stable.
Evitez d'installer le lave-linge sur des revêtements de sol couples, sans quoi l'appareil risque de vibrer pendant l'essorage.

En cas d'installation sur un plancher en bois :
- Placez le lave-linge sur un panneau en contreplaqué (min. 59 × 52 x 3 cm). Ce panneau doit être visse sur autant de poutres que possible, et non seulement sur les lattes du plancher.

Conseil : installez l'appareil si possible dans un angle de la pierce. C'est la que la stabilité du plancher est la meilleure.

Risque de blessures provoquées par un lave-linge non sécurisé.
Le lave-linge doit être sécurisé contre toute chute et tout glissement lors de l'installation sur un socle déjà existant (socle en béton ou en maconnerie).
Sécurisez le lave-linge à l'aide d'un étrier de fixation (Fixation au sol MTS) (disponible auprès du reven-deur ou du service après-vente Miele).

Transport du lave-linge sur le lieu d'installation

Risque de blessures provoquées par un couvercle non fixé.
Du fait de circonstances extérieures, la fixation arrière du couvercle peut devenir cassante. Le couvercle peut s'arracher lors du transport.
Veillez à la stabilité du couvercle avant de transporter l'appareil.

  • Portez le lave-linge par les pieds avant et le rebord arrêté du couvercle.

Démontage des securités de transport

Retirer la tige de transport gauche

MIELE LAVE-LINGE-WCI860-WCS - Retirer la tige de transport gauche - 1

Poussez le cache vers l'extérieur et tournez la tige de transport de 90^ à l'aide de la clé à fourche fournie.

MIELE LAVE-LINGE-WCI860-WCS - Retirer la tige de transport gauche - 2

Retirez la tige de transport.

Retirer la tige de transport droite

MIELE LAVE-LINGE-WCI860-WCS - Retirer la tige de transport droite - 1

Poussez le cache vers l'extérieur et tournez la tige de transport de 90^ à l'aide de la clé à fourche fournie.

MIELE LAVE-LINGE-WCI860-WCS - Retirer la tige de transport droite - 2

Retirez la tige de transport.

Obstruez les orifices

Risque de blessure au contact des arêtes vives.

Ne mettez jamais les mains dans des orifices non obstrués, risque de blessure.

Obstruez les orifices ou la sécurité de transport a ete retiree.

MIELE LAVE-LINGE-WCI860-WCS - Obstruez les orifices - 1

Appuyez fermement sur les caches jusqu'à ce qu'ils s'enclenchent.

Fixer les tiges de transport

MIELE LAVE-LINGE-WCI860-WCS - Fixer les tiges de transport - 1

Fixez les tiges de transport sur la pa-roi arrriere du lave-linge. Veillez a ce que I'ergot de verrouillage supérieur se trouve au-dessus de la fixation.

Dommages liés à un transport incorrect.

Le lave-linge peut etre endommagé s'il est transporte sans securités de transport.

Conservez les sécurités de transport. Elles doivent être remontées avant le transport de l'appareil, par exemple pour un déménagement.

Montage des securités de transport

Ouvr les caches

MIELE LAVE-LINGE-WCI860-WCS - Ouvr les caches - 1

A l'aide d'un object pointu, appuyez un tournevis étroit contre l'ergot, par exemple.

Le cache s'ouvre.

Installer les tiges de transport

L'installation s'effectue dans l'ordre inverse du démontage.

Conseil: Soulevez légèrement le tambour, les tiges de transport peuvent être enforcées plus facilement.

Ajustement

Pour un fonctionnement optimal, le lave-linge doit être horizontal et bien d'aplomb sur ses quatre pieds.

Une installation non conforme augmente la consommation d'eau et d'énergie et peut provoquer un déplacement de l'appareil.

Dévissage et blocage des pieds

Ce sont les quatre pieds à vis qui assurent l'équilibre du lave-linge. Ils sont rentrés au maximum au moment de la livraison.

MIELE LAVE-LINGE-WCI860-WCS - Dévissage et blocage des pieds - 1

Desserrez le contre-écrou 2 dans le sens des aiguilles d'une montre à l'aide de la clé à fourche fournie. Dévissez le contre-écrou 2 et le pied 1 en même temps.

MIELE LAVE-LINGE-WCI860-WCS - Dévissage et blocage des pieds - 2

Vérifiez que le lave-linge est d'aplomb à l'aide d'un niveau à bulle d'air.
- Maintenez le pied 1 en place à l'aide d'une pince multiprise, puis resserrez de nouveau le contre-écrou 2 contre la carrosserie à l'aide de la clé à fourche.

Dommages provoqués par un lave-linge pas installé d'aplomb. Si les pieds ne sont pas bloqués, le lave-linge risque de se déplacer. Serrez les quatre contre-écrous des pieds contre la carrosserie. Vérifiez également que les pieds n'ont pas été dévissés lors de l'ajustement.

Encastrement sous un plan de travail

Risque d'électrocution en raison de câbles non protégés

Si le couvercle est demonté, des éléments sous tension peuvent être touchés.

Le montage et le démontage du jeu d'encastrement* doit être effectué par un professionnel.

  • Un jeu d'encastrement est nécessaire. La tôle jointe au jeu d'encastrement vient remplacer le couvercle du lave-linge. Le montage de la tôle de protection est indispensable pour des raisons de sécurité électrique.
  • L'arrivée et l'évacuation d'eau, ainsi que le raccordement électrique, doivent être installés à proximé du lave-linge et être facilement accessibles.

Une notice de montage est fournie avec le jeu d'encastrement.

Colonne lave-linge/sèche-linge

Il est possible de réaliser une colonne lave-linge/sèche-linge en superposant un sèche-linge Miele sur le lave-linge. Le cas échéant, vous aurez besoin d'un cadre de superposition* (WTV).

Les pièces identifiées par * sont disponibles auprès d'un revendeur Miele ou du service après-vente Miele.

Attention :

MIELE LAVE-LINGE-WCI860-WCS - Attention : - 1

a = 2 cm minimum
b = WTV simple : 172 cm
WTV avec tiroir : 181 cm
c = 64 ~cm

Système anti-fuites

Le système anti-fuites Miele garantit une protection parfaite contre les dégats des eaux liés à l'utilisation du lavelinge.

Ce système se compose des éléments suivants :

  • le tuyau d'arrivée d'eau
  • l'électronique, la protection anti-fuites et la sécurité anti-debordement
  • le tuyau de vidange

Tuyau d'arrivée d'eau

  • Protection contre l'éclatement du tuyau

Le tuyau d'arrivée d'eau présente une pression d'éclatement supérieure à 7000 kPa (70 bars).

Electronique et carrosserie

Tôle de fond Si le lave-linge présente un defaultedétanchéité,les fuites d'eau sont dirigéesvers la tôle de fond.Un interrupteur à flotteur coupe les vannes d'arrivée d'eau.L'arrivée d'eau est coupée et I'eau se trouvant encore dans la cuve est vidangée.
- Sécurité anti-debordement
Ce dispositifé évite que le lave-linge déborde suite à une arrivée d'eau in-controlée. Dès que le niveau d'eau dépasse une certaine hauteur, la pompe de vidange s'enclenché et l'eau est vidangée de manière contrôleé.

Le tuyau de vidange

Le tuyau de vidange est protégé par un système d'aération. Cela permet d'éviter que le lave-linge ne soit vidé par un effet de siphon.

Arrivée d'eau

Risques pour la santé et dommages dus à l'eau impure qui s'écoule.

La qualité de l'entrée d'eau doit correspondre aux spécifications de l'eau potable du pays dans lequel le lavelinge est en fonctionnement.

Raccordez toujours le lave-linge à l'eau potable.

Le raccordement du lave-linge à l'arrivée d'eau peut s'effectuer sans clapet anti-retour car il est construit suivant les normes DIN en vigueur.

La pression de l'eau doit être comprise entre 100 kPa/1 bar et 1000 kPa/10 bars. Si la pression de l'eau est supérieure à 1000 kPa de suppression, l'installation d'un réducteur de pression est indispensable.

Pour le raccordement, l'utilisateur doit prévoir un robinet d'arrêt avec raccord fileté 34" . S'il n'y a pas de robinet d'arrêt, faites-le monter par un installerateur/agréé sur le réseau d'eau potable.

Le raccord filété est sous pression.
Vérifiez l'étanchéité du raccordement en ouvrant lentement le robinet d'eau. Modifiez si nécessaire la position du joint et du raccord filtré.

Ce lave-linge n'est pas conscience pour etre raccorded à I'eau chaude.

Ne raccordez pas le lave-linge à l'eau chaude.

Maintenance

En cas de remplacement, utilisez exclusivement un tuyau d'origine Miele avec une pression d'éclatement supérieure à 7 000 kPa (70 bars).

Dommages provoqués par de la saleté dans l'eau.

Pour protégér la vanne d'arrivée d'eau, un filtré est placé à l'extrémité libre du tuyau d'arrivée d'eau et un autre dans le raccord d'arrivée d'eau.

Ne retirez pas ces deux filtres à impuretés.

Rallonge de tuyau en option

Des tuyaux de 2,5 ou 4,0 m de long sont disponibles en option auprès de votre revendeur ou du service après Miele.

Vidange de l'eau

Le bain est vidangé par une pompe de vidange d'une hauteur de refoulement de 1 m. Posez le tuyau sans coude, afin de ne pas génér la vidange.

Laaille de tuyau disponible va jusqu'à 5 m. L'accessoire est disponible auprès du SAV Miele ou des revendeurs spécialisés.

Pour des hauteurs d'évacuation supérieures à 1 m (hauteur de refoulement max. 1,8 m), vous pouvez vous procurer une pompé de vidange de rechange au+. près d'un revendeur Miele ou du service après-vente Miele.

En cas de hauteur de vidange de 1,8 m, le tuyau peut etre rallongé jusqu'à 2,5 m. L'accessoire est disponible au+. prs du SAV Miele ou des revendeurs spécialisés.

Possibilities de vidange :

  1. Dans un lavabo ou un évier :

Attention :

  • Bloquez le tuyau pour qu'il ne glisse pas.
  • Si l'eau est vidangée dans un lavabo, elle doit pouvoir s'écouler suffisamment vite. Sinon, elle risque de déborder ou une partie de l'eau pourrait être à nouveau aspirée dans le lave-linge.

  • Raccordement à un tuyau d'évacuation plastique avec manchon en caoutchouc (siphon non indispensable).

  • Evacuation dans une bonde au sol (puits d'écoulement).
  • Raccordement à un évier avec un raccord filtré en plastique.

Attention :

MIELE LAVE-LINGE-WCI860-WCS - Attention : - 1

① Adaptateur
② Écrou moité pour lavabo
③ Collier de serrage
④ Extrémité du tuyau

Fixez l'adaptateur ① avec I'écrou moleté pour évier ② sur le siphon du lavabo.
Enfilez l'extrémité du tuyau ④ sur l'adaptateur ①.
Fixez le collier de serrage ③ juste derrière l'écrou moleté pour évier avec un tournevis.

Raccordement électrique

Le lave-linge est équipé en série d'un raccordement « prét à être branché » à une prise de sécurité.

Installer le lave-linge de sorte que la prise soit facilement accessible. Si la prise n'est pas facilement accessible, vérifie qu'un un dispositif de sectionnement de chacun des pôles est prévu sur l'installation.

Risque d'incendie en cas de surchauffe.

Le fonctionnement du lave-linge sur des multiprises et des rallonges peut entraîner une surcharge des cables. Pour des raisons de sécurité, n'utilise pas de rallonge ou de multiprises.

L'installation électrique doit être conforme aux normes EDF.

Un cable d'alimentation abîné ne doit être remplaced que par un cable spécial du même type (disponible auprès du SAV Miele). Pour des raisons de sécurité, seul un professionnel qualifié ou le SAV Miele doit se charger du remplacement.

La plaque signalétique vous indique la puissance de raccordement et la protection électrique adaptée. Compareez ces indications avec celles de votre réseau électrique.

En cas de doute,contactez un électricien professionnel.

Le lave-linge ne doit pas etre branché sur des ilots d'ondulesurs,utilisés pour une alimentation electrique autonome comme une alimentation en energie solaire,par exemple.Sinon,des pics de tension peuvent se produire lors de la mise en marche du lave-linge et entrainer une coupure de sécurité.Cela risque d'endommager I'electronique.

Caracteristiques techniques

Hauteur850 mm
Largeur596 mm
Profondeur636 mm
Profondeur avec porte ouverte1054 mm
Hauteur d'installation sous plan820 (+8/-2) mm
Largeur d'installation sous plan600 mm
Profondeur pour installation sous plan600 mm
Poidsenviron 90 kg
Capacité9,0 kg de linge sec
Tension électriquevoir plaque signalétique
Puisance de raccordementvoir plaque signalétique
Fusiblevoir plaque signalétique
Données de consommationVoir chapitre « Données de consomma-tion »
Pression d'écoulement d'eau minimale100 kPa (1 bar)
Pression d'écoulement d'eau maximale1000 kPa (10 bar)
Longueur du tuyau d'acciviée d'eau1,60 m
Longueur du tuyau d'évacuation1,50 m
Longueur du cable d'alimentation2,00 m
Hauteur maximale de vidange1,00 m
Longueur maximale de vidange5,00 m
LED ou LED électroluminescentesClasse 1
Labels de conformité délivrésvoir plaque signalétique
Consommation à l'arrêt0,40 W
Etat de préparation du réseau0,80 W
Bande de fréquence2,4000 GHz - 2,4835 GHz
Puisance d'émission maximale< 100 mW

Déclaration de conformité

Par la présente, Miele déclare que ce lave-linge est conforme à la directive 2014/53/EU.

Le texte complet de la déclaration de conformité se trouve sous une des adresses Internet suivantes :

  • Page d'accueil miele France, sur www.miele.fr
  • Onglet Services, Demande de documentations, Modes d'emploi, sur www.miele.fr/electromenager/demande-d-informations-385.htm en indiquant le nom du produit ou le numéro de série
°CCharge kgEnergie kWhEau litresDurée h.:min.Humidité résiduelle %
Coton909,02,60652:2950
609,01,45652:2950
604,51,10522:1950
<60°C*9,00,74542:5944
<60°C*4,50,55492:5944
409,01,20652:3950
<40°C*4,50,35422:5944
209,00,45652:3950
Synthétique304,00,60571:5930
Fin303,00,20401:09-
Laine liée302,00,23350:39-
Automatic +406,00,60591:59-
QuickPowerWash404,00,58400:49-
Express 201403,50,33300:20-
Chemises2602,00,66401:31-

1 Option Quick activée
2 Option Défroissage désactivée

Les données de consommation peuvent différer des valeursANNONCEES EN FONCTION DE LA PRESSION ET DE LA DURETE DE I'EAU, DE LA TEMPERATURE d'ARRIVÉE D'EAU, DE LA TEMPERATURE ambiente, du type et de la quantité de linge, des variations de tension reseau et des options sélectionnées.

Les données indiquées par la touche Feedback peuvent différer des valeurs indiquées ici. Les différences s'expliquent par les tolérances des composants et par les conditions locales, notamment les variations de pression du réseau d'eau, tension réseau et variations de tension réseau.

Remarque concernant les essais comparatifs

Programme de contrôle selon la norme EN 60456 et étiquette énergie conforme au règlement 1061/2010

Lors des tests comparatifs, le dosage TwinDos doit être désactivé.

Avec le procédé de lavage PowerWash, la température mesurée dans le bain lessiviel au niveau de la sonde de température lors de la phase de chauffage est plus élevé que la température réelle du linge.

La température mesurée au niveau de la sonde de température ne reflète pas la température du linge.

Données de consommation valables à compter du 01.03.2021

ProgrammesCharge kgÉnergie kWhEau LitresDurée h.:min.Température1 °CHumidité résiduelleVitesse de rotation
ECO 40-60*9,00,90653:1942421600
4,50,41562:3931441600
2,50,20282:2925461600
Coton609,01,45652:295550
209,00,45752:392050
Synthétique304,00,60571:593030
Express 20²403,50,33300:202660
Laine HuH302,00,23350:39--
QuickPowerWash404,00,58400:49--
  • Programme de contrôle de la conformité avec la législation de l'UE sur l'écoconception N° 2019/2023 et l'étiquetage énergétique conformément au règlement N° 2019/2014.
    1 Température maximale du linge atteinte dans le lavage principal.
    2 Option Quick activée
    Lors des tests comparatifs, le dosage TwinDos doit être désactivé.
    Remarque pour les clients
    Les données de consommation peuvent différer des valeursannoncés en fonction de la pression et de la durée de l'eau, de la température d'arrivée d'eau, de la température ambiente, du type et de la quantité de linge, des variations de tension reseau et des options sélectionnées. Les données de consommation affichées dans l'Feedback peuvent différer des données de consommation figurant dans le tableau des données de consommation. Les écarts sont dus aux tolérances des composants et aux conditions locales, par exemple les fluctuations de pression dans le réseau d'eau, la tension du réseau et les fluctuations de la tension du réseau.

Le menu Réglages vous permet d'adapter l'électronique du lave-linge selon les besoin du moment.

Vous pouvez modifier les réglages à tout moment.

Ouvrir le menu Réglages

MIELE LAVE-LINGE-WCI860-WCS - Ouvrir le menu Réglages - 1

Tournez le sélecteur de programme sur Autres programmes/

MIELE LAVE-LINGE-WCI860-WCS - Ouvrir le menu Réglages - 2

Effleurez les touches sensitives jusqu'à ce que l'écran indique :

MIELE LAVE-LINGE-WCI860-WCS - Ouvrir le menu Réglages - 3

  • Validez en effleurant la touche sensitive OK.

MIELE LAVE-LINGE-WCI860-WCS - Ouvrir le menu Réglages - 4

Yououvustrouveza present dans lesous-menuRéglages.

Sélectionner les réglages

Effleurez les touches sensitives jusqu'à ce que le réglage souhaité s'affiche à l'écran.
- La touche sensitive permet de faire défilier la liste de sélection vers le bas.
- La touche sensitive ∧ permet de faire défilier la liste de sélection vers le haut.
Effleurez la touche sensitive OK pour modifier le réglage affché.

Modifier un réglage

Pour savoir quelles options sont disponibles pour ce réglage, effleurez les touches sensitives

Le réglage actuel est marquéd'une coche ✓.

Si la seLECTION souhaitatione est affichee à l'écran, effleurez la touche sensitive OK pour l'activer.

Quitter le menu Réglages

Tournez le sélecteur de programme.

Langue

Plusieurs langues d'affichage vous sont proposées.

Le drapeau derrière le mot Langue sert de fil conducteur au cas où vous auriez selectionné une langue que vous ne comprendez pas.

La langue selectionnelle est enregistrée.

TwinDos

Vous pouvez définir la lessive et la quantité de dosage utilisées et vérifier le niveau de replissage des cartouches de lessive UltraPhase 1 et UltraPhase 2.

Modifier qtité dosage

Vous pouvez consulter et modifier les valeurs régles pour le dosage de les-sive des compartments ① et ②.

Vérifier le niveau

Cette fonction est seulement disponible si vous utilisez la lessive UltraPhase 1 et 2.

Un diagramme vous permet de consul-ter le niveau de replissage.

Les conditions suivantes sont requises pour garantir l'exactitude des données :

  1. Vous avez insere des nouvelles cartouches (pleines).
  2. Ne retirez pas les cartouches du lave-linge avant qu'elles ne soient vides.

Conseil : you pouvez corriger le niveau de remplissage via l'application Miele@mobile.

Sélectionner lessive

Si vous souhaitez utiliser la fonction TwinDos avec une autre lessive qu'UltraPhase 1 et 2, vousdezvezvous procurer une cartouche TwinDos vide (accessoire en option).

La lessive UltraPhase 1 et 2 fonctionne toujours en duo. C'est pourquoi les réglages de l'autre compartment sont automatiquement annulés en cas de changement de lessive.

Vous pouvez utiliser les produits suivants :

  • lessive universelle
  • textiles délicats
    text.delicat/laine
  • Adoucissant
  • aucun produit

Respectez les instructions de dosage du fabricant indiquées sur l'emballage.

  • Vous doivent désigné la quantité de dosage correspondante pour la lessive sélectionnée. L'écran vous guide pour effectuer les réglages.

Conseil: Si vous sélectionnez aucun produit, le compartment TwinDos correspondant sera mis hors service.

Degré de salissure

Voussouspoucez déterminer un degrde desalissure préregle pour la touche sensitive

Selection

  • légèrement
    normal (réglage d'usine)
  • fort

Volume sign. sonore

Le signal sonore vous indique que le programme est terminé. Vous pouze baisser ou augmenter le volume du signal sonore.

Selection

  • désactivement
  • ■=■=■(faible)
  • (fort) (réglage d'usine)

Bip de validation

Un signal sonore confirme chaque activation de touche sensitive.

Sélection

  • désactivement
  • ■=■=■(faible)
  • ■■■■=■(réglagedusine)
  • (fort)

Mélodie d'accueil

Vous dispose de 7 positions de réglage du volume.

Sélection

  • désacté
  • ■=■=■(faible)
  • ■■■■=二□ (réglaged'usine)
  • (fort)

Consommation

Vous trouvrez ici les consommations d'énergie et d'eau enregistrées.

Sélection

  • Dernier programme Indication de la consommation du dernier programme de lavage réalisé.
  • Total consommation Indication du total des consommations d'énergie et d'eau des derniers programmes.
  • Fonction mise à zéro Les consommations d'énergie et d'eau additionnelles sont remises à zéro.

Code verrouillage

Le code PIN vous permet de protégger votre lave-linge contre toute utilisation par des tiers non autorisés.

Sélection

  • activer

Lorsque le code PIN est activé, il doit être saisi après avoir activé le lavelinge pour pouvoir utiliser ce dernier. Le code PIN par défaut est : 125.

  • modifier

Vou pouvez creer votre propre code PIN (3 caractères).

N'oubliez pas votre nouveau code PIN.

En cas d'oubli, seul le service après-venture Miele peut déverrouiller votre lave-linge.

Notez le nouveau code PIN.

  • désactiver

Vous pouvez à nouveau utiliser le lave-linge sans saisie de code PIN.

Cette option apparait seulement si vous aviez activé le code PIN.

Unitétempérature

La température peut être indiquée en °C/Celsius ou en °F/Fahrenheit.

Le réglage °C/Celsius est activé par défaut.

Luminosite

Vous pouvez régler la luminosité de l'écran et des touches sensitives (activées ou activables).

Sélection

  • Luminosite affchage

Permet de régler la luminosité de l'écran.

  • ■=■=■□ (sombre)
  • clair (réglage d'usine)

  • Touches «on»

Permet de régler la luminosité des touches sensitives activées.

  • ■=■=■(sombre)
  • ■■■■二二□ (réglagedusine)
  • (clair)

  • Touches lum.variable

Permet de régler la luminosité des touches sensitives activables.

  • ■=■=■(sombre)
  • ■■■■=二□ (réglagedusine)
  • (clair)

Conseil: Veillez à garder un contraste marqué entre les touches activées (pleine luminosité) et les touches activables (luminosité attenuée). Un contraste marqué facilité la commande.

Règle veille affichage

L'éclairage de l'écran et des touches sensitives est désactifé pour économiser l'énergie. La touche sensitive Départ/Ajouter du linge clignote lente-ment.

Sélection

  • activé(reglages d'usine)
    L'éclairage est désactivement au bout de 10 minutes.
  • activé sauf PDT prg L'éclairage reste activé pendant les programmes. L'éclairage est désactivé 10 minutes après la fin d'un programme.
    désactivé L'éclairage reste activé.

Info programme

Vous pouvez désir qu'elle information s'affiche à l'écran après avoir sélectionné un programme.

Sélection

  • Nom programme L'écran affiche le nom du programme pendant quelques secondes.
  • Prog. + charge max (réglage d'usine) L'écran affiche le nom du programme et la charge maximale pendant quelques secondes.
  • désacté
    L'écran bascule directement vers l'affichage principal (température, vitesse d'essorage et durée du programme) après avoir sélectionné un programme.

Mémoire

Le lave-linge enregistre les derniers réglages d'un programme de lavage (température, vitesse d'essorage et certaines options) après le démarrage du programme.

Lorsque ce programme de lavage est de nouveau sélectionné, le lave-linge affiche les réglages enregistrés.

La fonction Mémoire est désactivée par défaut.

Prélavage sup. coton

Si vous avez des exigences particulieres concernant le prélavage, vous pouvez en prolonger la durée de base fixée à 25 minutes.

Sélection

normal (réglage d'usine)

Le temps de prélavage est de 25 minutes.

  • +6min

Le temps de prélavage est de 31 minutes.

  • +9min

Le temps de prélavage est de 34 minutes.

  • ±12 min

Le temps de prélavage est de 37 minutes.

Durée de trempage

Vou pouvez régler la durée de trempage entre 30 minutes et 6 heures.

Vous pouvez modifier la durée par paliers de 30 minutes. La durée可以选择 sera appliquée des selections de l'option Trempage.

La durée par défaut est de 0:30 h.

Fonction délicat

Lorsque la fonction Délicat est activée, le déplacement du tambour est réduit. Des textiles peu sales peuvent être ainsi lavés plus en douceur.

La fonction Délicat peut être activée pour les programmes Coton et Synthese-tique.

La fonction Délicat est désactivée par défaut.

Réduc température

L'eau présente un point d'ébullition plus bas en altitude. À partir d'une altitude de 2000 m, Miele recommends d'activer la réduction de la température pour éviter « l'ébullition de l'eau » La température maximale est réduite à 80^ , même lorsqu'une température plus élevé est sélectionnée.

La fonction Réduction température est désactivée par défaut.

Hydro plus

Vous pouvez selectionner quelle fonction se cache derriere l'option Hydro+.

Sélection

  • Niveau d'eau (réglage d'usine)

Le niveau d'eau (davantage d'eau) est augmenté lors du lavage et du rincege.

  • Rincage suppl.

Un rincage supplémentaire est effec-tue.

  • Niveau+rinç sup

Le niveau d'eau augmente pendant le lavage et le rincage et un rincage supplémentaire est effectué.

Niveau Hydro plus

Lorsque l'option Hydro + est activée, 4 paliers vous sont proposés pour augmenter le niveau d'eau.

Niveaux

normal (réglage d'usine)
- plus 0
- plus
- plus

Niveau rincage max.

Informations importantes pour allergiques un résultat de lavage particulièrement bon est atteint.

Pendant les phases de rincege, le niveau d'eau est reglé à la valeur maxi-male. La consommation d'eau augmente.

Le niveau de rincege maximal est désacté par défaut.

Refroidissement bain

À la fin du lavage principal, une entree d'eau supplémentaire est admise dans le tambour pour refroidir le bain lessi-viel.

Le refroidissement du bain lessiviel s'effectue en programme Coton, si la température est supérieure ou égale à 70^ .

Le refroidissement du bain lessiviel doit être activé :

  • pour éviter tout risque d'ébouillantage si le tuyau de vidange est accroché à un lavabo ou un évier ;
  • dans les bâtiments non pourvus d'un tuyau d'évacuation conforme à la norme DIN 1986.

Le refroidissement du bain lessiviel est désacté par défaut.

Pression faible

Si la pression d'eau est inférieure à 100 kPa (1 bar), le lave-linge interrompt le programme avec le message d'anomalie Arrivée d'eau voir

Si la pression d'eau de l'installation ne peut pas etre augmentee, activer cette fonction empêche I'annulation de programme.

L'option « pression d'eau faible » est désactivée par défaut.

Infroissable

La fonction Infoissable permet de réduire la formation de plus après la fin du programme.

Le tambour tourne encore jusqu'à 30 minutes après la fin du programme. Vous pouvez déverrouiller et ouvrir la porte du lave-linge à tout moment en effleurant la touche Départ/Ajouter du linge.

La fonction Infoissable est activée par défaut.

Miele@home

Configurez la connexion de votre lavelinge à votre réseau Wi-Fi domestique.

Le sous-menu contient les options suivantes :

Installation

Ce message apparait uniquement si le lave-linge n'est pas encore connecté à un réseau Wi-Fi.

Pour plus d'informations, consultez le chapitre « Première mise en service »

Désactiver (visible si Miele@home est activé)

La configuration Miele@home est conservée, la fonction Wi-Fi est désactivée.

Activation (visible si Miele@home est désactivement)

La fonction Wi-Fi est reactivée.

Etat de connexion (visible si Miele@home est activé)

Les informations suivantes sont affichées :

  • qualité de réception du Wi-Fi
    -nom du réseau
  • adress IP

Nouvelle installation (visible si déjà configurer)

La connexion au réseau Wi-Fi est réinitialisée, vous pouvez la reconfigurer.

retour réglage usine (visible si déjà configu-gure)

  • La connexion Wi-Fi est désactivée.
  • La connexion Wi-Fi est restaurée aux valeurs d'usine.

Réinitialisez la configuration réseau, si vous éliminez, vendez le lave-linge ou si vous mettez en service un lave-linge d'occasion. Cela permet de garantir que vous avez supprimez toutes les données personnelles et que le précédent propriétaire ne puisse plus avoir accès au lave-linge.

Pour pouvoir réutiliser Miele@home, vousdezestffectuer une nouvelle installation.

Commande distance

Le réglage Commande distance est seulement visible si la fonction Miele@home a été configurée et activée.

Si l'app Miele@mobile est installee sur voitre terminal mobile, il est possible de vérifier I'etat du lave-linge partout de n'importe ou, de l'allumer et de le contrôle à distance grâce au programme MobileStart.

Le paramètre Commande distance peut être désactivé pour ne plus commander votre lave-linge avec le terminal mobile.

Il est également possible d'annuler un programme via l'application si la fonction Commande distance n'est pas activée.

Avec la touche « Départ différé», configurez une plage horsaire durant laquelle vous souhaitez démarrer votre lavelinge puis lancez le départ différé (voir chapitre « Départ différé/SmartStart »). Le lave-linge peut être activé dans le créneau horsaire enregistré en envoyant un signal.

Si vous n'avez envoyéaucun signal jusqu'à l'heure de départ la plus tardive possible, le lave-linge démarre automatiquement.

La commande à distance est activée par défaut.

SmartGrid

Le réglage SmartGrid est seulement visible si la fonction Miele@home a été configurée et activée.

Cette fonction permet de faire démarrer automatiquement votre apparéil aux heures creuses.

Lorsque SmartGrid est activé, la touche sensitive Départ différé a une nouvelle fonction. Elle permet de configurer la fonction SmartGrid. L'appareil se met en marche dans le créneau horsaire indiqué par vos soins dés la réception du signal envoyé par votre fournisseur d'énergie. Si vous n'avez reçu aucun signal de départ jusqu'à l'heure de départ la plus tardive, le lave-linge démarre automatiquement (voir chapitre « Départ différé »).

La fonction SmartGrid est désactivée par défaut.

RemoteUpdate

L'option RemoteUpdate n'est visible et seLECTIONnable que si les conditions préalables à l'utilisation de Miele@home sont remplies (voir chapitre « Première mise en service », section « Miele@home »).

La fonction RemoteUpdate (mise à jour à distance) permet demettre à jour le logiciel de votre lave-linge. Si une mise à jour est disponible pour votre lave-linge, elle sera automatiquement tele-chargée par votre lave-linge.L'installation d'une mise à jour ne s'effectue pas automatiquement, vous doivent la lancer manuellement.

Si vous choisissez de ne pas installer une mise à jour, cela n'impacte pas l'utilisation de votre lave-linge. Néanmoins, Miele recommende d'insteller les mises à jour.

Mise en marche / Arret

La mise à jour à distance (RemoteUp-date) est activée par défaut. Une mise à jour disponible est automatiquement téléchargeée et doit être installée manuellement.

Désactivez la mise à jour à distance (RemoteUpdate) si vous ne souhaitez pas un téléchargement automatique des mises à jour.

Déroulement de la mise à jour à distance (RemoteUpdate)

Des informations sur le contenu et l'endetue des mises à jour sont disponibles sur l'application Miele@mobile.

Un message s'affiche sur l'écran de votre lave-linge, dés qu'une mise à jour est disponible.

Voussouspoucezinstallerimmediatement lamisea jour ou differer l'installation.La question est reposée lors de la remise en marchedu lave-linge.

Si vous ne souhaitez pas installer la mise à jour, désactivez la mise à jour à distance (RemoteUpdate).

La mise à jour peut prendre quelques minutes.

Respectez les points suivants pour la fonction de mise à jour à distance :

  • Tant que vous ne receivez pas de notification, aucune mise à jour n'est disponible.
  • Une fois qu'une mise à jour est installée, vous ne pouvez pas revenir à une version précédente.
  • N'éteignez pas le lave-linge pendant la mise à jour. Dans le cas contraire, la mise à jour sera interrompue et ne sera pas installée.
  • Certaines mises à jour du logiciel peuvent uniquement être réalisées par le service après-venture Miele.

Une large gamme de lessives, de produits complémentaires de soin du linge, d'additifs et de produits d'entretien des apparciels est disponible pour ce lavage-linge. Tous ces produits sont adaptés aux lave-linge Miele.

Vous pouvez commander ces articles et bien d'autres encore sur Internet sous shop.miele.fr. Vous pouvez également vous les procurer auprès du service après-vente Miele et de votre revendeur Miele.

Lessives

Miele UltraPhase 1 et 2

  • Lessive liquide à 2 composants actifs pour le linge blanc et de couleur
  • Pour des couleurs vives et un blanc éclatant
  • Élimination efficace des taches, même à basse température

Miele UltraPhase 1 et 2 Sensitive

  • Lessive liquide à 2 composants actifs pour le linge blanc et de couleur
  • Sans parfum ni colorant : adapté pour les peaux sensibles
  • Propriétés écologiques certifiées par l'écolabel Le Cygne Blanc
  • Élimination efficace des taches, même à basse température

UltraWhite (lessive en poudre)

  • Résultats parfaits à 20/30/40/60/95 °C
  • Une blancheur éclatante grâce à sa forte teneur en oxygène actif et en agents blanchissants
  • Élimination efficace des taches, même à basse température
  • Excellents résultats de lavage à 20/30/40/60 °C
  • Formule protectrice pour des couleurs toujours éclatantes
  • Élimination efficace des taches, même à basse température
  • Pour les couleurs - ajusté pour les peaux sensibles
  • Sans perfums ni colorants
  • Propriétés écologiques certifiées par l'écolabel Le Cygne Blanc

Lessive pour linge délicat WoolCare (lessive liquide)

  • Pour la laine, la soie et les textiles délicats
  • Formule spéciale aux protéines de ble et protection des couleurs
  • Excellents résultats de lavage à 20/30/40/60 °C

Lessives spéciales

Ces lessives spéciales sont disponibles sous forme de caps pour un dosage unique pratique.

Caps Sport

  • pour textiles synthétiques
  • Neutralise les odeurs grâce à un absorbeur d'odeurs
  • Prévient le chargement électrostatique des vêtements
  • Préserve la forme et les propriétés respirantes des textiles synthétiques

Caps DownCare

  • pour duvets
  • Préserve l'élasticité et les propriétés respirantes des duvets
  • Nettoyage efficace et entretien doux grâce à la lanoline
  • Les duvets ne collent pas et restent légers

Caps WoolCare

  • Lessive pour la laine et les textiles délicats
  • Formule de soin spéciale à base de protéines de blé
  • Technologie de protection des fibres contre le feutrage
  • Formule de protection des couleurs pour un lavage en douceur

Caps Outdoor

  • Lessive spéciale pour vêtements de travail de qualité supérieur
  • Protège les fonctions de membrane des vêtements de travail de haute qualité

  • Préserve la forme et les propriétés respirantes des textiles synthétiques

  • Neutralise les odeurs grâce à un absorbeur d'odeurs

Caps UltraDark

  • Lessive spéciale pour linge noir et foncé
  • Formule de protection des couleurs pour un lavage en douceur
  • Effet anti-bouloches : empêche vos vêtements de ternir
  • Préserve durablement l'intensité des couleurs

Caps CottonRepair

  • Lessive spéciale pour textiles en coton
  • Ravive visiblement les textiles en un seul lavage.
  • Formule spéciale Miele avec la technologie Novozymes.
  • Élimine les bouloches et ravive l'éclat des couleurs
  • Utiliser au maximum 1 à 2 fois par an et par piece de linge.

Caps SilkCare

  • Lessive pour la soie et les textiles délicats
  • Formule spéciale à base de protéines de soie
  • Préserve la douceur typique des textiles en soie
  • Nettoyage délicat pour la protection des fibres de soie

Produits complémentaires de soin du linge

Ces produits complémentaires de soin du linge sont disponibles sous forme de caps pour un dosage unique pratique.

Cap Adoucissant

  • Adouciassant pour un perfume de fraîcheur
  • Pour un lavage parfait en toute simplicité
  • Pour du linge d'une douceur incomparable
  • Prévient le chargement électrostatique des vêtements

Cap ImpraProtect

  • Imperméabilisant pour vêtements de sport et de pluie
  • Effet hydrofuge, coupe-vent et anti-salissure
  • Préserve les propriétés respirantes des textiles

Additifs

Les additifs sont disponibles sous forme de caps pour un dosage unique pratique.

Cap Booster

  • Detachant ultra-puissant
  • Technologie enzymatique contre les taches tenaces
  • Pour les textiles blancs et de couleur
  • Pour d'excellents résultats de lavage, même à basse température

Entretien de l'appareil

TwinDosCare

  • Produit de nettoyage pour système de dosage TwinDos
  • À utiliser avant une pause prolongée d'utilisation (2 mois min.)
  • À utiliser avant de changer de produit lessiviel

Détartrant

  • élimine les dépôts de calcaire importants
  • doux grâce à l'acide citrique naturel
  • Protège les thermo-plongeurs, tambours et autres éléments

IntenseClean

  • Pour une hygiène parfaite de votre lave-linge
  • Elimine les graisses, bacteries, et odeurs qui en decoulent
  • Nettoyage efficace en profondeur

Tabletes de détartrage

  • Réduit la dose de lessive nécessaire pour une eau très calcaire
  • Moins de résidus de lessive sur les tissus
  • Moins de produits chimiques déversés dans les eaux usées

MIELE France

Siège social

9 avenue Albert Einstein - Z. I. du Coudray

93151 - Le Blanc-Mesnil CEDEX

R.C.S. Bobigny B 708 203 088

Miele Experience Center

Paris Rive Droite

55 Boulevard Malesherbes

75008 Paris

Miele Experience Center

Paris Rive Gauche

30 rue du Bac

75007 Paris

Miele Experience Center Nice

Secteur Cap 3000

285 avenue de Verdun

06700 Saint-Laurent du Var

MIELE LAVE-LINGE-WCI860-WCS - Miele Experience Center Nice - 1

Internet

www.miele.fr

MIELE LAVE-LINGE-WCI860-WCS - Miele Experience Center Nice - 2

La ligne Consommateurs

Conseilis, SAV, accessoires et piées détachées

0974501000

Appel non surtaxé

Siège en Allemagne

Miele & Cie. KG

Sommaire Cliquez un titre pour y accéder
Assistant notice
Powered by ChatGPT
En attente de votre message
Informations produit

Marque : MIELE

Modèle : LAVE-LINGE-WCI860-WCS

Catégorie : Lave-linge