F 32202 I - Réfrigérateur encastrable MIELE - Notice d'utilisation et mode d'emploi gratuit
Retrouvez gratuitement la notice de l'appareil F 32202 I MIELE au format PDF.
| Type de produit | Congélateur encastrable |
| Capacité nette | 213 litres |
| Dimensions approximatives | Hauteur : 177 cm, Largeur : 56 cm, Profondeur : 55 cm |
| Poids | 75 kg |
| Classe énergétique | A++ |
| Type de froid | Froid statique |
| Niveau sonore | 42 dB |
| Fonctions principales | Fonction SuperFrost, régulation électronique de la température |
| Entretien et nettoyage | Dégivrage manuel, nettoyage intérieur avec un chiffon humide |
| Pièces détachées et réparabilité | Disponibilité des pièces détachées Miele, réparabilité facilitée |
| Sécurité | Système de verrouillage, alarme de température |
| Compatibilités | Compatible avec les cuisines encastrées standard |
| Alimentation électrique | 220-240 V, 50 Hz |
| Consommation énergétique annuelle | 250 kWh |
FOIRE AUX QUESTIONS - F 32202 I MIELE
Questions des utilisateurs sur F 32202 I MIELE
0 question sur cet appareil. Repondez a celles que vous connaissez ou posez la votre.
Poser une nouvelle question sur cet appareil
Téléchargez la notice de votre Réfrigérateur encastrable au format PDF gratuitement ! Retrouvez votre notice F 32202 I - MIELE et reprennez votre appareil électronique en main. Sur cette page sont publiés tous les documents nécessaires à l'utilisation de votre appareil F 32202 I de la marque MIELE.
MODE D'EMPLOI F 32202 I MIELE
Mode d'emploi et notice de montage Congélateur

Lisez impératifement cette notice d'utilisation et de montage avant d'installer et de mettre en service votre apparéil.
Vous assurerez votre protection et évitez d'endommager votre apparéil.
Table des matieres
Description de l'appareil 4
Votrecombributionaipalprotectionde l'environnement 6
Prescriptions de sécurité et mises en garde 7
Comment faire des économies d'énergie? 16
Mise en marche et arrêt de l'appareil 18
Avant la première utilisation. 18
En cas d'absence prolongée. 19
Choisir laonne temperature 20
Affichage de la températe 20
Régler la températe 21
Réglages 22
Mode de réglage 22
Activation/désactivation du verrouillage. 22
Utilisation de la fonction SuperFrost 24
Fonction SuperFrost. 24
Température et alarmé de porte 25
Alarmesonore pour la porte 25
Désactiver l'alarme sonore 25
Congélation et la conservation 26
Pouvoir de congélation maximal 26
Processus de congélation pour les produits frais. 26
Conservation de produits surgelés 26
Congélation de produits 27
Conseils pour la congélation 27
Emballages. 27
Avant la congélation 28
Mise en congélation 28
Décongélation de produits congélés 29
Rafraîchissement rapide de boissons 29
Dégivrage 30
Nettoyage 32
Intérieur, accessoires 33
Ouvertures d'aération 34
Joint de porte 34
En cas d'anomalie 35
Origines des bruits 42
Service après-venture/Garantie 43
Conditions et durée de garantie 43
Informations pour instituts de contrôle 44
Branchementélectrique 45
Instructions de montage 46
Lieudinstallation 46
Classe climatique 47
Aération et évacuation d'air 47
Avant l'encastrement 48
L'ancien apparéil avait-il un autre type de charnière ? 50
Façade inox 50
Cotes d'encastrement 51
Inversion du sens d'ouverture de porte 52
Encastrement 55
Montage de la portedu meuble 63
71
Bandeau de commande

① Touche Marche/Arret
② Touche SuperFrost
③ Ecran
④ Symbole Menu (mode de réglage : activer/ désactiver le verrouillage)
⑤ Symbole SuperFrost
⑥ Symbole de verrouillage
⑦ Affichage de la température
⑧ Touche de réglage de la température
⑨ Touche "Suppression alarme sonore"

① Bandeau de commande
②Tiroirs de congélation
Emballages de transport
Nos emballages protègent votre appar-reil à café des dommages pouvant sur-venirpendant le transport.
Conservez le carton d'origine et les pièces en polystyrene afin de pouvoir transporter votre apparéil en toute sécurité en cas de déménagement. Vous doivent aussi conserver vos emballages d'origine dans l'éventualité d'une réparation, ce qui vous permettra d'envoyer votre apparéil au service après-Miele dans les autres conditions.
Votre ancien apparéil
Les apparêils ELECTriques et électroniques dont on se débarrassé contient pourment souvent des matériaux précieux. Cependant, ils contient aussi des substances toxiques nécessaires au bon fonctionnement et à la sécurité des apparêils. Si vous déposez ces apparêils usagés avec vos ordures menagères ou les manipuez de manière inadéquate, vous risquez de nuir à votre santé et à l'environnement. Ne jetez jamais vos anciens apparêils avec vos ordures menagères!

Faites appel au service d'enlèvement mis en place par votre commune ou rapportez votre apparéil dans un point de collecte spécifique dédié à l'évacuation de ce type d'appareils.
Afin de prévenir tout risque d'accident, veuillez garder votre ancien apparéil hors de portée des enfants jusqu'à son enlevvement.
Cet apparéil répond aux réglementations de sécurité en vigueur. Une utilisation inappropriée est néanmoins susceptible d'occasionner des dommages corporels et matériels.
Lisez attentivement cette notice avant demettre votre apparéil en service. Elle contient des informations importantes sur le montage, la sécurité, l'utilisation et l'entretien de votre apparéil. Respectez ces consignes pour vous protégger et éviter d'endomma-ger votre apparéil.
Miele ne peut être tenu pour responsable des dommages liés au non-respect des prsentes prescriptions de sécurité.
Veuillez conserve rce document à disposition et le remetre au futur propriete en cas de cession de votre apparéil !
Utilisation conforme
Cet apparéil est destiné à être utilisé dans le cadre domestique ou dans des conditions d'installationsemblables au cadre domestique.
Il n'est pas destiné à une utilisation à l'extérieur.
Utilisez cet apparéil dans le cadre domestique exclusivement pour conserver ou rafraîchir des alimentés et préparer des glaçons. Toute autre utilisation est à proscire et peut s'avérer dangereuse.
Prescriptions de sécurité et mises en garde
L'appareil ne convient pas au stockage et au refroidissement de médicaments, de plasma sanguin, de préparations de laboratoire ou de substances ou produits similaires qui entrent dans le cadre de la directive relative aux dispositifs Médicaux. Une utilisation non conforme de cet apparéil risque d'alterer ou d'endommager les produits qui y sont stockés. Par ailleurs, n'utilise pas cet apparéil dans des zones potentiellement explosives.
Miele décline toute responsabilité en cas d'utilisation non autorisée ou inappropriée de l'appareil.
Les personnes qui en raison de déficiencies physiques, sensorielles ou mentalles, de leur manque d'expérience ou de leur ignorance, ne sont pas aptes à utiliser cet apparéil en toute sécurité doitIMPérativement être surveillées pendant qu'elles l'utilisent.
Un usage sans surveillance n'est autorisé que s'il leur a été préalablement expliqué comment utiliser cet apparéil sans danger. Vérifiez que ces personnes ont compris les risques encourus en cas de mauvaise manipulation!
Précautions à prendre avec les enfants
Tenez les enfants de moins de huit ans éloignés de l'appareil à moins qu'ils ne soient sous étroite surveillance.
Les enfants de huit ans et plus ne sont autorisés à utiliser l'appareil sans la présence d'un adulte que s'il leur a été expliqué comment l'utiliser sans danger. Vérifiez qu'ils ont compris les risques encourus en cas de mauvaise manipulation.
Les enfants ne sont pas autorisés à procéder au nettoyage ou à l'entretien de l'appareil hors de la surveillance d'un adulte.
Ne laissez pas les enfants sans surveillance à proximité de l'appareil. Ne les laissez pas jouer avec l'appareil.
Risque d'asphyxie! Les enfants se mettent en danger en s'enveloppant dans les matériaux d'emballage (film plastique, par exemple) ou en glissant leur tete à l'intérieur. Tenez les matériaux d'emballage hors de portée des enfants.
Sécurité technique
Le circuit du fluide frigorigène a fait l'objet d'un contrôle d'étanchéité. L'appareil est conforme aux dispositions de sécurité ainsi qu'aux directives européennes en vigueur.
Cet apparéil contient de l'isobutane (R600a), un gaz naturel sans danger pour l'environnement, mais inflammable. Il ne nuit pas à la couche d' ozone et n'augmente pas l'effet de serre.
L'utilisation de ce fluide frigorigène peu polluant a pour contrepartie d'augmenter le niveau sonore de l'appareil. Il se peut en effet qu'un bruit d'écoulement interne au circuit de refroidissement accompagne lessons caractéristiques du compresseur. Ces effets incontournables n' affectent en rien les performances de l'appareil.
Veillez à n'endommageraucun élément du circuit de réfrigération lors du transport, de l'encastrement et de l'installation de l'appareil.
Les projections de fluide frigorigène dans les yeux peuvent provoquer des lésions graves!
En cas de dommages matériels :
- n'allumez ni briquet, ni bougie ni,aucun objet susceptible de provoquer une etincelle dans la piece,
- débranchez l'appareil du réseau électrique,
- aéréz la piece où se trouve l'appareil pendant quelques minutes puis
- contactez le service après-vente.
Prescriptions de sécurité et mises en garde
Laaille de la pièce où est installé l'appareil doit être proportionnelle à la quantité de fluide frigorigène qu'il contient. En cas de fuite, le gaz se mélangeant à l'air ambiant créé un composé qui peut s'avérer inflammable dans une pièce trop petite.
Le volume de la piece doit être au moins d'un ^3 pour 8 g de réfrigérant. La quantité de fluide frigorigène est indiquée sur la plaque signalétique apposée à l'intérieur de l'appareil.
Les données de raccordement (tension et fréquence) figurant sur la plaque signalétique de l'appareil doivent impérativement correspond à celles du réseau électrique pour éviter d'endommager votre apparéil.
Comparez ces données avant de brancher votre apparéil et interrogez un électricien en cas de doute.
Seul un raccordement à une prise de terre conforme garantit un fonctionnement de l'appareil en toute sécurité. Attention : Cette règle de sécurité élémentaire doit absolument être respectée ! En cas de doute, faites vérifier vos installations par un électricien.
Si le cordon d'alimentation électrique de votre apparéil est endommagé, faites appel à un technicien/agréé par Miele exclusivement, afin d'éviter de faire courir le moindre danger à l'utilisateur.
N'utilisez pas les rallonges ou multiprises pour brancher votre apparéil : elles représentent un danger potentiel (risque d'incendie).
Si l'humidité atteint des éléments sous tension ou le cable d'alimentation, il y a risque de court-circuit.
N'installez jamais cet apparéil dans des locaux potentiellement humides ou avec risques d'éclaboussures (garages, bunderies etc.).
Cet apparéil ne doit pas être utilisé sur des engins en mouvement.
N'utilisez jamais votre apparéil si ce dernier est endommagé : il représenté un danger potentiel. Vérifiez que votre apparéil ne présente aucun dommage apparent avant de l'utiliser.
Pour garantir un fonctionnement en toute sécurité, utilisez cet appar. pareil encastre uniquement.
Débranchetzousjoursl'appareilavantoutode operationde maintenance/ réparation.L'appareilest débranché du secteur électriquesi etseulementsi l'une des conditions suivantes est remplie:
- le fusible correspondant est déclenché
- les fusibles à filetage (non disponibles en France) sont totalement dévissés de l'installation électrique ou
- la prise de l'appareil est débranchée.
Ne tirez jamais sur le cordon d'alimentation mais tenez la prise fermement pour débrancher l'appareil du secteur.
Des travaux d'installation, d'entretien ou de réparation non conformes peuvent entrainer de graves dangers pour l'utilisateur. Seuls des professionnelnels agréés par Miele sont habilités à réaliser des travaux d'installation, d'entretien ou de réparation sur votre apparéil.
Les bénéfices liés à la garantie sont perdus en cas de réparation de l'appareil par un SAV non agréé par Miele.
Les pieces de rechange d'origine sont les seules dont Miele garantit qu'elles replissent les conditions de sécurité. Ne remplacez les pieces défectueuses que par des pieces détachées d'origine.
Prescriptions de sécurité et mises en garde
Précautions d'emploi
Notre apparéil est conçu pour fonctionner pour une classe climatique donnée (plage de température ambiente).
Veuillez respecter les limites indiquées sur la plaque signalétique à l'intérieur de l'appareil. Une température ambiente inférieure provoque un arrêt prolongé du compresseur, avec pour conséquence de faire descendre les zones de froid sous les températures requises.
Ne recouvrez et n'obstruez jamais les ouvertures d'aération et d'évacuation de l'air, faute de quoi la ventilation ne serait plus assurée, la consommation en électricité augmenterait et les éléments de l'appareil risqueraient d'être endommages.
Si vous conservez des matieres grasses dans la contreporte, veillez à ce que ces dernières ne s'écoulent pas sur les parties plastifiées de l'appareil : le plastique est susceptible de se fissurer puis de casser.
Ne stockez pas de produits explosifs ou de sprays dans l'appareil. Certains gaz inflammbables risquent de prendre feu en presence de composants électriques. Risque d'incendie et d'explosion!
N'utilisezaucunappareilelectriquea l'intérieur du réfrigérateur (ex.: fabrication de glaces à l'italienne par ex.). Il peut y avoir apparition d'étincelles. Risque d'explosion!
N'entreposez ni canette, ni bouteille contenant des boissons gazesuses dans la zone de congélation de l'appareil : ces contenant sont susceptibles d'éclater. Risque de dommages corporels et matériels !
Ne laissez pas les bouteilles plus d'une heures dans la zone de congélation si vous les y avez mises à rafraîchir : elles risquent d'éclater. Risque de dommages corporels et matériels !
Essuyez-vous les mains avant de toucher les produits entreprises ou les éléments métalliques du congélateur. Mouillées, vos mains peuvent rester collées. Risque de blessures!
Ne consommez jamais de glaçons ou d'esquimaux, surtout les sorbets, qui viennent de sortir du congélateur. Vos levres et votre langue peuvent geler instantanément au contact de températures très froides. Risque de blessures!
Ne recongelez jamais d'aliments qui ont eté partiellement ou totallement décongelés. Consommez-les au plus vite avant qu'ils ne perdent toute valeur nutritive, voire qu'ils deviennent improupres à la consommation. Vous pouvez toutefois faire congeler des aliments que vous avez faits cuir vous-même.
Ne consommez pas d'aliments qui ont dépasse la date limite de
congélation : vous risquez une intoxication ! La durée de conservation des alimentés dépend de nombreux facteurs dont leur degré de
fraîcheur, leur qualité et leur température de conservation.
Respectez la date limite de consommation et les indications prsentes sur les emballages !
N'utilisez que des accessoires d'origine Miele. Le montage d'autres pieces exclut tout bénéfice de la garantie.
Nettoyage et entretien
N'utilisez pas de corps gras pour le joint de porte : il risque de devenir poreux.
N'utilisez jamais de nettoyeur vapeur pour nettoyer / dégivrer votre apparéil : la vapeur pourrait se déposer sur les éléments conducteurs d'électricité et provoquer un court-circuit.
N'utilisez pas d'objets pointus ou coupants pour :
- retirer le givre ou la glace,
- décoller les glaçons et alimentés pris dans la glace.
Vous risquez de percer le circuit frigorifique et de rendre l'appareil inutilisable.
Ne placez jamais d'appareils électriques ou de bougies dans le congélateur pour accélérer le dégivrage. Vous risquez d'abîmer le plastique.
N'utilisez jamais de bombes dégivrantes : ces dernières risquent de diffuser des gaz explosifs et peuvent contir des solvants ou des agents propulseurs qui abîment le plastique et nuisent à la sanité.
Transport
Laissez toujours votre apparéil à la verticale pendant le transport. Transportez-le dans son emballage pour le protégger.
Cet apparéil est très lourd : faîtes-vous aider pour le transporter. Risques de dommages corporels et matériels !
Votre ancien apparéil
Pour éviter que les enfants ne s'enferment dans un apparéil dont vous souhaitez vous débarrasser et se mettent en danger, faites en sorte que la serrure de l' apparéil ne puisse plus être utilisée.
N'endommagez aucune piece du circuit frigorifique :
- ne percez pas les conduits de l'évaporateur contenant du frigorigène,
- ne coudez pas les tubulures,
- ne grattez pas les revêtements de surface,
Les projections de fluide frigorigène peuvent provoquer des lésions oculaires!
Comment faire des économies d'énergie?
| Consommation énergétique normale | Consommation énergétique élevé | |
| Installation / Entre-tien | dans des locaux aérés | dans des locaux fermés, non aérés |
| pas d'exposition directe à la lumière du soleil | exposition directe à la lu-mière du soleil | |
| éloigné d'une source de chaleur (chauffage, ciusi-nière) | préès d'une source de cha-leur (chauffage, ciusinière) | |
| température ambiente idéale d'env. 20 °C | température ambiente élevé | |
| Ne recouvre pas les fentes d'aération et dépoussiérez régulièrement. | Fentes d'aération et d'éva-cuation d'air plus ou moins empoussierées | |
| Réglage de la température | Zone de congélation à -18°C | Réglage de température faible : plus la température de la zone de réfrigération / congélation est BASSE, est BASSE, plus la consomma-tion énergétique est élevé !! |
| Utilisation | Disposition des clayettes en bois et des tiroirs conformes à la sortie d'usine | |
| Ouvrir la porte si nécessaire seulement et la referrer le plus vite possible. Bien ranger vos alimentents | Des ouvertures de portes tropérées et trop longues en-traitement des pertes de froid et une pénetration d'air chaud dans l'appareil. L'appareil doit ensuite faire redescendre la température. La durée de fonctionnement du compresseur augmente. | |
| Lorsque vous faites vos cour-ses, emportez un sac iso-therme et placez-y les ali-ments le plus rapidement pos-sible. Ranger les alimentents au froid le plus vite possible pour ne pas briser la chaîne du froid. Laisser refroidir les boissons et les alimentents chauds avant de les ranger dans l'appareil | Les plats encore chauds et les alimentents à température ambiante font pénétrer de la cha-leur dans l'appareil : ce der-nier doit ensuite faire redesc-cendre sa température et la durée de fonctionnement du compresseur augmente. | |
| Emballer et couvir les ali-ments avant de les ranger | L'évaporation et la condensa-tion de liquides contribue à une moindre performance de la production de froid. | |
| Pour une meilleure ventilation de l'appareil, ne pas surchar-ger les compartments | ||
| Dégivrage | Dégivrer le congélateur lorsque la couche de givre at-teint 0,5 cm max. | Quand la couche de glace s'épaissit, la production de froid diminue et la consomma-tion d'électricité augmente. |
Avant la première utilisation
Emballages de transport
Retirez tous les matériaux d'emballage qui se trouvent à l'intérieur de l'appareil.
Nettoyage
Respectez les remarques du chapitre "Nettoyage et entretien".
Nettoyez l'intérieur de l'appareil et les accessoires à l'eau tiède.
Mise en marche

■ Appuyez sur la touche Marche/ Arret.
L'appareil commence à refroidir et l'affichage de la température indique la température souhaitée. L'affichage de la température et le symbole de l'alarme clignotent jusqu'au moment où la température souhaitée est atteinte. L'éclairage interieur s'allume lorsque vous ouvre la porte.
Laissez l'appareil fonctionner quelques heures avant d'y déposer des aliments pour que la température soit suffisamment basse.
Eteindre l'appareil

■ Appuyez sur la touche Marche/Arrêt jusqu'à ce que l'affichage s'éteint.
La production de froid s'arrête. Dans le cas contraire, le verrouillage s'enclenche (voir : "Autres réglages - Dé-sactiver le verrouillage").
En cas d'absence prolongée
Si I'appareil doit rester longtemps sans fonctionner :
éteignez l'appareil,
debranchez la fiche de la prise ou déclenchez le fusible de l'installation domestique,
dégivrez l'appareil, nettoyez-le et
laissez les portes entrouvertes pour éviter l' apparition de mauvaises odeurs.
En cas d'arrêt prolongé de l'appareil, de la moisissure risque de se former si la porte reste fermée et que l'appareil n'a pas été nettoyé.
Il est primordial de selectionner une températe correcte afin de bien conserver les alimentes. Ceux-ci s'abient vite sous l'action de micro-organismes. Une bonne températe de conservation peut retarder, voir empêcher leur dégradation. Plus la températe baisse et plus ce processus ralentit.
Il faut obtenir une température de -18 °C pour congefer des alimentes frais et les conserver longtemps. A cette température le développement des micro-organismes est très faible mais dés que la température dépasse les - 10 °C, la décomposition des alimentes par les micro-organismes reprend et ils se conservent moins longtemps. Aussi ne faut-il jamais reconguérer des alimentes partiellement ou totalement décongelés à moins qu'ils aient été cuits depuis leur décongélation. Les micro-organismes sont éliminés par des températures élevées.
La température à l'intérieur de l'appareil augmente proportionnellement à :
- la fréquence et la durée d'ouverture de porte,
- la quantité d'aliments surgelés conservés
- la chaleur des alimentes mis à conge-ler,
- en fonction de la température ambiente de la pierce ou est installé l'appareil.
Cet apparéil est prévu pour une classe climatique (température ambiente) précise dont il faut respecter les limites.
Affichage de la températe
L'affichage de température sur le bandeau de commande indique toutes la température souhaitée pour la zone de réfrigération.
Si you souhaitez que l'appareil fonctionne à -18 °C,
■ appuyez sur la touche de réglage de température jusqu'à ce que -18 soit indiqué au niveau de l'affichage.
Régler la température

- Appuyez sur la touche de réglage de température, jusqu'à ce que la temperature souhaitation soit indiquée au niveau de l'affichage.
A la première pression, la dernière température sélectionnée s'affiche en clignotant.
La valeur de température change continulement. Si le réglage -28 °C est atteint, le défilament reprend à -15 °C.
La nouvelle valeur de température sélectionnée est reprise automatiquement au bout d'un certain temps et s'affiche sur l'écran.
La température dans l'appareil se règle maintenant progressivement pour atteindre la nouvelle valeur sélectionnée.
Mode de réglage
Dans le mode de réglage permet d'activer / désactiver le verrouillage.
Activation / déactivation du verrouillage
C
Le mode de réglage est indiquédans l'affichage par le symbole Menu 三
L'activation et la désaction duverrouillage sont décrites ci-dessous :
Activation / déactivation du verrouillage
Grâce au verrouillage vous pouvez évi-ter que l'appareil soit mis hors tension.
- Activation du verrouillage

Appuyez environ 5 s sur la touche SuperFrost.
Le symbole Menu brille et c clignote sur I'ecran d'affichage.
Le mode de réglage est maintainant activé.

- Appuyez rapidement sur la touche SuperFrost pour appeler la fonction Verrouillage.
L'écran d'affichage indique c1.

- Appuyez rapidement sur la touche SuperFrost pour activer la fonction Verrouillage.
Le symbole Verrouillage clignote.
Pour quitter le mode de réglage :

Appuyez sur la touche Marche/Arrêt. L'affichage indique la température.
- Désactivation du verrouillage

- Appuyez environ 5 s sur la touche SuperFrost.
Le symbole Verrouillage et le symbole Menu s'allument et sur l'écran d'affichage c clignote. Le mode de réglage est maintainant activé.

- Appuyez rapidement sur la touche SuperFrost pour appeler la fonction Verrouillage.
L'écran d'affichage indique c0.

Appuyez rapidement sur la touche SuperFrost pour désactiver la fonction Verrouillage.
Le symbole Verrouillage s'eteint. Pour quitter le mode de réglage :

Appuyez sur la touche Marche/Arrêt. L'affichage indique la température.
Fonction SuperFrost
Enclenchez la fonction SuperFrost afin de congeler les alimentes frais dans les dernières conditions.
Cette fonction permet deCongeler les alimentes a coeur dans un laps de temps tres court afin de preserver leurs valeurs nutritives, leurs vitamines, leur aspect et leur gout.
Exceptions :
- lorsque vous déposez des alimentés déjà congelés dans votre congélateur.
Lorsque you congelez seulement jusqu'à 1
Activé la fonction SuperFrost
Il faut activer la fonction SuperFrost 6 heures avant de déposer les alimentés à congeler. Si vous utilisez le pouvoir de congélation maximal de votre apparéil, activez la fonction SuperFrost 24 heures au préalable.

- Appuyez à nouveau sur la touche SuperFrost.
Le symbole SuperFrost s'allume. La température dans l'appareil baisse étant donné que ce dernier fonctionne à sa capacité maximale.
Désactiver la fonction SuperFrost.
La fonction SuperFrost s'eteint automatiquement au bout d'environ 65.
Afin d'économiser de l'énergie, vous pouvez déclencher la fonction SuperFrost plus tout :

appuyez sur la touche SuperFrost de maniere à ce que le symbole s'eteint.
L'appareil se remet à fonctionner à puissance frigorifique normale.
L'appareil est équipé d'une alarme sonore pour éviter que la température dans la zone de congélation n'augmente sans que l'on s'en aperçoive et afin d'éviter une perte d'énergie si la porte de l'appareil devant rester ouverte.
Alarme de température
Si la température dans la zone de
congélation monte trop, l'alarme sonore émet un son d'alarme. L'affichage de température et le symbole d'alarme clignotent simultanément.
Cette limite est déterminée par le réglage du sélecteur de température.
Le signal optique et sonore pourrait par exemple s'enclencher lorsque
- lors de la congélation d'une grossse quantité d'aliments,
- si vous congelez des aliments encore chauds,
- si la porte reste ouverte pendant un certain temps pour déposer, trier, ou sortir des produits congelés.
- en cas de panne de courant
- si l'appareil est défectueux :
Dés que l'état critique est passé, le signal sonore s'arrête et le symbole Alarme s'éteint.
Si la température reste au-dessus de - 18 °C pendant un temps prolongé, vérifie si les alimentés sont décongelés (partiellement ou totalement). Dans ce cas, consommez les alimentés le plus rapidement possible ou cuisine-les avant de les recon-geler !
Alarme sonore pour la porte
Si la porte de l'appareil reste ouverte pendant plus de 60 secondes environ, l'alarme sonore est activée.
Dès que la porte est refermée, le signal sonore s'arrête.
Désactiver l'alarme sonore
Si l'alarme sonore vous dérange, vous avez la possibilité de la désactiver.

Appuyez sur la touche Arrêt de l'alarme sonore.
L'alarme s'arrête.
En cas d'alarme de température, le symbole Alarme reste allumé en continu et ne s'éteint qu'une fois l'état de l'alarme est terminé.
Pouvoir de congélation maximal
Pour que la congélation des alimentés s'effectue le plus rapidement possible, il convient de ne pas dépasser la capacité maximale de congélation. Vous trouverez la capacité maximale de congélation en 24 heures sur la plaque signalétique : « Capacité de congélation … kg/24 h »
La capacité de congélation maximale indiquée a été déterminée en conformité avec la norme DIN EN ISO 15502.
Processus de congélation pour les produits frais.
Les alimentés frais doivent être congelez à cœur aussi rapidement que possible afin de conserver leur valeur nutritive, vitamines, aspect et goût.
Plus les alimentés sont congelés lente-ment, plus la quantité de liquide qui s'échappe de chaque cellule est importante. Les cellules se recroquevillent alors.
Lors de la congélation, seule une partie du liquide qui s'est échépée peut returner dans les cellules.
Concretement, ceci signifie que la perte de saveur des alimentés est plus importante. Ceci se manifeste par la flaque d'eau qui se forme autour de l'aliment lorsque vous le décongelez.
Si les produits sont congelésrapidement,le liquide a moins de temps pour s'échapper des cellules et passer dans les cavités. Les cellules se contractent bien moins.
Lors de la déconnégation, la faible
quantité de liquide qui est passée dans les cavités peut revenir dans les cellules, et la perte de jus est moindre.
Seule une petite tache d'eau se forme!
Conservation de produits surgelés
Pour conserver des produits surgelés vendus dans le commerce, contrôle lors de l'achat dans le magasin
- si I'emballage n'est pas abimé,
- la date limite de conservation et
- la température du réfrigérateur dans lequel l'aliment est vendu. Si la température est supérieure à -18 °C, les produits surgelés se conservont moins longtemps.
■ Prenez les produits surgelés en dernier et transportez-les dans un sac isotherme ou du papier journal. - Rangez vos produits surgelés dans votre congélateur immédiatement à votre retard.
Ne recongelez pas les marchandises décongelées ou partiellement décongelées. Recongelez-les seulement après les avoir cuinés (en les faisant cuire ou griller).
Congélation de produits
Ne congelez que des produits frais et de première qualité !
Conseils pour la congélation
Aliments pouvant etre congelés: viande, volaille, gibier, poissons, legumes, fines herbes, fruits crus, produits laitiers, pâtisseries, plats ciñnes.
- Aliments pour lesquels la congélation est déconseillée :
raisins, salute, radix, oignons, pommes et poires entieres crues, mayonnaise, oeufs entiers dans leur coquille, viandes grasses.
Pour préserver la couleur, le goût, l'arôme et la vitamine C de vos légumes, blanchissez-les avant de les congeler. Pour ce faire, faites cuire vos légumes, portion par portion, à l'eau bouillante pendant 2 - 3 minutes. Retirez ensuite les légumes et refroidissez-les rapidement sous l'eau froide. Égouttez enfin les légumes.
-La viande maigre se congèle比较好 que la viande grasse et se conserve beaucoup plus longtemps.
- Séparez les côtelettes, biftecks, escalopes et autres viandes avec un film plastique pour éviter qu'ils congélent en bloc.
- N'assaisonnez pas les aliments crus et les légumes blanchis avant de les congeler et assaisonnez légèrement les plats cuisinés. Certaines épices changent l'intensité du goût lors de la congélation.
- Faites refroidir les alimentes et boissons chaudes avant de lesmetre aucongélateur pour éviter un début dedéconnélation pour les autres produits déjà congelés et une augmentation de la consommation d'électricité.
Emballages
Congelez par portions.
- sacs de congélation en plastique
- rouleaux de film à souder en polyéthylène
- feuilles d'aluminium
- barquettes de congélation
Emballages à éviter
- papier d'emballage
- papier sulfurisé
- cellophane
- sac poubelle
- sacs plastiques utilisés pour les courses.
Chassez l'air de l'emballage.
Fermez l'emballage hermétiquement avec
-caoutchoucs
-clips plastique
- attaches ou
- autocollants spéciaux pour condensation.
Vous pouvez bien entendu utiliser un apparéil pour souder les sacs et films de congélation.
■ Inscrivez le contenu et la date de congélation sur l'emballage.
Avant la congélation
Si vous nevez congeler plus de 1 kg de produits frais, activez la fonction Superfrost (voir « Utilisation de la fonction Superfrost ») pendant quelques instants avant de ranger les alimentés dans le congélateur.
Les alimentés déjà congelés disposérer ont ainsi d'une réserve de froid.
Mise en congélation
Les quantités maximes de charge-ment suivantes doivent être respectées :
- tiroir de congélation = 25kg
- tablette en verre =
35 kgLes alimentés à congeler ne doit pas entraer en contact avec des alimentés déjà congélés afin d'éviter que ces derniers ne commencent à décongeler.
Veillez à ce que les emballages soient bien secs pour éviter une congélation en bloc.
- petite quantité d'aliments à conge-ler
Congeler les alimentés dans les tiroirs de congélation du bas.
-
Disposez les alimentés à congeler à plat sur le fond des tiroirs de condération afin que la condération à cœur se fasse le plus rapidement possible.
-
quantité d'aliments à congelermaximale (voir plaque signalé-tique)
Retirez le tiroir de congélation du bas.
Posez les alimentes à congefer en les disposant sur le fond de l'appareil ou en contact avec les parois laterales interieures afin que les alimentes puisent congefer rapidement.
Après le processus de congélation :
Déposez les alimentés congélés dans le tiroir de congélation et replacez-le.
-Aliments a congeler volumineux
Pour stocker des alimentents plus volumineux (par exemple, une dinde ou du gibier), vous pouvezPTRirer les tablettes en verre entre les tiroirs de congélation.
Retirez les tiroirs de congélation et soulevez légèrement les tablettes en verre souhaitées puis faites-les glisser vers l'avant !
Décongélation de produits congélés
Yououpezdecongelerlesaliments
- au micro-ondes,
- au four en mode "Chaleur tournante" ou "Décongélation",
- à température ambiente,
- au réfrigérateur (le froid sera utilisé pour refroidir les autres alimentés),
- au four vapeur.
Vous pouvez faire cuire les les morceaux de viande ou de poissons plats partiellement décongelés dans une poèle chaude.
Décongelez les morceaux de viande et de poisson (viande hachée, poulet, filets de poisson, etc.) de manière à éviter tout contact avec les autres alimentés. Récupérez l'eau de décongélation et jetez-la avec précaution.
Vous pouvez déconceler les fruits à température ambiente dans leur emballage ou dans un saladier couvert.
En général, les légumes peuvent être plongés dans l'eau bouillante ou cuits directement dans de laGRAISSÉchaude sans être décongelés. Leur temps de cuisson est un peu plus court que celui des légumes frais en raison de la structure cellulaire modifiée.
Ne recongelez pas les marchandises décongelées ou partiellement décongelées. Recongelez-les seulement après les avoir cuinés (en les faisant cuire ou griller).
Préparation de glaçons

- Remplissez le bac à glaçons à trois quarts avec de l'eau et posez-le sur le fond du compartment de congélation.
■ Aidez-vous d'un objet à bout rond, une cuillère par exemple pour détacher le bac à glaçons. - Les glaçons pourront plus facilement être retirés du bac à glaçons si vous les passezrapidement sous l'eau.
Rafraîchissement rapide de boissons
Si vous placez des bouteilles dans le congélateur pour les refroidir plus rapi-dement, enlevez-les au bout d'une heures maximum, sinon elles risquent d'éclater.
Lors du fonctionnement normal, du givre et de la glace se creent au fil du temps dans le congélateur, par exemple sur les parois interieures. L'intensité de la formation de glace ou de givre dépend des facteurs suivants :
- la porte de l'appareil a ete ouverte tropsoonvent et/ou pendant trop longtemps.
grosses quantités d'aliments frais congelezés en une seule fois - augmentation du taux d'humidité à l'intérieur de l'appareil
L'épaissur de la couche de glace a pour conséquence qu'on ne peut plus fermer la porte du compartment de congélation hermétiquement. De ce fait, la capacité de refroidissement diminue et la consommation énergétique augmente.
Dégivrez l'appareil de temps en temps, au plus tard lorsqu'il s'est formé une couche de glace d'environ 0, 5 cm par endroits.
Profitez de faire le dégivrage quand :
- peu ou pas d'aliments se trouvent dans le congélateur,
- le taux d'humidité est faible et la température de la pierce est)basse
N'utiliseaucunustensilepointuou acéré.Visypourriezendommager ledispositiffrigorifique de vourappeil qui risque de ne plus fonctionnercorrectement.
Avant le dégivrage
Activez la fonction Superfrost un jour avant le dégivrage. Cette mesure permet de refroidir suffisamment les produits congelés, qui accumulent une réserve de froid et peuvent donc résister plus longtemps à température ambiente sans décongeler.
Sortez les alimentés du congelateur puis enroulez-les dans du papier journal ou dans une couverture. Astuce : vous pouvez aussi conserver les alimentés congelés dans une glacière.
- Conserve les produits congélés dans un endroit froid, jusqu'à ce que le congélateur soit à nouveau préts a congeler.
Sortez tous les tiroirs de congélation du congélateur.
Dégivrage
Lorsque vous dégivrez votre apparéil, vous doivent très rapi-dement. Plus les alimentés conge-lés seront restés à température ambiante, moins il se conserveuront une fois remis au conge-lateur.
Cependant, n'utilisez jamais de dispositif vapeur, la vapeur risquant d'atteindre les éléments sous tension et de provoquer un court-circuit.
Ne placez jamais d'appareil électriche chauffant (ex.: séchoir) ou de bougie dans le compartment de congélation, leur chaleur risquant de d'abîmer le plastique. N'utilisez jamais de bombe dégivrante : gaz explosifs, solvants et gaz propulseurs endommageraient votre apparéil et nuiraient à votre santé.
Eteignez l'appareil,
L'écran s'eteint et la production de froid s'arrête.
Dans le cas contraire, le verrouillage s'enclenche (voir : "Autres réglages - Désactiver le verrouillage").
Débranche la fiche du secteur / le fusible correspondant.
Laissez la porte de l'appareil ouverte.
Vous pouvez accélérer le dégivrage en installant dans le compartment de congélation deux casseroles d'eau chaude (non bouillante) que vous poserez sur un dessous de plat. Le cas
échéant, refermez la porte afin que la chaleur ne s'échappe pas.
Retirez les blocs de glace qui se dé-tachent.
Veillez à ce qu'il n'y ait pas de pénétration d'eau dans les meubles environnants.
Epongez l'eau de dégivrage au fur et à mesure qu'elle s'écoule.
Après le dégivrage
Nettoyez l'appareil et séchez-le.
Refermez la porte de l'appareil.
Rebranche l'appareil au secteur puis mettez-le en marche.
Activez la fonction Superfrost pour accélérer la production de froid dans la zone de congélation.
Dès que la température du conge-atelur est suffisamment BASSE, remetez les tiroirs contenant les produits congelés en place.
Pour désactiver la fonction SuperFrost, appuyez sur la touche correspondante une fois atteinte la température minimale de congélation constante de -18 °C.
Veillez à ce que l'eau ne s'infiltré pas dans le système électronique.
L'eau de nettoyage ne doit pas passer par l'orifice d'évacuation de l'eau de dégivrage.
N'utilisez jamais de système de nettoyage vapeur : la vapeur risque d'atteindre les pieces sous tension et de provoquer un court-circuit.
Ne retirez pas la fiche signalétique qui se trouve à l'intérieur de votre(AP)pareil. Vous en aurez besoin en cas d'anomalie!
Conseils relatifs aux produits de nettoyage
Pour éviter d'endommager les surfaces en les nettoyant, n'utilise pas :
- de produit nettoyant à base de soude, d'ammoniaque, d'acide ou de chlorure,
- de produit anticalcaire,
- de détergent abrasif, comme la poudre, la crème à récurer ou les pierres de nettoyage,
- de détergent contenant des solvants,
- de produit pour inox,
- de nettoyant pour lave-vaissette,
- de décapant four en bomber,
- de produit à vitres,
- d'éponge et de Brosse abrasive,
- de gomme de nettoyage,
- de gratoir en métal acéré !
A l'intérieur de l'appareil, n'utilise que des produits de nettoyage et d'entretien qui ne serontient aucun risque pour les alimentes.
Pour le nettoyage, nous vous conseillons l'utilisation d'eau tiège additionné d'un peu de produit vaisse.
Pour plus d'informations sur le nettoyage, veuillagez vous reporter aux pages suivantes.
Avant le nettoyage
Eteignez l'appareil,
L'écran s'eteint et la production de froid s'arrête.
Dans le cas contraire, le verrouillage s'enclenche (voir : "Autres réglages - Désactiver le verrouillage").
Débranche la fiche du secteur / le fusible correspondant.
Sortez tous les alimentents qui se trouvent dans l'appareil. Entreposez-les dans un endroit frais.
Dégivrez la zone de congélation.
Intérieur, accessoires
Nettoyez l'appareil après chaque dégivrage.
Ne laïsez pas les salissures s'in-cruster. Nettoyez-les au fur et à mesure.
Nettoyez l'intérieur de l'appareil et les accessoires avec de l'eau tiède et un peu de liquide vaisselle, puis rincez à l'eau claire avant de secher le tout avec un chiffon.
Voici les éléments que vous pouvezmettre au lave-vaisselle :
- le bac à glaçons.
- les fonds en verre.
La température au lave-vaisselle ne doit pas dépasser les 55^ ! Les éléments plastifiés qui entrent en contact avec des colorants naturels, tels que les carottes, les tomates ou le ketchup sont susceptibles de se décolorer au lave-vaisselle. Ce phénomène n'altère en rien la robustesse des éléments concernés.
Voici les éléments que vous ne pouvez pasmettre au lave-vaissette :
- les tiroirs de congélation.
Nettoyez ces éléments / ces accessoires à la main. - Gardez les portes de l'appareil ouvertes pendant quelques instants.
Ouvertures d'aération
Nettoyez régulierement toutes les ouvertures d'aération avec un pinceau ou un aspirateur. Des ouvertures d'aération encombrefes augmentent la consommation énergétique de l'appareil.
Joint de porte
N'utilisez pas de corps gras pour le joint de porte : il risque de devenir poreux.
Nettoyez régulierement le joint à l'eau claire puis séchez-le soigneusement à l'aide d'un chiffon.
Après le nettoyage
- Remettez les fonds en verre dans l'appareil.
Refermez la porte de l'appareil.
Rebranche l'appareil au secteur puis mettez-le en marche.
Pour accélérer la production de froid de la zone de congélation, activez la fonction SuperFrost.
Replacez les tiroirs de congélation avec les alimentés dans la zone de congélation.
Pour désactiver la fonction SuperFrost, appuyez sur la touche correspondante une fois atteinte la température minimale de congélation constante de -18 °C.
Voussouspouceremedierparvous-memea laplupartdesanomaliesouerreurssusceptiblesde seproduireauquotidien.Le tableau ci-dessous repertorielesproblèmes lesplus fréquents etvousindique la solutionadaptée.
Si vous ne trouvez pas la cause d'une anomalie ou que vous ne parvenez pas à la résoudre, veuillez contacter le service après-vente.
En cas de panne, évitez d'ouvrir la porte de l'appareil afin de réduire au maximum la perte de froid.
Des travaux d'installation, d'entretien ou de réparation non conformes peuvent entrainer de graves dangers pour l'utiliser. Seuls des professionnelnels agréés par Miele sont habilités à réaliser des travaux d'installation, d'entretien ou de réparation sur votre apparéil.
| Problème | Cause | Solution |
| L'appareil ne refroi-dit pas et l'écran ne s'allume pas. | L'appareil est hors tension. | ■ Mettez l'appareil sous ten-sion, l'écran doit s'allumer. |
| La fiche de l'appareil n'est pas bien enfoncée dans la prise électrique. | ■ Enoncez bien la fiche de l'appareil dans la prise.Lorsque l'appareil est dé-branché, le symbole de r'accordement au réseau électrique -à s'affiche. | |
| Un fusible a sauté. Le réfri-gérateur/congélateur, la tension du réseau élec-trique ou un autre apparueil est peut-être défectueux. | ■ Le cas échéant, avertissez un électrique ou le service après-vente. | |
| L'appareil ne produit pas de froid bien que les com-mandes de l'appa-reil continuant de fonctionner. | Le mode expo est activé et le symbole ■ est allumé sur l'écran d'affichage. Le mode expo permet aux re-vendeurs deprésenter l'ap-pareil sans que lcelui-ci ne produise de froid. Ce ré-glage n'est d'aucune'utilité pour les particuliers. | ■ Demandez au service après-vente comment dé-sactiver le mode expo. |
| Le comprésseur s'enclenché de plus en plus fréquement et de plus en plus longtemps et la température interieure chute. | ||
| Problème | Cause | Solution |
| La température in-terne est trop BASSE. | La température interne est régée sur une valeur trop BASSE. | ■ Vérifiez le réglage de la température. |
| La porte n'est pas bien fermée. | ■ Contrôlez si l'appareil ferme correctement. | |
| Une grande quantité d'ali-ments a été mise à congefer en même temps. | ■ Suivez les indications du chapitre "Congélation et conservation". | |
| La fonction SuperFrost est restée activée. Elle se dé-sactive automatiquement au bout d'environ 65 heures. | Afin d'économiser de l'énergie, vous pouze dé-sactiver la fonction SuperFrost plus tout que prévu :■ Appuyez sur la touche SuperFrost. | |
| Le comprésseur fonctionné en conti-NU. | Quand les besoin en froid sont moins importants, le comprésseur se règle automatiquement sur une vi-tesse plus BASse afin d'éco-nomiser de l'énergie : sa durée de fonctionnement augmente proportionnelle-ment. | Aucune ! |
| Problème | Cause | Solution |
| Le comprésur fonctionne de plus en plus souvent et de plus en plus longtemps. | Les ouvertures d'aération du meuble d'encastrement sont encombrées. | ■ Ne recouvre jamais les ouvertures d'aération. ■ Dépoussiérique-les régulière. |
| La porte de l'appareil a été ouverte trop souvent ou vous avez congelé de gros-ses quantités d'aliments frais. | ■ N'ouvre la porte qu'en cas de besoin et gardez-la ouverte le moins long-temps possible! La température requise re-vient peu à peu à la nor-male. | |
| La porte n'est pas bien fermée. Il se peut qu'une épaissce couche de givre se soit déjà formée. | ■ Fermez la porte. La température requise re-vient peu à peu à la nor-male. Si une couche épaissce de givre s'est déjà formée, cela diminue la production de froid et fait augmenter la consommation energetique. ■ Dégivrez l'appareil et net-toyez-le. | |
| La température ambiente est trop élevé. Plus la température am-biante est élevé, plus le comprésur fonctionne longtemps. | ■ Suivez les indications du chapitre "Installation - Lieu d'installation". | |
| L'appareil n'a pas été correctement monté dans la niche d'encastrement. | ■ Tenez compte des remarques des chapitres "Installation, Encastrement de l'appareil". | |
| Le comprésseur s'enclenché de moins en moins souvent, de telle sorte que la température interieure augmente. | ||
| Problème | Cause | Solution |
| La température à l'intérieur de l'appa-reil est trop élevé. | Ceci n'est pas une anomalie ! | ■ Vérifiiesz le réglage de la température.■ Vérifiiesz une nouvelle fois la température 24 h plus tard. |
| Les alimentés conge-lés commencant à décongeler. | La température ambiente est inférieure à la tempéra-ture requise pour cet appa-reil.Lé comprésseur s'enclen-chant moins souvent quand la température ambiente est trop BASSE, la la zone de congélation peut devel-ner trop chaude pour conserver les alimentés. | ■ Suivez les indications du chapitre "Installation - Lieu d'installation".■ Augmentez la valeur de la température ambiente. |
| Affichage à l'écran | ||
| Problème | Cause | Solution |
| Les messages "F0 à F9" s'affichent à l'écran. | Une anomalie a été dé- tectée. | ■ Appelez le service après- vente. |
| Le symbole Super- frost clignote sur l'écran en même temps que l'affi- chage de la tempéra- ture. | Une anomalie a été dé- tectée. | ■ Appelez le service après- vente. |
| Le symbole d'alarme clignote sur l'écran d'affichage ◆ avec l'affichage de tempé- rature. | La température à l'intérieur de l'appareil est trop élevée, car - la porte de l'appareil a été ouverte fréquèment. - vous avez congelez une grande quantité d'ali- ments sans activer la fonction SuperFrost, - le courant a été coupé pendant une période re- lativement longue. | Dès que l'état critique est passé, le signal sonore s'ar- rête et le symbole Alarme ◆s'éteint.■ Selon la température af- fichée à l'écran, vérifie que les alimentés n'ont pas commencé à déconceler. Le cas échéant, cuisine- les avant de les congeler à nouveau. |
En cas d'anomalie
Le signal d'alarme retentit et les symboles de la panne de courant 一 ^ 一 et de l'alarme apparais-. sent a I'ecran.
La température la plus chaude atteinte dans la zone de congélation pendant la panne de courant s'affiche également.
Au cours de heures ou des jours qui ont suivi la panne de courant, la température de la zone de congélation a beaucoup trop augmenté. Une fois la panne de courant passée, l'appareil continue à fonctionner à la dernière température réglée.
Presse la touche Arrêt de l'alarme.
L'affichage de la tempéra-ture maximale atteinte dans la zone de congélation s'éteint. La températe effective dans la zone de décongélation s'affiche de nouveau en temps réel.
Selon la température affichée à l'écran, vérifie que les alimentés n'ont pas commencé à décongeler. Le cas échéant, cuisineles avant de les congeler à nouveau.
| Autres anomalies | ||
| Problème | Cause | Solution |
| Après plusieurs ou-vertures, la porte de l'appareil ne peut plus être ouverte. | Ceci n'est pas une anomalie ! En raison de l'effet d'aspiration, vous ne pou-vez ouvrir la porte sans effort particulier qu'aupres un certain laps de temps. | Aucune ! |
| Un produit congélé est pris par le gel. | L'emballage n'était pas sec lorsqu'il a été place au concélateur. | Décollez-le avec un objet plat à bout rond, le manche d'une cuillère par exemple. |
| Impossible d'éteindre l'appareil. | Le verrouillage est activé. Lorsque le verrouillage est activé, le symbole s'al-lume sur l'écran d'affichage. | Désactivez le verrouillage (cf. "Effectuer les réglages - Désactiver le verrouil-lage"). |
| Les parois externes de l'appareil sont chaudes. | Ceci n'est pas une anomalie ! La chaleur dégagée par le processus de réfrigé-ration est réutilisée pour empêcher la formation de condensation. | Aucune ! |
| Bruits normaux | Quelle est leur origine ? | |
| Brrrr... | Le vrombissement vient du moteur (compresseur). Il peut être plus fort pendant un moment donné, lorsque le moteur se met en route. | |
| Blubb, blubb.... | Les gargouillements ou les ronronnements viennent du fluide réfrigérant qui passé dans les conduits. | |
| Clic... | DesCLSiqueis sont audibles lorsque le thermostat active ou désactive le moteur. | |
| Sssrrrrr.... | Dans les appareils combinés ou NoFrost un léger bruit de fond provenant de la circulation d'air peut se faire entendre à l'intérieur de l'appareil. | |
| Crac ... | Des bruits de craquement peuvent se faire entendre en cas d'expansion de certains matériaux de l'appareil. | |
| N'oubliez pas qu'on ne peut pas éviter les bruits de moteur et d'arrivée du fluide dans le circuit frigorifique. | ||
| Bruits que l'on peut éviter facilement | Cause | Solution |
| Claquement, cliquetement | L'appareil n'est pas nivélé. | Ajustez l'appareil à l'aide d'un niveau. Pour cela, utilisez les pieds vissables sous l'appareil ou utiliser des cales. |
| L'appareil est en contact avec d'autres meubles ou d'autres appareils. | Eloignez l'appareil des meubles et des autres appareils. | |
| Des tiroirs, paniers ou surfaces bougent ou co倾向ent. | Contrôlez les pieces amovi-bles et replacez-les correcte-ment le cas échéant. | |
| Des bouteilles ou des reci-pients se touchent. | Séparez-les. | |
| Le cable de transport se trouve encore à l'arrière de l'appareil. | Retirez le support de cable. | |
En cas de pannes auxquelles vous ne pouvez remedier vous-même, contactez :
-voirerevendeurMiele
ou
- le service après-vente Miele.
Vous trouvrez le numero de téléphone du service après-vente au dos de cette notice d'utilisation et de montage.
Veuillez indiquer le modele et la reférence de votre apparéil. Vous trouvrez la reférence du modele sur la plaque signalétique sur les parois laterales de votre apparéil.
Conditions et durée de garantie
La garantie est accordedée pour cet ap- pareil de Froid selon les modalités de vente par le revendeur ou par Miele pour une période de 24 mois.
Vous trouvrez le numero de téléphone correspondant au dos de cette notice d'utilisation.
Les contrôles doivent être effectuels en conformité avec les normes et les directives en vigueur.
Par ailleurs, lors de la préparation et de la mise en oeuvre des contrôleis, il faudra tener compte des informations suivantes :
-schémas de chargement,
indications dans la notice de montage et d'utilisation.
Cet apparéil est livré prét à être raccordée avec un cable et une prise en monophasé 50 Hz-220 240 V.
Prévoyez un fusible d'au moins 10 A.
Il doit être raccordé uniquement à une prise de courant avec mise à la terre installée selon les normes. Le raccordement ne peut être effectué que sur une installation électrique réglementaire.
Afin qu'en cas d'urgence, l'appareil puisse etre rapidement sépare du réseau électrique, la prise de courant ne doit pas se couver derrière l'appareil afin d'être facilement accessible.
Si la prise de courant n'est plus accessible pour l'utilisateur, l'installation doit être équipée d'un dispositif de disjonction pour chaque pole. Ce dispositif peut être constitué d'un interrupteur à ouverture de contact de min. 3 mm. Il peut s'agir d'un disjoncteur automatique, de fusibles ou de contacteurs EN 60335).
La fiche ainsi que le cable d'alimentation de l'appareil ne doit pas toucher l'arrière de cet appareil étantdonne que la fiche et le cable d'alimentation risqueraient d'être endommagés par les vibrations de I'appareil, cela pourrait causeur un court-circuit.
Evitez également de brancher d'autres apparèils à des prises situées derrière l'appareil.
Il est interdit d'effectuer le branchement avec une rallonge car celle-ci n'assure pas la sécurité nécessaire (risque de surchauffe).
L'appareil ne doit pas etre branché sur des tIots d'onduleur,utilisés pour une alimentation electrique autonome comme par ex. une alimentation en energie solaire.
Dans le cas contraire, il peut y avoir une coupure de courant automatique due aux pics de tension. L'électronique pourrait être endommagée. De même, l'appareil ne doit pas être utilisé avec des fiches économiqueur d'énergie sachant que cela risquerait de réduire l'alimentation en énergie qui entraînerait un rechauffement de l'appareil.
S'il faut remplacer le cable d'alimentation, seul un électricien qualifié est habilité à le faire.
Un apparéil non encastré peut se renverser!
Lieu d'installation
Évitez de placer l'appareil juste à côté d'une table de cuisson, d'un radiateur ou d'une fenêtre exposée à la lumière directe du soleil. Plus la température ambiente est élevé, plus le comprisseur doit fonctionner longtemps et plus l'appareil consomme d'électricité. Choisissez une piece très peu humide que vous pouvez aérer facilement.
Lorsque vous installez votre apparéil, veillez aussi aux points suivants :
- la prise de courant ne doit pas se couver derrière l'appareil. Elle doit rester accessible en cas d'urgence.
- La fiche et le cable d'alimentation ne doit pas toucher le dos de l'appareil. Ses vibrations risqueraient de l'endommager.
- Evitez aussi de brancher d'autres appar
pareils à des prises situées derrière
l'appareil.
Important! En cas de fort taux d'humidité, l'eau de condensation peut entraîner une corrosion des parois extérieures. Cette eau de condensation peut engendrer une corrosion au niveau des parois extérieures.
En prévention, il est recommandé d'installer l'appareil dans une piece sèche et/ou climatisée avec une aération suffisante.
Une fois l'installation effectuee, assu-rez-vous que les portes de l'appareil ferment correctement, que les fentes d'aération et d'évacuation d'air ne sont pas recouvertes et que l'appa-riel a ete instalé correctement.
Classe climatique
L'appareil est donc pour fonctionner pour une classe climatique donnée (température ambiente). Veuillez respecter les limites indiquées sur la plaque signalétique à l'intérieur de l'appléil.
Une température ambiente plus basse entraine l'arrêt prolongé du comprisseur. Cela peut provoquer une augmentation de la température à l'intérieur de l'appareil et engender des dommages.
| Classe climatique | Température ambiente |
| SN | +10 °C à +32 °C |
| N | +16 °C à +32 °C |
| ST | +16 °C à +38 °C |
| T | +16 °C à +43 °C |
Lorsqu'un apparéil réfrigérant de la classe climatique SN fonctionne à des températures ambiantes plus basses (jusqu'à +5 °C), son bon fonctionnement est garantie.
Aération et évacuation d'air
Il est impératif de respecter les consignes concernant les fentes d'aération et de ventilation. Sinon, le compresseur se met en marche plus souvent et plus longtemps. La consommation d'électricité augmente, de même que la température de fonctionnement du compresseur, ce qui risque d'endommager le compresseur.
L'air présente sur la paroi arrête de l'appareil se rechauffe. La niche d'encastrement doit donc être conçue de maniere à ce que l'aération et l'évacuation d'air puisent se faire de façon optime à tout moment (voir Dimensions d'encastrement):

-
L'entrée d'air ① se fait par le socle et l'évacuation de l'air ② par le haut, dans la partie arrrière du meuble de cuisine.
-
Pour l'aération et l'évacuation d'air, il faut prévoir un canal d'évacuation d'air d'au moins 40 mm de profondeur à l'arrête de l'appareil.
- Les fentes d'aération et d'évacuation d'air dans le socle du meuble, dans l'armoire d'encastrement et au niveau du plafond doivent mesurer au moins 200cm^2 afin que l'air chaud puisse s'évacuer sans problème.
- Important! L'appareil sera d'autant plus efficient que les fentes d'évaluation et d'évacuation d'air sont grands.
Les fentes d'aération et d'évacuation d'air doivent rester dégagés et être dépoussierés régulièrement.
Fente d'évacuation d'air du haut
La fente d'évacuation d'air du haut peut être située à différents endroits :

① directement au-dessus de l'appareil avec une grille d'aération (passage libre d'au moins 200 cm²)
② entre le meuble de cuisine et le pla-fond
③ dans un faux-plafond
Avant l'encastrement
Avant d'installer l'appareil, retirez le sachet contenant les éléments de montage et les autres accessoires de l'appareil et retirez le ruban adhésisif a l'extérieur de la porte.
- Les éléments suivants ne doivent enaucun cas etre retirés de l'arriere deI'appareil:

- les entreprises (selon modèle).
Elles garantissent l'écart nécessaire entre la paroi arrêté et le mur. - les sachets qui sont situés entre la paroi arrrière de l'appareil et la grille métallique (échangeur thermique) (selon le modele).
Ils sont importants pour le fonctionnement de l'appareil. Leur contenu est non toxique et ne présente aucun danger.
Retirez d'abord le passé-câble du dos de l'appareil.
Vérifiez ensuite que toutes les pieces situées au dos de l'appareil peuvent se mouvoir librement. Si certains éléments sont entravés, courbez-les avec précaution.

Ouvrez la porte de l'appareil et retirez la sécurité de transport rouge (1) (selon le modele).
L'ancien apparéil avait-il unautre type de charnière ?
Si vous ancien apparéil était équipé d'un autre type de charnières, vous pouvez quand même utiliser la porte du meuble. Pour ce faire, démonze les années ferrures de l'armoire d'encastrement. Elles ne seront plus utiles, car la porte du meuble sera directement montée sur la porte de l'appareil. Toutes les pieces nécessaires sont livrées avec l'appareil ou peuvent être obtenues auprès du service après-vente.
Façade inox
(équipement suivant modèle)
Si vous ancien apparéil était équipéd'un autre type de charnière et que vous ne pouvez ou ne voulez plus utiliser l'ancienne porte de meuble ou si votre porte n'est plus utilisable pour d'autres raisons, vous pouvez la remplacer par une façon inox.
Vous pouvez vous renseigner auprès du SAV pour savoir où vous procurer cette façon inox.

Avant l'encastrement, veillez à ce que la niche corresponde précisement aux dimensions d'encastrement exigées. Les fentes d'aération et d'évacuation d'air doivent obligatoirement rester découvertes afin de garantir le bon fonctionnement de l'appareil.
| Hauteur de niche [mm]A | |
| F 32202 i | 874 - 890 |
Effectuez le changement de charnière avec l'aide d'une deuxième personne.
Cet apparéil est livré avec des charnières à droite. Si vous souhaitez des charnières à gauche, il vous faut inverser les ferrures de porte.
Vous aurez besoin des outils suivants pour le montage:

Ouvrez la porte.
Retirez les balconnets de la contreporte (selon modele).

Démontez les éléments de protection ①, ② et ③.

Dévissez légèrement les vis ④ et ⑤ au niveau des charnières.
Poussez la porte supérieure de l'appareil ⑥ vers l'extérieur et retirez-la.

Dévissez les vis ④ au maximum.
Montez l'élément de fixation ⑦ sur le côte opposé et serrez légèrement les vis ④.
Dévissez entièrement les vis de fixation ⑤ et vissez les sans les serrer complètement sur le côte opposé.
Si vous avez monté des goujons dans les charnières pour limiter l'angle d'ouverture de la porte :

Retirez les goujons vers le haut.
Posez la porte démontee avec la facade extérieure vers le haut sur une surface plane et stable.
Ne repliez pas les charnières.
Risque de blessure!

Desserrez les vis ⑧.
Montez les charnières en diagonale ⑨.

■ Insérez la porte de l'appareil ⑥ sur les vis prémontées ④ et ⑤, puis serrez les vis ④ et ⑤.
- Encrantez les éléments de protection ①, ② et ③.

■ Insérez les goujons pour la limitation d'ouverture de porte du haut dans les charnières.
Faites appel à une deuxième personne pour installer l'appareil.
- Ne montez l'appareil que dans des meubles de cuisine robustes et stables installés sur un sol plan et horizontal.
- Sécurisez les armoires d'encastrement pour empêcher qu'elles ne se renversent.

Ajustez le meuble de cuisine à l'aide d'un niveau à bulle.
Les côtés de la niche doivent former un angle de 90^ , sans quoi la portedu meuble ne couvrira pas ses quatrecoins correctement.
- Les fentes d'aération et d'évacuation d'air doivent obligatoirement rester découvertes (voir "Montage - Aération / Evacuation d'air; Dimensions d'encastrement").
Vou aurez besoin des outils suivants pour le montage:

Vou aurez besoin des éléments de montage suivants :
Tous les éléments de montage sont identifiés par des chiffres. Vous retrouvrez ces mêmes chiffres d'identification des pieces de montage dans les différentes étapes de montage.
- Pour l'encastrement de l'appareil dans la niche :

- Les éléments ne sont joints qu'aux apparciels d'une hauteur de 140 cm et plus.
** en fonction de la hauteur de niche
- pour le montage de la porte du meuble :

** en fonction de la hauteur de niche
Toutes les étapes de montage indiquent un apparéil avec une butée droite. Si la butée est à gauche, tenez compte de cette modification en suivant les indications de montage.
Préparation de l'appareil
Posez l'appareil immédiatement devant la niche du meuble de cuisine.

Placez les pattes du bandeau d'ajustement ① depuis l'avant dans les supports de l'ergot.

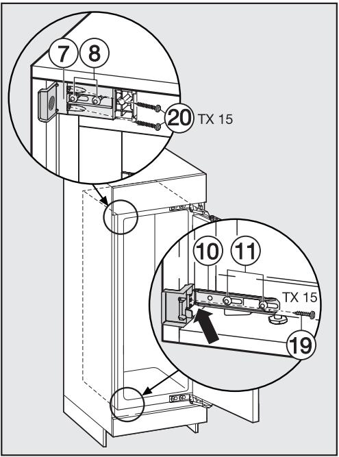
- Vissez l'équerre de fixation ④ avec la vis à tête hexagonale ⑤ sur les trouss préalablement forés dans la porte de l'appareil. Vissez un deuxième couple d'équres de fixation ④ dans la zone de saisie (poignée) de la porte. Utilisez pour ce faire les trouss
préalablement forés la porte de l'ap-pareil.
Gillesz l'appareil à deux tiers dans la niche d'encastrement.
Veillez à ce que le cable d'alimentation ne soit pas coincide!
Astuce pour avoir moins de difficultés à pousser l'appareil :
Attachez un bout de ficelle à la fiche afin de « rallonger » le cable d'alimentation.
Tirez ensuite le cable d'alimentation à travers le meuble de cuisine en tirant sur l'autre extrémité de la ficelle de sorte que l'appareil puisse être facilement branché au réseau électrique une fois l'instruction terminée.

Uniquement pour les parois d'armoire d'une épaissieur de 16 mm :
- Clipsez les entreprises ② et ③ à droite sur les charnières.
Ouvrez la porte de l'appareil.

Retirez la protection 6.
Vissez sans serrer la piece de fixation ⑧ , à l'aide de vis ⑦ sur la partie supérieure gauche de l'appareil. Ne serrez pas les vis, de sorte la piece puisse encore être déplacée.
Montez l'élément de butée ⑨ sur l'équerre de fixation ⑩.
Vissez l'équerre de fixation ⑩ à l'aide de vis ⑪ dans la partie inférieure de l'appareil. Ne serrez pas les vis, de sorte que la piece puisse encore être déplacée.

Vissez maintainant complètement jusqu'au bout, les pieds régibles fournis ⑨.

Retirez le film de protection du ruban adhésiF ⑬.
■ Collez le ruban adhésif ⑬ à l'avant sur le côté de l'appareil sur lequel la porte est ouverte.
- Placez le ruban adhésif au niveau de la partie inférieure de l'élement de fixation du haut.
- Collez-le sur toute sa longueur.
Encastrement
Gillesz l'appareil dans la niche jusqu'à ce que les 4 angles de fixation touchent le rebord avant de la paroi latérale du meuble.

- Pour les parois de meuble d'une épaissur de 16 mm :
les entreprises touchent en haut et en bas le rebord avant de la paroi latérale du meuble.
- Pour les parois de meuble d'une épaissur de 19 mm :
les rebords avant des charnières en haut et en bas sont alignés avec le rebord avant de la paroi latérale du meuble.
- Contrôlez encore une fois si l'angle de fixation en haut et en bas est aligné avec le rebord avant de la paroi latérale du meuble.
Cela permet de maintainir un écarts circulaire de 42 mm par rapport aux rebords avant des parois laterales du meuble.
Pour les meubles avec éléments de butée de porte ( comme les cames, les joints d'étanchéité) il faut tener compte des dimensions des éléments de charnière de porte de manière à ce que là aussi, un écart circulaire de 42 mm soit maintainu.
Tirez l'appareil vers l'avant en fonction de ces dimensions.
Les charnières et les protections dépassent maintainant de façon à prendre en compte l'espace nécessaire pour les éléments de charnière.
Astuce: enlevez tous les éléments de butée de porte! Cette mesure permet de garantir l'alignement par rapport aux portes de meubles avoisinantes.
Ajustez l'appareil des deux cots pour qu'il soit droit, en vous servant des pieds régables, à l'aide de la clé à fourche jointe.
Si un écarts circulaire de 42 mm (entre le corps de l'appareil et la partie avant des parois laterales de l'armoire) n'est pas respectée, la porte de l'appareil risque de ne pas bien se fermer.
Cela peut entraîner des risques de givrage, de formation de condensation et de mauvais fonctionnement, qui à leur tour augmentent la consommation d'énergie!

Fixer l'appareil dans la niche
Poussez l'appareil contre la paroi du meuble, côté charnières.
Afin de relier l'appareil au meuble, vissez les vis pour agglomeré 19 en haut et en bas à travers les éclisses des charnières.

■ Faites glisser les équerres de fixation desserrées jusqu'ou la paroi du meuble.
A l'aide de la vis 19, fixez l'équerre de fixation 10 sur la paroi de l'armoire. Forex au préalable la paroi du meuble si nécessaire.
- À l'aide des vis ② , fixez l'équerre de fixation ⑦ sur la paroi du meuble. Fo-rez préalablement la paroi du meuble si nécessaire.
Attention! Maintenez avec vos pôues le coude espacé contre la paroi du meuble pendant que vous vissez. L'appareil ne doit pas glisser vers l'arrière.
Resserrez bien les vis 8et 11.

Détachez les extrémités qui dépasse. sent des équcherres de fixation. Vous n'en aurez plus besoin et pouvez lesmettre au rebut.
Posez les caches respectifs 6 et 21 sur les angles de fixation.
Seulement pour un apparéil avec une hauteur de niche à partir de 140 cm
Pour une sécurité supplémentaire, glissez les entreprises fournies entre l'appareil et le fond du meuble au niveau de la partie inférieure de l'appareil :

Fixez d'abord la poignée 22 au niveau d'une des entreprises 23.
Introduisez cette dernière dans le canal de passage jusqu'au bout. Retirez maintainant la poignée et montez-la sur l'autre entreprises livrée et introduisez-la également dans le canal.
Important! Gardez la poignée au cas où vous voudriez encastrer de nouveau l'appareil par la suite.
Refermez la porte de l'appareil.
Montage de la porte du meuble
L'épaissur de la porte du meuble doit être comprise entre 16 mm et 19 mm.
Les écarts suivants doivent être respectés :
- L'écart entre la porte du meuble et la porte de l'armoire située au-dessus doit être au moins de 3 mm.
- L'espace vertical entre les portes du meuble doit en général être de 3 mm. La valeur exacte dépend du rayon du bord de la porte du meuble.
Le rebord supérieur de la porte du meuble devrait se situer à la même hauteur que les portes du meuble des armoires adjacentes si l'encastrement se fait dans une implantation linéaire.
La porte du meuble doit être montée à l'horizontal et sans tension.
Les portes de meuble montées dépassant le poids autorisé peuvent endommager les charnières qui pourraient entre autre cause des dysfonctionsnements !
Assurez-vous avant le montage de la portedu meuble que le poids autorisé de la porteda monter n'est pas dépasse:
Appareil
poids maximum de la porte de meuble en kg
F 322021
16
Pour le montage de portes de meuble plus grandes ou en plusieurs parties, vous pouvez vous procurer un kit de montage ou un autre kit d'équres de fixation auprès du SAV Miele ou de votre revendeur.

En Usine, un écart de 8 mm est prévue entre la porte de l'appareil et la travers de fixation. Contrôlez la distance et rajustez-la si nécessaire.
Glissez les supports de montage ② à la hauteur de la porte du meuble : le rebord inférieur X des supports de montage doit se situer à la même hauteur que le bord supérieur de la porte de meuble à monter (symbole ▲).

Astuce: À l'aide de la façon du meuble, poussez les supports de montage ② à la hauteur des portes des armoires avoirinantes.

- Dévissez les écrous ③ et démonTEX la travers de fixation ④ avec les supports de montage ②.
Posez la porte de l'armoire démontee avec la façade extérieure vers le bas sur une surface plane et stable.

A l'aide d'un crayon, tracer une fine ligne centrale sur la face interieure de la portedu meuble 5.
Posez la traverse de fixation ④ avec les supports de montage sur la face interieure de la porte du meuble. Ajustez la travers de fixation au milieu.
Vissez la traverse de fixation à l'aide d'au moins 6 vis pour agglomeré (6) (N'utilisez que 4 vis sur le bord avec les portes à caisson). Percez au préalable, si nécessaire, les trouss dans la porte du meuble.
Retirez les supports de montage ⑦ en tirant vers le haut. Retournez les supports de montage, puis insérez-les complètement dans les fentes centrales de la traverse de fixation (pour les y ranger).

Poussez la protection latérale 17 sur l'entreose de fixation en face du côte des charnières.
Tournez la porte du meuble et fixez la poignée (si nécessaire).
Ouvrez la porte de l'appareil.

Suspendez la porte de meuble sur les chevilles d'ajustage ⑧.
Vissez les écrous ③ sans trop serren sur les chevilles d'ajustage.
Fermez la porte et vérifie l'espace entre la porte et les portes des meubles contigus. L'espace doit être identique partout.

Ajuster la position de la porte
- Réglage par rapport aux côts (X)
Déplacez la porte du meuble.
- Réglage en hauteur (Y)
Tournez les chevilles d'ajustage ⑧ à l'aide d'un tournevis.
Une distance de 8 mm est prévue entre la porte de l'appareil et la travers de fixation. Contrôlez la distance et réglez-la si nécessaire. Ne modifies cette distance que dans la zone indiquée.

- Serrez les écrous ③ sur les portes de l'appareil à l'aide de la clé polygonale ⑩ tout en maintainant les chevilles d'ajustage ⑧ à l'aide d'un tournevis.
Le bandeau d'ajustement 11 ne doit pas dépasser. Il doit disparaître totalement dans la niche.

Percez au préalable les troughs de fixation ⑨ dans la porte du meuble et vissez les vis ⑬.
Veillez à ce que les deux rebords en métal affleurent (symbole /I).
Fermez les deux portes.
Ajuster la position de la porte
- Réglage en profondeur (Z)
Desserrez les vis ⑨ situées en haut de la porte de l'appareil et la vis ⑭ située en bas sur l'équerre de fixation. Déplacez la porte du meuble afin de laisser un espace de 2 mm entre la porte du meuble et le corps du meuble.
- Serrez encore une fois bien toutes les vis.

Montez les protections respectives du haut 15 et encliquetez-les.

Montez les protections laterales 16 de maniere a ce qu'elles s'emboitent de façon audible.
Comment savoir si l'appareil a etecorrectement monté :
- Les portes doivent fermer correctement.
- Les portes ne doivent pas toucher le corps du meuble.
- Le joint sur le coin supérieur accessible doit être bien en contact.
Pour vérifier, posez une lampe de poche allumée dans l'appareil et fermez la porte de l'appareil. Plongez la piece dans le noir et vérifiez si de la lumière passé par les côtes de l'appareil. Si tel est le cas, contrôlez toutes les étapes de montage.
MIELE France
Siège social
9 avenue Albert Einstein - Z. I. du Coudray
93151 - Le Blanc-Mesnil CEDEX
R.C.S. Bobigny B 708 203 088
Miele Center Paris
55 Boulevard Malesherbes
75008 Paris
Miele Center Nice
285 avenue de Verdun
06700 Saint-Laurent du Var

Internet
www.miele.fr

La ligne Consommateurs
Conseilis,SAV,accessoires et piées détachées
0974501000
Appel non surtaxé
Notice Facile