69079 - Robot de cuisine LACOR - Notice d'utilisation et mode d'emploi gratuit
Retrouvez gratuitement la notice de l'appareil 69079 LACOR au format PDF.
| Puissance | 800 W |
| Fonctions | Mixage, hachage, pétrissage, découpe, centrifugeuse |
| Nombre de vitesses | Variable, plusieurs vitesses |
| Capacité du bol principal | Environ 2 litres |
| Accessoires inclus | Blender, disque râpeur, disque trancheur, fouets, presse-agrumes |
| Matériau du bol | Plastique transparent |
| Système de sécurité | Verrouillage du bol |
| Alimentation | Électrique |
| Couleur | Argent et noir |
| Dimensions approximatives | Non précisé |
| Poids approximatif | Non précisé |
| Nettoyage | Pièces amovibles compatibles lave-vaisselle |
| Garantie | Non précisé |
| Normes | CE, ISO 9001 |
| Utilisation | Usage domestique |
FOIRE AUX QUESTIONS - 69079 LACOR
Téléchargez la notice de votre Robot de cuisine au format PDF gratuitement ! Retrouvez votre notice 69079 - LACOR et reprennez votre appareil électronique en main. Sur cette page sont publiés tous les documents nécessaires à l'utilisation de votre appareil 69079 de la marque LACOR.
MODE D'EMPLOI 69079 LACOR
Ce manuel contient une importante information de sécurité concernant la maintenance, l'utilisation et la manipulation de ce produit. Ne pas suivre les instructions containues dans ce manuel peut provoquer de sérieuses blessures. Si vous ne comprendez pas les containus de ce manuel, veuillez le soumettre à votre superviseur. Ne manipulez pas cet apparéil, à moins d'avoir lu et compris le contenu de ce manuel.
CONSIGNES DE SÉCURITÉ IMPORTANTES
Lorsque vous utilisez un apparéil électroménager, suivez toujours quelques consignes de sécurité de base, dont les suivantes :
1.- Pour éviter d'eventuelles electrocutions ne plongez ni le cable ni la prise, ni l'appareil dans de l'eau ou un autre liquide. N'introduisez ni tournevis ni autres éléments métalliques à l'intérieur de l'appareil.
2.- Si le cable d'alimentation est endommagé, faites-le remplacer par le fabricant, son service de réparation/agréé ou toute autre personne désignée par le fabricant. Si du personnel non autorisé le manipule, la garantie sera déclarée nulle et non avenue.
3.- Ne laissez pas le cable dépasser de la table ou du plan de travail, et ne le placez pas en contact avec des surfaces chaudes.
4.- N'utilisez pas l'appareil electroménager si celui-ci est endommagé.
5.- Éteignez l'appareil avant de changer les accessoires ou les pièces auxiliaires qui bougent pendant l'utilisation.
6.- Pour débrancher l'appareil, attendez que le moteur s'arrête puis débranchez le cable de la prise électrique.
7.- Ne le laissez pas fonctionner sans surveillance. Vérifiez que le moteur est bien totalement arrêté avant de le démonter. Débranchez-le avant toute utilisation.
8.- Évitez tout contact avec les parties mobiles. Faites particulièrement attention pendant le nettoyage.
9.- Evitez le contact avec les parties chaudes. Redoublez d'attention pendant le nettoyage. Utilisez des gants.
10.- Ne laissez pas les enfants utiliser l'appareil. Ne perdez pas de vue l'appareil lorsque vous l'utilise à proximé d'enfants.
11.- Cet apparéil n'est pas conscience pour des personnes sans expérience ni connaissances ou avec un handicap physique, sensoriel ou mental, sauf s'ils l'utilisent sous la surveillance d'un superviseur responsable de leur sécurité ou si ce dernier leur fournit les instructions nécessaires pour l'utiliser. Surveiller les enfants pour qu'ils ne jouent pas avec l'appareil.
12.- Utilisez cet apparéil électroménager uniquement pour ce pour quoi il a été concu, comme indiquédans ce manuel. N'utilisez pas d'éléments ou d'accessoires non recommends par le fabricant.
13.- Utilisez uniquement des pieces de rechange d'origine.
14.- REJET DES APPAREILS ÉLECTROMÉNAGERS : Ne jetez pas ce produit avec les ordures menagères organiques non triées. En raison des éléments electriques etlectroniques utilisés, il est nécessaire de le jeter conformément au Decret Royal espagnol 208/2005 sur le tri sélectif des déchets electriques.
SPECIFICATIONS TECHNIQUES PRINCIPALES
MODELE: 69079
TENSION: 220-240V
CYCLE: 50-60Hz
PUISSANCE: 800W
CAPACITÉ: 1,50 Lts.
VITEUSSES: 10 viteusses
MESURES: 24x22x40 Cm.
POIDS: 6,50 Kgr.
INFORMATION UTILE
Information de garantie
Ce manuel informe sur l'installation, la sécurité et les instructions du robot multifonctio
Nous vous recommendons de dire toutes les instructions concernant la sécurité, l'installation et la manipulation avant de vous en servir.
L'robot multifonctions est un produit dérivant de la recherche extensive et a été amplement testé. Les matérielles ont été sélectionnés en vue d'une durabilité maximum, un aspect attractif et des prestations optimes.
Chaque unité est intégralement inspectée et testée avant d'être expédée.
IMPORTANT! Gardez ces instructions pour les consulter ultérieurement. Si l'appareil change de propriétaire, assurez-vous que le manuel accompagne celui-ci.

AVERTISSEMENT
-
- Branchez le robot multifonctions sur une prise électrique ajustement mis à la terre avec le voltage, la taille et la configuration de prise corrects. Si la prise et le réceptacle ne coïncident pas, contactez unElectricien qualifié pour déterminer le voltage et la taille ajustés et installer la prise électrique qui convient.
2.- Pour éviter toute blessure, tournez le contact sur OFF, débranchez l'appareil de la source d'énergie et laissez refroidir avant de commencer tout entretien.
3.- Pour votre sécurité et une correcte manipulation, l'appareil doit être situé à une distance raisonnable des murs et des matériaux combustibles. Si les distances de sécurité ne sont pas respectées, une décoloration ou une combustion pourrait survenir. Ne placez pas votre robot multifonctions sous des étagères ou à plus de 30 cm du plafond.
4.- Laissez un minimum de 3 cm de distance sur les côts. Laissez un espace de 30 cm entre l'avant et l'arrière pour permettre une manipulation adequate et de respecter la sécurité.
- Branchez le robot multifonctions sur une prise électrique ajustement mis à la terre avec le voltage, la taille et la configuration de prise corrects. Si la prise et le réceptacle ne coïncident pas, contactez unElectricien qualifié pour déterminer le voltage et la taille ajustés et installer la prise électrique qui convient.
- Pour éviter des sérieuses blessures ou des dommages, ne tirez pas l'appareil par le cable.
6.- Pour éviter de vous blesser, cessez l'utilisation du cable s'il est effiloché ou use.

PRECAUTIONS D'EMPLOI
1.- Situez l'appareil à la hauteur du plan de travail, dans une zone qui convient à cet effet. L'emplacement devrait être plat pour éviter que l'appareil ou son contenu ne tombent accidentellement, et assez fort pour supporter le poids de l'appareil.
2.- Ne posez rien sur le haut du la robot multifonctions, car cela pourrait endommager celui-ci ou expos er le personnel à un danger.
3.- Quand vous installerez l'appareil pour l'utiliser, assurez-vous qu'il soit eteint. Dans le cas contraire, vous pourriez vous blesser.
4.- Pour éviter des dommages au mixeur ou des blessures corporelles, mettez toujours le robot multifonctions en fonctionnement avec un produit à l'intérieur du bol.
5.- L'appareil n'est pas à l'épreuve des intempérières. Pour votre sécurité et une manipulation correcte, placez-le à l'intérieur, où la température ambiente devrait être au minimum de 21^ et au maximum de 29^ .
6.- Ne placez pas la robot multifonctions dans une zone sujette à une excessive température ou à laGRAisse des grills ou friteuses, etc. Une température excessive pourrait cause des dommages à l'appareil.
7.- Ne placez pas la robot multifonctions dans une zone qui reduirait l'entrée d'air autour de la partie frontale et arrriere de l'appareil.
8.- Quelques surfaces extérieures de l'appareil deviendront chaudes. Prenez vos précautions quand vous toucherez ces parties pour éviter de vous brûler
FUNCTION PRINCIPALE
Faire des milk-shakes, découvert, hacher, raper, moudre, presser et centrifuger des fruits et des légumes, monter une crème fouettée ou une crème chantilly.
INSTALLATION
DéBALLAGE
1.- Ouvrez la caisse. Otez tous les matériaux d'emballage et les protecteurs couvrant l'appareil et les pièces.
2.- Extraire tous les accessoires et le livre d'instructions.
3.- Posez l'appareil sur une surface plate et lisse.
4.- Veillez à laver soignement à l'eau savonneuse et à secher tous les éléments au contact des aliments.














1- Ensemble moteur
2-Axe principal
3-Bol 1,5 I
4-Couvercle du bol
5-Poussoir
6-Bol mixeur
7-Lame de découpe longue métallique
8-Lame de découpe en plastique
9- Ensemble mixeur / monteur
10-Moulin
11- Lame à émincer 4 mm / râpagé épais
12-Lame a émincer 2 mm / râpagefin
13-Lame coupe frites
14-Lamea raper
15- Ensemble presse-agrumes
16- Ensemble de découvert pour petites quantités 0.8 It's
17- Ensemble centrifugeuse
18- Spatule








OPÉRATION
1.- Retirez l'emballage avant d'utiliser l'appareil. Ne jetez pas l'emballage tant que vous n'vez pas vérifié le fonctionnement de l'appareil.
2.- Placez ensemble moteur sur une surface plate et dure, évitez tout contact avec des zones excessivement chaudes. Vérifiez que le cordon électrique et la prise de courant sont bien en parfait état de marche.
3.- Préparez les fruits (par exemple : pomme coupée en morceaux, carottes ou d'autres fruits en morceaux), puis ajoutez de l'eau sans dépasser la ligne indiquant le volume maximum. Si vous souhaitez faire de la glace pilée, ajoutez quelques glacons et de l'eau, puis placez le couvercle.
4.- Placez l'axe principal dans l'emplacement central de l'ensemble moteur. Introduisez la lame plastique de découverte (uniquement valable pour découvertes les legumes et les fruits). Placez correctement le bol en verre sur l'ensemble moteur. Dans le cas contraire, le moteur ne fonctionnera pas car rien n'appuie sur l'interrupteur de sécurité de la partie principale. Introduisez les fruits ou les legumes que vous souhaitez émincer, vous pouze également les ajouter plus tard en les introduisant par le tube situé dans le couvercle du bol. Assurez-vous de fermer correctement le couvercle. La poignée du bol étant dotée d'un dispositif de sécurité, le moteur ne se mettra pas en marche si cette dernière n'est pas correctement fermée.
5.- Faites tourner le bouton de commande dans le sens des aiguilles d'une montre, le moteur se mettra alors en marche. Vous pouvez augmenter la vitesse en tournant le bouton de commande vers la droite. Utilisez la position P (PULSE), située à gauche du bouton de commande, pour hacher à votre guise à la vitesse maximum. Une fois le processus finalisé, tournez le bouton de commande dans le sens contraire des aiguilles d'une montre jusqu'à l'arrêt du moteur.
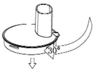
6.- Retirez le bol avec le couvercle en faisant pivoter l'ensemble de 90^ dans le sens contraire des aiguilles d'une montre, et séparez-le de l'ensemble moteur. Ouvrez le couvercle en le faisant pivoter de 30^ dans le sens contraire des aiguilles d'une montre, vous pouvez notamment acceder aux fruits et aux légumes coupés.
ATTENTION: La lame reste à l'intérieur. Vous devrez donc redoubler de précaution afin d'eviter des coupures et des lésions corporelles au niveau des doigs et des mains.
ACCESSIONS FOURNIS:

BOL MIXEUR
Pour utiliser le bol mixeur, placez-le sur l'ensemble moteur, faites-le pivoter de 90^ dans le sens des aiguilles d'une montre jusqu'à fixer sa position. Introduisez les ingrédients à mixer à l'intérieur.
N'utilise JAMAIS le bol sans le couvercle, la force centrifuge feraitoirlerliquidea l'extérieurde celui-ci. De plus, il s'agit d'une mesure de sécurité essentielle pour éviter des risques de dommages corporels.
Une fois le travail finalisé, retirez le bol en le faisant pivoter de 90^ dans le sens contraire des aiguilles d'une montre.




ENSEMBLE MIXEUR/MONTEUR
Introduisez l'axe principal dans la base de l'ensemble moteur, introduisez le bol et fixez sa position en le faisant pivoter de 90^ dans le sens des aiguilles d'une montre.
Placez l'ensemble mixeur/monteur sur l'extrémité supérieure de l'axe, puis introduisez la crème ou les blancs d'œufs à monter.
Placez le couvercle du bol, et fixez sa position en le faisant pivoter de 30^ dans le sens des aiguilles d'une montre.
Utilisez la vitesse minimum, l'ensemble tournera autour du bol en couvrant la totalité de ce dernier.
MOULIN
Cet accessoire vous permettra de moudre ou de hacher des produits secs tels que le chocolat, la cannelle, le poivre, etc.
Introduisez les éléments à moudre dans le bol transparent et fermez fortement avec le couvercle de la lame.
Placez le moulin sur l'ensemble moteur, et fixez sa position en le faisant pivoter de 90^ dans le sens des aiguilles d'une montre.
Nous vous recommendons l'utilisation de l'option P (PULSE) pour l'utilisation de cet accessoire.
Une fois le travail finalisé, retirez le moulin de l'ensemble moteur, retirez le couvercle avec la lame et utilisez le couvercle doseur pour stocker les ingrédents moulus.


LAMES DE DÉCOUPE
Placez l'axe principal sur la base de l'ensemble moteur, placez le bol et fixez sa position en le faisant pivoter de 90^ dans le sens des aiguilles d'une montre. Sélectionnez la lame de découpe à utiliser et placez-la sur l'extrémité supérieure de l'axe principal. Fermez avec le couvercle et fixez sa position en le faisant pivoter de 30^ dans le sens des aiguilles d'une montre. Retirez le poussoir et commencez à introduire les alimentés par le trou. Utilisez uniquement le poussoir fourni.
Pour acceder aux alimentés coupés, retirez le bol et séparez-le de l'ensemble moteur, faites pivoter le couvercle de 30^ dans le sens contraire des aiguilles d'une montre et retirez la lame de découpe. Vous pouvez maintainant acceder aux alimentés coupés.
PRESSE-AGRUMES
Placez l'axe principal sur la base de l'ensemble moteur, placez le bol et fixez sa position en le faisant pivoter de 90^ dans le sens des aiguilles d'une montre. Placez l'accessoire presse-agrumes et fixez-le en le faisant pivoter de 30^ dans le sens des aiguilles d'une montre. Utilisez la vitesse minimum.
Une fois le travail finalisé, retirez le bol puis retirez le presse-agrumes pour pouvoir servir le jus.

DÉCOUPE DE PETITES QUANTITÉS
Cet accessoire vous permettra de découvert et de hacher de petites quantités de légumes ou de fruits. Introduisez l'axe principal sur la base de l'ensemble moteur, placez le bol et fixez sa position en le faisant pivoter de 90^ dans le sens des aiguilles d'une montre. Fixez le conteneur transparent de cet accessoire sur l'axe central du bol, et placez la lame de cet accessoire. Introduisez les fruits ou les légumes que vous souhaitez hacher. Vous pouvez également les ajouter plus tard en les introduisant par le tube situé sur le couvercle du bol. Placez le couvercle du bol en le faisant pivoter de 30^ dans le sens des aiguilles d'une montre. Ajustez la vitesse à vos besoins.


CENTRIFugeUSE
Cet accessoire vous permettra de centrifuger tous types de fruits ou de légumes.
Placez l'axe principal sur la base de l'ensemble moteur, placez le bol et fixez sa position en le faisant pivoter de 90^ dans le sens des aiguilles d'une montre. Fixez le conteneur noir de cet accessoire sur l'axe central du bol, placez le couvercle de cet accessoire et fixez-le en le faisant pivoter de 30^ dans le sens des aiguilles d'une montre. Introduisez les fruits ou les légumes par la fente et appuyez en utilisant le pouvoir fourni.
Le liquide ou le jus résultat s'écoulera automatiquement dans le bol, vous devrez doncsteroler l'accessoire centrifugeuse pour y acceder.
Pour nettoyer cet accessoire, vous pouvez-retirer le filtré en le faisant pivoter de 30^ à l'intérieur du conteneur noir.
MAINTENANCE ET NETTOYAGE
MAINTENANCE:
1.- Assurez-vous que le refroidisseur est débranché avant de le nettoyer, ou si vous avez fini de vous en servir.
2.- Pour nettoyer le refroidisseur, n'utilisez que des déterments doux ou des produits pour nettoyer le verre. N'utilisez jamais de déterments abrasifs ou de dissolvants.
3.- Gardez l'appareil éloigné des sources de chaleur ou de la lumière directe.
4.- Le robot multifonctions est un apparéil électrique. Pour éviter des blessures graves, ou même un accident mortel, dû à un electrochoc, ne manipulez pas le refroidisseur à vin avec les mains mouillées, alors que vous étés debout sur une surface mouillée ou dans l'eau.
5.- N'utilisez pas l'appareil à l'extérieur ou dans des conditions d'intepérie.
NETTOYAGE:
1.- Lorsque vous avez fini de l'utiliser, eteignez le moteur et debranchez la prise, puis demontez les pieces pour les laver à l'eau, les secher et les remonter.
2.- Le corps principal ne peut pas etre lavé à l'eau,utilisez uniquement pour ce faire un chiffon humide.
3.- Rangez l'appareil dans un endroit sec, bien aéré et non humide.
- La Garantie a une durée de 24 mois, contre tout défaut de fabtrication, et celle-ci commence à partir de la date d'achat de l'appareil, la facture de l'achat correspondante faisant fj.
- Pour une correcte installation d'appareils électriques, suivez les règles suivantes:
a) Assurez-vous que la tension d'alimentation est la correcte par rapport à l'appareil à connecter et que celle-ci se trouve protégée par des systèmes de protection, comme des fusibles ou des magnétothermiques.
b) Evitez tout contact avec l'eau et l'humidité avec des apparciels électriques. RISQUE DE COURT-CIRCUIT ET D'ELECTROCUTION.
c) Evitez que des enfants ou du personnel non autorisé manipulent l'appareil.
- Avant l'installation de l'appareil, lisez attentivement les instructions du manuel. En cas d'incident ou de mal fonction nement, NE DEMONTEZ RIEN, consultez votre vendeur. L'INTERVENTION TECHNIQUE PAR LE CLIENT OU PAR DU PERSONNEL NON AUTORISÉ RENDRA IMMÉDIATEMENT NON VALISE LA GARANTIE.
- LACOR MENAJE PROFESIONAL, S.L. ne se rend pas responsable des pannes produit par une installation ou une utilisation incorrecte de l'appareil.
Notice Facile