69079 - Küchenmaschine LACOR - Kostenlose Bedienungsanleitung
Finden Sie kostenlos die Bedienungsanleitung des Geräts 69079 LACOR als PDF.
Laden Sie die Anleitung für Ihr Küchenmaschine kostenlos im PDF-Format! Finden Sie Ihr Handbuch 69079 - LACOR und nehmen Sie Ihr elektronisches Gerät wieder in die Hand. Auf dieser Seite sind alle Dokumente veröffentlicht, die für die Verwendung Ihres Geräts notwendig sind. 69079 von der Marke LACOR.
BEDIENUNGSANLEITUNG 69079 LACOR
GEBRAUCHS UND INSTANDHALTUNGSANLEITUNG
INSTRUCTIONS FOR USE AND MAINTENANCE
| INDEX | |
| Wichtigige Sicherheitsvorkehrungen | 17 |
| Wichtgste technische Daten | 18 |
| Wichtigige Information | 18 |
| Haupfunktion | 19 |
| Aufbau | 19 |
| Beschreibung der maschinenteile | 20 |
| Funktionsweise | 21 |
| Wartung & Reinigung | 23 |
BEDIENUNG SANLEITUNG GUT AUFBEWAHREN
These Anleitung enthalt wichtige Sicherheitshinweise zu Wartung, Benutzung und Bedienung des Gerätes. Das Nicht-Beachten der Anweisungen kann zu schweren Verletzungen führen. Falls Sie den Inhalt dieser Anleitung nicht verstehen, wenden Sie sichitte an ihren Vorgesetzten. Vor Inbetriebnahme des Gerätes muss die Bedienungsanleitung unbedingt gelesen und verstanden werden.
WICHTIGE SICHERHEITSVORKEHRUNGEN
Beim Einsatz jeglicher Art von Elektrogeräten sollen den Sie stets einige grundlegende Vorsichtsmaßnahmen einschließlich folgender einhalten::
1.- Um elektrische Schläge zu vermeiden, * dürfen weder Kabel und Stecker noch das Gerät in Wasser oder eine andere Flüssigkeit eingetaucht werden. Stecken Sie keine Schraubendreher oder andere metallische Elemente in das Geräteinnere.
2.- Wenn das Stromkabel beschädigt ist, muss es durch den Hersteller, dessen Kundendienst oder eine andere vom Hersteller autorisierte Person ausgetauscht werden. Bei einer Handhabung durch nicht autorisierte Personen erlischt die Garantie mit sofortiger Wirkung.
3.- Lassen Sie das Kabel nicht vom Tisch oder der Arbeitsfläche herabhängen und setzen Sie es nicht mit bereits Flächen in Berührung kommt.
4.- Benutzen Sie das Elektrogerät nicht, falls es beschädigt ist.
5.- Schalten Sie das Elektrogerät ab, bevor Sie Zubehör oder Hilfsmittel, die während des Gebrauchs in Bewegung sind, austauschen.
6.- Um das Elektrogerät vom Netz zunehmen, warten Sie bis der Motor stillteht undziehen Sie dann den Stecker aus der Steckdose.
7.- Lassen Sie das Gerät nicht ohne Aufsicht in Betrieb. Vergewissem Sie sich, dass der Motor vollkommen stillsteht, bevor Sie es auseinander fühmen. Ziehen Sie nach jedem Gebrauch den Stecker.
8.- Vermeiden Sie Kontakt mit den beweglichen Teilen. Seien Sie bei der Reinigung besonder vorsichtig.
9.- Vermeiden Sie die Berührung mit den bereits Maschinenteilen. Bei der Reinigung ist große Vorsicht geboten. Verwenden Sie Handschuhe.
10.- Achten Sie darauf, dass das Elektrogerät nicht von Kindern benutzt wird. Lassen Sie Elektrogeräte bei einem Gebrauch in der Höhe von Kindern niemals aus den Augen.
11.- Dieses Gerät ist nicht geeignet für Menschen mit verminderten physischen, sensorischen oder mentalen Fähigkeiten oder fehlender Erfahrung und Wissen, außer sie wurden vorab von einer für die Sicherheit verantwortlichen Person genugend über die Verwendung des Gerätes instruiert und überwacht. Kinder müssen immer überwacht werden, damit sie nicht mit dem Gerät speilen.
12.- Setzen Sie these Elektrogerät nur gemäß der Beschreibung in dieser Betriebsanleitung für seinen bestimmungsgemäßen Gebrauch ein. Verwenden Sie keine Teile oder Zubehör ohne Empfehlung des Herstellers.
13.- Verwenden Sie nur Originalersatzteile.
14.- ENTSORGUNG VON ELEKTROGERÄTEN: Entsorgen Sie these Gerät nicht in den ungetrennten Restmull. Durch den Einsatz von elektrischen und elektronischen Elementen ist eine separate Entsorgung gemäß den gesetzlichen Vorschriften Spaniens 208/2005 für getrennte Entsorgung von Elektrogeräten erforderlich.
WICHGSTE TECHNISCHE DATEN
AUSFUHRUNG: 69079
SPANNUNG: 220-240V
ZYKLUS: 50-60Hz
LEISTUNG: 800W
KAPAZITÄT: 1,50 Lts.
GESCHWINDIGKEITEN: 10 Geschwindigkeiten
MABE: 24x22x40 Cm.
GEWICHT: 6,50 Kgr.
WICHTIGE INFORMATION
Garantie
In dieser Bedienungsanleitung werden Hinweise zu Aufbau, Sicherheit und Bedienung des multifunktions-roboter gegeben. Wir empfehlen Ihnen, alle Aufbau-, Bedienungs- und Sicherheitshinweise in der Bedienungsanleitung vor dem Aufbau oder der Benutzung sorgfältig durchzulesen.
Der multifunktions-roboter ist das Ergebnis von ausfuhrlicher Forschung und Betriebserprobung.
Die verwendeten Materialien wurden aufgrund der langen Lebensdauer, des
Erscheinungsbildes und der optimalen Leistungsfähigkeit ausgesucht.
Jedes Gerät wurde vor dem Versand gründlich überprüft und getestet.
WICHTIG! Bewahren Sie die Bedienungsanleitung immer auf.
Falls das Gerät den Besitzer wechselt, stellen Sie sicher, dass das Handbuch immer bei dem Gerät bleibt.

ACHTUNG
1.- Stecken Sie den Stecker des Gerätes in eine geeignete geerdete Steckdose mit der richtigen Voltanzahl, Groß und Art. Falls die Steckdose und der Stecker nicht aufeinander passen, halten Sie von einem Elektriker die geeignete Voltzahl und Groß bestimmen und die entsprechende Steckdose installieren.
2.- Zur Vermeidung von Verletzungen drehen Sie den An-/Ausschalter aus,ziehen Sie den Netzstecker und halten Sie das Gerät abkühlen,bevor Sie Wartungsarbeiten vornehmen.
3.- Aus Sicherheitsgründen ist das Gerät in einem ausreichenden Abstand zu entflammbaren Wäden und Materialien aufzustellen. Wenn der Sicherheitsabstand nicht eingehalten wird, konnen Verfährungen und Verbrennungen auftreten. Stellen Sie den multifunktions-roboter nicht unter Regale und halten Sie einen Mindestabstand von 30 cm (12") nach oben ein.
4.- Der seitliche Abstand sollte mindestens 3 cm (1") detragen. Der Sicherheits- und Bedienabstand zur Front- und Heckklappe solte 31 cm (12") detragen.
5.- Zur Vermeidung von Verletzungen und Schädenziehen Sie das Gerät nicht am Netzkabel.
6.- Zur Vermeidung von Verletzungen und Schäden benutzen Sie das Gerät nicht, wenn der Netzstecker ausgefranst oder beschädigt ist.

WARNHINWEISE
1.- Stellen Sie das Gerät in einer benutzerfreundlichen Höhe auf. Der Platz, an dem das Gerät aufgestellt wird, sollte eben sein, so dass das Gerät oder sein Inhalt nicht aus Versehen herunterfallen kann, und stark genug, um das Gewicht des Gerätes zu,tragen.
2.- Legen Sie nichts auf den multifunktions-roboter, um Beschädigung des multifunktions-roboter oder Verletzungen des Bedienpersonals zu vermeiden.
3.- Bei der Aufstellung des Gerätes ist darauf zu achten, dass der An-/Ausschalter ausgeschal tet ist. Nicht-Beachten kann zu Verletzungen des Bedienpersonals führen.
4.- Um Schäden des Gerats oder Körperverletzungen abzuwenden, setzen Sie das Gerät nur in Gang, wenn die Schüssel gefüllt ist.
5.- Das Gerät ist nicht wasserdicht. Zum sicheren und geeigneten Bedieren sollen das Gerät in Innenräumen aufgestellt werden und die Raumtemperatur mindestens 21^ ( 70^ ) und hochstens 29^ ( 85^ ) betragen.
6.- Halten Sie den multifunktions-roboter von Hitzequellen fern und achten Sie darauf, dass er nicht von Fett von Grills, Fritteusen usw. verspritzt werden kann. Überhitzung kann das Gerät beschädigen.
7.- Der multifunktions-roboter sollte so aufgestellt werden, dass eine Luftzirkulation um das Gerät herum gewährleistet ist.
8.- Die Außenteile des Gerätes können sich erhitzen. Vorsicht beim Berühren dieser Teile, um Verletzungen zu vermeiden.
HAUPTFUNKTION FUNCION
Herstellung von Eis, Schneiden, Hacken, Reiben, Mahlen, Auspressen, Obst und Gemüse Entsaften und Schlagen.
AUFBAU
AUSPACKEN
1.- Öffnen Sie den Karton. Entfernen Sie das Verpackungsmaterial und die Schutzhüllen, die das Gerät und die Seitenteile bedecken.
2.- Entnehmen Sie das Zubehör und das Bedienungshandbuch.
3.- Stellen Sie das Gerät auf eine ebene und nivellierte Fläche.
4.- Reinigen Sie alle mit den Lebensmitteln in BerührungCOMMenden Teile unbedingt mit Wasser und Spulmitel und trocknen Sie sie dann ab.














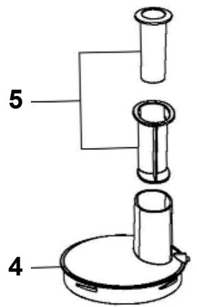
1-Motoreinheit
2-Hauptachse
3- 1,5 L Krug
4- Krugdeckel
5- Stopfer
6 - Mixbecher
7-Langes Metallschneidemesser
8- Plastik-Schneidemesser
9- Ruh-/Schlagerät
10-Muhle
11- Zerkleinerungs-Schneidescheibe 4 mm / grobe Reibe
12- Zerkleinerungs-Schneidescheibe 2 mm / feine Reibe
13- Pommes Frites-Schneidescheibe
14-Raspel-Schneidescheibe
15-Saftpresse
16-Zerkleinerer furkleine Mengen 0.8 Lts
17- Entsafter
18- Spachtel







BETRIEB
1.- Entfernen Sie die Verpackung, bevor Sie das Gerät benutzen. Werfen Sie die Verpackung nicht weg, bevor Sie sich nicht davon überzeugt haben, dass das Gerät korrekt Funktioniert.
2.- Stellen Sie den motoreinheit auf eine harte ebene Fläche. Vermeiden Sie die Höhe zu starker Hitze. Überprüfen Sie, ob sich das Netzkabel und die Steckdose in einwandfreiem Zustand befinden.
3.- Préparez les fruits (par exemple : pomme coupée en morceaux, carottes ou d'autres fruits en morceaux), puis ajoutez de l'eau sans dépasser la ligne indiquant le volume maximum. Si vous souhaitez faire de la glace pilée, ajoutez quelques glaçons et de l'eau.
4.- Setzen Sie die Hauptachse in das Gehäuse des Motorblocks ein. Setzen Sie das Plastik-Schneidemesser ein (nur zum Schneiden von Obst und Gemüse verwendbar). Bringen Sie den Glaskrug richtig auf dem Motorblock auf. Wenn der Krug nicht richtig aufgesetzt wird, funktioniert der Motor nicht, da der Sicherheitsschalter am Hauptgehäuse nicht gedrückt wird. Geben Sie das Obst oder Gemüse, das zerkleinert werden soll, in den Krug. Sie können die Zutaten auch später durch die Öffnung des Krugdeckels in den Behälter geben. Vergewissem Sie sich, dass der Deckel gut verschlossen ist. Der Krughenkel ist mit einer Sicherung ausgestattet, die den Motorbetrieb verhindert, wenn der Krug nicht fest aufgesetzt ist.
5.- Drehen Sie den Geschwindigkeitsregler im Uhrzeigersinn, um den Motor anzuschalten. Sie können die Geschwindigkeitsstufe erhöhen, indem Sie den Regler nach rechts drehen. Mit der Reglerposition P (PULSE), die sich rechts am Regler befindet, können Sie die Zutaten je nach Belieben mit maximaler Geschwindigkeit hacken.
Wenn der Vorgang abgeschlossen ist, drehen Sie den Regler gegen den Uhrzeigersinn, bis der Motor stehen bleibt.
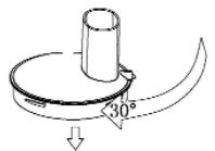
6.- Nehmen Sie den Krug mitsamt dem Deckel ab, indem Sieihn um 90^ im Uhrzeigersinn drehen und trennen Sieihn von der Motoreinheit. Öffnen Sie den Deckel, indem Sieihn um 30^ gegen den Uhrzeigersinn drehen. Nun können Sie das zerkleinerte Obst und Gemüse Herausnahmen.
VORSICHT: Im Kruginneren befindet sich das Schneidemesser! Sie sollen den shalb sehr vorsichtig sein, um Schnitte und Verletzungen an den Fingern und Händen zu vermeiden.
MITGELIEFERTES ZUBEHÖR:

MIXBEHÄLTER
Zur Verwendung des Mixers drehen Sie den Mixbehälter, der auf der Motoreinheit sitzt, um 90^ im Uhrzeigersinn, bis er einrastet. Geben Sie die Zutaten, die gemixt werden sollen, in den Behälter.
Benutzen Sie den Behälter NIE ohne Deckel! Die Flüssigkeit wurde sonst durch die Zentrifugalkraft herausgespritzt werden. Außen dem dient die Abdeckung als grundlegende Sicherheitsmaßnahme, um die Anwender vor Risiken zu schützen.
Wenn Sie fertig sind,nehmen Sie den Behälter ab,indem Sieihn um 90^ im Uhrzeigersinn drehen.



RÜHR-/SCHLAGGERÄT
Setzen Sie die Hauptachse auf den Motorenuntersatz und befestigen Sie den Behälter, indem Sieihn um 90^ im Uhrzeigersinn drehen. Setzen Sie das Ruhr-/Schlaggerät auf den oberen Teil der Achse auf und geben Sie die Sahne oder das Eiweiß zum Schlagen in den Behälter. Bringen Sie den Deckel auf dem Behälter an und drehen Sie diesen um 30^ im Uhrzeigersinn bis er einrastet.
Wenn Sie die niedrigste Geschwindigkeitsstufe einstellen, dreht sich das Gerät um den Behälter und umfasst so den ganzen Behälter.
MÜHLE
Mit diesen Zubehör können Trockenprodukte wie Schokolade, Zimt, Pfeffer usw.leitung gemahlen werden.
Geben Sie die zu mahlenden Zutaten in das durchsichtige Glas und schreiben Sie es fest mit dem Messerdeckel.
Setzen Sie die Mühle auf die Motoreinheit und drehen Sie sie um 90^ im Uhrzeigersinn bis sie einrastet.
Beim Gebrauch thesez Zubehörs empfehlen wir, die Option P (PULSE) zu wahlen.
Wenn Sie fertig sind, erhnen Sie die Mühle von der Motoreinheit ab, entfern den Sie den Deckel mit dem Messer und benutzen Sie den Dosierungsdeckel, um die gemahlenen Zutaten aufzubewahren.


SCHNEIDESCHEIBEN
Setzen Sie die Hauptachse auf den Motorenuntersatz und befestigen Sie den Behälter, indem Sieihn um 90^ im Uhrzeigersinn drehen. Wahlen Sie die entsprechende Schneidescheibe aus und setzen Sie sie auf das obere Ende der Hauptachse auf. Schließen Sie den Deckel fest, indem Sieihn um 30^ im Uhrzeigersinn drehen. Nehmen Sie den Stopfer und führen Sie die Zutaten durch die Öffnung ein. Benutzen Sie damit nur den mitgelieferten Stopfer! Nehmen Sie den Behälter ab und trennen Sieihn von der Motoreinheit. Drehen Sie den Deckel um 30^ im Uhrzeigersinn und nehmen Sie die Schneidescheibe Heraus. Nun konnen Sie die zerkleinerten Zutaten verwenden.
SAFTPRESSE
Setzen Sie die Hauptachse auf den Motorsockel auf, setzen Sie den Behälter ein und drehen Sie um 90^ im Uhrzeigersinn, bis er einrastet. Setzen Sie die Saftpresse ein und drehen Sie sie um 30^ im Uhrzeigersinn bis sie einrastet. Verwenden Sie die niedrigste Geschwindigkeitsstufe.
Wenn Sie fertig sind,nehmen Sie den Behälter ab und die Saftpresse hereus, um den Saft zu servieren.

MINI-SCHNEIDER
Mit diesen Zubehör konnen Sie keine Mengen an Obst und Gemüse schreiben und hacken.
Setzen Sie die Hauptachse auf den Motorsockel und befestigen Sie den Behälter, indem Sieihn um 90^ im Uhrzeigersinn drehen. Setzen Sie den durchsichtigen Behälter diesen Zubehörs auf die Hauptachse des Krugs auf und setzen Sie das zugehörige Schneidemesser ein. Geben Sie das Obst oder Gemüse hinzu, das gehackt werden soll. Wahlweise können Sie es auch durch die Deckelöffnung des Kruges beifugen. Schlüften Sie den Krugdeckel, indem Sieihn um 30^ im Uhrzeigersinn drehen. Stellen Sie die nötige Geschwindigkeit ein.


ENTSAFTER
Mit diesen Zubehör können Sie alle Obst- und Gemüsearten entsaften.
Setzen Sie die Hauptachse auf den Motorsockel und befestigen Sie den Behälter, indem Sieihn um 90^ im Uhrzeigersinn drehen. Setzen Sie den schwarzen Behälter theses Zubehörteils auf die Hauptachse des Krugs auf und schließen Sie den Deckel, indem Sieihn um 30^ im Uhrzeigersinn drehen. Fügen Sie das Obst oder Gemüse durch die Öffnung hinzu und verwenden Sie dazu den mitgelieferten Stopfer.
Die Flüssigkeit bzw. der Saft wird dann automatisch in den Krug gefüllt. Nehmen Sie deshalb erst das Entsafterzubehör Heraus. Nehmen Sie den Filter heraus, indem Sieihn um 30^ im schwarzen Behälter drehen und reinigen Sieihn anschließend.
WARTUNG UND REINIGUNG
WARTUNG:
1.- Vergewisern Sie sich, dass bei Nichtgebrauch oder vor Reinigung des Weinkühlers das Netzkabel gezogen ist.
2.- Verwenden Sie zur Reinigung des Weinkühlers nur milde Reinigungsvprodukte bzw. Glasreiniger. Verwenden Sie keinesfalls scharfe Reinigungsmittel oder Lösungsmittel.
6.- Halten Sie das Gerät von Wärmequellen oder direkter Sonneneinstrahlung fern.
7.- Der multifunktions-roboter ist ein Elektrogerät. Um Stromschläge mit Verletzung oder Todesfolgezu vermeiden, bedieten Sie den Weinkühler nicht mit nassen Händen oder wenn Sie auf einer nassen Fläche bzw. in Wasser stehen.
8.- Verwenden Sie das Gerät weder im Freien noch in feuchter Umgebung.
REINIGUNG:
1.- Schalten Sie nach dem Gebrauch den Motor aus,ziehen Sie den Stecker raus,nehmen Sie den Mixer auseinander, waschen Sie seine Einzelteile, trocknen Sie sie und setzen Sie ihn wieder zusammen.
2.- Die Mixerbasis mit dem Motor kann nicht gewaschen werden. Reinigen Sie sie nur mit einem feuchten Tuch.
3.- Bewahren Sie das Gerät an einem trockenen und gut belufteten Ort auf.
NET WEIGHT: 6,50 Kgr.
WORTHY INFORMATION
VOORNAAMSTE TECHNISCHE GEGEVENS
MODEL: 69079
SPANNING: 220-240V
FREKWENTIE: 50-60Hz
VERMOGEN: 800W
HOEDANIGHEID:1,50 Lts.
- Es gilt eine Garantie auf jegliche Fabrikationsmängel für die Dauer von 24 Monaten. Die Garantiezeit beginnnt ab dem Kaufdatum, welches durch die entsprechende Rechnung nachzuweisen ist.
- Für den sachgemäß Ben Anschluss von Elektrogeräten sind folgende Richtlinien zu befolgen:
a) Vergewissern Sie sich, dass die Versorgungsspannung für das Gerät geeignet ist und dass diese durch Schutzsysteme wie Sicherrungen oder Thermomagnetschalter geschichert ist.
b) Vermeiden Sie jeglichen Kontakt von Elektrogeräten mot Wasser und Feuchtigkeit. GEFAHR EINES KURZSCHLUSSES BZW, STROMSCLAGS.
c) Achten Sie darauf, dass das Gerät nicht von Kindern oder nicht autorisiertem Personal bedient wird.
- Lesen Sie vor Aufbau des Elektrogeräts aufmerksam die Betriebsanleitung durch. Bei Vorräten jeder weder Art bzw. Fehlfunktionen DEMONTIEREN SIE DAS GERÄT NICT, sondern wenden Sie sich an ihren Handler. BEI TECHNISCHEN EINGRIFFEN SEITENS DES KUNDEN ODER NICT AUTORISIERTEM PERSONALS ERLISCHT DIE GARANTIE SOFORT.
- LACOR MENAJE PROFESIONAL, S.L. haftet noch bei Störungen, die durch unsachgemäßen Aufbau oder Einsatz des Geräts hervorgerufen wurden.
EinfachAnleitung