ELS100EICB/-EU - ELS100EIMG/-EU - ELS100EISB/-EU - Appareil de cuisson FALCON - Notice d'utilisation et mode d'emploi gratuit
Retrouvez gratuitement la notice de l'appareil ELS100EICB/-EU - ELS100EIMG/-EU - ELS100EISB/-EU FALCON au format PDF.
| Type d'appareil | Chauffage à combustible mixte |
| Combustible | Mixte (deux types) |
| Installation | Murale ou au sol |
| Mode d'emploi | Instructions d'installation et d'entretien incluses |
| Entretien | Recommandé périodique |
| Puissance | Non précisé |
| Dimensions | Non précisées |
| Poids | Non précisé |
| Matériau | Non précisé |
| Sécurité | Normes standards applicables |
| Garantie | Non précisée |
| Utilisation | Résidentielle ou professionnelle |
| Marque | Non précisée |
| Modèle | Non précisé |
| Alimentation | Non précisée |
| Type de combustion | Mixte |
FOIRE AUX QUESTIONS - ELS100EICB/-EU - ELS100EIMG/-EU - ELS100EISB/-EU FALCON
Questions des utilisateurs sur ELS100EICB/-EU - ELS100EIMG/-EU - ELS100EISB/-EU FALCON
0 question sur cet appareil. Repondez a celles que vous connaissez ou posez la votre.
Poser une nouvelle question sur cet appareil
Téléchargez la notice de votre Appareil de cuisson au format PDF gratuitement ! Retrouvez votre notice ELS100EICB/-EU - ELS100EIMG/-EU - ELS100EISB/-EU - FALCON et reprennez votre appareil électronique en main. Sur cette page sont publiés tous les documents nécessaires à l'utilisation de votre appareil ELS100EICB/-EU - ELS100EIMG/-EU - ELS100EISB/-EU de la marque FALCON.
MODE D'EMPLOI ELS100EICB/-EU - ELS100EIMG/-EU - ELS100EISB/-EU FALCON
Instructions d'installation et d'entretien
1. Avant de commencer... 1
Important! 1
Installation et entretien 1
Odeur de Neuf 1
Si vous sentez une odeur de gaz 1
Ventilation 1
Sécurité Personnelle 1
Entretien de la cuisine 2
Nettoyage 2
2. Vue d'ensemble de la cuisine 3
Brûleurs de table de cuisson 3
Brûleur de wok 4
Plaque à griller (option) 5
Gril Coulissant « Glide-out » 6
Fours 6
Accessoires 9
Eclairage du four principal 10
Rangement 10
3. Conseils pour la cuisson 11
Conseils pour la Four multifonction 11
Conseils généraux pour la cuisson au four 11
5. Nettoyage de la cuisinière 13
Informations importantes 13
Brûleurs de Table de Cuisson 13
Brûleurs Mono-élément 13
Brûleur de Wok 13
Support spécial de wok 14
Plaque à Griller 14
Gril Coulissant 14
Panneau de commande et portes 15
Fours 15
Tableau Nettoyage 16
7. Installation 19
Mesures et règlements de sécurité 19
Ventilation 19
Emplacement de la cuisinière 19
Modification 19
Positionnement de la cuisinière 21
Déplacement de la cuisinière 21
Baissez les deux galets arrière 22
Exécution du mouvement 22
Montage d'unités dispositifs stabilisateur 22
Repositionnement de la cuisine 23
Modification en vue de l'utilisation 23
d'un autre gaz 23
Mise à niveau 23
Montage de la balustrade 23
Raccordement de l'alimentation en gaz 24
Raccordement électrique 24
Montage de la plinthe 25
Conseils à la clientèle 25
1. Avant de commencer...
Nous vous remercions d'avoir acheté cette cuisinière. Installée et utilisée correctement, cette cuisinière vous donnera de nombreuses années de service fiable. Il est important de lire la présente section avant de commencer, en particulier si vous n'avez jamais utilisé de cuisinière mixte.
Important!
Cet appareil est donc uniquement pour un usage domestique. Toute autre utilisation n'engage ni la responsabilité, ni la garantie du fabricant. En particulier, n'utilise PAS le four pour chauffer la cuisine - non seulement cette pratique invalidera les réclamations, mais elle constituera un gaspillage d'énergie et un risque de surchauffe des boutons de commande. A4 Cette cuisinière est un appareil électroménager de classe 1.
Installation et entretien
Son installation doit être conforme aux instructions appropriées des fabricants et satisfaire à la réglementation nationale et locale en vigueur, ainsi qu'aux prescriptions des entreprises de gaz et d'électricité locales.
Vérifiez que l'alimentation en gaz est en service et que la cuisinière est raccordée à l'alimentation électrique et sous tension (la cuisinière a besoin d'électricité).
La cuisinière doit faire l'objet d'un entretien effectué par un technicien d'entretien qualifié, lequel doit utiliser uniquement des pièces de rechange approuvées.
Laissez toujours la cuisinière refroidir et mettez-la hors tension avant de la nettoyer ou d'effectuer une intervention d'entretien, sauf indication contraire dans les présentes instructions.
Odeur de neuf
Une légère odeur de neuf peut se dégager lors de la première utilisation de la cuisinière. Elle disparaîtra rapidement à l'utilisation.
Avant la première utilisation de l'appareil, assurez-vous qu'il ne reste aucun matériel d'emballage, puis regalez le four sur 200°C et faites-le marcher pendant une heure afin d'éliminer l'odeur de neuf.
Avant la première utilisation du grill, allumez-le et faites-le marcher pendant 15 minutes, avec la lèchefrite bien en place, et en laissant la porte du grill ouverte.
Veillez à ce que la pièce soit bien ventilée (voir « Ventilation » ci-dessous). Il est recommandé aux personnes souffrant de problèmes respiratoires ou d'allergies de quitter la pièce pendant ce temps.
Si vous sentez une odeur de gaz
N'actionnez aucun interrupteur électrique, ni pour allumer, ni pour éteindre. - Ne fumez pas. N'utilisez pas de flammes nues. - Coupez le gaz au compteur ou au niveau de la bouteille de gaz. Ouvrez portes et fenêtres pour évacuer le gaz. Éloignez toute personne de l'endroit concerné. - Appelez votre fournisseur de gaz.
Ventilation
L'utilisation d'un appareil de cuisson produit de la chaleur et de l'humidité dans la pièce contenant l'appareil. Par conséquent, veillez à ce que la cuisine soit bien ventilée. Laissez les ouvertures de ventilation naturelle ouvertes ou installez une hotte aspirante à évacuation extérieure. En cas d'utilisation simultanée de plusieurs brûleurs ou d'utilisation prolongée de la cuisinière, ouvrez une fenêtre ou mettez en marche une hotte aspirante.
Sécurité personnelle
Appareil ne DOIT PAS être modifié. À cet appareil n'est pas prévu pour être utilisé par des personnes (y compris des enfants) dont les capacités physiques, sensorielles ou mentales sont réduites, ou par des personnes manquant d'expérience ou de connaissances, sauf si elles ont pu bénéficier, par l'intermédiaire d'une personne responsable de leur sécurité, de surveillance ou d'instructions préalables concernant l'utilisation de l'appareil. N'utilise PAS de nettoyeur à vapeur sur votre cuisinière. Les parties accessibles de la cuisinière deviennent chaudes lorsque celle-ci est en marche et resteront chaudes même après la cuisson. Ne laissez pas les bébés et les enfants s'approcher de la cuisinière et ne portez jamais de vêtements amples ou flottants lors de l'utilisation de la cuisinière.
Vérifiez toujours que les commandes sont sur la position Arrêt [OFF] lorsque le four n'est pas en marche et avant de nettoyer la cuisine.
Lorsque le four est en marche, ne laissez PAS la porte du four ouverte plus longtemps que nécessaire, afin de prévenir une surchauffe des boutons de commande. Lors de l'utilisation du grill, veillez à ce que la lèchefrite soit en place et insérée à fond dans l'enceinte du grill, ici pour prévenir le risque de surchauffe des boutons de commande.
Notez que cet appareil électroménager possède un ventilateur. Lorsqu'un four ou une grille est en fonctionnement, le ventilateur fonctionnera pour refroidir la commande et les boutons de commandes.
Veillez à ce que les matériaux combustibles (rideaux, liquides inflammables, etc.) soient toujours suffisamment éloignés de la cuisine.
N'utilisez PAS d'aérosols à proximité de la cuisinière lorsque celle-ci est en marche.
Au besoin, utilisez des gants isolants secs – l'emploi de gants humides risque de causer des brûlures dues à la vapeur lors du contact avec une surface chaude. N'utilisez pas de torchon ou autre chiffon secs à la place d'un gant isolant – ils risquent de s'enflammier au contact d'une surface chaude.
Ne faites jamais fonctionner la cuisinière avec les mains mouillées. A Ne recouvrez pas les grilles, les panneaux internes ou la voute du four de papier aluminium. A Ne chauffez jamais des récipients alimentaires qui n'ont pas été ouverts. La pression accumulée à l'intérieur des récipients peut les faire éclater et blesser l'utilisateur. N'utilisez pas des casseroles instables. Tournez toujours les manches des récipients de cuisson vers l'intérieur de la table de cuisson. N'UTILISEZ PAS de récipients de cuisson de diamètre supérieur à celui du foyer.
Ne laissez jamais la table de cuisson en marche sans surveillance si les brûleurs sont réglés sur maximum. Le débordement des récipients peut produire de la fumée et des taches de gras qui risquent de s'enflammer. Si possible, utilisez un thermomètre à bain de friture pour prévenir une surchauffe de l'huile au-delà du point de fumée.
Ne laissez jamais une friteuse sans surveillance. Faites toujours chauffer l'huile lentement, en la surveillant. Les friteuses ne doivent être remplies qu'à un tiers de leur capacité. Une friteuse trop pleine peut déborder lorsqu'on y plonge des aliments. Si vous utilisez un mélange d'huile et de graisse pour la friture, mélangez-les avant de chauffer, ou pendant la fonte des graisses.
Les aliments à frire doivent être le plus sec possible. La présence de cristaux de glace sur des aliments congelés ou d'humidité sur des aliments frais peut provoquer une ébullition et un débordement de l'huile. Surveillez attentivement pour prévenir les débordements et la surchauffe pendant la friture à haute ou moyenne température. N'essayez jamais de déplacer un récipient de cuisson contenant de l'huile chaude, en particulier une friteuse. Attendez que l'huile ait refroidi.
Lorsque le grill est en marche, ne vous servez pas de la grille d'évacuation (la grille le long de la partie arrière de la cuisinière) pour réchauffer des assiettes ou des plats, sécher des torchons ou ramollir du beurre.
N'utilisez pas d'eau pour éteindre les incendies dus à la graisse et ne soulevez jamais un récipient de cuisson qui a pris feu. Éteignez la cuisinière et étouffez un récipient qui a pris feu sur une table de cuisson en le recouvrant complètement avec un couvercle de taille appropriée ou une plaque de cuisson. Si possible, utilisez un extincteur à poudre chimique ou à mousse de type polyvalent.
La cuisson d'aliments à haute teneur en eau peut produire une « bouffée de vapeur » à l'ouverture de la porte du four. Lorsque vous ouvrez la porte du four, reculez-vous et attendez que la vapeur se soit dissipée.

Veillez à prévenir toute infiltration d'eau dans l'appareil.
Cet appareil est lourd; prenez garde lorsque vous le déplacez.
Entretien de la cuisinière
En raison de la condensation de vapeur pendant la cuisson, vous devrez peut-être essuyer (avec un chiffon doux) des gouttelettes d'eau présentes sur la garniture extérieure du four. Cette précaution contribuera également à prévenir les taches et la décoloration de l'extérieur du four dues aux vapeurs de cuisson.
Nettoyage
Pour des raisons d'hygiène et de sécurité, la cuisinière doit toujours être propre, afin de prévenir le risque d'incendie causé par l'accumulation de graisse et autres particules alimentaires.
Nettoyez uniquement les composants indiqués dans les instructions.
Nettoyez avec précaution. Si vous utilisez une éponge ou un chiffon humide pour essuyer des taches sur une surface chaude, prenez garde au risque de brûlures par la vapeur. Certains produits nettoyants peuvent produire des vapeurs nocives au contact d'une surface chaude.
2. Vue d'ensemble de la cuisinière

La cuisinière à gaz avec four électrique 110 (Fig.2-1) possède les caractéristiques suivantes:
A. 6 brûleurs de table de cuisson (dont 2 brûleurs wok) B. Un panneau de commande C. Un grill coulissant D. Un four multifonctions principal E. Un four ventilé F. Un tiroir de rangement
Brûleurs de table de cuisson
Le schéma à côté de chaque bouton indique le brûleur associé à ce bouton.
Chaque brûleur est doté d'un dispositif de sécurité spécial qui coupe l'alimentation en gaz en cas d'extinction de la flamme.
Lorsque vous appuyez sur un bouton de la table de cuisson, une étincelle se produit à chaque brûleur – ce qui est tout à fait normal. N'essayez jamais de démonter ou de nettoyer autour d'un brûleur lorsqu'un autre brûleur est allumé. Vous risqueriez de recevoir une décharge électrique.
Pour allumer un brûleur, appuyez sur le bouton de commande associé et mettez-le sur le symbole grande flamme (H) (Fig. 2-2).

Fig.2-3
Fig. 2-4 Fig. 2-5

Fig.2-6
Fig.2-7
Fig.2-8
Le dispositif d'allumage produit une étincelle et allume le gaz. Continuez d'appuyer sur le bouton pendant quelques secondes pour permettre l'arrivée du gaz dans le brûleur.
Si le brûleur s'éteint lorsque vous relâchez le bouton de commande, le dispositif de sécurité n'a pas été enclenché. Mettez le bouton de commande sur la position Arrêt [Off] et attendez une minute avant d'essayer de nouveau, en appuyant un peu plus longtemps sur le bouton.
Tournez le bouton en sens anti-horaire pour régler la hauteur de flamme (Fig. 2-3). Sur cette cuisinière, la position minimum est au-delà de la position maximum, et non pas entre position maximum et arrêt. Le symbole petite flamme indique le réglage minimum.
Si la flamme d'un brûleur s'éteint, mettez le bouton de commande sur la position Arrêt [Off] et attendez une minute avant de rallumer.
Veillez à ce que les flammes ne dépassent pas des récipients de cuisson. Utilisez un couvercle sur les récipients de cuisson pour porter à ébullition plus rapidement (Fig. 2-4).
Veillez à ce que les récipients de cuisson de grande taille soient bien espacés entre eux.
N'utilisez pas de casseroles ou marmites à fond concave ou à fond à rebord incurvé vers le bas (Fig.2-5).
L'utilisation de dispositifs de mjotage, de type plaques d'amiate ou plaques métalliques, est DECONSEILLEE (Fig.2-6). Ces dispositifs diminuérer les performances de la cuisinière et risquent d'endommager les grilles de la table de cuisson.
N'utilise pas des récipients de cuisson instables ou déformés susceptibles de se renverser, ni des récipients de cuisson à fond de très petit diamètre (casseroles à lait, pocheuses individuelles, etc.) (Fig.2-7).
Le diamètre minimum recommandé pour les récipients de cuisson est de 120mm. Le diamètre maximum pour les récipients de cuisson est de 250mm.
N'UTILISEZ PAS de récipients de cuisson de diamètre supérieur à celui du foyer.
Brûleur de wok
Le brûleur de Wok (coup de feu) est donc pour fournir une chaleur uniforme sur une grande surface. Il est parfait pour les grandes poèles et la friture rapide à feu vif (Fig. 2-8).
Les petits brûleurs sont plus adaptés aux récipients de cuisson plus petits.
Les composants du brûleur sont démontables pour faciliter le nettoyage. Voir « Nettoyage de la cuisine »
En cas de débordement, essuyez dès que possible la surface émaillée autour des brûleurs de la table de cuisson. Tâchez d'essuyer la substance renversée pendant que l'émail est encore chaud.
Remarque: Les récipients en aluminium peuvent laisser des traces métalliques au niveau des grilles de la table de cuisson. Ces traces sont sans incidence sur la durabilité de l'émail et peuvent être éliminées à l'aide d'un nettoyant pour métaux.
Support spécial de wok
Le support spécial de wok est conçu pour permettre l'utilisation d'un wok professionnel de 35 cm. Si vous utilisez un autre modèle de wok, vérifiez qu'il repose correctement sur le support spécial. Les woks peuvent avoir des tailles et des formes très variées. Il est important que le wok repose correctement sur le support - mais si le wok est trop petit, il ne sera pas bien maintenu en place par le support spécial (Fig. 2-9).
Le support spécial de wok doit être utilisé uniquement sur le brûleur de wok à triple élément. Lorsque vous placez le support spécial, vérifiez que le wok repose bien sur les barres avant et arrière et qu’il est bien soutenu par une grille de la table de cuisson. Vérifiez que le support spécial est stable et que le wok est placé à niveau sur le brûleur (Fig.2-10).
Le support spécial deviendra très chaud pendant l'utilisation – laissez-le refroidir suffisamment longtemps avant de le retirer.
Plaque à griller (option)
La plaque chauffante entre dans le support central de la casserole, d'avant en arrière (Fig.2-11). Elle s'utilise pour la cuisson directe des aliments. N'utilise pas de récipients de cuisson sur cette plaque. La plaque à griller a une surface antiadhésive susceptible d'être endommagée par des ustensiles de cuisine métalliques (spatules, par exemple). Utilisez des ustensiles en bois ou en plastique thermorésistant.

NE LA PLACEZ PAS transversalement - elle sera mal placée et instable. (Fig. 2-12).

NE LA PLACEZ PAS SUR aucun autre brûleur - elle n'est pas conçue pour être placée sur un autre logement de la table de cuisson.
Placez la plaque à griller sur les grilles des brûleurs de la table de cuisson. Vérifiez qu'elle est placée correctement.
Avant l'utilisation, vous pouvez enduire la plaque d'une légère couche d'huile à friture (Fig. 2-13). Allumez les brûleurs de la table de cuisson et réglez la hauteur de flamme selon les besoins.
Préchauffez la plaque à griller pendant 5 minutes au maximum avant d'y déposer les aliments. Un préchauffage plus long risque de l'endommager. Pour réduire la chaleur, tournez les boutons de commande vers le réglage inférieur indiqué par le symbole petite flamme.

Veillez à ce qu'il y ait toujours suffisamment de place autour de la plaque à griller pour permettre l'évacuation des gaz.

N'utilisez jamais deux plaques à griller côte à côte (Fig. 2-14).
Après la cuisson, laissez refroidir la plaque à griller avant de la nettoyer.






Fig.2-15
Fig.2-16
Fig.2-17
Tableau 2-1
| Fonction | Utilisation |
| Décongélation | Décongélation de petites quantités d'aliments dans le four sans chaleur |
| Four ventilé | Fonction de cuisson complète, chaleur uniforme; idéale pour la pâtisserie |
| Gril ventilé | Gril des viandes et poissons, avec portedu grill fermée |
| Four ventilé mixte | Fonction de cuisson complète; parfaite pour les rôts et la pâtisserie |
| Four conventionnel | Fonction de cuisson complète pour les rôts et la pâtisserie dans la partieinférieure du four |
| Élement gratineur | Pour gratiner les plats recouverts defromage |
| Chaleur inférieure | Pour dorer les fonds de quiches, pizzas ou pâtisseries |
Gril coulissant « glide-out
Ouvrez la porte du grille et tirez le support de la lèchefrite vers l'avant à l'aide de la poignée (Fig.2-15).
Le grill a deux éléments qui permettent de chauffer la totalité de la lèchefrite ou seulement la partie droite de celle-ci.
Tournez le bouton de commande pour régler la chaleur du grill. Pour un chauffage total, tournez le bouton en sens horaire (Fig.2-16).
Pour le chauffage de la partie droite, tournez le bouton en sens antihoraire. Le voyant à côté de la commande du grill s'allumera.
Pour de meilleurs résultats, faire rentrer le chariot dans la chambre du grill et préchauffer la/les partie(s) appropriée(s) du grill pendant deux minutes. Vous pouvez retirer la lèchefrite et y déposer les aliments pendant le préchauffage.

NE LAISSEZ PAS LE GRIL EN MARCHE pendant plus de quelques instants si la lèchefrite n'est pas en place sous le grill, et cela pour prévenir le risque de surchauffe des boutons de commande.
Après préchauffage, retirez le support du grill de l'enceinte du grill. Replacez la l'échefrite et réinsérez le support du grill dans l'enceinte du grill. Vérifiez qu'il est bien inséré.

Des composants accessibles risquent de devenir chauds pendant l'utilisation du grill. Éloignez les enfants de la cuisinière.
La grille de la l'échefrite est réversible pour permettre deux positions de grill (Fig. 2-17).
Ne laissez jamais le grill en marche pendant plus de quelques instants si la l'écheferite n'est pas en place sous le grill.

Ne fermez jamais la porte du grill lorsque celui-ci est en marche.
Fours
Remarque - Les références au four gauche et droit s'entendent vue de l'avant. Le four gauche est un four multifonctions ; le four droit est un four ventilé.
Four multifonctions gauche
Outre le ventilateur de four et l'élément du ventilateur, le four est doté de deux éléments chauffants supplémentaires, l'un visible dans la voûte, et l'autre sous la sole. Veillez à ne pas toucher l'élément supérieur et le déflecteur de l'élément lors de l'insertion ou du retrait des plats dans le four.
Le four Multifonctions a trois fonctions de cuisson principales : cuisson ventilée, cuisson ventilée mixte et cuisson conventionnelle. Utilisez ces fonctions pour effectuer l'essentiel de la cuisson.
L'élément gratineur et la chaleur inférieure peuvent être utilisés en fin de cuisson pour finir certains plats. Utilisez les fonctions grill ventilé pour la cuisson au grill et décongélation pour décongeler de petites quantités d'aliments surgelés.
Le Tableau 2-1 récapitule les modes Multifonctions.
Le four multifonctions permet de nombreuses utilisations variées. Nous vous conseillons de bien surveiller la cuisson jusqu'à ce que vous soyez familiarisé avec chaque fonction. N'oubliez pas: toutes les fonctions ne conviennent pas à tous les types d'aliments.
N'oubliez pas: toutes les cuisinières sont différentes – les températures de vos nouveaux fours peuvent être différentes de celles de votre ancienne cuisinière.
Décongélation

Avec cette fonction, le ventilateur du four brasse uniquement de l'air froid. Il n'y a pas de chaleur.
Cette fonction permet de décongeler des aliments,
en petites quantités, par exemple des desserts, gâteaux à la crème, morceaux de viande, poisson et volaille.
Ce type de décongélation accélère le processus de décongélation et protège les alimentés des mouches. Placez les morceaux de viande,. POSSON et VOLaille sur une grille, au-dessus d'une plaque prévue pour I'égouttement. N'oubliez pas de nettoyer la grille et la plaque après décongélation.
La porte du four doit être fermée pendant la décongélation.
Des aliments plus volumineux, tels que des poulets entiers et des rôts, ne doivent pas être décongelés de cette façon. Nous vous conseillons de les décongeler au réfrigérateur.
Ne décongelez pas des alimentés dans un four tiède ou à côté d'un four en marche ou encore chaud.
Vérifiez que les alimentés à base de produits laitiers, de viande et de volaille sont complètement décongelés avant de les cuire.
Four ventilé

Cette fonction commande le ventilateur et l'élément chauffant autour de celui-ci. Une chaleur uniforme est produite partout dans le four, ce qui permet la
cuisson rapide de grandes quantités d'aliments.
La cuisson par four ventilé est particulièrement utile pour la cuisson simultanée d'aliments sur plusieurs grilles et est une excellente fonction « polyvalente ». Vous devrez peut-être diminuer la température de 10°C environ pour des plats que vous aviez l'habitude de cuire dans un four conventionnel.
Si vous souhaitez préchauffer le four, attendez que le voyant s'éteigne avant de mettre le plat au four.
Gril ventile

Cette fonction commande le ventilateur pendant que l'élément chauffant supérieur est en marche.
On obtient ainsi une chaleur plus uniforme, moins
intense que celle d'un grill conventionnel. Pour obtenir les meilleurs résultats possibles, placez les aliments à griller sur une grille sur un plat à roi qui doit être plus petit qu'une plaque de grill conventionnel. Ceci assure une meilleure circulation de l'air. Ce type de cuisson est idéal pour les morceaux de viande ou de poisson épais, car la circulation de l'air diminue l'intensité de la chaleur du grill.
La porte du four doit être fermée pendant la cuisson au grill pour éviter un gaspillage d'énergie.
Vous constaterez que vous devrez moins surveiller et tourner les aliments cuits de cette façon. Ce type de cuisson nécessite un préchauffage du four.
Four ventilé mixte

Cette fonction commande le ventilateur et brasse l'air chauffé par les éléments chauffants de la voûte et de la sole du four. Cette fonction, qui combine la cuisson
ventilée et la cuisson conventionnelle (chaleur supérieure et inférieure), est un moyen de cuisson idéal pour les aliments volumineux (gros rôti, par exemple) pour lesquels une cuisson complète est très importante.
On peut également faire cuire des plats simultanément sur deux grilles, mais les plats devront être intervertis pendant la cuisson, car, avec cette fonction, la chaleur est plus intense dans la voûte du four qu'au niveau de la sole.
Ce mode de cuisson est intensif et rapide ; surveillez les aliments cuits de la sorte jusqu'à ce que vous soyez familiarisé avec cette fonction.
Four conventionnel (chaleur de voûte et de sole)

Cette fonction combine la chaleur fournie par les éléments supérieurs et inférieurs. Elle est particulièrement utile pour la cuisson d'aliments rôtis.
et des pâtes à tartes, gâteaux et biscuits.
Les aliments cuits sur la grille supérieure gratineront et doreront plus rapidement que ceux placés sur la grille inférieure car la chaleur est plus intense dans la voute du four qu'au niveau de la sole, comme dans le cas de la fonction « Four ventilé mixte ». Des aliments similaires cuits de la sorte devront être intervertis pour cuire uniformément. Cette fonction permet donc de cuire des aliments nécessitant des températures de cuisson différentes, en utilisant la partie moins chaude dans la partie inférieure du four et la partie plus chaude dans la partie supérieure du four.
Élément gratineur

Cette fonction utilise uniquement l'élément situé dans la voûte du four. C'est une fonction utile pour gratiner ou finir des gratins de pâtes, des légumes.
en sauce et des lasagnes, le plat à gratiner étant déjà chaud avant la mise en marche de l'élément supérieur.
Chaleur inférieure

Cette fonction utilise uniquement l'élément inférieur. Elle permettra de dorer le fond de votre pizza ou de votre quiche ou de terminer la cuisson d'un fond de
tarte sur une grille inférieure. C'est également une chaleur douce, parfaite pour le mijotage de plats placés au milieu du four ou pour réchauffer des assiettes.
Les fonctions Élément gratineur et Chaleur inférieure sont des adjonctions utiles à votre four et vous permettent de finir vos plats à la perfection. Vous constaterez rapidement que leur utilisation contribue à étendre vos compétences culinaires.
Fig.2-18 Sélecteur de température Sélecteur de fonction
Fig.2-19
Fig.2-20
Fig.2-21
Fig.2-22 A-Vue d'en haut, B-Vue de côte, C-Garde d'étagère, D-Avant Le protège-grille doit être à l'arrière, et pointer vers le haut
Four droit à ventilateur
Le four droit à ventilateur est un four ventilé qui fait circuler de l'air chaud en continu, ce qui permet une cuisson rapide et plus constante.
En général, les températures de cuisson recommandées pour un four ventilé sont plus basses que celles pour un four conventionnel.
N'oubliez pas : toutes les cuisinières sont différentes - les températures de vos nouveaux fours peuvent être différentes de celles de votre ancienne cuisinière.
Fonctionnement du four multifonction à gauche
Le four multifonctions est doté de deux commandes, un sélecteur de fonction et un bouton de réglage de température (Fig.2-18).
Tournez le sélecteur de fonction pour le mettre sur une fonction de cuisson. La Fig.2-19 montre le réglage pour la cuisson au four à convection.
Mettez le bouton de réglage de température du four sur la température requise (Fig.2-19).
Le voyant du four restera allumé jusqu'à ce que le four atteigne la température requise. Le système démarre alors un cycle de marche-arrêt puisque le four maintient la température sélectionnée (Fig.2-21).
Fonctionnement du four ventilé à droite
Mettez le bouton du four sur la température requise (Fig.2-20).
Le voyant du four restera allumé jusqu'à ce que le four atteigne la température requise. Il s'allumera et s'éteindra pendant la cuisson (Fig.2-21).
Grilles de four
Outre la grille plate (Fig. 2-22), certains modèles sont fournis avec une grille surbaissée (Fig. 2-23), qui augmente les possibilités d'espacement entre les grilles de four.
Les grilles de four peuvent être facilement retirées et remises en place.
Tirez la grille vers l'avant jusqu'à ce que l'arrière de la grille soit arrêté par les butées d'arrêt latérales du four (Fig.2-24).
Soulevez l'avant de la grille pour faire passer l'arrière de la grille sous la butée d'arrêt, puis tirez la grille vers l'avant (Fig.2-25).
Pour remettre la grille en place, mettez la grille à niveau avec une glissière latérale du four, puis insérez la grille à fond jusqu'à ce que les extrémités soient en contact avec la butée d'arrêt de la grille. Soulevez l'avant de la grille pour que les extrémités dépassent les butées, puis abaissez l'avant pour permettre la grille à l'horizontal, avant de l'insérer à fond (Fig.2-26).
Le Handyrack (Fig.2-27) se monte uniquement sur la porte du four gauche. Il est facile de surveiller les aliments faisant ainsi car vous pouvez accéder lorsque la porte est ouverte.
Le Handyrack peut supporter un poids maximum de 5,5 kg. Il ne doit être utilisé qu'avec le plat à rôtir fourni, qui est spécialement conçu pour être utilisé avec le Handyrack. Tout autre récipient de cuisson risque d'être instable.
Vous pouvez le monter sur deux positions. Retirez une des grilles et placez l'autre selon les besoins.
Lorsque le Handyrack est utilisé sur sa position supérieure, d'autres plats peuvent être cuits sur une grille placée à la position inférieure ou placée directement sur la sole du four.
Lorsque le Handyrack est utilisé sur sa position inférieure, d'autres plats peuvent être cuits sur une grille placée à la deuxième position du four ou directement sur la sole du four.
Pour monter le Handyrack, placez un côté sur le support de la porte (Fig.2-28) : extrayez l'autre côté pour l'accrocher sur l'autre support (Fig.2-29).





Fig.2-30
Fig.2-31

Fig.2-32
Fig.2-33
Éclairage du four principal
Appuyez sur le bouton approprié pour allumer l'éclairage du four (Fig. 2-30).
Si l'éclairage est défectueux, mettez la cuisinière hors tension avant de changer l'ampoule. Pour des informations détaillées sur la façon de changer une ampoule de four, reportez-vous à la section « Dépannage ».
Rangement
Le tiroir inférieur permet le rangement des plaques de cuisson et autres ustensiles de cuisine. Il peut devenir très chaud; n'y rangez pas des objets susceptibles de fondre ou de s'enflammer.
Pour retirer le tiroir, tirez vers l'avant (Fig.2-31).
Poussez les extrémités des attaches en plastique – vers le bas du côté gauche et vers le haut du côté droit – pour relâcher les taquets qui retiennent le tiroir sur les rails latéraux (Fig.2-32). En même temps, tirez le tiroir hors des rails latéraux.
Pour sécurité, repoussez les glissières du tiroir.
Pour remonter le tiroir de la cuisine, tirez sur les glissières latérales. Poussez soigneusement le tiroir entre les glissières et déposez-le sur les glissières latérales.
En soutenant l'avant du tiroir de chaque côté, tirez sur la glissière latérale pour que les dispositifs de maintien s'enclenchent afin de maintenir le tiroir sur les glissières (Fig.2-33).
Conseils pour la fourne multifonction
N'oubliez pas : Toutes les fonctions ne conviennent pas à tous les types d'aliments. Les températures du four et les temps de cuisson sont fournis à titre indicatif uniquement.
Conseils généraux pour la cuisson au four
Veillez à ce que les grilles soient toujours insérées à fond dans le four.
Placez les plaques de cuisson, plats à rôtir, etc., à niveau, au centre des grilles du four. Placez les autres plats au centre sur les grilles. Éloignez les plaques et les plats de cuisson des bords du four, afin de ne pas trop dorer les alimentés.
Pour dorer un plat uniformément, il est recommandé d'utiliser une plaque de cuisson de dimensions maximales de 340 mm x 340 mm.
Lorsque le four est en marche, NE laissez PAS la porte du four ouverte plus longtemps que nécessaire, afin dprévenir une surchauffe des boutons de commande.
- Laissez toujours un « doigt de largeur » entre des plats placés sur une grille de four. Ceci afin de faciliter la circulation de chaleur autour des plats. Pour réduire les projections grasses lorsque vous ajoutez des légumes dans la graisse chaude autour d'un roti, séchez soigneusement les légumes ou enduisez-les d'un peu d'huile à friture.
- Placez les plats susceptibles de bouillir et déborder pendant la cuisson sur une plaque de cuisson. Le four produit assez de chaleur pendant la cuisson pour réchauffer des assiettes placées dans l'enceinte du grill. Si vous souhaitez dorer un fond de tarte, préchauffez une plaque de cuisson pendant 15 minutes avant de placer le plat au centre de la plaque.
4. Cuisson de la table
Les températures du four et les temps de cuisson sont fournis à titre indicatif uniquement. En fonction des goûts de chacun, les températures devront peut-être être modifiées dans un sens ou dans l'autre, pour obtenir les résultats que vous recherchez.
Dans un four ventilé, les plats sont cuits à une température plus basse que dans un four traditionnel. Lorsque vous suivez une recette, réduisez la température indiquée de 10°C et le temps de cuisson de 5-10 minutes. La température dans un four ventilé ne varie pas selon la position dans le four – vous pouvez donc utiliser n'importe quelle grille.

Température Four Position Température Conventionnel °C de grille Four Ventilé °C Temps de Cuisson Approximatif H-haut; C-centre; B-base
| Vienne | |||||
| Bœuf | 160 | C | 150 | 30-35 minutes par 500g +30-35 minutes. | Farci et roulé - Ajoutezapproximativement 10 minutes/500gaux temps de cuisson ci-dessus oufaites cuire à 200°C pendant 20minutes, puis à 160°C pendant lereste de la cuisson. |
| 200 | C | 190 | 20-25 minutes par 500g +20-25 minutes. | ||
| Agneau | 160 | C | 150 | 30-35 minutes par 500g +30-35 minutes. | |
| 200 | C | 190 | 20-25 minutes par 500g +20-25 minutes. | ||
| Porc | 160 | C | 150 | 35-40 minutes par 500g +35-40 minutes. | |
| 200 | C | 190 | 25-30 minutes par 500g +25-30 minutes. | ||
| Volaille | |||||
| Poulet | 160 | C | 150 | 20-25 minutes par 500g +20-25 minutes. | Volatile farcie - Cuisson à 200°C ou à200°C pendant 20 minutes, puis à160°C pendant le resté de la cuisson.Preémballée (fraîche ou congelee):Suivre les temps de cuisson indiquéssur l'emballage. |
| 200 | C | 190 | 15-20 minutes par 500g +15-20 minutes. | ||
| Dinde | 160 | C | 150 | 25-30 minutes par 500g +25-30 minutes. | |
| 200 | C | 190 | 20 minutes par 500g +20 minutes. | ||
| Canard | 160 | C | 150 | 25-30 minutes par 500g. | Avant la cuisson, decongelezcompletement les rotis et volaillescongeles. |
| 200 | C | 190 | 20 minutes par 500g. | ||
| Plat braisé | 140-150 | C | 130-140 | 2-4 heures selon la recette. | |
| Poisson | |||||
| 190 | C | 180 | Filet 15-20 minutes. Morceau entier 15-20 minutes par 500g. | ||
| 190 | C | 180 | Morceau entier 10 minutes par 500g +10 minutes. | ||
| 190 | C | 180 | Steaks selon l'épaisseur. | ||
| Gâteau | Avec un four traditionnel : lorsque lacuisson est aux deux tiers, laissez au moins un espace de coullisse entre lestabletes. | ||||
| Cake 100% fruits confits | 140 | C/B | 130 | 45-50 minutes par 500g de pâte. | |
| Fruits 180mm | 150 | C/B | 140 | 2-2,5 heures. | Placez le plateau de cuisson avec lapartie antérieure à l'avant de la tablettedu four.Lors de la cuisson à deux étages, lesplaques doivent être inversées aprèsenviron la moitié du temps de cuisson. |
| Fruits 230mm | 150 | C/B | 140 | 3,5 heures. | |
| Gâteau quatre quarts 180mm | 180 | C | 170 | 20-30 minutes. | |
| Desserts | |||||
| Tarte pâté brisée | 200 | C | 190 | 30-40 minutes. | |
| Tourtes aux fruits | 180 | C | 170 | 30-40 minutes permutation après 25 minutes. | |
| Tartelettes | 180 | C | 170 | 15-20 minutes. | Les trois tiers peuvent être cuits dansun four ventilé en même temps, maisveillez laisser au moins un espace decouisse entre chaque tablettes surlaquelle vous faites cuire. |
| Pâte feuilletée | 220 | C | 210 | 20-40 minutes selon la taille. | |
| Meringues | 100 | C | 90 | 2-2,5 heures selon la taille. | |
| Pain | 220 | C | 210 | 20-30 minutes. | |
Informations importantes
Avant un nettoyage complet, mettez la cuisinière hors tension. Laissez-la refroidir.
N'utilise jamais de solvants pour peinture, de cristaux de soude, de nettoyants caustiques, de poudres biologiques, d'eau de Javel, de nettoyants chlorés, ni de produits abrasifs à gros grain ou de sel. Ne mélangez pas plusieurs produits nettoyants, car ils risquent de réagir entre eux et d'avoir des effets nocifs.
Toutes les parties de la cuisinière peuvent être lavées à l'eau savonneuse chaude – mais veillez à prévenir toute infiltration d'eau dans l'appareil.
N'oubliez pas de mesurer l'électricité avant de réutiliser la cuisine.
Brûleurs de table de cuisson
Certains modèles ont un anneau de garniture séparé qui se place sur la tête du brûleur.
Les têtes et chapeaux de brûleurs sont démontables pour faciliter le nettoyage. Vérifiez qu'ils sont complètement secs avant de les remettre en place.
Brûleurs mono-élément
Lors de la remise en place de la tête du brûleur, assurez-vous que l'encoche est en face de l'électrode ou du trou sur le socle. Vérifiez que la tête du brûleur est à niveau et que le chapeau est bien centré sur la tête du brûleur (Fig. 5-1).
Brûleur de wok
Le brûleur de Wok est un peu plus complexe mais est aussi démontable à des fins de nettoyage.
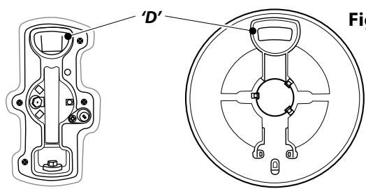
Lors du remontage des éléments du brûleur de Wok (Fig.5-2), retournez l'anneau de garniture et repérez la partie en forme de « D » (Fig.5-3). Tournez la tête jusqu'à ce que le « D » corresponde à celui situé sur le socle du brûleur. Retournez la tête et placez-la sur le socle du brûleur.
Pour monter le petit brûleur interne, repérez la grande encoche d'électrode sur le bord du brûleur. Alignez-la sur l'électrode d'allumage blanche et placez le brûleur interne sur le grand anneau du socle (Fig.5-4).
Montez les deux chapeaux de brûleur, en vérifiant qu'ils sont placés correctement.
Assurez-vous que les orifices de brûleur ne sont pas obstrués. En cas d'obstruction des orifices, retirez les particules tenaces à l'aide d'un bout de fusible.
A-Chapeau, B-Tête, C-Encoche, D-Socle, E-Électrode
Fig.5-2
A - Chapeau de brûleur interne, B - Chapeau de brûleur externe, C - Tête de brûleur interne, D - Tête de brûleur externe, E - Socle de brûleur de Wok

A - Encochage, B - Électrode d'allumage
Fig.5-5
Fig.5-6
Fig.5-7
Fig.5-8
Fig.5-9
Support spécial de wok
Il est recommandé d'utiliser de l'eau savonneuse chaude, un tampon récurreur savonnée humide, un produit de nettoyage semi-liquide ou un tampon récurreur en nylon pour le nettoyage.
Plaque à griller
Nettoyez toujours la plaque à griller après usage. Attendez qu'elle soit complètement refroidie avant de la retirer. Plongez la plaque dans de l'eau savonneuse chaude. Utilisez un chiffon doux ou, dans le cas de taches tenaces, une brosse à vaisselle en nylon.
Remarque: Si la plaque chauffante est lavée dans un lave-vaiselle, il est possible que des résidus apparaissent à l'arrête. Ceci est normal et n'affectera pas les performances de votre plaque chauffante.
Gril coulissant

Avant de déplacer des composants du grill pour les nettoyer, assurez-vous qu'ils ont refroidi ou protégez-vous avec des gants isolants.
La lèchefrite et le support sont amovibles pour faciliter le nettoyage.
Lavez la lèchefrite et la grille à l'eau savonneuse chaude.
Après les grillades de viandes ou d'aliments salissants, faites tremper dans l'évier, pendant quelques minutes, immédiatement après la cuisson. Les taches tenaces sur la grille peuvent être enlevées à l'aide d'une brosse en nylon.
La lèchefrite peut aussi être lavée au lave-vaisselle.
Procédez comme suit pour retirer la lèchefrite à des fins de nettoyage. Pour retirer le support de la lèchefrite, tirez la lèchefrite vers l'avant (Fig.5-5).
Soulevez la lèchefrite du support. Le support est maintenu sur les glissières latérales par deux clips de chaque côté (Fig.5-6).
Pour chaque côté, soutenez la glissière latérale d'une main et, de l'autre, soulevez le support pour le dégager des clips latéraux (Fig.5-7).
Par sécurité, repoussez les glissières latérales dans l'enceinte du gril.
Pour faciliter le nettoyage de l'enceinte du gril, vous pouvez retirer les glissières latérales en les décrochant des côtés de l'enceinte (Fig. 5-8) et essuyer les côtés avec un chiffon doux imbibé de détergent doux.
NE LAVEZ PAS les glissières latérales au lave-vaissette.
Après nettoyage, raccrochez les glissières latérales sur les côtes de l’enceinte du grill. Pour remonter le support, tirez les glissières latérales vers l’avant, et, pour chaque côté, soutenez la glissière et appuyez sur le support pour le réinsérer dans les glissières. Replacez la l’échefrite. Lors de la remise en place de la l’échefrite, assurez-vous que le bord large est à l’avant (Fig. 5-9).
Panneau de commande et portes
N'utilisez pas des produits nettoyants abrasifs, y compris des produits nettoyants semi-liquides, sur les surfaces en acier inoxydable brossé. Les meilleurs résultats s'obtiennent avec des détergents liquides.
Le panneau et les boutons de commande doivent uniquement être nettoyés avec un chiffon doux imbibé d'eau savonneuse chaude – mais prenez garde à ce qu'aucun excédent d'eau ne s'infiltre dans l'appareil. Essuyez avec un chiffon propre puis astiquez avec un chiffon sec.
Panneaux autonettoyants du four
Les jours sont dotés de panneaux amovibles à revêtement émaillé qui sont partiellement autonettoyants. Ceci n'empêche pas complètement la formation de taches sur le revêtement, mais réduit le nettoyage manuel nécessaire.
Le nettoyage automatique des panneaux est plus efficace à une température supérieure à 200°C. Si, en général, vous utilisez le four à des températures inférieures, retirez occasionnellement les panneaux et essuyez-les avec un chiffon non pelucheux imbibé d'eau savonneuse chaude. Séchez et replacez les panneaux dans le four chauffé à 200°C pendant environ une heure. Ceci assurera un bon fonctionnement des panneaux autonettoyants.
N'utilisez pas de paille de fer ou tout autre matériel susceptible de rayer la surface.
Enlever les revêtements du four
Certains panneaux internes de four sont amovibles afin de permettre leur nettoyage. Retirez d'abord les grilles du four.
Chaque panneau latéral est maintenu en place par quatre vis de fixation. Les panneaux peuvent être retirés sans avoir à enlever les vis. Soulevez chaque panneau latéral pour le décrocher des vis (Fig.5-10). Tirez-le ensuite vers l'avant.
Après retrait des panneaux internes, vous pouvez nettoyer l'intérieur émaillé du four.

Tableau nettoyage
Les produits nettoyants indiqués sont en vente dans les supermarchés ou les magasins d'accessoires électriques. Pour les surfaces émaillées, utilisez un produit nettoyant recommandé pour l'émail vitrifié.
Un nettoyage régulier est recommandé. Pour faciliter le nettoyage, essuyez les taches immédiatement.
Pour éviter les projections grasses dans le four, recouvrez les rôts de papier aluminium ou utilisez un sac de cuisson. Enduisez les légumes de matière grasse avant de les placer autour de la viande.
Table de cuisson
| Composant | Finition | Méthode de nettoyage recommendée |
| Surface de la table de cuisson | Email ou acier inoxydable | Eau savonneuse chaude, chiffon doux. FrottezDoucement avec un tampon à récurer en nylon pour éliminer les taches tenaces. |
| Plaques électriques étanches | Fonte | Nettoyez la rouille et les résidus alimentaires à l'aide d'un tampon à récurer en païle de fer savonnoux en frottant dans le sens du grain. Rincez et laissez sécher. Utilisez un produit rénovateur pour plaques de cuisson (en ventedans les magasin d'accessoires électriques) pour rénover la couleur et protégger les plaques. |
| Table de cuisson céramique/induction | Verre tempé | Eau savonneuse chaude, nettoyant crème/tampon à récurer si nécessaire. |
| Plaque à griller (selon les modèles) | Surface antiadhésive | Laissez refroidir. Lavez à l'eau savonneuse chaude. N'utilise pas de produits nettoyants/tampons abrasifs. Lave-vaiselle. |
| Zone de réchauffage (selon les modèles) | Verre tempé | Eau savonneuse chaude, nettoyant crème/tampon à récurer si nécessaire. |
| Exterieur de la cusinière | ||
| Composant | Finition | Méthode de nettoyage recommendée |
| Porte, pourtour de portet extérieur du tiroir de rangement | Email ou peinture | Eau savonneuse chaude, chiffon doux. FrottezDoucement les tâches tenaces avec un détergent liquide. |
| Acier inoxydable | Chiffon multi-uses en microfibre (supermarché). | |
| Côtés et plinthe | Surface peinte | Eau savonneuse chaude, chiffon doux. |
| Dosseret / Grille arrête | Email ou acier inoxydable | Eau savonneuse chaude, chiffon doux. Nettoyez soigneusement avec un produit nettoyant semi-liquide, si nécessaire. |
| Panneau de commande | Peinture, émail ou acier inoxydable | Eau savonneuse tiège. N'utilise pas de produits nettoyants abrasifs sur les caractères. |
| Boutons de commande/poignées et garnitures | Plastique/chrome ou cuivre | Eau savonneuse tiège, chiffon doux. |
| Laiton | Produit de polissage pour laiton (supermarché). | |
| Vitre de porte de four / Couvercle en verre | Verre tempé | Eau savonneuse chaude, nettoyant crème/tampon à récurer si nécessaire. |
| Four et Gril | ||
| Composant | Finition | Méthode de nettoyage recommendée |
| Parois, sole et voûte du four - PAS les PANNEAUX AUTONETTOYANTS (voir ci-dessous) | Tout produit nettoyant pour four utilisable avec l'émail. ATTENTION : PRODUITS NETTYANTS CORROSIFS/CAUSTIQUES POUR FOURS : SUIVEZ LES INSTRUCTIONS DU FABRICANT. Evitez tout contact avec les éléments du four. | |
| Panneaux autonettoyants de four (selon les modèles) | Email spécifique partiellement autonettoyant | Cette surface est autonettoyante à 200 °C ou plus; vous pouze également retarder les panneaux et les nettoyer à l'eau savonneuse chaude et avec une Brosse en nylon. |
| Grilles de four, Handyrack, grille de l'echefrite, Handygrill | Chrome | Tout produit nettoyant pour four utilisable avec le chrome. Tampon à récurer savonneux. Lave-vaiselle. |
| L'echefrite/Plat à viande (selon les modèles) | Eau savonneuse chaude. Tampon à récurer savonneux. Lave-vaiselle. | |
Défaillance de l'allumage ou des brûleurs de la table de cuisson
L'appareil est-il sous tension ? Si ce n'est pas le cas, l'alimentation électrique est peut-être défectueuse.
Les encoches du générateur d'étincelles (électrode d'allumage) ou du brûleur sont-elles obstruées par des débris ?
Les anneaux de garniture et les chapeaux des brûleurs sont-ils placés correctement : voir la section « Nettoyage de la cuisinière »?
Souvenez-vous que chaque brûleur a un dispositif de sécurité spécial qui coupe l'alimentation en gaz en cas d'extinction de la flamme. À l'allumage d'un brûleur, le dispositif de sécurité doit être désactivé en maintenant le bouton de commande enfoncé pour permettre au gaz de s'échapper. Le détecteur de flamme peut ainsi s'échauffer et enclencher le dispositif de sécurité. Continuez d'appuyer sur le bouton pendant quelques secondes pour permettre l'arrivée du gaz dans le brûleur. Le système d'allumage produit une étincelle et allume le gaz.
Si le brûleur s'éteint lorsque vous relâchez le bouton de commande, le dispositif de sécurité n'a pas été enclenché. Mettez le bouton de commande sur la position Arrêt [Off] et attendez une minute avant d'essayer de nouveau, en appuyant un peu plus longtemps sur le bouton.
Les brûleurs de la table de cuisson ne s'allument pas
Assurez-vous que les éléments du brûleur ont été replaced correctement après avoir été essuyés ou retirés pour nettoyage.
Vérifiez que l'alimentation en gaz n'est pas défectueuse. Pour ce faire, vérifiez le fonctionnement de vos autres appareils à gaz.
Les brûleurs produisent-ils une étincelle lorsque vous appuyez sur le bouton ? Si ce n'est pas le cas, vérifiez que la cuisine est sous tension.
De la vapeur s'échappe du four
Pendant la cuisson d'aliments à haute teneur en eau (frites surgelées, par exemple), un peu de vapeur peut être visible à la grille à l'arrêt du chauffe-plats. Faites attention en ouvrant la porte du four, une bouffée de vapeur peut s'échapper momentanément à l'ouverture du four. Reculez-vous et attendez que la vapeur se soit dissipée.
Le ventilateur du four est bruyant
Le bruit du ventilateur peut changer pendant le chauffage du four - ceci est tout à fait normal.
Quels sont les produits de nettoyage recommandés pour la cuisinière?
Reportez-vous à la section « Nettoyage » pour en savoir plus sur le matériel recommandé pour le nettoyage.
N'utilisez jamais de produits nettoyants caustiques ou abrasifs qui abîmeront la surface.
Ceci est dû à la chaleur provenant du four ou du gril. Ne laissez pas la porte du four ouverte.
Lorsque vous utilisez le grill, assurez-vous que la l'échafaud du grill est bien insérée jusqu'à la butée arrière.
Laissez toujours la porte de l'enclenche du grill ouverte pendant l'utilisation du grill.
Les commandes deviennent chaudes lorsque j'utilise le four ou le grill
La cuisinière est refroidie par un ventilateur. Si les commandes deviennent excessivement chaudes lorsque la cuisinière est en fonctionnement, alors le ventilateur peut avoir une défaillance. Si tel est le cas, veuillez contacter votre installateur, un ingénieur de réparation qualifié ou le service client pour effectuer les réparations.
En cas de problème concernant l'installation, si mon installateur d'origine ne peut pas venir résoudre le problème, à qui incombent les frais?
C'est à vous qu'incombent ces frais. Les sociétés d'entretien factureront leurs interventions si elles réparent une installation effectuée par votre installateur d'origine. Il est de votre intérêt de contacter votre installateur d'origine.
Les alimentés cessent trop lentement, trop rapidement, ou brûlent
Les temps de cuisson peuvent être différents de ceux de votre ancien four. Vérifiez que vous utilisez les températures et positions de grilles de four recommandées. Les températures du four et les temps de cuisson sont fournis à titre indicatif uniquement. En fonction des goûts de chacun, les températures devront peut-être être modifiées dans un sens ou dans l'autre, pour obtenir les résultats que vous recherchez.
La cuisson au four n'est pas uniforme
Dans le cas d'un grand plat, vous devrez peut-être le tourner pendant la cuisson.
Si vous utilisez deux grilles, vérifie qu'il y a assez de place pour permettre à la chaleur de circuler. Lorsque vous inserez une plaque de cuisson dans le four, veillez à la placer au centre de la grille.
Fig.6-1
Fig.6-2

Fig.6-3
Effet de l'ajustement de la charnière - exagéré pour plus de clarté
Fig. 6-4 Ligne centrale de l'axe de charnière Omission de la porte du four pour plus de clarté
Vérifiez que le joint d'étanchéité de la porte n'est pas endommagé et que le loquet de porte est réglé de façon à ce que la porte soit bien appuyée contre le joint.
Vérifiez que le joint d'étanchéité de la porte n'est pas endommagé.
Un récipient d'eau placé sur la grille doit avoir une profondeur uniforme. (S'il est plus profond à l'arrière, par exemple, l'arête de la cuisinière doit être levé ou l'avant de la cuisinière abaissé.)
Si la cuisine n'est pas à niveau, demandez à votre fournisseur de la déplacer à niveau.
Le four ne s'allume pas
L'appareil est-il sous tension ?
Si ce n'est pas le cas, l'alimentation électrique est peut-être défectueuse.
Avez-vous sélectionné une fonction pour la cuisson ?
Si le fait de mettre le bouton de réglage sur une température inférieure n'a pas eu d'effet ou a eu un effet temporaire, vous devrez peut-être remplacer le thermostat. Cette intervention doit être effectuée par un spécialiste de l'entretien.
L'éclairage du four ne fonctionne pas
L'ampoule a probablement grillé. Vous pouvez acheter une ampoule de rechange (non couverte par la garantie) dans un magasin d'accessoires électriques. Demandez une ampoule à culot vissable Edison 15 W 240 V, POUR FOURS. Cette ampoule doit pouvoir résister à une température de 300°C (Fig. 6-1).
Avant de retirer l'ampoule usagée, mettez la cuisinière hors tension et assurez-vous que le four a refroidi.
Ouvrez la porte du four et retirez les grilles du four.
Dévissez le couvercle de l'ampoule en tournant en sens anti-horaire (il peut être très difficile à dévisser)
Dévissez l'ampoule en tournant en sens anti-horaire, en vous protégeant les mains avec un gant pour ne pas vous blesser.
Vissez l'ampoule de rechange, puis revissez le couvercle de l'ampoule. Remettez l'appareil sous tension et contrôlez le fonctionnement de l'éclairage.
La porte du four est alignée mal
La charnière inférieure de la porte peut être ajustée afin de modifier l'angle de la porte (Fig. 6-3). Desserrez les vis de fixation de la charnière inférieure, et utilisez le cran et un tournevis à lame plate pour changer la position de la charnière et la régler (Fig. 6-4).
Resserrez les vis de la charnière.
Installation
Une fois le travail terminé, vérifie que les alimentations de gaz et d'électricité sont correctement rebranchées.
7. Installation
Avant de commencer l'installation, veuillez remplir la fiche ci-dessous. Ceci permettra à votre client de vous contacter facilement en cas de problème relatif à l'installation.
| Nom de l'installateur |
| Société de l'installateur |
| Numéro de telephone de l'installateur |
| Numéro de série d'appareils |
Mesures et règlements de sécurité

Cette cuisinière doit être installée conformément aux instructions appropriées des présentes et à la réglementation nationale et locale en vigueur, ainsi qu'aux prescriptions des compagnies de gaz et d'électricité locales.
Avant l'installation, vérifie que la cuisinière convient au type de gaz et à la tension d'alimentation électrique. Reportez-vous au badge technique.
Cet appareil doit être installé conformément à la réglementation en vigueur, et uniquement dans un endroit bien ventilé.
Lisez les instructions avant d'installer ou d'utiliser cet appareil.
Dans votre intérêt et par souci de sécurité, légalement, tous les appareils à gaz doivent être installés par des personnes compétentes. Une installation incorrecte n'engage ni la responsabilité, ni la garantie du fabricant, et peut donner lieu à des poursuites.
Cet appareil peut être modifié afin d’être utilisé avec d’autres types de gaz.
Ventilation
Cet appareil n'est pas raccordé à un dispositif d'évacuation des produits de combustion. Prêtez particulièrement attention à la réglementation en vigueur concernant la ventilation.
Toutes les pièces nécessitent une fenêtre ouvrable ou un dispositif équivalent, et certaines pièces nécessitent une mise à l'air libre permanente en plus de la fenêtre ouvrable.
Emplacement de la cuisinière
La cuisine ne peut être installée dans une cuisine/un salon-cuisine, mais PAS dans une pièce contenant une baignoire ou une douche.
Cet appareil est donc uniquement pour un usage domestique. Toute autre utilisation n'engage ni la responsabilité, ni la garantie du fabricant.
REMARQUE: Un appareil utilisable avec du gaz de pétrole liquéfié (GPL) ne doit pas être installé dans une pièce ou un espace intérieur souterrain, par exemple dans un sous-sol.
Modification
La cuisine est de catégorie:
Cat II _2 H3+
Cat II _2E+3+
Cat II _2L3B/P
Cat II2E3B/P
Cat I 2H 3B / P
Cat II2ELL3B/P
À la livraison, cet appareil est réglé sur gaz naturel de type H (G20 à 20 millibars). Un kit de modification permettant l'utilisation d'autres gaz est fourni avec la cuisinière.
Si la cuisine doit être modifiée pour fonctionner avec un autre gaz, nous recommandons d'effectuer cette modification avant l'installation. Reportez-vous aux instructions fournies avec le kit de modification.
Après modification de l'appareil, veuillez apposer l'étiquette de modification sur la partie appropriée du badge technique, pour permettre d'identifier le type de gaz utilisé pour l'installation de la cuisine.
Installation
Une fois le travail terminé, vérifie que les alimentations de gaz et d'électricité sont correctement rebranchées.
L'installation de la cuisine nécessitera l'emploi du matériel indiqué ci-dessous:
Dispositif stabilisateur: Un dispositif stabilisateur (équerre ou chaîne) doit être monté sur la cuisinière si celle-ci est alimentée en gaz par le biais d'un tuyau flexible;
Ce dispositif stabilisateur n'est pas fourni avec l'appareil mais est en vente dans la plupart des magasins de bricolage;
Manomètre; Tuyau flexible de gaz: Doit être conforme aux normes appropriées; Multimètre: Pour les contrôles électriques.
Vous aurez aussi besoin des outils suivants:
- Perceuse électrique;
- Foret à maçonnerie (nécessaire seulement pour montage sur sol en pierre ou en béton);
- Chevilles Rawlplugs (nécessaires seulement pour montage sur sol en pierre ou en béton);
- Mètre en acier;
- Tournevis cruciforme;
- Tournevis à lame plate;
- Niveau à bulle;
- Crayon;
- Clé réglable;
- Vis pour le montage de l'équerre stabilisatrice.
Vérification des pièces:
| Outil de mise à niveau et clés hexagonales | 4 grilles de table de cuisson |
| Le support spécial de Wok | Lèchefrite et grille |
| 2 grille plates | 2 grilles surbaissée |
| Handyrack | Plat à rôtir et grillès |
| Plinthe |
Positionnement de la cuisinière
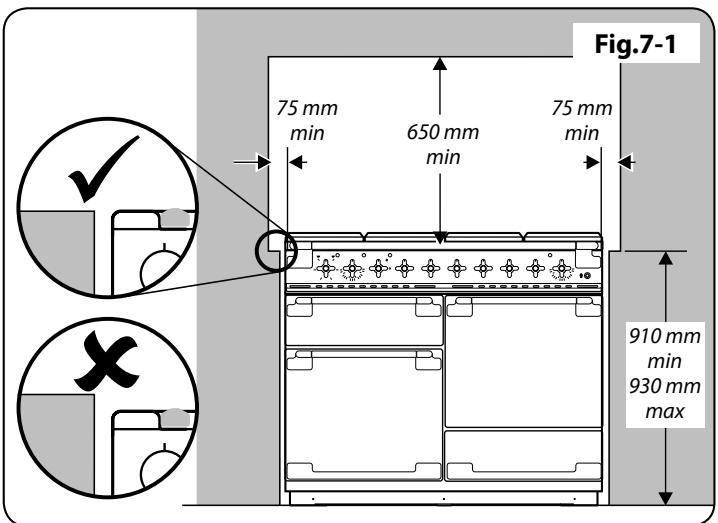
Fig. 7-1 Le schéma indique les cotes minimales recommandées entre la cuisinière et les surfaces adjacentes.
Ne placez pas la cuisinière sur un support.
Le pourtour de la table de cuisson doit être au niveau ou au-dessus de tout plan de travail adjacent.
Laissez un espace de 75 mm AU-DESSUS du niveau de la table de cuisson entre chaque côte de la cuisinière et toute surface verticale adjacente.
Pour les surfaces non combustibles (telles que le métal non poreux ou les carrelages), cette cote peut être de 25 mm.
Laissez un espace de 650 mm au minimum entre la partie supérieure de la table de cuisson et une surface horizontalement combustible.
La Fig. 7-2 indique les dégagements recommandés au-dessus de la cuisinière.
Toute hotte de cuisinière doit être installée conformément aux instructions du fabricant de hotte.
Les surfaces des meubles et des murs de chaque côté et à l'arrêt de l'appareil doivent être résistantes à la chaleur, aux éclaboussures et à la vapeur. Certains types de meubles de cuisine en vinyle ou en stratifié sont particulièrement susceptibles aux risques de dommages thermiques et de décoloration.
Nous déclinons toute responsabilité pour des dommages résultant d'une utilisation normale de la cuisinière et subis par des matériaux qui se décollent ou se décolorent à des températures de moins de 65°C au-dessus de la température ambiante.
Nous recommandons de laisser un espace de 1110 mm entre les unités pour permettre le déplacement de la cuisinière. La cuisinière ne doit pas être encastrée – elle doit pouvoir être déplacée vers l'avant et vers l'arrière pour le nettoyage et l'entretien.
Si la cuisinière est près d'un coin de la cuisine, un dégagement de 130 mm est nécessaire pour permettre l'ouverture des portes de jours (Fig. 7-3). La cote d'ouverture des portes est légèrement inférieure à ce dégagement, mais ceci inclut une marge de sécurité pour la protection des mains lors de l'ouverture de la porte.
Déplacement de la cuisinière

N'essayez jamais de déplacer la cuisinière lorsqu'elle-ci est sous tension.

La cuisinière est très lourde, faites très attention.
Nous recommandons de faire appel à deux personnes pour déplacer la cuisinière. Assurez-vous que le revêtement du sol est solidement fixé en place ou retirez-le afin de ne pas l'abîmer en déplaçant la cuisinière.
Deux galets d'arrêt de mise à niveau et deux supports avant vissables facilitent le déplacement de la cuisinière. Vous devrez utiliser l'outil de mise à niveau.



Fig.7-4


Fig.7-7

Fig.7-8 A-Avis de mur, B-Mise à niveau des rouleaux, C-Mise à niveau des pièces, D-Ligne de crayon sur le plancher
Retirez le socle d'emballage en polystyrène. Depuis l'avant, inclinez la cuisinière vers l'avant et retirez la partie avant du socle d'emballage en polystyrène (Fig.7-4). Répétez cette procédure à l'arrière et retirez la partie arrière du socle.
Baissez les deux galets arrière
ABAISSEZ LES DEUX GALETS ARRIÈRE. Insérez d'abord l'outil de mise à niveau sur l'écrou de réglage hexagonal (Fig.7-5). Effectuez 10 tours complets (360^) en sens horaire (Fig.7-6). (Tournez et retirez l'outil de mise à niveau 20 fois.)
Exécution du mouvement
Dépliez le bord arrêté du plateau d'emballage. Ouvrez la porte du grill et la porte du four droit afin d'avoir une bonne prise sur la partie inférieure du panneau de commande pour déplacer la cuisinière (Fig. 7-7).
Poussez la cuisinière vers l'arrière avec précaution pour la dégager de son socle d'emballage. Retirez le plateau d'emballage.
Poussez la cuisine vers sa position finale, en laissant juste assez de place pour pouvoir avoir accès à l'arrière.

N'utilisez pas les poignées de portes ou les boutons de commande pour déplacer la cuisinière.
Montage d'un dispositif stabilisateur
Montez une équerre ou une chaîne stabilisatrice (non fournie avec la cuisinière) sur la cuisinière si celle-ci est raccordée à un tuyau flexible d'alimentation en gaz.
Avant le montage d'un dispositif stabilisateur, lisez les générales instructions ainsi que les instructions de montage fournies avec le dispositif.
- Placez la cuisinière à l'emplacement prévu et mettez-la à niveau.
- Tracez une ligne au crayon à 70 mm du bord avant des supports de mise à niveau.
- Tracez l'axe pour l'équerre à 550 mm du côté gauche de la cuisine.
- Déplacez la cuisinière vers l'avant.
- À partir de la ligne au crayon, mesurez 550 mm vers l'arête pour indiquer le bord avant de l'équerre (Fig. 7-8).
- Placez l’équerre de sorte qu’elle soit éloignée de l’axe de la cuisinière pour réduire le risque d’entravement du câble électrique ou du tuyau de gaz.
- Attachez l'équerre au sol.
- Mesurez la hauteur entre le niveau du sol et le bord de prise à l'arête de la cuisinière. Ajoutez 3 mm à cette cote et montez l'équerre stabilisatrice à cette hauteur (entre le niveau du sol et le revers du membre supérieur), et vérifiez que l'équerre ne gène pas le brûleur du four (Fig. 7-9).
Installation
Une fois le travail terminé, vérifie que les alimentations de gaz et d'électricité sont correctement rebranchées.
Repositionnement de la cuisinière après raccordement
Si vous nevez déplacer la cuisinière après son raccordement, débranchez la cuisinière, agrippez-la sous le panneau de commande et levez légèrement l'avant de la cuisinière (Fig. 7-7), puis vérifiez à l'arrière de l'appareil que le câble d'alimentation n'est pas entravé.
Pendant le déplacement de la cuisinière, assurez-vous que le câble électrique et le tuyau de gaz ne sont pas entravés.
Si la cuisinière est dotée d'une chaîne stabilisatrice, défaites-la pour pouvoir manœuvrer la cuisinière. N'oubliez pas de la remettre en place lorsque vous replacez la cuisinière.
Lors de la remise en place de la cuisinière, vérifie de nouveau que le câble électrique et le tuyau de gaz ne sont pas entravés ou coincés.
Modification en vue de l'utilisation d'un autre gaz
À ce stade, vous devez effectuer la modification nécessaire si vous souhaitez utiliser la cuisinière avec un autre type de gaz. Reportez-vous à la section sur la modification dans les générales instructions et reportez-vous aux instructions fournies avec le kit de modification.
Mise à niveau
Nous vous recommandons d'utiliser un niveau à bulle placé sur l'une des grilles de four pour vérifier le niveau.
Placez la cuisinière à l'emplacement prévu pour son installation, en veillant à ne pas exercer de force de torsion lorsque vous l'insérez entre les éléments de cuisine, pour ne pas l'endommager ou endommager les éléments.
Les supports avant et les galets arrêté réglables permettent la mise à niveau de la cuisinière. Pour régler la hauteur de l'arrière de la cuisinière, utilisez l'outil de mise à niveau fourni pour tourner les écrous de réglage aux coins avant inférieurs de l'appareil. Pour régler les supports avant, tournez les socles pour lever ou abaiser.
Laissez l'outil de mise à niveau dans le tiroir de rangement pour que le client puisse l'utiliser, s'il le désire, pour déplacer la cuisinière.
Installation de la rampe
En utilisant la clé Allen 2 mm fournie, dévisser les 2 vis de fixation sur la base et le côté du support de rampe. Installer le support de rampe dans les socles de positionnement sur le panneau.
Remarque : Les supports de poignée doivent être orientés vers le haut.
Pousser le support contre le panneau et visser les 2 vis de fixation (Fig.7-10). Vérifier que chaque support est sécurisé.
Positionner la rampe dans les attaches du support. En utilisant la clé Allen 2,5 mm fournie, visser les 2 vis de fixation au bas de chaque extrémité de la rampe pour sécuriser (Fig.7-11).
A - Arrière de la cuisinière, B - Dispositif stabilisateur

Fig.7-10 Vis de fixation

Fig.7-12 Toutes les dimensions en millimètre
Le raccord d'admission de la cuisine est de type interne ISO 7-1. Si le raccordement doit être de type ISO 228-1, utilisez le raccord d'adaptation ISO 7-1-ISO 228-1 fourni dans le kit de modification.

Vissez le raccord dans l'admission de la cuisine en serrant à la main. À l'aide de deux outils appropriés, l'un placé au niveau de l'admission située sur la cuisine pour veiller à en assurer la stabilité et l'autre sur le raccord, vissez le raccord dans l'admission.
Couple minimum 15 Nm. Couple maximum 20 Nm.
Raccordement du tuyau flexible au connecteur.
Raccordement de l'alimentation en gaz
Doit être conforme aux normes appropriées.
Le tuyau flexible (non fourni avec la cuisinière) doit être conforme aux normes en vigueur. Les tuyaux flexibles sont disponibles dans la plupart des magasins de matériaux et de bricolage.
L'alimentation en gaz domestique doit être terminée par un raccord baïonnette orienté vers le bas.
Le raccord de l'appareil est situé juste au-dessous du niveau de la table de cuisson, à l'arrête de la cuisinière. En cas de doute, contactez votre fournisseur.
Les boîtiers arrêtés de la cuisinière limitent la position du point d'alimentation.
Il est difficile de donner des cotes précises, étant donné que la hauteur de la cuisinière est réglable et que chaque raccordement est différent.
Vous pouvez utiliser un tuyau flexible de 900 mm, mais un tuyau de 1250 mm offre plus de flexibilité quant au positionnement du raccord baïonnette et facilite le déplacement de la cuisinière.
Montez le tuyau de façon à ce que les raccords d'admission et de sortie soient verticaux et que le tuyau pendente en forme de «U».
Idéalement, le raccord d'alimentation domestique doit être dans la partie ombrée 'A' indiquée (Fig. 7-12).
Vissez l'extrémité filée du tuyau flexible dans l'admission de gaz.
Lorsque le raccordement est terminé, effectuez un essai de pression pour contrôler l'étanchéité de la cuisine.
Essai de pression
La pression de gaz peut être mesurée au niveau de l'injecteur de l'un des brûleurs centraux de la table de cuisson (non pas au niveau du brûleur de Wok).
La pression de gaz peut être mesurée au niveau de l'injecteur d'un des brûleurs de la table de cuisson gauche.
Retirez la tête d'un des brûleurs. Montez le manomètre sur le gicleur. Mettez en marche un des autres brûleurs de la table de cuisson.
Tournez et appuyez sur le bouton de commande du brûleur avec manomètre, pour permettre l'arrivée du gaz.
Reportez-vous au badge technique pour les pressions d'essais.
Eteignez les brûleurs. Replacez le chapeau du brûleur, en veillant à le remonter correctement sur le corps du brûleur.
Installation
Une fois le travail terminé, vérifie que les alimentations de gaz et d'électricité sont correctement rebranchées.
Raccordement électrique
Cet appareil doit être installé par un électricien qualifié, conformément à la réglementation en vigueur et aux prescriptions de la Compagnie d'électricité locale.
Disjoncteurs différentiels
L'utilisation conjointe de votre cuisinière et d'autres appareils domestiques peut entraîner des disjonctions fortuites ; par conséquent, nous recommandons de protéger la cuisinière par un disjoncteur différentiel.
En cas de DOUTE, consultez un electricien qualifie.
Remarque: La cuisinière doit être raccordée à l'alimentation électrique correcte, indiquée sur l'étiquette de tension sur l'appareil, par le biais d'une unité de commande de cuisinière appropriée à interrupteur bipolaire (avec une séparation de contact de 3 mm au minimum entre les pôles).
Cette cuisinière ne doit pas être raccordée à une prise d'alimentation domestique ordinaire.
Pour accéder au bornier d'alimentation secteur, retirez le boitier électrique sur le panneau arrière. Raccordez le câble d'alimentation secteur aux bornes correctes pour votre type d'alimentation électrique (Fig. 7-13). Vérifiez que les connecteurs sont montés correctement et que les vis des bornes sont bien serrées. Fixez le câble d'alimentation secteur à l'aide du serre-câble.
Contrôle de la table de cuisson
Contrôlez le fonctionnement de chaque brûleur (voir la section « Brûleurs de la table de cuisson » au début des instructions).
Contrôle du grill
Tournez le bouton de commande du grill et vérifiez que le grill commence à chauffer.
Contrôle des fours
Allumez les fours. Vérifiez que les ventilateurs des fours se mettent en marche et que les fours commencent à chauffer.
Remarque: Les ampoules des éclairages des fours ne sont pas incluses dans la garantie.
Eteignez le four.
Montage de la plinthe
Dévissez les trois vis le long du bord inférieur avant de la cuisine. Insérez l’encoche centrale en forme de trou de serrer sur la vis centrale. Tournez et insérez les encoches d’extrémités en trou de serrer sur leurs vis respectives. Serrez les vis de fixation (Fig. 7-14).
Conseils à la clientèle
Veuillez inscrire les informations vous concernant dans les générées instructions. De même, indiquez à l'utilisateur comment faire fonctionner la cuisinière et remettez-lui les instructions.
Merci.



Le raccord indiqué sur le schéma de câblage est pour une alimentation monophasée. Les capacités nominales sont pour 230V-50Hz.
| Code | Description |
| A1 | Commande de grill |
| A2 | Thermostat de commande de grill |
| A3 | Elément du grill gauche |
| A4 | Elément du grill droit |
| B1 | Le bouton de commande du four droit Multifonctions |
| B2 | Interrupteur de commande de four gauche Multifonctions |
| B3 | Elément interieur de Multifonctions four gauche |
| B4 | Elément supérieur de four gauche (Paire extérieure) |
| B5 | Elément gratineur de four gauche (Paire interieure) |
| B6 | Elément de ventilateur de four Multifonctions gauche |
| Code | Description |
| B7 | Elément du four Multifonctions ventilé gauche |
| C1 | Le bouton de commande du four ventilé droit |
| C2 | Thermostat du four droit |
| C3 | Elément du four ventilé droit |
| C4 | Ventilateur du four droit |
| D1 | Interrupteur d'éclairage du four |
| D2 | Eclairage de fourt |
| F1 | Contacteur d'allumage |
| F2 | Générateur d'allumage |
| G | Moteur de refroidissement |
| H | Néon |
| J | Protecteur thermique |
| Code | Couleur |
| b | Bleu |
| br | Brun |
| bk | Noir |
| or | Orange |
| r | Rouge |
| v | Voilet |
| w | Blanc |
| y | Jaune |
| g/y | Vert / jaune |
| gr | Gris |
9. Fiche technique
LA CUISINIÈRE EST DE CATEGORIE: II2H3+; II2E+3+; II2L3B/P; (II2E3B/P; II2ELL3B/P); II2H3B/P.
À la livraison, cet appareil est réglé sur gaz naturel de type H (G20 à 20 millibars). Un kit de modification permettant l'utilisation d'autres gaz est fourni avec la cuisine.
A L'INTENTION DE L'INSTALLATEUR: Veuillez remettre les présentes instructions à l'utilisateur.
EMPLACEMENT DU BADGE TECHNIQUE: Arrière de la cuisinière, badge auxiliaire de numéro de série sous l'ouverture de la porte du four.
PAYS DE DESTINATION: GB, IE, FR, BE, NL, DE, SE.
Raccordements (Voir le badge technique de l'appareil pour les pressions d'essais)
| Gas (Rp 1/2 au niveau du côte arrière droit) | Electricité | |
| Gaz naturel | 20 mbar | 220-240 V 50 Hz |
| Butane | 29 mbar | |
| Propane | 37 mbar | |
Dimensions Voir « Positionnement de la cuisine »
| Hauteur | minimum 910 mm | maximum 930 mm |
| Largeur hors tout | 1092 mm | |
| Profondeur hors tout | 595 mm (jusqu'à l'avant de la façon); 646 mm (au dessus des poignées) | |
Puisances
| Gaz Naturel 20 mb | Le gaz propane liquide | |||||
| Table de cuisson | Injecteur | Vis | Injecteur | Vis | ||
| Brûleur de Wok | 3,5 kW | interne 80 | 96 | 3,5 kW (246 g/h) | interne 54 | 57 |
| externe 129 | externe 77 | |||||
| Grands brûleurs | 3,0 kW | 134 | 54 | 3,0 kW (210 g/h) | 87 | 40 |
| Brûleur de taille moyenne | 1,7 kW | 109 | 39 | 1,7 kW (119 g/h) | 68 | 32 |
| Petit brûleur | 1,0 kW | 75 | 38 | 1,0 kW (70 g/h) | 51 | 28 |
Efficacité du four
| Fours | Four gauche | Four droit |
| Multifonction | Convection forçée | |
| Catégorie d'efficacité énergétique: Sur une échelle de A (plus efficace) à G (moins efficace) | A | A |
| Maximum output | 2,5 kW | 2,5 kW |
| Consommation d'énergie basée sur une charge standard | 0,90 kWh | 0,90 kWh |
| Volume utilisable (litres) | 69 | 69 |
| Taille | Grand | Grand |
| Temps de cuisson – charge standard | 41 minutes | 41 minutes |
| Surface de cuisson | 1400 cm² | 1400 cm² |
| Grid | 2,3 kW |
Charge électrique totale maximale à 230 V: 7,4 kW (total approx. comprenant éclairages de fours, ventilateur de four, etc.)
Belangrijk! 1
Guide installateur 19
Veiligheidseisen 19
Ventilatie 19
Notice Facile