635ES - Chauffe-eau PROTANKLESS - Notice d'utilisation et mode d'emploi gratuit
Retrouvez gratuitement la notice de l'appareil 635ES PROTANKLESS au format PDF.
| Intitulé | Description |
|---|---|
| Type de produit | Chauffe-eau sans réservoir |
| Caractéristiques techniques principales | Technologie de chauffage instantané, efficacité énergétique élevée |
| Alimentation électrique | 230 V, 50 Hz |
| Dimensions approximatives | Hauteur : 60 cm, Largeur : 30 cm, Profondeur : 20 cm |
| Poids | 15 kg |
| Compatibilités | Compatible avec les systèmes de plomberie standard |
| Tension | 230 V |
| Puissance | 18 kW |
| Fonctions principales | Chauffage instantané de l'eau, réglage de la température |
| Entretien et nettoyage | Vérification annuelle des filtres, détartrage recommandé |
| Pièces détachées et réparabilité | Disponibilité de pièces de rechange, manuel de réparation inclus |
| Sécurité | Système de protection contre la surchauffe, vanne de sécurité intégrée |
| Informations générales utiles | Garantie de 2 ans, installation par un professionnel recommandée |
FOIRE AUX QUESTIONS - 635ES PROTANKLESS
Questions des utilisateurs sur 635ES PROTANKLESS
0 question sur cet appareil. Repondez a celles que vous connaissez ou posez la votre.
Poser une nouvelle question sur cet appareil
Téléchargez la notice de votre Chauffe-eau au format PDF gratuitement ! Retrouvez votre notice 635ES - PROTANKLESS et reprennez votre appareil électronique en main. Sur cette page sont publiés tous les documents nécessaires à l'utilisation de votre appareil 635ES de la marque PROTANKLESS.
MODE D'EMPLOI 635ES PROTANKLESS
Modèle à température modulée avec allumage électronique
Convenant uniquement au chauffage de l'eau potable - nonapprovéd pour le chauffage des locaux
(conc u en vue d'un débit variable)

PRO TANKLESS
by
BOSCH

PLUMBING-HEATING-COOLING CONTRACTORS ASSOCIATION
GWH-635-ES-N - Gaz naturel
GWH-635-ES-L - Gaz de petrole liquéfié (PL)
Mise en garde: Si vous ne suivez pas à la lecture les directives contenues dans ce manuel, un incendie ou une explosion pourrait se produit et cause des dommages matériels, des blessures corporelles ou le décès. Ne pas entreposer ni utiliser d'essence ou d'autres vapeurs et liquides inflammables, combustibles ou corrosifs à proximité de cet apparéil ou de tout autre apparéil electroménager. Une installation, un réglage, une ALTERation, un entretien ou des réparations inadéquats peuvent cause des blessures corporelles ou des dommages matériels. Veuillez consulter ce manuel. Pour obtenir de l'aide ou de plus amples renseignements, adressez-vous à un installerateur professionnel, à un réparateur accréité ou à votre fournisseur de gaz.
Dans le Commonwealth du Massachusetts, ce produit doit être installé par un plombier ou un monteur d'installations au gaz accréédité.
Une fois l'installation terminée, ces directives doivent être remises à l'utilisateur de l'appareil aux fins de consultation ultérieure.
Quoi faire si vous détectez une oedur de gaz
Fermez la valve a gaz. Ouvrez des fenêtres.
- N'allumezaucnPareilelectroménager.
- Ne touchez àaucun interrupteur électricque;n'utilisez aucun téléphone à l'intérieur de votre immeuble.
- Appelez immédiatement votre fournisseur de gaz en utilisant le téléphone d'un voisin. Suivez les directives du fournisseur de gaz.
- Si vous ne pouvez pas joindre votre fournisseur de gaz, téléphone au service des incendies.
- L'installation et l'entretien doivent être confiés à un installateur professionnel, à un réparateur accréédité ou au fournisseur de gaz.
Index
Index 2
1 Mises en garde 2
2 Details de l'appareil 4
2.1 Caracteristiques 4
2.2 Fiche technique du modele GWH-635-ES (specifications) 4
2.3 Dimensions et dégagement minimal lors de l'installation 6
2.4 Regles generales pour un fonctionnement en toute sécurité 7
2.5 Choix du meilleur emplacement pour le chauffe-eau 7
2.6 Dégagement 8
2.7 Montage et installation 8
2.8 Besoins en air comburant 9
2.9 Ventilation 10
2.9.1 Options de ventilation 13
2.10 Raccordement des conduites de gaz 17
2.11 Grosseur des conduites de gaz 19
2.12 Mesure de la pression du gaz 19
2.12.1 Branchement du manometre 19
2.12.2 Vérification de la pression statique 19
2.12.3 Verification de la pres. de fonctionnement 19
2.13 Raccordement des conduites d'eau 20
2.14 Connexions electriques 21
2.15 Directives d'utilisation 21
2.16 Consignes de sécurité à生存 avant d'utiliser le chauffe-eau 21
2.17 Directives d'allage et d'utilisation 22
3 Directives d'utilisation 23
3.1 Alimentation electrique 23
3.2 Réglage de la température 23
3.3 Utilisation de l'accessoire telecommande 25
3.4 Fonctionnement 25
3.5 Touche de réinitialisation 25
3.6 Touche de programmation 25
3.7 Etat de verrouillage 26
4 Entretien et réparations 27
5 Résolution de problèmes 27
6 Diagramme electrique 30
7 Schéma fonct. du mod. GWH-635-ES 31
8 Diagramme des composants internes et liste des pieces 32
8.1 Composants internes 32
8.2 Diagramme des composants 33
8.3 Lieste des pieces 34
9 Réglage spécial pour la mesure et le rajustement des niveaux de CO_2 35
10 Protection de I'environnement 36
11 Garantie limitée de quinze ans 38
1 Mises en garde

Avertissement: Si vous ne suivez pas à la lettuce les directives contenues dans ce manuel, un incendie ou une explosion pourrait se produit et cause des dommages matériels, des blessures corporelles ou le décès.

Avertissement: Une installation, un réglage, une aléération, un entretien ou des réparations inadéquats peuvent causeurs des blessures corporelles ou des dommages matériels. Veuillez consulter ce manuel. Pour obtenir de l'aide ou de plus amples renseignements, adressez-vous a un installateur professionnel, à un réparateur accréité ou à votre fournisseur de gaz.
Une fois l'installation terminée, ces directives doivent être remises à l'utilisateur de l'appareil aux fins de consultation ultérieure.
\section*{Caracteristiques}
Allumage électronique et ventilation électrique.
Pour votre sécurité
Ne pas entreposer ni utiliser d'essence ou d'autres vapeurs et liquides inflammables, combustibles ou corrosifs à proximité de cet apparéil ou de tout autre apparéil électroménager.

Avertissement : Choisissez minutieusement l'emplacement du chauffe-eau. L'alimentation en air comburant et l'installation du conduit d'évacuation sont extrémentement importantes. Une mauvaise installation peut entraîner des accidents mortels causés par le manque d'air, l'intoxication au monoxyde de carbone ou un incendie.

Avertissement: Les gaz d'échémpement doivent être evacués vers l'extérieur au moyen d'un conduit d'évacuation de matériel approupié pour les systèmes de ventilation de catégorie III et des températures attegrant jusqu'à 248^ (480^) . La tuyauterie de raccordement des conduits de ventilation et d'air combustant doit être étanche aux gaz et scellée de façon à empêcher toute possibilité de fuite des gaz de carneau, démission de monoxyde de carbone et de risque d'accendie pouvant causer des blessures graves ou le décès.

Avertissement: Placez le chauffe-eau dans un endroit où les fuites d'eau NE pourront PAS ENDOMMAGER les lieux ou les étages inférieurs.

Avertissement: Les raccordements et la mise à la terre faits sur place doivent respecter les codes locaux ou, en leur absence, la plus récente version du National Electric Code, soit la norme ANSI/NFPA 70; au Canada, tout le câblage électrique doit respecter les codes locaux et le Code canadien de l'électricité, soit la norme CSA C22.1 Partie 1.

Avertissement: Le danger de chocs liés à la tension de la ligne existe. Avant de proceder à l'entretien ou à la réparation du chauffe-eau, coupez l'alimentation électrique vers le chauffe-eau à la connexion principale ou au coupe-circuit. Si vous ne le faites pas, vous courez le risque de blessures graves ou de décès.
Quoi faire si vous détectez une oedur de gaz
- Fermez la valve à gaz. Ouvrez des fenêtres.
- N'allumez aucun appareil électroménager.
- Ne touchez àaucun interrupteur électrique;n'tutilisezaucun téléphone à l'intérieur de votre immeuble.
- Appelez immédiatement votre fournisseur de gaz en utilisant le téléphone d'un voisin. Suivez les directives du fournisseur de gaz
- Si vous ne pouvez pas joindre votre fournisseur de gaz, téléphone au service des incendies.
- L'installation et l'entretien doivent être confiés à un installerateur professionnel, à un réparateur accréédité ou au fournisseur de gaz.

Avertissement: Le chauffe-eau doit etre débranché du système de conduites d'alimentation de gaz durant tout essai de ce système à des pressions egales ou supérieures à 3,5 kPa (0,5 lb/po2).
FCC:
Cet appareil se conforme à la Partie 15 des règles de la FCC.
Son fonctionnement respecte les deux conditions suivantes:
(1) Cet apparéil ne peut produit aucune interférence néfaste, et (2) cet apparéil doit accepter toute interférence captée, y compris une interférence susceptible de causeur un fonctionnement indésirable.

Prudence : Toute altiereation ou modification n'ayant pas ete explicitement approuvée par la partie responsable de la conformite de l'appareil pourrait annuler I'autorisation de I'utiliseur a I'utiliser.

DANGER
Une temperature d'eau supérieure à 51,6°C (125°F) peut ébouillanter et causeur instantanfement de graves brûlures ou le décès
Les enfants, les personnes handicapées et les aînes courent le plus grand danger d'être ébouillantés
Il importe de consulter les directives d'utilisation avant de regler la temperature du chauffe-eau
Vérifiez la température de l'eau avant d'entrez dans la baignoire ou la douche
Des valves limitant la temperature sont disponibles, Voir le manuel.
Fig. 1

Fig. 2
Les vapeurs de liquides inflammables exposeront et predont feu, ce qui peut cause le décès ou de graves brûlures
Le chauffe-eau comporte un brûleur principal:
- qui peut s'allumer n'importe quand; et 2. mettra le feu aux vapeurs inflammables.
Ne pas utiliser ni entreposer des produits inflammables, comme de l'essence, des solvents ou des adhesifs, dans la même démarche que I chaffee-eau ou autour de celui-ci.
Les vapeurs :
[Gearde les produits inflammables: 1, Ioin du chauffe-eau]
2. dans des contentes homologues;
3. fermés hermetiquèment; et
4. hors de la portée des enfants
- sont invisibles
- sont plus lourdes que I'air;
- se déplacent vite sur le plancher; et
- peuvent provenir d'autres pieces et être transportées jusqu'à la veilseuse par des courants d'air,
Installation:
Ne pas installer le chauffe-eau à un endroit où des substances inflammables seront entreposées ou utilisées, à moins que la veilleuse et le brûleur principal ne se trouvent à
au moins 45 cm (18 po) au-dessus du sol. Cela réduira, sans toutefois l'éliminer, le risque que les vapeurs soient enflammées par le brûleur principal ou la flamme de la veilseuse.
Lisez et respectez les mises en garde et les directives d'utilisation du chauffeur. Si le manuel d'utilisation est manquant, faites-en part à votre détaillant ou au fabricant.
2 Détails de l'appareil
2.1 Caractéristiques
Pèces
Commande à interface tactile
- Brûleur compact ultra-puissant à prémélange à faibles émissions d'oxydes d'azote
- Valve à gaz modulée avec régulateur pour une proportion gaz-air constante
- Valve d'eau modulée pour un comport accru et un meilleur contrôle de la température.
Dispositifs de sécurité
- Capterur de flamme (par variation d'ionisation)
- Détector de surchauffe
- Limiteur de température
- Capteur de vitesse du ventilateur.
Matériaux de qualité supérieure pour une durée de vie prolongée
- Corps de chauffe en cuivre
- Brûleur en cernet à haut rendement
- Boitier compact peu encombrant; montage mural à l'aide du crochet fourni
- Couvercle monobloc facile à enlever.
\section*{Caracteristiques}
- Fenêtre d'affichage à cristaux liquides
- Interrupteurs marche-arrêt et de réglage de la température
- Touche de réinitialisation
- Touche de programmation (valeur par défaut réglable de la température)
- Codes d'erreur pour facilitier le diagnostic et les réparations.
Accessoires
- Telecommande sans fil facultative pour faire fonctionner l'appareil
- Trousse de terminaison du conduit d'évacuation.

Étant donné que BOSCH améliore constamment ses produits, leur fiche technique peut changer sans préavis.
2.2 Fiche technique du modele GWH-635-ES (spécifications)
Utilisation approvueauxEtats-Unis et au Canada.
Capacité
Débit maximal : 24 l/min (6,35 gal/min) - hausse de 25^ (45°F)
Puissance maximale
41,8 kWh (142 968 Btu)
Alimentation maximale
51,2 kWh (175 000 Btu)
Rendement en %
Rendement energetique de 86,5 %
Puisssance minimale
9,1 kWh (31 131 Btu)
Réglage de la température
Plage de réglage: de 38^ (100^) à 60^ (140^)
Température par défaut: 50^ (122°F)
Stabilité: +/- 1^ C ( 2^ F )
Pression de gaz requise
Raccordement de gaz : 19 mm (3/4 de po)
Pression d'alimentation du gaz pendant que le chauffe-eau est en marche (avec un début d'eau chaude élevé)*
- Propane: de 2,73 kPa (11 po col. d'eau) à 3,47 kPa (14 po col. d'eau)
Gaz naturel: de 1,24 kPa (5 po col. d'eau) à 3,47 kPa (14 po col. d'eau). - Pour mesurer la pression du gaz, voir la section 2.12 "Mesure de la pression du gaz".
Ventilation
Un purgeur de condensat est intégré dans la bague du conduit d'évacuation des gaz d'échéppement du chauffe-eau; il faut y fixer le tube de purgege de condensat fourni afin que le condensat puisse être éliminé ajustement du purgeur. Voir la section 2.9 traitant de la ventilation.
Eau
Raccordement d'eau chaude : 19 mm (3/4 de po)
Raccordement d'eau froide: 19 mm (3/4 de po)
- Matériau de la valve d'eau : polymère (PPS - sulfide de polypropylène)
- Débit d'eau minimal : 3 l/min (0,8 gal/min)
- Pression d'eau minimale recommangée : 2,07 bar (30 lb/po2)
Raccordements :
- sous le chauffe-eau
Combustion
- NOx ≤ 55 ppm
CO 250 ppm - Niveau de CO2 régle en urine, voir la section 9.
Dimensions
- Profondeur: 220 mm( 8po1/2)
Largeur:400mm(15po 3 / 4)
Hauteur: 600~mm (23 po 1/2)
- Poids: 21 kg (47 lb).
Types de gaz
Gaz naturel
Gaz de petrole liquéfié
Pour convertir le type de gaz, il faut absolument faire appel à un technicien de gaz accréédité, qui utilisera un analyseur de CO_2 calibré. Téléphonez à BBTNA pour obtenir les directives relatives à la conversion.
Voltage
120 V c.a. (60 Hz)
Intensité du courant électrique
AU REPOS - 40 mA
En marche ≤ 2,5A
Bruit
≤ 50 db (A)
Dispositifs de sécurité
- Avertisseur d'extinction de flamme (capteur de flamme par variation d'ionisation)
- Soupape de suture (fournie avec le chauffe-eau)
- Détector de surchauffe (limiter de température).
Résistance à l'eau
IP X4 (protection contre les gouttes d'eau)
DEBALLAGE DU CHAUFFE-EAU GWH-635-ES
Ce chauffe-eau est expédé dans un emballage protecteur.
La boite contient:
- une soupape de sûreté (calibrée à 10,3 bar ou 150 lb/po2 / 200 000 Btu)
- un crochet pour suspendre le chauffe-eau
- un adaptateur de conduit d'évacuation (avec quatre vis et rondelles)
- un tube de purgege de condensat
- un adaptateur de conduit d'air comburant (avec trois vis et rondelles)
des bandes protectrices autocollantes servant a recouvrir les vis du couvercle avant et le panneau de commande, que l'installateur devrait apposer sur le devant de l'appareil une fois l'installation terminée. Voir la Fig. 3. - un manuel d'installation
- une carte d'enregistrement de la garantie
- une étiquette du Guide de l'énergie.
Ne perdez pas ce manuel. Veuillez replir et returner la carte d'enregistrement de la garantie cijointe.
Avant d'instructor l'appareil, assurez-vous que vous avez le bon chauffe-eau pour votre type de gaz-propane ou naturel. Les étiquettes d'identification se trouvent sur la boîte d'expédition et sur la plaque signalétique située sur le panneau létalroidtud couvercle.
Pour enlever le couvercle avant
- Dévissez les deux vis à tête Philips se trouvant sur le panneau avant (sous les bandes protectrices autocollantes si elles ont déjà été apposées) - voir la Fig. 3.
- Soulevez le couvercle avant et enlevez-le.

Fig. 3 Enlever le couvercle avant
Le modele GWH-635-ES n'est pas approuvé ni+. conqu pour:
- un usage dans des maisons usinées (mobiles), vehicules récréatifs ou bateaux;
- le chauffage ou d'autres applications de recirculation/pompage*;
- une installation extérieure (utilisez uniquement le modele d'extérieur GWH-635-ESO);
-
un système d'appoint de chauffage solaire/ préchauffage ou un auxiliaire à haute température.
-
Cela inclut les systèmes domestiques de pompé de circulation d'eau chaude en boucle, qui existerait déjà dans un système résidentiel d'eau chaude. Un mini réservoir électrique (d'une capacité de 14 à 21 litres ou 4 à 6 gallons) devrait être utilisé pour cette application; lorsqu'elle est conçue ainsi, la pompé ne fera circuler l'eau chaude que dans le mini réservoir et dans la boucle de retour de l'eau chaude de l'immeuble (un fonctionnement minuté ou à contrôle thermostatique de la pompé est courant). Le modele GWH-635-ES devrait être raccordé avant le chauffe-eau du mini réservoir - adressez-vous à BBTNA si vous avez besoin de plus de précisions.
2.3 Dimensions et dégagement minimal lors de l'installation

DESSOUS



DESSUS
072060702140318
Fig. 4 Dimensions
1 Couvercle
2 Interrupteur marche-arrêt
3 Touche de réinitialisation
4 Fenetre d'affichage
5 Touche de programmation
6 Boutons de réglage de la température

Fig. 5 Dégagement minimal
Table 1 Dégagement minimal
| MODELE GWH-635-ES | |
| DESSUS (A) | 305 mm (12 po) |
| DEVANT (B) | 25 mm (1 po) |
| ARRIÈRE | 0 mm (po) |
| CÔTÉS | 25 mm (1 po) |
| PLANCHER (C) | 305 mm (12 po) |
| DIAMÈTRÉ DU CONDUIT | 76 mm (3 po) |
2.4 Règles générales pour un fonctionnement en toute sécurité
- Vous devriez suivre les directives suivantes lorsque vous installez votre chauffe-eau. Aux États-Unis: Vous doivent respecter les codes en vigueur dans votre localité ou, en l'absence de tels codes, il faut se conformer à la norme ANSI Z223.1/NFPA 54 du National Fuel Gas Code. Au Canada: L'installation doit être conforme aux CODES D'INSTALLATION B149.1 et B149.2 de l'ACG et(ou) aux codes d'installation locaux
- Choisissez minutieusement l'emplacement du chauffe-eau. L'alimentation en air comburant et l'installation du carneau sont extrémement importantes. Une mauvaise installation peut entraîner des accidents mortels causés par le manque d'air, l'intoxication au monoxyde de carbone ou un incendie.
- Quand l'appareil est installé à l'intérieur en CIRCUIT FERMÉ (deux tuyaux), il est permis de l'inseiller dans une salle de bain, une chambre à coucher et une piece occuée qui est normalement gardée fermée. Voir la section 2.9. Si l'appareil est installé à l'intérieur et utilise l'air comburant interieur, l'endroit où vous installez le chauffe-eau doit être suffisamment aéré. Le Code national de prévention des incendie interdit l'installation d'un chauffe-eau NON SCELLE dans une salle de bain, une,chambre à coucher ou toute piece occuée qui est normalement gardée fermée. Voir les sections 2.5 et 2.8.
- Vous doivent regardier la chauffe-eau. Voir la section traitant de la VENTILATION.
- Il faut vérifier si l'appareil et le raccordement du gaz sont à l'épreuve des fuites avant la mise en marche de l'appareil. L'appareil doit être isolé du système de conduites d'alimentation du gaz, en fermant le robinet d'arrêt manuel du gaz (non fourni avec le chauffe-eau), durant tout essai de pression du système de conduites d'alimentation du gaz à des pressions dépassant 3,5 kPa (0,5 lb/po2).
6. Gardez l'endetroit où se trouve le chauffe-eau propre et exempt de matieres combustibles ou de liquides inflammables. Ne place pas le chauffe-eau au-dessus de materiaux qui peuvent brûler. N'installez pas le chauffe-eau sur du tapis. - Une pression de gaz ajustate est cruciale en vue du fonctionnement optimal de ce chauffe-eau. Les conduites de gaz doivent avoir des dimensions permettant d'obtenir la pression requise lorsque le chauffe-eau fonctionne à plein régime et que tous les autres apparueils au gaz fonctionnent. Renseignez-vous auprès de votre fournisseur de gaz local et consultez la section traitant du raccordement des conduites d'alimentation du gaz.
- S'il y a surchauffe et que l'alimentation en gaz ne s'arrête pas, fermez le robinet d'arrêt manuel du gaz
se trouvant sur la conduite de gaz. Remarque: Le robinet d'arrêt manuel du gaz n'est pas fourni avec le chauffe-eau.
- N'utilisez pas cet apparéil si l'une ou l'autre de ses pieces a été submergé dans l'eau. Appelez immédiatement un technicien qualifié afin qu'il inspecte l' apparéil et remplace toute partie du système de régulation et de commande du gaz ayant été submergé dans l'eau.
2.5 Choix du meilleur emplacement pour le chauffe-eau
Choisissez minutieusement l'emplacement du chauffe-eau. Pour votre sécurité et un bon fonctionnement du chauffe-eau, vous doivent lui fournir une alimentation suffisante en air comburant et prévoir une ventilation adequate.
Suivez les lignes directrices suivantes:
- Placez le chauffe-eau à un endroit où les raccordements du conduit d'évacuation, des conduites de gaz et de la tuyauterie seront faisables et pratiques.
- On commande fortement d'installer le chauffe-eau en CIRCUIT FERMÉ (deux tuyaux). Si le chauffe-eau est installé en tant que chauffe-eau NON SCELLE (tuyau unique), le Code du bâtiment exige alors que vous n'installiez pas cet apparéil dans une salle de bain, une chambre à coucher ou toute piece occupée qui est normalement gardée fermée. Les chauffe-eau NON SCELLEs ont besoin d'une quantité considérable d'air comburant - voir la section 2.8. Si vous installez le chauffe-eau NON SCELLE dans une salle de lavage, assurez-vous que la séchuse est bien ventilée. Si vous ne ventilez pas suffisamment la séchuse, cela pourrait entraîner une accumulation graduelle de charpie à l'intérieur de la chambre de combustion du chauffe-eau.
- Les conduites d'eau chaude doivent être gardées courtes pour économiser l'énergie. Il est toujours préféable deCHOISIR un emplacement central pour le chauffe-eau. Il est aussi préféable d'isoler les conduites d'eau chaude.

Avertissement : L'eau contenue dansce chauffe-eau est froide et demeurefroide sauf quand vous utilisez votrechauffe-eau. N'INSTALLALLEZ DONPCAS VOTRE CHAUFFE-EAU DANSUN ENDROIT OÜ IL POURRAIT
GELER. Si vous prévoyez des températures sous le point de congestion à l'endroit où est installé le chauffe-eau, purgeze complètement le chauffe-eau en débranchant les raccords d'entrée et de sortie d'eau se trouvant sous le chauffe-eau. Pour éviter tout dommage causé par le gel, injectez de petites quantités d'air compré (1,38-2,76 bar ou 20-40 lb/ po2) par ces raccords afin de dégager l'eau résiduelle dans les conduites horizontales et la valve d'eau.

Avertissement : Les matieres inflammables, l'essence, les contenant sous pression et tout autre materiaiu ou article constituant un risque d'incendie ne doivent PAS etreplaces sur le chauffe-eau ou a coté de celui-ci. L'endetroit ou se trouve l'appareil doit toujours etreexempt de matieres inflammables, d'essence et d'autres vapeurs ou liquides inflammables.
2.6 Dégagement
Le chauffe-eau GWH-635-ES estapprové pour une installation sur une paroi combustible (voir la section 2.7-Montage et installation),pourvu que le sol soit recouvert d'un matériel non combustible.Pour une installation dans une alcove ou un placard, il faut respecter la distance minimale, qui est précise cidesous,de toute matière combustible ou non.Voir aussi la Fig.5.
A. Dessus 305mm (12 po)
B.Devant 25~mm 1 po
C. Arrière 0 mm *
D. Côtés 25 mm (1 po)
E. Dessous 305mm (12 po)
Le dégagement de tout tuyau du conduit d'évacuation dépendra des exigences stipulées par le fabricant du conduit d'évacuation en acier inoxydable. Il faut utiliser un conduit d'évacuation (homologué pour les apparueils de catégorie III) à partir simple en acier inoxydable (AL29-4C) pour l'évacuation des gaz de cet apparieil. Voir la section 2.9 traitant de la VENTILATION.
2.7 Montage et installation

Avertissement : Avant de commencer l'installation :
S'assurer qu'il n'y a aucune piece l'ache à l'intérieur de l'appareil;
S'assurer que la conduite de gaz, la valve a gaz, le mélangeur, le ventilateur et le brûleur ne sont pas endommagés et sont bien fixés.

Il faut enlever le couvercle avant (voir les directives en page 4) afin de proceser à une inspection visuelle des pièces.
Le chauffe-eau GWH-635-ES estapprové en vue d'une installation murale. Fixez le crochet de suspension fourni avec le chauffe-eau sur un pan de mur.Voir la Fig.6.
N'installez pas le chauffe-eau sur un mur couvert de tapis ou sur un plancher recouvert d'un matérieliau combustible, comme le tapis. Le chauffe-eau doit etre monté sur le mur au moyen du matériel d'ancrage approprié.
Si le crochet de suspension ne s'aligne pas sur deux montants du mur, on recommande de fixer d'abord une ou deux planche(s) de soutien - planche(s) de 30 sur 122~cm (1 x 4 pi) ou contreplaqué d'au moins 13~mm (1/2 po) d'épaïseur - perpendicularairement à deux montants, puis de fixer le chauffe-eau aux planches de soutien. Le chauffe-eau doit être gardé de niveau sur la surface du mur. Voir la Fig. 6.
L'expansion et la contraction de la tuyauterie attribuables aux variations de température de l'eau circulant dans les tuyaux transmettent un mouvement au chauffe-eau qui, s'il est fixé directement sur un matériel instability et friable, comme le placoplatre, peut entraîner la défaillance du montage.
Avant d'installer l'appareil, assurez-vous que vous avez le bon chauffe-eau pour votre type de gaz - propane ou gaz naturel. Il y a des étiquettes d'identification sur la boîte d'expédition ainsi que sur la plaque signalétique se trouvant sur le panneau létalroidt du couvercle.

Fig. 6 Montage du chauffe-eau
2.8 Besoins en air comburant
Le chauffe-eau GWH-635-ES est un chauffe-eau scellé, et on recommende que l'air combustant soit acheminé par tuyau vers l'appareil. Lorsque l'air combustant est acheminé par tuyau jusqu'à l'appareil (SYSTÉME À DEUX TUYAUX), le système d'air combustant peut être constitué d'un tuyau de 76 mm (3 po) en PVC, en aluminium, aluminiumouple ou en acier galvanisé. Voir les Fig. 10, Fig. 12 et Fig. 13. Choisissez un point où celui-ci pénétrera dans l'immeuble en vous assurant de maintainir la distance minimale de 91 cm (3 pi) entre la terminaison du tuyau d'air combustant et la terminaison du conduit d'évacuation de l'appareil. Voir la Fig. 16. REMARQUE: Il importe de respecter toutes les exigences du Code du bâtiment local lorsque vous perceze le mur d'un immeuble.
REMARQUE: L'emplacement de la bouche du conduit d'air comburant sur la cote de l'immeuble doit etre
éloigné d'au moins 91 cm (3 pi) de la terminaison du conduit d'évacuation, voir la Fig. 16 du tableau 4.
Le chauffe-eau peut fonctionner sans que de l'air combustant ne soit acheminé de l'extérieur, à condition qu'une quantité ajustée d'air combustant soit disponible dans la piece. Il importe de suivre les directives suivantes à l'égard de l'air combustant pour un SYSTème À TUYAU UNIQUE seulement (conduit d'évacuation seulement) et de respecter les Fig. 14 et Fig. 15 pour une installation appropriée.
-
Appareils situés dans des endroits non confinés:
-
a) Par endroit non confiné, on entend un endroit dont le volume est supérieur à 1,42 mètre cube (50 pi3) par 0,29 kWh (1 000 Btu/h) du volume nominal combiné de tous les apparêils électroménagers qui y sont installés. Le chauffeau GWH-635-ES exige à lui seul un volume de 247,8 mètres cubes (8 750 pi³).
- b) Dans des endroits non confinés de bâtisses à charpente conventionnelle, en maçonnenie ou en métal, l'infiltration normale est suffisante pour assurer l'approvisionnement en air comburant, la ventilation et la dilution des gaz du carneau.
Appareils situés dans des endroits confinés: L'espace confiné doit composer deux ouvertures permanentes se trouvant à au plus 305 mm (12 po) du dessus et du dessous du boîtier. Chaque ouverture doit avoir un dégagement minimal de 6,45 cm² (1 po²) par :
- 0,29 kWh (1 000 Btu/h) si tout l'air provient de l'intérieur de la bâtisse;
- 0,58 kWh (2 000 Btu/h) si tout l'air provient de l'extérieur par des conduites horizontales;
- 1,17 kWh (4000 Btu/h) si tout l'air provient de l'extérieur par des ouvertures directes ou des conduites verticales.
Sinon, l'espace confiné doit être muni d'une ouverture permanente ou d'une conduite d'air se trouvant à au plus 305 mm (12 po) du plafond de l'espace fermé. Cette ouverture doit avoir un dégagement de 6,45 cm² (1 po²) par :
- 0,87 kWh (3 000 Btu/h) si tout l'air provient de l'extérieur par une ouverture directe ou une conduite verticalie.
Les persiennes, grilles et moustiquaires ont un effet de blocage. Si vous en utilisez, augmentez la taille de vos ouvertures de 300% si les persiennes sont en bois (puisque le bois réduira la libre circulation d'air de 75% ) et de 40% si elles sont métalliques (puisque le métal réduira la libre circulation d'air de 30% ). Consul- tez les codes nationaux de l'ACG pour obtenir tous les détails. Si la structure de la bâtisse est très dense, tout l'air devrait provenir de l'extérieur.
REMARQUE: Il est déconseilé d'utiliser l'air ambient interieur (système de ventilation à TUYAU UNIQUE) dans des endroits ou les
températures sous le point de congélation sont féquentes. Les séchues, fournaises, fours à bois, ventilateurs de salle de bain ou de cuisine ou les autres apparèils au gaz peuvent creer une pression d'air négative, lorsqu'ils fonctionnent, en faisant sorting l'air de l'immeuble. L'air froid sera alors refoué à l'intérieur de l'immeuble et, s'il est aspiré à travers le chauffe-eau, il se pourrait qu'il gèle. On commande la méthode de ventilation À DEUX TUYAUX (circuit fermé) – voir en page 13.
REMARQUE: Si le chauffe-eau est installé dans un salon de coiffure ou de barbier ou dans toute autre immeuble où des produits chimiques dégageant des substances corrosives ou inflammables, comme des vaporisateurs, sont utilisés couramment, il faut l'installer en tant qu'appareil scellé selon la méthode de ventilation À DEUX TUYAUX.
2.9 Ventilation


Avertissement: Ne réduisez pas la taille des conduits (d'évacuation et d'air comburant) et ne les utilissez pas pour ventiler un autre appeareil ou poèle muni d'un dispositif d'aération.
REMARQUE: Cet apparéil doit être ventilé vers l'extérieur par un conduit d'évacuation scellé en acier inoxydable (AL29-4C), dont la longueur minimale est de 91 cm ou 3 pi (un coude à angle droit équivalent à 75 cm ou 2 pi 12 ). Les gaz d'échévement de l' apparéil subissant une pression positive et doivent circérer dans un conduit scellé en acier inoxydable de 76 mm (3 po) ou 102 mm (4 po), qui est étanche aux gaz.
REMARQUE: La bague du conduit d'évacuation qui se fixe sur le chauffe-eau a un diamètre de 76 mm (3 po), et il faut toujours utiliser cette bague, un raccord d'évasement de 76 à 102 mm (de 3 à 4 po) devant d'abord être fixé à la bague du conduit d'évacuation si un conduit de 102 mm (4 po) est utilisé. Les divers fabricants de conduits d'évacuation en acier inoxydable offrent différents dispositifs ou différentes méthodes de raccordement, ne mélangez pas les tuyaux de ventilation ou les méthodes de raccordement des différents fabricants.
Le tuyau du conduit d'évacuation en acier inoxy-dable est muni de joints d'étanchéité scellants pour une installation facile, une sécurité accrue et une durée de vie prolongée. Le chauffe-eau ne doit pas être ventilé conjointement avec d'autres apparèils; cet apparéil peut uniquement être ventilé au moyen d'un conduit d'évacuation dédié et scellé.
Tab. 2 Numéro de pieces des terminaisons/adaptateurs
| Z flex | Protech | Heat Fab | BBTNA | |
| Conduit de 76 mm (3 po) avec terminaison | 2SVSTB03 | FSTB3 | 9390 TEE | 2SVSTB03 |
| Terminaison verticale de 76 mm (3 po) | 2SVSRCF03 | FSRC3 | 5300CI | 2SVSRCF03 |
| Conduit de 102 mm (4 po) exigeant un côte | 2SVI0304 | FS0304TI | 9374 | 2SVI0304 |
| Terminaison horizontal de 102 mm (4 po) | 2VSRTF04 | FSTB4 | 9490TEE | FXHOOD |
| Terminaison verticale de 102 mm (4 po) | 2VSRCF04 | FSRC4 | 5400CI | -------- |

Prudence : Le système d'évacuation doit être installé par une entreprise accréédée conformément à ces directives. S'il est mal installé, il pourrait provoquer une explosion ou un empoisonnement au monoxyde de carbone. BBTNA décline toute responsabilité à l'égard des apparêls mal installés.
Choisissez l'emplacement du système de ventilation de façon à ce qu'il respecte le code et les exigences du manufacturedur à l'égard de son dégagement. Dans tous les cas, il faut respecter les codes locaux. Voir le tableau 3.
Table 3
| La température maximal des gaz d'échéppement du modele GWH-635-ES est de 225°F (437°F) | |||||||
| Options de ventilation | Matériau et diamètre du conduit d'évacuation | * Longueur maximale du conduit d'évacuation | * Longueur maximale du conduit d'évacuation | Matériau et diamètre du conduit d'air combustant | Longueur maximale du conduit d'air combustant | Dégagement du conduit d'évacuation installé dans un espace non clos | Dégagement du conduit d'évacuation installé dans un espace clos |
| Circuit fermé (deux tuyaux) | Conduit d'évacuation scellé en acier inoxydable (AL29-4C) de 76 mm (3 po) ou 102 mm (4 po)+ | 8 mètres (26 pi) avec un seul coude. Déduire 75 cm (2 pi 1/2) pour chaque coude additionnel. | 91 cm (3 pi) | Tuyau en PVC, en-aluminium ou en acier galvanisé de 76 mm (3 po) | 8 mètres (26 pi) avec un seul coude. Déduire 75 cm (2 pi 1/2) pour chaque coude additionnel | ** Voir les specifications du fabricant du conduit | ** Voir les specifications du fabricant du conduit |
| Combustion ouverte (tuyau unique) | Conduit d'évacuation scellé en acier inoxydable (AL29-4C) de 76 mm (3 po) ou 102 mm (4 po)+ | 8 mètres (26 pi) avec un seul coude. Déduire 75 cm (2 pi 1/2) pour chaque coude additionnel. | 91 cm (3 pi) | Voir la section 2.8 | Voir la section 2.8 | ** Voir les specifications du fabricant du conduit | ** Voir les specifications du fabricant du conduit |
| Le conduit d'évacuation est always muni d'un ventilateur. La tuyauterie des conduits d'évacuation et d'air combustant peut être installée à l'horizontal ou à la verticale et dans des directions différentes au besoin. + La bague du conduit d'évacuation qui se fixe sur le chauffe-eau a un diamètre de 76 mm (3 po), et il faut toujours utiliser cette bague, un raccord d'évasement de 76 à 102 mm (de 3 à 4 po) devant d'abord est fixé à la bague du conduit d'évacuation si un conduit de 102 mm (4 po) est utilisé. * Un maximum de trois côdes à angle droit est permissible et ce, aussi bien dans la longueur du conduit d'évacuation que dans celle du conduit d'air combustant. ** Les fabricants de conduits d'évacuation en acier inoxydable (AL29-4C) sont Z-Flex, Protech et Heat Fab. REMARQUE : Les distances de dégagement peuvent varier selon que le conduit est installé dans un espace clos ou non clos, ainsi qu'en fonction de la température des gaz d'échéppement et de l'orientation du conduit d'évacuation. | |||||||
L'appareil doit être place le plus pres possible du point de terminaison du conduit. La longueur maximale du conduit est de 8 mètres (26 pi) avec un seul coude à angle droit. Déduire 75 cm (2 pi 1/2) de la longueur totale du conduit pour chaque coude à angle droit additionnel que vous utilisez (un nombre maximal de trois coudes à angle droit est permitted dans la longueur totale du conduit). Les sectionsizontales du conduit doivent s'élever de 6 mm (1/4 de po) à tous les 30 cm (1 pi) de longueur horizontal et être soutenues à des intervalles de 122 cm (4 pi) par des crochets de suspension. Toute section du conduit place à un angle de plus de 45 degrés par rapport à la verticale est considérée comme un coude.
Remarque: On ne doit pas utiliser le conduit d'évacuation en acier inoxydable dans un endroit fermé ou non chauffé. Des manchons d'emboitement ou bagues homologués sont nécessaires pour traverser des murs et des plafonds. Si le système de ventilation passée dans des endroits ou se trouvent des matières combustibles et que les exigences relatives au dégagement du conduit ne peuvent pas être respectées, il est permitted d'enchâsser des sections droites du conduit à paroi unique de 76 mm (3 po) dans un conduit de type B de 102 mm (4 po) ou plus. La
distance des matieres combustibles si l'on a recours à cette technique d'enchâssement est de 25 mm (1 po). Remarque : Il ne faut jamais utiliser un conduit de type B en tant que conduit d'évacuation comme tel du chauffe-eau, parce qu'il n'est pas étanche aux gaz.
Dimensions et longueur minimales du conduit d'évacuation

Fig. 7
La longueur minimale du conduit d'évacuation est de 91 cm (3 pi). L'utilisation d'un coude à angle droit est équivalent à une section de conduit d'une longueur de 75 cm (2 pi 1/2 ).
Longueurs maximes du conduit d'évacuation et du conduit d'air comburant

Fig. 8
Remarque: Deduire 75 cm (2 pi 12 ) de la longueur pour chaque coude à angle droit additionnel après le premier; deduire 38 cm (1 pi 14 ) pour chaque coude à 45 degrès.
Dispositif de sécurité du conduit d'évacuation
Le chauffe-eau GWH-635-ES se mettra hors tension s'il détecte un fonctionnement défaillant du conduit d'évacuation ou une quantité insuffisante d'air combustant acheminée à l'appareil; voir la section Résolution de problèmes en page 27. Voir le tableau des codes d'erreur pour confirmer la nature de l'erreur, corriger le problème, puis réinitialiser le chauffe-eau avant sa remise en marche.
Comment fixer les adaptateursurs des conduits d'évacuation et d'admission d'air au-dessus du chauffe-eau

Fig. 9

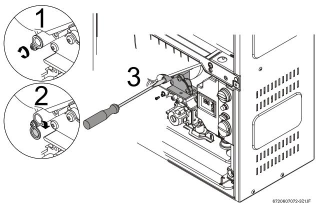
Fig. 10
Fixez l'accessoire d'évacuation des gaz de carneau (8 705 504 114) au-dessus de l'appareil (position 1), à l'aide des quatre vis et rondelles fournies, puis enforcez complètement le conduit d'évacuation de 76 mm (3 po) en acier inoxydable dans l'accessoire et serrez la pince (position 2).
Fixez l'accessoire d'admission d'air comburant (8 705 504 115) au-dessus de l'appareil (position 3), à l'aide des trois vis et rondelles fournies, puis enforcez complètement le conduit d'admission d'air comburant de 76 mm (3 po) et serrez la pince (position 4). REMARQUE: Vous pouvez fixer le conduit d'admission d'air comburant aussi bien en haut à droite qu'en haut à gauche du chauffe-eau. S'il n'est pas utilisé, le conduit d'admission d'air comburant doit être gardé scelle.
Fixation du tube de purge de condensat externe (fourni avec le chauffe-eau) sur la bague du conduit d'évacuation
Le tube de purge de condensat doit etre utilise pour tous les types d'installations. Une mauvaise installation du tube de purge de condensat invalidera la garantie.
Lors de l'installation du tube de purge de condensat sur la bague du conduit d'évacuation (voir l'illustration ci-dessous), il importe de former une trappe au moyen d'une boucle de 76 mm (3 po) remplie d'eau. Le tube fourni est un tube de silicone d'un diamètre interieur de 9,5 mm (3/8 de po) à haute température, qui doit être fixé au raccordement du tube de purge de condensat sur la bague du conduit d'évacuation à l'aide du collier de serrage fourni (il faut d'abord enlever la vis se trouvant au point de taraudage).
Pour accroître la longueur du tube, rattachez-y un tube de vinyle après le tube fourni.
Le condensat doit être éliminé en conformité avec la réglementation locale.
Point de raccordement du tube de
- Enlever la vis taraudeuse

Fig. 11
-
Fixez le tube à l'aide du collier de serrage
-
Enroulez le tube de façon à former une boucle de 76 mm (3 po) avec une attache de Nylon (ne pas pincer le tube) et replisssez la
2.9.1 Options de ventilation
Installer ce chauffe-eau en tant que système en circuit fermé (SYSTÉME À DEUX TUYAUX) est la méthode recommendée. Adressez-vous à BBTNA ou à votre détaillant pour vous renseigner sur les trusses de terminaison et les matérielux de conduits disponibles pour ce chauffe-eau.

L'évacuation devra être se faire à l'aide d'un conduit en acier inoxydable (AL29-4C) de 76 mm (3 po) ou 102 mm (4 po).

Installation de type circuit fermé (SYSTÉME À DEUX TUYAUX)
Fig. 12
Conduit d'air comburant: ≤ 8 m (26 pi)
Conduit d'évacuation: ≤ 8 m (26 pi)

Fig. 13
Conduit d'air comburant: ≤ 8m (26 pi)
Conduit d'évacuation : A+B+C ≤ 7,2 m (23 pi 1/2)
Remarque: Déduire 75 cm (2 pi 1/2 ) de la longueur pour chaque coude à angle droit additionnel après le premier.
Un maximum de trois coudes à angle droit est permis.

La tuyauterie des conduits d'évacuation et d'air combustant peut être installée à l'horizontal ou à la verticale. La longueur maximale de chaque conduit est de 8 metres (26 pi) avec un coude; il faut déduire 75 cm (2 pi 1/2 ) de sa longueur totale pour chaque coude additionnel ou 38 cm (1 pi 1/4 ) pour chaque coude de 45 degrés.
Installation de type combustion ouverte (SYSTÉME À TUYAU UNIQUE)
Non recommendée dans les régions froides - voir la section 2.8.

Fig. 14
Conduit d'évacuation: ≤ 8 m (26 pi)

Fig. 15
Conduit d'évacuation : A+B+C ≤ 7,2 m (23 pi 1/2)
Le système du conduit d'évacuation doit être ventilé directement vers l'extérieur de l'immeuble, et une quantité suffisante d'air comburant doit être acheminée pour cette installation. Voir la section 2.8.
On commande de brancher un raccord coude à angle droit à l'adaptateur du conduit d'admission d'air comburant, ce qui empêchera les débris ou les objets de tomber dans l'ouverture du conduit d'admission.
Remarque: Deduire 75 cm (2 pi 1/2 ) de la longueur pour chaque coude à angle droit additionnel après le premier.
Un maximum de trois coudes à angle droit est permis; déduire 38 cm (1 pi 14 ) pour chaque coude à 45 degrés.
Emplacement recommendé du conduit d'évacuation

Fig. 16
| Ref. | Description | Dégagement minimal |
| A | Directement en dessous d'une ouverture, d'une fenêtre à châssis ouvrant, d'une porte et d'une ouverture à l'air libre non mécanique | 91 cm (36 po) |
| B | Sous une gouttière, un tuyau de plomberie sanitaire ou une corniche | 60 cm (24 po) |
| Sous une gouttière, un tuyau de plomberie sanitaire ou une corniche avec écran de protection métallique | 30 cm (12 po) | |
| C | De tout coin interieur | 30 cm (12 po) |
| D* | Au-dessus du sol | 30 cm (12 po) |
| Au-dessus d'un trottoir pavé ou d'une allée pavée | 221 cm (7 pi) | |
| E | D'un mur opposé ou d'une structure faisant face à la terminaison | 60 cm (24 po) |
| De toute autre ouverture, compteur ou régulateur de gaz ou autre apparéil du genre | 91 cm (36 po) | |
| F | D'une terminaison faisant face à une autre terminaison | 122 cm (48 po) |
| G | Verticalément entre les terminaisons de deux conduits d'évacuation se trouvant sur le même mur | 152 cm (60 po) |
| H | Horizontalément entre les terminaisons de deux conduits d'évacuation se trouvant sur le même mur | 30 cm (12 po) |
| I** | Horizontalément du conduit d'admission d'air comburant du chauffe-eau GWH-635-ES | 91 cm (36 po) |
| Verticalément au-dessus du conduit d'admission d'air comburant du chauffe-eau GWH-635-ES | ||
| Du conduit d'admission d'air comburant de tout autre apparéil | 182 cm (6 pi) | |
| J | De tout coin extérieur | 30 cm (12 po) |
| K | Horizontalément d'une ouverture, d'une fenêtre à châssis ouvrant, d'une porte et d'une ouverture à l'air libre non mécanique | 30 cm (12 po) |
| L | Verticalément d'un mur, du versant d'un toit ou d'une obstruction (conduit de ventilation passant par un toit plat ou en pente) | Voir les exigences AU-DESSSU DU TOIT à la page suivante. |
Table 4
* Sous réserve des codes locaux et de l'accumulation de neige prévue.
** D'autres apparecs munis d'un conduit d'admission d'air mecanique pourraient necessiter un dégagement accru - consulter les directives du fabricant.
Soutien du conduit d'évacuation

Vous pouvez vous procurer les pieces et accessoires du conduit d'évacuation nécessaires pour installer correctement votre chauffe-eau auprès de BBTNA et de ses distributeurs.

Fig. 17 Installation du conduit d'évacuation à l'horizontal vers le mur latéral (conduit d'air combustant non illustré)

Fig. 18 Dégagement exigé au-dessus du toit à partir du couvercle à charnière (conduit d'air comburant non illustré)
Un tube de purge de condensat doit etre fixe a la bague du conduit d'évacuation du chauffe-eau pour tous les types d'applications de ventilation - voir en page 11.

Fig. 19 Installation du conduit à la verticale (conduit d'air comburant non illustré)
Un tube de purge de condensat doit être fixé à la bague du conduit d'évacuation du chauffe-eau pour tous les types d'applications de ventilation - voir en page 11.

Fig. 20 Installation du conduit à la verticale - cheminée de maçonneorie (conduit d'air combustant non illustré)
Un tube de purge de condensat doit être fixé à la bague du conduit d'évacuation du chauffe-eau pour tous les types d'applications de ventilation - voir en page 11.
2.10 Raccordement des conduites de gaz

Avant de brancher les conduites d'alimentation de gaz, vérifie la plaque signalétique se trouvant du côté droit du chauffe-eau pour vous assurer que le chauffe-eau est homologué pour le même type de gaz que celui auquel il sera branché.
Aux États-Unis: Vous devez respecter les codes en vigueur dans votre localité ou, en l'absence de tels codes, il faut se conformer à la norme ANSI Z223.1/ NFPA 54 du National Fuel Gas Code.
Au Canada: L'installation doit être conforme aux CODES D'INSTALLATION B149.1 et B149.2 de l'ACG et(ou) aux codes d'installation locaux.
GROSSEUR DES CONDUITES DE GAZ
Les conduites d'alimentation de gaz doivent avoir la grosseur respectant la reglementation relative aux gaz combustibles pour une alimentation maximale de 51,2
kWh (175 000 Btu/h). Détérincez d'abord la longueur réelle de la conduite d'alimentation de gaz en mesurant la longueur comme telle de la conduite, puis en y ajoutant 1,52 m (5 pi) pour chaque coude ou raccord en T. Utilisez les tableaux de la fig. Fig. 22 pour déterminer le diamètre de la conduite dont vous avez besoin pour répondre à la demande énergétique (en kWh ou Btu) de l'appareil. Si plus d'un apparéil au gaz est branché à la conduite, calculez la longueur en conséquence selon la demande énergétique maximale.
Remarque: Il est important de noter que si une conduite de gaz souple est utilisée, au-dessus ou en dessous du sol, entre le compteur/régulateur de gaz et le chauffe-eau, elle doit être de la bonneGXsseur. Consultez les tables de specifications desGXsseurs de conduites de gaz fournies par les fabricants de conduites de gaz souples et les exemples de conduites souples en tôle d'acier inoxydable ondulée (CSST) à la Fig. 22.

Fig. 21
Installez un robinet d'arrêt manuel du gaz sur la conduite d'admission du gaz.
L'utilisation d'un raccord union pour brancher la conduite de gaz avec le raccord d'alimentation de gaz est cruciale; celui-ci facilitera l'entretien, les réparations et le nettoyage du filtré à particules de la conduite d'alimentation de gaz.
- Les raccords de conduites de gaz souples ne sont pas recommandés parce qu'ils sont généralement trop petits et limite la circulation du gaz. Accroissez le diamètre de tout raccord de conduite de gazSouple de l'appareil si vous devez en utiliser.
POUR LE GAZ NATUREL
Capacité maximale de la conduite en mêtres cubes (pieds cubes) de gaz par heures pour une pression de gaz de 3,5 kPa (0,5 lb/po2) ou moins et une chute de pression de 0,07 kPa (0,3 po col. d'eau).
Les dimensions de conduites encadrées correspondant à un seul apparéil GWH-635-ES (par exemple, une conduite de gaz naturel en fer noir de 19 mm (3/4 de po) s'étirant sur 6,1 mètres (20 pi) supportera 55,7 kWh (190 000 Btu). Pour des apparêils multiples, calculez l'apport calorifique total en Btu, puis consultez le tableau pertinent ci-dessous.)


* DHE = Diamètre hydraulique équivalent. Plus la valeur du DHE est grande, plus la capacité de la conduite est grande.
POUR LE GAZ DE PÉTROLE LIQUÉFIE (PL)
Capacité maximale de la conduite en milliers de Btu à l'heure de gaz de petrole liquéfié non dilué (à une pression d'admission de 2,7 kPa (11 po col. d'eau).
- DHE = Diamètre hydraulique équivalent. Plus la valeur du DHE est grande, plus la capacité de la conduite est grande.


Capacité maximale d'une tubulure semi-rigide en milliers de Btu à l'heure de gaz de petrole liquéfié non dilué (à une pression d'admission de 2,7 kPa (11 po col. d'eau).
Selon une chute de pression de 0,12 kPa (0,5 po col. d'eau)
- Source - Norme NFPA 54, ANSI Z223.1 du National Fuel Gas Code. Aucune autre exigence n'est stipulée pour un nombre normal de raccords

Fig. 22
2.11 Grosseur des conduites de gaz
On commande fortement d'utiliser, comme conduite de gaz naturel, un tuyau en fer noir pour toute la distance entre le compteur extérieur et la conduite d'admission du gaz: un tuyau en fer noir de 19 mm (3/4 de po) jusqu'à 6,1 metres (20 pi) et un tuyau en fer noir de 25,4 mm (1 po) jusqu'à 21,34 metres (70 pi) de distance. On DECONSEILLE l'utilisation de tubulureouple, mais si vous l'utilise, il faut en grossir la taille, limiter sa longueur et la garder aussi droite que possible.
On commande fortement d'utiliser, comme conduite de gaz PL, un tuyau semi-rigide en cuivre ou un tuyau en fer noir entre le régulateur extérieur et la conduite d'admission du gaz. Pour la tuyauterie semi-rigide en cuivre:15,8 mm (5/8 de po) jusqu'à 3,05 metres (10 pi) et 19 mm (3/4 de po) jusqu'à 9,14 metres (30 pi) de distance. Pour la tuyauterie en fer noir: 13 mm (1/2 po) jusqu'à 6,1 metres (20 pi) et 19 mm (3/4 de po) jusqu'à 24,38 metres (80 pi) de distance. On DÉCONSEILLE l'utilisation de tubulureouple, mais si vous l'utilise, il faut en grossir la taille, limiter sa longueur et la garder aussi droite que possible.

CES CHIFFRES S'APPLICENT UNIQUEMENT A L'ALIMENTATION DU MODELE GWH-635-ES;IL FAUDRA TENIR COMPTE DE TOUS LES AUTRES APPAREILS SE TROUVANT DANS LA BATISSE DANS LE CALCUL DES DIMENSIONS DE LA TUYAUTERIE.
Le National Fuel Gas Code exige qu'un piège à sédiments (point de purgege) soit installé sur les apparèils au gaz qui n'en sont pas munis. En outre, il faut installer un robinet d'arrêt manuel du gaz sur la conduite de gaz, le plus pres possible du chauffe-eau, en veillant à ce qu'il soit visible à partir de l'emplacement du chauffe-eau.

Avertissement : Le chauffe-eau doit être débranché du système de conduites d'alimentation du gaz durant toute vérification de la pression de ce système à des pressions d'essay égales ou supérieures à 3,45 kPa (0,5 lb/po²).
Le chauffe-eau ne doit pas fonctionner à des pressions de gaz dépassant 3,45 kPa (0,5 lb/po2). En cas de surpression, comme par exemple par suite d'un essai inadéquat des conduites de gaz ou d'une défaillance du système d'alimentation, il faut vérifier la valve à gaz afin de s'assurer qu'elle fonctionne en toute sécurité.
Une fois les raccordements terminés, examinez tous les joints afin de vérifier s'il y a des fuites de gaz. Appliquez de l'eau savonneuse sur tous les raccords de gaz et la
valve à gaz. Les bulles de savon indiquent la présence de fuites.

Danger: S'il y a une fuite, coupez le gaz. Resserrez tous les raccords pertinentes afin d'arreter la fuite. Ouvrez le gaz de nouveau et recommencez l'essay avec l'eau savonneuse. Ne vérifie jamais les fuites de gaz à l'aide d'une allumette ou d'une flamme.
2.12 Mesure de la pression du gaz
2.12.1 Branchement du manomètre
Fermer l'arrivee de gaz.
Enlevez le couvercle avant et localisez le point de mesure du gaz d'admission (voir la Fig. 24).
Desserrez la vis à l'intérieur du raccord du point de mesure (ne l'enlevez pas) et branchez le tube du manomètre au point de mesure.
2.12.2 Vérification de la pression statique
Rétabillissez l'arrivée de gaz.
Faites fonctionner à plein régime tous les autres apparèils au gaz branchés au même système d'admission de gaz.
- Inscrivez la pression statique enregistrée dans le tableau 5.
2.12.3 Vérification de la pression de fonctionnement
- Placez l'interrupteur marche-arrêt à la position d'arrêt (0).
Appuyez sur la touche de programmation (M) et placez l'interrupteur marche-arrêt à la position de marche (I).

Fig. 23
Dès que le chiffre " 188 " sera affché, relâchez la touche de programmation; vous devriez voir apparaitre " P2 " dans la fenêtre d'affichage.
Appuyez sur la touche jusqu'à ce que + , apparaisse.
Remarque: Pendant que l'appareil est dans ce mode, il fonctionnera sans interruption à plein régime et permettra l'écoulement d'un début d'eau maximal.
Faites couler un volume élevé d'eau chaude (au moins 21 litres ou 6 gal/min) de façon à ce que le brûleur s'allume.
- Inscrivez la pression de fonctionnement enregistrée dans le tableau 5.
Des pressions de gaz inférieures à 1,24 kPa (5 po de col. d'eau) pour le gaz naturel et à 2,73 kPa (11 po de col. d'eau) pour le PL se traduirent par des hausses de température insuffisantes de l'eau chaude. Voir la section 2.10 traitant du raccordement des conduites de gaz.

Fig. 24 Mesure de la pression du gaz (branchement gauche)
Table 5
| Lecture de la pression statique du gaz (voir la section 2.12) Inscrivez-la ici : ____________ |
| Lecture de la pression de fonctionnement du gaz (voir la section 2.12) Inscrivez-la ici : ____________ |
FONCTIONNEMENT À HAUTE ALTITUDE
Table 6
| Altitude | Gaz naturel | Propane liquide | |
| de 0 à 1 219 m (4 000 pi) | Aucune modification | Aucune modification | Pour un fonctionnement à des altitudes supérieure à 610 m (2 000 pi), il faut réduire le régime nominal de l'appareil de 4 % par tranche 305 m (1 000 pi) au-dessus du niveau |
| De 1 219 à 2 134 m (4 000 à 7 000 pi) | Réglage du CO2 à l'aide de l'analyseur de gaz d'échéppement exigé - voir les directives figurant à la section 9. | ||
| Au dessus de 2 134 m (7 000 pi) | Appareil nonapprovéd | ||
2.13 Raccordement des conduites d'eau

Lorsque vous faites face au chauffe-eau, la conduite d'admission d'eau froide de 19 mm (3/4 de po) se trouve sous le chauffe-eau à droite, tandis que la conduite d'eau chaude se trouve sous le chauffe-eau à gauche. Installez le chauffe-eau le plus au centre de l'immeuble possible afin de réduire la longueur des conduites d'eau chaude.

Fig. 25
ON RECOMMANDE L'UTILISATION D'UN RACCORD UNION POUR RELIER LES DEUX CONDUITES D'EAU AUX RACCORDS D'ADMISSION ET DES SORTTE; CELA FACILITERA TOUT ENTRETIEN OU Toute RÉPARATION NÉCESSAIRE, AINSI QUE LE NETTOYAGE DU FILTRE À PARTICULES.
Bien que les conduites d'eau installées partout dans l'immeuble puissant être des matériaux autres que le cuivre, nous vous recommendons d'utiliser des conduites souples en cuivre, en acier galvanisé ou en acier inoxydable de calibre approprié pour le raccordement des conduites d'eau (respectez les codes locaux s'ils sont plus rigoureux). Les conduites de plomberie en plastique ou autre matériel Souple ne convennent pas pour le branchement direct au chauffeau. Les conduites d'admission et de sortie d'eau doivent avoir un diamètre d'au moins 19 mm (3/4 de po) pour permettre une circulation complète.
Si les raccordements d'eau chaude et d'eau froide sont inversés, le chauffe-eau ne fonctionnera pas. Assurez-vous qu'il n'y pas de particules en suspension ni de saleté dans la tuyauterie. Soufflez dans les conduites d'eau ou rincez-les avant de les brancher au chauffe-eau. Des valves à bille devraient être installées sur la conduite d'admission d'eau froide et la conduite de sortie d'eau chaude afin de faciliter l'entretien et la réparation du chauffe-eau (voir la Fig. 26). Si vous branchez l'appareil à un système privé de puits muni d'un réservoir sous pression, on recommende que la pression se situe entre 207 kPa et 345 kPa (30 et 50 lb/po2).
Raccordement de la soupape de suture
Il faut fixer la soupape de suturetefournie avec le chauffe- eau au moment de l'installation de l'appareil. Si vous y ajoutez une conduite de vidange, il ne faut placer aucun robinet entre la soupape de suturet et le chauffe-eau. Il ne faut ajouter aucun raccord de reduction ni aucune autre contrainte sur la conduite de vidange. Celle-ci doit etre installee au moins 101 mm (4 po) au-dessus d'un drain et de façon a permettre une vidange completoa la fois de la soupape de suturet et de la conduite.L'emplacement de la soupape de suturet doit
Faites couler un volume élevé d'eau chaude (au moins 21 litres ou 6 gal/min) de façon à ce que le brûleur s'allume.
- Inscrivez la pression de fonctionnement enregistrée dans le tableau 5.
Des pressions de gaz inférieures à 1,24 kPa (5 po de col. d'eau) pour le gaz naturel et à 2,73 kPa (11 po de col. d'eau) pour le PL se traduirent par des hausses de température insuffisantes de l'eau chaude. Voir la section 2.10 traitant du raccordement des conduites de gaz.

Fig. 24 Mesure de la pression du gaz (branchement gauche)
Table 5
| Lecture de la pression statique du gaz (voir la section 2.12) Inscrivez-la ici : ____________ |
| Lecture de la pression de fonctionnement du gaz (voir la section 2.12) Inscrivez-la ici : ____________ |
FONCTIONNEMENT À HAUTE ALTITUDE
Table 6
| Altitude | Gaz naturel | Propane liquide | |
| de 0 à 1 219 m (4 000 pi) | Aucune modification | Aucune modification | Pour un fonctionnement à des altitudes supérieure à 610 m (2 000 pi), il faut réduire le régime nominal de l'appareil de 4 % par tranche 305 m (1 000 pi) au-dessus du niveau |
| De 1 219 à 2 134 m (4 000 à 7 000 pi) | Réglage du CO2 à l'aide de l'analyseur de gaz d'échéppement exigé - voir les directives figurant à la section 9. | ||
| Au dessus de 2 134 m (7 000 pi) | Appareil nonapprovéd | ||
2.13 Raccordement des conduites d'eau

Lorsque vous faites face au chauffe-eau, la conduite d'admission d'eau froide de 19 mm (3/4 de po) se trouve sous le chauffe-eau à droite, tandis que la conduite d'eau chaude se trouve sous le chauffe-eau à gauche. Installez le chauffe-eau le plus au centre de l'immeuble possible afin de réduire la longueur des conduites d'eau chaude.

Fig. 25
ON RECOMMANDE L'UTILISATION D'UN RACCORD UNION POUR RELIER LES DEUX CONDUITES D'EAU AUX RACCORDS D'ADMISSION ET DES SORTTE; CELA FACILITERA TOUT ENTRETIEN OU Toute RÉPARATION NÉCESSAIRE, AINSI QUE LE NETTOYAGE DU FILTRE À PARTICULES.
Bien que les conduites d'eau installées partout dans l'immeuble puissant être des matériaux autres que le cuivre, nous vous recommendons d'utiliser des conduites souples en cuivre, en acier galvanisé ou en acier inoxydable de calibre approprié pour le raccordement des conduites d'eau (respectez les codes locaux s'ils sont plus rigoureux). Les conduites de plomberie en plastique ou autre matériel Souple ne convennent pas pour le branchement direct au chauffeau. Les conduites d'admission et de sortie d'eau doivent avoir un diamètre d'au moins 19 mm (3/4 de po) pour permettre une circulation complète.
Si les raccordements d'eau chaude et d'eau froide sont inversés, le chauffe-eau ne fonctionnera pas. Assurez-vous qu'il n'y pas de particules en suspension ni de saleté dans la tuyauterie. Soufflez dans les conduites d'eau ou rincez-les avant de les brancher au chauffe-eau. Des valves à bille devraient être installées sur la conduite d'admission d'eau froide et la conduite de sortie d'eau chaude afin de faciliter l'entretien et la réparation du chauffe-eau (voir la Fig. 26). Si vous branchez l'appareil à un système privé de puits muni d'un réservoir sous pression, on recommende que la pression se situe entre 207 kPa et 345 kPa (30 et 50 lb/po2).
Raccordement de la soupape de suture
Il faut fixer la soupape de suturetefournie avec le chauffe- eau au moment de l'installation de l'appareil. Si vous y ajoutez une conduite de vidange, il ne faut placer aucun robinet entre la soupape de suturet et le chauffe-eau. Il ne faut ajouter aucun raccord de reduction ni aucune autre contrainte sur la conduite de vidange. Celle-ci doit etre installee au moins 101 mm (4 po) au-dessus d'un drain et de façon a permettre une vidange completoa la fois de la soupape de suturet et de la conduite.L'emplacement de la soupape de suturet doit
etre facilement accessible aux fins de réparation ou de remplacement et se trouver aussi pres que possible du chauffe-eau. Voir la Fig. 26. Pour installer la soupape de suture, on peut y souder un raccord approprié branché à une ballonge sur un raccord en "T" de la conduite d'eau chaude. Il faut soutenir toute la tuyauterie.

Fig. 26 Raccords de plomberie et soupape de sutureté
2.14 Connexions électriques

Avertissement : Pour des raisons de sécurité, il faut toujours couper l'alimentation électrique du chauffe-eau avant de proceder à l'entretien, à des réparations ou à des tests.

Avertissement: Ce chauffe-eau doit être mis à la terre conformément à la plus récente édition de la norme NFPA 70 du National Electrical Code. Au Canada, tout le câblage électrique relié au chauffe-eau devrait respecter les codes locaux et la norme CSA C22.1, partie 1, du Code canadien de l'électricité. Ne vous contentez pas des conduites de gaz ou d'eau pour la mise à la terre des parties métalliques du chauffe-eau.
Le chauffe-eau GWH-635-ES exige une alimentation électrique de 120 V/60 Hz c.a., et doit être mis à la terre correctement.
Il faut prévoir un moyen de couper l'alimentation électrique de 120V c.a.
Le câblage du chauffe-eau doit respecter le diagramme de câblage (section 6, Fig. 37).
2.15 Directives d'utilisation
Avant demettrelechaiffe-eau en marche,il faut s'assurer que le systeme est remplid'eau.
Fermez l'alimentation électrique vers le chauffe-eau.
Ouvrez complètement la valve d'admission d'eau froide du chauffe-eau.
Ouvrez un robinet d'eau chaude afin de replir lechauffe-eau et la tuyauterie et d'éliminer l'air emprisonné dans le système.
Fermez le robinet d'eau chaude lorsque l'eau circulera librement et que tout l'air se sera échépé du système. Ouvrez l'alimentation électrique du chauffe-eau. Le chauffe-eau est maintainant prét à fonctionner.

NOTE: Un réglage par défaut de la tempé-rature à 50^ (122°F) apparaitra dans la fenêtre d'affichage.
2.16 Consignes de sécurité à生存 avant d'utiliser le chauffe-eau

Avertissement: Si vous ne suivez pas ces directives à la dette, un incendie ou une Explosion pourrait se produit et causer des dommages matériels, des blessures corporelles ou le décès.
A. Cet apparéil est muni d'un dispositif d'allumage électronique servant à allumer la veilleuse et les brûleurs principaux. Lorsque vous mettez le chauffe-eau en marché, suivez les directives suivantes à la dette..
B. Avant demettre l'appareil en marche, placez l'interru-. rupteur à la position de marche (I).
QUOI FAIRE SI VOUS DÉTECTEZ UNE ODEUR DE GAZ
N'allumez aucun apparéil électroménager.
- Ne touchez àaucun interrupteurelectrique;n'utilisezaucuntelephone se trouvantà l'intérieur devoitré immeuble.
- Appelez immédiatement votre fournisseur de gaz en utilisant le téléphone d'un voisin. Suivez les directives de votre fournisseur de gaz.
Si ne pouze pas joindre votre fournisseur de gaz, téléphonez au service des incendies.
C. En utilisant uniquement votre main, enforcez le bouton de commande marche-arrêt. N'utilise jamais d'outils. Respectez ces directives à la lecture. Si le bouton de commande est coincé, fermez l'alimentation de gaz et appelez un technicien qualifié. Le forcer ou tenter de le réparer peut causeur un incendie ou une explosion.
D. N'utilise pas cet apparéil si l'une de ses pieces a été submergée dans l'eau. Appelez immédiatement un technicien qualifié afin qu'il inspecte l' apparéil et remplace tout élément du système de réglage ou toute commande de gaz ayant été submergé.
2.17 Directives d'allumage et d'utilisation
- ARRÉTEZ! Lisez les consignes de sécurité inscrites au-dessus de cette plaque.
- Il faut fermer la valve à gaz en plaçant l'interrupteur marche-arrêt à la position (0). Attendez cinq (5) minutes afin que tout le gaz puisse d'échéper. Si vous détectez une odeur de gaz, ARRÊTEZ! Suivez la directive " B " des consignes de sécurité susmentionnées. Si vous ne détectez aucune odeur de gaz, passez à l'étape suivante.
- Ce chauffe-eau est muni d'un dispositif d'allumage électronique, qui allume les brûleurs principaux. Lorsque vous mettez le chauffe-eau en marche, suivez ces directives à la dette.
- Placez l'interrupteur marche-arrêt à la position (I). Ainsi, lechauffe-eau sera prét à être utilisé.
5. Ouvrez un robinet d'eau chaude - Les brûleurs resteront allumés jusqu'à ce que vous fermiez le robinet d'eau chaude.

REMARQUE: Lors de l'installation initiale ou après l'exécution de travaux sur les conduites de gaz, la présence d'air dans la conduite d'alimentation du gaz peut retarder quelques peu l'allumage lorsque le robinet d'eau chaude est ouvert. Cela entraînera l'affichage d'un code d'erreur (EA) dans la fenêtre d'affichage. C'est tout à fait normal. Lorsque cela se produit, laissez couler l'eau chaude et attendez de 3 à 5 secondes, puis réinitialisez l'appareil (fig. 26, pos. 2). Attendez que le message d'erreur (EA) disparaissé. Le chauffeau essaiera de proce dér de nouveau à l'allumage. Si le code d'erreur (EA) réapparait, repétéz le même processus jusqu'à ce que tout l'air ait été évacué.
Lorsque le chauffe-eau est en marche, vous entendrez fonctionner son ventilateur et son brûleur électriques. Lorsque vous fermerez le robinet d'eau chaude, le ventilateur électrique continuaera de fonctionner pendant une période pouvant aller jusqu'à 60 secondes pour évacuer tous les gaz de carneau. La vitesse du ventilateur électrique variera selon le début d'eau chaude et la puissance du brûleur.
POUR COUPER L'ARRIVÉE DE GAZ À L'APPAREIL
Fermez le robinet d'arrêt manuel du gaz se trouvant sur la conduite d'alimentation du gaz vers le chauffe-eau et placez l'interrupteur marche-arrêt à la position
d'arrêt (0). Remarque: Le robinet d'arrêt manuel du gaz n'est pas fourni avec le chauffe-eau.
3 Directives d'utilisation

Fig. 27
1 Interrupteur marche-arrêt
2 Touche de réinitialisation
3 Touche de programmation
4 Selecteur de hausse de température
5 Suggesteur de baisse de température
6 Fenetre d'affichage
3.1 Alimentation électrique
Mise sous tension
Pour allumer l'appareil, placez l'interrupteur à la position (I).
L'affichage à cristaux liquides indiquera la température par défaut, soit 55^ (122^)

Fig. 28
Mise hors tension
Pour fermer l'appareil, placez l'interrupteur à la position (0).
3.2 Réglage de la température
Pour désir la température de sortie de l'eau chaude:
Appuyez sur les touches et pour atteindre la température désirée.

Fig. 29
Si la température de l'eau acheminée vers le chauffe-eau est très chaude, l'eau sortant du chauffe-eau pourrait être trop chaude. Un robinet de douche équilibrateur de température peut melanger automatiquement de l'eau froide afin de réduire la température trop élevé de l'eau. Si la température demeure instable malgré l'utilisation d'un robinet équilibreur, consultez les directives du fabricant pour le réglage interne. Il faudrait toujours faire les rajustements lorsque le robinet de la douche se trouve au réglage le plus chaud. En outre, le bouton sélecteur de température du chauffe-eau peut être régle de façon à ce que la température de l'eau chaude soit plus comfortable.
Réglage de la température de l'eau
La température désirée de l'eau chaude peut être régée sur le panneau de commande avant du chauffe-eau.
L'appareil GWH-635-ES est muni d'une valve à gaz à commande électronique, qui module la puissance des brûleurs en fonction à la fois des débits d'eau chaude et(ou) des températures de toute l'eau acheminée et produit.

Débit et température d'eau chaude avec des températures d'admission variees (gal/min/Fahrenheit)
Admission (^) 40
Admission (^) 50
Admission (^) 60
Admission (^) 70
Débit et température d'eau chaude avec des températures d'admission variées (l/min/Celsius)

Fig. 30 Tableaux des débits et des températures
Il est possible de programmer le chauffe-eau de façon à ce qu'il affiche les lectures de température en degrés Celsius; veuillez vous adresser à BBTNA pour obtenir la marche à suivre.
3.3 Utilisation de l'accessoire télécommande

Fig. 31 Télecommande
L'accessoire de la télécommande sans fil et les boutons sélecteurs de température sur le devant du chauffe-eau fonctionnement de la même façon. Adressez-vous à votre distributeur ou à BBTNA pour commandez l'accessoire télécommande si vous préférez utiliser cet accessoire. Il faut modifier l'unité de commande interne du chauffe-eau (Fig. 29, composant 12) lorsqu'on programme la télécommande en vue de son'utilisation avec ce chauffe-eau.

REMARQUE: Jusqu'à six télécommandes peuvent être programmes pour un seul chauffe-eau, chacune ayant un rayon d'action de 30 m (98 pi).
3.4 Fonctionnement
Quand un robinet d'eau chaude est ouvert, le brûleur principal s'allume, et le symbole d'une flamme apparait dans la fenêtre d'affichage

Fig. 32
L'affichage à cristaux liquides clignotera jusqu'à ce que la température可以选择 soit atteinte.
3.5 Touche de réinitialisation
Si la fenêtre d'affichage indique le symbole d'erreur notez le code d'erreur affché et consultez la section Résolution de problèmes.

Fig. 33
Après avoir suivi les directives indiquées dans la section Résolution de problèmes:
Appuyez sur la touche de réinitialisation pour remettre l'appareil en état de marche.

Fig. 34 Touche de réinitialisation
Si le problème persististe, adressez-vous à votre instituteur.
3.6 Touche de programmation
La touche de programmation peut être utilisée/programmée aussi bien dans l'appareil que dans la télécommande.
Fonction de "programmation"
Les fonctions de programmation sont les mêmes pour les deux commandes (pavé de commande de l'appareil et télécommande sans fil). Appuyez sur la touche de programmation pendant trois secondes.

Fig. 35 Touche de programmation
Appuyez sur les touches et pour désir la température à mémoriser.
Gardez la touche de programmation enforcé pendant trois secondes pour enregistrer la température.
Quand l'affichage cesse de clignoter, la température est enregistrée dans le "programme".
Utilisation de la fonction de programmation
Pour désir la température mémorisée :
Appuyez sur la touche de programmation.
La fenêtre d'affichage indiquera la température prémémorisée, qui est maintainant la température d'eau chaude可以选择.
3.7 État de verrouillage
Cet état n'est valable que pour les apparèils munis de plus d'une commande (appareils avec télécommande).

Fig. 36 État de verrouillage
Si le symbole apparait dans la fenêtre d'affichage, c'est que le réglage de la température ne peut pas être modifié parce que l'appareil est utilisé par un utilisateur qui a déjà choisi une température différente. L'appareil se verrouillera automatiquement une fois le robinet d'eau chaude fermé.
4 Entretien et réparations

Avertissement : Toujours couper l'alimentation électrique, fermer le robinet d'arrêt manuel du gaz et les manettes de commande d'eau lors de tout entretien ou de toute réparation.
L'appareil devrait etre verifie une fois par année par un technicien du service de gaz. S'il nécessite des réparations, celles-ci devraient etre effectuees par un technicien du service de gaz.
Pour enlever le couvercle avant
Enlevez les bandes protectrices autocollantes sur le panneau avant (page 5, Fig. 3).
Dévissez les deux vis à tête Philips se trouvant derrière les bandes protectrices autocollantes.
Soulevez le couvercle avant et enlevez-le.
Systèmes et pieces devant être vérifiées au moins une fois par année :
Voir les diagrammes en pages 32 et 33.
- Systeme de ventilation
- Brûleurs - voir l'emplacement du regard en page 29.
- Enclenchement manuel de la soupape de suture pour s'assurer de son bon fonctionnement
- Nettoyage périodique du filtré d'eau - voir la Fig. 25, à la section 2.13
- Rincage du corps de chauffe avec une solution decapante si vous constatiez qu'il y a accumulation de dépôts calcaires. L'accumulation de dépôts calcaires réduira la durée de vue utile du chauffe-eau. Procedez au détartrage du corps de chauffe et repêtez chaque année selon la durée de l'eau souterraine..
5 Résolution de problèmes
Introduction
L'allumage des brûleurs du chauffe-eau GWH-635-ES est déclenché par une valve d'eau. De nombreux problèmes liés à l'eau peuvent entraîner la défectuosité de cette valve comme, par exemple, un début d'eau insuffisant pour actionner les brûleurs, donc inférieur au début minimal qu'exige l'appareil, de la saleté incrustée dans la valve d'eau, l'accumulation de sédiments dans les aérateurs de robinets ou les pommeaux deouches, des pressions inégales d'eau chaude et d'eau froide (avec des robinets à levier unique) ou des croisements de tuyauterie. Ces problèmes liés au début d'eau peuvent empêcher le chauffe-eau de fonctionner à pleine capacité ou entraîner son arrêt complet.
Les problèmes, qui sont indiqués ci-dessous en lettres majuscules et en caractères gras, devraient faire l'objet
d'une vérification si le chauffe-eau ne fonctionne pas correctement et qu'AUCUN code d'erreur n'apparait dans la fenêtre d'affichage du chauffe-eau ou de la télécommande sans fil.
Toutes les défectuosités associées à un code d'erreur sont indiquées en page 26. Un schéma fonctionnel du chauffe-eau GWH-635-ES est illustré en page 28. Si un problème se produit lors de l'installation, pendant la ventilation ou en cours de fonctionnement, l'appareil indiquera sa source au moyen de ces codes d'erreur.
LES BRULEURS NE S'ALLUMENT PAS LORS DE LA MISE EN MARCHE DU CHAUFFE-EAU
- La conduite d'alimentation d'eau froide est branchée du mauvais côté du chauffe-eau
Assurez-vous que la conduite d'eau froide est bien branchée du côté droit du chauffe-eau quand vous y faites face - Le débit du robinet d'eau chaude est trop faible Il faut un débit d'au moins 3 litres/minute (0,8 gal/min) pour activer lechauffe-eau.
- Le filtrte d'admission d'eau froide est sale Enlever et nettoyer le filtrte d'admission d'eau. Le filtrse se trouve au joint du raccord de la conduite d'alimentation d'eau du chauffe-eau. Il faut débrancher la conduite principale d'alimentation d'eau froide. Vérifiez et nettoyez aussi les filtres des aérateurs de robinets.
- Croissement dans les conduites d'eau
Pour vérifier s'il n'y a pas de croissement de tuyauterie, fermez l'entrée d'eau froide vers le chauffe-eau et ouvrez un robinet d'eau chaude. Il ne devrait pas y avoir une seule goutte d'eau qui coule à ce robinet. L'écoulement d'eau est un signe de croissement de tuyauterie. Les brûleurs du chauffe-eau se déclenchent lorsqu'un débit d'eau suffisant coule dans la valve d'eau, soit un débit de 3 litres/min (0,8 gal/min). S'il y a un croissement de tuyauterie, le débit d'eau coulant dans le chauffe-eau sera insuffisant et ce, même si le débit au robinet d'eau chaude est suffisant. Un croissement de tuyauterie peut être causé par un joint d'étanchéité défectueux sur un robinet à levier unique, une tuyauterie défectueuse ou un robinet mélangeur défectueux dans la conduite. Le croissement créera une contre-pression qui empêchera qu'un débit ajustat coule dans le chauffe-eau. Pour vérifier s'il n'y a pas de croissement de tuyauterie, fermez l'arrivée d'eau froide vers le chauffe-eau. Ouvrez vos robinets d'eau chaude séparément un après l'autre. Il ne devrait y avoir aucun écoulement d'eau. Si l'eau coule, il y a un croissement de tuyauterie, et il faut régler le problème avant que le chauffe-eau ne puisse fonctionner correctement.
L'EAU EST TROP CHAUBE
- Le réglage de la température est trop élevéRéduisez le réglage de la température sur le chauffe-eau ou la télécommande sans fil - voir la section 3.2.
L'EAU N'EST PAS ASSEZ CHAUBE
- Le réglage de la température est trop bas.
Augmentez le réglage de la température sur le chauffe-eau ou la télécommande sans fil - voir la section 3.2.
- La puissance calorifique est trop faible en raison de conduites de gaz de mauvaise grosseur
Voir les specifications aux sections 2.10 à 2.12. Le chauffe-eau GWH-635-ES nécessite une pression de gaz ajusté pour atteindre les températures désirées. S'il doit compenser une pression inadéquate du gaz d'admission ou un manque de pression du gaz, le chauffe-eau atteindre en fait la température de sortie d'eau chaude demandée en réduisant le début de l'eau chaude. Sa valve d'eau motorisée effectuera ce rajustement.
- L'eau froide se mélange à l'eau chaude (croisement de tuyauterie)
Effectuez l'essay décrit au point 4 de la section LES BRULEURS NE S'ALLUMENT PAS LORS DE LA MISE EN MARCHE DU CHAUFFE-EAU.
LE DÉBIT OU LA PRESSION D'EAU EST FAIBLE.
- Trop d'eau chaude demandée en même temps ou débit trop élevé demandé.
Le chauffe-eau GWH-635-ES pourra alimenter efficacement deux pommeaux de douche de 7,5 à 9,3 litres/min (2,0 à 2,5 gal/min) en même temps ou plusieurs lavabos. Une demande supérieure entrainera une plus grande chute de pression et réduira le début d'eau coulant aux robinets. Voir le tableau des débits et des températures en page 24
- La puissance calorifique est trop faible en raison de conduites de gaz de mauvaise grosseur.
Voir les specifications aux sections 2.10 à 2.12. Le chauffe-eau GWH-635-ES nécessite une pression de gaz ajusté pour atteindre les températures et les débits désirés. S'il doit compenser une pression inadéquate du gaz d'admission ou un manque de pression du gaz, le chauffe-eau atteindre en fait la température de sortie d'eau chaude demandée en réduisant le débit de l'eau chaude. Sa valve d'eau motorisée effectuera ce rajustement. Il faudra une pression de gaz ajusté pour que la valve d'eau motorisée laisseisser un débit d'eau accru. Si vous réduisez le réglage de la température, cela permettra aussi à un plus grand débit d'eau de passer par la valve d'eau motorisée. Voir le tableau des débits et des températures en page 24.
Le filtrd'admission d'eau froide est sale
Enlever et nettoyer le filtrte d'admission d'eau. Le filtrte se trouve au joint du raccord de la conduite d'alimentation d'eau du chauffe-eau. Il faut débrancher la conduite principale d'alimentation d'eau froide. Vérifiez et nettoyez aussi les filtres des aérateurs de robinets.
LA TEMPERATURE DE L'EAU CHAUBE FLUCTUE / L'APPAREIL EST DÉSACTIVÉ.
- Pression inégale dans les conduites d'eau
La contrainte accrue causée au système d'eau chaude par le chauffe-eau peut résulter en des pressions inégales entre l'eau chaude et l'eau froide. Dans ce cas, lorsque vous mélangez l'eau froide au robinet (manuellement ou automatiquement par le biais d'un pommeau de douche de type équilibrreur), la pression inférieure de l'eau chaude peut être contrebalancée par la pression supérieure de l'eau froide, ce qui pourrait entraîner une chute du débit d'eau chaude sous le débit minimal requis. Un robinet équilibrreur aidera à résoudre ce symptôme.
- Robinets équilibreurs de température
Si la température de l'eau acheminée vers le chauffe-eau est très chaude, l'eau sortant du chauffe-eau pourrait être trop chaude. Un robinet de douche équilibrateur de température peut mélanger automatiquement de l'eau froide afin de réduire la température trop élevé de l'eau. Si la température demeure instable malgré l'utilisation d'un robinet équilibrateur, consultez les directives du fabricant pour le réglage interne. Il faudrait toujours faire les rajustements lorsque le robinet de la douche se trouve au réglage le plus chaud. En outre, le bouton sélecteur de température du chauffe-eau peut être réglé de façon à ce que la température de l'eau chaude soit plus comfortable.
- La pression de l'arrivée d'eau est erratique en raison d'une pression inadéquate de l'arrivée d'eau.
Vérifiez la pression de l'arrivée d'eau. Si vous branchez l'appareil à un système privé de puits muni d'un réservoir sous pression, on recommende que la pression se situe entre 207 kPa et 345 kPa (30 et 50 lb/ po2). L'utilisation d'une valve réductrice de pression après le réservoir est aussi une façon efficace de s'assurer que la pression d'eau acheminee au chauffe-eau demeure constante. On suggere des valves de marque Watts, soit le modele 25AUB ou le modele N35-B, de 19 mm (3/4 de po).
LE BRULEUR OU LE CHAUFFE-EAU EST BRUYANT PENDANT QU'IL FONCTIONNE.
- La plage des niveaux de CO2 est déréglée. Le couvercle doit être en place pour confirmer les lectures de niveaux de CO2 . Si l'appareil fonctionne pendant que le couvercle est enlevé, cela se traduit par un brûleur bruyant ou instable. Voir la section 9:
Le rajustement des niveaux de CO2 ne peut etre effectue que par un technicien accredite du service de gaz se servant d'un analyseur de CO2 calibre.
Table 7
| Code affché | Cause | Solution |
| E9 | Le limiteur de température a ouvert le circuit (surchauffe).Déclenchement à 104°C (220°F). | Vérifier les connexions.*Vérifier l'état du corps de chauffe.* |
| EA | Aucune ionisation durant le déali de sécurité (déali de sécurité éçoulé).Remarque: L'appareil fera trois tentatives d'allumage avant d'afficher le code d'erreur " EA ". | Vérifier la pression du gaz.*Vérifier si le gaz n'est pas dilué avec de l'air, par suite d'une altération récente de la conduite de gaz.*Vérifier si la terminaison du conduit d'évacuation est bloquée (surtout si l'appareil se met en marche pendant quelques secondes, puis perd le signal d'ionisation).*Vérifier l'électrode d'ionisation.*Vérifier si la mise à la terre est bien faite.* |
| EC | Le signal d'ionisation est disparu momentarily intément plus de cinq fois en moins de 30 secondes. | |
| FA | Erreur liée à uneuite (les valves à gaz ne coupent pas le circuit de gaz) | Vérifier la valve à gaz et l'unité de commande.* |
| F7 | Erreur liée à l'onisation (detection de la flamme en attente) | Vérifier l'unité de commande.* |
| E0 | Défaillation du logiciel ou du matériel informatique interne | Vérifier l'unité de commande.* |
| A7 | Défectuosiè du capteur/récepteur thermique de l'eau chaude (à partir de l'unité de commande) | Vérifier le capteur/récepteur thermique et ses connexions.*Vérifier la température ambiente de la pièce où se trouve le chauffe-eau; elle doit être au-dessus de 2°C (36°F).* |
| A9 | Mauvais assemblage du capteur/récepteur thermique de l'eau chaude (à partir de l'unité de commande).Remarque: Si le message " A9 " clignote dans la fenêtre d'affichage, l'appareil peut fonctionner normalement, mais son rendissement pourrait être affecté. | Fermer le robinet d'eau et le laisser se viderpendant 30 secondes.Ouvrir le robinet d'eau et attendre 2 minutes pour voir si le message "A9 " disparait de la fenêtre d'affichage.Vérifier si le capteur/récepteur thermique est bien assemblédans la conduite d'eau.*Vérifier si le capteur/récepteur thermique est en bon état.* |
| C1 | Vitesse de rotation du ventilateur trop faible au démarrage (à partir de l'unité de commande). | Vérifier le voltage.*Vérifier le ventilateur et ses connexions.*Vérifier l'unité de commande.*Vérifier si la terminaison du conduit d'évacuation est bloquée ou si elle est installé comme l'indique la section 2.9.*Vérifier les niveaux de CO2 (voir la section 9).* |
| C6 | Vitesse de rotation du ventilateur trop faible pendant que l'appareil fonctionne (à partir de l'unité de commande) | Vérifier le voltage.*Vérifier le ventilateur et ses connexions.*Vérifier l'unité de commande.*Vérifier si la terminaison du conduit d'évacuation est bloquée ou si elle est installé comme l'indique la section 2.9.* |
| C7 | Aucun signal du capteur de vitesse de rotation du ventilateur transmis par le ventilateur | Vérifier le ventilateur et ses connexions.*Vérifier l'unité de commande.*Vérifier les niveaux de CO2 (voir la section 9).* |
| CA | Signal de début d'eau supérieur à la valeur maximale spécifique | Vérifier la valve d'eau et le détecteur de début.* |
| E2 | Défectuosiè du capteur thermique de l'eau d'admission | Vérifier le capteur/récepteur thermique et les connexions.*Vérifier la température ambiente de la pièce où se trouve le chauffe-eau; elle doit être au-dessus de 2°C (36°F).* |
| A2 | Défectuosiè du détecteur de surchauffe | Vérifier les connexions du détecteur de surchauffe.*Vérifier la continuité du capteur.*Vérifier l'étanchéité du corps de chauffe et des murs.* |
- Tâche effectué unequément par l'installeur ou un technicien
6 Diagramme électrique

Fig. 37 Diagramme électrique
1 Capteur thermique de l'eau d'admission
2 Deteceur à ionisation
3 Detecteur de début d'eau
4 Deteceur de surchauffe
5 Limiteur de température
6 Valve a gaz
7 Ventilateur
8 Valve d'eau
9 Prise c.a.
10 Electrode d'allumage
11 Carte a circuits imprimés de l'affichage
12 Interrupteur marche-arrêt
13 Fusible T de 1,25 A
14 Fusible T de 3,15 A
15 Bloc de branchement
16 Tige de mise à la terre
17 Capteur thermique de I'eau à la sortie
7 Schéma fonctionnel du modele GWH-635-ES

Fig. 38 Schéma de fonctionnement
8 Diagramme des composants internes et liste des pièces
8.1 Composants internes



Fig. 39 Composants
1 Couvercle
2 Interrupteur marche-arrêt
3 Touche de réinitialisation
4 Fenetre d'affichage
5 Touche de programmation
6 Boutons selecteurs de température
7 Tube collecteur de gaz d'échéppement
8 Mélangeur
9 Corps de chauffe
10 Regard
11 Conduit d'admission d'air
12 Unité de commande
13 Ventilateur
14 Valve d'eau
15 Valve a gaz

Fig. 40 Vue d'ensemble de l'appareil
8.2 Diagramme des composants

Fig. 41 Diagramme des composants
8.3 Listedespieces
Table 8
| Pièce | Description | No de référence |
| 1 | Couvercle avant | 8 705 421 837 |
| 2 | Écran | 8 705 506 661 |
| 3 | Corps de chauffe | 8 705 406 285 |
| 4 | Joint d'étanchéité supérieur du corps de chauffe | 8 704 701 052 |
| 5 | Agrafe | 8 716 102 607 |
| 6 | Joint d'étanchéité inférieur du corps de chauffe | 8 704 701 054 |
| 7 | Joint torque | 8 700 205 147 |
| 8 | Capteur thermique | 8 700 400 015 |
| 9 | Rondelle de 13 mm (1/2 po) | 8 710 103 045 |
| 10 | Ressort filaire | 8 714 606 002 |
| 11 | Conduit d'admission d'air | 8 705 700 097 |
| 12 | Filtre à eau | 8 700 507 001 |
| 13 | Joint torque | 8 700 205 134 |
| 14 | Brûleur principal | 8 708 505 016 |
| 15 | Brûleur principal | 8 708 120 515 |
| 16 | Joint d'étanchéité ventilateur-brûleur | 8 704 701 050 |
| 17 | Ensemble d'électrodes | 8 708 107 020 |
| 18 | Ventilateur | 8 707 204 039 |
| 19 | Mélangeur gaz-air | 8 705 700 115 |
| 20 | Joint d'étanchéité mélangeur-ventilateur | 8 704 701 059 |
| 21 | Joint d'étanchéité de la valve à gaz | 8 704 701 062 |
| 22 | Valve à gaz | 8 707 021 019 |
| 23 | Joint d'étanchéité de la valve à gaz | 8 700 103 014 |
| 24 | Télécommande | 8 707 207 153 |
| 25 | Dispositif de commande | 8 707 207 133 |
| 26 | Câble d'allumage | 8 704 401 220 |
| 27 | Câbles 24 V | 8 704 401 214 |
| 28 | Câbles | 8 704 401 239 |
| 29 | Cordon d'alimentation | 8 704 401 221 |
| 30 | Fusible coupe-circuit en cas de surchauffe | 8 700 400 019 |
| 31 | Accessoire d'évacuation des gaz d'échéppement | 8 705 504 137 |
| 32 | Accessoire d'admission d'air combustant | 8 705 504 116 |
| 33 | Tube collecteur de gaz d'échéppement | 8 705 700 100 |
| 34 | Bague du tube collecteur de gaz d'échéppement | 8 705 700 114 |
| 35 | Conduite d'eau froide | 8 700 715 156 |
| 36 | Conduite d'eau chaude | 8 700 715 155 |
| 37 | Filtre d'admission d'air | 8 700 507 069 |
| 38 | Tube de raccordement | 8 700 715 247 |
| 39 | Décteur de surchauffe (coupe-circuit de sutureté) | 8 707 206 204 |
| 40 | Clip | 8 701 201 028 |
| 41 | Clip | 8 701 201 024 |
| 42 | Joint | 8 700 103 710 |
| 43 | Sachet de joints | 8 704 701 046 |
| 44 | joint torque | 8 700 205 149 |
9 Réglage spécial pour la mesure et le rajustement des niveaux de CO_2
Le CO2 ne peut être rajusté que par un technician accréduit du service de gaz, qui se sert d'un analyseur de CO2 calibre.

Prudence : L'un des facteurs qui peut affecter les niveaux de CO_2 est une pression de gaz inadéquate. Veuillez consulter la section 2.12 pour connaître la marche à suivre pour mesurer la pression du gaz et inscrivez vos résultats ci-dessous :
Pression statique du gaz: kPA (po de col. d'eau)
Pression de fonctionnement P1 du gaz: kPA (po de col. d'eau)
La pression de fonctionnement P1 minimale est de 1,24 kPa (5 po de col. d'eau) pour le gaz naturel et de 2,73 kPa (11 po de col. d'eau) pour le propane. Ne procédez àaucun rajustement des niveaux de CO_2 jusqu'à ce que vous ayez vérifié si la pression est bel et bien égale ou supérieure à ces niveaux, sans toutefois dépasser 3,47 kPa (14 po de col. d'eau).
A. Une fois la pression jugée ajusté
- Placez l'interrupteur marche-arrêt à la position d'arrêt (O).
Enlevez la vis de laiton à tête plate se trouvant sur la bague du conduit d'évacuation, comme l'illustré la Fig. 42. - Insérez la sonde de l'analyseur de CO_2 dans l'orifice de mesure. L'extrémité de la sonde devrait être centrée dans le conduit d'évacuation (enforcée d'environ 38 mm ou 1,5 po).

Fig. 42
- Pendant que vous gardez la touche de programmation (M) enforcée, déplacez l'interrupteur marche-arrêt à la position de marche (l) (voir Fig. 43). Dès que " 188 " clignotera dans la fenêtre d'affichage, relâchez la touche de programmation. Vous devriez maintainant voir " P2 " apparaitre.

Fig. 43
B. Mesure du CO_2 (si le couvercle est installé):
Ouvrez les robinets d'eau chaude pour atteindre un débit d'au moins 14 litres (4 gal) par minute (un robinet de baignoire et deux robinets de lavabo devraient suffire).
Ouvrez les robinets d'eau chaude pour atteindre un débit d'au moins 14 litres (4 gal) par minute (un robinet de baignoire et deux robinets de lavabo devraient suffire).
- Inscrivez la lecture du niveau de CO2 sur la ligne P2 ci-dessous. (La lecture de l'analyseur peut prendre quelques minutes avant de se stabiliser.)
Appuyez sur la touche " + " jusqu'à ce que P1 apparaissée. L'appareil passera à son plein régime, et le débit devrait augmenter.
Inscrivez la lecture du niveau de CO2 sur la ligne P1 ci-dessous.
Lecture du niveau de CO2 P2: % de CO2
Lecture du niveau de CO2 P1: % de CO2
Comparez vos lectures à celles figurant au tableau 9, dans la colonne "Avec couvercle avant". Si les lectures du niveau de CO_2 sont différentes, effectuez les rajustements selon les directives ci-dessous.
Remarque: La colonne " Sans couvercle avant " indique les valeurs approximatives avec le couvercle enlevé afin de facilititer la démarche de rajustement. Il faudrait prendre des lectureses finale avec le couvercle installé.
C. Rajustement des niveaux de CO2 :
Remarque: Le rajustement du niveau P1 changera la lecture du niveau P2. Confirmez la valeur P1 AVANT de rajuster le niveau P2.
- Niveau de CO2 P1 différent :
Desserrez la vis à tête Philips (1) peinte en jaune, et le capuchon devrait rouler vers le bas (2) et révérer une vis à fente en laiton (Fig. 44).
En tournant la vis à fente dans le sens contraire des aiguilles d'une montre, vous hausserez le niveau de CO2 P1, tandis que si vous la tournez dans le sens des aiguilles d'une montre, vous abaissez le niveau de CO2 P1. Les rajustements effectués à la vis à
fente changeront aussi le niveau de CO_2 P2.
2.Niveau de CO_2 P2 différent:
Enlevez le capuchon de vis Torx no 40 peint en jaune sur le devant de la valve à gaz (Fig. 45). Une vis Torx no 40 en plastique apparaitra.
Si vous tournez la vis Torx no 40 en plastique dans le sens contraire des aiguilles d'une montre, vous abaissez le niveau de CO2 P2, tandis que si vous la tournez dans le sens des aiguilles d'une montre, vous hausserez le niveau de CO2 P2.
Remarque: Le rajustement de ces vis est très sensible et peut prendre quelques minutes avant de se stabiliser.
- Vérifiez si les niveaux P1 et P2 respectent les plages indiquées au tableau 1, dans la colonne " Avec couvercle avant". Répétez les étapes 1 et 2 au besoin, jusqu'à ce que les valeurs des niveaux de CO_2 se trouvent à l'intérieur des plages indiquées.
D. Remise en service :
- Remettez le couvercle à fente dans sa position initiale.
- Réinstallé le capuchon de la vis Torx.
- Retirez la sonde de l'analyseur de CO_2 et réinstallé la vis à tête plate dans la bague du conduit d'évacuation.
- Placez l'interrupteur marche-arrêt à la position d'arrêt (O), puis replacez-le à la position de marche (I).
- Le chauffe-eau est prét à fonctionner normalement.
Table 9
| Sans couvercle avant | Avec couvercle avant | ||
| Nat. Gas | Nat. Gas | ||
| Apport maximal | P1 | 9.1 ± 0.1 % | 9.7 ± 0.1 % |
| Apport minimal | P2 | 9.4 ± 0.1 % | 9.7 ± 0.1 % |
| LP Gas | LP Gas | ||
| Apport maximal | P1 | 10.1 ± 0.1 % | 10.7 ± 0.1 % |
| Apport minimal | P2 | 10.4 ± 0.1 % | 10.7 ± 0.1 % |
| * La lecture finale doit être confirmée avec le couvercle avant installé, puisque les niveaux de CO2 augmentent lorsqu'on installe le couvercle avant. | |||
Lectures finales
Lecture du niveau de CO2 P2: % de CO2
Lecture du niveau de CO2 P1: % de CO2

Fig. 44

Fig. 45
10 Protection de l'environnement

Emballage
La boîte d'emballage est entièrement recyclable, comme le confirme le symbole de recyclage
Composants
Maintes pièces du chauffe-eau peuvent être entièrement recyclées au terme de leur durée de vie utile. Adressez-vous aux autorités de votre ville pour obtenir des renseignements sur l'élimination des matières recyclables.
Économie des ressources d'eau :
Assurez-vous que vous fermez tous les robinets immédiatement après leur utilisation. Évitez de laisser les robinets couler. Réparez tout robinet non étanche.
Dans la mesure du possible, utilisez des robinet munis de limiteurs de début intégrés. Tout aussi comforts, ils vous permettent d'économiser l'eau.
Définissez la température désirée en réglient l'appareil ou en utilisant la télécommande. De cette façon, vous obtiendarez le début précis requis (si vous mélangez de l'eau froide pour refroidir la température de l'eau, vous demandez un début trop élevé et, par conséquent, gaspilles de l'eau).
Pour une sécurité accrue, coupe l'alimentation d'eau principale si vous quittez votre maison pendant une longue période de temps.
Si les températures passent sous le point de congélation, débranchez les conduites reliées au chauffe-eau et laissez l'appareil se vider.
Pour éviter tout dommage causé par le gel, injectez de petites quantités d'air comprimé (1,38-2,76 bar ou 20-40 lb/po2) par ces raccords afin de dégager l'eau résiduelle dans les conduites horizontales et la valve d'eau.
11 Garantie limitée de quinze ans
Généralités
Les chauffe-eau BOSCH PRO sont garantis par le fabricant (BOSCH) par l'entremise de BBT North America. BBT North America (ci-après "BBTNA") replacera le corps de chauffe et toute autre piece qui fera défaut si l'appareil est utilisé et entretenu de façon normale, durant les périodes pertinentes, telles que précisées ci-dessous, conformément aux modalités de la présente garantie. Le replACEMENT de pieces par BBTNA sera garanti pour la portion non échue de la garantie originale. Cette garantie ne s'appliquera qu'aux chauffe-eau en la possession de l'acheteur initial, dont le nom figure sur la carte d'enregistrement de la garantie.
Le corps de chauffe
Si le corps de chauffe fait défaut dans les quinze (15) années suivant son installation et sa mise en marche initiales, BBTNA fournira un corps de chauffe de rechange. Toutefois, si le chauffe-eau est installé dans un autre type d'immeuble qu'une unité de logement unifamiliale, la présente garantie du corps de chauffe sera limitée à deux (2) années à compter de la date de son installation et de sa mise en marche initiales.
Exceptions
Cette garantie ne s'appliquera pas:
- aux défaillances ou défectuosités résultat du défaut d'installer, de faire fonctionner ou d'entrenir l'appareil correctement, en conformité avec les directives écrites fournies;
-
- aux dommages, à l'usage abusif, aux accidents, à la négligence ou au gel et à tout autre acte de cette nature;
- aux dommages resultant d'un fonctionnement de l'appareil après avoir enlevé la tige du capteur de flamme ou le détecteur de surchauffe;
- à la défaillance du corps de chauffe résultat d'un fonctionnement du chauffe-eau dans un environnement corrosoif ou avec une eau dont les températures dépassent la valeur maximale assignée ou si le chauffe-eau n'est pas alimenté avec de l'eau potable;
-
- aux défaillances ou dommages causés par tout ajust ou toute modification, y compris l'ajout d'un dispositif économiqueur d'énergie.
Toutes les autres pieces
Si toute autre piece fait défaut dans les trois (3) années suivant son installation et sa mise en marche initiales, BBTNA fournira notamment une piece de rechange.
Une garantie prolongée est offerte aux entrepreneurs membres de la PHCC; toute fois, le remplacement de toute piece sera assujetti à la validation par BBTNA de sa couverture par la garantie.
Frais d'expédition
En plus de fournir la ou les piece(s) de rechange, BBTNA s'occupera de leur livreaison par voie terrestre. Les frais d'une expulsion accélérée ou par un autre moyen de transport seront factures au client.
Coûts de la main-d'œuvre d'entretien
La présente garantie ne couvre aucuns frais de main-d'oeuvre associés à la réparation, à l'enlèvement ou à la réinstallation de la ou des pieces(s). Tous ces frais devront être assumés par l'acheteur. En outre, la presente garantie ne couvre aucuns frais de main-d'oeuvre associés à la réparation, à l'enlèvement ou à la réinstallation du chauffe-eau original ou d'un chauffe-eau de rechange.
Certaines indemnités visant les coûts de la main-d'année d'entretien sont offertes aux entrepreneurs membres de la PHCC, sous réserve de leur approbation préalable par BBTNA.

REMARQUE: Le chauffe-eau doit etre exempt de depots calcaires dommageables et ne doit pas subir de pressions degaz supérieures a celles individues sur la plaque signaletique, qui ne doit pas etre alteree, effacee ou enlevee.
Comment déposer une réclamation
Toute réclamation visant des pieces sous garantie doit être déposée auprès de votre détaillant ou distributeur local ou, encore, auprès de BBTNA, auquel cas vous devez vous adresser au Service du soutien technique, dont voici les coordonnées:
BBT NORTH AMERICA
Bosch Group
340 Mad River Park
Waitsfield, VT 05673
Telephone: 1866330-2730
www.boschpro.com
Dans la plupart des cas, le détaillant ou le distributeur sera en mesure de donner suite rapidement à votre réclamation et d'en視為 BBTNA ultérieurement. Toutefois, avant l'envoi de toute piece de rechange, son remplacement devra être approuvé par BBTNA, qui validera sa couverture par la garantie. La piece endommagée ou défectueuse devra être remise en échange de la piece de rechange.
Divers
Personne n'est autorisé à accorder toute autre garantie au nom de BBTNA. Il est expressément entendu que la garantie de remplacement de BBTNA tiendra lieu de toute autre garantie, explicite ou implicite, y compris les garanties de qualité marchande ou d'adaptation à un
usage ou à un but particulier. Il est autre entendu que BBTNA décline toute responsabilité à l'égard de toute perte resultant, directement ou indirectement, de l'usage du chauffe-eau ou de tout dommage indirect decouulant d'un tel usage (y compris les dommages liés à une fuite d'eau). La responsabilité de BBTNA quant à toute défectuosié se limitera au remplacement de la ou des piece(s) défectueuse(s). comme certains États ou certaines provinces ne permettent pas de telles limitations et exclusions, il se peut que ce qui precede ne s'applique pas.
La presente garantie confère des droits juridiques précis. Il se peut également que vous ayez d'autres droits, qui peuvent varier d'un État ou d'une province à l'autre.
Liste de vérification de l'installateur lors de l'installation
Numéro de série :
(Le nombre de série à 8 chiffres se trouve sur la plaque signalétique apposée sur le panneau droit)
Lecture de la pression*
Statique
Fonctionnement
Pression d'eau de l'immeuble
Plage s'il y a un système de puits
Entreprise d'installation :
Nom de l'installateur :
Adresse :
Telephone :
- Voir la section 2.12 et le tableau de pression du gaz (que doit replir l'installateur).
Le manuel d'installation doit être remis au propriétaire une fois installation terminée et vérifiée.
Pour se procurer des pieces de rechange, s'adresser au:
BBT NORTH AMERICA
Bosch Group
Bosch Water Heating
340 Mad River Park
Waitsfield, VT 05673
Telephone: 866-330-2730
Télécopieur: (802) 426-6924
www.boschpro.com
techsupport@boschpro.com
VULCANO Termodomésticos S.A.
Estrada de Cacia
3801 - 856 Aveiro - PORTUGAL
Notice Facile